JP7494192B2 - 磁化可能なプラスチックのための方法および組成物 - Google Patents

磁化可能なプラスチックのための方法および組成物 Download PDF

Info

Publication number
JP7494192B2
JP7494192B2 JP2021544449A JP2021544449A JP7494192B2 JP 7494192 B2 JP7494192 B2 JP 7494192B2 JP 2021544449 A JP2021544449 A JP 2021544449A JP 2021544449 A JP2021544449 A JP 2021544449A JP 7494192 B2 JP7494192 B2 JP 7494192B2
Authority
JP
Japan
Prior art keywords
ferromagnetic
film
ink composition
label
plastic
Prior art date
Legal status (The legal status is an assumption and is not a legal conclusion. Google has not performed a legal analysis and makes no representation as to the accuracy of the status listed.)
Active
Application number
JP2021544449A
Other languages
English (en)
Other versions
JPWO2020160260A5 (ja
JP2022522619A (ja
Inventor
ラヴィシュ ワイ. マジティア,
ヴィシャル ディー. サリアン,
クマリル アール. カパディア,
Original Assignee
マグノマー, インコーポレイテッド
Priority date (The priority date is an assumption and is not a legal conclusion. Google has not performed a legal analysis and makes no representation as to the accuracy of the date listed.)
Filing date
Publication date
Application filed by マグノマー, インコーポレイテッド filed Critical マグノマー, インコーポレイテッド
Publication of JP2022522619A publication Critical patent/JP2022522619A/ja
Publication of JPWO2020160260A5 publication Critical patent/JPWO2020160260A5/ja
Application granted granted Critical
Publication of JP7494192B2 publication Critical patent/JP7494192B2/ja
Active legal-status Critical Current
Anticipated expiration legal-status Critical

Links

Images

Classifications

    • BPERFORMING OPERATIONS; TRANSPORTING
    • B03SEPARATION OF SOLID MATERIALS USING LIQUIDS OR USING PNEUMATIC TABLES OR JIGS; MAGNETIC OR ELECTROSTATIC SEPARATION OF SOLID MATERIALS FROM SOLID MATERIALS OR FLUIDS; SEPARATION BY HIGH-VOLTAGE ELECTRIC FIELDS
    • B03CMAGNETIC OR ELECTROSTATIC SEPARATION OF SOLID MATERIALS FROM SOLID MATERIALS OR FLUIDS; SEPARATION BY HIGH-VOLTAGE ELECTRIC FIELDS
    • B03C1/00Magnetic separation
    • B03C1/02Magnetic separation acting directly on the substance being separated
    • B03C1/10Magnetic separation acting directly on the substance being separated with cylindrical material carriers
    • BPERFORMING OPERATIONS; TRANSPORTING
    • B03SEPARATION OF SOLID MATERIALS USING LIQUIDS OR USING PNEUMATIC TABLES OR JIGS; MAGNETIC OR ELECTROSTATIC SEPARATION OF SOLID MATERIALS FROM SOLID MATERIALS OR FLUIDS; SEPARATION BY HIGH-VOLTAGE ELECTRIC FIELDS
    • B03CMAGNETIC OR ELECTROSTATIC SEPARATION OF SOLID MATERIALS FROM SOLID MATERIALS OR FLUIDS; SEPARATION BY HIGH-VOLTAGE ELECTRIC FIELDS
    • B03C1/00Magnetic separation
    • B03C1/005Pretreatment specially adapted for magnetic separation
    • B03C1/01Pretreatment specially adapted for magnetic separation by addition of magnetic adjuvants
    • AHUMAN NECESSITIES
    • A47FURNITURE; DOMESTIC ARTICLES OR APPLIANCES; COFFEE MILLS; SPICE MILLS; SUCTION CLEANERS IN GENERAL
    • A47GHOUSEHOLD OR TABLE EQUIPMENT
    • A47G19/00Table service
    • AHUMAN NECESSITIES
    • A47FURNITURE; DOMESTIC ARTICLES OR APPLIANCES; COFFEE MILLS; SPICE MILLS; SUCTION CLEANERS IN GENERAL
    • A47GHOUSEHOLD OR TABLE EQUIPMENT
    • A47G21/00Table-ware
    • A47G21/02Forks; Forks with ejectors; Combined forks and spoons; Salad servers
    • AHUMAN NECESSITIES
    • A47FURNITURE; DOMESTIC ARTICLES OR APPLIANCES; COFFEE MILLS; SPICE MILLS; SUCTION CLEANERS IN GENERAL
    • A47GHOUSEHOLD OR TABLE EQUIPMENT
    • A47G21/00Table-ware
    • A47G21/04Spoons; Pastry servers
    • AHUMAN NECESSITIES
    • A47FURNITURE; DOMESTIC ARTICLES OR APPLIANCES; COFFEE MILLS; SPICE MILLS; SUCTION CLEANERS IN GENERAL
    • A47GHOUSEHOLD OR TABLE EQUIPMENT
    • A47G21/00Table-ware
    • A47G21/18Drinking straws or the like
    • BPERFORMING OPERATIONS; TRANSPORTING
    • B03SEPARATION OF SOLID MATERIALS USING LIQUIDS OR USING PNEUMATIC TABLES OR JIGS; MAGNETIC OR ELECTROSTATIC SEPARATION OF SOLID MATERIALS FROM SOLID MATERIALS OR FLUIDS; SEPARATION BY HIGH-VOLTAGE ELECTRIC FIELDS
    • B03CMAGNETIC OR ELECTROSTATIC SEPARATION OF SOLID MATERIALS FROM SOLID MATERIALS OR FLUIDS; SEPARATION BY HIGH-VOLTAGE ELECTRIC FIELDS
    • B03C1/00Magnetic separation
    • B03C1/02Magnetic separation acting directly on the substance being separated
    • B03C1/035Open gradient magnetic separators, i.e. separators in which the gap is unobstructed, characterised by the configuration of the gap
    • BPERFORMING OPERATIONS; TRANSPORTING
    • B03SEPARATION OF SOLID MATERIALS USING LIQUIDS OR USING PNEUMATIC TABLES OR JIGS; MAGNETIC OR ELECTROSTATIC SEPARATION OF SOLID MATERIALS FROM SOLID MATERIALS OR FLUIDS; SEPARATION BY HIGH-VOLTAGE ELECTRIC FIELDS
    • B03CMAGNETIC OR ELECTROSTATIC SEPARATION OF SOLID MATERIALS FROM SOLID MATERIALS OR FLUIDS; SEPARATION BY HIGH-VOLTAGE ELECTRIC FIELDS
    • B03C1/00Magnetic separation
    • B03C1/02Magnetic separation acting directly on the substance being separated
    • B03C1/16Magnetic separation acting directly on the substance being separated with material carriers in the form of belts
    • CCHEMISTRY; METALLURGY
    • C09DYES; PAINTS; POLISHES; NATURAL RESINS; ADHESIVES; COMPOSITIONS NOT OTHERWISE PROVIDED FOR; APPLICATIONS OF MATERIALS NOT OTHERWISE PROVIDED FOR
    • C09DCOATING COMPOSITIONS, e.g. PAINTS, VARNISHES OR LACQUERS; FILLING PASTES; CHEMICAL PAINT OR INK REMOVERS; INKS; CORRECTING FLUIDS; WOODSTAINS; PASTES OR SOLIDS FOR COLOURING OR PRINTING; USE OF MATERIALS THEREFOR
    • C09D11/00Inks
    • C09D11/02Printing inks
    • C09D11/03Printing inks characterised by features other than the chemical nature of the binder
    • C09D11/033Printing inks characterised by features other than the chemical nature of the binder characterised by the solvent
    • CCHEMISTRY; METALLURGY
    • C09DYES; PAINTS; POLISHES; NATURAL RESINS; ADHESIVES; COMPOSITIONS NOT OTHERWISE PROVIDED FOR; APPLICATIONS OF MATERIALS NOT OTHERWISE PROVIDED FOR
    • C09DCOATING COMPOSITIONS, e.g. PAINTS, VARNISHES OR LACQUERS; FILLING PASTES; CHEMICAL PAINT OR INK REMOVERS; INKS; CORRECTING FLUIDS; WOODSTAINS; PASTES OR SOLIDS FOR COLOURING OR PRINTING; USE OF MATERIALS THEREFOR
    • C09D11/00Inks
    • C09D11/02Printing inks
    • C09D11/03Printing inks characterised by features other than the chemical nature of the binder
    • C09D11/037Printing inks characterised by features other than the chemical nature of the binder characterised by the pigment
    • CCHEMISTRY; METALLURGY
    • C09DYES; PAINTS; POLISHES; NATURAL RESINS; ADHESIVES; COMPOSITIONS NOT OTHERWISE PROVIDED FOR; APPLICATIONS OF MATERIALS NOT OTHERWISE PROVIDED FOR
    • C09DCOATING COMPOSITIONS, e.g. PAINTS, VARNISHES OR LACQUERS; FILLING PASTES; CHEMICAL PAINT OR INK REMOVERS; INKS; CORRECTING FLUIDS; WOODSTAINS; PASTES OR SOLIDS FOR COLOURING OR PRINTING; USE OF MATERIALS THEREFOR
    • C09D11/00Inks
    • C09D11/02Printing inks
    • C09D11/10Printing inks based on artificial resins
    • CCHEMISTRY; METALLURGY
    • C09DYES; PAINTS; POLISHES; NATURAL RESINS; ADHESIVES; COMPOSITIONS NOT OTHERWISE PROVIDED FOR; APPLICATIONS OF MATERIALS NOT OTHERWISE PROVIDED FOR
    • C09DCOATING COMPOSITIONS, e.g. PAINTS, VARNISHES OR LACQUERS; FILLING PASTES; CHEMICAL PAINT OR INK REMOVERS; INKS; CORRECTING FLUIDS; WOODSTAINS; PASTES OR SOLIDS FOR COLOURING OR PRINTING; USE OF MATERIALS THEREFOR
    • C09D11/00Inks
    • C09D11/02Printing inks
    • C09D11/10Printing inks based on artificial resins
    • C09D11/102Printing inks based on artificial resins containing macromolecular compounds obtained by reactions other than those only involving unsaturated carbon-to-carbon bonds
    • CCHEMISTRY; METALLURGY
    • C09DYES; PAINTS; POLISHES; NATURAL RESINS; ADHESIVES; COMPOSITIONS NOT OTHERWISE PROVIDED FOR; APPLICATIONS OF MATERIALS NOT OTHERWISE PROVIDED FOR
    • C09DCOATING COMPOSITIONS, e.g. PAINTS, VARNISHES OR LACQUERS; FILLING PASTES; CHEMICAL PAINT OR INK REMOVERS; INKS; CORRECTING FLUIDS; WOODSTAINS; PASTES OR SOLIDS FOR COLOURING OR PRINTING; USE OF MATERIALS THEREFOR
    • C09D11/00Inks
    • C09D11/02Printing inks
    • C09D11/10Printing inks based on artificial resins
    • C09D11/106Printing inks based on artificial resins containing macromolecular compounds obtained by reactions only involving carbon-to-carbon unsaturated bonds
    • HELECTRICITY
    • H01ELECTRIC ELEMENTS
    • H01FMAGNETS; INDUCTANCES; TRANSFORMERS; SELECTION OF MATERIALS FOR THEIR MAGNETIC PROPERTIES
    • H01F10/00Thin magnetic films, e.g. of one-domain structure
    • H01F10/08Thin magnetic films, e.g. of one-domain structure characterised by magnetic layers
    • H01F10/10Thin magnetic films, e.g. of one-domain structure characterised by magnetic layers characterised by the composition
    • H01F10/18Thin magnetic films, e.g. of one-domain structure characterised by magnetic layers characterised by the composition being compounds
    • H01F10/20Ferrites
    • HELECTRICITY
    • H01ELECTRIC ELEMENTS
    • H01FMAGNETS; INDUCTANCES; TRANSFORMERS; SELECTION OF MATERIALS FOR THEIR MAGNETIC PROPERTIES
    • H01F10/00Thin magnetic films, e.g. of one-domain structure
    • H01F10/26Thin magnetic films, e.g. of one-domain structure characterised by the substrate or intermediate layers
    • H01F10/28Thin magnetic films, e.g. of one-domain structure characterised by the substrate or intermediate layers characterised by the composition of the substrate
    • AHUMAN NECESSITIES
    • A47FURNITURE; DOMESTIC ARTICLES OR APPLIANCES; COFFEE MILLS; SPICE MILLS; SUCTION CLEANERS IN GENERAL
    • A47GHOUSEHOLD OR TABLE EQUIPMENT
    • A47G2400/00Details not otherwise provided for in A47G19/00-A47G23/16
    • A47G2400/10Articles made from a particular material
    • BPERFORMING OPERATIONS; TRANSPORTING
    • B03SEPARATION OF SOLID MATERIALS USING LIQUIDS OR USING PNEUMATIC TABLES OR JIGS; MAGNETIC OR ELECTROSTATIC SEPARATION OF SOLID MATERIALS FROM SOLID MATERIALS OR FLUIDS; SEPARATION BY HIGH-VOLTAGE ELECTRIC FIELDS
    • B03CMAGNETIC OR ELECTROSTATIC SEPARATION OF SOLID MATERIALS FROM SOLID MATERIALS OR FLUIDS; SEPARATION BY HIGH-VOLTAGE ELECTRIC FIELDS
    • B03C2201/00Details of magnetic or electrostatic separation
    • B03C2201/20Magnetic separation of bulk or dry particles in mixtures

Landscapes

  • Chemical & Material Sciences (AREA)
  • Engineering & Computer Science (AREA)
  • Materials Engineering (AREA)
  • Life Sciences & Earth Sciences (AREA)
  • Wood Science & Technology (AREA)
  • Organic Chemistry (AREA)
  • Chemical Kinetics & Catalysis (AREA)
  • Power Engineering (AREA)
  • General Chemical & Material Sciences (AREA)
  • Inks, Pencil-Leads, Or Crayons (AREA)
  • Application Of Or Painting With Fluid Materials (AREA)
  • Laminated Bodies (AREA)

Description

相互参照
本出願は、参照によりその全体が本明細書に組み込まれる、2019年1月30日に出願された米国仮特許出願第62/798,808号および2019年1月31日に出願された米国仮特許出願第62/799,168号の利益を主張する。
背景
本開示は、磁場内で物体の分離を可能にする、その物体の表面の強磁性マーカーによって特徴付けられる、非耐久財として使用されるプラスチック物体の設計に関する。
要旨
本開示の主な目的は、インクでインプリントされるまたはインクを含有する事前印刷されたラベルが添着される、プラスチック物体の設計であって、磁場の印加の下で所望の物体を混合廃棄流から分離することが可能なプラスチック物体の設計である。
本開示に追加の目的は、物体の寸法を著しく変えることなく、プラスチック物体上で印刷可能な表面積を増大させる手法で印刷される、プラスチック物体の幾何学的表面設計について記述することである。
本開示の別の目的は、より低い汚染を可能にする、ボトルからラベルを分離することが可能な磁化可能なインクまたはコーティングで印刷されたラベルの設計である。
本開示の別の目的は、PET再生施設において、ポリエチレンテレフタレート(PET)のボトル、ボトルのキャップ、およびラベルの下地または細断された薄片を含有する混合流(mixed streams)から、磁化可能なマーカーでプラスチックラベルを分離することについて記述することである。PETボトルのパッケージの場合、粉砕によって得られた薄片は分離され、それによって磁化可能なインクまたはコーティングで印刷されたラベルの薄片が、磁場の印加を用いてPETボトルの薄片から採取される。
本開示の別の目的は、磁場内で一時的に磁化することができかつフレキソ、グラビア、凹版、スクリーン、パッド、またはオフセット印刷などの商用の高速印刷プロセスを使用して、プラスチック物体上に直接もしくは間接的にまたは機械的に添着される事前に印刷されるラベルとして印刷することができる、印刷可能なインクの配合を見せることである。
本開示の別の目的は、ラベル上に印刷した後、可視光ならびに近赤外放射線(NIR)に対して透明または半透明であることができる磁化可能なインクまたはコーティングの組成物について記述することである。可視光は、波長が約400~800ナノメートル(nm)の光であると特徴付けられ、一方、近赤外(NIR)放射線は、約780~2500nmの波長を有する。
本開示の目的は、食材に直接または間接的に接触させる、食品に安全な無毒性物体として強磁性要素を持つプラスチック物体を、使用することでもある。
本明細書では、ある特定の実施形態において:ポリマー材料または非磁性、常磁性、または反磁性の金属物体と、強磁性材料を含むフィルムまたはインクとを含む基材であって;この強磁性材料が基材の表面に堆積され、フィルムまたはインクは食品接触物質である、基材が開示される。
一部の実施形態では、基材は、約20グラム未満の質量を有する。一部の実施形態では、基材は、使い捨てボトル、ボトルキャップ、使い捨てコーヒーカップ、プラスチックのカトラリー、食器、刃物用具、プラスチックのトレー、プラスチック容器、食品包装容器、またはこれらの任意の組合せである。一部の実施形態では、基材がアルミニウム缶である。一部の実施形態では、フィルムがラベルである。一部の実施形態では、フィルムがシュリンクスリーブラベル、感圧ラベル、ロール紙ラベル、ラップラベル、伸縮ラベル、切断積層ラベル、収縮括束フィルム、またはこれらの任意の組合せである。一部の実施形態では、強磁性材料が、磁化可能なコーティングまたは磁化可能なマーカーである。一部の実施形態では、強磁性材料が、基材の表面に直接印刷される。一部の実施形態では、強磁性材料は、強磁性材料の透磁率が増大するように、磁場の存在下で基材の表面に直接堆積される。一部の実施形態では、強磁性材料は、基材の全質量の約0.05%から2%に及ぶ。一部の実施形態では、強磁性要素の重量は、フィルムの全質量の約0.05%から2%に及ぶ。一部の実施形態では、強磁性材料の重量は、フィルムの全質量の約0.05%から2%に及ぶ。一部の実施形態では、シュリンクスリーブラベルは、強磁性材料を含まないシュリンクスリーブラベルと比較して、非拘束収縮率に約5%未満の差を含む。一部の実施形態では、基材またはフィルムは、磁場に曝露されて磁化する。一部の実施形態では、基材またはフィルムは、磁場に曝露された後に一時的に磁化される。一部の実施形態では、基材またはフィルムまたはインクは、磁場に曝露された後に磁化される。一部の実施形態では、基材またはフィルムまたはインクは、磁場に曝露された後に一時的に磁化される。一部の実施形態では、基材またはフィルムは、磁化されたとき、複数の非磁性、常磁性、または反磁性の物体から分離される。一部の実施形態では、基材またはフィルムは、一時的に磁化されたとき、複数の非磁性、常磁性、または反磁性の物体から分離される。一部の実施形態では、基材またはフィルムまたはインクは、磁化されたときに複数の非磁性、常磁性、または反磁性物体から分離される。一部の実施形態では、基材またはフィルムまたはインクは、一時的に磁化されたときに複数の非磁性、常磁性、または反磁性の物体から分離される。一部の実施形態では、フィルムは、磁化されたときに基材から分離される。一部の実施形態では、フィルムは、一時的に磁化されたときに基材から分離される。一部の実施形態では、フィルムまたはインクは、磁化されたときに基材から分離される。一部の実施形態では、フィルムまたはインクは、一時的に磁化されたときに基材から分離される。一部の実施形態では、フィルムは、複数の薄片を含む。一部の実施形態では、磁場は、少なくとも約1,000ガウス(G)の磁場強度を有する。一部の実施形態では、磁場は、最大で約1,000ガウス(G)の磁場強度を有する。一部の実施形態では、磁場は、磁気分離デバイスによって生成される。一部の実施形態では、磁気分離デバイスは、手持ち式磁石、商用のドラム型分離器、オーバーバンド磁気分離器、磁気ヘッドプーリー、またはこれらの任意の組合せである。一部の実施形態では、磁気分離デバイスは、少なくとも約50%の分離回収率を有する。
一部の実施形態では、磁気分離デバイスは、少なくとも約80%の分離回収率を有する。一部の実施形態では、強磁性材料は、フィルム上に印刷される。一部の実施形態では、強磁性材料は、強磁性インク組成物を含む。一部の実施形態では、インクは、強磁性インク組成物を含む。一部の実施形態では、強磁性インク組成物は、強磁性材料、樹脂、ならびに湿潤および/または分散剤を含む。一部の実施形態では、強磁性インク組成物は、強磁性材料、樹脂、沈降防止添加剤、ならびに湿潤および/または分散剤を含む。一部の実施形態では、沈降防止添加剤は、ヒュームドシリカ、ポリアミド誘導体、ワックス、またはこれらの任意の組合せである。
一部の実施形態では、強磁性材料は、強磁性インク組成物の重量の少なくとも20%を構成する。一部の実施形態では、強磁性材料は、強磁性インク組成物の重量の20%未満を構成する。一部の実施形態では、強磁性材料は、強磁性インク組成物の重量の0.1%から20%を構成する。一部の実施形態では、強磁性材料は、強磁性インク組成物の重量の0.1%から20%未満を構成する。
一部の実施形態では、強磁性材料は、摂取可能な強磁性顔料である。一部の実施形態では、強磁性材料は、混じり物のない鉄粉、カルボニル鉄、カルボニルコバルト、カルボニルニッケル、鉄合金、酸化鉄、低炭素鋼グレード、ニッケル、コバルト、フェライト系ステンレス鋼、アトマイズ化ステンレス鋼、またはこれらの任意の組合せである。一部の実施形態では、混じり物のない鉄粉は、電解鉄、アトマイズ化鉄、または還元鉄である。一部の実施形態では、鉄合金は、コバルト、バナジウム、マンガン、モリブデン、ケイ素、ニッケル、アルミニウム、および/または銅である。一部の実施形態では、酸化鉄は、酸化鉄(III)または酸化鉄(II,III)である。一部の実施形態では、樹脂は、強磁性インク組成物の重量の少なくとも5%を構成する。一部の実施形態では、樹脂は、塩化ビニル酢酸ビニルコポリマー、ニトロセルロース、ポリウレタン、ケトンアルデヒドポリマー、アルコール可溶性ポリアミド、共溶媒ポリアミド、マレイン酸樹脂、エステルガム樹脂、アクリル酸樹脂、セルロースアセテートブチレート樹脂、セルロースアセテートプロピオネート、非晶質ポリエステル樹脂、塩素化ゴム、エチルビニルアセテート樹脂、またはこれらの任意の組合せである。
一部の実施形態では、湿潤および/または分散剤は、Solsperse 8000、Solsperse 8200、Solsperse 2000、Solsperse 24000、Solsperse 17000、Disperbyk 108、Disperbyk 2155、Disperbyk 9077、WA5013、98C、BYK 111、またはこれらの任意の組合せである。一部の実施形態では、強磁性インク組成物は、少なくとも1種の溶媒をさらに含み、溶媒は、強磁性インク組成物の重量の少なくとも25%を構成する。一部の実施形態では、溶媒は、メタノール、エタノール、n-プロパノール、イソプロピルアルコール、酢酸エチル、酢酸n-プロピル、酢酸イソプロピル、酢酸n-ブチル、トルエン、メチルエチルケトン、アセトン、またはこれらの任意の組合せである。一部の実施形態では、強磁性インク組成物は、約1/80から6/1に及ぶ強磁性材料/樹脂比を含む。一部の実施形態では、強磁性インク組成物は、約1/10から3/1に及ぶ強磁性材料/樹脂比を含む。一部の実施形態では、強磁性インク組成物は、約1/5から2/1に及ぶ強磁性材料/樹脂比を含む。一部の実施形態では、強磁性インク組成物は、約1/6から約6/1に及ぶ強磁性材料/樹脂比を含む。一部の実施形態では、強磁性インク組成物は、約2/1から約6/1に及ぶ強磁性材料/樹脂比を含む。一部の実施形態では、強磁性インク組成物は、約3/1から約5/1に及ぶ強磁性材料/樹脂比を含む。一部の実施形態では、強磁性インク組成物が、間接食品添加物である。一部の実施形態では、間接食品添加物が、Generally Recognized as Safe(一般に安全と見なされている)(GRAS)物質である。
一部の実施形態では、間接食品添加物は、連邦規則集第21章に列挙されるような、FDAで認可された食品添加物である。
一部の実施形態では、強磁性インク組成物は、少なくとも1つの層に堆積される。一部の実施形態では、ラベルは、透明または半透明なラベルである。一部の実施形態では、ラベルは、半透明なラベルである。一部の実施形態では、磁化可能なコーティングまたは磁化可能なマーカーは、透明または半透明な磁化可能なコーティング、あるいは透明または半透明な磁化可能なマーカーである。一部の実施形態では、磁化可能なコーティングまたは磁化可能なマーカーは、透明な磁化可能なコーティングまたは透明な磁化可能なマーカーである。一部の実施形態では、透明または半透明なコーティングを透明または半透明なラベル上に付着することに起因するヘイズ値の変化は、9%未満であるべきであり、好ましくは5%未満であるべきである。一部の実施形態では、ラベルおよびコーティングを組み合わせた全ヘイズ値は、17%未満であるべきであり、好ましくは12%未満であるべきである。一部の実施形態では、ヘイズ値は、ASTM D1003-13:透明なプラスチックのヘイズおよび光透過率の標準試験法を使用して測定したときに特定される。一部の実施形態では、ラベルおよびコーティングを組み合わせた全可視透過率値は、82%よりも大きくあるべきであり、好ましくは90%よりも大きくあるべきである。一部の実施形態では、ラベルおよびコーティングを組み合わせた全NIR透過率値は、87%よりも大きくあるべきで、好ましくは90%よりも大きくあるべきである。一部の実施形態では、透明または半透明なコーティングの付着は、印刷されたラベル上に使用される商用のアートワーク/グラフィックの外見に変化を引き起こすべきではない。一部の実施形態では、商用のアートワーク/グラフィックの外見の変化は、主観的な測定であり、一般に、1~10の数値スケールに割り当てることによって行われ、ここで1は、ラベルの外見に影響を及ぼさない状態である。
一部の実施形態では、透明または半透明なラベル、透明または半透明な磁化可能なコーティング、あるいは透明または半透明な磁化可能なマーカーは、可視光および/または近赤外光(NIR)に対して透明である。一部の実施形態では、フィルムは、多層フィルムまたは共押出しフィルムである。一部の実施形態では、多層フィルムまたは共押出しフィルムは、少なくとも2層のフィルムを含む。一部の実施形態では、多層フィルムまたは共押出しフィルムは、少なくとも約3層のフィルムから最大で約12層のフィルムを含む。一部の実施形態では、フィルムがポリマーフィルムである。一部の実施形態では、ポリマーフィルムは、ポリエチレン(PE)フィルム、高密度ポリエチレン(HDPE)フィルム、低密度ポリエチレン(LDPE)フィルム、直鎖状低密度ポリエチレン(LLDPE)フィルム、ポリプロピレン(PP)フィルム、エチレン-ビニルアルコール(EVOH)フィルム、ポリアミド(NylonまたはPA)フィルム、アイオノマーフィルム、エチレンビニルアセテート(EVA)フィルム、グリコシル化ポリエチレンテレフタレート(PETG)、ポリプロピレン(PP)、ポリ塩化ビニル(PVC)、またはこれらの任意の組合せである。一部の実施形態では、ポリマーフィルムは、ポリエチレン(PE)フィルム、高密度ポリエチレン(HDPE)フィルム、低密度ポリエチレン(LDPE)フィルム、直鎖状低密度ポリエチレン(LLDPE)フィルム、配向ポリプロピレン(OPP)フィルム、二軸配向ポリプロピレン(BOPP)フィルム、配向ポリスチレン(OPS)フィルム、エチレン-ビニルアルコール(EVOH)フィルム、ポリアミド(NylonまたはPA)フィルム、アイオノマーフィルム、エチレンビニルアセテート(EVA)フィルム、グリコシル化ポリエチレンテレフタレート(PETG)、ポリプロピレン(PP)、ポリ塩化ビニル(PVC)、またはこれらの任意の組合せである。
一部の実施形態では、アイオノマーフィルムが、エチレンアクリル酸コポリマー(EAA)またはエチレン(メタ)アクリル酸コポリマー(EMAA)である。一部の実施形態では、強磁性インク組成物は、フレキソ印刷、グラビア印刷、凹版印刷、パッド印刷、スクリーン印刷、オフセット印刷、またはこれらの任意の組合せに適している。一部の実施形態では、ポリマー材料は、ポリエチレンテレフタレート(PET)、ポリエステル、ポリエチレン(PE)、ポリカーボネート(PC)、ポリスチレン(PS)、ポリ塩化ビニル(PVC)、ポストコンシューマー樹脂(PCR)、スチレンブタジエンコポリマー(SBC)、高密度ポリエチレン(HDPE)、フッ素処理済みHDPE、低密度ポリエチレン(LDPE)、直鎖状低密度ポリエチレン(LLDPE)、ポリプロピレン(PP)、バイオプラスチック、ビスフェノールA(BPA)、エチレン-ビニルアルコール(EVOH)、ポリアミド(NylonまたはPA)、アイオノマー、エチレンビニルアセテート(EVA)、またはこれらの任意の組合せである。
本明細書では、ある特定の実施形態において、強磁性基材を製作する方法であって:a)強磁性インク組成物をフィルムの表面に印刷すること;およびb)フィルムを非強磁性基材の表面上に転写して、強磁性基材を生成することを含み、この強磁性インク組成物が、食品接触物質である、方法が開示される。
一部の実施形態では、方法は、フレキソ印刷、グラビア印刷、凹版印刷、パッド印刷、スクリーン印刷、オフセット印刷、またはこれらの任意の組合せを含む。一部の実施形態では、強磁性基材は、使い捨てボトル、ボトルキャップ、使い捨てコーヒーカップ、プラスチックのカトラリー、食器、刃物用具、プラスチックのトレー、プラスチック容器、食品包装容器、またはこれらの任意の組合せである。一部の実施形態では、基材がアルミニウム缶である。一部の実施形態では、フィルムがラベルである。一部の実施形態では、フィルムがシュリンクスリーブラベル、感圧ラベル、ロール紙ラベル、ラップラベル、伸縮ラベル、切断積層ラベル、収縮括束フィルム、またはこれらの任意の組合せである。一部の実施形態では、強磁性インク組成物の重量は、強磁性基材の全重量の約0.05%から2%に及ぶ。一部の実施形態では、強磁性インク組成物の重量は、フィルムの全重量の約0.05%から2%に及ぶ。一部の実施形態では、シュリンクスリーブラベルは、強磁性材料を含まないシュリンクスリーブラベルと比較して、非拘束収縮率に約5%未満の差を含む。一部の実施形態では、強磁性基材またはフィルムは、磁場に曝露された後に磁化される。一部の実施形態では、強磁性基材またはフィルムは、磁場に曝露された後に一時的に磁化される。一部の実施形態では、強磁性基材またはフィルムまたはインクは、磁場に曝露された後に磁化される。一部の実施形態では、強磁性基材またはフィルムまたはインクは、磁場に曝露された後に一時的に磁化される。一部の実施形態では、磁化されたときに、強磁性基材またはフィルムは、複数の非磁性、常磁性、または反磁性物体から分離される。一部の実施形態では、強磁性基材またはフィルムは、一時的に磁化されたときに、複数の非磁性、常磁性、または反磁性物体から分離される。一部の実施形態では、強磁性基材またはフィルムまたはインクは、磁化されたときに、複数の非磁性、常磁性、または反磁性物体から分離される。一部の実施形態では、強磁性基材またはフィルムまたはインクは、一時的に磁化されたときに、複数の非磁性、常磁性、または反磁性物体から分離される。
一部の実施形態では、フィルムは、磁化されたときに強磁性基材から分離される。一部の実施形態では、フィルムは、一時的に磁化されたときに強磁性基材から分離される。一部の実施形態では、フィルムまたはインクは、磁化されたときに強磁性基材から分離される。一部の実施形態では、フィルムまたはインクは、一時的に磁化されたときに強磁性基材から分離される。一部の実施形態では、フィルムは、複数の薄片を含む。一部の実施形態では、磁場は、少なくとも約1,000ガウス(G)の磁場強度を有する。一部の実施形態では、磁場は、最大で約1,000ガウス(G)の磁場強度を有する。一部の実施形態では、磁場は、磁気分離デバイスによって生成される。一部の実施形態では、磁気分離デバイスは、手持ち式磁石、商用ドラム型分離器、オーバーバンド磁気分離器、磁気ヘッドプーリー、またはこれらの任意の組合せである。一部の実施形態では、磁気分離デバイスは、少なくとも約50%の分離回収率を有する。一部の実施形態では、磁気分離デバイスは、少なくとも約80%の分離回収率を有する。一部の実施形態では、強磁性インク組成物は、強磁性材料、樹脂、ならびに湿潤および/または分散剤を含む。一部の実施形態では、強磁性インク組成物は、強磁性材料、樹脂、沈降防止添加剤、ならびに湿潤および/または分散剤を含む。一部の実施形態では、沈降防止添加剤は、ヒュームドシリカ、ポリアミド誘導体、ワックス、またはこれらの任意の組合せである。一部の実施形態では、強磁性材料は、強磁性インク組成物の重量の少なくとも20%を構成する。一部の実施形態では、強磁性材料は、強磁性インク組成物の重量の20%未満を構成する。一部の実施形態では、強磁性材料は、強磁性インク組成物の重量の0.1%から20%を構成する。一部の実施形態では、強磁性材料は、強磁性インク組成物の重量の0.1%から20%未満を構成する。一部の実施形態では、強磁性材料は、摂取可能な強磁性顔料である。一部の実施形態では、強磁性材料は、混じり物のない鉄粉、カルボニル鉄、カルボニルコバルト、カルボニルニッケル、鉄合金、酸化鉄、低炭素鋼グレード、ニッケル、コバルト、フェライト系ステンレス鋼、アトマイズ化ステンレス鋼、またはこれらの任意の組合せである。一部の実施形態では、混じり物のない鉄粉は、電解鉄、アトマイズ化鉄、または還元鉄である。一部の実施形態では、鉄合金は、コバルト、バナジウム、マンガン、モリブデン、ケイ素、ニッケル、アルミニウム、および/または銅である。一部の実施形態では、酸化鉄が、酸化鉄(III)または酸化鉄(II,III)である。一部の実施形態では、樹脂が、強磁性インク組成物の重量の少なくとも5%を構成する。
一部の実施形態では、樹脂は、塩化ビニル酢酸ビニルコポリマー、ニトロセルロース、ポリウレタン、ケトンアルデヒドポリマー、アルコール可溶性ポリアミド、共溶媒ポリアミド、マレイン酸樹脂、エステルガム樹脂、アクリル酸樹脂、セルロースアセテートブチレート樹脂、セルロースアセテートプロピオネート、非晶質ポリエステル樹脂、塩素化ゴム、エチルビニルアセテート樹脂、またはこれらの任意の組合せである。一部の実施形態では、湿潤および/または分散剤は、Solsperse 8000、Solsperse 8200、Solsperse 2000、Solsperse 24000、Solsperse 17000、Disperbyk 108、Disperbyk 2155、Disperbyk 9077、WA5013、98C、BYK 111、またはこれらの任意の組合せである。一部の実施形態では、強磁性インク組成物は、少なくとも1種の溶媒をさらに含み、溶媒は、強磁性インク組成物の重量の少なくとも25%を構成する。一部の実施形態では、溶媒は、メタノール、エタノール、n-プロパノール、イソプロピルアルコール、酢酸エチル、酢酸n-プロピル、酢酸イソプロピル、酢酸n-ブチル、トルエン、メチルエチルケトン、アセトン、またはこれらの任意の組合せである。一部の実施形態では、強磁性インク組成物は、約1/80から6/1に及ぶ強磁性材料/樹脂比を含む。一部の実施形態では、強磁性インク組成物は、約1/10から3/1に及ぶ強磁性材料/樹脂比を含む。一部の実施形態では、強磁性インク組成物は、約1/5から2/1に及ぶ強磁性材料/樹脂比を含む。一部の実施形態では、強磁性インク組成物は、約1/6から約6/1に及ぶ強磁性材料/樹脂比を含む。一部の実施形態では、強磁性インク組成物は、約2/1から約6/1に及ぶ強磁性材料/樹脂比を含む。一部の実施形態では、強磁性インク組成物は、約3/1から約5/1に及ぶ強磁性材料/樹脂比を含む。一部の実施形態では、強磁性インク組成物が、間接食品添加物である。一部の実施形態では、間接食品添加物が、一般に安全と見なされている(GRAS)物質である。一部の実施形態では、間接食品添加物は、連邦規則集第21巻に列挙されるような、FDAで認可された食品添加物である。一部の実施形態では、強磁性インク組成物は、少なくとも1つの層に堆積される。一部の実施形態では、ラベルは、透明または半透明なラベルである。一部の実施形態では、ラベルは、半透明なラベルである。一部の実施形態では、磁化可能なコーティングまたは磁化可能なマーカーは、透明または半透明な磁化可能なコーティング、あるいは透明または半透明な磁化可能なマーカーである。一部の実施形態では、磁化可能なコーティングまたは磁化可能なマーカーは、透明な磁化可能なコーティングまたは透明な磁化可能なマーカーである。一部の実施形態では、透明または半透明なコーティングを透明または半透明なラベル上に付着することに起因するヘイズ値の変化は、9%未満であるべきであり、好ましくは5%未満であるべきである。一部の実施形態では、ラベルおよびコーティングを組み合わせた全ヘイズ値は、17%未満であるべきであり、好ましくは12%未満であるべきである。一部の実施形態では、ヘイズ値は、ASTM D1003-13:透明なプラスチックのヘイズおよび光透過率の標準試験法を使用して測定したときに特定される。一部の実施形態では、ラベルおよびコーティングを組み合わせた全可視透過率値は、82%よりも大きくあるべきであり、好ましくは90%よりも大きくあるべきである。一部の実施形態では、ラベルおよびコーティングを組み合わせた全NIR透過率値は、87%よりも大きくあるべきで、好ましくは90%よりも大きくあるべきである。一部の実施形態では、透明または半透明なコーティングの付着は、印刷されたラベル上に使用される商用のアートワーク/グラフィックの外見に変化を引き起こすべきではない。一部の実施形態では、商用のアートワーク/グラフィックの外見の変化は、主観的な測定であり、一般に、1~10の数値スケールに割り当てることによって行われ、ここで1は、ラベルの外見に影響を及ぼさない状態である。
一部の実施形態では、透明または半透明なラベル、透明または半透明な磁化可能なコーティング、あるいは透明または半透明な磁化可能なマーカーは、可視光および/または近赤外光(NIR)に対して透明または半透明である。一部の実施形態では、フィルムは、多層フィルムまたは共押出しフィルムである。一部の実施形態では、多層フィルムまたは共押出しフィルムは、少なくとも2層のフィルムを含む。一部の実施形態では、多層フィルムまたは共押出しフィルムは、少なくとも約3層のフィルムから最大で約12層のフィルムを含む。一部の実施形態では、フィルムがポリマーフィルムである。一部の実施形態では、ポリマーフィルムは、ポリエチレン(PE)フィルム、高密度ポリエチレン(HDPE)フィルム、低密度ポリエチレン(LDPE)フィルム、直鎖状低密度ポリエチレン(LLDPE)フィルム、ポリプロピレン(PP)フィルム、エチレン-ビニルアルコール(EVOH)フィルム、ポリアミド(NylonまたはPA)フィルム、アイオノマーフィルム、エチレンビニルアセテート(EVA)フィルム、グリコシル化ポリエチレンテレフタレート(PETG)、ポリプロピレン(PP)、ポリ塩化ビニル(PVC)、またはこれらの任意の組合せである。一部の実施形態では、ポリマーフィルムは、ポリエチレン(PE)フィルム、高密度ポリエチレン(HDPE)フィルム、低密度ポリエチレン(LDPE)フィルム、直鎖状低密度ポリエチレン(LLDPE)フィルム、配向ポリプロピレン(OPP)フィルム、二軸配向ポリプロピレン(BOPP)フィルム、配向ポリスチレン(OPS)フィルム、エチレン-ビニルアルコール(EVOH)フィルム、ポリアミド(NylonまたはPA)フィルム、アイオノマーフィルム、エチレンビニルアセテート(EVA)フィルム、グリコシル化ポリエチレンテレフタレート(PETG)、ポリプロピレン(PP)、ポリ塩化ビニル(PVC)、またはこれらの任意の組合せである。一部の実施形態では、アイオノマーフィルムは、エチレンアクリル酸コポリマー(EAA)またはエチレン(メタ)アクリル酸コポリマー(EMAA)である。一部の実施形態では、基材は、ポリマー材料を含む。一部の実施形態では、ポリマー材料は、ポリエチレンテレフタレート(PET)、ポリエステル、ポリエチレン(PE)、ポリカーボネート(PC)、ポリスチレン(PS)、ポリ塩化ビニル(PVC)、ポストコンシューマー樹脂(PCR)、スチレンブタジエンコポリマー(SBC)、高密度ポリエチレン(HDPE)、フッ素処理済みHDPE、低密度ポリエチレン(LDPE)、直鎖状低密度ポリエチレン(LLDPE)、ポリプロピレン(PP)、バイオプラスチック、ビスフェノール-A(BPA)、エチレン-ビニルアルコール(EVOH)、ポリアミド(NylonまたはPA)、アイオノマー、エチレンビニルアセテート(EVA)、またはこれらの任意の組合せである。
ある態様では、本開示は:強磁性インク組成物を含むフィルムを含む、強磁性材料フィルムを提供する。一部の実施形態では、強磁性材料フィルムの強磁性インク組成物は、強磁性材料、樹脂、ならびに湿潤および/または分散剤を含む。一部の実施形態では、強磁性インク組成物は、強磁性材料、樹脂、沈降防止添加剤、ならびに湿潤および/または分散剤を含む。一部の実施形態では、沈降防止剤添加剤は、ヒュームドシリカ、ポリアミド誘導体、ワックス、またはこれらの任意の組合せである。一部の実施形態では、強磁性材料は、前記強磁性インク組成物の重量の少なくとも20%を構成する。一部の実施形態では、強磁性材料は、強磁性インク組成物の重量の20%未満を構成する。一部の実施形態では、強磁性材料は、強磁性インク組成物の重量の0.1%から20%を構成する。一部の実施形態では、強磁性材料は、強磁性インク組成物の重量の0.1%から20%未満を構成する。一部の実施形態では、強磁性材料は、摂取可能な強磁性顔料である。一部の実施形態では、強磁性材料は、混じり物のない鉄粉、カルボニル鉄、カルボニルコバルト、カルボニルニッケル、鉄合金、酸化鉄、低炭素鋼グレード、ニッケル、コバルト、フェライト系ステンレス鋼、アトマイズ化ステンレス鋼、またはこれらの任意の組合せである。一部の実施形態では、混じり物のない鉄粉は、電解鉄、アトマイズ化鉄、または還元鉄である。一部の実施形態では、鉄合金は、コバルト、バナジウム、マンガン、モリブデン、ケイ素、ニッケル、ホウ素、アルミニウム、銅、またはこれらの任意の組合せを含む。一部の実施形態では、酸化鉄は、酸化鉄(III)または酸化鉄(II,III)である。一部の実施形態では、樹脂は、前記強磁性インク組成物の重量の少なくとも5%を構成する。一部の実施形態では、樹脂は、塩化ビニル酢酸ビニルコポリマー、ニトロセルロース、ポリウレタン、ケトンアルデヒドポリマー、アルコール可溶性ポリアミド、共溶媒ポリアミド、マレイン酸樹脂、エステルガム樹脂、アクリル酸樹脂、セルロースアセテートブチレート樹脂、セルロースアセテートプロピオネート、非晶質ポリエステル樹脂、塩素化ゴム、エチルビニルアセテート樹脂、またはこれらの任意の組合せである。一部の実施形態では、湿潤および/または前記分散剤は、Solsperse 8000、Solsperse 8200、Solsperse 2000、Solsperse 24000、Solsperse 17000、Disperbyk 108、Disperbyk 2155、Disperbyk 9077、WA5013、98C、BYK 111、またはこれらの任意の組合せである。
一部の実施形態では、強磁性材料フィルムの強磁性インク組成物がさらに、少なくとも1種の溶媒を含み、前記溶媒は、前記強磁性インク組成物の重量の少なくとも25%を含む。一部の実施形態では、溶媒は、メタノール、エタノール、n-プロパノール、イソプロピルアルコール、酢酸エチル、酢酸n-プロピル、酢酸イソプロピル、酢酸n-ブチル、トルエン、メチルエチルケトン、アセトン、またはこれらの任意の組合せである。一部の実施形態では、強磁性インク組成物は、約1/80から6/1に及ぶ強磁性材料/樹脂比を含む。一部の実施形態では、強磁性インク組成物は、約1/10から3/1に及ぶ強磁性材料/樹脂比を含む。一部の実施形態では、強磁性インク組成物は、約1/5から2/1に及ぶ強磁性材料/樹脂比を含む。一部の実施形態では、強磁性インク組成物は、約1/6から約6/1に及ぶ強磁性材料/樹脂比を含む。一部の実施形態では、強磁性インク組成物は、約2/1から約6/1に及ぶ強磁性材料/樹脂比を含む。一部の実施形態では、強磁性インク組成物は、約3/1から約5/1に及ぶ強磁性材料/樹脂比を含む。一部の実施形態では、強磁性インク組成物の全成分が、間接食品添加物である。一部の実施形態では、間接食品添加物が、一般に安全と見なされている(GRAS)物質である。一部の実施形態では、間接食品添加物が、連邦規則集第21巻に列挙されるような、FDAで認可された食品添加物である。
一部の実施形態では、強磁性材料フィルムのフィルムには、強磁性インク組成物が印刷される。一部の実施形態では、強磁性インク組成物は、少なくとも1つの層に堆積される。一部の実施形態では、フィルムは食品接触物質である。一部の実施形態では、フィルムがラベルである。一部の実施形態では、ラベルが自己接着ラベルである。一部の実施形態では、フィルムは、シュリンクスリーブラベル、感圧ラベル、ロール紙ラベル、ラップラベル、伸縮ラベル、切断積層ラベル、収縮括束フィルム、またはこれらの任意の組合せである。一部の実施形態では、シュリンクスリーブラベルが、前記強磁性インク組成物を含まないシュリンクスリーブラベルと比較して、非拘束収縮率に約5%未満の差を含む。一部の実施形態では、前記強磁性材料の重量は、前記フィルムの全質量の約0.05%から2%に及ぶ。
一部の実施形態では、フィルム強磁性材料フィルムは、磁場への曝露後に磁化される。一部の実施形態では、フィルム強磁性材料フィルムは、磁場への曝露後に一時的に磁化される。一部の実施形態では、フィルムは、磁化されたときに、複数の非磁性、常磁性、または反磁性物体から分離される。一部の実施形態では、フィルムは、一時的に磁化されたときに、複数の非磁性、常磁性、または反磁性物体から分離される。一部の実施形態では、フィルムは、磁化されたときに前記基材から分離される。一部の実施形態では、フィルムは、一時的に磁化されたときに前記基材から分離される。一部の実施形態では、フィルムが複数の薄片を含む。
一部の実施形態では、磁場が、少なくとも約1,000ガウス(G)の磁場強度を有する。一部の実施形態では、磁場は、最大で約1,000ガウス(G)の磁場強度を有する。一部の実施形態では、磁場は、磁気分離デバイスによって生成される。一部の実施形態では、磁気分離デバイスは、手持ち式磁石、商用ドラム型分離器、オーバーバンド磁気分離器、磁気ヘッドプーリー、またはこれらの任意の組合せである。一部の実施形態では、磁気分離デバイスが、少なくとも約50%の分離回収率を有する。一部の実施形態では、磁気分離デバイスが、少なくとも約80%の分離回収率を有する。
一部の実施形態では、強磁性材料フィルムのラベルは、透明または半透明なラベルである。一部の実施形態では、透明または半透明なラベルは、可視光および/または近赤外光(NIR)に対して透明または半透明である。一部の実施形態では、フィルムが多層フィルムまたは共押出しフィルムである。一部の実施形態では、多層フィルムまたは前記共押出しフィルムが少なくとも2層のフィルムを含む。一部の実施形態では、多層フィルムまたは前記共押出しフィルムは、少なくとも約3層のフィルムから最大で約12層のフィルムを含む。一部の実施形態では、フィルムがポリマーフィルムである。一部の実施形態では、ポリマーフィルムは、ポリエチレン(PE)フィルム、高密度ポリエチレン(HDPE)フィルム、低密度ポリエチレン(LDPE)フィルム、直鎖状低密度ポリエチレン(LLDPE)フィルム、ポリプロピレン(PP)フィルム、エチレン-ビニルアルコール(EVOH)フィルム、ポリアミド(NylonまたはPA)フィルム、アイオノマーフィルム、エチレンビニルアセテート(EVA)フィルム、グリコシル化ポリエチレンテレフタレート(PETG)、ポリプロピレン(PP)、ポリ塩化ビニル(PVC)、またはこれらの任意の組合せである。一部の実施形態では、ポリマーフィルムは、ポリエチレン(PE)フィルム、高密度ポリエチレン(HDPE)フィルム、低密度ポリエチレン(LDPE)フィルム、直鎖状低密度ポリエチレン(LLDPE)フィルム、配向ポリプロピレン(OPP)フィルム、二軸配向ポリプロピレン(BOPP)フィルム、配向ポリスチレン(OPS)フィルム、エチレン-ビニルアルコール(EVOH)フィルム、ポリアミド(NylonまたはPA)フィルム、アイオノマーフィルム、エチレンビニルアセテート(EVA)フィルム、グリコシル化ポリエチレンテレフタレート(PETG)、ポリプロピレン(PP)、ポリ塩化ビニル(PVC)、またはこれらの任意の組合せである。一部の実施形態では、アイオノマーフィルムが、エチレンアクリル酸コポリマー(EAA)またはエチレン(メタ)アクリル酸コポリマー(EMAA)である。
一部の実施形態では、強磁性材料フィルムの強磁性インク組成物は、フレキソ印刷、グラビア印刷、凹版印刷、パッド印刷、スクリーン印刷、オフセット印刷、またはこれらの任意の組合せに適している。一部の実施形態では、フィルムには、フレキソ印刷、グラビア印刷、凹版印刷、パッド印刷、スクリーン印刷、オフセット印刷、またはこれらの任意の組合せによって、前記強磁性インク組成物が印刷される。一部の実施形態では、強磁性材料フィルムは、アルミニウム缶、使い捨てボトル、ボトルキャップ、使い捨てコーヒーカップ、プラスチックのカトラリー、食器、刃物用具、プラスチックのトレー、プラスチック容器、食品包装容器、またはこれらの任意の組合せの表面に添着されるように構成される。
ある態様では、本開示は、本明細書に記述される基材または強磁性材料フィルムを製造する方法を提供する。
参照による組込み
本明細書で述べる全ての刊行物、特許、および特許出願は、個々の刊行物、特許、または特許出願のそれぞれが参照により組み込まれるよう特にかつ個々に示されたかのように、およびそれらの全体が記述されるかのように、同じ程度まで、参照により本明細書に組み込まれる。本明細書で使用される用語と組み込まれる参考文献で定義される用語との間に矛盾がある場合には、本開示の定義が優先する。
本発明の新規な特徴を、添付される特許請求の範囲で特に記述する。本発明の特徴および利点のより良い理解は、本発明の原理が利用される例示的な実施形態について述べる下記の詳細な記述と、添付図面(本明細書では、「図(Figure)」および「FIG.」でもある)とを参照することによって、得られることになる。
図1は、強磁性インクを含む物体の例を示す。
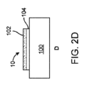
図2A、2B、2C、および2Dは、種々のタイプの表面修飾の例を示す。図2Aは、強磁性インクによる、物体の表面の直接コーティングを示す。図2Bは、強磁性インクでコーティングされた物体の表面上の、マイクロウェルを示す。図2Cは、強磁性インクでコーティングされた物体の表面上の、鋸歯の設計を示す。図2Dは、強磁性インクでコーティングされたエンボスの設計を示す。
図3は、本明細書で提供される方法を実施するようにプログラムされたまたはその他の手法で構成された、コンピューター制御システムを示す。
図4A~4Bは、強磁性ラベルを含む、例示的なフィルムを示す。図4Aは、フィルムの例を示す。図4Bは、強磁性マーカーがその表面に印刷されることになる、プラスチック物体の例を示す。
図5は、その表面に配置された強磁性ラベルを有するプラスチック物体が、商用の磁気分離器を使用して分離されることを示す。
図6は、PETボトルに関する例示的なリサイクルプロセスと、リサイクル効率を改善するように設計された本明細書に記述される基材の磁気ベースの分離との、フローチャートを示す。
図7は、本開示の磁化可能なインク組成物を含むプラスチック物質およびフィルムの例示的な実施形態を示す。
本発明の様々な実施形態について、図示しかつ本明細書で記述してきたが、そのような実施形態は、単なる例として提供されることが当業者に明らかにされよう。数多くの変形例、変更例、および置換例が、本発明から逸脱することなく当業者なら思い浮かべるであろう。本明細書に記述される本発明の実施形態の様々な代替例が用いられ得ることを、理解すべきである。
本明細書で使用される用語は、特定の場合のみについて記述することを目的とし、限定しようとするものではない。本明細書で使用される場合、単数形の「a」、「an」、および「the」は、文脈が他に明示しない限り、複数形も同様に含むものとする。さらに、「含む(including)」、「含む(includes)」、「有する(having)」、「有する(has)」、「有する(with)」という用語、またはこれらの変形例が、詳細な説明および/または特許請求の範囲のいずれかで使用される程度まで、そのような用語は、「含む(comprising)」と同様に包括的であるものとする。
「約」または「およそ」という用語は、約99%、95%、80%、50%、10%、5%、または1%であってその範囲内の増分も含めた、記述される量付近の量を指す。例えば、「約」または「およそ」は、特定の値を含む、ならびにその特定の値よりも10%下からその特定の値の10%上にまで及ぶ範囲を意味することができる。
本明細書で使用される場合、「リサイクレート」という用語は一般に、新しい製品を形成するのに使用することができる、廃棄物リサイクル工場または材料回収施設(MRF)に送られ処理される原材料を指す。リサイクレートは、様々な方法を介して収集し、施設に配送することができ、そこでは、新しい材料または製品の生成に使用することができるように再製造される。リサイクレートは例えば、プラスチック物体、非金属物体、金属物体、使い捨てボトル、ボトルキャップ、使い捨てコーヒーカップ、プラスチックのカトラリー、食器、刃物用具、プラスチックのトレー、プラスチック容器、食品包装容器、シュリンクスリーブ、またはこれらの任意の組合せであってもよい。
「小物体」という用語は、本明細書で使用される場合、一般に、いずれか1つの寸法が約4インチと測定される物体を指す。
「強磁性インク」という用語は、本明細書で使用される場合、一般に、磁化可能なインク組成物を指す。
「強磁性マーカー」という用語は、本明細書で使用される場合、一般に、「強磁性ラベル」という用語を指し、「強磁性ラベル」という用語と同義で使用される。
「強磁性要素」という用語は、本明細書で使用される場合、一般に、強磁性インクを指し、例えば自己接着ラベルを含むことができる。その他の場合には、強磁性要素は、強磁性インク、剥離ワニス、および接着剤ワニスを含むことができる。さらに別の場合には、強磁性要素は、物体上に直接印刷される強磁性インクを含むことができる。
「混じり物のない鉄粉」という用語は、本明細書で使用される場合、一般に、少なくとも99.5%の鉄を含む高純度の鉄粉を指す。
「非磁性(non magnetic)」または「非磁性(non-magnetic)」という用語は、本明細書で使用される場合、一般に、磁場に対して非反応性またはほとんど反応しないことを指す。例えば、非磁性材料は、磁石に向かって引き付けられない。「非磁性(non magnetic)」または「非磁性(non-magnetic)」という用語は、本明細書で使用される場合、例えば常磁性および反磁性の意味を含む。常磁性材料の例には、限定するものではないがアルミニウム、酸素、チタン、酸化鉄、マグネシウム、モリブデン、リチウム、白金、タングステン、ジルコニウム、およびタンタルが含まれる。反磁性材料の例には、限定するものではないが水素、金、炭素、銅、ヨウ素、水銀、銀、スズ、および亜鉛が含まれる。
「間接食品添加物」という用語は、本明細書で使用される場合、一般に、包装または加工機器の部分として食品に接触するようになるが食品に直接添加されるものではない、物質または材料を指す。
「食品接触物質」という用語は、本明細書で使用される場合、一般に、食品を製造、パック、包装、輸送、または保持する際の成分として使用されることが意図される、物質または材料であって、そのような使用がそのような食品においていかなる技術的影響も及ぼすものではないものを指す。例えば、食品接触物質は、プラスチック物体である。食品接触物質の非限定的な追加の例には、プラスチックボトル、ボトルキャップ、使い捨てコーヒーカップ、プラスチックのカトラリー、食器、刃物用具、プラスチックのトレー、プラスチック容器、食品包装容器、およびシュリンクスリーブが含まれる。
「分離回収」という用語は、本明細書で使用される場合、一般に、廃棄物流の混合物からそれを分離した後の物体(例えば、基材)の回収を指す。
「負荷深さ」という用語は、本明細書で使用される場合、一般に、選別されることになる基材の表面と磁気分離器との間の材料の量(インチを単位とする、材料の高さ)を指す。
廃棄物の選別
一生の間に、人は、その体重の最大600倍の廃棄物材料を発生させる可能性がある。その結果、1970年代以降、削減、再使用、およびリサイクルに対して益々焦点が当てられてきた。リサイクルは、現代の廃棄物削減の重要な構成要素である。いくつかの異なるシステムが、一般的な廃棄物流からリサイクレートを収集するために実現されてきた。リサイクレートが収集され、材料回収施設(MRF)などの中央収集施設に配送されると、種々のタイプの収集された材料は、選別されなければならない。ディスクスクリーンおよび空気分級器などの自動化機械は、プラスチックや紙などのリサイクレートを重量ごとに分離する。さらに、商用の磁気分離器は、鉄、鋼、およびスズの缶などの鉄系金属を分離する。
廃棄物流中に廃棄される非耐久プラスチック品は、しばしば、リサイクルされる前に回収され選別される必要がある。光感知の進歩が、プラスチック物体をそれぞれの樹脂型に選別するプロセスを自動化してきたが、回収プロセスはしばしば、手作業であり非効率的である。問題は、小型フォーマットおよび/または軽量プラスチック包装物品に関して特に急を要する。小型プラスチック物品(即ち、任意の寸法が約4インチ未満)は、リサイクレートのプールからおよび/または廃棄物流から選別されることができず、その結果、それらのサイズに起因してリサイクルされることができない(即ち、埋立て地に置かれる可能性がある)。さらに、選別されない小型プラスチック物品は、ガラスまたはその他の選別された材料廃棄物流を汚染する可能性がある。現在、磁気分離プロセスを経て廃棄物流中のプラスチック物体を回収する方法は存在しない。
包装などの非耐久プラスチック品は、しばしば、その表面に表示されるグラフィックまたは情報を有する。これはその表面に直接印刷することによってまたは事前に印刷されたラベルを用いて、いずれかによって行われる。そのような設計または印刷には、しばしば機能的用途がある。一般的な例は、プラスチック物品上に添着された、バーコードが事前に印刷されたラベルであり、これは倉庫または小売店で物体を特定するのに使用されるものである。しかしながら、磁場の下でそのようなプラスチック物品の機械的分離を可能にするラベルまたは印刷物は、現在のところ存在しない。
本明細書では、廃棄物および/またはリサイクレートの選別の、これまで記述してきた方法の様々な課題が理解される。そのような方法は、非金属物体などの小型の物体の選別および/またはリサイクルできないこと、廃棄物流から小型の物体を特定できないこと(例えば、ラベルまたはグラフィック設計の使用によって)、および非金属および/または非磁性、常磁性、または反磁性物体などの小型の物体を磁気分離プロセスを経て回収できないことによって、限定される可能性がある。本開示は、これらの課題に対処する。
強磁性インク組成物
ある態様では、本開示は、強磁性インク組成物を提供する。一部の実施形態では、強磁性インク組成物は、強磁性材料、樹脂、ならびに湿潤剤および分散剤の少なくとも1種を含む。
一部の実施形態では、強磁性インク組成物は、食品接触に関して安全である。一部の実施形態では、強磁性インク組成物は、食品接触物質である。一部の実施形態では、強磁性インク組成物の全ての要素は、連邦規則集第21巻に列挙されるような(第175~178条参照)、FDAで認可された食品添加物である。一部の実施形態では、強磁性インク組成物の全ての要素は、食品医薬品局(FDA)により連邦規則集(CFR)の第21巻で列挙されるような(第182、184、186条参照)、一般に安全と見なされている(GRAS)物質のリストから選択される。一部の実施形態では、強磁性インク組成物は、食材との接触に安全である。一部の実施形態では、強磁性インク組成物は、「一般に安全と見なされている」(GRAS)組成物である。一部の実施形態では、強磁性インク組成物は、食材と直接または間接的に接触することが可能である。
本開示は、強磁性インクの化学組成について記述する。図2A~図2Dを参照すると、強磁性インク102を、プラスチック物体100の表面に直接またはラベル104上に印刷することができる。図2Aは、強磁性インク102を含む強磁性ラベル10による、プラスチック物体100の表面の直接コーティングを示す。図2Bは、強磁性ラベル10が後に強磁性インク102でコーティングされる、プラスチック物体100の表面の、マイクロウェルを示す。図2Cは、強磁性インク102を含む強磁性ラベル10でコーティングされた、プラスチック物体100の表面の、鋸歯の設計を示す。図2Dは、プラスチック物体100の表面に配置されたラベル104を示す。ラベル104は、強磁性インク102でコーティングされることが示され;したがって強磁性ラベル10が形成される。一部の実施形態では、ラベル104は、その後、プラスチック物体および/またはプラスチックフィルム上に添着することができる。一部の実施形態では、強磁性マーカーは、当業者に公知の任意の技法によって、プラスチック物体100の表面に転写される。
本開示は、磁場の影響下で一時的な磁気挙動を与える、インク中での軟強磁性顔料の使用に関する。ある範囲の適切な固相軟磁性、低保磁力材料を使用して、そのような強磁性挙動を与えることができる。非限定的な例には、混じり物のない鉄粉(電解鉄、アトマイズ化鉄、還元鉄を含む)、カルボニル鉄、カルボニルコバルト、カルボニルニッケル、鉄合金(コバルト、バナジウム、マンガン、モリブデン、ケイ素、ニッケル、ホウ素、アルミニウム、銅)、酸化鉄(Fe、Feを含む)、低炭素鋼グレード、ニッケル、コバルト、フェライト系ステンレス鋼、およびアトマイズ化ステンレス鋼が含まれる。一部の実施形態では、鉄合金は、コバルト、バナジウム、マンガン、モリブデン、ケイ素、ニッケル、ホウ素、アルミニウム、銅、またはこれらの任意の組合せを含む、結晶質または非晶質金属合金である。強磁性インクの配合物において、顔料として使用するために、そのような強磁性顔料は、好ましくはサイズが100マイクロメートル(μm)よりも下であり、最も適切には10マイクロメートル(μm)よりも下である、乾燥粉末の形で使用されると考えられる。
一部の実施形態では、強磁性顔料のサイズは、好ましくは0.5~5マイクロメートル(μm)に及ぶ。一部の実施形態では、強磁性顔料のサイズは、約0.1μmから約10μmに及ぶ。一部の実施形態では、強磁性顔料のサイズは、約0.1μmからの範囲である。一部の実施形態では、強磁性顔料のサイズは、約10μmからの範囲である。一部の実施形態では、強磁性顔料のサイズは、約0.1μmから約0.5μm、約0.1μmから約0.6μm、約0.1μmから約0.7μm、約0.1μmから約0.8μm、約0.1μmから約0.9μm、約0.1μmから約1μm、約0.1μmから約2μm、約0.1μmから約3μm、約0.1μmから約4μm、約0.1μmから約5μm、約0.1μmから約10μm、約0.5μmから約0.6μm、約0.5μmから約0.7μm、約0.5μmから約0.8μm、約0.5μmから約0.9μm、約0.5μmから約1μm、約0.5μmから約2μm、約0.5μmから約3μm、約0.5μmから約4μm、約0.5μmから約5μm、約0.5μmから約10μm、約0.6μmから約0.7μm、約0.6μmから約0.8μm、約0.6μmから約0.9μm、約0.6μmから約1μm、約0.6μmから約2μm、約0.6μmから約3μm、約0.6μmから約4μm、約0.6μmから約5μm、約0.6μmから約10μm、約0.7μmから約0.8μm、約0.7μmから約0.9μm、約0.7μmから約1μm、約0.7μmから約2μm、約0.7μmから約3μm、約0.7μmから約4μm、約0.7μmから約5μm、約0.7μmから約10μm、約0.8μmから約0.9μm、約0.8μmから約1μm、約0.8μmから約2μm、約0.8μmから約3μm、約0.8μmから約4μm、約0.8μmから約5μm、約0.8μmから約10μm、約0.9μmから約1μm、約0.9μmから約2μm、約0.9μmから約3μm、約0.9μmから約4μm、約0.9μmから約5μm、約0.9μmから約10μm、約1μmから約2μm、約1μmから約3μm、約1μmから約4μm、約1μmから約5μm、約1μmから約10μm、約2μmから約3μm、約2μmから約4μm、約2μmから約5μm、約2μmから約10μm、約3μmから約4μm、約3μmから約5μm、約3μmから約10μm、約4μmから約5μm、約4μmから約10μm、または約5μmから約10μmに及ぶ。一部の実施形態では、強磁性顔料サイズは、約0.1μm、約0.5μm、約0.6μm、約0.7μm、約0.8μm、約0.9μm、約1μm、約2μm、約3μm、約4μm、約5μm、または約10μmからの範囲である。
一部の実施形態では、強磁性材料は、強磁性インク組成物の重量の少なくとも1%を構成する。一部の実施形態では、強磁性材料は、強磁性インク組成物の重量の少なくとも5%を構成する。一部の実施形態では、強磁性材料は、強磁性インク組成物の重量の少なくとも10%を構成する。一部の実施形態では、強磁性材料は、強磁性インク組成物の重量の少なくとも20%を構成する。一部の実施形態では、強磁性材料は、強磁性インク組成物の重量の少なくとも25%を構成する。一部の実施形態では、強磁性材料は、強磁性インク組成物の重量の約30%を構成する。一部の実施形態では、強磁性材料は、強磁性インク組成物の重量の少なくとも40%を構成する。一部の実施形態では、強磁性材料は、強磁性インク組成物の重量の約1%から約90%を構成する。一部の実施形態では、強磁性材料は、強磁性インク組成物の重量の少なくとも約1%を構成する。一部の実施形態では、強磁性材料は、強磁性インク組成物の重量の最大で約90%を構成する。一部の実施形態では、強磁性材料は、強磁性インク組成物の重量の20%未満を構成する。一部の実施形態では、強磁性材料は、強磁性インク組成物の重量の0.1%から20%を構成する。一部の実施形態では、強磁性材料は、強磁性インク組成物の重量の0.1%から20%未満を構成する。
一部の実施形態では、強磁性材料は、強磁性インク組成物の重量の約1%から約10%、約1%から約20%、約1%から約30%、約1%から約40%、約1%から約50%、約1%から約60%、約1%から約70%、約1%から約80%、約1%から約90%、約10%から約20%、約10%から約30%、約10%から約40%、約10%から約50%、約10%から約60%、約10%から約70%、約10%から約80%、約10%から約90%、約20%から約30%、約20%から約40%、約20%から約50%、約20%から約60%、約20%から約70%、約20%から約80%、約20%から約90%、約30%から約40%、約30%から約50%、約30%から約60%、約30%から約70%、約30%から約80%、約30%から約90%、約40%から約50%、約40%から約60%、約40%から約70%、約40%から約80%、約40%から約90%、約50%から約60%、約50%から約70%、約50%から約80%、約50%から約90%、約60%から約70%、約60%から約80%、約60%から約90%、約70%から約80%、約70%から約90%、または約80%から約90%を構成する。一部の実施形態では、強磁性材料は、強磁性インク組成物の重量の約1%、約10%、約20%、約30%、約40%、約50%、約60%、約70%、約80%、または約90%を構成する。
一部の実施形態では、強磁性材料は、混じり物のない鉄粉、カルボニル鉄、カルボニルコバルト、カルボニルニッケル、鉄合金、酸化鉄、低炭素鋼グレード、ニッケル、コバルト、フェライト系ステンレス鋼、アトマイズ化ステンレス鋼、またはこれらの任意の組合せである。一部の実施形態では、混じり物のない鉄粉は、電解鉄、アトマイズ化鉄、または還元鉄である。一部の実施形態では、鉄合金は、コバルト、バナジウム、マンガン、モリブデン、ケイ素、ニッケル、アルミニウム、および/または銅である。一部の実施形態では、鉄合金は、コバルト、バナジウム、マンガン、モリブデン、ケイ素、ニッケル、ホウ素、アルミニウム、および/または銅、またはこれらの任意の組合せを含む、結晶質または非晶質金属合金である。一部の実施形態では、酸化鉄は、酸化鉄(III)または酸化鉄(II,III)である。一部の実施形態では、強磁性材料は、小さい粒度が0.5~5マイクロメートル(μm)に及ぶ軟強磁性材料である。
一部の実施形態では、磁性材料の粒度分布は、D90サイズが2~20ミクロンの間にあり、かつD50サイズが1~10ミクロンの間にあるように維持される。一部の実施形態では、D90サイズは5~10ミクロンの間にある。「D50」という用語は、本明細書で使用される場合、粒度分布のメジアン径または中央値としても公知であり、累積分布における50%での粒径の値を指す。「D90」という用語は、本明細書で使用される場合、分布の90パーセントがより小さい粒度を有しかつ10パーセントがより大きい粒度を有する直径を指す。一部の実施形態では、磁性材料の粒子モルホロジーは、球形粒子が得られるように制御される。物体の球形度は、磁性粒子のSEM(走査型電子顕微鏡)測定を使用して決定される。「走査型電子顕微鏡(SEM)」という用語は、本明細書で使用される場合、電子の集束光線で表面を走査することによって試料の画像を生成する、電子顕微鏡のタイプを指す。電子は、試料中の原子と相互作用し、表面トポロジーおよび試料の組成に関する情報を含有する様々なシグナルを生成する。
一部の実施形態では、粒子は、鉄と、コバルト、バナジウム、マンガン、モリブデン、ケイ素、ニッケル、ホウ素、アルミニウム、銅、またはこれらの任意の組合せとの合金を含む。一部の実施形態では、鉄合金は、Fe=70~98%およびSi=2~30%の組成を含む。一部の実施形態では、鉄合金は、Fe=70~87%、Si=2~15%、およびAl=10~18%の組成を含む。一部の実施形態では、鉄合金は、Fe=10~90%およびCo=10~90%の組成を含む。一部の実施形態では、鉄合金は、Fe=10~50%、Co=50~90%、およびAl=1~10%の組成を含む。一部の実施形態では、鉄合金は、Fe=10~50%およびNi=50~90%の組成を含む。一部の実施形態では、鉄合金は、Fe=8~50%、Ni=50~90%、およびMo=1~10%の組成を含む。一部の実施形態では、鉄合金は、Fe=60~90%、Cu=10~15%、およびSi=15~25%の組成を含む。
一部の実施形態では、磁性粒子は、磁気特性が改善されるように処理されまたは改質される。一部の実施形態では、磁気特性は、磁気飽和および/または透磁率である。一部の実施形態では、磁性粒子は、本明細書に記述されるような粒度およびモルホロジーが得られるように、ボールミルまたは遊星ボールミルを使用したミリングおよび粉砕のような物理的処理によって改質される。一部の実施形態では、磁性粒子は、粉末中の不純物が低減されるように、還元、不活性、または真空雰囲気条件を使用して少なくとも500℃から1300℃までの温度での磁性粉末の熱処理によって改質される。一部の実施形態では、磁性粒子は、粒子の結晶構造およびその結果としての磁気特性の、さらなる改善を実現するために、熱処理中に磁場を使用することによって改質される。一部の実施形態では、磁性粒子は、粉末の高温処理中に、例えば流動床の熱処理を経て典型的には観察される、粉末の焼結を回避するように、特別な技法を使用して改質される。一部の実施形態では、磁性粒子は、上述の技法の組合せによって改質される。
一部の実施形態では、フィルム/基材上に印刷されたインク/コーティングの厚さ/密度(ラベル上での強磁性インクの印刷の厚さ/密度)は、平方メートル当たり6グラム未満である。一部の実施形態では、フィルム/基材上に印刷されたインク/コーティングの厚さ/密度(ラベル上での強磁性インクの印刷の厚さ/密度)は、平方メートル当たり0.5から3グラムの間である。一部の実施形態では、フィルム/基材上に印刷されたインク/コーティングの厚さ/密度(ラベル上での強磁性インクの印刷の厚さ/密度)は、平方メートル当たり0.5から2グラムの間である。
一部の実施形態では、上述の磁性材料を使用することによって、透明または半透明なラベル上での強磁性インク/コーティング/マーカーまたは磁化可能なコーティング/マーカーの付着、あるいは透明または半透明なラベル、磁化可能なコーティングまたは磁化可能なマーカーの付着に起因するヘイズ値の変化は、9%未満、好ましくは5%未満である。一部の実施形態では、上述の磁性材料を使用することにより、透明または半透明なラベル、強磁性材料を含む透明または半透明なラベル、透明または半透明な磁化可能なコーティング、あるいは透明または半透明な磁化可能なマーカーの、全ヘイズ値が、17%未満、好ましくは12%未満である。ヘイズ値は、本明細書で使用される場合、透明なプラスチックのヘイズおよび光透過率の標準試験法であるASTM D1003-13を使用して測定される。一部の実施形態では、上述の磁性材料を使用することにより、透明または半透明なラベル、強磁性材料を含む透明または半透明なラベル、透明または半透明な磁化可能なコーティング、あるいは透明または半透明な磁化可能なマーカーの、全可視(400~800nm)透過率の値は、82%よりも大きく、好ましくは90%よりも大きい。一部の実施形態では、上述の磁性材料を使用することにより、透明または半透明なラベル、透明または半透明な磁化可能なコーティング、あるいは透明または半透明な磁化可能なマーカーの、全NIR(近赤外、750~1500nm)透過率の値は、87%よりも大きく、好ましくは90%よりも大きい。一部の実施形態では、上述の磁性材料を使用することにより、透明または半透明なラベル、強磁性材料を含む透明または半透明なラベル、透明または半透明な磁化可能なコーティング、あるいは透明または半透明な磁化可能なマーカーの付着は、印刷されたラベル上で使用される商用のアートワーク/グラフィックの外見に変化を引き起こさない。一部の実施形態では、商用のアートワーク/グラフィックの外見の変化は、主観的測定として表され、一般に、1~10の数値スケールを割り当てることによって行われ、1はラベルの外見に影響を及ぼさない状態である。
一部の実施形態では、「透明」という用語は、本明細書で使用される場合、背後の物体をはっきりと見ることができるように光を透過させることを指す。一部の実施形態では、「半透明(translucent)」という用語は、本明細書で使用される場合、形状を詳細にせずに光を透過させること;即ち半透明(semitransparent)を指す。
一部の実施形態では、樹脂は、強磁性インク組成物の重量の約5%を構成する。一部の実施形態では、樹脂は、強磁性インク組成物の重量の約10%を構成する。一部の実施形態では、樹脂は、約0.5%から約70%を構成する。一部の実施形態では、樹脂は、強磁性インク組成物の重量の少なくとも約0.5%を構成する。一部の実施形態では、樹脂は、強磁性インク組成物の重量の最大で約70%を構成する。一部の実施形態では、樹脂は、強磁性インク組成物の重量の約0.5%から約1%、約0.5%から約5%、約0.5%から約10%、約0.5%から約15%、約0.5%から約20%、約0.5%から約25%、約0.5%から約30%、約0.5%から約40%、約0.5%から約50%、約0.5%から約60%、約0.5%から約70%、約1%から約5%、約1%から約10%、約1%から約15%、約1%から約20%、約1%から約25%、約1%から約30%、約1%から約40%、約1%から約50%、約1%から約60%、約1%から約70%、約5%から約10%、約5%から約15%、約5%から約20%、約5%から約25%、約5%から約30%、約5%から約40%、約5%から約50%、約5%から約60%、約5%から約70%、約10%から約15%、約10%から約20%、約10%から約25%、約10%から約30%、約10%から約40%、約10%から約50%、約10%から約60%、約10%から約70%、約15%から約20%、約15%から約25%、約15%から約30%、約15%から約40%、約15%から約50%、約15%から約60%、約15%から約70%、約20%から約25%、約20%から約30%、約20%から約40%、約20%から約50%、約20%から約60%、約20%から約70%、約25%から約30%、約25%から約40%、約25%から約50%、約25%から約60%、約25%から約70%、約30%から約40%、約30%から約50%、約30%から約60%、約30%から約70%、約40%から約50%、約40%から約60%、約40%から約70%、約50%から約60%、約50%から約70%、または約60%から約70%を構成する。一部の実施形態では、樹脂は、強磁性インク組成物の重量の約0.5%、約1%、約5%、約10%、約15%、約20%、約25%、約30%、約40%、約50%、約60%、または約70%を構成する。
一部の実施形態では、樹脂は、塩化ビニル酢酸ビニルコポリマー、ニトロセルロース、ポリウレタン、ケトンアルデヒドポリマー、アルコール可溶性ポリアミド、共溶媒ポリアミド、マレイン酸樹脂、エステルガム樹脂、アクリル酸樹脂、セルロースアセテートブチレート樹脂、セルロースアセテートプロピオネート、非晶質ポリエステル樹脂、塩素化ゴム、エチルビニルアセテート樹脂、またはこれらの任意の組合せである。一部の実施形態では、樹脂は、塩化ビニル、酢酸ビニルコポリマー、およびアクリル酸樹脂の混合物である。一部の実施形態では、樹脂は、酢酸ビニルコポリマーおよびアクリル酸樹脂の混合物である。一部の実施形態では、樹脂が、塩化ビニルおよびアクリル酸樹脂の混合物である。一部の実施形態では、樹脂は、塩化ビニルおよび酢酸ビニルコポリマーの混合物である。
一部の実施形態では、湿潤および/または分散剤は、強磁性インクの老化後に強磁性インクの重質チキソトロピーレオロジーおよび/または強磁性顔料の軟質沈降によって引き起こされる、潜在的な印刷問題および/または経時的な磁気強度の低減を、解決する。一部の実施形態では、強磁性インクは沈降防止剤を含む。一部の実施形態では、湿潤、分散、および/または沈降防止剤が、カルボキシル官能基を含む。一部の実施形態では、湿潤、分散、および/または沈降防止剤が、ヒドロキシル官能基を含む。一部の実施形態では、湿潤、分散、および/または沈降防止剤が、両性官能基を含む。一部の実施形態では、湿潤、分散、および/または沈降防止剤が、アミンをベースにする。一部の実施形態では、湿潤および/または分散剤が、Solsperse 8000、Solsperse 8200、Solsperse 2000、Solsperse 24000、Solsperse 17000、Disperbyk 108、Disperbyk 2155、Disperbyk 9077、WA5013、98C、BYK 111、またはこれらの任意の組合せである。
「沈降防止剤」は、本明細書で使用される場合、例えばコーティング組成物における、硬質堆積物の形成、顔料またはその他の固体粒子の沈降を、防止するために使用される薬剤を指す。沈降防止剤は、コーティング組成物の重質沈降をなくすのを助ける。一部の実施形態では、沈降防止添加剤は、ヒュームドシリカ、ポリアミド誘導体、ワックス、またはこれらの任意の組合せである。
一部の実施形態では、強磁性インク組成物は、湿潤および/または分散剤を含む。一部の実施形態では、湿潤および/または分散剤は、強磁性インク組成物の重量の約1%を構成する。一部の実施形態では、湿潤および/または分散剤は、強磁性インク組成物の重量の約2%を構成する。一部の実施形態では、湿潤および/または分散剤は、強磁性インク組成物の重量の約3%を構成する。一部の実施形態では、湿潤および/または分散剤は、強磁性インク組成物の重量の約4%を構成する。一部の実施形態では、湿潤および/または分散剤は、強磁性インク組成物の重量の約5%を構成する。一部の実施形態では、湿潤および/または分散剤は、強磁性インク組成物の重量の約0.5%から約50%を構成する。一部の実施形態では、湿潤および/または分散剤は、強磁性インク組成物の重量の少なくとも約0.5%を構成する。一部の実施形態では、湿潤および/または分散剤は、強磁性インク組成物の重量の最大で約50%を構成する。一部の実施形態では、湿潤および/または分散剤は、強磁性インク組成物の重量の約0.5%から約1%、約0.5%から約2%、約0.5%から約3%、約0.5%から約4%、約0.5%から約5%、約0.5%から約10%、約0.5%から約15%、約0.5%から約20%、約0.5%から約30%、約0.5%から約40%、約0.5%から約50%、約1%から約2%、約1%から約3%、約1%から約4%、約1%から約5%、約1%から約10%、約1%から約15%、約1%から約20%、約1%から約30%、約1%から約40%、約1%から約50%、約2%から約3%、約2%から約4%、約2%から約5%、約2%から約10%、約2%から約15%、約2%から約20%、約2%から約30%、約2%から約40%、約2%から約50%、約3%から約4%、約3%から約5%、約3%から約10%、約3%から約15%、約3%から約20%、約3%から約30%、約3%から約40%、約3%から約50%、約4%から約5%、約4%から約10%、約4%から約15%、約4%から約20%、約4%から約30%、約4%から約40%、約4%から約50%、約5%から約10%、約5%から約15%、約5%から約20%、約5%から約30%、約5%から約40%、約5%から約50%、約10%から約15%、約10%から約20%、約10%から約30%、約10%から約40%、約10%から約50%、約15%から約20%、約15%から約30%、約15%から約40%、約15%から約50%、約20%から約30%、約20%から約40%、約20%から約50%、約30%から約40%、約30%から約50%、または約40%から約50%を構成する。一部の実施形態では、湿潤および/または分散剤は、強磁性インク組成物の重量の約0.5%、約1%、約2%、約3%、約4%、約5%、約10%、約15%、約20%、約30%、約40%、または約50%を構成する。
一部の実施形態では、強磁性インク組成物は、さらに、少なくとも1種の溶媒を含む。一部の実施形態では、少なくとも1種の溶媒は、食品接触に関して安全である。一部の実施形態では、少なくとも1種の溶媒は、食品接触物質である。一部の実施形態では、溶媒は、強磁性インク組成物の重量の少なくとも25%を構成する。一部の実施形態では、溶媒は、強磁性インク組成物の重量の約50%を構成する。一部の実施形態では、溶媒は、強磁性インク組成物の重量の約55%を構成する。一部の実施形態では、溶媒は、強磁性インク組成物の重量の約56%を構成する。一部の実施形態では、溶媒は、強磁性インク組成物の重量の約57%を構成する。一部の実施形態では、溶媒は、強磁性インク組成物の重量の約58%を構成する。一部の実施形態では、溶媒は、強磁性インク組成物の重量の約59%を構成する。一部の実施形態では、溶媒は、強磁性インク組成物の重量の約60%を構成する。一部の実施形態では、溶媒は、強磁性インク組成物の重量の約5%から約90%を構成する。一部の実施形態では、溶媒は、強磁性インク組成物の重量の少なくとも約5%を構成する。一部の実施形態では、溶媒は最大で約90%を構成する。一部の実施形態では、溶媒は、強磁性インク組成物の重量の約5%から約10%、約5%から約20%、約5%から約30%、約5%から約40%、約5%から約50%、約5%から約55%、約5%から約60%、約5%から約65%、約5%から約70%、約5%から約80%、約5%から約90%、約10%から約20%、約10%から約30%、約10%から約40%、約10%から約50%、約10%から約55%、約10%から約60%、約10%から約65%、約10%から約70%、約10%から約80%、約10%から約90%、約20%から約30%、約20%から約40%、約20%から約50%、約20%から約55%、約20%から約60%、約20%から約65%、約20%から約70%、約20%から約80%、約20%から約90%、約30%から約40%、約30%から約50%、約30%から約55%、約30%から約60%、約30%から約65%、約30%から約70%、約30%から約80%、約30%から約90%、約40%から約50%、約40%から約55%、約40%から約60%、約40%から約65%、約40%から約70%、約40%から約80%、約40%から約90%、約50%から約55%、約50%から約60%、約50%から約65%、約50%から約70%、約50%から約80%、約50%から約90%、約55%から約60%、約55%から約65%、約55%から約70%、約55%から約80%、約55%から約90%、約60%から約65%、約60%から約70%、約60%から約80%、約60%から約90%、約65%から約70%、約65%から約80%、約65%から約90%、約70%から約80%、約70%から約90%、または約80%から約90%を構成する。一部の実施形態では、溶媒は、強磁性インク組成物の重量の約5%、約10%、約20%、約30%、約40%、約50%、約55%、約60%、約65%、約70%、約80%、または約90%を構成する。
一部の実施形態では、溶媒は、メタノール、エタノール、n-プロパノール、イソプロピルアルコール、酢酸エチル、酢酸n-プロピル、酢酸イソプロピル、酢酸n-ブチル、トルエン、メチルエチルケトン、アセトン、またはこれらの任意の組合せである。
一部の実施形態では、強磁性インク組成物は、約1/80から6/1に及ぶ強磁性材料/樹脂比を含む。一部の実施形態では、強磁性インク組成物は、約1/10から3/1に及ぶ強磁性材料/樹脂比を含む。一部の実施形態では、強磁性インク組成物は、約1/5から2/1に及ぶ強磁性材料/樹脂比を含む。一部の実施形態では、強磁性インク組成物はさらに、約1/6から約6/1に及ぶ強磁性材料/樹脂比を含む。一部の実施形態では、強磁性インク組成物はさらに、約2/1から約6/1に及ぶ強磁性材料/樹脂比を含む。一部の実施形態では、強磁性インク組成物はさらに、約3/1から約5/1に及ぶ強磁性材料/樹脂比を含む。一部の実施形態では、強磁性材料および樹脂は、平方メートル当たり約10グラムの印刷されたコーティング重量を有する。一部の実施形態では、強磁性材料および樹脂は、平方メートル当たり約0.5グラムから平方メートル当たり約15グラムの印刷されたコーティング重量を有する。一部の実施形態では、強磁性材料および樹脂は、平方メートル当たり約0.5グラムの印刷されたコーティング重量を有する。一部の実施形態では、強磁性材料および樹脂が、平方メートル当たり約15グラムの印刷されたコーティング重量を有する。一部の実施形態では、強磁性材料および樹脂は、平方メートル当たり約0.5グラムから平方メートル当たり約1グラム、平方メートル当たり約0.5グラムから平方メートル当たり約2グラム、平方メートル当たり約0.5グラムから平方メートル当たり約3グラム、平方メートル当たり約0.5グラムから平方メートル当たり約4グラム、平方メートル当たり約0.5グラムから平方メートル当たり約5グラム、平方メートル当たり約0.5グラムから平方メートル当たり約6グラム、平方メートル当たり約0.5グラムから平方メートル当たり約7グラム、平方メートル当たり約0.5グラムから平方メートル当たり約8グラム、平方メートル当たり約0.5グラムから平方メートル当たり約9グラム、平方メートル当たり約0.5グラムから平方メートル当たり約10グラム、平方メートル当たり約0.5グラムから平方メートル当たり約15グラム、平方メートル当たり約1グラムから平方メートル当たり約2グラム、平方メートル当たり約1グラムから平方メートル当たり約3グラム、平方メートル当たり約1グラムから平方メートル当たり約4グラム、平方メートル当たり約1グラムから平方メートル当たり約5グラム、平方メートル当たり約1グラムから平方メートル当たり約6グラム、平方メートル当たり約1グラムから平方メートル当たり約7グラム、平方メートル当たり約1グラムから平方メートル当たり約8グラム、平方メートル当たり約1グラムから平方メートル当たり約9グラム、平方メートル当たり約1グラムから平方メートル当たり約10グラム、平方メートル当たり約1グラムから平方メートル当たり約15グラム、平方メートル当たり約2グラムから平方メートル当たり約3グラム、平方メートル当たり約2グラムから平方メートル当たり約4グラム、平方メートル当たり約2グラムから平方メートル当たり約5グラム、平方メートル当たり約2グラムから平方メートル当たり約6グラム、平方メートル当たり約2グラムから平方メートル当たり約7グラム、平方メートル当たり約2グラムから平方メートル当たり約8グラム、平方メートル当たり約2グラムから平方メートル当たり約9グラム、平方メートル当たり約2グラムから平方メートル当たり約10グラム、平方メートル当たり約2グラムから平方メートル当たり約15グラム、平方メートル当たり約3グラムから平方メートル当たり約4グラム、平方メートル当たり約3グラムから平方メートル当たり約5グラム、平方メートル当たり約3グラムから平方メートル当たり約6グラム、平方メートル当たり約3グラムから平方メートル当たり約7グラム、平方メートル当たり約3グラムから平方メートル当たり約8グラム、平方メートル当たり約3グラムから平方メートル当たり約9グラム、平方メートル当たり約3グラムから平方メートル当たり約10グラム、平方メートル当たり約3グラムから平方メートル当たり約15グラム、平方メートル当たり約4グラムから平方メートル当たり約5グラム、平方メートル当たり約4グラムから平方メートル当たり約6グラム、平方メートル当たり約4グラムから平方メートル当たり約7グラム、平方メートル当たり約4グラムから平方メートル当たり約8グラム、平方メートル当たり約4グラムから平方メートル当たり約9グラム、平方メートル当たり約4グラムから平方メートル当たり約10グラム、平方メートル当たり約4グラムから平方メートル当たり約15グラム、平方メートル当たり約5グラムから平方メートル当たり約6グラム、平方メートル当たり約5グラムから平方メートル当たり約7グラム、平方メートル当たり約5グラムから平方メートル当たり約8グラム、平方メートル当たり約5グラムから平方メートル当たり約9グラム、平方メートル当たり約5グラムから平方メートル当たり約10グラム、平方メートル当たり約5グラムから平方メートル当たり約15グラム、平方メートル当たり約6グラムから平方メートル当たり約7グラム、平方メートル当たり約6グラムから平方メートル当たり約8グラム、平方メートル当たり約6グラムから平方メートル当たり約9グラム、平方メートル当たり約6グラムから平方メートル当たり約10グラム、平方メートル当たり約6グラムから平方メートル当たり約15グラム、平方メートル当たり約7グラムから平方メートル当たり約8グラム、平方メートル当たり約7グラムから平方メートル当たり約9グラム、平方メートル当たり約7グラムから平方メートル当たり約10グラム、平方メートル当たり約7グラムから平方メートル当たり約15グラム、平方メートル当たり約8グラムから平方メートル当たり約9グラム、平方メートル当たり約8グラムから平方メートル当たり約10グラム、平方メートル当たり約8グラムから平方メートル当たり約15グラム、平方メートル当たり約9グラムから平方メートル当たり約10グラム、平方メートル当たり約9グラムから平方メートル当たり約15グラム、または平方メートル当たり約10グラムから平方メートル当たり約15グラムの印刷されたコーティング重量を有する。一部の実施形態では、強磁性材料および樹脂は、平方メートル当たり約0.5グラム、平方メートル当たり約1グラム、平方メートル当たり約2グラム、平方メートル当たり約3グラム、平方メートル当たり約4グラム、平方メートル当たり約5グラム、平方メートル当たり約6グラム、平方メートル当たり約7グラム、平方メートル当たり約8グラム、平方メートル当たり約9グラム、平方メートル当たり約10グラム、または平方メートル当たり約15グラムの印刷されたコーティング重量を有する。
一部の実施形態では、強磁性インクは、軟強磁性粒子を含む。一部の実施形態では、軟強磁性粒子を使用すると、強磁性インクはその磁化を、印加された磁場がない状態で保持できなくなる。一部の実施形態では、強磁性インクが軟強磁性粒子を含む。一部の実施形態では、軟強磁性粒子を使用すると、強磁性インクはその磁化を、印加された磁場がない状態で保持できなくなる。一部の実施形態では、軟強磁性粒子は自発的に、磁場のない状態で消磁する。一部の実施形態では、軟強磁性粒子は自発的に、磁場の存在下で磁化する。一部の実施形態では、強磁性インクは自発的に、磁場のない状態で消磁する。一部の実施形態では、強磁性インクは自発的に、磁場の存在下で磁化する。
一部の実施形態では、磁性材料の粒度分布は、D90サイズが2~20ミクロンの間にあり、かつD50サイズが1~10ミクロンの間にあるように維持される。一部の実施形態では、D90サイズは5~10ミクロンの間にある。「D50」という用語は、本明細書で使用される場合、粒度分布のメジアン径または中央値としても公知であり、累積分布における50%での粒径の値を指す。「D90」という用語は、本明細書で使用される場合、分布の90パーセントがより小さい粒度を有しかつ10パーセントがより大きい粒度を有する直径を指す。一部の実施形態では、磁性材料の粒子モルホロジーは、球形粒子が得られるように制御される。物体の球形度は、磁性粒子のSEM(走査型電子顕微鏡)測定を使用して決定される。「走査型電子顕微鏡(SEM)」という用語は、本明細書で使用される場合、電子の集束光線で表面を走査することによって試料の画像を生成する、電子顕微鏡のタイプを指す。電子は、試料中の原子と相互作用し、表面トポロジーおよび試料の組成に関する情報を含有する様々なシグナルを生成する。
一部の実施形態では、粒子は、鉄と、コバルト、バナジウム、マンガン、モリブデン、ケイ素、ニッケル、ホウ素、アルミニウム、銅、またはこれらの任意の組合せとの合金を含む。一部の実施形態では、鉄合金は、Fe=70~98%およびSi=2~30%の組成を含む。一部の実施形態では、鉄合金は、Fe=70~87%、Si=2~15%、およびAl=10~18%の組成を含む。一部の実施形態では、鉄合金は、Fe=10~90%およびCo=10~90%の組成を含む。一部の実施形態では、鉄合金は、Fe=10~50%、Co=50~90%、およびAl=1~10%の組成を含む。一部の実施形態では、鉄合金は、Fe=10~50%およびNi=50~90%の組成を含む。一部の実施形態では、鉄合金は、Fe=8~50%、Ni=50~90%、およびMo=1~10%の組成を含む。一部の実施形態では、鉄合金は、Fe=60~90%、Cu=10~15%、およびSi=15~25%の組成を含む。
一部の実施形態では、磁性粒子は、磁気特性が改善されるように処理されまたは改質される。一部の実施形態では、磁気特性は、磁気飽和および/または透磁率である。一部の実施形態では、磁性粒子は、本明細書に記述されるような粒度およびモルホロジーが得られるように、ボールミルまたは遊星ボールミルを使用したミリングおよび粉砕のような物理的処理によって改質される。一部の実施形態では、磁性粒子は、粉末中の不純物が低減されるように、還元、不活性、または真空雰囲気条件を使用して少なくとも500℃から1300℃までの温度での磁性粉末の熱処理によって改質される。一部の実施形態では、磁性粒子は、粒子の結晶構造およびその結果としての磁気特性の、さらなる改善を実現するために、熱処理中に磁場を使用することによって改質される。一部の実施形態では、磁性粒子は、粉末の高温処理中に、例えば流動床の熱処理を経て典型的には観察される、粉末の焼結を回避するように、特別な技法を使用して改質される。一部の実施形態では、磁性粒子は、上述の技法の組合せによって改質される。
一部の実施形態では、フィルム/基材上に印刷されたインク/コーティングの厚さ/密度(ラベル上での強磁性インクの印刷の厚さ/密度)は、平方メートル当たり6グラム未満である。一部の実施形態では、フィルム/基材上に印刷されたインク/コーティングの厚さ/密度(ラベル上での強磁性インクの印刷の厚さ/密度)は、平方メートル当たり0.5から3グラムの間である。一部の実施形態では、フィルム/基材上に印刷されたインク/コーティングの厚さ/密度(ラベル上での強磁性インクの印刷の厚さ/密度)は、平方メートル当たり0.5から2グラムの間である。
一部の実施形態では、上述の磁性材料を使用することによって、透明または半透明なラベル上での強磁性インク/コーティング/マーカーまたは磁化可能なコーティング/マーカーの付着、あるいは透明または半透明なラベル、磁化可能なコーティングまたは磁化可能なマーカーの付着に起因するヘイズ値の変化は、9%未満、好ましくは5%未満である。一部の実施形態では、上述の磁性材料を使用することにより、透明または半透明なラベル、強磁性材料を含む透明または半透明なラベル、透明または半透明な磁化可能なコーティング、あるいは透明または半透明な磁化可能なマーカーの、全ヘイズ値が、17%未満、好ましくは12%未満である。ヘイズ値は、本明細書で使用される場合、透明または半透明なプラスチックのヘイズおよび光透過率の標準試験法であるASTM D1003-13を使用して測定される。一部の実施形態では、上述の磁性材料を使用することにより、透明または半透明なラベル、強磁性材料を含む透明または半透明なラベル、透明または半透明な磁化可能なコーティング、あるいは透明または半透明な磁化可能なマーカーの、全可視(400~800nm)透過率の値は、82%よりも大きく、好ましくは90%よりも大きい。一部の実施形態では、上述の磁性材料を使用することにより、透明または半透明なラベル、透明または半透明な磁化可能なコーティング、あるいは透明または半透明な磁化可能なマーカーの、全NIR(近赤外、750~1500nm)透過率の値は、87%よりも大きく、好ましくは90%よりも大きい。一部の実施形態では、上述の磁性材料を使用することにより、透明または半透明なラベル、強磁性材料を含む透明または半透明なラベル、透明または半透明な磁化可能なコーティング、あるいは透明または半透明な磁化可能なマーカーの付着は、印刷されたラベル上で使用される商用のアートワーク/グラフィックの外見に変化を引き起こさない。一部の実施形態では、商用のアートワーク/グラフィックの外見の変化は、主観的測定として表され、一般に、1~10の数値スケールを割り当てることによって行われ、1はラベルの外見に影響を及ぼさない状態である。
一部の実施形態では、強磁性インクは、低保磁力(Hと示される)によって特徴付けられる。一部の実施形態では、強磁性インクは、磁場の曝露および除去後に、保磁力に依存する時間の長さにわたってその磁化を保持する。一部の実施形態では、低保磁力を持つ強磁性インクは、高保磁力を持つ強磁性インクよりも素早く消磁する。一部の実施形態では、強磁性インクは、約0.88A/mから約8A/mに及ぶ低保磁力によって特徴付けられる。一部の実施形態では、強磁性インクは、約0.5A/mから約10A/mに及ぶ低保磁力によって特徴付けられる。一部の実施形態では、強磁性インクは、約0.5A/mからの範囲の低保磁力によって特徴付けられる。一部の実施形態では、強磁性インクは、約10A/mからの範囲の低保磁力によって特徴付けられる。一部の実施形態では、強磁性インクは、約0.5A/mから約0.6A/m、約0.5A/mから約0.7A/m、約0.5A/mから約0.8A/m、約0.5A/mから約0.9A/m、約0.5A/mから約1A/m、約0.5A/mから約2A/m、約0.5A/mから約3A/m、約0.5A/mから約4A/m、約0.5A/mから約5A/m、約0.5A/mから約8A/m、約0.5A/mから約10A/m、約0.6A/mから約0.7A/m、約0.6A/mから約0.8A/m、約0.6A/mから約0.9A/m、約0.6A/mから約1A/m、約0.6A/mから約2A/m、約0.6A/mから約3A/m、約0.6A/mから約4A/m、約0.6A/mから約5A/m、約0.6A/mから約8A/m、約0.6A/mから約10A/m、約0.7A/mから約0.8A/m、約0.7A/mから約0.9A/m、約0.7A/mから約1A/m、約0.7A/mから約2A/m、約0.7A/mから約3A/m、約0.7A/mから約4A/m、約0.7A/mから約5A/m、約0.7A/mから約8A/m、約0.7A/mから約10A/m、約0.8A/mから約0.9A/m、約0.8A/mから約1A/m、約0.8A/mから約2A/m、約0.8A/mから約3A/m、約0.8A/mから約4A/m、約0.8A/mから約5A/m、約0.8A/mから約8A/m、約0.8A/mから約10A/m、約0.9A/mから約1A/m、約0.9A/mから約2A/m、約0.9A/mから約3A/m、約0.9A/mから約4A/m、約0.9A/mから約5A/m、約0.9A/mから約8A/m、約0.9A/mから約10A/m、約1A/mから約2A/m、約1A/mから約3A/m、約1A/mから約4A/m、約1A/mから約5A/m、約1A/mから約8A/m、約1A/mから約10A/m、約2A/mから約3A/m、約2A/mから約4A/m、約2A/mから約5A/m、約2A/mから約8A/m、約2A/mから約10A/m、約3A/mから約4A/m、約3A/mから約5A/m、約3A/mから約8A/m、約3A/mから約10A/m、約4A/mから約5A/m、約4A/mから約8A/m、約4A/mから約10A/m、約5A/mから約8A/m、約5A/mから約10A/m、または約8A/mから約10A/mに及ぶ低保磁力によって特徴付けられる。一部の実施形態では、強磁性インクは、約0.5A/m、約0.6A/m、約0.7A/m、約0.8A/m、約0.9A/m、約1A/m、約2A/m、約3A/m、約4A/m、約5A/m、約8A/m、または約10A/mからの範囲の低保磁力によって特徴付けられる。
一部の実施形態では、強磁性インクは、再磁化サイクル当たり低い磁気ヒステリシス損失によって特徴付けられる。一部の実施形態では、強磁性インクは、立方メートル当たり約1から約10ジュール(J/m)に及ぶ、再磁化サイクル当たりの磁気ヒステリシス損失を有する。一部の実施形態では、強磁性インクは、立方メートル当たり約0.1ジュールから立方メートル当たり約10,000ジュールに及ぶ、再磁化サイクル当たりの磁気ヒステリシス損失を有する。一部の実施形態では、強磁性インクは、立方メートル当たり約0.1ジュールからの範囲の、再磁化サイクル当たりの磁気ヒステリシス損失を有する。一部の実施形態では、強磁性インクは、立方メートル当たり約10,000ジュールからの範囲の、再磁化サイクル当たりの磁気ヒステリシス損失を有する。一部の実施形態では、強磁性インクは、立方メートル当たり約0.1ジュールから立方メートル当たり約1ジュール、立方メートル当たり約0.1ジュールから立方メートル当たり約10ジュール、立方メートル当たり約0.1ジュールから立方メートル当たり約50ジュール、立方メートル当たり約0.1ジュールから立方メートル当たり約100ジュール、立方メートル当たり約0.1ジュールから立方メートル当たり約500ジュール、立方メートル当たり約0.1ジュールから立方メートル当たり約1,000ジュール、立方メートル当たり約0.1ジュールから立方メートル当たり約1,500ジュール、立方メートル当たり約0.1ジュールから立方メートル当たり約10,000ジュール、立方メートル当たり約1ジュールから立方メートル当たり約10ジュール、立方メートル当たり約1ジュールから立方メートル当たり約50ジュール、立方メートル当たり約1ジュールから立方メートル当たり約100ジュール、立方メートル当たり約1ジュールから立方メートル当たり約500ジュール、立方メートル当たり約1ジュールから立方メートル当たり約1,000ジュール、立方メートル当たり約1ジュールから立方メートル当たり約1,500ジュール、立方メートル当たり約1ジュールから立方メートル当たり約10,000ジュール、立方メートル当たり約10ジュールから立方メートル当たり約50ジュール、立方メートル当たり約10ジュールから立方メートル当たり約100ジュール、立方メートル当たり約10ジュールから立方メートル当たり約500ジュール、立方メートル当たり約10ジュールから立方メートル当たり約1,000ジュール、立方メートル当たり約10ジュールから立方メートル当たり約1,500ジュール、立方メートル当たり約10ジュールから立方メートル当たり約10,000ジュール、立方メートル当たり約50ジュールから立方メートル当たり約100ジュール、立方メートル当たり約50ジュールから立方メートル当たり約500ジュール、立方メートル当たり約50ジュールから立方メートル当たり約1,000ジュール、立方メートル当たり約50ジュールから立方メートル当たり約1,500ジュール、立方メートル当たり約50ジュールから立方メートル当たり約10,000ジュール、立方メートル当たり約100ジュールから立方メートル当たり約500ジュール、立方メートル当たり約100ジュールから立方メートル当たり約1,000ジュール、立方メートル当たり約100ジュールから立方メートル当たり約1,500ジュール、立方メートル当たり約100ジュールから立方メートル当たり約10,000ジュール、立方メートル当たり約500ジュールから立方メートル当たり約1,000ジュール、立方メートル当たり約500ジュールから立方メートル当たり約1,500ジュール、立方メートル当たり約500ジュールから立方メートル当たり約10,000ジュール、立方メートル当たり約1,000ジュールから立方メートル当たり約1,500ジュール、立方メートル当たり約1,000ジュールから立方メートル当たり約10,000ジュール、または立方メートル当たり約1,500ジュールから立方メートル当たり約10,000ジュールに及ぶ、再磁化サイクル当たりの磁気ヒステリシス損失を有する。一部の実施形態では、強磁性インクは、立方メートル当たり約0.1ジュール、立方メートル当たり約1ジュール、立方メートル当たり約10ジュール、立方メートル当たり約50ジュール、立方メートル当たり約100ジュール、立方メートル当たり約500ジュール、立方メートル当たり約1,000ジュール、立方メートル当たり約1,500ジュール、または立方メートル当たり約10,000ジュールからの範囲の、再磁化サイクル当たりの磁気ヒステリシス損失を有する。
一部の実施形態では、強磁性インクは、自発的に磁化される。一部の実施形態では、強磁性インクは、磁場に接触して配置されたとき、自発的に磁化される。一部の実施形態では、キュリー点よりも低い温度で強磁性インクは自発的に磁化されるが、磁気特性を外部から顕在化させない。
一部の実施形態では、強磁性インク組成物の全成分は、間接食品添加物である。一部の実施形態では、強磁性インク組成物の全成分は、包装または加工機器の部分として食品に接触するようになってもよいが、食品に直接添加されるものではない。一部の実施形態では、強磁性インク組成物の全成分は、食品医薬品局(FDA)により連邦規則集(CFR)の第21巻で列挙されるように、食品接触適用が認められた添加剤である。一部の実施形態では、強磁性インク組成物の全成分は、食品接触物質である。食品接触物質は、CFRの第21巻、第170章、第170.3条により、使用することがそのような食品にいかなる技術的影響ももたらすものではない場合に、食品の製造、パック、包装、輸送、または保持するのに使用される材料の成分として使用することが意図される、任意の物質と定義される。一部の実施形態では、強磁性インク組成物の全成分が、安全な食品接触材料である。一部の実施形態では、食品接触材料は、食品と接触することが意図される材料である。一部の実施形態では、安全な食品接触材料は、その表面に、製造プロセス中に接触し得るいかなる毒性の汚染物質もない材料である。さらに、一部の実施形態では、食品接触に安全な材料は、利用による毒性汚染物質の供給源にならない(即ち、変性)。食品接触材料の安全性は、材料の「移行限界」を推定し調整することによって、確実になる。一部の実施形態では、強磁性インク組成物の成分の全ての全体的な移行は、潜在的接触表面の平方デシメートル(dm)当たり約10ミリグラム(mg)の物質に限定される。一部の実施形態では、強磁性インク組成物の成分の全ては、安全な食品接触材料の移行限界要件を満たす。一部の実施形態では、強磁性インク組成物の全成分は、一般に安全と見なされている(GRAS)物質である。
一部の実施形態では、強磁性インク組成物は、磁場に曝露されたときに磁化される。一部の実施形態では、強磁性インク組成物は、磁場に曝露されたときに一時的に磁化される。一部の実施形態では、強磁性インク組成物は印刷可能である。一部の実施形態では、インクを所望の基材上に印刷するのに使用される印刷技法は、インク組成の有意な決定要因である。一部の実施形態では、インクは、フレキソまたはグラビアまたは凹版またはスクリーンまたはパッドまたはオフセット印刷プレスを使用して印刷される。一部の実施形態では、強磁性インク組成物は、フレキソ印刷を使用して印刷される。一部の実施形態では、強磁性インク組成物は、グラビア印刷を使用して印刷される。一部の実施形態では、強磁性インク組成物は、凹版印刷を使用して印刷される。一部の実施形態では、強磁性インク組成物は、スクリーン印刷を使用して印刷される。一部の実施形態では、強磁性インク組成物は、パッド印刷を使用して印刷される。一部の実施形態では、強磁性インク組成物は、オフセット印刷プレスを使用して印刷される。そのような高速商用プリンターで使用されるインクは、>10cPの粘度範囲により特徴付けられる。一部の実施形態では、強磁性インク組成物は、約10センチポアズ(cP)の粘度を有する。
一部の実施形態では、約100cPから約200cPの粘度を有する強磁性インク組成物は、フレキソ印刷法により使用される。一部の実施形態では、強磁性インク組成物は、約100cPから約200cPの粘度を有する。一部の実施形態では、強磁性インク組成物は、約100cPの粘度を有する。一部の実施形態では、強磁性インク組成物は、約200cPの粘度を有する。一部の実施形態では、強磁性インク組成物は、約100cPから約110cP、約100cPから約120cP、約100cPから約130cP、約100cPから約140cP、約100cPから約150cP、約100cPから約160cP、約100cPから約170cP、約100cPから約180cP、約100cPから約190cP、約100cPから約200cP、約110cPから約120cP、約110cPから約130cP、約110cPから約140cP、約110cPから約150cP、約110cPから約160cP、約110cPから約170cP、約110cPから約180cP、約110cPから約190cP、約110cPから約200cP、約120cPから約130cP、約120cPから約140cP、約120cPから約150cP、約120cPから約160cP、約120cPから約170cP、約120cPから約180cP、約120cPから約190cP、約120cPから約200cP、約130cPから約140cP、約130cPから約150cP、約130cPから約160cP、約130cPから約170cP、約130cPから約180cP、約130cPから約190cP、約130cPから約200cP、約140cPから約150cP、約140cPから約160cP、約140cPから約170cP、約140cPから約180cP、約140cPから約190cP、約140cPから約200cP、約150cPから約160cP、約150cPから約170cP、約150cPから約180cP、約150cPから約190cP、約150cPから約200cP、約160cPから約170cP、約160cPから約180cP、約160cPから約190cP、約160cPから約200cP、約170cPから約180cP、約170cPから約190cP、約170cPから約200cP、約180cPから約190cP、約180cPから約200cP、または約190cPから約200cPの粘度を有する。一部の実施形態では、強磁性インク組成物は、約100cP、約110cP、約120cP、約130cP、約140cP、約150cP、約160cP、約170cP、約180cP、約190cP、または約200cPの粘度を有する。
一部の実施形態では、約40cPから約80cPの粘度を有する強磁性インク組成物は、グラビア印刷法で使用される。一部の実施形態では、強磁性インク組成物は、約40cPから約80cPの粘度を有する。一部の実施形態では、強磁性インク組成物は、約40cPの粘度を有する。一部の実施形態では、強磁性インク組成物は、約80cPの粘度を有する。一部の実施形態では、強磁性インク組成物は、約40cPから約45cP、約40cPから約50cP、約40cPから約55cP、約40cPから約60cP、約40cPから約65cP、約40cPから約70cP、約40cPから約75cP、約40cPから約80cP、約45cPから約50cP、約45cPから約55cP、約45cPから約60cP、約45cPから約65cP、約45cPから約70cP、約45cPから約75cP、約45cPから約80cP、約50cPから約55cP、約50cPから約60cP、約50cPから約65cP、約50cPから約70cP、約50cPから約75cP、約50cPから約80cP、約55cPから約60cP、約55cPから約65cP、約55cPから約70cP、約55cPから約75cP、約55cPから約80cP、約60cPから約65cP、約60cPから約70cP、約60cPから約75cP、約60cPから約80cP、約65cPから約70cP、約65cPから約75cP、約65cPから約80cP、約70cPから約75cP、約70cPから約80cP、または約75cPから約80cPの粘度を有する。一部の実施形態では、強磁性インク組成物は、約40cP、約45cP、約50cP、約55cP、約60cP、約65cP、約70cP、約75cP、または約80cPの粘度を有する。
一部の実施形態では、約100cPから約150cPの粘度を有する強磁性インク組成物が、オフセット印刷法で使用される。一部の実施形態では、約100cPから約150cPの粘度を有する強磁性インク組成物が、オフセット印刷法で使用される。一部の実施形態では、約100cPからの粘度を有する強磁性インク組成物が、オフセット印刷法で使用される。一部の実施形態では、約150cPからの粘度を有する強磁性インク組成物が、オフセット印刷法で使用される。一部の実施形態では、約100cPから約105cP、約100cPから約110cP、約100cPから約115cP、約100cPから約120cP、約100cPから約125cP、約100cPから約130cP、約100cPから約135cP、約100cPから約140cP、約100cPから約145cP、約100cPから約150cP、約105cPから約110cP、約105cPから約115cP、約105cPから約120cP、約105cPから約125cP、約105cPから約130cP、約105cPから約135cP、約105cPから約140cP、約105cPから約145cP、約105cPから約150cP、約110cPから約115cP、約110cPから約120cP、約110cPから約125cP、約110cPから約130cP、約110cPから約135cP、約110cPから約140cP、約110cPから約145cP、約110cPから約150cP、約115cPから約120cP、約115cPから約125cP、約115cPから約130cP、約115cPから約135cP、約115cPから約140cP、約115cPから約145cP、約115cPから約150cP、約120cPから約125cP、約120cPから約130cP、約120cPから約135cP、約120cPから約140cP、約120cPから約145cP、約120cPから約150cP、約125cPから約130cP、約125cPから約135cP、約125cPから約140cP、約125cPから約145cP、約125cPから約150cP、約130cPから約135cP、約130cPから約140cP、約130cPから約145cP、約130cPから約150cP、約135cPから約140cP、約135cPから約145cP、約135cPから約150cP、約140cPから約145cP、約140cPから約150cP、または約145cPから約150cPの粘度を有する強磁性インク組成物が、オフセット印刷法で使用される。一部の実施形態では、約100cP、約105cP、約110cP、約115cP、約120cP、約125cP、約130cP、約135cP、約140cP、約145cP、または約150cPの粘度を有する強磁性インク組成物が、オフセット印刷法で使用される。
一部の実施形態では、強磁性インク組成物は、最適なレオロジー特性を有する。一部の実施形態では、強磁性インクは、インクの製造、保存中、および印刷プロセス全体を通して、最適な安定性を有する。一部の実施形態では、強磁性インク成分は、製造、保存中、および印刷プロセスの全体を通して、分離されない。一部の実施形態では、強磁性インク組成物は、製造、保存中、および印刷プロセスの全体を通して、分解しない。一部の実施形態では、強磁性インク成分の沈積は、製造、保存中、および印刷プロセスの全体を通して生じない。一部の実施形態では、強磁性インクの安定性は、沈降の欠如によって特徴付けられる。一部の実施形態では、強磁性インクは、少なくとも3週間、安定なままである。一部の実施形態では、強磁性インクの沈降は、少なくとも3週間、生じない。
一部の実施形態では、強磁性インク組成物は、MRF分離施設においてリサイクレートの首尾良くなされる磁石誘導分離に必要とされる、十分な磁気強度を有する。一部の実施形態では、強磁性インク組成物は、強磁性ラベルの部分であるとき、インクの製造、保存、および/または印刷のプロセス全体を通して、この磁気強度を維持する。
一部の実施形態では、強磁性インク組成物は、PET再生施設におけるPET薄片からのグラウンドラベル薄片の、首尾良くなされる磁石誘導分離に必要とされる、十分な磁気強度を有する。一部の実施形態では、強磁性インク組成物は、強磁性ラベルの部分である場合に、この磁気強度を、インクの製造、保存、印刷、およびポストコンシューマーリサイクル施設での処理の過程の全体にわたって維持する。
一部の実施形態では、強磁性コーティングは、良好な接着、低い摩擦係数(COF)、耐引掻き性、耐皺形成性、ブロッキング防止特性を示す。
一部の実施形態では、強磁性インク組成物は、最適な粉砕効率を有する。一部の実施形態では、強磁性インク組成物は、最大で5マイクロメートルまたはミクロン(μm)の粉砕効率を有する。一部の実施形態では、強磁性インク組成物の粉砕効率は、国立印刷インク研究機関(National Printing Inks Research Institute (NPIRI))スケールを含む粉砕ゲージを使用して測定される。NPIRIスケールは、国立印刷インク研究機関によって、インクゲージ用に設計されたスケールである。スケールは、無限点の「0」で開始し、0.001インチの深さの「10」まで拡がる。これは任意のスケールであるが、これらの分割はミルの10分の1または2~1/2ミクロンに均等であるので、論理的なものである。一部の実施形態では、強磁性インク組成物は、NPIRIスケールに基づいて、少なくとも5μmの粉砕効率を有する。一部の実施形態では、強磁性インク組成物の粉砕効率は、粉砕ゲージまたは精密グラインドメーターを使用することによって測定される。一部の実施形態では、粉砕ゲージまたは精密グラインドメーターは、粉砕の微細さまたは粗い粒子もしくは凝集体の存在または分散体中(例えば、強磁性インク組成物中)の「インクの粉砕」を示すのに使用される。一部の実施形態では、粉砕ゲージは、約0μmから約10μmまで様々な深さの長方形のチャネルを含む。一部の実施形態では、インクは、10μmの深さに配置され、スクレーパーでチャネルに沿って掻き取られる。一部の実施形態では、粒子の筋が最初に観察されるチャネルに沿って測定された深さ(ミクロンを単位とする)を、インクの粉砕として標識する。
一部の実施形態では、強磁性インク組成物の粉砕は、約0.01ミクロンから約5ミクロンである。一部の実施形態では、強磁性インク組成物の粉砕は、約0.01ミクロンである。一部の実施形態では、強磁性インク組成物の粉砕は、約5ミクロンである。一部の実施形態では、強磁性インク組成物の粉砕は、約0.01ミクロンから約0.05ミクロン、約0.01ミクロンから約1ミクロン、約0.01ミクロンから約1.5ミクロン、約0.01ミクロンから約2ミクロン、約0.01ミクロンから約2.5ミクロン、約0.01ミクロンから約3ミクロン、約0.01ミクロンから約3.5ミクロン、約0.01ミクロンから約4ミクロン、約0.01ミクロンから約4.5ミクロン、約0.01ミクロンから約5ミクロン、約0.05ミクロンから約1ミクロン、約0.05ミクロンから約1.5ミクロン、約0.05ミクロンから約2ミクロン、約0.05ミクロンから約2.5ミクロン、約0.05ミクロンから約3ミクロン、約0.05ミクロンから約3.5ミクロン、約0.05ミクロンから約4ミクロン、約0.05ミクロンから約4.5ミクロン、約0.05ミクロンから約5ミクロン、約1ミクロンから約1.5ミクロン、約1ミクロンから約2ミクロン、約1ミクロンから約2.5ミクロン、約1ミクロンから約3ミクロン、約1ミクロンから約3.5ミクロン、約1ミクロンから約4ミクロン、約1ミクロンから約4.5ミクロン、約1ミクロンから約5ミクロン、約1.5ミクロンから約2ミクロン、約1.5ミクロンから約2.5ミクロン、約1.5ミクロンから約3ミクロン、約1.5ミクロンから約3.5ミクロン、約1.5ミクロンから約4ミクロン、約1.5ミクロンから約4.5ミクロン、約1.5ミクロンから約5ミクロン、約2ミクロンから約2.5ミクロン、約2ミクロンから約3ミクロン、約2ミクロンから約3.5ミクロン、約2ミクロンから約4ミクロン、約2ミクロンから約4.5ミクロン、約2ミクロンから約5ミクロン、約2.5ミクロンから約3ミクロン、約2.5ミクロンから約3.5ミクロン、約2.5ミクロンから約4ミクロン、約2.5ミクロンから約4.5ミクロン、約2.5ミクロンから約5ミクロン、約3ミクロンから約3.5ミクロン、約3ミクロンから約4ミクロン、約3ミクロンから約4.5ミクロン、約3ミクロンから約5ミクロン、約3.5ミクロンから約4ミクロン、約3.5ミクロンから約4.5ミクロン、約3.5ミクロンから約5ミクロン、約4ミクロンから約4.5ミクロン、約4ミクロンから約5ミクロン、または約4.5ミクロンから約5ミクロンである。一部の実施形態では、強磁性インク組成物の粉砕は、約0.01ミクロン、約0.05ミクロン、約1ミクロン、約1.5ミクロン、約2ミクロン、約2.5ミクロン、約3ミクロン、約3.5ミクロン、約4ミクロン、約4.5ミクロン、または約5ミクロンである。
一部の実施形態では、強磁性インク組成物は、最適な熱転写性能を有する。一部の実施形態では、最適な熱転写性能は、熱転写方法を使用する場合、物体の表面上への強磁性インク組成物の完全な転写と定義される。例えば、一部の実施形態では、強磁性インク組成物は、ホットプレートを使用して物体(例えば、プラスチック物体)の表面上に完全に転写される。
一部の実施形態では、強磁性インク組成物は、様々な色を含む。一部の実施形態では、強磁性インク組成物は、種々の着色顔料を含む。一部の実施形態では、着色顔料は、非強磁性顔料である。一部の実施形態では、強磁性インク組成物は、強磁性インク配合物重量の約5%から約10%に及ぶレベルで着色顔料を含む。一部の実施形態では、強磁性インク組成物は、強磁性インク配合物重量の約1%から約60%に及ぶレベルで着色顔料を含む。一部の実施形態では、強磁性インク組成物は、強磁性インク配合物重量の少なくとも約1%からの範囲のレベルで着色顔料を含む。一部の実施形態では、強磁性インク組成物は、強磁性インク配合物重量の最大で約60%からの範囲のレベルで着色顔料を含む。一部の実施形態では、強磁性インク組成物は、強磁性インク配合物重量の約1%から約2%、約1%から約3%、約1%から約4%、約1%から約5%、約1%から約10%、約1%から約15%、約1%から約20%、約1%から約30%、約1%から約40%、約1%から約50%、約1%から約60%、約2%から約3%、約2%から約4%、約2%から約5%、約2%から約10%、約2%から約15%、約2%から約20%、約2%から約30%、約2%から約40%、約2%から約50%、約2%から約60%、約3%から約4%、約3%から約5%、約3%から約10%、約3%から約15%、約3%から約20%、約3%から約30%、約3%から約40%、約3%から約50%、約3%から約60%、約4%から約5%、約4%から約10%、約4%から約15%、約4%から約20%、約4%から約30%、約4%から約40%、約4%から約50%、約4%から約60%、約5%から約10%、約5%から約15%、約5%から約20%、約5%から約30%、約5%から約40%、約5%から約50%、約5%から約60%、約10%から約15%、約10%から約20%、約10%から約30%、約10%から約40%、約10%から約50%、約10%から約60%、約15%から約20%、約15%から約30%、約15%から約40%、約15%から約50%、約15%から約60%、約20%から約30%、約20%から約40%、約20%から約50%、約20%から約60%、約30%から約40%、約30%から約50%、約30%から約60%、約40%から約50%、約40%から約60%、または約50%から約60%に及ぶレベルで着色顔料を含む。一部の実施形態では、強磁性インク組成物は、強磁性インク配合物重量の約1%、約2%、約3%、約4%、約5%、約10%、約15%、約20%、約30%、約40%、約50%、または約60%からの範囲のレベルで着色顔料を含む。
一部の実施形態では、強磁性インク組成物は、組成物に色を付けるために非強磁性顔料を含む。一部の実施形態では、強磁性インク組成物は、美的魅力を改善するために非強磁性の着色顔料を含む。一部の実施形態では、強磁性インク組成物は、印刷されたプラスチックにマーキングを与えるために、着色顔料を含む。一部の実施形態では、着色顔料は、黄色顔料、シアン顔料、マゼンタ顔料、および黒色顔料である。一部の実施形態では、黄色顔料は、Yellow 12、Yellow 13、Yellow 14、Yellow 17、Yellow 74、またはこれらの組合せである。一部の実施形態では、シアン顔料は、Blue15:1、Blue 15:3、Blue 15:4、またはこれらの組合せである。一部の実施形態では、マゼンタ顔料は、Red 57:1、Red 48:2、Red 146、Red 122、またはこれらの組合せである。一部の実施形態では、黒色顔料はBlack 7である。一部の実施形態では、強磁性インク組成物は、非強磁性顔料の添加または変化に起因する性能のばらつきおよび/または損失を示さない。
一部の実施形態では、非強磁性着色顔料は、連邦規則集の第21巻で列挙されるような(第175~178条参照)FDAにより認可された食品添加物である。一部の実施形態では、非強磁性着色顔料は、連邦規則集(CFR)の第21巻(第182、184、186条参照)において食品医薬品局(FDA)により列挙されるような、一般に安全と見なされている(GRAS)物質のリストから選択される。一部の実施形態では、非強磁性着色顔料は、食材と接触するのに安全である。一部の実施形態では、非強磁性着色顔料は、「一般に安全と見なされている」(GRAS)物質である。
強磁性基材
本開示の別の態様は、ポリマー材料と、強磁性材料を含むフィルムまたはインクとを含む、基材であって;強磁性材料が、基材の表面に堆積され、フィルムまたはインクが食品接触物質である、基材が提供される。
基材は、使い捨てボトル、ボトルキャップ、使い捨てコーヒーカップ、プラスチックのカトラリー、食器、刃物用具、プラスチックのトレー、プラスチック容器、食品包装容器、アルミニウム缶、またはこれらの任意の組合せとすることができる。一部の例では、基材は、約20グラム未満の質量を有する。フィルムは、ラベルとすることができる。ある場合には、フィルムは、シュリンクスリーブラベル、感圧ラベル、ロール紙ラベル、ラップラベル、伸縮ラベル、切断積層ラベル、収縮括束フィルム、またはこれらの任意の組合せとすることができる。
一部の例では、強磁性材料は、磁化可能なコーティングまたは磁化可能なマーカーとすることができる。強磁性材料は、基材の表面上に直接印刷することができる。強磁性材料は、強磁性要素の透磁率を増大させるため、磁場の存在下で基材の表面に直接堆積することができる。
強磁性材料の質量は、基材の全質量の約0.05%から2%に及ぶことができる。一部の実施形態では、強磁性材料の質量は、基材の全質量の約0.05%から約5%に及ぶ。一部の実施形態では、強磁性材料の質量は、基材の全質量の少なくとも約0.05%からの範囲である。一部の実施形態では、強磁性材料の質量は、基材の全質量の最大で約5%からの範囲である。一部の実施形態では、強磁性材料の質量は、基材の全質量の約0.05%から約0.06%、約0.05%から約0.07%、約0.05%から約0.08%、約0.05%から約0.09%、約0.05%から約1%、約0.05%から約1.5%、約0.05%から約2%、約0.05%から約2.5%、約0.05%から約3%、約0.05%から約5%、約0.06%から約0.07%、約0.06%から約0.08%、約0.06%から約0.09%、約0.06%から約1%、約0.06%から約1.5%、約0.06%から約2%、約0.06%から約2.5%、約0.06%から約3%、約0.06%から約5%、約0.07%から約0.08%、約0.07%から約0.09%、約0.07%から約1%、約0.07%から約1.5%、約0.07%から約2%、約0.07%から約2.5%、約0.07%から約3%、約0.07%から約5%、約0.08%から約0.09%、約0.08%から約1%、約0.08%から約1.5%、約0.08%から約2%、約0.08%から約2.5%、約0.08%から約3%、約0.08%から約5%、約0.09%から約1%、約0.09%から約1.5%、約0.09%から約2%、約0.09%から約2.5%、約0.09%から約3%、約0.09%から約5%、約1%から約1.5%、約1%から約2%、約1%から約2.5%、約1%から約3%、約1%から約5%、約1.5%から約2%、約1.5%から約2.5%、約1.5%から約3%、約1.5%から約5%、約2%から約2.5%、約2%から約3%、約2%から約5%、約2.5%から約3%、約2.5%から約5%、または約3%から約5%に及ぶ。一部の実施形態では、強磁性材料の質量は、基材の全質量の約0.05%、約0.06%、約0.07%、約0.08%、約0.09%、約1%、約1.5%、約2%、約2.5%、約3%、または約5%からの範囲である。
強磁性材料の質量は、フィルムの全質量の約0.05%から2%に及ぶことができる。一部の実施形態では、強磁性材料の質量は、フィルムの全質量の約0.05%から約5%に及ぶ。一部の実施形態では、強磁性材料の質量は、フィルムの全質量の少なくとも約0.05%からの範囲である。一部の実施形態では、強磁性材料の質量は、フィルムの全質量の最大で約5%からの範囲である。一部の実施形態では、強磁性材料の質量は、フィルムの全質量の約0.05%から約0.06%、約0.05%から約0.07%、約0.05%から約0.08%、約0.05%から約0.09%、約0.05%から約1%、約0.05%から約1.5%、約0.05%から約2%、約0.05%から約2.5%、約0.05%から約3%、約0.05%から約5%、約0.06%から約0.07%、約0.06%から約0.08%、約0.06%から約0.09%、約0.06%から約1%、約0.06%から約1.5%、約0.06%から約2%、約0.06%から約2.5%、約0.06%から約3%、約0.06%から約5%、約0.07%から約0.08%、約0.07%から約0.09%、約0.07%から約1%、約0.07%から約1.5%、約0.07%から約2%、約0.07%から約2.5%、約0.07%から約3%、約0.07%から約5%、約0.08%から約0.09%、約0.08%から約1%、約0.08%から約1.5%、約0.08%から約2%、約0.08%から約2.5%、約0.08%から約3%、約0.08%から約5%、約0.09%から約1%、約0.09%から約1.5%、約0.09%から約2%、約0.09%から約2.5%、約0.09%から約3%、約0.09%から約5%、約1%から約1.5%、約1%から約2%、約1%から約2.5%、約1%から約3%、約1%から約5%、約1.5%から約2%、約1.5%から約2.5%、約1.5%から約3%、約1.5%から約5%、約2%から約2.5%、約2%から約3%、約2%から約5%、約2.5%から約3%、約2.5%から約5%、または約3%から約5%に及ぶ。一部の実施形態では、強磁性材料の質量は、フィルムの全質量の約0.05%、約0.06%、約0.07%、約0.08%、約0.09%、約1%、約1.5%、約2%、約2.5%、約3%、または約5%からの範囲である。
シュリンクスリーブラベルは、強磁性材料を含まないシュリンクスリーブラベルと比較して、非拘束収縮率に約5%未満の差を含むことができる。一部の実施形態では、シュリンクスリーブラベルは、強磁性材料を含まないシュリンクスリーブラベルと比較して、非拘束収縮率に約0.05%未満から約5%の差を含む。一部の実施形態では、シュリンクスリーブラベルは、強磁性材料を含まないシュリンクスリーブラベルと比較して、非拘束収縮率に少なくとも約0.05%未満の差を含む。一部の実施形態では、シュリンクスリーブラベルは、強磁性材料を含まないシュリンクスリーブラベルと比較して、非拘束収縮率に最大で約5%未満の差を含む。一部の実施形態では、シュリンクスリーブラベルは、強磁性材料を含まないシュリンクスリーブラベルと比較して、非拘束収縮率に約0.05%未満から約0.06%、約0.05%から約0.07%、約0.05%から約0.08%、約0.05%から約0.09%、約0.05%から約1%、約0.05%から約1.5%、約0.05%から約2%、約0.05%から約2.5%、約0.05%から約3%、約0.05%から約5%、約0.06%から約0.07%、約0.06%から約0.08%、約0.06%から約0.09%、約0.06%から約1%、約0.06%から約1.5%、約0.06%から約2%、約0.06%から約2.5%、約0.06%から約3%、約0.06%から約5%、約0.07%から約0.08%、約0.07%から約0.09%、約0.07%から約1%、約0.07%から約1.5%、約0.07%から約2%、約0.07%から約2.5%、約0.07%から約3%、約0.07%から約5%、約0.08%から約0.09%、約0.08%から約1%、約0.08%から約1.5%、約0.08%から約2%、約0.08%から約2.5%、約0.08%から約3%、約0.08%から約5%、約0.09%から約1%、約0.09%から約1.5%、約0.09%から約2%、約0.09%から約2.5%、約0.09%から約3%、約0.09%から約5%、約1%から約1.5%、約1%から約2%、約1%から約2.5%、約1%から約3%、約1%から約5%、約1.5%から約2%、約1.5%から約2.5%、約1.5%から約3%、約1.5%から約5%、約2%から約2.5%、約2%から約3%、約2%から約5%、約2.5%から約3%、約2.5%から約5%、または約3%から約5%の差を含む。一部の実施形態では、シュリンクスリーブラベルは、強磁性材料を含まないシュリンクスリーブラベルと比較して、非拘束収縮率に約0.05%未満、約0.06%、約0.07%、約0.08%、約0.09%、約1%、約1.5%、約2%、約2.5%、約3%、または約5%の差を含む。
基材またはフィルムは、磁場への曝露後に磁化することができる。基材またはフィルムは、磁場への曝露後に一時的に磁化することができる。基材またはフィルムは、磁化されたとき、複数の非磁性、常磁性、または反磁性物体から分離することができる。基材またはフィルムは、一時的に磁化されたとき、複数の非磁性、常磁性、または反磁性物体から分離することができる。フィルムは、磁化されたとき、基材から分離することができる。フィルムは、一時的に磁化されたとき、基材から分離することができる。フィルムは、複数の薄片を含む。例えば、フィルムは、複数の非フィルム薄片から選別され分離される前に、複数の薄片に粉砕することができる(例えば、PET再生施設で)。
基材またはフィルムの磁化は、磁場の印加によって実現することができる。磁場は、少なくとも約1,000ガウス(G)の磁場強度を有することができる。磁場は、最大で約1,000ガウス(G)の磁場強度を有することができる。一部の実施形態では、磁場は、少なくとも約1Gから約15,000Gまたはそれよりも大きい値に及ぶ磁場強度を有する。一部の実施形態では、磁場は、少なくとも約1Gからの範囲の磁場強度を有する。一部の実施形態では、磁場は、最大で約15,000Gからの範囲の磁場強度を有する。一部の実施形態では、磁場は、約1Gから約250G、約1Gから約500G、約1Gから約750G、約1Gから約1,000G、約1Gから約2,500G、約1Gから約5,000G、約1Gから約7,500G、約1Gから約10,000G、約1Gから約15,000G、約250Gから約500G、約250Gから約750G、約250Gから約1,000G、約250Gから約2,500G、約250Gから約5,000G、約250Gから約7,500G、約250Gから約10,000G、約250Gから約15,000G、約500Gから約750G、約500Gから約1,000G、約500Gから約2,500G、約500Gから約5,000G、約500Gから約7,500G、約500Gから約10,000G、約500Gから約15,000G、約750Gから約1,000G、約750Gから約2,500G、約750Gから約5,000G、約750Gから約7,500G、約750Gから約10,000G、約750Gから約15,000G、約1,000Gから約2,500G、約1,000Gから約5,000G、約1,000Gから約7,500G、約1,000Gから約10,000G、約1,000Gから約15,000G、約2,500Gから約5,000G、約2,500Gから約7,500G、約2,500Gから約10,000G、約2,500Gから約15,000G、約5,000Gから約7,500G、約5,000Gから約10,000G、約5,000Gから約15,000G、約7,500Gから約10,000G、約7,500Gから約15,000G、または約10,000Gから約15,000Gに及ぶ磁場強度を有する。一部の実施形態では、磁場は、約1G、約250G、約500G、約750G、約1,000G、約2,500G、約5,000G、約7,500G、約10,000G、または約15,000Gからの範囲の磁場強度を有する。
磁場は、磁気分離デバイスによって生成することができる。ある場合には、磁気分離デバイスは、手持ち式磁石、商用ドラム型分離器、オーバーバンド磁気分離器、磁気ヘッドプーリー、またはこれらの任意の組合せである。
磁気分離デバイスは、少なくとも約50%の分離回収率を有することができる。他の実施形態では、磁気分離デバイスは、少なくとも約80%の分離回収率を有する。一部の実施形態では、磁気分離デバイスの分離回収率は、いかなる「負荷深さ」もなしに試験したときに計算される。一部の実施形態では、磁気分離デバイスは、約50%から約100%に及ぶ分離回収率を有する。一部の実施形態では、磁気分離デバイスは、少なくとも約50%からの範囲の分離回収率を有する。一部の実施形態では、磁気分離デバイスは、最大で約100%からの範囲の分離回収率を有する。一部の実施形態では、磁気分離デバイスは、約50%から約60%、約50%から約70%、約50%から約80%、約50%から約90%、約50%から約100%、約60%から約70%、約60%から約80%、約60%から約90%、約60%から約100%、約70%から約80%、約70%から約90%、約70%から約100%、約80%から約90%、約80%から約100%、または約90%から約100%に及ぶ分離回収率を有する。一部の実施形態では、磁気分離デバイスは、約50%、約60%、約70%、約80%、約90%、または約100%からの範囲の分離回収率を有する。
強磁性材料は、フィルム上に印刷することができる。強磁性は、基材上に印刷することができる。強磁性材料は、強磁性インク組成物を含むことができる。一部の実施形態では、インクは、強磁性インク組成物を含む。強磁性インク組成物は、上述のように、強磁性材料、樹脂、ならびに湿潤および/または分散剤を含むことができる。一部の実施形態では、強磁性インク組成物は、強磁性材料、樹脂、沈降防止添加剤、ならびに湿潤および/または分散剤を含む。「沈降防止剤」は、本明細書で記述される場合、例えばコーティング組成物中での硬質堆積物の形成あるいは顔料またはその他の固体粒子の沈降を、防止するのに使用される薬剤を指す。沈降防止剤は、コーティング組成物の重質沈降をなくすのを助ける。一部の実施形態では、沈降防止添加剤は、ヒュームドシリカ、ポリアミド誘導体、ワックス、またはこれらの任意の組合せである。強磁性材料は、強磁性インク組成物の重量の少なくとも20%を構成することができる。一部の実施形態では、強磁性材料は、強磁性インク組成物の重量の20%未満を構成する。一部の実施形態では、強磁性材料は、強磁性インク組成物の重量の0.1%から20%を構成する。一部の実施形態では、強磁性材料は、強磁性インク組成物の重量の0.1%から20%未満を構成する。一部の実施形態では、強磁性材料は、摂取可能な強磁性顔料である。一部の実施形態では、強磁性材料は、混じり物のない鉄粉、カルボニル鉄、カルボニルコバルト、カルボニルニッケル、鉄合金、酸化鉄、低炭素鋼グレード、ニッケル、コバルト、フェライト系ステンレス鋼、アトマイズ化ステンレス鋼、またはこれらの任意の組合せである。一部の実施形態では、混じり物のない鉄粉は、電解鉄、アトマイズ化鉄、または還元鉄である。一部の実施形態では、鉄合金は、コバルト、バナジウム、マンガン、モリブデン、ケイ素、ニッケル、アルミニウム、および/または銅である。一部の実施形態では、酸化鉄は、酸化鉄(III)または酸化鉄(II,III)である。一部の実施形態では、鉄合金は、コバルト、バナジウム、マンガン、モリブデン、ケイ素、ニッケル、ホウ素、アルミニウム、および/または銅、またはこれらの任意の組合せを含む、結晶質または非晶質金属合金である。
一部の実施形態では、樹脂は、強磁性インク組成物の重量の少なくとも5%を構成する。一部の実施形態では、樹脂は、塩化ビニル酢酸ビニルコポリマー、ニトロセルロース、ポリウレタン、ケトンアルデヒドポリマー、アルコール可溶性ポリアミド、共溶媒ポリアミド、マレイン酸樹脂、エステルガム樹脂、アクリル酸樹脂、セルロースアセテートブチレート樹脂、セルロースアセテートプロピオネート、非晶質ポリエステル樹脂、塩素化ゴム、エチルビニルアセテート樹脂、またはこれらの任意の組合せである。
一部の実施形態では、湿潤および/または分散剤は、Solsperse 8000、Solsperse 8200、Solsperse 2000、Solsperse 24000、Solsperse 17000、Disperbyk 108、Disperbyk 2155、Disperbyk 9077、WA5013、98C、BYK 111、またはこれらの任意の組合せである。
一部の実施形態では、強磁性インク組成物は、少なくとも1種の溶媒をさらに含み、溶媒は、強磁性インク組成物の重量の少なくとも25%を構成する。一部の実施形態では、溶媒は、メタノール、エタノール、n-プロパノール、イソプロピルアルコール、酢酸エチル、酢酸n-プロピル、酢酸イソプロピル、酢酸n-ブチル、トルエン、メチルエチルケトン、アセトン、またはこれらの任意の組合せである。
一部の実施形態では、強磁性インク組成物は、約1/80から6/1に及ぶ強磁性材料/樹脂比を含む。一部の実施形態では、強磁性インク組成物は、約1/10から3/1に及ぶ強磁性材料/樹脂比を含む。一部の実施形態では、強磁性インク組成物は、約1/5から2/1に及ぶ強磁性材料/樹脂比を含む。一部の実施形態では、強磁性インク組成物は、約1/6から約6/1に及ぶ強磁性材料/樹脂比を含む。一部の実施形態では、強磁性インク組成物は、約2/1から約6/1に及ぶ強磁性材料/樹脂比を含む。一部の実施形態では、強磁性インク組成物は、約3/1から約5/1に及ぶ強磁性材料/樹脂比を含む。
一部の実施形態では、強磁性インク組成物の全成分が、間接食品添加物である。一部の実施形態では、間接食品添加物は、一般に安全と見なされている(GRAS)物質である。一部の実施形態では、間接食品添加物は、連邦規則集第21巻により列挙されるような、FDAで認可された食品添加物である。
一部の実施形態では、強磁性インク組成物は、少なくとも1つの層に堆積される。一部の実施形態では、ラベルは、透明または半透明なラベルである。一部の実施形態では、ラベルは半透明なラベルである。一部の実施形態では、磁化可能なコーティングまたは磁化可能なマーカーは、透明または半透明な磁化可能なコーティングあるいは透明または半透明な磁化可能なマーカーである。一部の実施形態では、磁化可能なコーティングまたは磁化可能なマーカーは、透明な磁化可能なコーティングまたは透明な磁化可能なマーカーである。
一部の実施形態では、本明細書に記述されるラベル、磁化可能なコーティング、磁化可能なマーカー、または強磁性材料フィルムは、その表面に、ラベル、磁化可能なコーティング、磁化可能なマーカー、または強磁性材料フィルムが印刷され、添着され、または堆積される基材の、商用のアートワークまたはグラフィックを覆うことまたは遮蔽することを、部分的にまたは完全に回避するように構成される。一部の実施形態では、基材の例には、限定するものではないがアルミニウム缶、使い捨てボトル、ボトルキャップ、使い捨てコーヒーカップ、プラスチックのカトラリー、食器、刃物用具、プラスチックのトレー、プラスチック容器、食品包装容器、またはこれらの任意の組合せが含まれる。一部の実施形態では、本明細書に記述されるラベル、磁化可能なコーティング、磁化可能なマーカー、または強磁性材料フィルムは、所定のレベルの透明度または光透過率を実現するように設計製作され、したがって、ラベル、磁化可能なコーティング、磁化可能なマーカー、または強磁性材料フィルムの付着は、基材の商用アートワークまたはグラフィックの外観を部分的にまたは完全に遮断しまたは妨害するようになる。一部の実施形態では、本明細書に記述される強磁性インク組成物は、ある特定のヘイズ値を有するように、またはラベル、コーティング、マーカー、またはフィルムのヘイズ値に対して最小限に抑えられた効果を発揮するように調整され、したがって基材の商用アートワークまたはグラフィックは、ラベル、磁化可能なコーティング、磁化可能なマーカー、または強磁性材料フィルムを経て明瞭にまたは不明瞭ではない状態で見ることができる。
「ヘイズ値」は、本明細書で使用される場合、透明または半透明な材料を通過するときに拡散したまたは散乱した光の量を指す。ヘイズは、光が全方向に拡散してコントラストの損失をもたらす、広角散乱試験で測定される。透明な試料のヘイズは、光が試料を通るときの光散乱の量について記述する。これは、試験片を通過する際に前方散乱により入射光線から逸れる、透過光のパーセンテージと定義される。通過するときに平均して2.5度よりも大きく入射光線から逸れるその光のパーセンテージが、ヘイズと定義される。シースルー品質は、光が高濃度で小さい範囲で拡散する侠角散乱試験で測定される。この試験は、より細かい詳細を、試験がなされる物体を通して見ることができる、透明度を測定する。透明または半透明なフィルムは、中身を明瞭に見ることができるように、光をより少なく拡散させる必要がある。ヘイズ計は、全透過率も測定する。全透過率は、実際に透過する光と比較した(例えば、全透過率)、全入射光の尺度である。したがって入射光は100%であってもよいが、それは吸収および反射により、全透過率は僅かに94%であってもよい。
一部の実施形態では、透明または半透明なコーティングを透明または半透明なラベル上に付着することに起因するヘイズ値の変化は、9%未満、好ましくは5%未満であるべきである。一部の実施形態では、ラベルおよびコーティングを組み合わせた全ヘイズ値は、17%未満、好ましくは12%未満であるべきである。一部の実施形態では、ヘイズ値は、ASTM D1003-13:透明なプラスチックのヘイズおよび光透過率の標準試験法を使用して測定されるように、特定される。一部の実施形態では、ラベルおよびコーティングを組み合わせた全可視透過率の値は、82%よりも大きく、好ましくは90%よりも大きくあるべきである。一部の実施形態では、ラベルおよびコーティングを組み合わせた全NIR透過率値は、87%よりも大きく、好ましくは90%よりも大きくあるべきである。一部の実施形態では、透明または半透明なコーティングの付着は、印刷されたラベル上で使用される商用のアートワーク/グラフィックの外見に変化を起こすべきではない。
一部の実施形態では、透明または半透明なラベル、透明または半透明な磁化可能なコーティング、あるいは透明または半透明な磁化可能なマーカーは、可視光および/または近赤外光(NIR)に対して透明または半透明である。一部の実施形態では、フィルムは、多層フィルムまたは共押出しフィルムである。一部の実施形態では、多層フィルムまたは共押出しフィルムは、少なくとも2層のフィルムを含む。一部の実施形態では、多層フィルムまたは共押出しフィルムは、少なくとも約3層のフィルムから最大で約12層のフィルムを含む。
一部の実施形態では、フィルムがポリマーフィルムである。一部の実施形態では、ポリマーフィルムは、ポリエチレン(PE)フィルム、高密度ポリエチレン(HDPE)フィルム、低密度ポリエチレン(LDPE)フィルム、直鎖状低密度ポリエチレン(LLDPE)フィルム、ポリプロピレン(PP)フィルム、エチレン-ビニルアルコール(EVOH)フィルム、ポリアミド(NylonまたはPA)フィルム、アイオノマーフィルム、エチレンビニルアセテート(EVA)フィルム、グリコシル化ポリエチレンテレフタレート(PETG)、ポリプロピレン(PP)、ポリ塩化ビニル(PVC)、またはこれらの任意の組合せである。一部の実施形態では、ポリマーフィルムは、ポリエチレン(PE)フィルム、高密度ポリエチレン(HDPE)フィルム、低密度ポリエチレン(LDPE)フィルム、直鎖状低密度ポリエチレン(LLDPE)フィルム、配向ポリプロピレン(OPP)フィルム、二軸配向ポリプロピレン(BOPP)フィルム、配向ポリスチレン(OPS)フィルム、エチレン-ビニルアルコール(EVOH)フィルム、ポリアミド(NylonまたはPA)フィルム、アイオノマーフィルム、エチレンビニルアセテート(EVA)フィルム、グリコシル化ポリエチレンテレフタレート(PETG)、ポリプロピレン(PP)、ポリ塩化ビニル(PVC)、またはこれらの任意の組合せである。一部の実施形態では、アイオノマーフィルムは、エチレンアクリル酸コポリマー(EAA)またはエチレン(メタ)アクリル酸コポリマー(EMAA)である。
一部の実施形態では、強磁性インク組成物は、フレキソ印刷、グラビア印刷、凹版印刷、パッド印刷、スクリーン印刷、オフセット印刷、またはこれらの任意の組合せに適している。
一部の実施形態では、ポリマー材料は、ポリエチレンテレフタレート(PET)、ポリエステル、ポリエチレン(PE)、ポリカーボネート(PC)、ポリスチレン(PS)、ポリ塩化ビニル(PVC)、ポストコンシューマー樹脂(PCR)、スチレンブタジエンコポリマー(SBC)、高密度ポリエチレン(HDPE)、フッ素処理済みHDPE、低密度ポリエチレン(LDPE)、直鎖状低密度ポリエチレン(LLDPE)、ポリプロピレン(PP)、バイオプラスチック、ビスフェノール-A(BPA)、エチレン-ビニルアルコール(EVOH)、ポリアミド(NylonまたはPA)、アイオノマー、エチレンビニルアセテート(EVA)、またはこれらの任意の組合せである。
ある態様では、本開示は:強磁性インク組成物を含むフィルムを含む、強磁性材料フィルムを提供する。一部の実施形態では、強磁性材料フィルムの強磁性インク組成物は、強磁性材料、樹脂、ならびに湿潤および/または分散剤を含む。一部の実施形態では、強磁性インク組成物は、強磁性材料、樹脂、沈降防止添加剤、ならびに湿潤および/または分散剤を含む。本明細書で使用される場合、「沈降防止剤」という用語は、例えば、コーティング組成物中での硬質堆積物の形成または顔料もしくはその他の固体粒子の沈降を防止するのに使用される薬剤を指す。沈降防止剤は、コーティング組成物の重質沈降をなくすのを助ける。一部の実施形態では、沈降防止剤添加剤は、ヒュームドシリカ、ポリアミド誘導体、ワックス、またはこれらの任意の組合せである。一部の実施形態では、強磁性材料は、前記強磁性インク組成物の重量の少なくとも20%を構成する。一部の実施形態では、強磁性材料は、強磁性インク組成物の重量の20%未満を構成する。一部の実施形態では、強磁性材料は、強磁性インク組成物の重量の0.1%から20%を構成する。一部の実施形態では、強磁性材料は、強磁性インク組成物の重量の0.1%から20%未満を構成する。一部の実施形態では、強磁性材料は、摂取可能な強磁性顔料である。一部の実施形態では、強磁性材料は、混じり物のない鉄粉、カルボニル鉄、カルボニルコバルト、カルボニルニッケル、鉄合金、酸化鉄、低炭素鋼グレード、ニッケル、コバルト、フェライト系ステンレス鋼、アトマイズ化ステンレス鋼、またはこれらの任意の組合せである。一部の実施形態では、混じり物のない鉄粉は、電解鉄、アトマイズ化鉄、または還元鉄である。一部の実施形態では、鉄合金は、コバルト、バナジウム、マンガン、モリブデン、ケイ素、ニッケル、ホウ素、アルミニウム、銅、またはこれらの任意の組合せを含む。一部の実施形態では、酸化鉄は、酸化鉄(III)または酸化鉄(II,III)である。一部の実施形態では、樹脂は、前記強磁性インク組成物の重量の少なくとも5%を構成する。一部の実施形態では、樹脂は、塩化ビニル酢酸ビニルコポリマー、ニトロセルロース、ポリウレタン、ケトンアルデヒドポリマー、アルコール可溶性ポリアミド、共溶媒ポリアミド、マレイン酸樹脂、エステルガム樹脂、アクリル酸樹脂、セルロースアセテートブチレート樹脂、セルロースアセテートプロピオネート、非晶質ポリエステル樹脂、塩素化ゴム、エチルビニルアセテート樹脂、またはこれらの任意の組合せである。一部の実施形態では、湿潤および/または前記分散剤は、Solsperse 8000、Solsperse 8200、Solsperse 2000、Solsperse 24000、Solsperse 17000、Disperbyk 108、Disperbyk 2155、Disperbyk 9077、WA5013、98C、BYK 111、またはこれらの任意の組合せである。
一部の実施形態では、強磁性材料フィルムの強磁性インク組成物がさらに、少なくとも1種の溶媒を含み、前記溶媒は、前記強磁性インク組成物の重量の少なくとも25%を含む。一部の実施形態では、溶媒は、メタノール、エタノール、n-プロパノール、イソプロピルアルコール、酢酸エチル、酢酸n-プロピル、酢酸イソプロピル、酢酸n-ブチル、トルエン、メチルエチルケトン、アセトン、またはこれらの任意の組合せである。一部の実施形態では、強磁性インク組成物は、約1/80から6/1に及ぶ強磁性材料/樹脂比を含む。一部の実施形態では、強磁性インク組成物は、約1/10から3/1に及ぶ強磁性材料/樹脂比を含む。一部の実施形態では、強磁性インク組成物は、約1/5から2/1に及ぶ強磁性材料/樹脂比を含む。一部の実施形態では、強磁性インク組成物は、約1/6から約6/1に及ぶ強磁性材料/樹脂比を含む。一部の実施形態では、強磁性インク組成物は、約2/1から約6/1に及ぶ強磁性材料/樹脂比を含む。一部の実施形態では、強磁性インク組成物は、約3/1から約5/1に及ぶ強磁性材料/樹脂比を含む。一部の実施形態では、強磁性インク組成物の全成分が、間接食品添加物である。一部の実施形態では、間接食品添加物が、一般に安全と見なされている(GRAS)物質である。一部の実施形態では、間接食品添加物が、連邦規則集第21巻に列挙されるような、FDAで認可された食品添加物である。
一部の実施形態では、強磁性材料フィルムのフィルムには、強磁性インク組成物が印刷される。一部の実施形態では、強磁性インク組成物は、少なくとも1つの層に堆積される。一部の実施形態では、フィルムは食品接触物質である。一部の実施形態では、フィルムがラベルである。一部の実施形態では、ラベルが自己接着ラベルである。一部の実施形態では、フィルムは、シュリンクスリーブラベル、感圧ラベル、ロール紙ラベル、ラップラベル、伸縮ラベル、切断積層ラベル、収縮括束フィルム、またはこれらの任意の組合せである。一部の実施形態では、シュリンクスリーブラベルが、前記強磁性インク組成物を含まないシュリンクスリーブラベルと比較して、非拘束収縮率に約5%未満の差を含む。一部の実施形態では、前記強磁性材料の重量は、前記フィルムの全質量の約0.05%から2%に及ぶ。
一部の実施形態では、フィルム強磁性材料フィルムは、磁場への曝露後に磁化される。一部の実施形態では、フィルム強磁性材料フィルムは、磁場への曝露後に一時的に磁化される。一部の実施形態では、フィルムは、磁化されたときに、複数の非磁性、常磁性、または反磁性物体から分離される。一部の実施形態では、フィルムは、一時的に磁化されたときに、複数の非磁性、常磁性、または反磁性物体から分離される。一部の実施形態では、フィルムは、磁化されたときに前記基材から分離される。一部の実施形態では、フィルムは、一時的に磁化されたときに前記基材から分離される。一部の実施形態では、フィルムが複数の薄片を含む。
一部の実施形態では、磁場が、少なくとも約1,000ガウス(G)の磁場強度を有する。一部の実施形態では、磁場は、最大で約1,000ガウス(G)の磁場強度を有する。一部の実施形態では、磁場は、磁気分離デバイスによって生成される。一部の実施形態では、磁気分離デバイスは、手持ち式磁石、商用ドラム型分離器、オーバーバンド磁気分離器、磁気ヘッドプーリー、またはこれらの任意の組合せである。一部の実施形態では、磁気分離デバイスが、少なくとも約50%の分離回収率を有する。一部の実施形態では、磁気分離デバイスが、少なくとも約80%の分離回収率を有する。
一部の実施形態では、強磁性材料フィルムのラベルは、透明または半透明なラベルである。一部の実施形態では、透明または半透明なラベルは、可視光および/または近赤外光(NIR)に対して透明または半透明である。一部の実施形態では、フィルムが多層フィルムまたは共押出しフィルムである。一部の実施形態では、多層フィルムまたは前記共押出しフィルムが少なくとも2層のフィルムを含む。一部の実施形態では、多層フィルムまたは前記共押出しフィルムは、少なくとも約3層のフィルムから最大で約12層のフィルムを含む。一部の実施形態では、フィルムがポリマーフィルムである。一部の実施形態では、ポリマーフィルムは、ポリエチレン(PE)フィルム、高密度ポリエチレン(HDPE)フィルム、低密度ポリエチレン(LDPE)フィルム、直鎖状低密度ポリエチレン(LLDPE)フィルム、ポリプロピレン(PP)フィルム、エチレン-ビニルアルコール(EVOH)フィルム、ポリアミド(NylonまたはPA)フィルム、アイオノマーフィルム、エチレンビニルアセテート(EVA)フィルム、グリコシル化ポリエチレンテレフタレート(PETG)、ポリプロピレン(PP)、ポリ塩化ビニル(PVC)、またはこれらの任意の組合せである。一部の実施形態では、ポリマーフィルムは、ポリエチレン(PE)フィルム、高密度ポリエチレン(HDPE)フィルム、低密度ポリエチレン(LDPE)フィルム、直鎖状低密度ポリエチレン(LLDPE)フィルム、配向ポリプロピレン(OPP)フィルム、二軸配向ポリプロピレン(BOPP)フィルム、配向ポリスチレン(OPS)フィルム、エチレン-ビニルアルコール(EVOH)フィルム、ポリアミド(NylonまたはPA)フィルム、アイオノマーフィルム、エチレンビニルアセテート(EVA)フィルム、グリコシル化ポリエチレンテレフタレート(PETG)、ポリプロピレン(PP)、ポリ塩化ビニル(PVC)、またはこれらの任意の組合せである。一部の実施形態では、アイオノマーフィルムが、エチレンアクリル酸コポリマー(EAA)またはエチレン(メタ)アクリル酸コポリマー(EMAA)である。
一部の実施形態では、強磁性材料フィルムの強磁性インク組成物は、フレキソ印刷、グラビア印刷、凹版印刷、パッド印刷、スクリーン印刷、オフセット印刷、またはこれらの任意の組合せに適している。一部の実施形態では、フィルムには、フレキソ印刷、グラビア印刷、凹版印刷、パッド印刷、スクリーン印刷、オフセット印刷、またはこれらの任意の組合せによって、前記強磁性インク組成物が印刷される。一部の実施形態では、強磁性材料フィルムは、アルミニウム缶、使い捨てボトル、ボトルキャップ、使い捨てコーヒーカップ、プラスチックのカトラリー、食器、刃物用具、プラスチックのトレー、プラスチック容器、食品包装容器、またはこれらの任意の組合せの表面に添着されるように構成される。
ある態様では、本開示は、本明細書に記述される基材または強磁性材料フィルムを製造する方法を提供する。
強磁性ラベル
本開示の別の態様は:強磁性インク組成物、フィルム、剥離ワニス、および接着層を含む、強磁性ラベルを提供する。図4Aは、強磁性ラベル10を含む、フィルム200(例えば、ポリエステルフィルム)の実施例を示す。一部の実施形態では、強磁性ラベル10は、図4Aに示されるように、剥離ワニス202、強磁性インク組成物204、および接着層206を含む。別の実施例では、図4Bは、表面に配置された強磁性ラベル10を有するプラスチック物体100を示す。この実施例において、剥離ワニス202、強磁性インク組成物204、および接着層206を含む強磁性ラベル10は、図4Bに示されるように、プラスチック物体100の表面に配置される。一部の実施形態では、3つの異なる層(即ち、剥離ワニス202、強磁性インク組成物204、および接着層206)は、図4Aおよび4Bに示される順序でフィルム200の表面に堆積される。一部の実施形態では、3つの異なる層は、下記の順序:強磁性インク組成物、剥離ワニス、および接着層の順序で、フィルムの表面に堆積される。一部の実施形態では、強磁性ラベルは、剥離ワニスの約1層から剥離ワニスの約10層を含む。一部の実施形態では、強磁性ラベルは、接着層約1層から接着層約10層を含む。
一部の実施形態では、剥離ワニスは、Sungbo Inks製のSB-HTまたはSungjin Inks製のS-125Bである。一部の実施形態では、接着層は、Sungbo Inks製のSB-HT PP-1-AまたはSungjin Inks製のS-1042である。
一部の実施形態では、強磁性インク組成物は、本明細書のその他の箇所に記述される任意の強磁性インク組成物である。一部の実施形態では、強磁性インク組成物は、下にある剥離層と、上にある接着層の接着特性とを、汚染しない。一部の実施形態では、強磁性インク組成物は、下にある剥離層の剥離特性と、上にある接着層の接着特性とに影響を及ぼさない。
一部の実施形態では、強磁性ラベルは、強磁性インク組成物の少なくとも1つの層を含む。一部の実施形態では、強磁性ラベルは、強磁性インク組成物の少なくとも2つの層を含む。一部の実施形態では、強磁性ラベルは、強磁性インク組成物の少なくとも3つの層を含む。一部の実施形態では、強磁性ラベルは、強磁性インク組成物の少なくとも4つの層を含む。一部の実施形態では、強磁性ラベルは、強磁性インク組成物の約5層を含む。一部の実施形態では、強磁性ラベルは、強磁性インク組成物の約6層を含む。一部の実施形態では、強磁性ラベルは、強磁性インク組成物の約7層を含む。一部の実施形態では、強磁性ラベルは、強磁性インク組成物の約8層を含む。一部の実施形態では、強磁性ラベルは、強磁性インク組成物の約10層を含む。
一部の実施形態では、強磁性インク組成物層は、美的魅力をラベルに与える。一部の実施形態では、強磁性インク組成物層は、ラベルが強磁性であることを確実にする。一部の実施形態では、強磁性インク組成物層は、下にある剥離ワニスの剥離特性を損なわない。一部の実施形態では、強磁性インク組成物層は、上にある接着層の接着特性を損なわない。一部の実施形態では、強磁性インク組成物層は、磁場に接触すると強磁性になるという機能的特徴を提供する。
一部の実施形態では、磁化可能なインクまたはコーティングは、ラベル上に印刷した後、可視光ならびに近赤外放射線(NIR)に対して透明または半透明である。可視光は、約400~800nmの波長を持つ光であると特徴付けられ、一方、近赤外(NIR)放射線は、約780~2500nmの波長を有する。
ラベルの例示的な実施形態は、磁気コーティングが非拘束線形収縮に影響を及ぼさない、透明または半透明なシュリンクスリーブラベルである。
ラベルの別の例示的な実施形態は、磁気コーティングが基材との接着に影響を及ぼさない、透明または半透明な感圧ラベルである。
一部の実施形態では、グラビア印刷は、強磁性インク組成物層をフィルム上に印刷することを含む。一部の実施形態では、フィルムがポリエステルフィルムである。強磁性ラベルに使用される、フィルム材料タイプの非限定的な例には、ポリ塩化ビニル、ポリプロピレン、二軸配向ポリプロピレン、低密度ポリエチレン、および高密度ポリエチレンが含まれる。
一部の実施形態では、フィルムは、約15ミクロン(μm)から約25μmの厚さを有する。一部の実施形態では、フィルムは、約10μmから約25μmの厚さを有する。一部の実施形態では、フィルムは、約10μmの厚さを有する。一部の実施形態では、フィルムは、約25μmの厚さを有する。一部の実施形態では、フィルムは、約10μmから約15μm、約10μmから約16μm、約10μmから約17μm、約10μmから約18μm、約10μmから約19μm、約10μmから約20μm、約10μmから約21μm、約10μmから約22μm、約10μmから約23μm、約10μmから約24μm、約10μmから約25μm、約15μmから約16μm、約15μmから約17μm、約15μmから約18μm、約15μmから約19μm、約15μmから約20μm、約15μmから約21μm、約15μmから約22μm、約15μmから約23μm、約15μmから約24μm、約15μmから約25μm、約16μmから約17μm、約16μmから約18μm、約16μmから約19μm、約16μmから約20μm、約16μmから約21μm、約16μmから約22μm、約16μmから約23μm、約16μmから約24μm、約16μmから約25μm、約17μmから約18μm、約17μmから約19μm、約17μmから約20μm、約17μmから約21μm、約17μmから約22μm、約17μmから約23μm、約17μmから約24μm、約17μmから約25μm、約18μmから約19μm、約18μmから約20μm、約18μmから約21μm、約18μmから約22μm、約18μmから約23μm、約18μmから約24μm、約18μmから約25μm、約19μmから約20μm、約19μmから約21μm、約19μmから約22μm、約19μmから約23μm、約19μmから約24μm、約19μmから約25μm、約20μmから約21μm、約20μmから約22μm、約20μmから約23μm、約20μmから約24μm、約20μmから約25μm、約21μmから約22μm、約21μmから約23μm、約21μmから約24μm、約21μmから約25μm、約22μmから約23μm、約22μmから約24μm、約22μmから約25μm、約23μmから約24μm、約23μmから約25μm、または約24μmから約25μmの厚さを有する。一部の実施形態では、フィルムは、約10μm、約15μm、約16μm、約17μm、約18μm、約19μm、約20μm、約21μm、約22μm、約23μm、約24μm、または約25μmの厚さを有する。
一部の実施形態では、剥離ワニスは、強磁性インク組成物層の剥離を容易にする。一部の実施形態では、剥離ワニスの機能は、転写プロセス中に、後続の印刷された層の剥離を助けることである。一部の実施形態では、強磁性ラベルは、熱および/または圧力の印加によって材料に転写される。一部の実施形態では、強磁性ラベルは、プラスチック物体の表面に機械的に添着される。一部の実施形態では、剥離ワニスの機能は、熱および圧力の印加中に、後続の印刷された層の剥離を助けることである。一部の実施形態では、転写プロセスの完了後、剥離ワニスは、下にある層に対する保護層として働く。
一部の実施形態では、接着層は、材料に接着する。一部の実施形態では、材料は、プラスチック物体および/または金属物体である。一部の実施形態では、材料は、上述のプラスチック物体のいずれかである。一部の実施形態では、接着層は、転写プロセス中(即ち、物体の表面への強磁性ラベルの転写中)、熱および圧力の印加後に活性化する。一部の実施形態では、接着層は、物体(例えば、プラスチック物体)の表面との強力な結合を形成する。一部の実施形態では、転写プロセス後(即ち、強磁性ラベルが物体の表面に転写された後)、接着層が、物体の表面と、剥離ワニスが付いた、上にある強磁性インク組成物との間の、固着層として働く。
一部の実施形態では、強磁性インク組成物は、フレキソ印刷、グラビア印刷、凹版印刷、パッド印刷、スクリーン印刷、オフセット印刷、またはこれらの任意の組合せに適している。
一部の実施形態では、強磁性ラベルは、磁石誘導分離プロセスに適切な、十分な磁気強度を有する。一部の実施形態では、磁石誘導分離プロセスは、PET再生施設で生じる。
その他の組成物
本開示の別の態様は、複数の非金属物体と、少なくとも1つの強磁性プラスチック物体とを含む、組成物を提供し;少なくとも1つの強磁性プラスチック物体は、いずれか1つの寸法が約4インチ未満である。
一部の実施形態では、複数の非金属物体は、複数の紙物体である。一部の実施形態では、複数の紙物体は、複数の古紙物体である。古紙物体の非限定的な例には、ボール紙、雑誌、新聞、本、事務用紙、紙葉類、板紙、乳製品用厚紙、ジュース用カートン、混抄紙、および電話帳が含まれる。一部の実施形態では、複数の非金属物体の約90重量%が、複数の紙物体である。一部の実施形態では、強磁性プラスチック物体は、磁場に曝露されると磁化される。一部の実施形態では、強磁性プラスチック物体は、磁場への曝露後に一時的に磁化される。一部の実施形態では、強磁性プラスチック物体は、磁化されたときに複数の非金属物体から分離される。一部の実施形態では、強磁性プラスチック物体は、一時的に磁化されたときに複数の非金属物体から分離される。一部の実施形態では、磁場は、約3000ガウス(G)から約12,000Gに及ぶ磁束密度を有する。一部の実施形態では、磁場は、商用のドラム型分離器、オーバーバンド磁気分離器、磁気ヘッドプーリー、またはこれらの組合せによって生成される。一部の実施形態では、組成物はさらに、少なくとも1つの金属物体を含む。金属物体の非限定的な例には、アルミニウム缶、アルミ箔、耐熱皿、スチール缶、およびブリキ缶が含まれる。一部の実施形態では、組成物はさらに、少なくとも1つのガラス物体を含む。金属物体の非限定的な例には、透明ガラス、フリントガラス、褐色ガラス、琥珀色ハラス、緑色ガラス、およびエメラルドガラスが含まれる。一部の実施形態では、強磁性プラスチック物体は、その表面に配置された強磁性インク組成物を有する(例えば、上述のように)。
磁化可能なプラスチック物体
本開示の別の態様は、プラスチック物体の表面に堆積されたフィルムまたはインクの形で、その表面に配置された強磁性材料を有するプラスチック物体を提供する。
一部の実施形態では、プラスチック物体は、重量が約20グラム(g)未満である。一部の実施形態では、プラスチック物体は、約0.5gから約20gの重さである。一部の実施形態では、プラスチック物体は、約0.5gの重さである。一部の実施形態では、プラスチック物体は、約20gの重さである。一部の実施形態では、プラスチック物体は、約0.5gから約1g、約0.5gから約2g、約0.5gから約3g、約0.5gから約4g、約0.5gから約5g、約0.5gから約6g、約0.5gから約7g、約0.5gから約8g、約0.5gから約9g、約0.5gから約10g、約0.5gから約20g、約1gから約2g、約1gから約3g、約1gから約4g、約1gから約5g、約1gから約6g、約1gから約7g、約1gから約8g、約1gから約9g、約1gから約10g、約1gから約20g、約2gから約3g、約2gから約4g、約2gから約5g、約2gから約6g、約2gから約7g、約2gから約8g、約2gから約9g、約2gから約10g、約2gから約20g、約3gから約4g、約3gから約5g、約3gから約6g、約3gから約7g、約3gから約8g、約3gから約9g、約3gから約10g、約3gから約20g、約4gから約5g、約4gから約6g、約4gから約7g、約4gから約8g、約4gから約9g、約4gから約10g、約4gから約20g、約5gから約6g、約5gから約7g、約5gから約8g、約5gから約9g、約5gから約10g、約5gから約20g、約6gから約7g、約6gから約8g、約6gから約9g、約6gから約10g、約6gから約20g、約7gから約8g、約7gから約9g、約7gから約10g、約7gから約20g、約8gから約9g、約8gから約10g、約8gから約20g、約9gから約10g、約9gから約20g、または約10gから約20gの重さである。一部の実施形態では、プラスチック物体は、約0.5g、約1g、約2g、約3g、約4g、約5g、約6g、約7g、約8g、約9g、約10g、または約20gの重さである。
一部の実施形態では、フィルムまたはインクは、食品接触物質である。一部の実施形態では、フィルムまたはインクの全要素は、連邦規則集第21巻(第175~178条参照)に列挙されるような、FDAで認可された食品添加物である。一部の実施形態では、フィルムまたはインクの全要素は、連邦規則集第21巻(第182、184、186条参照)で、食品医薬品局(FDA)により列挙されるような、一般に安全と見なされている(GRAS)物質のリストから選択される。
一部の実施形態では、強磁性材料は、プラスチック物体の表面上に直接印刷される。一部の実施形態では、強磁性材料は、強磁性材料の透磁率を増大させるため、磁場の存在下でプラスチック物体の表面に直接堆積される。一部の実施形態では、インクでインプリントされるまたはインクを含有する事前印刷されたラベルが添着される、プラスチック物体の設計により、磁場の印加の下で混合廃棄流から所望の物体を分離することが可能になる。一部の実施形態では、磁気勾配が約2テスラ/メートルの、強度が約3000から約7000ガウス(G)の磁場に曝露されたとき、上述のプラスチック物体は、それ自体重量に匹敵する力を経験することができる。一部の実施形態では、本開示に記述されるプラスチック物体は、商用のドラム型、オーバーバンド磁気分離器、または磁気ヘッドプーリーの磁場によって引き付けることが可能である。
一部の実施形態では、本開示は、強磁性コーティングがインプリントされたプラスチック物体上で、新規な幾何学的表面設計の使用を用いる方法を提供する。一部の実施形態では、これらの設計は、最終的なプラスチック物体100またはプラスチックフィルムラベル104上に直接置くことができ、その後、プラスチック物体上に添着されることになる。一部の実施形態では、プラスチック物体またはフィルムラベルの表面は、物体の寸法を著しく変化させることなく、プラスチック物体上の印刷可能な表面積が増大するような手法で設計される。そのような設計の実施形態は、図2Bに見出すことができ、マイクロウェルがプラスチック物体100上に設計され、その後、印刷可能な強磁性インク102でコーティングされる。そのような設計の別の実施形態は、図2Cに見出すことができ、鋸歯形状がプラスチック物体100上に設計されており、その後、印刷可能なインク102でコーティングされる。一部の実施形態では、そのような設計は、強磁性インク102で事前に印刷された除去可能なラベル104上に適用することができる。
一部の実施形態では、マイクロウェルは、約0.25mmの直径および深さ約0.25mmの深さを有する。一部の実施形態では、2つのマイクロウェルの間の距離が、約0.5mmである。
一部の実施形態では、マイクロウェルは、約0.25mmから約1mmの直径を有する。一部の実施形態では、マイクロウェルは、約0.25mmの直径を有する。一部の実施形態では、マイクロウェルは、約1mmの直径を有する。一部の実施形態では、マイクロウェルは、約0.25mmから約0.3mm、約0.25mmから約0.4mm、約0.25mmから約0.5mm、約0.25mmから約0.6mm、約0.25mmから約0.7mm、約0.25mmから約0.8mm、約0.25mmから約0.9mm、約0.25mmから約1mm、約0.3mmから約0.4mm、約0.3mmから約0.5mm、約0.3mmから約0.6mm、約0.3mmから約0.7mm、約0.3mmから約0.8mm、約0.3mmから約0.9mm、約0.3mmから約1mm、約0.4mmから約0.5mm、約0.4mmから約0.6mm、約0.4mmから約0.7mm、約0.4mmから約0.8mm、約0.4mmから約0.9mm、約0.4mmから約1mm、約0.5mmから約0.6mm、約0.5mmから約0.7mm、約0.5mmから約0.8mm、約0.5mmから約0.9mm、約0.5mmから約1mm、約0.6mmから約0.7mm、約0.6mmから約0.8mm、約0.6mmから約0.9mm、約0.6mmから約1mm、約0.7mmから約0.8mm、約0.7mmから約0.9mm、約0.7mmから約1mm、約0.8mmから約0.9mm、約0.8mmから約1mm、または約0.9mmから約1mmの直径を有する。一部の実施形態では、マイクロウェルは、約0.25mm、約0.3mm、約0.4mm、約0.5mm、約0.6mm、約0.7mm、約0.8mm、約0.9mm、または約1mmの直径を有する。
一部の実施形態では、マイクロウェルは、約0.1mmから約1mmの深さを有する。一部の実施形態では、マイクロウェルは、約0.1mmの深さを有する。一部の実施形態では、マイクロウェルは、約1mmの深さを有する。一部の実施形態では、マイクロウェルは、約0.1mmから約0.25mm、約0.1mmから約0.3mm、約0.1mmから約0.4mm、約0.1mmから約0.5mm、約0.1mmから約0.6mm、約0.1mmから約0.7mm、約0.1mmから約0.8mm、約0.1mmから約0.9mm、約0.1mmから約1mm、約0.25mmから約0.3mm、約0.25mmから約0.4mm、約0.25mmから約0.5mm、約0.25mmから約0.6mm、約0.25mmから約0.7mm、約0.25mmから約0.8mm、約0.25mmから約0.9mm、約0.25mmから約1mm、約0.3mmから約0.4mm、約0.3mmから約0.5mm、約0.3mmから約0.6mm、約0.3mmから約0.7mm、約0.3mmから約0.8mm、約0.3mmから約0.9mm、約0.3mmから約1mm、約0.4mmから約0.5mm、約0.4mmから約0.6mm、約0.4mmから約0.7mm、約0.4mmから約0.8mm、約0.4mmから約0.9mm、約0.4mmから約1mm、約0.5mmから約0.6mm、約0.5mmから約0.7mm、約0.5mmから約0.8mm、約0.5mmから約0.9mm、約0.5mmから約1mm、約0.6mmから約0.7mm、約0.6mmから約0.8mm、約0.6mmから約0.9mm、約0.6mmから約1mm、約0.7mmから約0.8mm、約0.7mmから約0.9mm、約0.7mmから約1mm、約0.8mmから約0.9mm、約0.8mmから約1mm、または約0.9mmから約1mmの深さを有する。一部の実施形態では、マイクロウェルは、約0.1mm、約0.25mm、約0.3mm、約0.4mm、約0.5mm、約0.6mm、約0.7mm、約0.8mm、約0.9mm、または約1mmの深さを有する。
一部の実施形態では、2つのマイクロウェルの間の距離は、約0.1mmから約1mmである。一部の実施形態では、2つのマイクロウェルの間の距離は、約0.1mmである。一部の実施形態では、2つのマイクロウェルの間の距離は、約1mmである。一部の実施形態では、2つのマイクロウェルの間の距離は、約0.1mmから約0.25mm、約0.1mmから約0.3mm、約0.1mmから約0.4mm、約0.1mmから約0.5mm、約0.1mmから約0.6mm、約0.1mmから約0.7mm、約0.1mmから約0.8mm、約0.1mmから約0.9mm、約0.1mmから約1mm、約0.25mmから約0.3mm、約0.25mmから約0.4mm、約0.25mmから約0.5mm、約0.25mmから約0.6mm、約0.25mmから約0.7mm、約0.25mmから約0.8mm、約0.25mmから約0.9mm、約0.25mmから約1mm、約0.3mmから約0.4mm、約0.3mmから約0.5mm、約0.3mmから約0.6mm、約0.3mmから約0.7mm、約0.3mmから約0.8mm、約0.3mmから約0.9mm、約0.3mmから約1mm、約0.4mmから約0.5mm、約0.4mmから約0.6mm、約0.4mmから約0.7mm、約0.4mmから約0.8mm、約0.4mmから約0.9mm、約0.4mmから約1mm、約0.5mmから約0.6mm、約0.5mmから約0.7mm、約0.5mmから約0.8mm、約0.5mmから約0.9mm、約0.5mmから約1mm、約0.6mmから約0.7mm、約0.6mmから約0.8mm、約0.6mmから約0.9mm、約0.6mmから約1mm、約0.7mmから約0.8mm、約0.7mmから約0.9mm、約0.7mmから約1mm、約0.8mmから約0.9mm、約0.8mmから約1mm、または約0.9mmから約1mmである。一部の実施形態では、2つのマイクロウェルの間の距離は、約0.1mm、約0.25mm、約0.3mm、約0.4mm、約0.5mm、約0.6mm、約0.7mm、約0.8mm、約0.9mm、または約1mmである。
一部の実施形態では、鋸歯の設計における「歯」の垂直高さは、約0.25mmである。一部の実施形態では、鋸歯の切断面の角度は、約45°である。
一部の実施形態では、鋸歯の設計における「歯」の垂直高さは、約0.1mmから約1mmである。一部の実施形態では、鋸歯の設計における「歯」の垂直高さは、約0.1mmである。一部の実施形態では、鋸歯の設計における「歯」の垂直高さは、約1mmである。一部の実施形態では、鋸歯の設計における「歯」の垂直高さは、約0.1mmから約0.25mm、約0.1mmから約0.3mm、約0.1mmから約0.4mm、約0.1mmから約0.5mm、約0.1mmから約0.6mm、約0.1mmから約0.7mm、約0.1mmから約0.8mm、約0.1mmから約0.9mm、約0.1mmから約1mm、約0.25mmから約0.3mm、約0.25mmから約0.4mm、約0.25mmから約0.5mm、約0.25mmから約0.6mm、約0.25mmから約0.7mm、約0.25mmから約0.8mm、約0.25mmから約0.9mm、約0.25mmから約1mm、約0.3mmから約0.4mm、約0.3mmから約0.5mm、約0.3mmから約0.6mm、約0.3mmから約0.7mm、約0.3mmから約0.8mm、約0.3mmから約0.9mm、約0.3mmから約1mm、約0.4mmから約0.5mm、約0.4mmから約0.6mm、約0.4mmから約0.7mm、約0.4mmから約0.8mm、約0.4mmから約0.9mm、約0.4mmから約1mm、約0.5mmから約0.6mm、約0.5mmから約0.7mm、約0.5mmから約0.8mm、約0.5mmから約0.9mm、約0.5mmから約1mm、約0.6mmから約0.7mm、約0.6mmから約0.8mm、約0.6mmから約0.9mm、約0.6mmから約1mm、約0.7mmから約0.8mm、約0.7mmから約0.9mm、約0.7mmから約1mm、約0.8mmから約0.9mm、約0.8mmから約1mm、または約0.9mmから約1mmである。一部の実施形態では、鋸歯の設計における「歯」の垂直高さは、約0.1mm、約0.25mm、約0.3mm、約0.4mm、約0.5mm、約0.6mm、約0.7mm、約0.8mm、約0.9mm、または約1mmである。
一部の実施形態では、鋸歯の切断面の角度は、約5度から約90度である。一部の実施形態では、鋸歯の切断面の角度は、約5度である。一部の実施形態では、鋸歯の切断面の角度は、約90度である。一部の実施形態では、鋸歯の切断面の角度は、約5度から約10度、約5度から約15度、約5度から約20度、約5度から約25度、約5度から約30度、約5度から約40度、約5度から約45度、約5度から約50度、約5度から約60度、約5度から約70度、約5度から約90度、約10度から約15度、約10度から約20度、約10度から約25度、約10度から約30度、約10度から約40度、約10度から約45度、約10度から約50度、約10度から約60度、約10度から約70度、約10度から約90度、約15度から約20度、約15度から約25度、約15度から約30度、約15度から約40度、約15度から約45度、約15度から約50度、約15度から約60度、約15度から約70度、約15度から約90度、約20度から約25度、約20度から約30度、約20度から約40度、約20度から約45度、約20度から約50度、約20度から約60度、約20度から約70度、約20度から約90度、約25度から約30度、約25度から約40度、約25度から約45度、約25度から約50度、約25度から約60度、約25度から約70度、約25度から約90度、約30度から約40度、約30度から約45度、約30度から約50度、約30度から約60度、約30度から約70度、約30度から約90度、約40度から約45度、約40度から約50度、約40度から約60度、約40度から約70度、約40度から約90度、約45度から約50度、約45度から約60度、約45度から約70度、約45度から約90度、約50度から約60度、約50度から約70度、約50度から約90度、約60度から約70度、約60度から約90度、または約70度から約90度である。一部の実施形態では、鋸歯の切断面の角度は、約5度、約10度、約15度、約20度、約25度、約30度、約40度、約45度、約50度、約60度、約70度、または約90度である。
一部の実施形態では、強磁性材料は、フィルム上に印刷される。一部の実施形態では、強磁性材料は、強磁性材料の透磁率が増大するように、磁場の存在下でフィルム上に直接堆積される。一部の実施形態では、フィルムは、熱および/または圧力の印加後にプラスチック物体の表面に接着する。一部の実施形態では、フィルムは、プラスチック物体の表面に機械的に添着される。
一部の実施形態では、強磁性材料の重量は、プラスチック物体の全重量の約0.05%から2%に及ぶ。一部の実施形態では、図2A~Dに示されるプラスチック物体100の表面の強磁性材料10の全重量は、最終的に設計されたプラスチック物体の全重量の0.05%~2%の範囲にあることが意図される。一部の実施形態では、強磁性材料は、プラスチック物体の全重量の約0.05%から約2%である。一部の実施形態では、強磁性材料は、プラスチック物体の全重量の約0.05%である。一部の実施形態では、強磁性材料は、プラスチック物体の全重量の約2%である。一部の実施形態では、強磁性材料は、プラスチック物体の全重量の約0.05%から約0.06%、約0.05%から約0.07%、約0.05%から約0.08%、約0.05%から約0.09%、約0.05%から約0.1%、約0.05%から約0.5%、約0.05%から約1%、約0.05%から約1.5%、約0.05%から約2%、約0.06%から約0.07%、約0.06%から約0.08%、約0.06%から約0.09%、約0.06%から約0.1%、約0.06%から約0.5%、約0.06%から約1%、約0.06%から約1.5%、約0.06%から約2%、約0.07%から約0.08%、約0.07%から約0.09%、約0.07%から約0.1%、約0.07%から約0.5%、約0.07%から約1%、約0.07%から約1.5%、約0.07%から約2%、約0.08%から約0.09%、約0.08%から約0.1%、約0.08%から約0.5%、約0.08%から約1%、約0.08%から約1.5%、約0.08%から約2%、約0.09%から約0.1%、約0.09%から約0.5%、約0.09%から約1%、約0.09%から約1.5%、約0.09%から約2%、約0.1%から約0.5%、約0.1%から約1%、約0.1%から約1.5%、約0.1%から約2%、約0.5%から約1%、約0.5%から約1.5%、約0.5%から約2%、約1%から約1.5%、約1%から約2%、または約1.5%から約2%である。一部の実施形態では、強磁性材料は、プラスチック物体の全重量の約0.05%、約0.06%、約0.07%、約0.08%、約0.09%、約0.1%、約0.5%、約1%、約1.5%、または約2%である。
一部の実施形態では、強磁性材料10の重量は、好ましくは、最終的に設計されたプラスチック物体の全重量の0.3%~0.8%の範囲にある。一部の実施形態では、強磁性材料は、プラスチック物体の全重量の約0.3%から約0.8%である。一部の実施形態では、強磁性材料は、プラスチック物体の全重量の約0.3%である。一部の実施形態では、強磁性材料は、プラスチック物体の全重量の約0.8%である。一部の実施形態では、強磁性材料は、プラスチック物体の全重量の約0.3%から約0.4%、約0.3%から約0.5%、約0.3%から約0.6%、約0.3%から約0.7%、約0.3%から約0.8%、約0.4%から約0.5%、約0.4%から約0.6%、約0.4%から約0.7%、約0.4%から約0.8%、約0.5%から約0.6%、約0.5%から約0.7%、約0.5%から約0.8%、約0.6%から約0.7%、約0.6%から約0.8%、または約0.7%から約0.8%である。一部の実施形態では、強磁性材料は、プラスチック物体の全重量の約0.3%、約0.4%、約0.5%、約0.6%、約0.7%、または約0.8%である。
一部の実施形態では、プラスチック物体は、いずれか1つの寸法が約4インチ未満である。一部の実施形態では、プラスチック物体は、約0.5cmから約15cmの長さを有する。一部の実施形態では、プラスチック物体は、約0.5cmの長さを有する。一部の実施形態では、プラスチック物体は、約15cmの長さを有する。一部の実施形態では、プラスチック物体は、約0.5cmから約1cm、約0.5cmから約2cm、約0.5cmから約3cm、約0.5cmから約4cm、約0.5cmから約5cm、約0.5cmから約6cm、約0.5cmから約7cm、約0.5cmから約8cm、約0.5cmから約9cm、約0.5cmから約10cm、約0.5cmから約15cm、約1cmから約2cm、約1cmから約3cm、約1cmから約4cm、約1cmから約5cm、約1cmから約6cm、約1cmから約7cm、約1cmから約8cm、約1cmから約9cm、約1cmから約10cm、約1cmから約15cm、約2cmから約3cm、約2cmから約4cm、約2cmから約5cm、約2cmから約6cm、約2cmから約7cm、約2cmから約8cm、約2cmから約9cm、約2cmから約10cm、約2cmから約15cm、約3cmから約4cm、約3cmから約5cm、約3cmから約6cm、約3cmから約7cm、約3cmから約8cm、約3cmから約9cm、約3cmから約10cm、約3cmから約15cm、約4cmから約5cm、約4cmから約6cm、約4cmから約7cm、約4cmから約8cm、約4cmから約9cm、約4cmから約10cm、約4cmから約15cm、約5cmから約6cm、約5cmから約7cm、約5cmから約8cm、約5cmから約9cm、約5cmから約10cm、約5cmから約15cm、約6cmから約7cm、約6cmから約8cm、約6cmから約9cm、約6cmから約10cm、約6cmから約15cm、約7cmから約8cm、約7cmから約9cm、約7cmから約10cm、約7cmから約15cm、約8cmから約9cm、約8cmから約10cm、約8cmから約15cm、約9cmから約10cm、約9cmから約15cm、または約10cmから約15cmの長さを有する。一部の実施形態では、プラスチック物体は、約0.5cm、約1cm、約2cm、約3cm、約4cm、約5cm、約6cm、約7cm、約8cm、約9cm、約10cm、または約15cmの長さを有する。
一部の実施形態では、プラスチック物体は、約0.5cmから約15cmの幅を有する。一部の実施形態では、プラスチック物体は、約0.5cmの幅を有する。一部の実施形態では、プラスチック物体は、約15cmの幅を有する。一部の実施形態では、プラスチック物体は、約0.5cmから約1cm、約0.5cmから約2cm、約0.5cmから約3cm、約0.5cmから約4cm、約0.5cmから約5cm、約0.5cmから約6cm、約0.5cmから約7cm、約0.5cmから約8cm、約0.5cmから約9cm、約0.5cmから約10cm、約0.5cmから約15cm、約1cmから約2cm、約1cmから約3cm、約1cmから約4cm、約1cmから約5cm、約1cmから約6cm、約1cmから約7cm、約1cmから約8cm、約1cmから約9cm、約1cmから約10cm、約1cmから約15cm、約2cmから約3cm、約2cmから約4cm、約2cmから約5cm、約2cmから約6cm、約2cmから約7cm、約2cmから約8cm、約2cmから約9cm、約2cmから約10cm、約2cmから約15cm、約3cmから約4cm、約3cmから約5cm、約3cmから約6cm、約3cmから約7cm、約3cmから約8cm、約3cmから約9cm、約3cmから約10cm、約3cmから約15cm、約4cmから約5cm、約4cmから約6cm、約4cmから約7cm、約4cmから約8cm、約4cmから約9cm、約4cmから約10cm、約4cmから約15cm、約5cmから約6cm、約5cmから約7cm、約5cmから約8cm、約5cmから約9cm、約5cmから約10cm、約5cmから約15cm、約6cmから約7cm、約6cmから約8cm、約6cmから約9cm、約6cmから約10cm、約6cmから約15cm、約7cmから約8cm、約7cmから約9cm、約7cmから約10cm、約7cmから約15cm、約8cmから約9cm、約8cmから約10cm、約8cmから約15cm、約9cmから約10cm、約9cmから約15cm、または約10cmから約15cmの幅を有する。一部の実施形態では、プラスチック物体は、約0.5cm、約1cm、約2cm、約3cm、約4cm、約5cm、約6cm、約7cm、約8cm、約9cm、約10cm、または約15cmの幅を有する。
一部の実施形態では、プラスチック物体は、約0.5cmから約15cmの高さを有する。一部の実施形態では、プラスチック物体は、約0.5cmの高さを有する。一部の実施形態では、プラスチック物体は、約15cmの高さを有する。一部の実施形態では、プラスチック物体は、約0.5cmから約1cm、約0.5cmから約2cm、約0.5cmから約3cm、約0.5cmから約4cm、約0.5cmから約5cm、約0.5cmから約6cm、約0.5cmから約7cm、約0.5cmから約8cm、約0.5cmから約9cm、約0.5cmから約10cm、約0.5cmから約15cm、約1cmから約2cm、約1cmから約3cm、約1cmから約4cm、約1cmから約5cm、約1cmから約6cm、約1cmから約7cm、約1cmから約8cm、約1cmから約9cm、約1cmから約10cm、約1cmから約15cm、約2cmから約3cm、約2cmから約4cm、約2cmから約5cm、約2cmから約6cm、約2cmから約7cm、約2cmから約8cm、約2cmから約9cm、約2cmから約10cm、約2cmから約15cm、約3cmから約4cm、約3cmから約5cm、約3cmから約6cm、約3cmから約7cm、約3cmから約8cm、約3cmから約9cm、約3cmから約10cm、約3cmから約15cm、約4cmから約5cm、約4cmから約6cm、約4cmから約7cm、約4cmから約8cm、約4cmから約9cm、約4cmから約10cm、約4cmから約15cm、約5cmから約6cm、約5cmから約7cm、約5cmから約8cm、約5cmから約9cm、約5cmから約10cm、約5cmから約15cm、約6cmから約7cm、約6cmから約8cm、約6cmから約9cm、約6cmから約10cm、約6cmから約15cm、約7cmから約8cm、約7cmから約9cm、約7cmから約10cm、約7cmから約15cm、約8cmから約9cm、約8cmから約10cm、約8cmから約15cm、約9cmから約10cm、約9cmから約15cm、または約10cmから約15cmの高さを有する。一部の実施形態では、プラスチック物体は、約0.5cm、約1cm、約2cm、約3cm、約4cm、約5cm、約6cm、約7cm、約8cm、約9cm、約10cm、または約15cmの高さを有する。
一部の実施形態では、強磁性材料は、強磁性インク組成物を含む。一部の実施形態では、強磁性インク組成物は、少なくとも1つの層に堆積される。一部の実施形態では、強磁性材料10を含有する一般的なプラスチック物体100は、図2A~Dに示されるように、強磁性インク102のコーティングを含む。一部の実施形態では、図2A~2Dの100で示されるように、任意のプラスチック物体の表面にインプリントされた強磁性インク102のコーティングは、軟質の強磁性粒子を含む。一部の実施形態では、軟質の強磁性粒子は、メートル当たり1000アンペア(A/m)よりも低いまたはこれに等しい保磁力を有する。軟質の強磁性粒子は、典型的には、透磁率の高い値(例えば、約10から約10に及ぶ初期透磁率μ、ならびに約10から約10に及ぶ最大透磁率μmax)、低保磁力(Hと示され、約0.8から約8A/mに及び、または約0.01から約0.1エルステッドに及ぶ)、および再磁化サイクル当たりの低い磁気ヒステリシス損失(立方メートル(m)当たり約1から約10ジュールに及び、または立方センチメートル(cm)当たり約10~10エルグに及ぶ)によって特徴付けられる。一部の実施形態では、キュリー点よりも低い温度で、そのような軟質の強磁性材料は自発的に磁化されるが、磁気特性を外部から顕在化させない。
一部の実施形態では、本開示に記述される基材は、プラスチック物体とすることができる。一部の実施形態では、本開示に記述されるプラスチック物体は、様々な形状因子にあるとすることができる。物体の例には、限定するものではないが使い捨てボトル、ボトルキャップ、使い捨てコーヒーカップ、プラスチックのカトラリー、プラスチックのトレー、クラムシェル、汎用食品サービスパッケージであってサンドイッチバッグを含めたもの、買い物袋、およびシュリンクスリーブが含まれる。図1に示されるように、プラスチック物体は、キャップ22が付いたプラスチックボトル20、蓋24が付いたプラスチックカップ26、プラスチックサッシェ28、プラスチックストロー30、またはプラスチックスプーン32の形をとることができる。一部の実施形態では、これらの物体(即ち、20、22、24、26、28、30、および32)のそれぞれは、強磁性材料10を含有する。一部の実施形態では、強磁性材料10は、インクがインプリントされた、または強磁性インクを含有する事前印刷されたラベルが添着された、領域であり、磁場の印加で所望の物体の分離が可能になる。本開示の好ましい実施形態は、その重量が20グラム未満である使い捨て可能なプラスチック物体、または任意の1つの寸法が4インチ以下の大きさである使い捨て可能なプラスチック物体である。
一部の実施形態では、プラスチック物体は、使い捨てボトル、ボトルキャップ、使い捨てコーヒーカップ、プラスチックのカトラリー、食器、刃物用具、プラスチックのトレー、プラスチック容器、食品包装容器、シュリンクスリーブ、またはこれらの任意の組合せである。一部の実施形態では、食品包装容器は、デリ容器、平蓋ヒンジ付き容器、クラムシェル容器、ミニカップケーキ容器、カップケーキおよび/またはマフィン容器、あるいはドーム蓋ヒンジ付き容器である。一部の実施形態では、プラスチック物体は、正方形のレセプタクル、丸いレセプタクル、長方形のレセプタクル、円筒状のレセプタクル、または八角形のレセプタクルである。一部の実施形態では、プラスチック物体は、レセプタクルの蓋である。一部の実施形態では、プラスチック物体がストローである。一部の実施形態では、食器がプラスチックの箸である。一部の実施形態では、食器は、プラスチックの撹拌棒である。一部の実施形態では、プラスチックのカトラリーは、プラスチックのスプーン、プラスチックのフォーク、プラスチックのナイフ、プラスチックのスポーク(即ち、スプーンとフォークとの組合せ)、プラスチックのスパイフ(即ち、スプーンとナイフとの組合せ)、プラスチックのノーク(即ち、ナイフとフォークとの組合せ)、プラスチックのスポーフ(即ち、スプーン、ナイフ、およびフォークの組合せ)、またはこれらの任意の組合せである。一部の実施形態では、プラスチックの物体は、プラスチックの蓋である。一部の実施形態では、プラスチックの物体は、プラスチックのコーヒーカップの蓋である。一部の実施形態では、プラスチックの物体は、プラスチックのサッシェである。一部の実施形態では、プラスチックの物体は、プラスチックのカップである。一部の実施形態では、プラスチックの物体は、プラスチックのカップホルダーである。一部の実施形態では、非金属物体は、食品包装に使用される単一フィルムを形成するように組み合わされた、約3から12層のポリマーフィルムからなる多層または共押出しフィルムである。個々のポリマー層は、ポリエチレン(PE)層、ポリプロピレン(PP)層、エチレン-ビニルアルコール(EVOH)層、ポリアミド(Nylon、PA)層、アイオノマー(EAA、EMAA)層、エチレンビニルアセテート(EVA)層、またはこれらの任意の組合せとすることができる。
一部の実施形態では、基材は、プラスチック容器に添着されるラベルである。ラベルが表面に添着されるプラスチック容器は、様々な形状因子にあるとすることができる。容器の例には、限定するものではないが使い捨てボトル、使い捨てコーヒーカップ、クラムシェル、汎用食品サービスパッケージであってサンドイッチバッグを含むもの、買い物袋が含まれる。図7に示されるように、基材は、キャップ22が付いたプラスチックボトル20、蓋24が付いたプラスチックカップ26、またはプラスチックサッシェ28の形をとることができる。キャップ22が付いたプラスチックボトル20、蓋24が付いたプラスチックカップ26、またはプラスチックサッシェ28は、それぞれ、ラベル10を含んでいてもよい。一部の実施形態では、ラベル10は、磁場の印加により所望の物体の磁気誘導分離が可能になる強磁性インク組成物が印刷された領域である。一部の実施形態では、基材は、約20グラム未満の質量を有する使い捨て可能なPETボトルである。
ラベルは、プラスチック容器上で使用される、シュリンクスリーブラベル、感圧ラベル、ロール紙ラベル、ラップラベル、伸縮ラベル、切断積層ラベル、収縮括束フィルムの1種、またはこれらの任意の組合せとすることができる。例えば、基材は、シュリンクスリーブラベルがPET使い捨てボトルの表面に配置される、強磁性材料を含むシュリンクスリーブラベルとすることができる。一部の実施形態では、シュリンクスリーブラベルは、基材の形状に順応する。PET使い捨てボトルは、リサイクル施設で選別し、回収施設に移送することができ、シュリンクスリーブラベルを含むボトルは薄片に粉砕される。このように、複数の薄片は、複数のシュリンクスリーブラベル薄片と混合された複数のPET薄片を含むことができる。シュリンクスリーブラベル上の磁気コーティングは、磁場の印加の下、PETボトルの粉砕薄片からラベルの粉砕されたシュリンクスリーブラベル薄片を分離するのを可能にすることができる。少なくとも2テスラ/メートルの磁気勾配を持つ、強度が少なくとも約1000ガウス(G)の磁場に曝露された場合、上述のラベル薄片は、それら自体の重量を超える力を経験することができる。本開示に記述されるシュリンクスリーブラベル薄片は、商用のドラム型、オーバーバンド磁気分離器、磁気ヘッドプーリー、またはこれらの任意の組合せの磁場によって引き付けられることを可能にできることが意図される。
一部の実施形態では、プラスチック物体100は、単一または多数のプラスチック樹脂を含むことができる。プラスチック樹脂のタイプは、限定するものではないが低または高密度ポリエチレン(LDPE、HDPE)、二軸配向ポリエチレン(BOPP)、ポリエチレンテレフタレート(PET)、ポリプロピレン(PP)、およびポリ乳酸(PLA)などのコンポスト可能なプラスチックを含むことができる。一部の実施形態では、プラスチック物体は、低密度ポリエチレン(LDPE)物体である。一部の実施形態では、プラスチック物体は、高密度ポリエチレン(HDPE)物体である。一部の実施形態では、プラスチック物体は、二軸配向ポリプロピレン(BOPP)物体である。一部の実施形態では、プラスチック物体は、ポリエチレンテレフタレート(PET)物体である。一部の実施形態では、プラスチック物体は、ポリプロピレン(PP)物体である。一部の実施形態では、プラスチック物体は、生分解性プラスチック物体である。一部の実施形態では、プラスチック物体は、コンポスト可能なプラスチック物体である。一部の実施形態では、コンポスト可能なプラスチック物体は、ポリ乳酸(PLA)物体である。一部の実施形態では、生分解性プラスチック物体は、ポリヒドロキシアルカノエート(PHA)物体、ポリコハク酸ブチレン(PBS)物体、ポリカプロラクトン(PCL)物体、ポリ無水物物体、ポリビニルアルコール(PVA)物体、セルロースエステル物体、またはこれらの任意の組合せである。
方法
本開示の別の態様は、強磁性基材を製作する方法であって:a)強磁性インク組成物をフィルムの表面に印刷すること;およびb)フィルムを非強磁性基材の表面に転写して、強磁性基材を生成することを含み、強磁性インク組成物が食品接触物質である、方法を提供する。
一部の実施形態では、方法は、フレキソ印刷、グラビア印刷、凹版印刷、パッド印刷、スクリーン印刷、オフセット印刷、またはこれらの任意の組合せを含む。一部の実施形態では、強磁性基材は、使い捨てボトル、ボトルキャップ、使い捨てコーヒーカップ、プラスチックのカトラリー、食器、刃物用具、プラスチックのトレー、プラスチック容器、食品包装容器、またはこれらの任意の組合せである。一部の実施形態では、基材がアルミニウム缶である。一部の実施形態では、フィルムがラベルである。一部の実施形態では、フィルムがシュリンクスリーブラベル、感圧ラベル、ロール紙ラベル、ラップラベル、伸縮ラベル、切断積層ラベル、収縮括束フィルム、またはこれらの任意の組合せである。一部の実施形態では、フィルムを非強磁性基材の表面に転写するステップは、磁化可能なコーティングまたは磁化可能なマーカーを生成する。
本開示の別の態様は、表面に堆積された強磁性材料を含む少なくとも1種の非金属物体と、強磁性または磁性成分を含まない少なくとも1種の物体とを含む、物体の混合流を提供することを含む、物体の混合流を選別する方法を提供する。一部の実施形態では、物体の混合流は、混合廃棄流である。一部の実施形態では、非金属物体は、プラスチック物体である。一部の実施形態では、非金属物体は、上述の任意のプラスチック物体である。例えば、一部の実施形態では、プラスチック物体は、使い捨てボトル、ボトルキャップ、使い捨てコーヒーカップ、プラスチックのカトラリー、食器、刃物用具、プラスチックのトレー、プラスチック容器、食品包装容器、シュリンクスリーブ、またはこれらの任意の組合せである。一部の実施形態では、非金属物体は、重量が約20グラム未満である。他の実施例では、物体の混合流を選別する方法が図5に示される。図5は、物体の混合流、即ち、強磁性ラベルを含む28ミリメートル(mm)の「Alaska」ボトルキャップを、強磁性ラベルを含まない28ミリメートル(mm)の「Alaska」ボトルキャップと混合したものを示す。この実施例では、強磁性ラベルを含むボトルキャップを、商用の磁気分離器を使用して物体の混合流から分離した。
一部の実施形態では、非金属物体は、約1グラムから約20グラムに及ぶ重量を有する。一部の実施形態では、非金属物体は、約1グラムからの範囲の重量を有する。一部の実施形態では、非金属物体は、約20グラムからの範囲の重量を有する。一部の実施形態では、非金属物体は、約1グラムから約2グラム、約1グラムから約3グラム、約1グラムから約4グラム、約1グラムから約5グラム、約1グラムから約6グラム、約1グラムから約7グラム、約1グラムから約8グラム、約1グラムから約9グラム、約1グラムから約10グラム、約1グラムから約15グラム、約1グラムから約20グラム、約2グラムから約3グラム、約2グラムから約4グラム、約2グラムから約5グラム、約2グラムから約6グラム、約2グラムから約7グラム、約2グラムから約8グラム、約2グラムから約9グラム、約2グラムから約10グラム、約2グラムから約15グラム、約2グラムから約20グラム、約3グラムから約4グラム、約3グラムから約5グラム、約3グラムから約6グラム、約3グラムから約7グラム、約3グラムから約8グラム、約3グラムから約9グラム、約3グラムから約10グラム、約3グラムから約15グラム、約3グラムから約20グラム、約4グラムから約5グラム、約4グラムから約6グラム、約4グラムから約7グラム、約4グラムから約8グラム、約4グラムから約9グラム、約4グラムから約10グラム、約4グラムから約15グラム、約4グラムから約20グラム、約5グラムから約6グラム、約5グラムから約7グラム、約5グラムから約8グラム、約5グラムから約9グラム、約5グラムから約10グラム、約5グラムから約15グラム、約5グラムから約20グラム、約6グラムから約7グラム、約6グラムから約8グラム、約6グラムから約9グラム、約6グラムから約10グラム、約6グラムから約15グラム、約6グラムから約20グラム、約7グラムから約8グラム、約7グラムから約9グラム、約7グラムから約10グラム、約7グラムから約15グラム、約7グラムから約20グラム、約8グラムから約9グラム、約8グラムから約10グラム、約8グラムから約15グラム、約8グラムから約20グラム、約9グラムから約10グラム、約9グラムから約15グラム、約9グラムから約20グラム、約10グラムから約15グラム、約10グラムから約20グラム、または約15グラムから約20グラムに及ぶ重量を有する。一部の実施形態では、非金属物体は、約1グラム、約2グラム、約3グラム、約4グラム、約5グラム、約6グラム、約7グラム、約8グラム、約9グラム、約10グラム、約15グラム、または約20グラムからの範囲の重量を有する。
一部の実施形態では、強磁性材料は、印加される磁場がない状態ではその磁気特性を保持しない。一部の実施形態では、強磁性材料は、印加される磁場の存在下でその磁気特性を活性化する。一部の実施形態では、強磁性材料が強磁性インク組成物である(即ち、上述の任意の強磁性インク組成物)。一部の実施形態では、強磁性材料は、強磁性ラベルである(即ち、上述の任意の強磁性ラベル)。一部の実施形態では、強磁性材料は、強磁性材料10である(即ち、上述の任意の強磁性材料)。
次に、方法は、物体の流れを磁場に接触させることを含む。一部の実施形態では、磁場は、商用のドラム型分離器、オーバーバンド磁気分離器、磁気ヘッドプーリー、またはこれらの組合せによって、生成される。
一部の実施形態では、磁場は、約3000ガウス(G)から約12,000Gに及ぶ磁束密度を有する。一部の実施形態では、磁場は、約1ガウスから約2999ガウスに及ぶ磁束密度を持たない。一部の実施形態では、磁場は、7000ガウスの磁束密度を有する。一部の実施形態では、磁場は、約3,000ガウスから約12,000ガウスに及ぶ磁束密度を有する。一部の実施形態では、磁場は、約3,000ガウスからの範囲の磁束密度を有する。一部の実施形態では、磁場は、約12,000ガウスからの範囲の磁束密度を有する。一部の実施形態では、磁場は、約3,000ガウスから約4,000ガウス、約3,000ガウスから約5,000ガウス、約3,000ガウスから約6,000ガウス、約3,000ガウスから約7,000ガウス、約3,000ガウスから約8,000ガウス、約3,000ガウスから約9,000ガウス、約3,000ガウスから約10,000ガウス、約3,000ガウスから約11,000ガウス、約3,000ガウスから約12,000ガウス、約4,000ガウスから約5,000ガウス、約4,000ガウスから約6,000ガウス、約4,000ガウスから約7,000ガウス、約4,000ガウスから約8,000ガウス、約4,000ガウスから約9,000ガウス、約4,000ガウスから約10,000ガウス、約4,000ガウスから約11,000ガウス、約4,000ガウスから約12,000ガウス、約5,000ガウスから約6,000ガウス、約5,000ガウスから約7,000ガウス、約5,000ガウスから約8,000ガウス、約5,000ガウスから約9,000ガウス、約5,000ガウスから約10,000ガウス、約5,000ガウスから約11,000ガウス、約5,000ガウスから約12,000ガウス、約6,000ガウスから約7,000ガウス、約6,000ガウスから約8,000ガウス、約6,000ガウスから約9,000ガウス、約6,000ガウスから約10,000ガウス、約6,000ガウスから約11,000ガウス、約6,000ガウスから約12,000ガウス、約7,000ガウスから約8,000ガウス、約7,000ガウスから約9,000ガウス、約7,000ガウスから約10,000ガウス、約7,000ガウスから約11,000ガウス、約7,000ガウスから約12,000ガウス、約8,000ガウスから約9,000ガウス、約8,000ガウスから約10,000ガウス、約8,000ガウスから約11,000ガウス、約8,000ガウスから約12,000ガウス、約9,000ガウスから約10,000ガウス、約9,000ガウスから約11,000ガウス、約9,000ガウスから約12,000ガウス、約10,000ガウスから約11,000ガウス、約10,000ガウスから約12,000ガウス、または約11,000ガウスから約12,000ガウスに及ぶ磁束密度を有する。一部の実施形態では、磁場は、約3,000ガウス、約4,000ガウス、約5,000ガウス、約6,000ガウス、約7,000ガウス、約8,000ガウス、約9,000ガウス、約10,000ガウス、約11,000ガウス、または約12,000ガウスからの範囲の磁束密度を有する。
次に方法は、表面に堆積された強磁性材料を含む少なくとも1種の非金属物体の、磁場に対する引き付けに基づいて、表面に堆積された強磁性材料を含む少なくとも1種の非金属物体を、物体の混合流から分離することを含む。一部の実施形態では、オーバーバンド磁石のような商用の磁気分離器、ドラム分離器、または磁気ヘッドプーリーは、強磁性材料を含む非金属物体を引き付け、したがって、強磁性または磁性成分を含まない少なくとも1種の物体から非金属物体を隔離する。一部の実施形態では、強磁性ラベルの着磁性は、弱い磁場(即ち、商用のMRFでの金属の隔離に使用される、3000ガウスよりも弱い磁場であり)を持つ磁気分離器が、表面に堆積された強磁性材料を含む非金属物体に影響を及ぼさないことが確実になるように調整される。一部の実施形態では、強磁性材料を含む非金属物体は、商用のMRFにおいて金属廃棄流と共に選別されない。
一部の実施形態では、方法は、表面に堆積された強磁性材料を含む非金属物体を、混合廃棄流から分離することを含む。一部の実施形態では、混合廃棄流は、商用の単流リサイクル施設(即ち、材料回収施設(MRF))で提供される。一部の実施形態では、単流MRFは、ガラス、プラスチック、金属(磁性および非磁性の両方、常磁性、または反磁性)、ボール紙、および紙を含む混合廃棄流を受け取る。一部の実施形態では、強磁性または磁性成分を含まない少なくとも1種の物体は、ガラス、プラスチック、金属(磁性および非磁性の両方、常磁性、または反磁性)、ボール紙、および紙である。一部の実施形態では、MRFは、サイズ排除、密度をベースにした分離、空気/真空、および磁気分離のような様々な技法を使用して、混合廃棄物を選別しかつ別の純粋な流れに隔離し、次いでこれをリサイクル用に販売する。一部の実施形態では、小プラスチック物品は明瞭に選別されず、プラスチック製品の重量および形状因子に応じて、ガラス、紙、およびボール紙のような様々な廃棄物流を汚染することになる。本開示は、強磁性材料(例えば、上述のような強磁性ラベル)をインプリントしまたは取着することにより小プラスチック製品の容易な選別を可能にすることによって、この問題に対処する。
本開示の別の態様は、組成物(例えば、本明細書の他の箇所に記述される組成物のいずれか)を、所定の強度の磁場に、強磁性プラスチック物体を組成物から分離するのに十分な所定の時間にわたり接触させることを含む、方法を提供する。一部の実施形態では、磁場の強度を磁束密度と呼ぶ。一部の実施形態では、磁場は、約3000ガウス(G)から約12,000Gに及ぶ磁束密度である。一部の実施形態では、組成物が磁場に接触する所定の時間は、約1秒から約10分に及ぶ。一部の実施形態では、組成物が磁場に接触する所定の時間は、約10秒である。一部の実施形態では、組成物が磁場に接触する所定の時間は、約30秒である。一部の実施形態では、組成物が磁場に接触する所定の時間は、約60秒である。
一部の実施形態では、磁場は、商用のドラム型分離器、オーバーバンド磁気分離器、磁気ヘッドプーリー、またはこれらの組合せによって生成される。
別の態様では、本開示は:a)強磁性インク組成物をフィルムの表面に印刷すること;およびb)フィルムを非強磁性プラスチック物体の表面に転写して、強磁性プラスチック物体を生成することを含み;強磁性インク組成物が食品接触物質である、強磁性プラスチック物体を製作する方法を提供する。
一部の実施形態では、方法は、凹版印刷を含む。一部の実施形態では、方法は、グラビア印刷を含む。例えば、一部の実施形態では、フィルムの表面への強磁性インク組成物の印刷は、凹版印刷を使用することにより実現される。他の実施形態では、フィルムの表面への強磁性インク組成物の印刷は、グラビア印刷を使用することにより実現される。一部の実施形態では、強磁性インク組成物は、プラスチック物体上に直接印刷される。一部の実施形態では、強磁性インク組成物は、プラスチック物体を作成する前に、プラスチック物体前駆体材料と混合される。例えば、強磁性インク組成物は、プラスチック物体前駆体材料に添加され、混合され、型内に堆積されて、押出し成型または射出成型プロセスのいずれかで使用され、それによって強磁性プラスチック物体が作成される。この場合、強磁性プラスチック物体は、強磁性材料がプラスチック物体前駆体材料に組み込まれるので、表面に配置された強磁性ラベルまたはフィルムを持たない。
一部の実施形態では、フィルムは、合成樹脂またはプラスチックである。一部の実施形態では、フィルムがポリエステルフィルムである。
一部の実施形態では、方法はさらに、剥離ワニスをフィルムの表面に印刷することを含む。一部の実施形態では、剥離ワニスは、少なくとも1つの強磁性インク組成物層の剥離を容易にする。一部の実施形態では、方法はさらに、接着剤をフィルムの表面に印刷することを含む。一部の実施形態では、接着剤は、非強磁性プラスチック物体の表面にフィルムを接着する。一部の実施形態では、方法は、熱および/または圧力を印加することによって、フィルムを転写することを含む。一部の実施形態では、強磁性プラスチック物体は、使い捨てボトル、ボトルキャップ、使い捨てコーヒーカップ、プラスチックのカトラリー、食器、刃物用具、プラスチックのトレー、プラスチックの容器、食品包装容器、シュリンクスリーブ、またはこれらの任意の組合せである。
本開示の別の態様は、磁化可能なマーカーを持つプラスチックのラベルを、PET回収施設において、PETボトル、ボトルキャップ、ラベル、またはこれらの任意の組合せの粉砕されたまたは細断された薄片を含有する混合流から分離する方法を提供する。廃棄物流に廃棄される非耐久性プラスチックボトルは、リサイクル前に回収し選別される必要がある。ボトルおよび/または容器が廃棄物/リサイクル流中に廃棄された場合、それらはまず、混じり合った廃棄物および/またはリサイクルから分離される必要がある。これは予備的な選別施設、転写ステーションまたは材料回収施設(MRF)のいずれかで行われる。次いでMRFは、製造で使用されるプラスチックのペレットにポストコンシューマーまたはポスト工業化ボトルを変換する、プラスチック回収器に、大量のボトルを輸送する。プラスチック回収器は、所望の品質を持つ、高品質の純粋なプラスチックペレットを得ることを目的に、ボトルおよび/または容器を一連の機械加工および分離ステップに供する。図6に示されるように、ポリエチレンテレフタレート(PET)ボトルは、ボトル洗浄、粉砕、および密度分離などの様々な機械的方法に供されて、全プラスチックPETボトルを純粋なPETプラスチック薄片に変換し、これを元のPETペレットに融解して、製造に使用することができる。
PET回収器は、PETで作製されたボトルを含有するPETボトルのベールを受け取る。これらのPETボトルは、しばしばPETボトルに依然として取着される、高密度ポリエチレン(HDPE)および/またはポリプロピレン(PP)ボトルをしばしば含む。さらにこれらのPETボトルは、典型的にはグリコシル化ポリエチレンテレフタレート(PETG)でまたは時々PPもしくはポリ塩化ビニル(PVC)で作製された、その表面に取着されたボトルラベルを含む。PETでは、非プラスチックまたは望ましくない非PETプラスチックの除去は、この機械的リサイクルプロセスで極めて重要である。所定の既存の分離プロセスは、PET回収器に送られるPETボトル流から、金属、ガラス、紙、および不透明なプラスチック物体を含む多くの汚染物質を除去するのに有効である。回収器は、ボトルからこれらの汚染物質を除去するのに、苛性洗浄、サイズ排除、光学またはNIR選別、および磁気分離のような様々な技法を使用する。しかしながら、ボトルラベルの分離は、非常に特殊な問題を課す。PET回収施設では、ボトルの構成要素の分離が、密度および重量ベースの方法に限定される。ボトルは、ボトルのキャップおよびラベルと一緒に薄片に粉砕される。次いで混合薄片を、PPまたはHDPEから作製されたボトルキャップの薄片を除去する際に有効な、密度ベースの浮揚/沈降技法および空気/真空ベースの水力分級技法を使用して隔離する。しかしながら、PETGまたはポリ塩化ビニル(PVC)のような材料からしばしば作製されるラベルは、そのような密度ベースの分離技法を使用してPETから分離するのが難しく、最終的にはボトルからのPET薄片と混合され;したがって回収器に向けた生成物流が汚染される。本開示は、磁化可能なコーティングまたはマーカーを印刷することにより、ラベル薄片(例えば、PETGまたはPVC材料薄片)の容易な除去を可能にすることによって、この問題に対処する。磁化可能なマーカーを含む基材またはフィルム付近で、オーバーバンド磁石、ドラム分離器、または磁気ヘッドプーリーであって強力な磁場(例えば、1000ガウスよりも大きい磁場)を持つものなどの商用の磁気分離器を使用することにより、基材またはフィルムを、非磁性、常磁性、または反磁性物体から隔離することができる。一部の実施形態では、本明細書に記述される強磁性インク組成物の着磁性は、調整可能である。例えば、本開示では、強磁性インクおよび/またはフィルムの着磁性は、使用される磁力がラベル薄片または非PET薄片をPET薄片から隔離するのに有効であることが、確実になるように調整することができる。さらに、強磁性インクおよび/またはフィルムの着磁性は、強磁性フィルムがPETボトルに取着された場合、磁場でボトル全体を引っ張るにはボトルの重量が重過ぎる状態になるように、調整することができる。したがって本開示の強磁性基材は、取着された強磁性フィルムを含むボトルの不当な選別を防止する。
システム
本開示の別の態様は、強磁性プラスチック物体を製作するためのシステムを提供する。一部の実施形態では、強磁性プラスチック物体は、使い捨てボトル、ボトルキャップ、使い捨てコーヒーカップ、プラスチックのカトラリー、食器、刃物用具、プラスチックのトレー、プラスチック容器、食品包装容器、シュリンクスリーブ、またはこれらの任意の組合せである。一部の実施形態では、システムは、非強磁性プラスチック物体を含む。一部の実施形態では、非強磁性プラスチック物体は、使い捨てボトル、ボトルキャップ、使い捨てコーヒーカップ、プラスチックのカトラリー、食器、刃物用具、プラスチックのトレー、プラスチック容器、食品包装容器、シュリンクスリーブ、またはこれらの任意の組合せである。一部の実施形態では、強磁性または非強磁性プラスチック物体が、本明細書の他の箇所に記述されるプラスチック物体である。
一部の実施形態では、システムはフィルムを含む。一部の実施形態では、フィルムは、合成樹脂またはプラスチックである。一部の実施形態では、フィルムがポリエステルフィルムである。一部の実施形態では、フィルムは剥離ワニスを含む。一部の実施形態では、剥離ワニスは、少なくとも1つの強磁性インク組成物層の剥離を容易にする。一部の実施形態では、フィルムは、強磁性インク組成物の少なくとも1つの層を含む。一部の実施形態では、フィルムは接着層を含む。一部の実施形態では、接着層は、フィルムを非強磁性プラスチック物体の表面に接着する。一部の実施形態では、フィルムは、本明細書の他の箇所に記述されるフィルムである。
一部の実施形態では、システムは、強磁性インク組成物を含む。一部の実施形態では、強磁性インク組成物は、食品接触物質である。一部の実施形態では、強磁性インク組成物は、本明細書の他の箇所に記述される強磁性インク組成物である。一部の実施形態では、システムは、モジュラーマーカー転写ステーションを含む。一部の実施形態では、モジュラーマーカー転写ステーションは、プラスチック物体(例えば、カトラリーの柄)上に印刷するためのスタンピングブロックアタッチメントを含む。一部の実施形態では、モジュラーマーカー転写ステーションは、平面(例えば、ボトルキャップ)上に印刷するためのスタンピングブロックアタッチメントを含む。一部の実施形態では、モジュラーマーカー転写ステーションは、吹込み成型ボトルスタンピングアタッチメントを含む。一部の実施形態では、モジュラーマーカー転写ステーションは、吹込み成型カップスタンピングアタッチメントを含む。一部の実施形態では、モジュラーマーカー転写ステーションは、ホログラム箔用のホログラムセンサーを含む。一部の実施形態では、モジュラーマーカー転写ステーションは、通し番号を付けるための空気圧式作動システムを備えた分子アタッチメントを含む。一部の実施形態では、モジュラーマーカー転写ステーションは、自動化部品ロードシステムを含む。
一部の実施形態では、スタンピングブロックアタッチメントは、約150mmの長さおよび約200mmの幅を有する。一部の実施形態では、スタンピングブロックアタッチメントは、約200mmの長さおよび約150mmの幅を有する。
一部の実施形態では、スタンピングブロックアタッチメントは、約10mmから約200mmの長さを有する。一部の実施形態では、スタンピングブロックアタッチメントは、約10mmの長さを有する。一部の実施形態では、スタンピングブロックアタッチメントは、約200mmの長さを有する。一部の実施形態では、スタンピングブロックアタッチメントは、約10mmから約25mm、約10mmから約50mm、約10mmから約75mm、約10mmから約100mm、約10mmから約150mm、約10mmから約175mm、約10mmから約200mm、約25mmから約50mm、約25mmから約75mm、約25mmから約100mm、約25mmから約150mm、約25mmから約175mm、約25mmから約200mm、約50mmから約75mm、約50mmから約100mm、約50mmから約150mm、約50mmから約175mm、約50mmから約200mm、約75mmから約100mm、約75mmから約150mm、約75mmから約175mm、約75mmから約200mm、約100mmから約150mm、約100mmから約175mm、約100mmから約200mm、約150mmから約175mm、約150mmから約200mmまたは約175mmから約200mmの長さを有する。一部の実施形態では、スタンピングブロックアタッチメントは、約10mm、約25mm、約50mm、約75mm、約100mm、約150mm、約175mm、または約200mmの長さを有する。
一部の実施形態では、スタンピングブロックアタッチメントは、約10mmから約200mmの幅を有する。一部の実施形態では、スタンピングブロックアタッチメントが約10mmの幅を有する。一部の実施形態では、スタンピングブロックアタッチメントは、約200mmの幅を有する。一部の実施形態では、スタンピングブロックアタッチメントは、約10mmから約25mm、約10mmから約50mm、約10mmから約75mm、約10mmから約100mm、約10mmから約150mm、約10mmから約175mm、約10mmから約200mm、約25mmから約50mm、約25mmから約75mm、約25mmから約100mm、約25mmから約150mm、約25mmから約175mm、約25mmから約200mm、約50mmから約75mm、約50mmから約100mm、約50mmから約150mm、約50mmから約175mm、約50mmから約200mm、約75mmから約100mm、約75mmから約150mm、約75mmから約175mm、約75mmから約200mm、約100mmから約150mm、約100mmから約175mm、約100mmから約200mm、約150mmから約175mm、約150mmから約200mm、または約175mmから約200mmの幅を有する。一部の実施形態では、スタンピングブロックアタッチメントは、約10mm、約25mm、約50mm、約75mm、約100mm、約150mm、約175mm、または約200mmの幅を有する。
一部の実施形態では、モジュラーマーカー転写ステーションは、ラベルが表面に転写されることになる物体に適するように、デバイス上のスタンピングブロックアタッチメントを変えることによって、種々のタイプの表面に印刷する。一部の実施形態では、スタンピングブロックアタッチメントは、様々な物体上でのスタンピングに使用される。一部の実施形態では、物体が平らである。一部の実施形態では、物体が平らではない。スタンピングブロックアタッチメントでスタンプされる物体の非限定的な例には、プラスチックのカトラリーの柄、小さいボトル、ボトルキャップ、カップ、ペン、歯ブラシの取っ手、およびその他の小さい平らなおよび丸い物品が含まれる。
一部の実施形態では、表面に印刷がなされる物体は、最大で約200mmの高さを有する。一部の実施形態では、表面に印刷がなされる物体は、約10mmから約200mmの高さを有する。一部の実施形態では、表面に印刷がなされる物体は、約10mmの高さを有する。一部の実施形態では、表面に印刷がなされる物体は、約200mmの高さを有する。一部の実施形態では、表面に印刷がなされる物体は、約10mmから約25mm、約10mmから約50mm、約10mmから約75mm、約10mmから約100mm、約10mmから約150mm、約10mmから約175mm、約10mmから約200mm、約25mmから約50mm、約25mmから約75mm、約25mmから約100mm、約25mmから約150mm、約25mmから約175mm、約25mmから約200mm、約50mmから約75mm、約50mmから約100mm、約50mmから約150mm、約50mmから約175mm、約50mmから約200mm、約75mmから約100mm、約75mmから約150mm、約75mmから約175mm、約75mmから約200mm、約100mmから約150mm、約100mmから約175mm、約100mmから約200mm、約150mmから約175mm、約150mmから約200mm、または約175mmから約200mmの高さを有する。一部の実施形態では、表面に印刷がなされる物体は、約10mm、約25mm、約50mm、約75mm、約100mm、約150mm、約175mm、または約200mmの高さを有する。
一部の実施形態では、システムは、モジュラーマーカー転写ステーションに動作可能に連結されたプロセッサーと、プロセッサーからモジュラーマーカー転写ステーションに指示を出させる、プロセッサーにより実行可能な命令を含むコンピュータープログラムを持つ非一時的コンピューター可読記憶媒体とを含む、コンピューティングデバイスを含む。一部の実施形態では、モジュラーマーカー転写ステーションは、強磁性インク組成物をフィルムの表面に印刷する。一部の実施形態では、モジュラーマーカー転写ステーションは、プラスチック物体の表面に強磁性インク組成物を印刷する。一部の実施形態では、モジュラーマーカー転写ステーションは、非強磁性プラスチック物体の表面に強磁性インク組成物を印刷する。一部の実施形態では、モジュラーマーカー転写ステーションは、強磁性ラベルおよび/または強磁性プラスチック物体の高スループット製造を行う。一部の実施形態では、モジュラーマーカー転写ステーションは、プラスチック物体および/またはラベルの表面に、表面修飾を発生させる。一部の実施形態では、モジュラーマーカー転写ステーションは、強磁性インクを含むラベルをプラスチック物体の表面に転写するのに凹版印刷法を使用する。一部の実施形態では、凹版印刷法は、グラビア印刷法を含む。一部の実施形態では、モジュラーマーカー転写ステーションは、強磁性インクを含むラベルをプラスチック物体の表面に転写するのに、熱および/または圧力を印加する。
一部の実施形態では、モジュラーマーカー転写ステーションは、強磁性ラベルを物体上に転写するのに、摂氏約130度(C)から約180度Cの温度を加える。一部の実施形態では、モジュラーマーカー転写ステーションは、物体上に強磁性ラベルを転写するのに、約130度Cの温度を加える。一部の実施形態では、モジュラーマーカー転写ステーションは、物体上に強磁性ラベルを転写するのに、約180度Cの温度を加える。一部の実施形態では、モジュラーマーカー転写ステーションは、約130度Cから約135度C、約130度Cから約140度C、約130度Cから約145度C、約130度Cから約150度C、約130度Cから約155度C、約130度Cから約160度C、約130度Cから約165度C、約130度Cから約170度C、約130度Cから約175度C、約130度Cから約180度C、約135度Cから約140度C、約135度Cから約145度C、約135度Cから約150度C、約135度Cから約155度C、約135度Cから約160度C、約135度Cから約165度C、約135度Cから約170度C、約135度Cから約175度C、約135度Cから約180度C、約140度Cから約145度C、約140度Cから約150度C、約140度Cから約155度C、約140度Cから約160度C、約140度Cから約165度C、約140度Cから約170度C、約140度Cから約175度C、約140度Cから約180度C、約145度Cから約150度C、約145度Cから約155度C、約145度Cから約160度C、約145度Cから約165度C、約145度Cから約170度C、約145度Cから約175度C、約145度Cから約180度C、約150度Cから約155度C、約150度Cから約160度C、約150度Cから約165度C、約150度Cから約170度C、約150度Cから約175度C、約150度Cから約180度C、約155度Cから約160度C、約155度Cから約165度C、約155度Cから約170度C、約155度Cから約175度C、約155度Cから約180度C、約160度Cから約165度C、約160度Cから約170度C、約160度Cから約175度C、約160度Cから約180度C、約165度Cから約170度C、約165度Cから約175度C、約165度Cから約180度C、約170度Cから約175度C、約170度Cから約180度C、または約175度Cから約180度Cの温度を加えて、強磁性ラベルを物体上に転写する。一部の実施形態では、モジュラーマーカー転写ステーションは、約130度C、約135度C、約140度C、約145度C、約150度C、約155度C、約160度C、約165度C、約170度C、約175度C、または約180度C、の温度を加えて、強磁性ラベルを物体上に転写する。
一部の実施形態では、モジュラーマーカー転写ステーションは、約1.5barから約5barの圧力を印加して、強磁性ラベルを物体上に転写する。一部の実施形態では、モジュラーマーカー転写ステーションは、約1.5barの圧力を印加して、強磁性ラベルを物体上に転写する。一部の実施形態では、モジュラーマーカー転写ステーションは、約5barの圧力を印加して、強磁性ラベルを物体上に転写する。一部の実施形態では、モジュラーマーカー転写ステーションは、約1.5barから約2bar、約1.5barから約2.5bar、約1.5barから約3bar、約1.5barから約3.5bar、約1.5barから約4bar、約1.5barから約4.5bar、約1.5barから約5bar、約2barから約2.5bar、約2barから約3bar、約2barから約3.5bar、約2barから約4bar、約2barから約4.5bar、約2barから約5bar、約2.5barから約3bar、約2.5barから約3.5bar、約2.5barから約4bar、約2.5barから約4.5bar、約2.5barから約5bar、約3barから約3.5bar、約3barから約4bar、約3barから約4.5bar、約3barから約5bar、約3.5barから約4bar、約3.5barから約4.5bar、約3.5barから約5bar、約4barから約4.5bar、約4barから約5bar、または約4.5barから約5barの圧力を印加して、強磁性ラベルを物体上に転写する。一部の実施形態では、モジュラーマーカー転写ステーションは、約1.5bar、約2bar、約2.5bar、約3bar、約3.5bar、約4bar、約4.5bar、または約5barの圧力を印加して、強磁性ラベルを物体上に転写する。
コンピューター制御システム
本開示は、本開示の方法を実施するようにプログラムされたコンピューター制御システムを提供する。図3は、モジュラーマーカー転写ステーションに指示し、強磁性プラスチック物体を製造し、および/または表面に堆積された強磁性材料を含む非金属物体を物体の混合物流から選別するようにプログラムされたまたはその他の手法で構成された、コンピューターシステム1101を示す。コンピューターシステム1101は、強磁性材料をプラスチック物体の表面に印刷すること、磁場の印加を調節すること、磁場強度を制御すること、および/または隔離された非金属物体を異なる物体の流れに向かわせるなど、製造し選別する様々な態様を調節することができる。コンピューターシステム1101は、ユーザーの電子デバイス、または電子デバイスに対して遠隔に位置付けられたコンピューターシステムとすることができる。電子デバイスは、モバイル電子デバイスとすることができる。
コンピューターシステム1101は、シングルコアまたはマルチコアプロセッサーまたは並列処理用の複数のプロセッサーとすることができる、中央処理装置(CPU、本明細書では「プロセッサー」および「コンピュータープロセッサー」でもある)1105を含む。コンピューターシステム1101は、メモリーまたはメモリー位置1110(例えば、ランダムアクセスメモリー、リードオンリーメモリー、フラッシュメモリー)、電子記憶装置1115(例えば、ハードディスク)、1つまたは複数のその他のシステムと通信するための通信インターフェース1120(例えば、ネットワークアダプター)、および周辺デバイス1125、例えばキャッシュ、その他のメモリー、データ記憶および/または電子ディスプレーアダプターも含む。メモリー1110、記憶装置1115、インターフェース1120、および周辺デバイス1125は、マザーボードなどの通信バス(実線)を通してCPU1105と通信する。記憶装置1115は、データを記憶するためのデータ記憶装置(またはデータレポジトリー)とすることができる。コンピューターシステム1101は、通信インターフェース1120の助けを借りて、コンピューターネットワーク(「ネットワーク」)1130に動作可能に連結することができる。ネットワーク1130は、インターネット、インターネットおよび/またはエクストラネット、あるいはイントラネットおよび/またはエクストラネットであってインターネットと通信するものとすることができる。ネットワーク1130は、ある場合には、テレコミュニケーションおよび/またはデータネットワークである。ネットワーク1130は、クラウドコンピューティングなどの分散コンピューティングを可能にすることができる、1つまたは複数のコンピューターサーバーを含むことができる。ネットワーク1130は、コンピューターシステム1101の助けを借りるある場合には、コンピューターシステム1101に連結されたデバイスがクライアントまたはサーバーとして挙動可能になり得るピアツーピアネットワークを実現することができる。
CPU1105は、プログラムまたはソフトウェアで具体化することができる、機械可読命令のシーケンスを実行することができる。命令は、メモリー1110などのメモリー位置に記憶されてもよい。命令は、CPU1105に向けることができ、後で本開示の方法を実現するようにCPU1105をプログラムすることができまたはその他の手法で構成することができる。CPU1105によって行われる演算の例は、フェッチ、デコード、実行、およびライトバックを含むことができる。
CPU1105は、集積回路などの回路の一部とすることができる。システム1101の1つまたは複数のその他の構成要素は、回路に含めることができる。ある場合には、回路は、特定用途向け集積回路(ASIC)である。
記憶装置1115は、ドライバー、ライブラリー、および保存されたプログラムなどのファイルを記憶することができる。記憶装置1115は、ユーザーデータ、例えばユーザー選択およびユーザープログラムを、記憶することができる。コンピューターシステム1101は、ある場合には、イントラネットまたはインターネットを通してコンピューターシステム1101と通信する遠隔サーバーに位置付けられるなど、コンピューターシステム1101の外部にある1つまたは複数の追加のデータ記憶装置を含むことができる。
コンピューターシステム1101は、ネットワーク1130を通して、1つまたは複数の遠隔コンピューターシステムと通信することができる。例えば、コンピューターシステム1101は、ユーザーの遠隔コンピューターシステムと通信することができる。遠隔コンピューターシステムの例には、パーソナルコンピューター(例えば、ポータブルPC)、スレートまたはタブレットPC(例えば、Apple(登録商標)iPad(登録商標)、Samsung(登録商標)Galaxy Tab)、電話、スマートフォン(例えば、Apple(登録商標)iPhone(登録商標)、Androidイネーブルデバイス、Blackberry(登録商標))、クラウドベースのコンピューティングサービス(例えば、Amazonウェブサービス)、またはパーソナルデジタルアシスタントが含まれる。ユーザーは、ネットワーク1130を介してコンピューターシステム1101にアクセスすることができる。
本明細書に記述される方法は、例えばメモリー1110または電子記憶装置1115など、コンピューターシステム1101の電子記憶位置に記憶された、機械(例えば、コンピュータープロセッサー)で実行可能なコードを用いて実施することができる。機械で実行可能なまたは機械可読コードは、ソフトウェアの形で提供することができる。使用中、コードは、プロセッサー1105により実行することができる。ある場合には、コードを記憶装置1115から取得し、プロセッサー1105がすぐにアクセスできるようにメモリー1110に記憶することができる。ある状況において、電子記憶装置1115は、除外することができ、機械で実行可能な命令は、メモリー1110に記憶される。
コードは、プリコンパイルすることができ、かつコードを実行するよう適合されたプロセッサーを有する機械と共に使用するよう構成することができ、またはランタイム中にコンパイルすることができる。コードは、プリコンパイルされたまたはコンパイルされたままの様式でコードにより実行可能になるよう選択することができる、プログラミング言語で供給することができる。
コンピューターシステム1101など、本明細書で提供されるシステムおよび方法の態様は、プログラミングで具体化することができる。技術の様々な態様は、典型的には、あるタイプの機械可読媒体で実施されるまたは具体化される、機械(または、プロセッサー)で実行可能なコードおよび/または関連あるデータの形をとる、「製品」または「製造物品」と考えることができる。機械で実行可能なコードは、メモリー(例えば、リードオンリーメモリー、ランダムアクセスメモリー、フラッシュメモリー)またはハードディスクなどの電子記憶装置に記憶することができる。「記憶」型媒体は、コンピューター、プロセッサー、または同様のものの有形メモリー、あるいはこれらに関連のあるモジュール、例えば様々な半導体メモリー、テープドライブ、ディスクドライブ、および同様のものであって、ソフトウェアプログラミングの任意の時点で一時的ストレージを提供し得るものの、いずれかまたは全てを含むことができる。ソフトウェアの全てまたは部分は、時には、インターネットまたは様々なその他のテレコミュニケーションネットワークを通して通信してもよい。そのような通信は、例えば、1つのコンピューターまたはプロセッサーから別のものに、例えば管理サーバーまたはホストコンピューターからアプリケーションサーバーのコンピュータープラットフォームに、ソフトウェアをロードすることが可能になり得る。したがって、ソフトウェアエレメントを持ち得る別のタイプの媒体は、ローカルデバイス間の物理的インターフェース全体にわたる、有線および光固定電話を通して、ならびに様々なエアーリンク上で使用されるような、光、電気、および電磁波を含む。有線または無線リンク、光リンク、または同様のものなど、そのような波を伝搬する物理的要素は、ソフトウェアを持つ媒体と見なされ得る。本明細書で使用される場合、非一時的、有形「記憶」媒体に制限されない限り、コンピューターまたは機械「可読媒体」などの用語は、実行のためにプロセッサーに命令を提供するのに関与する任意の媒体を指す。
したがって、コンピューターで実行可能なコードなどの機械可読媒体は、限定するものではないが有形記憶媒体、搬送波媒体、または物理的伝送媒体を含めた多くの形をとることができる。不揮発性記憶媒体には、例えば、光または磁気ディスク、例えば任意のコンピューター(複数可)などの記憶デバイスのいずれか、例えば図面に示されるデータベースなどを実現するのに使用され得るものが含まれる。揮発性記憶媒体には、ダイナミックメモリー、例えばそのようなコンピュータープラットフォームのメインメモリーが含まれる。有形伝送媒体には、同軸ケーブル;銅線および光ファイバーであって、コンピューターシステム内にバスを含む有線を含むものが、含まれる。搬送波伝送媒体は、電気または電磁信号、あるいは音響または光波、例えば無線周波数(RF)および赤外線(IR)データ通信中に発生するものの形をとってもよい。したがって、コンピューター可読媒体の一般的な形には、例えば:フロッピー(登録商標)ディスク、フレキシブルディスク、ハードディスク、磁気テープ、任意のその他の磁気媒体、CD-ROM、DVD、またはDVD-ROM、任意のその他の光媒体、パンチカード紙テープ、穴のパターンを持つ任意のその他の物理的記憶媒体、RAM、ROM、PROM、およびEPROM、FLASH-EPROM、任意のその他のメモリーチップまたはカートリッジ、搬送波輸送データまたは命令、ケーブルまたはリンク輸送、例えば搬送波、または任意のその他の媒体であって、そこからコンピューターがプログラミングコードおよび/またはデータを読み取るものが含まれる。コンピューター可読媒体のこれらの形の多くは、実行のためにプロセッサーに1つまたは複数の命令の1つまたは複数のシーケンスを搬送することに関わり得る。
コンピューターシステム1101は、例えば印刷プロセスの状態、選別プロセスの状態(例えば、選別された全材料の量または重量を表示する)を提供するためのユーザーインターフェース(UI)1140、磁場の手動制御(例えば、磁場のオン/オフ状態を制御する緊急停止ボタン)、ならびに例えば生成された強磁性物体の数、インクレベル、圧力レベル、温度レベル、および/または印加された磁束密度を表示するように設計されたディスプレーインジケーターを含む、電子ディスプレー1135を、含むことができまたは通信することができる。UIの例には、限定するものではないがグラフィカルユーザーインターフェース(GUI)およびウェブベースのユーザーインターフェースが含まれる。
(実施例1)
強磁性インク組成物#1
実施例では、強磁性顔料(電解鉄、アトマイズ化鉄、カルボニル鉄、カルボニルコバルト、カルボニルニッケル、酸化鉄、フェライト系ステンレス鋼、またはアトマイズ化ステンレス鋼の中から)30部を含んだ強磁性インク組成物を、酢酸エチル30部、トルエン10部、およびメチルエチルケトン17部に分散させた。塩化ビニル酢酸ビニルターポリマー樹脂10部と、アミンをベースにした湿潤および分散剤3部とを使用して、インク配合物を安定化させた。
(実施例2)
強磁性インク組成物#2
実施例では、強磁性顔料(電解鉄、アトマイズ化鉄、カルボニル鉄、カルボニルコバルト、カルボニルニッケル、酸化鉄、フェライト系ステンレス鋼、またはアトマイズ化ステンレス鋼の中から)30部を含んだ強磁性インク組成物を、酢酸エチル30部、トルエン10部、およびメチルエチルケトン17部に分散させた。さらに、塩化ビニル酢酸ビニルターポリマー樹脂7部と、非晶質ポリエステル樹脂4部とを使用した。さらに、アミンをベースにした湿潤および分散剤3部を使用して、インク配合物を安定化させた。
(実施例3)
強磁性インク組成物#3
実施例では、強磁性顔料(電解鉄、アトマイズ化鉄、カルボニル鉄、カルボニルコバルト、カルボニルニッケル、酸化鉄、フェライト系ステンレス鋼、またはアトマイズ化ステンレス鋼の中から)30部を含んだ強磁性インク組成物を、酢酸エチル30部、トルエン10部、およびメチルエチルケトン17部に分散させた。さらに、塩化ビニル酢酸ビニルターポリマー樹脂6部と、エチレンビニルアセテート樹脂6部とを使用した。さらに、アミンをベースにした湿潤および分散剤3部を使用して、インク配合物を安定化させた。
(実施例4)
強磁性インク組成物#4
実施例では、強磁性顔料(電解鉄、アトマイズ化鉄、カルボニル鉄、カルボニルコバルト、カルボニルニッケル、酸化鉄、フェライト系ステンレス鋼、またはアトマイズ化ステンレス鋼の中から)30部を含んだ強磁性インク組成物を、酢酸エチル30部、トルエン10部、およびメチルエチルケトン17部に分散させた。さらに、塩化ビニル酢酸ビニルターポリマー樹脂6部と、アクリル酸樹脂4部とを使用した。さらに、アミンをベースにした湿潤および分散剤3部を使用して、インク配合物を安定化させた。
(実施例5)
強磁性インク組成物#5
実施例では、強磁性顔料(電解鉄、アトマイズ化鉄、カルボニル鉄、カルボニルコバルト、カルボニルニッケル、酸化鉄、フェライト系ステンレス鋼、またはアトマイズ化ステンレス鋼、あるいはコバルト、バナジウム、マンガン、モリブデン、ケイ素、ニッケル、ホウ素、アルミニウム、銅の1種または複数との鉄合金の中から)30部を含んだ強磁性インク組成物を、酢酸エチル60部に分散させた。さらに、塩化ビニル酢酸ビニルターポリマー樹脂6部と、ポリアミド樹脂4部とを使用した。さらに、アミンをベースにした湿潤および分散剤3部を使用して、インク配合物を安定化させた。
(実施例6)
強磁性ラベルをプラスチック物体に付着させる方法
別の実施例では、印刷速度が50~150メートル/分であるフレキソ印刷プレスを使用して、自己接着ラベルを、強磁性インク組成物(例えば、実施例1~4に記述される強磁性インク組成物のいずれか1つ)で印刷した。次いでラベルを、使い捨てボトル、ボトルキャップ、使い捨てコーヒーカップ、カトラリー、シュリンクスリーブ、およびクラムシェル容器などの様々なプラスチック物体に添着した。
(実施例7)
強磁性ラベルをシュリンクスリーブフィルムに付着させる方法
別の実施例では、印刷速度が50~150メートル/分であるグラビア印刷プレスを使用して、ポリエチレンテレフタレート(PET)シュリンクスリーブフィルムを強磁性インク(例えば、実施例1~4に記述される強磁性インク組成物のいずれか1つ)と共に、美的目的の1~5層の非強磁性インク層に加えて印刷した。
(実施例8)
表面に配置された強磁性ラベルを有するプラスチック物体を選別する方法
実施例では、表面に配置された強磁性ラベルを有するプラスチック物体を、図5に示されるような商用の磁気分離器を使用して分離した。強磁性ラベルを含む28ミリメートル(mm)の「Alaska」ボトルキャップを、同一の、強磁性ラベルを含まない28mmの「Alaska」ボトルキャップと共に、コンベヤーベルト上に供給した。コンベヤーベルトは、磁石表面での磁場強度が11,500±500ガウスである磁気プーリーを備えていた。磁気プーリーは、強磁性ラベルを持つボトルキャップを内向きに引き付けることができ、一方、マークが付いていないボトルキャップ(即ち、強磁性ラベルを含まないボトルキャップ)は、コンベヤーベルトから投げ捨てられた。強磁性ラベルを含む28ミリメートル(mm)の「Alaska」ボトルキャップを、20回の流れ操作の過程で観察されるように平均分離効率90.6%で分離した。
(実施例9)
シミュレートされたガラス廃棄流中の、表面に配置された強磁性ラベルを有するプラスチック物体を、選別する方法
実施例では、強磁性ラベルを含む28ミリメートル(mm)の「Alaska」ボトルキャップを、図5に示されるように商用の磁気分離器を使用して、強磁性ラベルを含まない28ミリメートル(mm)の「Alaska」ボトルキャップと混合した。さらに、3mmのポリエチレンペレットを、約95:5の重量比でボトルキャップ(強磁性ラベルを持つものおよび持たないもの)と均一にさらに混合した。ペレットと、強磁性ラベルを持つおよび持たないボトルキャップとの混合物を、コンベヤーベルト上に加えて、商用のMRFで汚染されたリサイクルガラス流をシミュレートした(即ち、小さいプラスチック物体で汚染されたシミュレートガラス流)。強磁性ラベルを含む28ミリメートル(mm)の「Alaska」ボトルキャップを、20回の流れ操作の過程で観察されるように平均分離効率77.4%で分離した。
(実施例10)
負荷深さが1インチの、シミュレートされたガラス廃棄流中で、表面に配置された強磁性ラベルを有するプラスチック物体を選別する方法
実施例では、強磁性ラベルを含む28ミリメートル(mm)の「Alaska」ボトルキャップを、図5に示されるように商用の磁気分離器を使用して、強磁性ラベルを含まない28ミリメートル(mm)の「Alaska」ボトルキャップと混合した。さらに、3mmのポリエチレンペレットを、約95:5の重量比でボトルキャップ(強磁性ラベルを持つものおよび持たないもの)と均一にさらに混合した。ペレットと、強磁性ラベルを持つおよび持たないボトルキャップとの混合物を、コンベヤーベルト上に加えて、商用のMRFで汚染されたリサイクルガラス流をシミュレートした(即ち、小さいプラスチック物体で汚染されたシミュレートガラス流)。コンベヤーベルト上の材料の1インチの負荷深さを維持して、商用のMRFで観察される負荷深さをシミュレートした。強磁性ラベルを含む28ミリメートル(mm)の「Alaska」ボトルキャップを、20回の流れ操作の過程で観察されるように平均分離効率63.6%で分離した。
(実施例11)
強磁性インク組成物の安定性
実施例では、強磁性インク組成物の安定性研究を行った。複数の強磁性インク組成物試料を、40℃の温度で7日間にわたり保存した。安定性を評価するのに使用されるパラメーターは、強磁性インク組成物の粒子の沈降の観察であった。強磁性インク組成物試料の沈降は、定性的に判断した。強磁性インク組成物試料の沈降は、1から5までのスケールでランク付けされ、1は完全な沈降を示し、5は沈降がないことを示した。7日後、複数の強磁性インク組成物は、5にランク付けされた。複数の強磁性インク組成物試料を、40℃の温度でさらに2週間(合計3週間)保持した。試料を、3週間の終わりに評価し、5にランク付けしたが、これは沈降が観察されなかったことを示し、したがって強磁性インク組成物が安定であったことを示す。
(実施例12)
強磁性ラベルの熱転写
実施例では、強磁性インク組成物を含む強磁性ラベルの熱転写研究を行った。強磁性ラベルは、3層を、以下の順序:剥離層、強磁性インク組成物、および接着層の順で含んだ。強磁性層の3層を、その順序でポリエステルフィルム上に印刷した。次いで強磁性ラベルを含むポリエステルフィルムを、平らなプラスチック(即ち、表面に印刷されることになる所望のプラスチック物体と同じ材料)に対して約2秒間、約180℃の表面温度を有するホットプレートを使用して押圧した。ポリエステルフィルムおよび物体を、フィルムの転写に関して観察し、1~5のスケール上で定性的に判断したが、ここで5は、ポリエステルフィルムからプラスチック上への、残留物のない完全な転写を示し、1は、ポリエステルフィルムからのラベルの転写がないことを示した。強磁性ラベルを、転写後に評価し、5にランク付けしたが、これはポリエステルフィルムからプラスチック物体上への完全な転写が、フィルム表面にいかなるインクの残りもなく生じたことを示している。
(実施例13)
強磁性インク組成物の磁気強度
実施例では、強磁性インク組成物の磁気強度研究を行った。まず、強磁性顔料(FMP)を得、様々なFMP濃度を持つインク配合物を創出する。強磁性インク組成物を、本明細書の他の箇所に記述されるように、強磁性ラベルを創出するためにラベル上に堆積する。強磁性ラベルを、プラスチックの再度封止可能なバッグに付着させた(即ち、1つのプラスチックバッグ当たり、1つの強磁性ラベル)。表面に約7000ガウスの強度を持つバッキング磁石により持ち上げられた重さの量を測定する。強磁性ラベルを含むプラスチックバッグは、プラスチックバッグへの追加の重さによりおよびそのような重さなしに、磁気的に持ち上げることができる。例えば、追加の重さを持つプラスチックバッグが持ち上げられた場合、強磁性インク組成物は、増大した濃度のFMPまたは多層の強磁性インク組成物を含む。強磁性インク組成物の増大した数の層、または強磁性インク組成物中のFMPの増大した濃度は、強磁性ラベルの全体的な磁気強度およびその持ち上げる能力を増大させる。
(実施例14)
強磁性材料組成物
実施例では、強磁性インク組成物に使用される強磁性材料は、気体または水の噴霧化を使用して得られた、以下の材料組成(Fe=70~87%、Si=2~15%、Al=10~18%、またはFe=10~50%、Co=50~90%、Al=0~10%)を持つ鉄合金粉末である。粉末は、D90サイズ範囲が5~10ミクロンおよびD50サイズ範囲が1~6ミクロンの球状粒子を実現するために、ミリング技法を使用してさらに処理されてもよい。
(実施例15)
強磁性インク組成物#6
実施例では、強磁性顔料(電解鉄、アトマイズ化鉄、カルボニル鉄、または鉄合金の中から)2~10部を含んだ強磁性インク組成物を、酢酸エチルまたは酢酸n-プロピル55~65部、およびメチルエチルケトン10~15部に分散させた。ニトロセルロースまたはビニルをベースにした樹脂(ニトロセルロールポリウレタンまたはニトロセルロースアクリル酸樹脂)15~25部、ならびに湿潤および分散剤(アミンまたはカルボキシルをベースにした添加剤)0~2部、沈降防止添加剤(ヒュームドシリカ)0~2部、ワックス混合物(PE、PP、PTFE、およびアミドワックスの中から)0~2部を使用して、インク配合物を安定化させた。
(実施例16)
強磁性ラベルをプラスチック物体上に付着させる方法
実施例では、印刷速度が50~150メートル/分であるフレキソ印刷プレスを使用して、自己接着ラベルを、強磁性インク組成物(例えば、実施例1~4に記述される強磁性インク組成物のいずれか1つ)で印刷した。ラベル上への強磁性インクの印刷の厚さ/密度は、平方メートル当たり0.5から1.5グラムの間である。次いでラベルを、使い捨てボトル、ボトルキャップ、使い捨てコーヒーカップ、カトラリー、シュリンクスリーブ、およびクラムシェル容器などの様々なプラスチック物体に添着した。
(実施例17)
強磁性ラベルをシュリンクスリーブフィルムに付着させる方法
実施例では、印刷速度が50~150メートル/分であるグラビア印刷プレスを使用して、ポリエチレンテレフタレート(PET)シュリンクスリーブフィルムを強磁性インク(例えば、実施例1~5および15に記述される強磁性インク組成物のいずれか1つ)と共に、美的目的の1~5層の非強磁性インク層に加えて印刷した。ラベル上への強磁性インクの印刷の厚さ/密度は、平方メートル当たり0.5から1.5グラムの間である。次いでラベルを、使い捨てボトルなどの様々なプラスチック物体、消費財用の再使用可能なプラスチックボトル、およびアルミニウム缶に添着させた。
(実施例18)
表面に配置された強磁性ラベルを有するプラスチック物体を選別する方法
実施例では、表面に配置された強磁性ラベルを有するプラスチック物体を、図5に示される商用の磁気分離器を使用して分離した。シュリンクスリーブと共にプラスチックボトルは粉砕されて、コーンフレーク状のサイズの薄片になり、その後、磁気分離器に供給された。コンベヤーベルトは、磁石表面での磁場強度が7000±500ガウスである磁気プーリーを備えていた。磁気プーリーは、強磁性インクが表面に印刷されているシュリンクスリーブラベルの薄片を引き付けることができ、一方、ボトル/缶の非磁性、常磁性、または反磁性の薄片はコンベヤーベルトから投げ捨てられた。強磁性インク/コーティングを含むシュリンクスリーブラベルの薄片は、15回の流れ操作の過程で観察されるように、平均分離効率99.2%で分離された。
(実施例19)
表面に配置された強磁性ラベルを有するプラスチック物体を選別する方法
実施例では、表面に配置された強磁性ラベルを有するプラスチック物体を、図5に示されるような商用の磁気分離器を使用して分離した。シュリンクスリーブと共にプラスチックボトルを粉砕してコーンフレーク状の薄片にし、その後、磁気分離器に供給した。コンベヤーベルトは、磁石表面での磁場強度が5000±500ガウスの磁気プーリーを備えていた。磁気プーリーは、強磁性インクが表面に印刷されているシュリンクスリーブラベルの薄片を引き付けることができ、一方、ボトル/缶の非磁性、常磁性、または反磁性薄片は、コンベヤーベルトから投げ捨てられた。強磁性インク/コーティングを含むシュリンクスリーブラベル薄片を、15回の流れ操作の過程で観察されるように、平均分離効率96.1%で分離した。
(実施例20)
表面に配置された強磁性ラベルを有するプラスチック物体を選別する方法
実施例では、表面に配置された強磁性ラベルを有するプラスチック物体を、図5に示される商用の磁気分離器を使用して分離した。収縮スリーブと共にプラスチックボトルを粉砕して、コーンフレーク状のサイズの薄片にし、その後、磁気分離器に供給した。コンベヤーベルトは、磁石表面で磁場強度が3000±500ガウスである磁気プーリーを備えていた。磁気プーリーは、強磁性インクが表面に印刷されたシュリンクスリーブラベルの薄片を引き付けることができ、一方、ボトル/缶の非磁性、常磁性、または反磁性の薄片は、コンベヤーベルトから投げ捨てられた。強磁性インク/コーティングを含むシュリンクスリーブラベルの薄片を、15回の流れ操作の過程で観察されるように、平均分離効率90.8%で分離した。
(実施例21)
負荷深さが0.5インチである、シミュレートされたガラス廃棄流中の、表面に配置された強磁性ラベルを有するプラスチック物体を選別する方法
実施例では、表面に配置された強磁性ラベルを有するプラスチック物体を、図5に示される商用の磁気分離器を使用して分離した。シュリンクスリーブと一緒にプラスチックボトルを粉砕して、コーンフレーク状のサイズの薄片にし、その後、磁気分離器に供給した。コンベヤーベルト上の材料の0.5インチの負荷深さを維持して、商用のPET回収器で観察される最悪のケースの負荷深さをシミュレートした。コンベヤーベルトは、磁石表面の磁場強度が7000±500ガウスである磁気プーリーを備えていた。磁気プーリーは、強磁性インクが表面に印刷されているシュリンクスリーブラベルの薄片を引き付けることができ、一方、ボトル/缶の非磁性、常磁性、または反磁性の薄片は、コンベヤーベルトから投げ捨てられた。強磁性インク/コーティングを含むシュリンクスリーブラベルの薄片は、15回の流れ操作の過程で観察されるように、平均分離効率95.7%で分離した。
本発明の好ましい実施形態について図示しかつ本明細書で記述してきたが、そのような実施形態は単なる例として提供されることが、当業者に明らかにされよう。本発明は、本明細書内に提供された特定の例により限定されるものではない。本発明について、前述の明細書を参照しながら記述してきたが、本明細書の実施形態の記述および例示は、限定の意味で解釈されるものではない。数多くの変形例、変更例、および置換例が、ここで本発明から逸脱することなく当業者なら思い浮かべるであろう。さらに、本発明の全ての態様は、様々な条件および変数に依存する本明細書に記述される特定の描写、構成、または相対的な割合に限定されないことが理解されるべきである。本明細書に記述される本発明の実施形態の様々な代替例は、本発明を実施する際に用いられ得ることを理解すべきである。したがって本発明は、任意のそのような代替例、改質例、変形例、または均等物も包含するものであることが企図される。下記の特許請求の範囲は本発明の範囲を定め、これらの特許請求の範囲およびそれらの均等物の範囲内の方法および構造は、それによって包含されるものとする。
特定の実施形態では、例えば以下の項目が提供される。
(項目1)
ポリマー材料、または非磁性、常磁性、もしくは反磁性金属物体と、
強磁性材料を含むフィルムまたはインクと
を含む基材であって、
前記フィルムまたは前記インクが食品接触物質であり、
前記フィルムまたは前記インクの前記強磁性材料が、前記基材の表面に堆積され、
前記強磁性材料は、透明もしくは半透明な磁化可能なコーティングもしくはマーカーであり、または前記フィルムが透明もしくは半透明なラベルである、基材。
(項目2)
前記インクが、樹脂、沈降防止添加剤、湿潤剤、または分散剤をさらに含む、項目1に記載の基材。
(項目3)
前記透明または半透明なラベルと、前記透明または半透明な磁化可能なコーティングまたはマーカーとが、可視光または近赤外光(NIR)に対して透明または半透明である、項目1または2のいずれか一項に記載の基材。
(項目4)
前記強磁性材料を含む前記透明または半透明なラベルが、前記強磁性材料を含まない対応する透明または半透明なラベルのヘイズ値と比較して、9%未満のばらつきを持つヘイズ値を有し、
前記ヘイズ値は、ASTM D1003-13により測定されたときの、前記フィルムを通過したときに拡散したまたは散乱した光の量である、
項目1から3のいずれか一項に記載の基材。
(項目5)
前記強磁性材料を含む前記透明または半透明なラベルが、前記強磁性材料を含まない対応する透明または半透明なラベルのヘイズ値と比較して、5%未満のばらつきを持つヘイズ値を有し、
前記ヘイズ値は、ASTM D1003-13により測定されたときの、前記フィルムを通過したときに拡散したまたは散乱した光の量である、
項目1から3のいずれか一項に記載の基材。
(項目6)
前記強磁性材料を含む前記透明または半透明なラベルの全ヘイズ値が、ASTM D1003-13により測定されたときに17%未満である、項目1から5のいずれか一項に記載の基材。
(項目7)
前記強磁性材料を含む前記透明または半透明なラベルの全ヘイズ値が、ASTM D1003-13により測定されたときに12%未満である、項目1から5のいずれか一項に記載の基材。
(項目8)
前記強磁性材料を含む前記透明または半透明なラベルの全可視透過率値が、82%よりも大きい、項目1から7のいずれか一項に記載の基材。
(項目9)
前記強磁性材料を含む前記透明または半透明なラベルの全可視透過率値が、90%よりも大きい、項目1から7のいずれか一項に記載の基材。
(項目10)
前記強磁性材料を含む前記透明または半透明なラベルの全NIR透過率値が、87%よりも大きい、項目1から9のいずれか一項に記載の基材。
(項目11)
前記強磁性材料を含む前記透明または半透明なラベルの全NIR透過率値が、90%よりも大きい、項目1から9のいずれか一項に記載の基材。
(項目12)
前記強磁性材料が、前記インクの重量の20%未満を構成する、項目1から11のいずれか一項に記載の基材。
(項目13)
前記強磁性材料が、前記インクの重量の0.1%から20%を構成する、項目1から11のいずれか一項に記載の基材。
(項目14)
前記強磁性材料が、前記インクの重量の0.1%から20%未満を構成する、項目1から11のいずれか一項に記載の基材。
(項目15)
前記強磁性材料が、強磁性粒子を含む、項目1から14のいずれか一項に記載の基材。
(項目16)
前記強磁性粒子が、D90サイズが約2から約20ミクロンであり、かつD50サイズが約1から約10ミクロンであるサイズ分布を有する、項目1から15のいずれか一項に記載の基材。
(項目17)
前記強磁性粒子が、D90サイズが約5から約10ミクロンであるサイズ分布を有する、項目1から15のいずれか一項に記載の基材。
(項目18)
前記強磁性粒子が球状である、項目1から17のいずれか一項に記載の基材。
(項目19)
前記ポリマー材料、または前記非磁性、常磁性、もしくは反磁性金属物体が、使い捨てボトル、ボトルキャップ、使い捨てコーヒーカップ、プラスチックのカトラリー、食器、刃物用具、プラスチックのトレー、プラスチック容器、食品包装容器、またはこれらの任意の組合せである、項目1から18のいずれか一項に記載の基材。
(項目20)
前記ポリマー材料、または前記非磁性、常磁性、もしくは反磁性金属物体が、アルミニウム缶である、項目1から18のいずれか一項に記載の基材。
(項目21)
前記フィルムが、シュリンクスリーブラベル、感圧ラベル、ロール紙ラベル、ラップラベル、伸縮ラベル、切断積層ラベル、収縮括束フィルム、またはこれらの任意の組合せである、項目1から20のいずれか一項に記載の基材。
(項目22)
前記フィルムが複数の薄片を含む、項目1から21のいずれか一項に記載の基材。
(項目23)
前記強磁性材料が、前記基材の前記表面上に直接印刷される、項目1から22のいずれか一項に記載の基材。
(項目24)
前記強磁性材料が、前記強磁性材料の透磁率が増大するように、磁場の存在下で前記基材の前記表面に直接堆積される、項目1から23のいずれか一項に記載の基材。
(項目25)
前記強磁性材料の質量が、前記基材の全質量の6%未満である、項目1から24のいずれか一項に記載の基材。
(項目26)
前記強磁性材料の質量が、前記基材の全質量の約0.05%から2%に及ぶ、項目1から24のいずれか一項に記載の基材。
(項目27)
前記強磁性材料の重量が、前記フィルムの全重量の約0.05%から2%に及ぶ、項目1から24のいずれか一項に記載の基材。
(項目28)
前記シュリンクスリーブラベルが、前記強磁性材料を含まない対応するシュリンクスリーブラベルと比較して、非拘束収縮率に約5%未満の差を含む、項目1から27のいずれか一項に記載の基材。
(項目29)
前記基材またはフィルムまたはインクが、前記磁場に曝露されると一時的に磁化される、項目1から28のいずれか一項に記載の基材。
(項目30)
前記基材またはフィルムまたはインクが、一時的に磁化されたとき、複数の前記非磁性、常磁性、または反磁性金属物体から分離される、項目1から29のいずれか一項に記載の基材。
(項目31)
前記フィルムまたはインクが、一時的に磁化されたとき、前記ポリマー材料、または前記非磁性、常磁性、もしくは反磁性金属物体から分離される、項目1から30のいずれか一項に記載の基材。
(項目32)
前記磁場が、少なくとも約1,000ガウス(G)の磁場強度を有する、項目1から31のいずれか一項に記載の基材。
(項目33)
前記磁場が、最大で約1,000ガウス(G)の磁場強度を有する、項目1から31のいずれか一項に記載の基材。
(項目34)
前記磁場が、磁気分離デバイスによって生成される、項目1から33のいずれか一項に記載の基材。
(項目35)
前記磁気分離デバイスが、手持ち式磁石、商用のドラム型分離器、オーバーバンド磁気分離器、磁気ヘッドプーリー、またはこれらの任意の組合せである、項目1から34のいずれか一項に記載の基材。
(項目36)
前記磁気分離デバイスが、少なくとも約50%の分離回収率を有する、項目1から35のいずれか一項に記載の基材。
(項目37)
前記磁気分離デバイスが、少なくとも約80%の分離回収率を有する、項目1から36のいずれか一項に記載の基材。
(項目38)
前記強磁性材料が、前記フィルム上に印刷される、項目1から37のいずれか一項に記載の基材。
(項目39)
前記強磁性材料が、前記インクの重量の少なくとも20%を構成する、項目1から38のいずれか一項に記載の基材。
(項目40)
前記強磁性材料が、摂取可能な強磁性顔料である、項目1から39のいずれか一項に記載の基材。
(項目41)
前記強磁性材料が、混じり物のない鉄粉、カルボニル鉄、カルボニルコバルト、カルボニルニッケル、鉄合金、酸化鉄、低炭素鋼グレード、ニッケル、コバルト、フェライト系ステンレス鋼、アトマイズ化ステンレス鋼、またはこれらの任意の組合せである、項目1から40のいずれか一項に記載の基材。
(項目42)
前記混じり物のない鉄粉が、最小純度98%の電解鉄、アトマイズ化鉄、カルボニル鉄、または還元鉄である、項目1から41のいずれか一項に記載の基材。
(項目43)
前記鉄合金が、コバルト、バナジウム、マンガン、モリブデン、ケイ素、ニッケル、ホウ素、アルミニウム、銅、またはこれらの任意の組合せを含む、項目1から42のいずれか一項に記載の基材。
(項目44)
前記酸化鉄が、酸化鉄(III)または酸化鉄(II,III)である、項目1から43のいずれか一項に記載の基材。
(項目45)
前記フェライト系ステンレス鋼が、Crを17~30%、およびMoを0~5%含有する、項目1から44のいずれか一項に記載の基材。
(項目46)
前記フェライト系ステンレス鋼が、Crを17~30%、Moを0~2.5%、およびTiを0~1%含有する、項目1から44のいずれか一項に記載の基材。
(項目47)
前記低炭素鋼または軟鋼が、0.12%未満のCを含有する、項目1から44のいずれか一項に記載の基材。
(項目48)
前記鉄合金が、Feを70~98%、Siを2~30%、および0~10%のBを含む、項目1から44のいずれか一項に記載の基材。
(項目49)
前記鉄合金が、Feを70~87%、Siを2~15%、およびAlを10~18%含む、項目1から44のいずれか一項に記載の基材。
(項目50)
前記鉄合金が、Feを10~90%、およびCoを10~90%含む、項目1から44のいずれか一項に記載の基材。
(項目51)
前記鉄合金が、Feを10~50%、Coを50~90%、およびAlを1~10%含む、項目1から44のいずれか一項に記載の基材。
(項目52)
前記鉄合金が、Feを10~50%、およびNiを50~90%含む、項目1から44のいずれか一項に記載の基材。
(項目53)
前記鉄合金が、Feを8~50%、Niを50~90%、およびMoを1~10%含む、項目1から44のいずれか一項に記載の基材。
(項目54)
前記鉄合金が、Feを60~90%、Cuを10~15%、およびSiを15~25%含む、項目1から44のいずれか一項に記載の基材。
(項目55)
前記樹脂が、前記インクの重量の少なくとも5%を構成する、項目1から54のいずれか一項に記載の基材。
(項目56)
前記樹脂が、塩化ビニル酢酸ビニルコポリマー、ニトロセルロース、ポリウレタン、ケトンアルデヒドポリマー、アルコール可溶性ポリアミド、共溶媒ポリアミド、マレイン酸樹脂、エステルガム樹脂、アクリル酸樹脂、セルロースアセテートブチレート樹脂、セルロースアセテートプロピオネート、非晶質ポリエステル樹脂、塩素化ゴム、エチルビニルアセテート樹脂、またはこれらの任意の組合せである、項目1から55のいずれか一項に記載の基材。
(項目57)
前記湿潤または前記分散剤が、Solsperse 8000、Solsperse 8200、Solsperse 2000、Solsperse 24000、Solsperse 17000、Disperbyk 108、Disperbyk 2155、Disperbyk 9077、WA5013、98C、BYK 111、またはこれらの任意の組合せである、項目1から56のいずれか一項に記載の基材。
(項目58)
前記インクが、少なくとも1種の溶媒をさらに含み、前記溶媒が、前記インクの重量の少なくとも25%を構成する、項目1から57のいずれか一項に記載の基材。
(項目59)
前記溶媒が、メタノール、エタノール、n-プロパノール、イソプロピルアルコール、酢酸エチル、酢酸n-プロピル、酢酸イソプロピル、酢酸n-ブチル、トルエン、メチルエチルケトン、アセトン、またはこれらの任意の組合せである、項目1から58のいずれか一項に記載の基材。
(項目60)
前記インクが、約1/80から6/1に及ぶ強磁性材料/樹脂比を含む、項目1から59のいずれか一項に記載の基材。
(項目61)
前記インクが、約1/10から3/1に及ぶ強磁性材料/樹脂比を含む、項目1から59のいずれか一項に記載の基材。
(項目62)
前記インクが、約1/5から2/1に及ぶ強磁性材料/樹脂比を含む、項目1から59のいずれか一項に記載の基材。
(項目63)
前記沈降防止添加剤が、ヒュームドシリカ、ポリアミド誘導体、ワックス、またはこれらの任意の組合せである、項目1から62のいずれか一項に記載の基材。
(項目64)
前記インクの全成分が、間接食品添加物である、項目1から63のいずれか一項に記載の基材。
(項目65)
前記間接食品添加物が、一般に安全と見なされている(GRAS)物質である、項目1から64のいずれか一項に記載の基材。
(項目66)
前記間接食品添加物が、連邦規則集第21巻により列挙されるような、FDAで認可された食品添加物である、項目1から64のいずれか一項に記載の基材。
(項目67)
前記インクが、少なくとも1つの層に堆積される、項目1から66のいずれか一項に記載の基材。
(項目68)
前記フィルムが、多層フィルムまたは共押出しフィルムである、項目1から67のいずれか一項に記載の基材。
(項目69)
前記多層フィルムまたは前記共押出しフィルムが、少なくとも2層のフィルムを含む、項目1から68のいずれか一項に記載の基材。
(項目70)
前記多層フィルムまたは前記共押出しフィルムが、少なくとも約3層のフィルムから最大で約12層のフィルムを含む、項目1から68のいずれか一項に記載の基材。
(項目71)
前記フィルムがポリマーフィルムである、項目1から70のいずれか一項に記載の基材。
(項目72)
前記ポリマーフィルムが、ポリエチレン(PE)フィルム、高密度ポリエチレン(HDPE)フィルム、低密度ポリエチレン(LDPE)フィルム、直鎖状低密度ポリエチレン(LLDPE)フィルム、配向ポリプロピレン(OPP)フィルム、二軸配向ポリプロピレン(BOPP)フィルム、配向ポリスチレン(OPS)フィルム、エチレン-ビニルアルコール(EVOH)フィルム、ポリアミド(NylonまたはPA)フィルム、アイオノマーフィルム、エチレンビニルアセテート(EVA)フィルム、グリコシル化ポリエチレンテレフタレート(PETG)、ポリプロピレン(PP)、ポリ塩化ビニル(PVC)、またはこれらの任意の組合せである、項目1から71のいずれか一項に記載の基材。
(項目73)
前記アイオノマーフィルムが、エチレンアクリル酸コポリマー(EAA)またはエチレン(メタ)アクリル酸コポリマー(EMAA)である、項目1から72のいずれか一項に記載の基材。
(項目74)
前記インクが、フレキソ印刷、グラビア印刷、凹版印刷、パッド印刷、スクリーン印刷、オフセット印刷、またはこれらの任意の組合せに適している、項目1から73のいずれか一項に記載の基材。
(項目75)
前記ポリマー材料が、ポリエチレンテレフタレート(PET)、ポリエステル、ポリエチレン(PE)、ポリカーボネート(PC)、ポリスチレン(PS)、ポリ塩化ビニル(PVC)、ポストコンシューマー樹脂(PCR)、スチレンブタジエンコポリマー(SBC)、高密度ポリエチレン(HDPE)、フッ素処理済みHDPE、低密度ポリエチレン(LDPE)、直鎖状低密度ポリエチレン(LLDPE)、ポリプロピレン(PP)、バイオプラスチック、ビスフェノールA(BPA)、エチレン-ビニルアルコール(EVOH)、ポリアミド(NylonまたはPA)、アイオノマー、エチレンビニルアセテート(EVA)、またはこれらの任意の組合せである、項目1から74のいずれか一項に記載の基材。
(項目76)
前記基材の前記表面の前記インクの密度が、平方メートル当たり6グラム未満である、項目1から75のいずれか一項に記載の基材。
(項目77)
前記基材の前記表面の前記インクの密度が、平方メートル当たり0.5から3グラムの間である、項目1から75のいずれか一項に記載の基材。
(項目78)
前記基材の前記表面の前記インクの密度が、平方メートル当たり0.5から2グラムの間である、項目1から75のいずれか一項に記載の基材。
(項目79)
前記フィルムが前記透明なラベルであり、または前記強磁性材料が、前記透明な磁化可能なコーティングもしくはマーカーである、項目1から78のいずれか一項に記載の基材。
(項目80)
強磁性基材を製作する方法であって、
a)強磁性インクを、フィルムの表面に印刷すること、および
b)前記フィルムを、非強磁性基材の表面上に転写して、前記強磁性基材を生成することを含み、
前記強磁性インクが食品接触物質であり、および
前記フィルムが透明または半透明なラベルである
方法。
(項目81)
前記強磁性インクが、強磁性材料、樹脂、沈降防止添加剤、湿潤剤、または分散剤を含む、項目80に記載の方法。
(項目82)
前記フィルムの前記表面への前記強磁性インクの前記印刷が、磁化可能なコーティングまたはマーカーを生成する、項目80または81のいずれか一項に記載の方法。
(項目83)
前記磁化可能なコーティングまたはマーカーが、透明または半透明な磁化可能なコーティングまたはマーカーである、項目80から82のいずれか一項に記載の方法。
(項目84)
前記透明または半透明なラベル、および前記透明または半透明な磁化可能なコーティングまたはマーカーが、可視光または近赤外光(NIR)に対して透明または半透明である、項目80から83のいずれか一項に記載の方法。
(項目85)
前記強磁性インクで印刷された後の前記透明または半透明なラベルが、前記強磁性インクで印刷される前の対応する透明または半透明なラベルのヘイズ値と比較したときに、9%未満のばらつきを持つヘイズ値を有し、
前記ヘイズ値は、ASTM D1003-13により測定されたときの、前記フィルムを通過するときに拡散したまたは散乱した光の量である、
項目80から84のいずれか一項に記載の方法。
(項目86)
前記強磁性インクで印刷された後の前記透明または半透明なラベルが、前記強磁性インクで印刷される前の対応する透明または半透明なラベルのヘイズ値と比較したときに、5%未満のばらつきを持つヘイズ値を有し、
前記ヘイズ値は、ASTM D1003-13により測定されたときの、前記フィルムを通過するときに拡散したまたは散乱した光の量である、
項目80から84のいずれか一項に記載の方法。
(項目87)
前記強磁性インクで印刷された前記透明または半透明なラベルの全ヘイズ値が、ASTM D1003-13により測定されるように、17%未満である、項目80から86のいずれか一項に記載の方法。
(項目88)
前記強磁性インクで印刷された前記透明または半透明なラベルの全ヘイズ値が、ASTM D1003-13により測定されるように、12%未満である、項目80から86のいずれか一項に記載の方法。
(項目89)
前記強磁性インクで印刷された前記透明または半透明なラベルの全可視透過率値が、82%よりも大きい、項目80から88のいずれか一項に記載の方法。
(項目90)
前記強磁性インクで印刷された前記透明または半透明なラベルの全可視透過率値が、90%よりも大きい、項目80から88のいずれか一項に記載の方法。
(項目91)
前記強磁性インクで印刷された前記透明または半透明なラベルの全NIR透過率値が、87%よりも大きい、項目80から90のいずれか一項に記載の方法。
(項目92)
前記強磁性インクで印刷された前記透明または半透明なラベルの全NIR透過率値が、90%よりも大きい、項目80から90のいずれか一項に記載の方法。
(項目93)
前記強磁性材料が、前記強磁性インクの重量の20%未満を構成する、項目80から92のいずれか一項に記載の方法。
(項目94)
前記強磁性材料が、前記強磁性インクの重量の0.1%から20%を構成する、項目80から92のいずれか一項に記載の方法。
(項目95)
前記強磁性材料が、前記強磁性インクの重量の0.1%から20%未満を構成する、項目80から92のいずれか一項に記載の方法。
(項目96)
前記強磁性材料が強磁性粒子を含む、項目80から95のいずれか一項に記載の方法。
(項目97)
前記強磁性粒子が、D90サイズが約2から約20ミクロンであり、かつD50サイズが約1から約10ミクロンであるサイズ分布を有する、項目80から96のいずれか一項に記載の方法。
(項目98)
前記強磁性粒子が、D90サイズが約5から約10ミクロンであるサイズ分布を有する、項目80から96のいずれか一項に記載の方法。
(項目99)
前記強磁性粒子が球状である、項目80から98のいずれか一項に記載の方法。
(項目100)
前記方法が、フレキソ印刷、グラビア印刷、凹版印刷、パッド印刷、スクリーン印刷、オフセット印刷、またはこれらの任意の組合せを含む、項目80から99のいずれか一項に記載の方法。
(項目101)
前記基材が、非磁性、常磁性、または反磁性金属物体、使い捨てボトル、ボトルキャップ、使い捨てコーヒーカップ、プラスチックのカトラリー、食器、刃物用具、プラスチックのトレー、プラスチック容器、食品包装容器、またはこれらの任意の組合せである、項目80から100のいずれか一項に記載の方法。
(項目102)
前記基材がアルミニウム缶である、項目80から100のいずれか一項に記載の方法。
(項目103)
前記フィルムが、シュリンクスリーブラベル、感圧ラベル、ロール紙ラベル、ラップラベル、伸縮ラベル、切断積層ラベル、収縮括束フィルム、またはこれらの任意の組合せである、項目80から102のいずれか一項に記載の方法。
(項目104)
前記フィルムが複数の薄片を含む、項目80から103のいずれか一項に記載の方法。
(項目105)
前記強磁性材料の質量が、前記基材の全質量の6%未満である、項目80から104のいずれか一項に記載の方法。
(項目106)
前記強磁性インクの重量が、前記強磁性基材の全重量の約0.05%から2%に及ぶ、項目80から104のいずれか一項に記載の方法。
(項目107)
前記強磁性インクの重量が、前記フィルムの全重量の約0.05%から2%に及ぶ、項目80から104のいずれか一項に記載の方法。
(項目108)
前記シュリンクスリーブラベルが、前記強磁性材料を含まない対応するシュリンクスリーブラベルと比較したときに、非拘束収縮率に約5%未満の差を含む、項目80から107のいずれか一項に記載の方法。
(項目109)
前記強磁性基材またはフィルムまたはインクが、磁場に曝露されると一時的に磁化される、項目80から108のいずれか一項に記載の方法。
(項目110)
前記強磁性基材またはフィルムまたはインクが、一時的に磁化されたときに、複数の前記非磁性、常磁性、または反磁性金属物体から分離される、項目80から109のいずれか一項に記載の方法。
(項目111)
前記フィルムが、一時的に磁化されたときに、前記強磁性基材から分離される、項目80から110のいずれか一項に記載の方法。
(項目112)
前記磁場が、少なくとも約1,000ガウス(G)の磁場強度を有する、項目80から111のいずれか一項に記載の方法。
(項目113)
前記磁場が、最大で約1,000ガウス(G)の磁場強度を有する、項目80から111のいずれか一項に記載の方法。
(項目114)
前記磁場が、磁気分離デバイスにより生成される、項目80から113のいずれか一項に記載の方法。
(項目115)
前記磁気分離デバイスが、手持ち式磁石、商用のドラム型分離器、オーバーバンド磁気分離器、磁気ヘッドプーリー、またはこれらの任意の組合せである、項目80から114のいずれか一項に記載の方法。
(項目116)
前記磁気分離デバイスが、少なくとも約50%の分離回収率を有する、項目80から115のいずれか一項に記載の方法。
(項目117)
前記磁気分離デバイスが、少なくとも約80%の分離回収率を有する、項目80から115のいずれか一項に記載の方法。
(項目118)
前記強磁性材料が、前記強磁性インクの重量の少なくとも20%を構成する、項目80から117のいずれか一項に記載の方法。
(項目119)
前記強磁性材料が、摂取可能な強磁性顔料である、項目80から118のいずれか一項に記載の方法。
(項目120)
前記強磁性材料が、混じり物のない鉄粉、カルボニル鉄、カルボニルコバルト、カルボニルニッケル、鉄合金、酸化鉄、低炭素鋼グレード、ニッケル、コバルト、フェライト系ステンレス鋼、アトマイズ化ステンレス鋼、またはこれらの任意の組合せである、項目80から119のいずれか一項に記載の方法。
(項目121)
前記混じり物のない鉄粉が、電解鉄、アトマイズ化鉄、カルボニル鉄、または還元鉄であって、最小純度が98%であるものである、項目80から120のいずれか一項に記載の方法。
(項目122)
前記鉄合金が、コバルト、バナジウム、マンガン、モリブデン、ケイ素、ニッケル、ホウ素、アルミニウム、銅、またはこれらの任意の組合せを含む、項目80から121のいずれか一項に記載の方法。
(項目123)
前記酸化鉄が、酸化鉄(III)または酸化鉄(II,III)である、項目80から122のいずれか一項に記載の方法。
(項目124)
前記フェライト系ステンレス鋼が、Crを17~30%およびMoを0~5%含有する、項目80から123のいずれか一項に記載の方法。
(項目125)
前記フェライト系ステンレス鋼が、Crを17~30%、Moを0~2.5%、およびTiを0~1%含有する、項目80から123のいずれか一項に記載の方法。
(項目126)
前記低炭素鋼または軟鋼が、0.12%未満のCを含有する、項目80から123のいずれか一項に記載の方法。
(項目127)
前記鉄合金が、Feを70~98%、Siを2~30%、および0~10%のBを含む、項目80から123のいずれか一項に記載の方法。
(項目128)
前記鉄合金が、Feを70~87%、Siを2~15%、およびAlを10~18%含む、項目80から123のいずれか一項に記載の方法。
(項目129)
前記鉄合金が、Feを10~90%およびCoを10~90%含む、項目80から123のいずれか一項に記載の方法。
(項目130)
前記鉄合金が、Feを10~50%、Coを50~90%、およびAlを1-10%含む、項目80から123のいずれか一項に記載の方法。
(項目131)
前記鉄合金が、Feを10~50%およびNiを50~90%含む、項目80から123のいずれか一項に記載の方法。
(項目132)
前記鉄合金が、Feを8~50%、Niを50~90%、およびMoを1~10%含む、項目80から123のいずれか一項に記載の方法。
(項目133)
前記鉄合金が、Feを60~90%、Cuを10~15%、およびSiを15~25%含む、項目80~123のいずれか一項に記載の方法。
(項目134)
前記樹脂が、前記強磁性インクの重量の少なくとも5%を構成する、項目80から133のいずれか一項に記載の方法。
(項目135)
前記樹脂が、塩化ビニル酢酸ビニルコポリマー、ニトロセルロース、ポリウレタン、ケトンアルデヒドポリマー、アルコール可溶性ポリアミド、共溶媒ポリアミド、マレイン酸樹脂、エステルガム樹脂、アクリル酸樹脂、セルロースアセテートブチレート樹脂、セルロースアセテートプロピオネート、非晶質ポリエステル樹脂、塩素化ゴム、エチルビニルアセテート樹脂、またはこれらの任意の組合せである、項目80から134のいずれか一項に記載の方法。
(項目136)
前記湿潤または前記分散剤が、Solsperse 8000、Solsperse 8200、Solsperse 2000、Solsperse 24000、Solsperse 17000、Disperbyk 108、Disperbyk 2155、Disperbyk 9077、WA5013、98C、BYK 111、またはこれらの任意の組合せである、項目80から135のいずれか一項に記載の方法。
(項目137)
前記強磁性インクが少なくとも1種の溶媒をさらに含み、前記溶媒が、前記強磁性インクの重量の少なくとも25%を構成する、項目80から136のいずれか一項に記載の方法。
(項目138)
前記溶媒が、メタノール、エタノール、n-プロパノール、イソプロピルアルコール、酢酸エチル、酢酸n-プロピル、酢酸イソプロピル、酢酸n-ブチル、トルエン、メチルエチルケトン、アセトン、またはこれらの任意の組合せである、項目80から137のいずれか一項に記載の方法。
(項目139)
前記強磁性インクが、約1/80から6/1に及ぶ強磁性材料/樹脂比を含む、項目80から138のいずれか一項に記載の方法。
(項目140)
前記強磁性インクが、約1/10から3/1に及ぶ強磁性材料/樹脂比を含む、項目80から138のいずれか一項に記載の方法。
(項目141)
前記強磁性インクが、約1/5から2/1に及ぶ強磁性材料/樹脂比を含む、項目80から138のいずれか一項に記載の方法。
(項目142)
前記沈降防止添加剤が、ヒュームドシリカ、ポリアミド誘導体、ワックス、またはこれらの任意の組合せである、項目80から138のいずれか一項に記載の方法。
(項目143)
前記強磁性インクの全成分が、間接食品添加物である、項目80から142のいずれか一項に記載の方法。
(項目144)
前記間接食品添加物が、一般に安全と見なされている(GRAS)物質である、項目80から143のいずれか一項に記載の方法。
(項目145)
前記間接食品添加物が、連邦規則集第21巻に列挙されるような、FDAで認可された食品添加物である、項目80から143のいずれか一項に記載の方法。
(項目146)
前記強磁性インクが、少なくとも1つの層に堆積される、項目80から145のいずれか一項に記載の方法。
(項目147)
前記フィルムが、多層フィルムまたは共押出しフィルムである、項目80から146のいずれか一項に記載の方法。
(項目148)
前記多層フィルムまたは前記共押出しフィルムが、少なくとも2層のフィルムを含む、項目80から147のいずれか一項に記載の方法。
(項目149)
前記多層フィルムまたは前記共押出しフィルムが、少なくとも約3層のフィルムから最大で約12層のフィルムを含む、項目80から147のいずれか一項に記載の方法。
(項目150)
前記フィルムがポリマーフィルムである、項目80から149のいずれか一項に記載の方法。
(項目151)
前記ポリマーフィルムが、ポリエチレン(PE)フィルム、高密度ポリエチレン(HDPE)フィルム、低密度ポリエチレン(LDPE)フィルム、直鎖状低密度ポリエチレン(LLDPE)フィルム、配向ポリプロピレン(OPP)フィルム、二軸配向ポリプロピレン(BOPP)フィルム、配向ポリスチレン(OPS)フィルム、エチレン-ビニルアルコール(EVOH)フィルム、ポリアミド(NylonまたはPA)フィルム、アイオノマーフィルム、エチレンビニルアセテート(EVA)フィルム、グリコシル化ポリエチレンテレフタレート(PETG)、ポリプロピレン(PP)、ポリ塩化ビニル(PVC)、またはこれらの任意の組合せである、項目80から150のいずれか一項に記載の方法。
(項目152)
前記アイオノマーフィルムが、エチレンアクリル酸コポリマー(EAA)またはエチレン(メタ)アクリル酸コポリマー(EMAA)である、項目80から151のいずれか一項に記載の方法。
(項目153)
前記基材がポリマー材料を含む、項目80から152のいずれか一項に記載の方法。
(項目154)
前記ポリマー材料が、ポリエチレンテレフタレート(PET)、ポリエステル、ポリエチレン(PE)、ポリカーボネート(PC)、ポリスチレン(PS)、ポリ塩化ビニル(PVC)、ポストコンシューマー樹脂(PCR)、スチレンブタジエンコポリマー(SBC)、高密度ポリエチレン(HDPE)、フッ素処理済みHDPE、低密度ポリエチレン(LDPE)、直鎖状低密度ポリエチレン(LLDPE)、ポリプロピレン(PP)、バイオプラスチック、ビスフェノールA(BPA)、エチレン-ビニルアルコール(EVOH)、ポリアミド(NylonまたはPA)、アイオノマー、エチレンビニルアセテート(EVA)、またはこれらの任意の組合せである、項目80から153のいずれか一項に記載の方法。
(項目155)
前記基材の前記表面の前記強磁性インクの密度が、平方メートル当たり6グラム未満である、項目80から154のいずれか一項に記載の方法。
(項目156)
前記基材の前記表面の前記強磁性インクの密度が、平方メートル当たり0.5から3グラムの間である、項目80から154のいずれか一項に記載の方法。
(項目157)
前記基材の前記表面の前記強磁性インクの密度が、平方メートル当たり0.5から2グラムの間である、項目80から154のいずれか一項に記載の方法。
(項目158)
前記強磁性粒子が、磁気特性が改善されるように処理されまたは改質される、項目80から157のいずれか一項に記載の方法。
(項目159)
前記磁気特性が、磁気飽和、透磁率、またはこれらの組合せである、項目80から158のいずれか一項に記載の方法。
(項目160)
前記強磁性粒子が、ボールミルまたは遊星ボールミルを使用する物理的処理および粉砕によって改質され、それによって、項目80から159のいずれか一項に記載の粒度およびモルホロジーが得られる、項目80から159のいずれか一項に記載の方法。
(項目161)
前記物理的処理が、ミリングを含む、項目80から160のいずれか一項に記載の方法。
(項目162)
前記強磁性粒子が、還元、不活性、または真空雰囲気条件を使用する、少なくとも500℃かつ最高で1300℃の温度での磁気粉末の熱処理により改質され、それによって前記粉末中の不純物が低減される、項目80から161のいずれか一項に記載の方法。
(項目163)
前記強磁性粒子が、前記熱処理中に前記磁場を使用することによって改質され、それによって、前記強磁性粒子の結晶構造および前記磁気特性がさらに改善される、項目80から162のいずれか一項に記載の方法。
(項目164)
前記強磁性粒子が、特殊な技法を使用することにより改質され、それによって、前記粉末の高温処理中に典型的に観察される前記粉末の焼結が回避される、項目80から163のいずれか一項に記載の方法。
(項目165)
前記特殊な技法が、流動床での熱処理を含む、項目80から164のいずれか一項に記載の方法。
(項目166)
前記強磁性粒子が、項目158から165に記載の前記技法の組合せによって改質される、項目80から165のいずれか一項に記載の方法。
(項目167)
前記フィルムが前記透明なラベルである、項目80から166のいずれか一項に記載の方法。
(項目168)
強磁性材料を含むフィルムを含む強磁性材料フィルムであって、
前記フィルムが食品接触物質であり、および
前記フィルムが透明もしくは半透明なラベルであるか、または前記強磁性材料が、透明もしくは半透明な磁化可能なコーティングもしくはマーカーである、
強磁性材料フィルム。
(項目169)
前記強磁性材料フィルムが強磁性インクを含み、前記強磁性インクが、前記強磁性材料、樹脂、沈降防止添加剤、湿潤剤、または分散剤を含む、項目168に記載の強磁性材料フィルム。
(項目170)
前記透明または半透明なラベル、および前記透明または半透明な磁化可能なコーティングまたはマーカーが、可視光または近赤外光(NIR)に対して透明または半透明である、項目168または169のいずれか一項に記載の強磁性材料フィルム。
(項目171)
前記強磁性材料を含む前記透明または半透明なラベルが、前記強磁性材料を含まない対応する透明または半透明なラベルのヘイズ値と比較して、9%未満のばらつきを持つヘイズ値を有し、
前記ヘイズ値は、ASTM D1003-13により測定されたときの前記フィルムを通過したときに拡散したまたは散乱した光の量である、
項目168から170のいずれか一項に記載の強磁性材料フィルム。
(項目172)
前記強磁性材料を含む前記透明または半透明なラベルが、前記強磁性材料を含まない対応する透明または半透明なラベルのヘイズ値と比較して、5%未満のばらつきを持つヘイズ値を有し、
前記ヘイズ値は、ASTM D1003-13により測定されたときの、前記フィルムを通過したときに拡散したまたは散乱した光の量である、
項目168から170のいずれか一項に記載の強磁性材料フィルム。
(項目173)
前記強磁性材料を含む前記透明または半透明なラベルの全ヘイズ値が、ASTM D1003-13により測定されたときに17%未満である、項目168から172のいずれか一項に記載の強磁性材料フィルム。
(項目174)
前記強磁性材料を含む前記透明または半透明なラベルの全ヘイズ値が、ASTM D1003-13により測定されたときに12%未満である、項目168から172のいずれか一項に記載の強磁性材料フィルム。
(項目175)
前記強磁性材料を含む前記透明または半透明なラベルの全可視透過率値が、82%よりも大きい、項目168から174のいずれか一項に記載の強磁性材料フィルム。
(項目176)
前記強磁性材料を含む前記透明または半透明なラベルの全可視透過率値が、90%よりも大きい、項目168から174のいずれか一項に記載の強磁性材料フィルム。
(項目177)
前記強磁性材料を含む前記透明または半透明なラベルの全NIR透過率値が、87%よりも大きい、項目168から176のいずれか一項に記載の強磁性材料フィルム。
(項目178)
前記強磁性材料を含む前記透明または半透明なラベルの全NIR透過率値が、90%よりも大きい、項目168から176のいずれか一項に記載の強磁性材料フィルム。
(項目179)
前記強磁性材料が、前記強磁性インクの重量の20%未満を構成する、項目168から178のいずれか一項に記載の強磁性材料フィルム。
(項目180)
前記強磁性材料が、前記強磁性インクの重量の0.1%から20%を構成する、項目168から178のいずれか一項に記載の強磁性材料フィルム。
(項目181)
前記強磁性材料が、前記強磁性インクの重量の0.1%から20%未満を構成する、項目168から178のいずれか一項に記載の強磁性材料フィルム。
(項目182)
前記強磁性材料が強磁性粒子を含む、項目168から181のいずれか一項に記載の強磁性材料フィルム。
(項目183)
前記強磁性粒子が、D90サイズが約2から約20ミクロンであり、かつD50サイズが約1から約10ミクロンであるサイズ分布を有する、項目168から182のいずれか一項に記載の強磁性材料フィルム。
(項目184)
前記強磁性粒子が、D90サイズが約5から約10ミクロンであるサイズ分布を有する、項目168から182のいずれか一項に記載の強磁性材料フィルム。
(項目185)
前記強磁性粒子が球状である、項目168から184のいずれか一項に記載の強磁性材料フィルム。
(項目186)
前記強磁性材料が、ポリマー材料、または非磁性、常磁性、もしくは反磁性金属物体の表面に堆積される、項目168から185のいずれか一項に記載の強磁性材料フィルム。
(項目187)
前記ポリマー材料、または前記非磁性、常磁性、もしくは反磁性金属物体が、アルミニウム缶、使い捨てボトル、ボトルキャップ、使い捨てコーヒーカップ、プラスチックのカトラリー、食器、刃物用具、プラスチックのトレー、プラスチック容器、食品包装容器、またはこれらの任意の組合せである、項目168から186のいずれか一項に記載の強磁性材料フィルム。
(項目188)
前記フィルムが、シュリンクスリーブラベル、感圧ラベル、ロール紙ラベル、ラップラベル、伸縮ラベル、切断積層ラベル、収縮括束フィルム、またはこれらの任意の組合せである、項目168から187のいずれか一項に記載の強磁性材料フィルム。
(項目189)
前記フィルムが複数の薄片を含む、項目168から188のいずれか一項に記載の強磁性材料フィルム。
(項目190)
前記強磁性材料の重量が、前記フィルムの全重量の約0.05%から2%に及ぶ、項目168から189のいずれか一項に記載の強磁性材料フィルム。
(項目191)
前記シュリンクスリーブラベルが、前記強磁性材料を含まない対応するシュリンクスリーブラベルと比較して、非拘束収縮率に約5%未満の差を含む、項目168から190のいずれか一項に記載の強磁性材料フィルム。
(項目192)
前記強磁性材料フィルムが、磁場に曝露されると一時的に磁化される、項目168から191のいずれか一項に記載の強磁性材料フィルム。
(項目193)
前記強磁性材料フィルムが、一時的に磁化されたときに、複数の前記非磁性、常磁性、または反磁性金属物体から分離される、項目168から192のいずれか一項に記載の強磁性材料フィルム。
(項目194)
前記強磁性材料フィルムが、一時的に磁化されたときに、前記ポリマー材料、または前記非磁性、常磁性、もしくは反磁性金属物体から分離される、項目168から193のいずれか一項に記載の強磁性材料フィルム。
(項目195)
前記磁場が、少なくとも約1,000ガウス(G)の磁場強度を有する、項目168から194のいずれか一項に記載の強磁性材料フィルム。
(項目196)
前記磁場が、最大で約1,000ガウス(G)の磁場強度を有する、項目168から194のいずれか一項に記載の強磁性材料フィルム。
(項目197)
前記磁場が、磁気分離デバイスにより生成される、項目168から196のいずれか一項に記載の強磁性材料フィルム。
(項目198)
前記磁気分離デバイスが、手持ち式磁石、商用のドラム型分離器、オーバーバンド磁気分離器、磁気ヘッドプーリー、またはこれらの任意の組合せである、項目168から197のいずれか一項に記載の強磁性材料フィルム。
(項目199)
前記磁気分離デバイスが、少なくとも約50%の分離回収率を有する、項目168から198のいずれか一項に記載の強磁性材料フィルム。
(項目200)
前記磁気分離デバイスが、少なくとも約80%の分離回収率を有する、項目168から198のいずれか一項に記載の強磁性材料フィルム。
(項目201)
前記強磁性材料が、前記フィルム上に印刷される、項目168から200のいずれか一項に記載の強磁性材料フィルム。
(項目202)
前記強磁性材料が、前記強磁性インクの重量の少なくとも20%を構成する、項目168から201のいずれか一項に記載の強磁性材料フィルム。
(項目203)
前記強磁性材料が、摂取可能な強磁性顔料である、項目168から202のいずれか一項に記載の強磁性材料フィルム。
(項目204)
前記強磁性材料が、混じり物のない鉄粉、カルボニル鉄、カルボニルコバルト、カルボニルニッケル、鉄合金、酸化鉄、低炭素鋼グレード、ニッケル、コバルト、フェライト系ステンレス鋼、アトマイズ化ステンレス鋼、またはこれらの任意の組合せである、項目168から203のいずれか一項に記載の強磁性材料フィルム。
(項目205)
前記混じり物のない鉄粉が、電解鉄、アトマイズ化鉄、カルボニル鉄、または還元鉄であって、最小純度が98%であるものである、項目168から204のいずれか一項に記載の強磁性材料フィルム。
(項目206)
前記鉄合金が、コバルト、バナジウム、マンガン、モリブデン、ケイ素、ニッケル、ホウ素、アルミニウム、銅、またはこれらの任意の組合せを含む、項目168から205のいずれか一項に記載の強磁性材料フィルム。
(項目207)
前記酸化鉄が、酸化鉄(III)または酸化鉄(II,III)である、項目168から206のいずれか一項に記載の強磁性材料フィルム。
(項目208)
前記強磁性ステンレス鋼が、Crを17~30%、およびMoを0~5%含有する、項目168から207のいずれか一項に記載の強磁性材料フィルム。
(項目209)
前記強磁性ステンレス鋼が、Crを17~30%、Moを0~2.5%、およびTiを0~1%含有する、項目168から207のいずれか一項に記載の強磁性材料フィルム。
(項目210)
前記低炭素鋼または軟鋼が、0.12%未満のCを含有する、項目168から207のいずれか一項に記載の強磁性材料フィルム。
(項目211)
前記鉄合金が、Feを70~98%、Siを2~30%、および0~10%のBを含む、項目168から207のいずれか一項に記載の強磁性材料フィルム。
(項目212)
前記鉄合金が、Feを70~87%、Siを2~15%、およびAlを10~18%含む、項目168から207のいずれか一項に記載の強磁性材料フィルム。
(項目213)
前記鉄合金が、Feを10~90%、およびCoを10~90%含む、項目168から207のいずれか一項に記載の強磁性材料フィルム。
(項目214)
前記鉄合金が、Feを10~50%、Coを50~90%、およびAlを1~10%含む、項目168から207のいずれか一項に記載の強磁性材料フィルム。
(項目215)
前記鉄合金が、Feを10~50%、およびNiを50~90%含む、項目168から207のいずれか一項に記載の強磁性材料フィルム。
(項目216)
前記鉄合金が、Feを8~50%、Niを50~90%、およびMoを1~10%含む、項目168から207のいずれか一項に記載の強磁性材料フィルム。
(項目217)
前記鉄合金が、Feを60~90%、Cuを10~15%、およびSiを15~25%含む、項目168から207のいずれか一項に記載の強磁性材料フィルム。
(項目218)
前記樹脂が、前記強磁性インクの重量の少なくとも5%を構成する、項目168から217のいずれか一項に記載の強磁性材料フィルム。
(項目219)
前記樹脂が、塩化ビニル酢酸ビニルコポリマー、ニトロセルロース、ポリウレタン、ケトンアルデヒドポリマー、アルコール可溶性ポリアミド、共溶媒ポリアミド、マレイン酸樹脂、エステルガム樹脂、アクリル酸樹脂、セルロースアセテートブチレート樹脂、セルロースアセテートプロピオネート、非晶質ポリエステル樹脂、塩素化ゴム、エチルビニルアセテート樹脂、またはこれらの任意の組合せである、項目168から218のいずれか一項に記載の強磁性材料フィルム。
(項目220)
前記湿潤または前記分散剤が、Solsperse 8000、Solsperse 8200、Solsperse 2000、Solsperse 24000、Solsperse 17000、Disperbyk 108、Disperbyk 2155、Disperbyk 9077、WA5013、98C、BYK 111、またはこれらの任意の組合せである、項目168から219のいずれか一項に記載の強磁性材料フィルム。
(項目221)
前記強磁性インクが少なくとも1種の溶媒をさらに含み、前記溶媒が、前記強磁性インクの重量の少なくとも25%を構成する、項目168から220のいずれか一項に記載の強磁性材料フィルム。
(項目222)
前記溶媒が、メタノール、エタノール、n-プロパノール、イソプロピルアルコール、酢酸エチル、酢酸n-プロピル、酢酸イソプロピル、酢酸n-ブチル、トルエン、メチルエチルケトン、アセトン、またはこれらの任意の組合せである、項目168から221のいずれか一項に記載の強磁性材料フィルム。
(項目223)
前記強磁性インクが、約1/80から6/1に及ぶ強磁性材料/樹脂比を含む、項目168から222のいずれか一項に記載の強磁性材料フィルム。
(項目224)
前記強磁性インクが、約1/10から3/1に及ぶ強磁性材料/樹脂比を含む、項目168から222のいずれか一項に記載の強磁性材料フィルム。
(項目225)
前記強磁性インクが、約1/5から2/1に及ぶ強磁性材料/樹脂比を含む、項目168から222のいずれか一項に記載の強磁性材料フィルム。
(項目226)
前記沈降防止添加剤が、ヒュームドシリカ、ポリアミド誘導体、ワックス、またはこれらの任意の組合せである、項目168から225のいずれか一項に記載の強磁性材料フィルム。
(項目227)
前記強磁性インクの全成分が、間接食品添加物である、項目168から226のいずれか一項に記載の強磁性材料フィルム。
(項目228)
前記間接食品添加物が、一般に安全と見なされている(GRAS)物質である、項目168から227のいずれか一項に記載の強磁性材料フィルム。
(項目229)
前記間接食品添加物が、連邦規則集第21巻により列挙されるような、FDAで認可された食品添加物である、項目168から227のいずれか一項に記載の強磁性材料フィルム。
(項目230)
前記フィルムが、前記強磁性インクで印刷される、項目168から229のいずれか一項に記載の強磁性材料フィルム。
(項目231)
前記強磁性インクが、少なくとも1つの層に堆積される、項目168から230のいずれか一項に記載の強磁性材料フィルム。
(項目232)
前記ラベルが自己接着ラベルである、項目168から231のいずれか一項に記載の強磁性材料フィルム。
(項目233)
前記フィルムが、多層フィルムまたは共押出しフィルムである、項目168から232のいずれか一項に記載の強磁性材料フィルム。
(項目234)
前記多層フィルムまたは前記共押出しフィルムが、少なくとも2層のフィルムを含む、項目168から233のいずれか一項に記載の強磁性材料フィルム。
(項目235)
前記多層フィルムまたは前記共押出しフィルムが、少なくとも約3層のフィルムから最大で約12層のフィルムを含む、項目168から233のいずれか一項に記載の強磁性材料フィルム。
(項目236)
前記フィルムがポリマーフィルムである、項目168から235のいずれか一項に記載の強磁性材料フィルム。
(項目237)
前記ポリマーフィルムが、ポリエチレン(PE)フィルム、高密度ポリエチレン(HDPE)フィルム、低密度ポリエチレン(LDPE)フィルム、直鎖状低密度ポリエチレン(LLDPE)フィルム、配向ポリプロピレン(OPP)フィルム、二軸配向ポリプロピレン(BOPP)フィルム、配向ポリスチレン(OPS)フィルム、エチレン-ビニルアルコール(EVOH)フィルム、ポリアミド(NylonまたはPA)フィルム、アイオノマーフィルム、エチレンビニルアセテート(EVA)フィルム、グリコシル化ポリエチレンテレフタレート(PETG)、ポリプロピレン(PP)、ポリ塩化ビニル(PVC)、またはこれらの任意の組合せである、項目168から236のいずれか一項に記載の強磁性材料フィルム。
(項目238)
前記アイオノマーフィルムが、エチレンアクリル酸コポリマー(EAA)またはエチレン(メタ)アクリル酸コポリマー(EMAA)である、項目168から237のいずれか一項に記載の強磁性材料フィルム。
(項目239)
前記フィルムが、フレキソ印刷、グラビア印刷、凹版印刷、パッド印刷、スクリーン印刷、オフセット印刷、またはこれらの任意の組合せによって、前記強磁性インクで印刷される、項目168から238のいずれか一項に記載の強磁性材料フィルム。
(項目240)
前記ポリマー材料、または前記非磁性、常磁性、もしくは反磁性金属物体上の、前記強磁性インクの密度が、平方メートルあたり2グラム未満である、項目168から239のいずれか一項に記載の強磁性材料フィルム。
(項目241)
前記ポリマー材料、または前記非磁性、常磁性、もしくは反磁性金属物体上の、前記強磁性インクの密度が、平方メートルあたり0.5から1.5グラムの間である、項目168から239のいずれか一項に記載の強磁性材料フィルム。
(項目242)
前記ポリマー材料、または前記非磁性、常磁性、もしくは反磁性金属物体上の、前記強磁性インクの密度が、平方メートルあたり0.5から1グラムの間である、項目168から239のいずれか一項に記載の強磁性材料フィルム。
(項目243)
前記フィルムが透明なラベルと言われ、前記強磁性材料が、前記透明な磁化可能なコーティングまたはマーカーと言われる、項目168から242のいずれか一項に記載の強磁性材料フィルム。
(項目244)
項目1から79のいずれか一項に記載の基材または項目168から243のいずれか一項に記載の強磁性材料フィルムを製造する方法。

Claims (17)

  1. (a)ポリマー材料、または非磁性、常磁性、もしくは反磁性金属物体と、
    (b)前記ポリマー材料、または前記非磁性、常磁性、もしくは反磁性金属物体の表面に平方メートル当たり0.5から3グラムの間の密度で堆積された磁化可能なコーティングである強磁性インク組成物
    を含む基材であって、
    ここで、前記強磁性インクが、
    (i)強磁性材料であって、前記強磁性材料が、D90サイズが2~20ミクロンであり、かつD50サイズが1~10ミクロンであるサイズ分布を有する強磁性粒子を含む、強磁性材料、
    (ii)樹脂、および
    (iii)湿潤剤、または分散剤
    を含み、
    前記強磁性インクが食品接触物質であり、
    前記磁化可能なコーティングが、82%よりも大きい全可視透過率値および87%よりも大きい全近赤外光(NIR)透過率値を有する、
    基材。
  2. 前記強磁性材料が、前記インクの重量の0.1%から20%を構成する、請求項1に記載の基材。
  3. 前記ポリマー材料、または前記金属物体が、使い捨てボトル、ボトルキャップ、使い捨てコーヒーカップ、プラスチックのカトラリー、食器、刃物用具、プラスチックのトレー、アルミニウム缶、プラスチック容器、食品包装容器、またはこれらの任意の組合せである、請求項1からのいずれか一項に記載の基材。
  4. 前記強磁性材料の質量が、前記基材の全質量の6%未満である、請求項1からのいずれか一項に記載の基材。
  5. 前記強磁性材料が、混じり物のない鉄粉、カルボニル鉄、カルボニルコバルト、カルボニルニッケル、鉄合金、酸化鉄、低炭素鋼グレード、ニッケル、コバルト、フェライト系ステンレス鋼、アトマイズ化ステンレス鋼、またはこれらの任意の組合せであり、前記混じり物のない鉄粉が、少なくとも99.5%の鉄を含む、請求項1からのいずれか一項に記載の基材。
  6. 前記強磁性材料が、前記混じり物のない鉄粉であり、前記混じり物のない鉄粉が、解鉄、アトマイズ化鉄、カルボニル鉄、または還元鉄である、請求項に記載の基材。
  7. 前記強磁性材料が、前記鉄合金であり、前記鉄合金が、コバルト、バナジウム、マンガン、モリブデン、ケイ素、ニッケル、ホウ素、アルミニウム、銅、またはこれらの任意の組合せを含む、請求項に記載の基材。
  8. 前記強磁性材料が、前記酸化鉄であり、前記酸化鉄が、酸化鉄(III)または酸化鉄(II,III)である、請求項に記載の基材。
  9. 前記強磁性材料が、前記フェライト系ステンレス鋼であり、前記フェライト系ステンレス鋼が、Crを17~30%、およびMoを0~5%含有する、請求項に記載の基材。
  10. 前記強磁性材料が、前記低炭素鋼または軟鋼であり、前記低炭素鋼または軟鋼が、0.12%未満のCを含有する、請求項に記載の基材。
  11. 前記鉄合金が、
    (a)0~98%のFe~30%のSi、および0~10%のB、または
    (b)0~87%のFe~15%のSi、および0~18%のAl、または
    (c)0~90%のFeおよび0~90%のCo、または
    (d)0~49のFe0~89のCo、および~10%のAl、または
    (e)10~50%のFeおよび0~90%のNi、または
    (f)49のFe0~90%のNi、および~10%のMo、または
    (g)0~75のFe0~15%のCu、および5~25%のSi
    を含む、請求項に記載の基材。
  12. 前記インクが前記樹脂を含み、前記樹脂が、前記インクの重量の少なくとも5%を構成し、塩化ビニル酢酸ビニルコポリマー、ニトロセルロース、ポリウレタン、ケトンアルデヒドポリマー、アルコール可溶性ポリアミド、共溶媒ポリアミド、マレイン酸樹脂、エステルガム樹脂、アクリル酸樹脂、セルロースアセテートブチレート樹脂、セルロースアセテートプロピオネート、非晶質ポリエステル樹脂、塩素化ゴム、エチルビニルアセテート樹脂、またはこれらの任意の組合せである、請求項1から11のいずれか一項に記載の基材。
  13. 前記インクが、フレキソ印刷、グラビア印刷、凹版印刷、パッド印刷、スクリーン印刷、オフセット印刷、またはこれらの任意の組合せに適している、請求項1から12のいずれか一項に記載の基材。
  14. 前記ポリマー材料が、リエステル、ポリエチレン(PE)、ポリカーボネート(PC)、ポリスチレン(PS)、ポリ塩化ビニル(PVC)、ポストコンシューマー樹脂(PCR)、スチレンブタジエンコポリマー(SBC)ポリプロピレン(PP)、バイオプラスチック、ビスフェノールA(BPA)、エチレン-ビニルアルコール(EVOH)、ポリアミド(NylonまたはPA)、アイオノマー、エチレンビニルアセテート(EVA)、またはこれらの任意の組合せである、請求項1から13のいずれか一項に記載の基材。
  15. 強磁性インク組成物を含むフィルムを含む強磁性材料フィルムであって、前記強磁性インク組成物が、
    (a)強磁性材料であって、前記強磁性材料が、D90サイズが2~20ミクロンであり、かつD50サイズが1~10ミクロンであるサイズ分布を有する強磁性粒子を含む、強磁性材料、
    (b)樹脂、および
    (c)湿潤剤または分散剤
    を含み、
    前記強磁性インク組成物が、前記フィルムに平方メートル当たり0.5から3グラムの間の密度で印刷される磁化可能なコーティングであり、
    前記磁化可能なコーティングが、82%よりも大きい全可視透過率値および87%よりも大きい全近赤外光(NIR)透過率値を有し、
    前記強磁性材料フィルムが食品接触物質である、
    強磁性材料フィルム。
  16. 前記強磁性材料フィルムが、多層フィルムまたは共押出しフィルムである、請求項15に記載の強磁性材料フィルム。
  17. 前記ポリエチレンが、ポリエチレンテレフタレート(PET)、高密度ポリエチレン(HDPE)、フッ素処理済みHDPE、低密度ポリエチレン(LDPE)、または直鎖状低密度ポリエチレン(LLDPE)を含む、請求項14に記載の基材。
JP2021544449A 2019-01-30 2020-01-30 磁化可能なプラスチックのための方法および組成物 Active JP7494192B2 (ja)

Applications Claiming Priority (5)

Application Number Priority Date Filing Date Title
US201962798808P 2019-01-30 2019-01-30
US62/798,808 2019-01-30
US201962799168P 2019-01-31 2019-01-31
US62/799,168 2019-01-31
PCT/US2020/015867 WO2020160260A1 (en) 2019-01-30 2020-01-30 Methods and compositions for magnetizable plastics

Publications (3)

Publication Number Publication Date
JP2022522619A JP2022522619A (ja) 2022-04-20
JPWO2020160260A5 JPWO2020160260A5 (ja) 2023-04-18
JP7494192B2 true JP7494192B2 (ja) 2024-06-03

Family

ID=71841957

Family Applications (1)

Application Number Title Priority Date Filing Date
JP2021544449A Active JP7494192B2 (ja) 2019-01-30 2020-01-30 磁化可能なプラスチックのための方法および組成物

Country Status (4)

Country Link
US (1) US12478979B2 (ja)
EP (1) EP3918010A4 (ja)
JP (1) JP7494192B2 (ja)
WO (1) WO2020160260A1 (ja)

Families Citing this family (3)

* Cited by examiner, † Cited by third party
Publication number Priority date Publication date Assignee Title
DE102022204119A1 (de) * 2022-04-28 2023-11-02 Benecke-Kaliko Aktiengesellschaft Magneisierbare tinte für die funktionalisierung von oberflächen
WO2025030042A1 (en) * 2023-08-01 2025-02-06 Magnomer, Inc. Methods and compositions for sorting objects having functionalized coatings
US20260002639A1 (en) * 2024-06-26 2026-01-01 EnerVenue Holdings, Ltd. Liner for hydrogen containment

Citations (7)

* Cited by examiner, † Cited by third party
Publication number Priority date Publication date Assignee Title
JP2004035105A (ja) 2002-07-02 2004-02-05 Hiroko Ishikawa 電磁波加熱用塗料、樹脂及び容器等の化成品
JP2004199460A (ja) 2002-12-19 2004-07-15 National Printing Bureau 印刷物、その真偽判別方法及び真偽判別装置
JP2008536764A (ja) 2005-03-02 2008-09-11 テトラ ラバル ホールデイングス エ フイナンス ソシエテ アノニム 包装積層材を製造するシステムおよび方法、およびその包装積層材から作られたパッケージ
US20120000833A1 (en) 2010-07-01 2012-01-05 Eastman Chemical Company Magnetically Enhanced Recycling of Plastics
US20120076995A1 (en) 2009-05-29 2012-03-29 Tetra Laval Holdings & Finance S.A. Packaging material comprising magnetisable portions
JP2012528227A (ja) 2009-05-29 2012-11-12 テトラ ラバル ホールデイングス エ フイナンス ソシエテ アノニム 磁化可能インク
JP2017187675A (ja) 2016-04-07 2017-10-12 凸版印刷株式会社 透明磁性シート及び印刷物

Family Cites Families (141)

* Cited by examiner, † Cited by third party
Publication number Priority date Publication date Assignee Title
US3624731A (en) 1969-07-16 1971-11-30 Denver Post Inc The Printing apparatus and process for controlling ink fog
AU5266279A (en) 1978-11-16 1980-05-22 Whittaker Corp. Printing process utilizing ink jet and magnetic powder
FR2471443A1 (fr) 1979-12-11 1981-06-19 Arjomari Prioux Moyen de marquage et papier de securite faisant application de ce moyen
SE8102315L (sv) 1981-04-10 1982-10-11 Akerlund & Rausing Ab Forpackningsmaterial
DE3377976D1 (en) 1982-07-16 1988-10-20 Minnesota Mining & Mfg Improved method for providing permanent images
US4434007A (en) 1982-08-04 1984-02-28 Armstrong World Industries, Inc. Process for reproducibly preparing uniform dry ink compositions comprising water-soluble cationic dyestuffs
US4585553A (en) 1982-11-24 1986-04-29 Dai Nippon Insatsu Kabushiki Kaisha Apparatus for the removal of solid particles from printing ink or other liquids
DE3325960C2 (de) 1983-07-19 1985-06-20 Herbert 4300 Essen Schlieper Magnetisch wirksame Farbe und deren Verwendung
DE3625605A1 (de) 1986-07-29 1988-02-11 Hoechst Ag Waessrige pigmentzubereitungen und ihre verwendung
GB8700966D0 (en) 1987-01-17 1987-02-18 Waddingtons Cartons Ltd Receptor films
US4906488A (en) 1987-05-01 1990-03-06 Arcade, Inc. Modification of permeant
USRE34829E (en) 1988-04-06 1995-01-17 Packaging Corporation Of America Food package for use in a microwave oven
US4866232A (en) 1988-04-06 1989-09-12 Packaging Corporation Of America Food package for use in a microwave oven
DE3817275A1 (de) 1988-05-20 1989-11-23 Unilever Nv Abdeckfolie fuer menueschale
GB8907057D0 (en) 1989-03-29 1989-05-10 Agricultural & Food Res Polysaccharide compositions
JP2727230B2 (ja) 1989-06-05 1998-03-11 戸田工業株式会社 塗料組成物
US4925215A (en) 1989-06-12 1990-05-15 Action Drive-Thru Inc. Concealed magnetic indicia
DE3938055A1 (de) 1989-11-16 1991-05-23 Merck Patent Gmbh Mit plaettchenfoermigen pigmenten beschichtete materialien
US5189952A (en) 1990-03-09 1993-03-02 Asahi Glass Company, Ltd. Process for producing window glass with thin film thereon
US5382963A (en) 1992-09-21 1995-01-17 Xerox Corporation Ink jet printer for magnetic image character recognition printing
IL106899A (en) 1993-09-03 1995-08-31 Adler Uri Method and apparatus for the production of photopolymeric printing plates
EP0647593B1 (en) 1993-09-30 1998-01-28 Toda Kogyo Corp. Granular magnetite particles and process for producing the same
US5527426A (en) 1994-01-21 1996-06-18 Westvaco Corporation Magnetic deinking of waste papers
EP0706191B1 (en) 1994-04-14 1999-09-08 Hitachi Maxell, Ltd. Magnetic powder and its manufacture and application
DE4419173A1 (de) 1994-06-01 1995-12-07 Basf Ag Magnetisierbare mehrfach beschichtete metallische Glanzpigmente
JPH0876485A (ja) 1994-09-06 1996-03-22 Mita Ind Co Ltd 二成分系現像剤
JPH08187927A (ja) 1994-11-09 1996-07-23 Nippon Oil Co Ltd 印刷による転写方法
JPH08176485A (ja) * 1994-12-27 1996-07-09 Toppan Printing Co Ltd 磁性インク
FR2734656B3 (fr) 1995-05-26 1997-07-04 Balland Benoit Procede de fabrication d une encre magnetique pour marquage antivol
JP3545847B2 (ja) 1995-07-12 2004-07-21 株式会社不二工機 膨張弁
US5851644A (en) 1995-08-01 1998-12-22 Loctite (Ireland) Limited Films and coatings having anisotropic conductive pathways therein
US5630363A (en) 1995-08-14 1997-05-20 Williamson Printing Corporation Combined lithographic/flexographic printing apparatus and process
US5651316A (en) 1995-10-02 1997-07-29 Howard W. DeMoore Retractable printing/coating unit operable on the plate and blanket cylinders simultaneously from the dampener side of the first printing unit or any consecutive printing unit of any rotary offset printing press
US20090133605A1 (en) 1995-11-19 2009-05-28 Michael Francis Butler Colourant Compositions
JP3665119B2 (ja) * 1995-12-08 2005-06-29 大日本印刷株式会社 磁気インク及び磁気インクを用いた磁気感熱転写材
JPH09226235A (ja) * 1996-02-23 1997-09-02 Fujicopian Co Ltd 感圧転写磁気記録媒体
JPH09318806A (ja) * 1996-05-24 1997-12-12 Sumitomo Rubber Ind Ltd 液晶カラーフィルタの製造方法
US5811314A (en) * 1996-06-07 1998-09-22 General Instrument Of Taiwan, Ltd. Magnetic ink and method for manufacturing and sifting out of defective dice by using the same
BR9706597A (pt) 1996-08-01 1999-07-20 Loctite Ireland Ltd Processo para formação de uma monocamada de partículas e produtos formados desse modo
DE69821766T2 (de) 1997-07-30 2005-01-13 Johnson Matthey Public Ltd., Co. Katalytischer prozess zum entfernen von sauerstoff aus verschlossenen packungen
WO1999023181A1 (en) 1997-10-31 1999-05-14 Hewlett-Packard Company Ink-jet ink compositions having magnetic properties
US6057384A (en) 1997-10-31 2000-05-02 Hewlett-Packard Company Latex polymer blends for improving the permanence of ink-jet inks
KR20010040473A (ko) 1998-01-30 2001-05-15 유진 에프. 밀러 입자의 비랜덤 단일층위에 코팅을 형성하는 방법 및그것에 의해 형성된 생성물
DE19823866A1 (de) 1998-05-28 1999-12-02 Merck Patent Gmbh Pigmentmischung
DE19920627A1 (de) 1998-05-28 1999-12-02 Merck Patent Gmbh Pigmentmischung
DE19826624A1 (de) 1998-06-18 1999-12-23 Merck Patent Gmbh Pigmentpräparation
EP1013725B1 (en) 1998-12-23 2004-09-08 MERCK PATENT GmbH Pigment mixture
TW460548B (en) 1998-12-23 2001-10-21 Merck Patent Gmbh Pigment mixture
DE19917388A1 (de) 1999-04-16 2000-10-19 Merck Patent Gmbh Pigmentmischung
US6221138B1 (en) 1999-06-30 2001-04-24 Ncr Corporation Jet ink with a magneto-rheological fluid
EP1226072A1 (en) 1999-10-19 2002-07-31 Case Ready Solutions, LLC Products, methods and apparatus for fresh meat processing and packaging
US6746508B1 (en) 1999-10-22 2004-06-08 Chrysalis Technologies Incorporated Nanosized intermetallic powders
EP1263891A1 (en) 2000-01-13 2002-12-11 UV Specialties, Inc. Uv curable ferromagnetic compositions
JP2001261999A (ja) 2000-03-17 2001-09-26 Toshiba Corp 真偽判定インク用磁性粉、その製造方法、それを用いた磁性インク、それを用いた真偽判定用印刷部材、その検出装置、及び真偽判定装置
JP2003535429A (ja) 2000-06-02 2003-11-25 ヴォルフガング ボッサールト 平材、特にシートまたはストリップとしての平材およびこの種の平材用書き込み装置
JP3309854B1 (ja) 2001-07-27 2002-07-29 ソニー株式会社 磁気吸着シートおよびその製造方法
US6902807B1 (en) 2002-09-13 2005-06-07 Flex Products, Inc. Alignable diffractive pigment flakes
US7195872B2 (en) 2001-11-09 2007-03-27 3D Biosurfaces, Inc. High surface area substrates for microarrays and methods to make same
EP1451248B1 (en) 2001-11-30 2008-11-26 Ciba Holding Inc. 2-hydroxyphenyl-s-triazine crosslinkers for polymer networks
US20050186439A1 (en) 2002-02-28 2005-08-25 Bert Staadecker Dry erase board for magnets
KR100478710B1 (ko) 2002-04-12 2005-03-24 휴먼일렉스(주) 연자성 분말의 제조 및 이를 이용한 인덕터의 제조방법
US7008979B2 (en) 2002-04-30 2006-03-07 Hydromer, Inc. Coating composition for multiple hydrophilic applications
US20040001973A1 (en) 2002-06-28 2004-01-01 Xinhao Gao UV/EB cured integrated magnets-composition and method of fabrication
US6767396B2 (en) 2002-07-01 2004-07-27 Nu-Kote International, Inc. Process for the preparation of aqueous magnetic ink character recognition ink-jet ink compositions
DE10239020A1 (de) 2002-08-20 2004-03-04 Merck Patent Gmbh UV-Inline-Lackierung
US6761969B2 (en) 2002-08-21 2004-07-13 Avery Dennison Corporation Labels and labeling process
US20040178391A1 (en) 2003-01-29 2004-09-16 Conaghan Brian F. High conductivity inks with low minimum curing temperatures
DE10323374A1 (de) 2003-05-21 2004-12-09 Basf Drucksysteme Gmbh Metallic-Druckfarbe und deren Verwendung zur Veredelung von Drucken
ITBA20030026A1 (it) 2003-05-29 2004-11-30 Michele Giannini Metodo per trasferire caratteri, disegni, immagini, colori,
EP1493590A1 (en) 2003-07-03 2005-01-05 Sicpa Holding S.A. Method and means for producing a magnetically induced design in a coating containing magnetic particles
US20050203233A1 (en) 2003-12-15 2005-09-15 Fugiel Richard A. Process for preparing polymeric films useful for blocking the transmission of near infra red light
WO2005080030A2 (en) 2004-02-20 2005-09-01 Maciej Pike-Biegunski Colloid, method of obtaining colloid or its derivatives and applications thereof
DE102004032121A1 (de) 2004-07-01 2006-01-19 Merck Patent Gmbh Pigmentmischung
EP1669213A1 (en) 2004-12-09 2006-06-14 Sicpa Holding S.A. Security element having a viewing-angle dependent aspect
DE102005001997A1 (de) 2005-01-17 2006-07-20 Merck Patent Gmbh Effektpigmente mit starkem Farbtop
DE102005003596B4 (de) 2005-01-25 2011-12-15 ITCF Institut für Textilchemie und Chemiefasern Gemisch und Verfahren zur Bedruckung von Textilien
GB0502166D0 (en) 2005-02-02 2005-03-09 Effectology Ltd Ink-jet printing process
JP4964152B2 (ja) 2005-03-04 2012-06-27 インクテック カンパニー リミテッド 導電性インク組成物及びこの製造方法
GB2421204B (en) 2005-03-31 2006-11-29 Pepper Mint Wall coverings
US20090191401A1 (en) 2005-04-28 2009-07-30 Dayton Joseph Deetz Magnetic paint
FR2885619B1 (fr) 2005-05-13 2011-02-11 Imaje Sa Composition d'encre liquide, alimentaire, ingerable pour l'impression par jet d'encre
US20060272534A1 (en) 2005-06-03 2006-12-07 Daniel Lieberman Systems and methods for printing surface relief structures
EP1894213A4 (en) 2005-06-09 2009-07-15 Nat Starch Chem Corp AQUEOUS PRINTABLE ELECTRICAL LADDER
TW200720376A (en) 2005-11-30 2007-06-01 Jetbest Corp Green type inkjet ink composition
US20070144383A1 (en) 2005-12-21 2007-06-28 Klann Kenneth J Composite pad printing plate
WO2007097747A1 (en) 2006-02-21 2007-08-30 The Ex One Corporation Metal-bearing dental restorations by three-dimensional printing
EP1854852A1 (en) 2006-05-12 2007-11-14 Sicpa Holding S.A. Coating composition for producing magnetically induced images
US20070269682A1 (en) 2006-05-16 2007-11-22 Rina Lupu Matas Ferromagnetic-backed film
EP1880866A1 (en) 2006-07-19 2008-01-23 Sicpa Holding S.A. Oriented image coating on transparent substrate
WO2008055523A1 (en) 2006-11-07 2008-05-15 Stichting Dutch Polymer Institute Magnetic fluids and their use
AU2007320716B2 (en) 2006-11-16 2013-11-07 Claudio Selva Method for the univocal marking of materials, and ink for carring out the same
US7763362B2 (en) 2007-03-01 2010-07-27 Pchem Associates, Inc. Shielding based on metallic nanoparticle compositions and devices and methods thereof
EP1978063A1 (en) 2007-04-05 2008-10-08 YKI, Ytkemiska Institutet AB An aqueous hydrophobic coating composition comprising a fatty acid or a salt thereof
ES2440820T3 (es) 2007-05-03 2014-01-30 Teknologian Tutkimuskeskus Vtt Tinta conductora y conductor
EP2150505A2 (en) 2007-05-18 2010-02-10 Unilever PLC Inverse colloidal crystals
WO2008141972A1 (en) 2007-05-18 2008-11-27 Unilever Plc Core-shell particles with encapsulated broad spectrum absorber contrast agent
EP2158259A1 (en) 2007-05-18 2010-03-03 Unilever PLC Monodisperse particles
US8459466B2 (en) 2007-05-23 2013-06-11 Re Community Energy, Llc Systems and methods for optimizing a single-stream materials recovery facility
CN101874086A (zh) 2007-10-31 2010-10-27 太阳化学公司 用于非织造基材的胶版印刷和凹版印刷油墨
DE102007059550A1 (de) 2007-12-11 2009-06-25 Giesecke & Devrient Gmbh Optisch variables Sicherheitselement
DE102008029820A1 (de) 2008-06-25 2009-12-31 Eckart Gmbh Mischung aus dünnen Eisen- und Aluminiumeffektpigmenten, Verfahren zu deren Herstellung und deren Verwendung
US8236192B2 (en) 2008-06-26 2012-08-07 Xerox Corporation Ferromagnetic nanoparticles with high magnetocrystalline anisotropy for MICR ink applications
GB2463073A (en) 2008-09-02 2010-03-03 Steamfast Europ Ltd Packaging for use in microwave ovens
CN102245720B (zh) 2008-10-14 2015-08-19 山特维克创新公司 磁性承载油墨
US9321924B2 (en) 2008-10-14 2016-04-26 Horizon Group Usa, Inc. Magnetic load supporting inks
TWI478990B (zh) 2009-04-09 2015-04-01 Sicpa Holding Sa 明亮之磁性凹刻印刷油墨
AR080431A1 (es) 2010-03-03 2012-04-11 Sicpa Holding Sa Hilo o tira de seguridad que comprende particulas magneticas orientadas en tinta y procedimiento y medio para producir el mismo
WO2012024472A1 (en) 2010-08-18 2012-02-23 Sun Chemical Corporation Chlorine-free ink and coating compositions & a method for printing on untreated polyolefin films with improved adhesion
DE102010035313A1 (de) 2010-08-25 2012-03-01 Giesecke & Devrient Gmbh Sicherheitselement mit ausgerichteten Magnetpigmenten
DE102010049375A1 (de) 2010-10-26 2012-04-26 Merck Patent Gmbh Pigmente
US8544999B2 (en) 2010-12-22 2013-10-01 Xerox Corporation Phase change magnetic ink and process for preparing same
US8303838B2 (en) 2011-03-17 2012-11-06 Xerox Corporation Curable inks comprising inorganic oxide coated magnetic nanoparticles
US20120236064A1 (en) 2011-03-17 2012-09-20 Xerox Corporation Solvent Based Magnetic Ink Comprising Carbon Coated Magnetic Nanoparticles And Process For Preparing Same
US8409341B2 (en) * 2011-03-17 2013-04-02 Xerox Corporation Solvent-based inks comprising coated magnetic nanoparticles
DE102011006758A1 (de) 2011-04-05 2012-10-11 Osram Ag Druckbares Farbgemisch, Verfahren zur Herstellung eines farbigen Aufdrucks und Verwendung des Farbgemisches
WO2012160181A1 (en) 2011-05-26 2012-11-29 Amcor Flexibles Transpac B.V.B.A A hermetically closed package to be heated in a microwave oven
WO2013036283A1 (en) * 2011-09-09 2013-03-14 E. I. Du Pont De Nemours And Company An ink composition for a non-stick coating and a coated substrate comprising the pattern therefrom
EP2765999A4 (en) 2011-10-14 2015-04-01 Purdue Research Foundation EASY MULTILAYER UNIT WITH PRESENT FUNCTIONS AND COMBINATIONS
DE102011121320A1 (de) 2011-12-16 2013-06-20 Heidelberger Druckmaschinen Ag Flexodruckverfahren
ITVR20120168A1 (it) 2012-08-10 2014-02-11 Marco Mandelli Composizione chimica sensibile alle variazioni di temperatura e metodo di produzione ed utilizzo della stessa.
US9144237B2 (en) 2012-08-10 2015-09-29 Tsukasa Sakurada Sterilizing and deodorizing agents, their method of manufacture and uses
US20150298861A1 (en) 2012-11-01 2015-10-22 Jindal Films Americas Llc Coated metallized oriented polypropylene films
WO2014072172A1 (en) 2012-11-09 2014-05-15 Sicpa Holding Sa Irreversibly magnetically induced images or patterns
EP2746349A1 (de) 2012-12-21 2014-06-25 Eckart GmbH Pigmentpräparation mit Metalleffektpigmenten, Verfahren zu deren Herstellung und Verwendung derselben
US20140186596A1 (en) 2012-12-28 2014-07-03 Dip-Tech Ltd. Ink
GB201301790D0 (en) 2013-02-01 2013-03-20 Rue De Int Ltd Security devices and methods of manufacture thereof
US20150368425A1 (en) 2013-02-11 2015-12-24 Croda, Inc. Dispersants
US8974051B2 (en) 2013-05-31 2015-03-10 Xerox Corporation Systems and methods for facilitating magnetic ink character recognition (MICR) image forming using digital offset lithographic printing techniques
US20150050508A1 (en) 2013-08-14 2015-02-19 Magnum Magnetics Corporation Printable Coating Systems For Flexible Magnetic Sheets
EP2848659B1 (en) 2013-09-16 2017-09-06 Agfa Graphics Nv Radiation curable compositions for food packaging
DE102013111378A1 (de) 2013-10-15 2015-04-16 Marabu Gmbh & Co. Kg Verfahren zur Dekoration von Substraten sowie dekoriertes Substrat
CN103602139A (zh) 2013-11-19 2014-02-26 张家港威迪森化学有限公司 一种磁性油墨的制备方法
US9346307B2 (en) 2013-11-27 2016-05-24 Ultraflex Systems, Inc. Printable magnetic receptive composite sheet and method of making
FR3014014B1 (fr) 2013-12-03 2015-11-20 Seb Sa Procede de decoration par flexographie d'un article comprenant un revetement thermostable
WO2015097288A1 (en) 2013-12-27 2015-07-02 Philip Morris Products S.A. Method of forming a metallic coating
US20150283552A1 (en) 2014-04-08 2015-10-08 University Of Oregon Magnetic plastic or fiberboard waste separation
DE112015002611T5 (de) 2014-06-02 2017-03-09 Temper Ip, Llc Vorform aus einem pulverförmigen Material und Verfahren zu deren Herstellung
GB2527098A (en) 2014-06-11 2015-12-16 Imp Innovations Ltd Functionalised material
AU2015352705A1 (en) 2014-11-27 2017-03-09 Sicpa Holding Sa Devices and methods for orienting platelet-shaped magnetic or magnetizable pigment particles
EP3253819B1 (en) 2015-02-08 2020-04-01 Argaman Technologies Ltd. Antimicrobial material comprising synergistic combinations of metal oxides
WO2016156408A2 (en) 2015-04-02 2016-10-06 Novachem S.R.L. Metallic ink for printing

Patent Citations (8)

* Cited by examiner, † Cited by third party
Publication number Priority date Publication date Assignee Title
JP2004035105A (ja) 2002-07-02 2004-02-05 Hiroko Ishikawa 電磁波加熱用塗料、樹脂及び容器等の化成品
JP2004199460A (ja) 2002-12-19 2004-07-15 National Printing Bureau 印刷物、その真偽判別方法及び真偽判別装置
JP2008536764A (ja) 2005-03-02 2008-09-11 テトラ ラバル ホールデイングス エ フイナンス ソシエテ アノニム 包装積層材を製造するシステムおよび方法、およびその包装積層材から作られたパッケージ
US20120076995A1 (en) 2009-05-29 2012-03-29 Tetra Laval Holdings & Finance S.A. Packaging material comprising magnetisable portions
JP2012528227A (ja) 2009-05-29 2012-11-12 テトラ ラバル ホールデイングス エ フイナンス ソシエテ アノニム 磁化可能インク
JP2012528051A (ja) 2009-05-29 2012-11-12 テトラ ラバル ホールデイングス エ フイナンス ソシエテ アノニム 磁化可能部分を有する包装材料
US20120000833A1 (en) 2010-07-01 2012-01-05 Eastman Chemical Company Magnetically Enhanced Recycling of Plastics
JP2017187675A (ja) 2016-04-07 2017-10-12 凸版印刷株式会社 透明磁性シート及び印刷物

Also Published As

Publication number Publication date
WO2020160260A1 (en) 2020-08-06
US12478979B2 (en) 2025-11-25
JP2022522619A (ja) 2022-04-20
EP3918010A4 (en) 2022-10-26
EP3918010A1 (en) 2021-12-08
WO2020160260A9 (en) 2021-08-26
US20220016637A1 (en) 2022-01-20

Similar Documents

Publication Publication Date Title
US12209190B2 (en) Methods and compositions for magnetizable plastics
US12478979B2 (en) Methods and compositions for magnetizable plastics
CN112771597B (zh) 模内标签和带模内标签的容器
AU2017378087A1 (en) Method and apparatus for recycling packaging material
US20110223362A1 (en) Metalized in mold label and molded articles having same
TW201102272A (en) Laminated article, packed article, sheet for packing, packing material, label and vessel
JPH07507397A (ja) 剥離可能ラベル
CN107065466B (zh) 环糊精组合物的静电印刷
EP3774250B1 (de) Verfahren zur nachhaltigen und energiesparenden herstellung eines recycelbaren, mit einem etikett versehenen kunststoffbehälters
JP2014000734A (ja) レーザマーキングによる内部印字方法
WO2003073401A1 (fr) Etiquette thermoretractable metallique tres brillante
JP7557097B1 (ja) プラスチック基材塗工用の水性液状組成物、水性ニス、水性メジウム、水性プライマー、水性インキ、積層体、ラベル及び包装材
WO2025030042A1 (en) Methods and compositions for sorting objects having functionalized coatings
JPWO2020160260A5 (ja)
WO2021220795A1 (ja) ラベル付き容器
CN109195764B (zh) 带标签容器的制造装置及制造方法
EP4269524A1 (en) Heat-removable label
US20250273094A1 (en) Light blocking labels
US10549474B2 (en) Systems and methods for interleaving material in printed rolled substrate materials to prevent offset
JP7731096B2 (ja) 樹脂フィルム及び包装体
JP6754803B2 (ja) 熱転写遮熱装飾シート
Kotkar Study of Sustainable Development in Paper, Printing and Packaging Material Applications to Support Circular Economy
KR20250123107A (ko) 천공이 있는 재활용 가능한 광 차단 필름
EP4670972A1 (en) LAMINATE
JP6262945B2 (ja) 熱収縮性筒状ラベル長尺体

Legal Events

Date Code Title Description
A521 Request for written amendment filed

Free format text: JAPANESE INTERMEDIATE CODE: A523

Effective date: 20230127

A621 Written request for application examination

Free format text: JAPANESE INTERMEDIATE CODE: A621

Effective date: 20230127

A521 Request for written amendment filed

Free format text: JAPANESE INTERMEDIATE CODE: A523

Effective date: 20230407

A977 Report on retrieval

Free format text: JAPANESE INTERMEDIATE CODE: A971007

Effective date: 20231115

A131 Notification of reasons for refusal

Free format text: JAPANESE INTERMEDIATE CODE: A131

Effective date: 20231121

A521 Request for written amendment filed

Free format text: JAPANESE INTERMEDIATE CODE: A523

Effective date: 20240221

TRDD Decision of grant or rejection written
A01 Written decision to grant a patent or to grant a registration (utility model)

Free format text: JAPANESE INTERMEDIATE CODE: A01

Effective date: 20240501

A61 First payment of annual fees (during grant procedure)

Free format text: JAPANESE INTERMEDIATE CODE: A61

Effective date: 20240522

R150 Certificate of patent or registration of utility model

Ref document number: 7494192

Country of ref document: JP

Free format text: JAPANESE INTERMEDIATE CODE: R150