JP7323398B2 - ワイパーブレード用のプライマリレバー - Google Patents

ワイパーブレード用のプライマリレバー Download PDF

Info

Publication number
JP7323398B2
JP7323398B2 JP2019168948A JP2019168948A JP7323398B2 JP 7323398 B2 JP7323398 B2 JP 7323398B2 JP 2019168948 A JP2019168948 A JP 2019168948A JP 2019168948 A JP2019168948 A JP 2019168948A JP 7323398 B2 JP7323398 B2 JP 7323398B2
Authority
JP
Japan
Prior art keywords
primary lever
clip
holder
opening
side wall
Prior art date
Legal status (The legal status is an assumption and is not a legal conclusion. Google has not performed a legal analysis and makes no representation as to the accuracy of the status listed.)
Active
Application number
JP2019168948A
Other languages
English (en)
Other versions
JP2021046050A (ja
Inventor
雅彦 佐藤
Current Assignee (The listed assignees may be inaccurate. Google has not performed a legal analysis and makes no representation or warranty as to the accuracy of the list.)
Denso Wiper Systems Inc
Original Assignee
Denso Wiper Systems Inc
Priority date (The priority date is an assumption and is not a legal conclusion. Google has not performed a legal analysis and makes no representation as to the accuracy of the date listed.)
Filing date
Publication date
Application filed by Denso Wiper Systems Inc filed Critical Denso Wiper Systems Inc
Priority to JP2019168948A priority Critical patent/JP7323398B2/ja
Publication of JP2021046050A publication Critical patent/JP2021046050A/ja
Application granted granted Critical
Publication of JP7323398B2 publication Critical patent/JP7323398B2/ja
Active legal-status Critical Current
Anticipated expiration legal-status Critical

Links

Images

Description

本願発明は、ワイパーブレード用のプライマリレバーに関し、特に、カバー部材としても機能するプライマリレバーに関する。
一般的に、ワイパーアームは、車両に固定されるアームヘッドと、フロントガラスを払拭するためのワイパーブレードを保持可能なアームピースと、該アームピースに連結されるリテーナと、該リテーナをアームヘッドに枢動可能に取り付けるための軸受け装置とを備えている。アームヘッドは、ボルトを通して車体に固定できるようにボルト孔がその一端に設けられており、反対側の他端はヒンジ部が設けられている。
ワイパーブレードは、フロントガラスを払拭するためのブレードラバーアッセンブリと、このブレードラバーアッセンブリをアームピースに保持可能に取り付けるためのレバーアッセンブリとを備えている。レバーアッセンブリは、プライマリレバー、セカンダリレバー、ヨーク等の複数のレバー部材から構成されている。
近年、レバー部材をカバー部材で覆うことにより外観を向上させたワイパーブレード(いわゆるデザインブレード)が用いられるようになってきている。
特許第4227052号には、このようなデザインブレードが提案されている。
特許第4227052号で提案されているワイパーブレードは、ブレードラバーを支持する支持部を構成するレバーアッセンブリとして、プライマリレバーとセカンダリレバーとを備えている。また、これらのレバーアッセンブリを覆うカバー部材として、センターカバー部とサイドカバー部とを備えている。
一方、部品点数を削減してコストの低減を図ると共に外観を向上させるために、プライマリレバーをカバー部材の材料(例えば、樹脂)から構成し、セカンダリレバーやヨーク等を省略して、このプライマリレバーのみからレバーアッセンブリを構成するワイパーブレードが提案されている。このワイパーブレードでは、このプライマリレバーだけでブレードラバーアッセンブリを支持する構造となっている。
プライマリレバーのほぼ中央部には、ワイパーアームのアームピースに連結されるクリップを収容するための収容部が設けられている。近年、部品点数を削減してコストを抑制するために、収容部のサイズを大きくして、クリップの向きを変えて収容部に配置できるようにし、1つのプライマリレバーが左右両ハンドルに用いられている。
しかしながら、収容部のサイズを大きくすると、樹脂製のプライマリレバーの強度を保持することが困難になる。また、収容部のサイズを大きくすると、収容部にクリップを配置した際に、当該クリップの隣接部に空所部が形成されてしまう。この空所部をそのままにすると、外部から空所部に異物が入り込みクリップの作動を妨げる可能性が出てくる。さらに、空所部内に気流が発生して、ワイパーのフロントガラスへの押圧力が弱められてしまうという問題も発生する。また、空所部をそのままにしてしまうと外観上の美感も損なうという問題がある。
そのため、このような空所部を外部と遮断するための、空所部を覆うことができるように、プライマリレバーの収容部上にホルダを開閉可能に設けている。
例えば、図1乃至図6に示されているような公知の案が提案されている。図1及び図2に示されているように、プライマリレバー2のほぼ中央部には、クリップ4を収容するための収容部6が設けられている。クリップ4は収容部6内の一方の側に回動可能に設けられている。また、収容部6内の他方の側に、すなわち、クリップ4が配置された残りの部分に、ホルダ10が回動可能に設けられている。そして、ホルダ10を、収容部6から部分的に突出する方向に回動させるか(図2又は図5参照)、あるいは、ホルダ10を完全に取り外すことにより(図3参照)、図示しないアームピースをクリップ4に連結できるようになっている。ホルダ10を、収容部6から部分的に突出する方向に回動させた場合は、アームピースをクリップ4に連結した後、ホルダ10を収容部6内の方向に回動させて、図1に示す状態に戻す。一方、ホルダ10を収容部6から取り外した場合は、アームピースをクリップ4に連結した後、ホルダ10を、再度、収容部6に装着する。
クリップ4とホルダ10の向きを逆にして、クリップ4とホルダ10を収容部6に回動可能に取り付けることができる。これによって、1つのプライマリレバーを左右両ハンドルに用いることが可能となっている。
収容部6内の一方側あるいは他方側にクリップ4が配置された状態において、収容部6のうちクリップ4に隣接した部位に空所部8が形成されてしまう。この空所部8とプライマリレバーの外部とを遮断するために、上述したホルダ10が空所部8上に着脱且つ回動可能に設けられている。ホルダ10によって、空所部8とプライマリレバーの外部とが遮断されることから、外部から空所部8に異物が入り込むことがなくなると共に、空所部8内に気流が発生することもない。また、空所部8が外部から視認できなくなるので、外観上の美感も損なうこともない。このように、ホルダ10は蓋又は蓋部材として機能している。
収容部6の両側には、それぞれ、シャフト部14、16が設けられている。収容部6の中央には軸部13が設けられている。クリップ4を図1や図2に示すように配置する場合、クリップ4は軸部13に回動可能に取り付けられる。このとき、ホルダ10はシャフト部16に回動可能に取り付けられる。一方、クリップ4の向きを逆にして収容部6に配置する場合、クリップ4はその向きを変えて軸部13に回動可能に取り付けられ、ホルダ10はシャフト部14に回動可能に取り付けられる。このようして、1つのプライマリレバーを左右両ハンドルに用いることができる。
ホルダ10の一方の側には、U字状の嵌合受け部12が形成されている。図1乃至図5に示されたように、クリップ4が収容部6内に配置された場合、嵌合受け部12は、収容部6のうちクリップ4の反対側に設けられたシャフト部16に嵌合され、これによって、ホルダ10は、シャフト部16を中心として回動できる。このようにして、ホルダ10をプライマリレバー2に対し回動可能に設けることによって、ホルダ10が収容部6のうちクリップ4に隣接して形成された空所部8上の開口部を閉じることができる。
ホルダ10は、その裏面に、一対の脚部20が設けられており、これら脚部20がプライマリレバーの空所部8内に延在している(図5参照)。この脚部20の先端部には外側に向けて突出する爪部22が形成されている。そして、空所部8を画定するプライマリレバー2の内壁にそれぞれ形成された溝部24に爪部22が摺動可能に嵌合される。溝部24は、プライマリレバーの内壁に沿って、図中上下方向に形成されている。このようにして、爪部22が溝部24に摺動可能に案内されることによって、ホルダ10が空所部8の開口を開閉できるようになっている。
また、ホルダ10の幅方向の両端部に、それぞれ、係止部15が水平方向に突出して形成されている。そして、ホルダ10が空所部8を閉じたとき、係止部15がプライマリレバーの側壁の上部に形成された凹部26に係合して、ホルダ10の移動が規制され、ホルダ10の閉じた状態が維持される。
このように、図1乃至図6に示されたプライマリレバーにおいては、その側壁の内壁部に溝部24を形成する必要があったため、この溝部24により側壁の強度を確保するには側壁の肉厚を厚くする必要があり、コストアップにつながるという問題があった。
また、プライマリレバーの側壁の上部に凹部26を形成すると、外観上の美感を損ねるという問題もあった。
特許第4227052号
本願発明は、上記問題点に鑑みなされたものであり、側壁の肉厚を厚くすることなく強度を確保できると共に、外観上の美感を損ねることのないプライマリレバーを提供することを目的とする。
このため、本発明は、
ワイパーアームのアームピースに装着可能なクリップを収容するための収容部を有するプライマリレバーであって、
前記プライマリレバーは、前記収容部のうち前記アームピース側に開口部を有しており、
前記プライマリレバーは、カバー部材用の材料から構成されており、
前記アームピースは、該開口部を介して前記収容部内に配置される前記クリップに連結可能となっており、
前記収容部は、前記クリップが収容可能なクリップ収容部と、該クリップ収容部に隣接したクリップ非収容部とを備え、クリップ収容部とクリップ非収容部は、前記プライマリレバーの長手方向に沿って配置され、前記開口部に連通しており、
前記プライマリレバーは、また、前記開口部を少なくとも部分的に開閉可能に、また、該プライマリレバーに着脱可能に取り付けることができる閉鎖手段を備えており、
前記閉鎖手段は、
前記開口部のうち、前記クリップ非収容部上の部分を閉じる閉位置と、前記開口部のうち、前記クリップ非収容部上の部分を開ける開位置との間を移動できるホルダと、
前記ホルダの一端側に設けられ、前記ホルダを開閉可能に前記プライマリレバーに支持するヒンジ手段と、
前記ホルダの他端側に設けられた第1の脚部とを備え、
前記ホルダが前記閉位置にある状態で、前記第1の脚部は前記収容部のクリップ非収容部内に延在しており、
前記閉鎖手段は、また、前記ホルダが前記閉位置にある状態で、前記第1の脚部を前記プライマリレバーの内壁部に嵌合させる第1の嵌合手段を備えており、
前記第1の嵌合手段は、
前記第1の脚部に形成された第1の係合受部と、
該第1の係合受部に嵌合可能な第1の係合突起とを備えており、
該第1の係合突起は、前記非クリップ収容部を部分的に画定する前記プライマリレバーの内壁部に形成されたプライマリレバーを提供するものである。
上記プライマリレバーにおいて、前記クリップは、その向きを変えて、前記クリップ非収容部にも配置でき、また、前記クリップが、前記クリップ非収容部に配置されたとき、前記閉鎖手段は、前記クリップ収容部に配置されて、前記クリップ収容部上の開口部を開閉できる。
上記プライマリレバーにおいて、前記第1の係合受部は、前記第1の係合突起に嵌合できる孔を有しても良い。
上記プライマリレバーにおいて、前記プライマリレバーの長手方向に沿って、前記クリップと前記閉鎖手段が、前記収容部に並んで配置されていても良い。
上記プライマリレバーにおいて、
前記プライマリレバーは、長尺状の天板と、該天板の幅方向の一端から略直角方向に折り曲げて形成された第1の側壁と、前記天板の幅方向の他端から略直角方向に折り曲げて形成された第2の側壁と、前記第1の側壁の一方の端部と前記第2の側壁の一方の端部との間を延在する第3の側壁と、前記第1の側壁の他方の端部と前記第2の側壁の他方の端部との間を延在する第4の側壁とを備えることができ、
前記開口部は、前記天板に形成でき、
前記収容部は、前記第1の側壁と、前記第2の側壁と、前記第3の側壁と、前記第4の側壁とによって画定でき、
前記第1の係合突起は、前記第1の側壁の内壁部に形成されていることを特徴とするプライマリレバー。
上記プライマリレバーにおいて、
前記クリップ非収容部は、空所部から構成でき、
前記第1の係合突起は、前記第1の側壁の内壁部から前記空所部内に向けて突出しても良い。
上記プライマリレバーにおいて、
前記ホルダは、
前記開口部のうち前記空所部上の部分を閉じることができるように、前記開口部に沿って延在可能な平板状のホルダ本体と、
前記ホルダ本体のうち前記クリップ収容部と反対側の端部から湾曲して延在する湾曲部とを備えることができ、
前記ヒンジ手段は、
前記第1の側壁の内壁部と、前記第2の側壁の内壁部との間を延在し、前記空所部のうち前記クリップ収容部と反対側に設けられたシャフトと、
前記湾曲部の先端に形成され、前記シャフトに回転可能に取り付けられた嵌合部とを備えることができ、
前記ホルダは、前記ホルダ本体が、前記開口部のうち前記空所部上の部分を開けた前記開位置と、
前記ホルダ本体により、前記開口部のうち前記空所部上の部分が閉じられた前記閉位置との間を、前記シャフトを中心として回動できる。
上記プライマリレバーにおいて、
前記第1の脚部は、前記ホルダ本体のうち前記開口部に対向する開口部対向面に設けることができ、該ホルダ本体の開口部対向面から、前記空所部に向けて延在しても良い。
上記プライマリレバーにおいて、
前記ホルダが前記閉位置にあるとき、前記第1の係合突起が前記第1の係合受部に嵌合できる。
上記プライマリレバーにおいて、
前記第1の脚部には、前記第1の係合受部から、前記空所部側に延在する先端部にかけて傾斜したテーパー部を形成しても良い。
上記プライマリレバーにおいて、
前記第1の係合突起は、
前記第1の側壁の内壁部に固定されたほぼ円柱状の第1の係合突起本体と、
該第1の係合突起本体の先端部に形成されたほぼ円錐状の第1の円錐状部とを備えることができる。
上記プライマリレバーにおいて、
前記ホルダが前記閉位置にあるとき、前記第1の係合突起が前記第1の係合受部に嵌合し、前記ホルダ本体の上面部と前記プライマリレバーの上面部とが、ほぼ同一平面上となるように構成しても良い。
上記プライマリレバーにおいて、
前記第1の脚部は、前記ホルダ本体の開口部対向面のうち前記第1の側壁の内壁部側に配置でき、
前記閉鎖手段は、さらに、前記ホルダ本体の開口部対向面のうち前記第2の側壁の内壁部側に設けられた第2の脚部を備えることができ、
前記ホルダが前記開口部を閉じた状態で、前記第2の脚部は前記収容部内に延在でき、
前記閉鎖手段は、また、前記ホルダが前記開口部を閉じた状態で、前記第2の脚部を前記プライマリレバーの第2の側壁の第2の内壁部に嵌合させる第2の嵌合手段を備えることができ、
前記第2の嵌合手段は、前記第2の脚部に形成された第2の係合受部と、前記第2の内壁部に形成され該第2の係合受部に嵌合可能な第2の係合突起とを備えることができる。
上記プライマリレバーにおいて、
前記カバー部材用の材料は、樹脂製としても良く、前記閉鎖手段も、樹脂製としても良い。
上記プライマリレバーと、該プライマリレバーに装着されたブレードラバーアッセンブリとを備えることにより、ワイパーブレードを構成できる。
かかる本願発明によれば、プライマリレバーの内壁部に係合突起を形成し、ホルダに設けた脚部に、前記係合突起に係合可能な係合受部を形成するようにしたので、プライマリレバーの内壁部に溝を形成する必要がなくなり、プライマリレバーの強度を確保できる。
図1は、従来技術に係るワイパーブレードの一部を示す斜視図である。 図2は、図1において、ホルダが開く方向に回動させた状態を図示している。 図3は、図1の一部を拡大して示す分解斜視図である。 図4は、図1の一部を拡大した斜視図ある。 図5は、図2の一部を拡大し別角度で示した斜視図である。 図6は、図1において、クリップとホルダを取り外した状態で、ワイパーブレードの一部を拡大して示した斜視図である。 図7は、本発明の一実施形態に係るワイパーブレードの一部分の斜視図である。 図8は、図7の一部を拡大した斜視図である。 図9は、図8の内部の概略を示した分解斜視図である。 図10は、ホルダが開位置にある状態を概略的に示した分解斜視図である。 図11は、ホルダが閉位置にある状態を概略的に示した分解斜視図である。 図12は、ホルダが閉位置にある状態を示した部分断面図である。 図13は、図12を部分的に拡大した部分断面図である。
以下、本願発明の一実施形態に係るレバーアッセンブリがワイパーブレードに適用された例について、図7乃至図13に基づいて説明する。
ワイパーブレード30は、被払拭面(例えば、自動車のフロントガラス)を払拭するためのブレードラバーアッセンブリ(図示せず)と、このブレードラバーアッセンブリをワイパーアームのアームピース(図示せず)に保持可能に取り付けるためのレバーアッセンブリとしてのプライマリレバー32とを備えている。
レバーアッセンブリは、プライマリレバー32及びサイドカバー(図示せず)から構成されている。すなわち、部品点数を削減してコストの低減を図るために、ワイパーブレード30には、セカンダリレバーやヨーク等が設けられておらず、このプライマリレバー32とサイドカバー(図示せず)からレバーアッセンブリが構成されている。プライマリレバー32は、その外観を向上させるために、カバー部材に用いられる材料(例えば、樹脂)から形成されている。
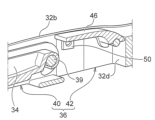
プライマリレバー32には、そのほぼ中央部に、ワイパーアームのアームピースに装着可能なクリップ34を収容するための収容部36が形成されている。クリップ34は、プライマリレバー32とは別体に形成されており、ワイパーブレード30をワイパーアーム(図示せず)に連結させるための結合部材である。
プライマリレバー32は、収容部36のうちアームピースが配置される側、すなわち、図中上方に、開口部38を有している。より具体的には、収容部36は、図中上方に開口部38を有している。
アームピース(図示せず)は、開口部38を介して収容部36内に配置されているクリップ34に連結される。
収容部36は、クリップ34が収容されるクリップ収容部40と、該クリップ収容部40に隣接したクリップ非収容部としての空所部42とを備えている(図10参照)。クリップ収容部40と空所部42は、プライマリレバー32の長手方向に沿って配置され、開口部38に連通している。
本実施形態において、クリップ34は、収容部36内に設けた軸部39に回動可能に取り付けられている。クリップ34の向きを逆にして、収容部36の他方側(すなわち、空所部42)にも配置でき、この場合も、軸部39に回動可能にクリップ34を取り付けることができる。これによって、1つのプライマリレバー32を左右両ハンドルに用いることが可能となっている。すなわち、クリップの向きを逆にして、収容部36の他方側に回動可能にクリップ34を取り付けた場合、クリップ収容部40が空所部となり、空所部42がクリップ収容部となる。
プライマリレバー32は、また、開口部38を少なくとも部分的に開閉可能に閉鎖する閉鎖手段44を備えている。閉鎖手段44は、開口部38のうち、空所部42上の部分を閉じる閉位置と、開口部38のうち、空所部42上の部分を開ける開位置との間を移動できるように設けられたホルダ46と、ホルダ46の一端側に設けられ、ホルダ46を開閉可能にプライマリレバー32に支持するヒンジ手段48と、ホルダ46の他端側に設けられた第1の脚部50及び第2の脚部52とを備えている。
本実施形態のように、ホルダ46には、第1の脚部50と第2の脚部52とからなる一対の脚部を設けて、第1の脚部50と第2の脚部52によりホルダ46を確実に閉位置に保持できるようにした方が好ましい。しかしながら、本発明はこれの構成に限らず、第1の脚部50と第2の脚部52のいずれか一方のみを用いるようにしても良い。
なお、図10と図11は、プライマリレバーの収容部内を明瞭に示すことができるように、第2の脚部52を省略して図示している。
ホルダ46が閉位置にある状態で、第1の脚部50と第2の脚部52は、収容部36の空所部42内に延在している(図11乃至図13参照)。
閉鎖手段44は、また、ホルダ46が閉位置にある状態で、第1の脚部50をプライマリレバーの一方の内壁部に嵌合させる第1の嵌合手段と、第2の脚部52をプライマリレバーの他方の内壁部に嵌合させる第2の嵌合手段とを備えている。
第1の嵌合手段は、第1の脚部50に形成された第1の係合受部54と、第1の係合受部54に嵌合可能な第1の係合突起56とを備えている。第1の係合突起56は、空所部42を部分的に画定するプライマリレバー32の一方の内壁部に形成されている。
第2の嵌合手段は、第2の脚部52に形成された第2の係合受部58と、第2の係合受部58に嵌合可能な第2の係合突起(図示せず)とを備えている。第2の係合突起は、空所部42を部分的に画定するプライマリレバー32の他方の内壁部に形成されている。第1の係合受部54は、第1の係合突起56に嵌合できる孔を有している。同様に、第2の係合受部58は、第2の係合突起に嵌合できる孔を有している。
クリップ34と閉鎖手段44は、記プライマリレバーの長手方向に沿って、収容部36に並んで配置されている。
プライマリレバー32は、長尺状のレバー本体としての天板32aと、該天板32aの幅方向の一端から略直角方向に折り曲げて形成された第1の側壁32bと、天板32aの幅方向の他端から略直角方向に折り曲げて形成された第2の側壁32cとを備えている。
収容部36を画定する第1の側壁32bの部分と第2の側壁32cの部分とは、ほぼ平行に天板32aから延在しているが、収容部36を画定する第2の側壁32cの部分以外の第2の側壁32cの部分は、第1の側壁32bよりも天板32aから緩く傾斜している。そして、プライマリレバー32が右ハンドル用に用いられた場合でも、左ハンドル用に用いられた場合でも、常に、緩やかな傾斜面を有する第2の側壁32cが、フロントガラス上で下方を向くように、プライマリレバー32は配置される。これにより、走行中に、傾斜面を有する第2の側壁32cにダウンフォースが働き、払拭作業が良好となる。
第1の側壁32bの一方の端部と第2の側壁32cの一方の端部との間には、第3の側壁32dが延在している。第1の側壁32bの他方の端部と第2の側壁の他方の端部との間には、図示しない第4の側壁が延在している。
開口部38は、具体的には、図中、収容部36のうち上方に画定されており、天板32aのほぼ中央に形成されている。収容部36は、第1の側壁32bと、第2の側壁32cと、第3の側壁32dと、図示しない第4の側壁とによって画定されている
第1の係合突起56は、第1の側壁32bの内壁部に形成されており、図示しない第2の係合突起は、第2の側壁32cの内壁部に形成されている。第1の係合突起56は第1の係合突起本体56aと第1の円錐状部56bとからなっている。そして、第1の係合突起56は、第1の側壁32bの内壁部から空所部42内に向けて突出している。より具体的には、第1の係合突起56は、第1の側壁32bの内壁部に対して直交して延びている。第2の係合突起も第1の係合突起と同様に構成されており、その詳細な説明は省略する。
ホルダ46は、開口部38のうち空所部42上の部分を閉じることができるように、開口部38に沿って延在可能な平板状のホルダ本体46aと、ホルダ本体46aのうちクリップ収容部40と反対側の端部から湾曲して延在する湾曲部46bとを備えている。
ヒンジ手段48は、第1の側壁32bの内壁部と、第2の側壁32cの内壁部との間を延在し、空所部42のうちクリップ収容部40と反対側に設けられたシャフト60と、湾曲部46bの先端に形成され、シャフト60に回転可能に取り付けられた嵌合部46cとを備えている。
ホルダ46とクリップ34との配置位置が入れ替わった場合、収容部36のうち、図に示すシャフト60の位置と反対側に設けられた図示しないシャフトが、ヒンジ手段48の一部を構成することになる。
ホルダ46は、ホルダ本体46aが、開口部38のうち空所部42上の部分を開けた開位置と、ホルダ本体46aにより、開口部38のうち空所部42上の部分が閉じられた閉位置との間を、シャフト60を中心として回動できる。
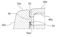
ホルダ本体46aは、開口部38に対向する開口部対向面46dを有している。第1の脚部50は、ホルダ本体46aの開口部対向面46dに設けられており、ホルダ本体の開口部対向面46dから、空所部42に向けて延在している。第1の脚部50は、ホルダ本体46aの開口部対向面46dのうち第1の側壁32bの内壁部側に配置されている。第2の脚部52も、ホルダ本体46aの開口部対向面46dに設けられており、開口部対向面46dから、空所部42に向けて延在している。第2の脚部52は、ホルダ本体46aの開口部対向面46dのうち第2の側壁32cの内壁部側に配置されている。
上述したように、ホルダ46は、開位置と閉位置との間を移動でき、ホルダ46が閉位置にあるとき、第1の係合突起56が第1の係合受部54に嵌合すると共に、図示しない第2の係合突起が第2の係合受部58に嵌合する。これによって、ホルダ46は、閉位置に保持できるようになっている。
第1の脚部50には、第1の係合受部54から、空所部側に延在する先端部にかけて傾斜したテーパー部50aが形成されている。第2の脚部52にも、同様に、図示しないテーパー部が形成されている。
一方、第1の係合突起56は、第1の側壁32bの内壁部に固定されたほぼ円柱状の第1の係合突起本体56aと、第1の係合突起本体56aの先端部に形成されたほぼ円錐状の第1の円錐状部56bとを備えている。第2の側壁32cの内壁部に設けられた、図示しない第2の係合突起も、第1の係合突起56と同様な構成を有している。
ホルダ46が開位置から閉位置に向けて回動するとき、第1の脚部50のテーパー部50aが、第1の係合突起56の第1の円錐状部56bの傾斜部に当接して、この傾斜部上を摺動する。このため、第1の係合受部54を円滑に第1の係合突起56に嵌合させることができる。同様に、第2の係合受部58も円滑に第2の係合突起(図示せず)に嵌合させることができる。
第1の係合突起56が第1の係合受部54に嵌合し、第2の係合突起が第2の係合受部58に嵌合して、ホルダ46が閉位置にあるとき、ホルダ本体46aの上面部と、プライマリレバー32の第1の側壁32bの上面部32eと、第2の側壁32cの上面部とが、ほぼ同一平面上となるように、第1の係合突起56と第2の係合突起が位置決めされている。
なお、プライマリレバー32も、閉鎖手段44も、樹脂製であることが好ましい。
上記したように、クリップ34の向きを逆にして、収容部36の他方側にも回動可能にクリップ34を取り付けることができ、これによって、1つのプライマリレバー32を左右両ハンドルに用いることが可能となっている。すなわち、クリップの向きを逆にして、収容部36の他方側に回動可能にクリップ34を取り付けた場合、クリップ収容部40が空所部となり、空所部42がクリップ収容部となる。
より具体的に説明すると、クリップ34は、その向きを変えて、クリップ非収容部42にも配置できる。このように、クリップ34がクリップ非収容部42に配置されたとき、閉鎖手段44は、クリップ収容部40に配置されて、クリップ収容部上の開口部を開閉できる。したがって、クリップ収容部40を画定する第1の側壁32bの内壁部と第2の側壁32cの内壁部にも、同様に、それぞれ、第3の係合突起(図示せず)と第4の係合突起(図示せず)が設けられている。そして、ホルダ46が閉位置にあるとき、第1の係合受部54が、第2の側壁32cの内壁部に設けられた第4の係合突起に嵌合し、第2の係合受部58が、第1の側壁32bの内壁部に設けられた第3の係合突起に嵌合するようになっている。
クリップ34には、図示しない一対の凹状溝(図示せず)が形成されている。一方の凹状溝は、クリップ34のうち第1の側壁32bの内壁部側に形成されており、他方の凹状溝は、クリップ34のうち第2の側壁32cの内壁部側に形成されている。
図11に示されているように、クリップ34がクリップ収容部40に配置された場合、クリップ34の一方の凹状溝は、第1の側壁32bの内壁部に設けられた第3の係合突起(図示せず)に係合し、クリップ34の他方の凹状溝は、第2の側壁32cの内壁部に設けられた第4の係合突起(図示せず)に係合する。第3及び第4の係合突起が凹状溝に係合することにより、クリップ34が一定の回動を許容されると共に、クリップ34が所定以上の回動が規制されるように、凹状溝は弧状に形成されている。
クリップ34がその向きを変えてクリップ非収容部42に配置された場合、クリップ34の一方の凹状溝は、第2の側壁32cの内壁部に設けられた第2の係合突起(図示せず)に係合し、クリップ34の他方の凹状溝は、第1の側壁32bの内壁部に設けられた第1の係合突起56に係合する。この場合も同様に、クリップ34は、一定の回動を許容されると共に、所定以上の回動が規制される。
以上、本発明の幾つかの実施形態のみを説明したが、本発明の新規の教示や利点から実質的に外れることなく例示の実施形態に、多様な変更または改良を加えることが可能であることが当業者には容易に理解できるであろう。従って、その様な変更または改良を加えた形態も本発明の技術的範囲に含むことを意図する。
上記実施形態を任意に組み合わせても良い。
2…プライマリレバー
4…クリップ
6…収容部
8…空所部
10…ホルダ
12…嵌合受け部
13…軸部
14…シャフト部
15…係止部
18…空所部
20…脚部
22…爪部
24…溝部
26…凹部
30…ワイパーブレード
32…プライマリレバー
34…クリップ
36…収容部
38…開口部 39…軸部
40…クリップ収容部
42…空所部
44…閉鎖手段
46…ホルダ
48…ヒンジ手段
50…第1の脚部
52…第2の脚部
54…第1の係合受部
56…第1の係合突起
58…第2の係合受部
60…シャフト
32a…天板
32b…第1の側壁
32c…第2の側壁
32d…第3の側壁
32e…上面部
46a…ホルダ本体
46b…湾曲部
46c…嵌合部
46d…開口部対向面
50a…テーパー部
56a…第1の係合突起本体
56b…第1の円錐状部

Claims (15)

  1. ワイパーアームのアームピースに装着可能なクリップを収容するための収容部を有するプライマリレバーであって、
    前記プライマリレバーは、前記収容部のうち前記アームピース側に開口部を有しており、
    前記プライマリレバーは、カバー部材用の材料から構成されており、
    前記アームピースは、該開口部を介して前記収容部内に配置される前記クリップに連結可能となっており、
    前記収容部は、前記クリップが収容可能なクリップ収容部と、該クリップ収容部に隣接したクリップ非収容部とを備え、クリップ収容部とクリップ非収容部は、前記プライマリレバーの長手方向に沿って配置され、前記開口部に連通しており、
    前記プライマリレバーは、また、前記開口部を少なくとも部分的に開閉可能に、また、該プライマリレバーに着脱可能に取り付けできる閉鎖手段を備えており、
    前記閉鎖手段は、
    前記開口部のうち、前記クリップ非収容部上の部分を閉じる閉位置と、前記開口部のうち、前記クリップ非収容部上の部分を開ける開位置との間を移動できるホルダと、
    前記ホルダの一端側に設けられ、前記ホルダを開閉可能に前記プライマリレバーに支持するヒンジ手段と、
    前記ホルダの他端側に設けられた第1の脚部とを備え、
    前記ホルダが前記閉位置にある状態で、前記第1の脚部は前記収容部のクリップ非収容部内に延在しており、
    前記閉鎖手段は、また、前記ホルダが前記閉位置にある状態で、前記第1の脚部を前記プライマリレバーの内壁部に嵌合させる第1の嵌合手段を備えており、
    前記第1の嵌合手段は、
    前記第1の脚部に形成された第1の係合受部と、
    該第1の係合受部に嵌合可能な第1の係合突起とを備えており、
    該第1の係合突起は、前記非クリップ収容部を部分的に画定する前記プライマリレバーの内壁部に形成されたことを備えており、
    前記第1の係合受部は、前記第1の係合突起に嵌合できる孔を有していることを特徴とするプライマリレバー。
  2. 請求項1に記載のプライマリレバーにおいて、
    前記クリップは、その向きを変えて、前記クリップ非収容部にも配置でき、
    前記クリップが、前記クリップ非収容部に配置されたとき、前記閉鎖手段は、前記クリップ収容部に配置されて、前記クリップ収容部上の開口部を開閉できることを特徴とするプライマリレバー。
  3. 請求項に記載のプライマリレバーにおいて、
    前記プライマリレバーの長手方向に沿って、前記クリップと前記閉鎖手段が、前記収容部に並んで配置されていることを特徴とするプライマリレバー。
  4. 請求項に記載のプライマリレバーにおいて、
    前記プライマリレバーは、長尺状の天板と、該天板の幅方向の一端から折り曲げて形成された第1の側壁と、前記天板の幅方向の他端から折り曲げて形成された第2の側壁と、前記第1の側壁の一方の端部と前記第2の側壁の一方の端部との間を延在する第3の側壁と、前記第1の側壁の他方の端部と前記第2の側壁の他方の端部との間を延在する第4の側壁とを備えており、
    前記開口部は、前記天板に形成されており、
    前記収容部は、前記第1の側壁と、前記第2の側壁と、前記第3の側壁と、前記第4の側壁とによって画定されており、
    前記第1の係合突起は、前記第1の側壁の内壁部に形成されていることを特徴とするプライマリレバー。
  5. 請求項に記載のプライマリレバーにおいて、
    前記クリップ非収容部は、空所部からなり、
    前記第1の係合突起は、前記第1の側壁の内壁部から前記空所部内に向けて突出していることを特徴とするプライマリレバー。
  6. 請求項に記載のプライマリレバーにおいて、
    前記ホルダは、
    前記開口部のうち前記空所部上の部分を閉じることができるように、前記開口部に沿って延在可能な平板状のホルダ本体と、
    前記ホルダ本体のうち前記クリップ収容部と反対側の端部から湾曲して延在する湾曲部とを備えており、
    前記ヒンジ手段は、
    前記第1の側壁の内壁部と、前記第2の側壁の内壁部との間を延在し、前記空所部のうち前記クリップ収容部と反対側に設けられたシャフトと、
    前記湾曲部の先端に形成され、前記シャフトに回転可能に取り付けられた嵌合部とを備えており、
    前記ホルダは、前記ホルダ本体が、前記開口部のうち前記空所部上の部分を開けた前記開位置と、
    前記ホルダ本体により、前記開口部のうち前記空所部上の部分が閉じられた前記閉位置との間を、前記シャフトを中心として回動できることを特徴とするプライマリレバー。
  7. 請求項に記載のプライマリレバーにおいて、
    前記第1の脚部は、前記ホルダ本体のうち前記開口部に対向する開口部対向面に設けられ、該ホルダ本体の開口部対向面から、前記空所部に向けて延在していることを特徴とするプライマリレバー。
  8. 請求項に記載のプライマリレバーにおいて、
    前記ホルダが前記閉位置にあるとき、前記第1の係合突起が前記第1の係合受部に嵌合することを特徴とするプライマリレバー。
  9. 請求項に記載のプライマリレバーにおいて、
    前記第1の脚部には、前記第1の係合受部から、前記空所部側に延在する先端部にかけて傾斜したテーパー部が形成されていることを特徴とするプライマリレバー。
  10. 請求項に記載のプライマリレバーにおいて、
    前記第1の係合突起は、
    前記第1の側壁の内壁部に固定されたほぼ円柱状の第1の係合突起本体と、
    該第1の係合突起本体の先端部に形成されたほぼ円錐状の第1の円錐状部とを備えていることを特徴とするプライマリレバー。
  11. 請求項10に記載のプライマリレバーにおいて、
    前記ホルダが前記閉位置にあるとき、前記第1の係合突起が前記第1の係合受部に嵌合し、前記ホルダ本体の上面部と前記プライマリレバーの上面部とが、ほぼ同一平面上となるように構成されたことを特徴とするプライマリレバー。
  12. 請求項に記載のプライマリレバーにおいて、
    前記第1の脚部は、前記ホルダ本体の開口部対向面のうち前記第1の側壁の内壁部側に配置されており、
    前記閉鎖手段は、さらに、前記ホルダ本体の開口部対向面のうち前記第2の側壁の内壁部側に設けられた第2の脚部を備え、
    前記ホルダが前記開口部を閉じた状態で、前記第2の脚部は前記収容部内に延在しており、
    前記閉鎖手段は、また、前記ホルダが前記開口部を閉じた状態で、前記第2の脚部を前記プライマリレバーの第2の側壁の第2の内壁部に嵌合させる第2の嵌合手段を備えており、
    前記第2の嵌合手段は、前記第2の脚部に形成された第2の係合受部と、前記第2の内壁部に形成され該第2の係合受部に嵌合可能な第2の係合突起とを備えていることを特徴とするプライマリレバー。
  13. 請求項1乃至12のうちいずれか1項に記載のプライマリレバーにおいて、
    前記カバー部材用の材料は、樹脂製であり、前記閉鎖手段も、樹脂製であることを特徴とするプライマリレバー。
  14. 請求項1乃至13のうちいずれか1項に記載のプライマリレバーと、該プライマリレバーに装着されたブレードラバーアッセンブリとを備えたことを特徴とするワイパーブレード。
  15. 請求項12に記載のプライマリレバーにおいて、
    前記クリップには一対の凹状溝が形成されており、
    前記クリップが、前記クリップ非収容部に配置されたとき、一方の凹状溝が前記第2の係合突起に係合し、他方の凹状溝が、前記第1の係合突起56に係合して、クリップの回転が規制されることを特徴とするプライマリレバー。
JP2019168948A 2019-09-18 2019-09-18 ワイパーブレード用のプライマリレバー Active JP7323398B2 (ja)

Priority Applications (1)

Application Number Priority Date Filing Date Title
JP2019168948A JP7323398B2 (ja) 2019-09-18 2019-09-18 ワイパーブレード用のプライマリレバー

Applications Claiming Priority (1)

Application Number Priority Date Filing Date Title
JP2019168948A JP7323398B2 (ja) 2019-09-18 2019-09-18 ワイパーブレード用のプライマリレバー

Publications (2)

Publication Number Publication Date
JP2021046050A JP2021046050A (ja) 2021-03-25
JP7323398B2 true JP7323398B2 (ja) 2023-08-08

Family

ID=74877473

Family Applications (1)

Application Number Title Priority Date Filing Date
JP2019168948A Active JP7323398B2 (ja) 2019-09-18 2019-09-18 ワイパーブレード用のプライマリレバー

Country Status (1)

Country Link
JP (1) JP7323398B2 (ja)

Citations (6)

* Cited by examiner, † Cited by third party
Publication number Priority date Publication date Assignee Title
JP2002522289A (ja) 1998-08-07 2002-07-23 ヴァレオ システム デシュヤージュ 自動車のウィンドスクリーン用ワイパー
JP2005297646A (ja) 2004-04-07 2005-10-27 Asmo Co Ltd ワイパブレードの連結構造及び車両用ワイパ装置
JP2006137203A (ja) 2002-02-13 2006-06-01 Mitsuba Corp ワイパ装置におけるブレード支持装置
JP2014101059A (ja) 2012-11-21 2014-06-05 Nippon Wiper Blade Co Ltd ワイパーアーム
JP2016028936A (ja) 2014-07-17 2016-03-03 ヴァレオ システム デシュヤージュValeo Systemes D’Essuyage フロントガラス用流線型フラットワイパー
JP2018002140A (ja) 2016-06-27 2018-01-11 ヴァレオ システム デシュヤージュValeo Systemes D’Essuyage 自動車の駆動アームをフロントガラスワイパーに組み付けるためのコネクタ及びワイパー装置

Patent Citations (6)

* Cited by examiner, † Cited by third party
Publication number Priority date Publication date Assignee Title
JP2002522289A (ja) 1998-08-07 2002-07-23 ヴァレオ システム デシュヤージュ 自動車のウィンドスクリーン用ワイパー
JP2006137203A (ja) 2002-02-13 2006-06-01 Mitsuba Corp ワイパ装置におけるブレード支持装置
JP2005297646A (ja) 2004-04-07 2005-10-27 Asmo Co Ltd ワイパブレードの連結構造及び車両用ワイパ装置
JP2014101059A (ja) 2012-11-21 2014-06-05 Nippon Wiper Blade Co Ltd ワイパーアーム
JP2016028936A (ja) 2014-07-17 2016-03-03 ヴァレオ システム デシュヤージュValeo Systemes D’Essuyage フロントガラス用流線型フラットワイパー
JP2018002140A (ja) 2016-06-27 2018-01-11 ヴァレオ システム デシュヤージュValeo Systemes D’Essuyage 自動車の駆動アームをフロントガラスワイパーに組み付けるためのコネクタ及びワイパー装置

Also Published As

Publication number Publication date
JP2021046050A (ja) 2021-03-25

Similar Documents

Publication Publication Date Title
JP3887632B2 (ja) 飲料容器のためのホルダ
US7552502B2 (en) Wiper apparatus with covering member
KR20040057883A (ko) 소물 수납함
JP4762447B2 (ja) 容器ホルダー
JPH1024761A (ja) 車両用飲料容器ホルダ
US6425184B1 (en) Wet shaving razor having a blade assembly moveable in a plurality of directions
KR20160116329A (ko) 회동기구
JP7323398B2 (ja) ワイパーブレード用のプライマリレバー
US6899364B2 (en) Stopper structure in a glove box
US20040130165A1 (en) Latch device for cover member
JP7336333B2 (ja) インレットボックス組立て品
KR200240277Y1 (ko) 자동차용컵홀더
JP2002211323A (ja) 自動車用内装部品に備えたポケット構造
KR20000047700A (ko) 차량용 컵홀더장치
TWI807603B (zh) 車輛的電池收納裝置
JP2789550B2 (ja) 車両用アームレスト
JP4467680B2 (ja) 開閉体構造
KR100756952B1 (ko) 차량용 컵 홀더
KR100888173B1 (ko) 차량용 어시스트 핸들
JP2009241777A (ja) 車両における物入れ装置
KR0136353Y1 (ko) 헤드레스트의 테이프 보관구조
JP3608187B2 (ja) 自動車のコンソールボックス
JP2005312628A (ja) 車椅子用固定装置
JPH10278651A (ja) 自動車のテーブル付きコンソールボックス
JPH0433063Y2 (ja)

Legal Events

Date Code Title Description
A621 Written request for application examination

Free format text: JAPANESE INTERMEDIATE CODE: A621

Effective date: 20220708

A977 Report on retrieval

Free format text: JAPANESE INTERMEDIATE CODE: A971007

Effective date: 20230306

A131 Notification of reasons for refusal

Free format text: JAPANESE INTERMEDIATE CODE: A131

Effective date: 20230314

A521 Request for written amendment filed

Free format text: JAPANESE INTERMEDIATE CODE: A523

Effective date: 20230421

TRDD Decision of grant or rejection written
A01 Written decision to grant a patent or to grant a registration (utility model)

Free format text: JAPANESE INTERMEDIATE CODE: A01

Effective date: 20230714

A61 First payment of annual fees (during grant procedure)

Free format text: JAPANESE INTERMEDIATE CODE: A61

Effective date: 20230727

R150 Certificate of patent or registration of utility model

Ref document number: 7323398

Country of ref document: JP

Free format text: JAPANESE INTERMEDIATE CODE: R150