JP7075360B2 - 導体接続端子 - Google Patents

導体接続端子 Download PDF

Info

Publication number
JP7075360B2
JP7075360B2 JP2018566593A JP2018566593A JP7075360B2 JP 7075360 B2 JP7075360 B2 JP 7075360B2 JP 2018566593 A JP2018566593 A JP 2018566593A JP 2018566593 A JP2018566593 A JP 2018566593A JP 7075360 B2 JP7075360 B2 JP 7075360B2
Authority
JP
Japan
Prior art keywords
tightening
connection terminal
bus component
conductor connection
vertical portion
Prior art date
Legal status (The legal status is an assumption and is not a legal conclusion. Google has not performed a legal analysis and makes no representation as to the accuracy of the status listed.)
Active
Application number
JP2018566593A
Other languages
English (en)
Other versions
JP2019522876A (ja
Inventor
ケルマン,ハンス-ヨーゼフ
ヴィッテ,トーマス
マイヤー,ミヒャエル
Original Assignee
ヴァーゴ・フェアヴァルトゥングスゲゼルシャフト・エムベーハー
Priority date (The priority date is an assumption and is not a legal conclusion. Google has not performed a legal analysis and makes no representation as to the accuracy of the date listed.)
Filing date
Publication date
Family has litigation
First worldwide family litigation filed litigation Critical https://patents.darts-ip.com/?family=59070679&utm_source=google_patent&utm_medium=platform_link&utm_campaign=public_patent_search&patent=JP7075360(B2) "Global patent litigation dataset” by Darts-ip is licensed under a Creative Commons Attribution 4.0 International License.
Application filed by ヴァーゴ・フェアヴァルトゥングスゲゼルシャフト・エムベーハー filed Critical ヴァーゴ・フェアヴァルトゥングスゲゼルシャフト・エムベーハー
Publication of JP2019522876A publication Critical patent/JP2019522876A/ja
Application granted granted Critical
Publication of JP7075360B2 publication Critical patent/JP7075360B2/ja
Active legal-status Critical Current
Anticipated expiration legal-status Critical

Links

Images

Classifications

    • HELECTRICITY
    • H01ELECTRIC ELEMENTS
    • H01RELECTRICALLY-CONDUCTIVE CONNECTIONS; STRUCTURAL ASSOCIATIONS OF A PLURALITY OF MUTUALLY-INSULATED ELECTRICAL CONNECTING ELEMENTS; COUPLING DEVICES; CURRENT COLLECTORS
    • H01R4/00Electrically-conductive connections between two or more conductive members in direct contact, i.e. touching one another; Means for effecting or maintaining such contact; Electrically-conductive connections having two or more spaced connecting locations for conductors and using contact members penetrating insulation
    • H01R4/28Clamped connections, spring connections
    • H01R4/48Clamped connections, spring connections utilising a spring, clip, or other resilient member
    • HELECTRICITY
    • H01ELECTRIC ELEMENTS
    • H01RELECTRICALLY-CONDUCTIVE CONNECTIONS; STRUCTURAL ASSOCIATIONS OF A PLURALITY OF MUTUALLY-INSULATED ELECTRICAL CONNECTING ELEMENTS; COUPLING DEVICES; CURRENT COLLECTORS
    • H01R9/00Structural associations of a plurality of mutually-insulated electrical connecting elements, e.g. terminal strips or terminal blocks; Terminals or binding posts mounted upon a base or in a case; Bases therefor
    • H01R9/22Bases, e.g. strip, block, panel
    • H01R9/24Terminal blocks
    • H01R9/2408Modular blocks
    • HELECTRICITY
    • H01ELECTRIC ELEMENTS
    • H01RELECTRICALLY-CONDUCTIVE CONNECTIONS; STRUCTURAL ASSOCIATIONS OF A PLURALITY OF MUTUALLY-INSULATED ELECTRICAL CONNECTING ELEMENTS; COUPLING DEVICES; CURRENT COLLECTORS
    • H01R4/00Electrically-conductive connections between two or more conductive members in direct contact, i.e. touching one another; Means for effecting or maintaining such contact; Electrically-conductive connections having two or more spaced connecting locations for conductors and using contact members penetrating insulation
    • H01R4/28Clamped connections, spring connections
    • H01R4/48Clamped connections, spring connections utilising a spring, clip, or other resilient member
    • H01R4/4809Clamped connections, spring connections utilising a spring, clip, or other resilient member using a leaf spring to bias the conductor toward the busbar
    • H01R4/48185Clamped connections, spring connections utilising a spring, clip, or other resilient member using a leaf spring to bias the conductor toward the busbar adapted for axial insertion of a wire end
    • H01R4/4819Clamped connections, spring connections utilising a spring, clip, or other resilient member using a leaf spring to bias the conductor toward the busbar adapted for axial insertion of a wire end the spring shape allowing insertion of the conductor end when the spring is unbiased
    • H01R4/4821Single-blade spring
    • HELECTRICITY
    • H01ELECTRIC ELEMENTS
    • H01RELECTRICALLY-CONDUCTIVE CONNECTIONS; STRUCTURAL ASSOCIATIONS OF A PLURALITY OF MUTUALLY-INSULATED ELECTRICAL CONNECTING ELEMENTS; COUPLING DEVICES; CURRENT COLLECTORS
    • H01R4/00Electrically-conductive connections between two or more conductive members in direct contact, i.e. touching one another; Means for effecting or maintaining such contact; Electrically-conductive connections having two or more spaced connecting locations for conductors and using contact members penetrating insulation
    • H01R4/28Clamped connections, spring connections
    • H01R4/48Clamped connections, spring connections utilising a spring, clip, or other resilient member
    • H01R4/4809Clamped connections, spring connections utilising a spring, clip, or other resilient member using a leaf spring to bias the conductor toward the busbar
    • H01R4/4846Busbar details
    • HELECTRICITY
    • H01ELECTRIC ELEMENTS
    • H01RELECTRICALLY-CONDUCTIVE CONNECTIONS; STRUCTURAL ASSOCIATIONS OF A PLURALITY OF MUTUALLY-INSULATED ELECTRICAL CONNECTING ELEMENTS; COUPLING DEVICES; CURRENT COLLECTORS
    • H01R9/00Structural associations of a plurality of mutually-insulated electrical connecting elements, e.g. terminal strips or terminal blocks; Terminals or binding posts mounted upon a base or in a case; Bases therefor
    • H01R9/22Bases, e.g. strip, block, panel
    • H01R9/24Terminal blocks
    • HELECTRICITY
    • H01ELECTRIC ELEMENTS
    • H01RELECTRICALLY-CONDUCTIVE CONNECTIONS; STRUCTURAL ASSOCIATIONS OF A PLURALITY OF MUTUALLY-INSULATED ELECTRICAL CONNECTING ELEMENTS; COUPLING DEVICES; CURRENT COLLECTORS
    • H01R9/00Structural associations of a plurality of mutually-insulated electrical connecting elements, e.g. terminal strips or terminal blocks; Terminals or binding posts mounted upon a base or in a case; Bases therefor
    • H01R9/22Bases, e.g. strip, block, panel
    • H01R9/24Terminal blocks
    • H01R9/26Clip-on terminal blocks for side-by-side rail- or strip-mounting
    • H01R9/2675Electrical interconnections between two blocks, e.g. by means of busbars
    • HELECTRICITY
    • H01ELECTRIC ELEMENTS
    • H01RELECTRICALLY-CONDUCTIVE CONNECTIONS; STRUCTURAL ASSOCIATIONS OF A PLURALITY OF MUTUALLY-INSULATED ELECTRICAL CONNECTING ELEMENTS; COUPLING DEVICES; CURRENT COLLECTORS
    • H01R13/00Details of coupling devices of the kinds covered by groups H01R12/70 or H01R24/00 - H01R33/00
    • H01R13/02Contact members
    • H01R13/10Sockets for co-operation with pins or blades
    • H01R13/11Resilient sockets
    • H01R13/112Resilient sockets forked sockets having two legs
    • HELECTRICITY
    • H01ELECTRIC ELEMENTS
    • H01RELECTRICALLY-CONDUCTIVE CONNECTIONS; STRUCTURAL ASSOCIATIONS OF A PLURALITY OF MUTUALLY-INSULATED ELECTRICAL CONNECTING ELEMENTS; COUPLING DEVICES; CURRENT COLLECTORS
    • H01R4/00Electrically-conductive connections between two or more conductive members in direct contact, i.e. touching one another; Means for effecting or maintaining such contact; Electrically-conductive connections having two or more spaced connecting locations for conductors and using contact members penetrating insulation
    • H01R4/28Clamped connections, spring connections
    • H01R4/48Clamped connections, spring connections utilising a spring, clip, or other resilient member
    • H01R4/4809Clamped connections, spring connections utilising a spring, clip, or other resilient member using a leaf spring to bias the conductor toward the busbar
    • H01R4/4828Spring-activating arrangements mounted on or integrally formed with the spring housing
    • H01R4/483Pivoting arrangements, e.g. lever pushing on the spring
    • HELECTRICITY
    • H01ELECTRIC ELEMENTS
    • H01RELECTRICALLY-CONDUCTIVE CONNECTIONS; STRUCTURAL ASSOCIATIONS OF A PLURALITY OF MUTUALLY-INSULATED ELECTRICAL CONNECTING ELEMENTS; COUPLING DEVICES; CURRENT COLLECTORS
    • H01R4/00Electrically-conductive connections between two or more conductive members in direct contact, i.e. touching one another; Means for effecting or maintaining such contact; Electrically-conductive connections having two or more spaced connecting locations for conductors and using contact members penetrating insulation
    • H01R4/28Clamped connections, spring connections
    • H01R4/48Clamped connections, spring connections utilising a spring, clip, or other resilient member
    • H01R4/4809Clamped connections, spring connections utilising a spring, clip, or other resilient member using a leaf spring to bias the conductor toward the busbar
    • H01R4/484Spring housing details
    • HELECTRICITY
    • H01ELECTRIC ELEMENTS
    • H01RELECTRICALLY-CONDUCTIVE CONNECTIONS; STRUCTURAL ASSOCIATIONS OF A PLURALITY OF MUTUALLY-INSULATED ELECTRICAL CONNECTING ELEMENTS; COUPLING DEVICES; CURRENT COLLECTORS
    • H01R4/00Electrically-conductive connections between two or more conductive members in direct contact, i.e. touching one another; Means for effecting or maintaining such contact; Electrically-conductive connections having two or more spaced connecting locations for conductors and using contact members penetrating insulation
    • H01R4/28Clamped connections, spring connections
    • H01R4/48Clamped connections, spring connections utilising a spring, clip, or other resilient member
    • H01R4/4809Clamped connections, spring connections utilising a spring, clip, or other resilient member using a leaf spring to bias the conductor toward the busbar
    • H01R4/4846Busbar details
    • H01R4/4852Means for improving the contact with the conductor, e.g. uneven wire-receiving surface

Landscapes

  • Installation Of Bus-Bars (AREA)
  • Details Of Connecting Devices For Male And Female Coupling (AREA)
  • Connections Arranged To Contact A Plurality Of Conductors (AREA)
  • Contacts (AREA)
  • Coupling Device And Connection With Printed Circuit (AREA)

Description

本発明は、母線部品および締付ばねを含む導体接続端子であって、締付ばねは、母線部品に向けられた、締付位置と母線部品の間に電気導体を挟み付ける締付位置を形成する締付脚と、締付脚に続くばねアーチと、および垂直部分により母線部品に交差して伸長する装着脚とを有する導体接続端子に関する。装着脚の垂直部分は、母線部品を取り囲む端縁を備えた凹部を有する。
DE102010025930A1は、締付ばねおよび母線部品を含むこのような接続端子を示す。締付ばねおよび母線部品から形成された接点インサートは、絶縁材ハウジング内に組み込まれている。締付ばねは開放ループとして形成され、かつ装着脚および締付脚を有する。装着脚は母線に沿ってそれに当接する。この場合、母線は、締付脚の凹部内を貫通して案内されている。
DE102009004513A1は、締付ばねおよびU形状に形成された受入要素を含む導体接続端子を開示する。ばねアーチに接続された部分は、受入要素に当接する支持脚を形成する。この支持脚から、制限脚が受入要素のブラケットまで折り曲げられ、ブラケットは、締付脚と共に、電気導体を挟み付ける締付位置を形成する。支持脚は突起要素を有し、突起要素は、制限脚を、締付ばねを包囲する受入要素の開口内に固定するために位置決め可能である。制限脚は、この場合、その端縁領域を受入要素に当接させる。
DE102010025930A1 DE102009004513A1
これから出発して、本発明の課題は、締付ばねが、構造的に簡単に、自己支持型に母線部品に固定され、および締付ばねが比較的安定でかつ剛性を有する、改善された接続端子を提供することである。
課題は、請求項1の特徴を有する導体接続端子により解決される。有利な実施形態が従属請求項に記載されている。
冒頭記載のタイプの導体接続端子に対して、母線部品は当接壁を有し、当接壁は、垂直部分における、締付脚とは反対の側に位置する、装着脚の垂直部分の壁面に隣接して配置されている。当接壁は、装着脚の垂直部分を、締付脚とは反対の側の壁面で支持するように形成されている。装着脚の垂直部分は、この場合、母線部品の主伸長方向に対して垂直に配向された平面を形成する。母線部品の主伸長方向は、この場合、締付部と、締付部とは反対側の、フォーク状の接点ソケットの自由端部の間の方向により決定される。
装着脚の垂直部分を、凹部内に挿入された母線部品上で支持することにより、および締付脚とは反対側でこの垂直部分を支持することにより、締付ばねは安定してかつ剛性を有して母線部品に受け入れられかつそこで支持される。この場合、電気導体を挟み込むときまたは締付位置を開放するときに発生する力が、本質的に、締付脚と母線部品の間の閉じた系内に受け止められる、締付ばねおよび母線部品からなる自己支持型締付インサートが形成される。
「交差して」とは、垂直部分が母線部品に向かって配向されていることと理解される。90°の角度での正確な垂直配置はこの場合必要ではない。
締付脚とは反対側の当接壁の壁面で垂直部分を支持することにより、締付脚が母線から離れるように移動されたとき、締付ばねの傾斜は変化される。
装着脚は、この場合、凹部の端縁が母線部品を取り囲むことにより、凹部の境界を形成する端縁により母線部品に支持されている。用語「取り囲む」とは、母線が凹部の端縁における少なくとも2つの側に隣接することと理解される。凹部は、この場合、少なくとも片側が開いた湾状部の1つとして形成されていてもよい。凹部の端縁は、例えば、母線部品の上側およびそれに続く両方の狭い側部端縁に、または母線部品の上側、幅の狭い側部端縁および下側に当接する。
装着脚の垂直部分の凹部に、母線部品の下側と係合する横ウェブが形成されていてもよい。母線部品は、このとき、この凹部内に挿入されている。横ウェブに対向する、凹部の境界を形成する垂直部分の端縁は、このとき、母線部品に支持されている。両方とも凹部の境界を形成する、この横ウェブおよび横ウェブに対向する端縁により、装着脚は、母線部品の上側および下側において母線部品に保持される。装着脚は、この場合、母線部品内に堅く差し込まれても、または制限された公差を有して僅かに可動であってもよい。いずれの場合も、装着脚はこのように母線部品に位置が固定されている。
装着脚の垂直部分は横ウェブから間隔をなして切欠き部を有してもよい。当接壁から、このとき、切欠き部内に挿入されるフィンガ(換言すれば、指部)が突出する。これにより、締付ばねがそこにおいて母線部品に支持されている装着脚の凹部から間隔をなして、凹部から間隔をなす他の位置固定が存在する。当接壁から突出しかつ装着脚の切欠き部内に挿入される当接壁のフィンガにより、締付ばねの傾きが阻止される。
フィンガは装着脚の垂直部分を取り囲み、かつその端部を、垂直部分の、垂直部分の当接壁との当接面とは反対側に当接させてもよい。したがって、装着脚が、一方で、締付脚とは反対側の、当接壁の壁面に当接し、他方で、装着脚の締付脚に向く側においてフィンガに当接することにより、当接壁に位置が固定される。
垂直部分から、母線部品の主伸長方向に伸長する装着脚の水平部分が折り曲げられてもよい。この水平部分は母線部品に対して間隔をなして配置され、かつばねアーチに移行する。これにより、母線に対して間隔をなして、垂直部分によりきわめて安定して支持されたばねアームが提供される。この水平部分は、例えば、締付ばねを開放するとき、操作レバーと関連して締付ばねの荷重を軽減しかつ締付位置の開放のために弱いばねを提供することを可能にする。この目的のために、水平部分に作用する圧力は、操作レバーによって低減されまたは打ち消される。これに対して、閉鎖状態においては、操作レバーは水平部分上に支持可能であるので、このとき、本質的により剛な締付ばねが提供される。
母線部品および締付ばねから形成された接点インサートの水平部分は、この場合、包囲する絶縁材ハウジングなしで露出されることができ、かつ母線部品に支持部を有しなくてよい。水平部分に対するただ1つの支持が、場合により、絶縁材ハウジングまたはその上あるいはその中に配置された操作要素により提供され得る。
導体接続端子は、母線部品および締付ばねから形成された締付インサートを有する絶縁材ハウジングを含んでもよい。絶縁材ハウジングは、この場合、既知のように、電気導体を、締付ばねおよび母線部品により形成された締付位置に案内するために、導体挿入開口(導体挿入チャネル)を有してもよい。
本発明の意味において、不定冠詞“ein”は数詞と理解されるべきではないことを注記しておく。この限りにおいて、絶縁材ハウジング内に複数の締付インサートが存在していてもよい。母線部品は、複数の締付インサートに対する共通の母線の一部であってもよい。
操作要素は絶縁材ハウジング内に揺動可能または移動可能に支持されていることが考えられる。操作要素は、このとき、操作要素が揺動または移動するとき、締付脚の操作部分を押圧するように形成されている。したがって、このような操作要素により、電気導体を挟み付ける締付位置が開放可能である。さらに、挟み付けられた状態において水平部分を押圧しかつこれによりばね締付曲線を剛にするためにこれが利用されてもよいことは任意である。
母線部品は、相互に間隔をなして配置されかつフォーク状の差込接点ソケットを形成するために相互に対向するように配向された2つのフォーク歯部を有してもよい。当接壁は、このとき、両方のフォーク歯部を相互に結合する結合ウェブの側部端縁により形成されている。これにより、導体接続端子は、電気導体を挟み付ける締付接点のみならず、相手接点をフォーク状の差込接点ソケットに挟み付ける差込み接点もまた有する。フォーク歯部のために必要なフォーク歯部間の結合ウェブは、この場合、同時に当接壁として利用される。この当接壁は、装着脚の垂直部分がそれと係止するフォーク歯部に交差して形成されている。したがって、フォーク状の差込接点ソケットは、垂直部分をフォーク状の差込接点ソケットの結合ウェブに支持するために、装着脚の垂直部分と協働してもよいことは任意である。
結合ウェブから、垂直部分に当接しかつ締付脚に面するブラケットが突出してもよい。ブラケットは、締付ばねを母線部品に固定するのみではない。それは、さらに、導体ストッパが垂直部分によってのみならずブラケットによってもまた一部形成されることに寄与可能である。
母線部品は、装着脚の垂直部分を支持する領域に、溝および隆起により波形に形成された断面輪郭を有してもよい。溝および隆起を有するこのような輪郭形状により母線部品は補強され、および装着脚から母線部品への力の伝達が改善される。波形断面輪郭は、母線部品の形成のための成形過程においてきわめて簡単に形成可能である。
母線部品の主伸長方向に伸長し母線部品から間隔をなして配置され、かつばねアーチに移行する装着脚の水平部分が、装着脚の垂直部分から折り曲げられていてもよい。この場合、この水平部分から、母線部品に向かって伸長する、母線部品に支持された保持部分が突出してもよい。このように、一方で装着脚の垂直部分に、他方でばねアーチに隣接して保持部分により水平部分の母線部品における他の支持が提供され、これにより、接点インサートに発生した力はしばしば構造的に簡単かつコンパクトな方法で良好に受取り可能である。追加の保持部分により、比較的剛なばね特性曲線を有する自己支持型の安定な接点インサートが形成される。
垂直部分を支持する当接壁は、垂直部分に向けられた母線部品の端縁により形成されていてもよい。この場合、当接壁は、垂直部分に面する結合ウェブの端縁により、母線部品のフォーク歯部を相互に結合し、および/または、フォーク歯部の締付端部とは反対側のフォーク歯部の端部に位置するフォーク歯部の端縁により形成されていることが考えられる。したがって、端縁、すなわち、母線部品の一部分の端面の狭い側が当接壁として利用される。
垂直部分は、母線部品の関連する側部凹部内に挿入される少なくとも1つの側部ウェブを有してもよい。これにより、垂直部分は、当接壁に支持されるのみならず母線部品にもまた位置が固定される。
装着脚は、垂直部分に続きかつ垂直部分から折り曲げられた当接部分を有してもよく、当接部分は、母線部品の締付部分の、締付脚とは離れた側において締付部分に当接しかつ検査領域内において締付部分から間隔をなしている。垂直部分から折り曲げられかつ母線部品の締付部分の下側と係合するこの当接部分により、締付ばねの、母線部品への追加の平面支持が提供される。この装着脚は、さらに、母線部品の締付部分と共に、検査ピンのためのばね弾性検査接続部を形成し、検査ピンは、締付部分と装着脚の間で検査領域内に挿入可能である。これにより、簡単かつ確実な方法で、導体締付接点の下側で、導体接続端子に存在する電圧電位または信号が測定可能である。
本発明が実施例により付属の図面を用いて詳細に説明される。
図1は、母線部品および締付ばねから形成された締付インサートの斜視図を示す。 図2は、図1からの締付インサートの締付ばねの斜視図を示す。 図3は、切断線A-Aを有する図1からの締付インサートの側面図を示す。 図4は、切断A-A内の図3からの締付インサートの断面図を示す。 図5は、装着脚の垂直部分の背面図を示す。 図6は、図1からの接点インサートおよび操作レバーを含む導体接続端子の側面図を示す。 図7は、図6に示した二極導体接続端子の平面図を示す。 図8は、母線部品の波形輪郭を有する母線部品上における装着脚の支持の他の実施形態の断面図を示す。 図9は、母線部品に追加ブラケットを有する導体接続端子の他の実施形態の分解斜視図を示す。 図10は、図9からの導体接続端子の背面斜視図を示す。 図11は、反対側から見た、図9および10からの導体接続端子の分解斜視図を示す。 図12は、組み立てられた状態における、図9ないし11からの導体接続端子の斜視図を示す。 図13は、図12からの組み立てられた導体接続端子の背面斜視図を示す。
図1は、母線部品2および締付ばね3から形成された、締付インサート1の斜視図を示す。この締付インサート1は、絶縁材ハウジングなしで、直接導体接続端子として利用可能である。しかしながら、一般的に、導体接続端子は、絶縁材ハウジング内に組み込まれたこのような締付インサート1により形成される。
母線部品2は、金属シートから単一部品として形成され、かつその締付ばね3とは反対側に、相互に対向する2つのフォーク歯部4a、4bから形成されたフォーク状の差込接点ソケット5を有することがわかる。フォーク歯部4a、4bは、この場合、相互に対向して配向され、かつその自由可動端部にそれぞれ、前方湾曲6a、6bを有し、それらの間に接点ピンが挿入可能である。挟み付けられる接点ピンを案内するために、前方湾曲6a、6bの相互に対向する側にくぼみ7がそれぞれ設けられていてもよい。
相互に対向する両方のフォーク歯部4a、4bは、結合ウェブ8により相互に結合されている。この結合ウェブ8はフォーク歯部4a、4bの側部端縁から突出し、かつこのフォーク歯部4a、4bと一体に同一材料から形成されている。
締付ばね3は、垂直部分10およびそれから折り曲げられた水平部分11から形成された装着脚9を有する。装着脚9にばねアーチ12が続き、ばねアーチは締付脚13に移行する。締付脚13は、下部フォーク歯部4aから離れて伸長する締付部分14に向けられたばね舌片15を有し、その自由端部は、締付舌片15と母線部品2の締付部分14の間に電気導体を挟み付ける締付端縁を有する。締付部分14は前方湾曲ないしは締付端縁16を有し、締付端縁は、締付舌片15と締付端縁16の間に挟み付けられる電気導体のための所定の低減された当接面を形成する。
締付脚13は、少なくとも1つの側に、側部に少なくとも締付舌片15に対して横に突出する操作ブラケット17を有することがわかる。操作ブラケットは、締付脚13を装着脚9の水平部分11の方向に母線部品2の締付部分14から離すように移動させるための、操作要素に対する当接面として働く。したがって、この操作ブラケット17により、電気導体を挟み付ける締付位置が開放可能である。
母線部品2の締付部分14は自由端部に挿入斜面18を有し、これにより、電気導体は締付端縁16に向かって案内されることがわかる。
装着脚9の垂直部分10は、母線部品2の締付部分14およびそれに続く第1フォーク歯部4aに交差して配向されている。この場合、母線部品は垂直部分10の凹部19内に挿入される。この凹部19は横ウェブ20により境界が形成され、横ウェブは、結合ウェブ8とは反対側の、母線部品2の下側に当接する。凹部19の境界を形成する、横ウェブ20に対向する垂直部分10の端縁は、母線部品の上側に当接する。
凹部19は片側が開放した湾状に形成されているので、締付ばね3は、母線部品2の伸長方向に対して横方向に移動可能である。
第2フォーク歯部4bに、凹部19から間隔をなしてフィンガ21が配置され、フィンガは垂直部分10の切欠き部22内に挿入されかつ垂直部分10を取り囲む。垂直部分10は、結合ウェブ8の側部端縁により提供された当接壁に支持される。したがって、装着脚9の垂直部分10は、締付脚13とは反対側で、結合ウェブ8の壁部分により支持され、かつ締付脚13とは反対側においてフィンガ21により位置が固定される。さらに、垂直部分10は、前方湾曲6bに隣接する端部に存在するフォーク歯部4bの端面または側部端縁に当接する。
母線部品2の締付部分14は、その延長部に締付部分14が設けられているフォーク歯部4bに対して、締付ばね3とは反対方向に折り曲げられて、ないしはクランク状に曲げられて、またはオフセットされて配置されている。クランク状の曲げは、この場合、垂直部分10の締付脚13を向く側の母線部品2に設けられている。フォーク歯部4bの下側に配置された垂直部分10の横ウェブ20は、この場合、折り曲げられまたはオフセットされた締付部分14の方向に垂直部分10の平面から折り曲げられ、ないしは曲げ出される。この場合、横ウェブ20は母線部品2に支持されるので、たわまされた締付ばね3のばね力により締付力が締付部分14に作用したとき、締付ばね3のたわみによるばね力は、横ウェブ20のこの支持を介して、締付部分14の弾性変形またはたわみが発生しないように、保持可能ないしは補償可能である。
図2は、ばね薄板から形成された締付ばね3の斜視図を示す。これは、弾性ばね材料、例えばクロム含有合金からなる金属シートである。
締付脚13にばねアーチ12が接続され、ばねアーチは締付脚13を装着脚9と結合することがわかる。締付脚13は、ばねアーチ12に続く第1部分を有し、第1部分は曲がりの後に締付舌片15に移行する。締付端縁24を有する締付舌片15の端部領域23は少し広がっている。曲がり領域において、少なくとも1つの側に、締付脚13の端縁から横に操作ブラケット17が突出する。
装着脚19は、水平部分11およびこれから折り曲げられた垂直部分10から形成されていることがわかる。水平部分11は、少なくとも2つの平面上に位置する領域を形成するために、再び曲がりを有してもよい。
垂直部分10は、下部横ウェブ20および横ウェブ20に対向する端縁25により境界が形成された凹部19を有することがわかる。凹部19は湾状であり、すなわち、片側が開放して形成されかつ側部ウェブ26により境界が形成され、側部ウェブは、横ウェブ20を、垂直部分10の水平部分11に移行する部分と結合する。
横ウェブ20は、この側部端縁から間隔をなして突起部27を有し、突起部により、突起部27と側部ウェブ26の間に凹部が形成されている。この突起部27は、締付ばね3を母線部品2において位置固定し続けるように、母線部品2の凹部または開口内に挿入可能である。しかしながら、母線部品2のくぼんだ部分がこの凹部内に貫入しかつ母線部品2のその他の部分が突起部27に当接することもまた考えられる。
さらに、凹部19に対して間隔をなし、水平部分11に隣接して垂直部分10に切欠き部22が設けられていることがわかる。この切欠き部22は、母線部品2のフィンガ21を受け入れるように適合されている。このように、締付ばね3の母線部品2への位置固定が改善される。
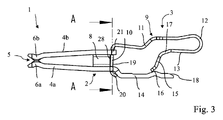
図3は、締付ばね3の垂直部分10を貫通する切断線A-Aを有する、図1からの接点インサート1の側面図を示す。
この場合、はじめに、相互に間隔をなして配置されかつ相互に上下に配向された両方のフォーク歯部4a、4bが、これと一体に形成された結合ウェブ8により、フォーク差込接点ソケット5に結合されることがわかる。締付脚13に向けられた結合ウェブ8の幅の狭い側部端縁は当接壁28を形成し、当接壁に、締付ばね3の垂直部分10が支持される。第1フォーク歯部4aおよびそれに続く締付部分14を有する母線部品2が垂直部分10の凹部19内に挿入されることもまたわかる。この場合、横ウェブ20は母線部品2の下側に当接する。この下側は、締付部分14を有する母線部品2の上側の反対側であり、上側は電気導体を締め付ける締付端縁16を有しかつこの上側に向けて締付脚13が配向されている。締付舌片15を有する締付脚13は、挟み付けられる導体のない静置状態において、締付部分14内の母線部品2のこの上側に当接することがわかる。
第2フォーク舌片14から突出するフィンガ21は、垂直部分10を貫通して案内され、かつその自由端部により垂直部分10を取り囲むこともまたわかる。これにより、垂直部分10は、当接壁の反対側においてフィンガ21に当接する。垂直部分10は、このように、当接壁28に保持され、かつ第1フォーク歯部4aおよびそれに続く母線部品2の締付部分14の部分に静置する。
図4は、切断A-A内の締付インサート1の断面図を示す。この場合、フィンガ21は垂直部分10内の切欠き部22を貫通して伸長することがわかる。
さらに、母線部品2は、締付部分14に移行するフォーク歯部4aの領域内において垂直部分10の凹部19内に挿入されるので、垂直部分10は、凹部19のその上部端縁25を母線部品2に当接させ、および反対側の横端縁20は母線部品2の下側と係合することがわかる。
図4内の図はフォーク差込接点ソケット5からばねアーチ12の方向を見て示され、これは、図3内の切断線A-Aによりわかる。
図5は、図2からの締付ばね3の垂直部分10の背面図を示す。この場合、さらに、垂直部分10の凹部19は母線部品2の挿入を可能にするので、装着脚9は、凹部19の境界を形成する上部端縁25を母線部品2に当接させることが可能であり、この場合、凹部19の境界を形成する横ウェブ20は母線部品2の下側と係合することがわかる。
締付ばね3は、横方向に、母線部品2上に押され、ないしは装着されるように設けられていることがわかる。
図6は、絶縁材ハウジング30内に組み込まれた上記の締付インサート3から形成された導体接続端子29の側面図を示す。絶縁材ハウジング30は、さらに、図示の実施例において揺動可能に支持された操作レバーとして形成された操作要素31を有する。操作レバーは、締付ばね3の水平部分11の上部で伸長する操作アーム32を有し、操作アームは、締付ばね3を通過して横方向に案内される軸受部分33内に移行する。軸受部分33は、締付脚13において横に突出する操作ブラケット17を付勢するように形成された操作輪郭34を有する。図6内に操作アーム32′で示されているような操作レバーの高い位置への揺動において、締付脚13は、母線部品2の締付部分14から離れるように移動され、このようにして、電気導体を挟み付ける締付脚13と締付部分14の間の締付位置を開放可能である。
絶縁材ハウジング30は、フォーク差込接点ソケット5の反対側に、電気導体36を挿入するための導体挿入開口35を有することがわかる。この電気導体36は、このとき、その裸端部により、締付脚の締付舌片15と母線部品2の締付部分14の間に電気的に導通するように挟み付けられる。操作レバー31が下に押された状態において、締付ばね3のばね特性曲線を剛にするように、操作レバーは水平部分11上に当接することがわかる。
絶縁材ハウジング30の側壁に、例えば係止開口37および係止プラグの形の係止輪郭が設けられ、これにより、複数の導体接続端子19が並列に1つの端子装置に統合可能である。
フォーク差込接点ソケット5に隣接して、絶縁材ハウジング30からプラグ38が突出し、プラグは、案内、係止および/またはコーディングのために利用可能である。
絶縁材ハウジング30内において、さらに、導体挿入開口35の反対側に、フォーク歯部4a、4bの間の締付位置に接点ピンを挿入するための接点ピン挿入チャネルが存在する。
垂直部分10は、フォーク歯部4a、4bの間の結合ウェブ8の側部端縁により提供された当接壁28に当接することがよくわかる。
図7は、二極導体接続端子29の平面図を示す。この場合、その中に組み込まれた締付インサート1を有する2つの絶縁材ハウジング30が並列に配置されかつ相互に係止されている。上側の導体接続端子により略図で示された開放状態において、操作レバー31の操作アーム32は締付ばねの水平部分11を覆っていない。締付ばねは、このとき、開放時におけるばね力がさらに低減されるように上方に容易にたわむことが可能である。
プラグ38は、例えば、二極導体接続端子29の一方の導体接続端子のみに存在することもまたわかる。これにより、コーディングが達成可能である。
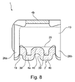
図8は、接点インサート1の一変更態様の断面図を示す。この場合、垂直部分10に、上部端縁25およびこの端縁25から突出する側部ウェブ26a、26bにより境界が形成された凹部19が設けられている。母線部品2は、第1フォーク歯部4aの、保持部分14に移行する領域内において、それが下側から上部端縁25の方向に凹部19内に挿入されることにより、この凹部19内に受け入れられている。相互に対向するこれらの両方の側部ウェブ26a、26bは、このとき、母線部品2の側部端縁に当接し、または母線部品2に横に配置される凹部に係合する。締付ばね3のこの構成は、母線部品2に上から装着するために設けられていることがわかる。
母線部品2は、凹部19に挿入される領域内において、溝39および隆起40により波形に形成されていることがわかる。これにより、垂直部分10が母線部品2に支持されることによる母線部品2の変形のおそれが低減される。締付ばね3による付勢力を受入れ可能にするために、横の凹部により弱くなった母線部品2の断面は波形の溝39および隆起40により補強される。
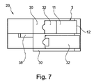
図9は、締付ばね3および母線部品2から形成された導体接続端子1の他の実施形態の分解斜視図を示す。母線部品2および締付ばね3の基本的な構造に対しては、本質的に、前の構成が参照されてもよい。
ここで、結合ウェブ8から、締付ばね3の締付舌片15に向けられた側に、ブラケット42が突出することがわかる。さらに、下部フォーク歯部4aと締付部分14の間の移行部内に側部凹部43が存在する。
締付ばね3の垂直部分10から、水平部分11に対向して当接部分44が突出する。この当接部分44は、側部ウェブ45を介して垂直部分10に移行する。側部ウェブ45に加えてこの移行領域内に、設置状態において母線部品2を取り囲む端縁を有する凹部19が存在する。
垂直部分から折り曲げられた当接部分44の自由端部は、締付脚13から離れるようにさらに斜めに折り曲げられていることがわかる。さらに、締付部分14の挿入斜面18の、締付脚13とは反対側に、トラフ状凹部46が設けられている。挿入斜面18は、さらに、前方端部領域内において、それに続く締付部分14の領域より狭くなっている。この場合、挿入斜面に並んで側部にそれぞれ、舌片状部分47が存在する。
図10は、図9からの導体接続端子1の背面斜視図を示す。この場合、さらに、締付部分14は自由端部において中央領域内に挿入斜面18を突出させていることがわかる。この挿入斜面18の両側に舌片状部分47が存在し、舌片状部分は、挿入斜面18より短い長さを有し、かつ挿入斜面18とはやや異なる角度で伸長する。舌片状部分47の上側は、さらに、挿入斜面18とは異なるように曲げられている。
さらに、側部凹部43は、それがフォーク歯部4a、4bの方向から見てブラケット42の手前に位置するように位置決めされていることがわかる。したがって、母線部品2内に側部から差し込まれた垂直部分10は、その装着脚13に向く側を、ブラケット42に、およびその装着脚13とは反対側を、上部フォーク歯部4bの端縁によりおよび側部凹部43により形成された母線部品2の当接壁28に当接させる。
図11は、図9に示した導体接続端子1を反対側から見た斜視図を示す。この場合、フォーク歯部4a、4bを相互に結合する結合部分8がわかる。さらに、結合部分8から、これと一体に成形されたブラケット42が突出することがわかる。
さらに、挿入斜面18の下側に、トラフ状凹部46が設けられていることがわかる。
さらに、締付ばね3が側部から母線部品2上にはめ込み可能であることがわかる。この場合、側部ウェブ45は結合ウェブ8の反対側に配置されている。垂直部分10は、この場合、ブラケット42と、端縁により形成された当接壁28の間の中間空間内に差し込まれる。
このことが、導体接続端子1をここでは組み立てられた状態で示した図12においてよくわかる。側部ウェブ45はここでは締付部分14の側部凹部43内に挿入されていることがわかる。垂直部分10は、この場合、ブラケット42に当接する。ブラケット42は、この場合、それが垂直部分10をほぼ覆い、かつ導体挿入方向Lに挿入された電気導体のための導体ストッパを形成するような表面を有する。
垂直部分10から折り曲げられた装着脚9の当接部分44は、締付部分14の、締付脚13とは反対側において締付部分14に当接することがわかる。当接部分44は、この場合、挿入斜面18まで伸長するので、トラフ状凹部46と当接部分44の自由端部の間に検査ピンを受け入れるための自由空間が存在する。当接部分44は締付部分14から間隔を有している。
さらに、挿入部分18に隣接する側で、短尺フィンガ47と、それから間隔をおいて斜めに配置された当接部分44との間に中間空間が提供され、中間空間は、導体接続端子1に存在する電圧電位またはそこに存在する信号を測定するために、同様に検査ピンを受け入れるための検査領域として利用可能である。
このために、このとき、図示されていない絶縁材ハウジング内の導体挿入開口の下側に、検査開口が存在する。
図13は、図12からの導体接続端子1の背面斜視図を示す。ここでさらに、垂直部分10は、その側部ウェブ45を、母線部品2の側部凹部43内に嵌合させていることがわかる。垂直部分10は、一方の側の上部フォーク歯部4bの、締付脚15に向けられた端縁における当接壁28と、反対側のブラケット42の間で当接し、かつ下側領域内において端縁25を締付部分14に当接させる。端縁25は、この場合、凹部19の境界を形成する。
1 締付インサート、接点インサート、導体接続端子
2 母線部品
3 締付ばね
4a、4b フォーク歯部
5 フォーク状差込接点ソケット
6a、6b 前方湾曲
7 くぼみ
8 結合ウェブ、結合部分
9 装着脚
10 垂直部分
11 水平部分
12 ばねアーチ
13 締付脚
14 締付部分、保持部分
15 ばね舌片、締付舌片
16 前方湾曲、締付端縁
17 操作部分、操作ブラケット
18 挿入斜面、挿入部分
19 凹部
20 横ウェブ、横端縁
21 フィンガ
22 切欠き部
23 端部領域
24 締付端縁
25 端縁
26、26a、26b 側部ウェブ
27 突起部
28 当接壁
29 導体接続端子
30 絶縁材ハウジング
31 操作要素、操作レバー
32、32′ 操作アーム
33 軸受部分
34 操作輪郭
35 導体挿入開口
36 電気導体
37 係止開口
38 プラグ
39 溝
40 隆起
42 ブラケット
43 側部凹部
44 当接部分
45 側部ウェブ
46 トラフ状凹部
47 舌片状部分、短尺フィンガ
L 導体挿入方向

Claims (17)

  1. 母線部品(2)および締付ばね(3)を含む導体接続端子(29)であって、締付ばねは、母線部品(2)に向けられた、締付脚(13)と母線部品(2)の間に電気導体(36)を挟み付ける締付位置を形成する締付脚(13)と、締付脚(13)に続くばねアーチ(12)と、および垂直部分(10)により母線部品(2)に交差して伸長する装着脚(9)とを有し、装着脚(9)の垂直部分(10)は、母線部品(2)を取り囲む端縁を備えた凹部(19)を有する、導体接続端子(29)において、母線部品(2)は当接壁(28)を有し、当接壁は、垂直部分(10)における、締付脚(13)とは反対の側に位置する、装着脚(9)の垂直部分(10)の壁面に隣接して配置され、当接壁(28)は、装着脚(9)の垂直部分(10)を、当接壁(28)に当接する、締付脚(13)とは反対の側の壁面で支持するように形成されていることを特徴とする導体接続端子(29)。
  2. 装着脚(9)の垂直部分(10)の凹部に、母線部品(2)の下側と係合する横ウェブ(20)が形成され、母線部品(2)は凹部(19)内に挿入され、および横ウェブ(20)に対向する、凹部(19)の境界を形成する垂直部分(10)の端縁(25)は、母線部品(2)に支持されていることを特徴とする請求項1に記載の導体接続端子(29)。
  3. 装着脚(9)の垂直部分(10)は凹部(19)から間隔をなして切欠き部(22)を有し、および当接壁(28)から、切欠き部(22)内に挿入されるフィンガ(21)が突出することを特徴とする請求項1または2に記載の導体接続端子(29)。
  4. フィンガ(21)は装着脚(9)の垂直部分(10)を取り囲み、かつフィンガ(21)の端部を、垂直部分(10)における、垂直部分(10)の当接壁(28)との当接面とは反対側に当接させることを特徴とする請求項3に記載の導体接続端子(29)。
  5. 垂直部分(40)から、母線部品(2)の主伸長方向に伸長する装着脚(9)の水平部分(11)が折り曲げられ、水平部分(11)は母線部品(2)に対して間隔をなして配置され、かつばねアーチ(12)に移行することを特徴とする請求項1ないし4のいずれかに記載の導体接続端子(29)。
  6. 水平部分(11)は母線部品(2)に支持部を有しないことを特徴とする請求項5に記載の導体接続端子(29)。
  7. 締付脚(13)は横方向に突出する操作ブラケットとして形成された操作部分(17)を有することを特徴とする請求項1ないし6のいずれかに記載の導体接続端子(29)。
  8. 導体接続端子(29)は、母線部品(2)および締付ばね(3)から形成された締付インサート(1)を含む絶縁材ハウジング(30)を有することを特徴とする請求項1ないし7のいずれかに記載の導体接続端子(29)。
  9. 操作要素(31)が、絶縁材ハウジング(30)内に揺動可能または移動可能に支持され、操作要素(31)は、操作要素(31)が揺動または移動するとき、締付脚(13)の操作部分(17)を押圧するように形成されていることを特徴とする請求項8に記載の導体接続端子(29)。
  10. 母線部品(2)は、相互に間隔をなして配置されかつフォーク状の差込接点ソケット(5)を形成するために相互に対向するように配向された2つのフォーク歯部(4a、4b)を有すること、および当接壁(28)は、両方のフォーク歯部(4a、4b)を相互に結合する結合ウェブ(8)の側部端縁により形成されていることを特徴とする請求項1ないし9のいずれかに記載の導体接続端子(29)。
  11. 結合ウェブ(8)から、垂直部分(10)に当接しかつ締付脚(13)に面するブラケット(42)が突出することを特徴とする請求項10に記載の導体接続端子(29)。
  12. 母線部品(2)は、装着脚(9)の垂直部分(10)を支持する領域に、溝(39)および隆起(40)により波形に形成された断面輪郭を有することを特徴とする請求項1ないし11に記載の導体接続端子(29)。
  13. 母線部品(2)の主伸長方向に伸長し、母線部品(2)から間隔をなして配置され、かつばねアーチ(12)に移行する装着脚(9)の水平部分(11)が、装着脚(9)の垂直部分(10)から折り曲げられ、水平部分(11)から、母線部品(2)に向かって伸長し、母線部品(2)に支持される保持部分が突出することを特徴とする請求項1ないし12のいずれかに記載の導体接続端子(29)。
  14. 当接壁(28)は、垂直部分(10)に向けられた母線部品(2)の端縁により形成されていることを特徴とする請求項1ないし13のいずれかに記載の導体接続端子(29)。
  15. 当接壁(28)は、垂直部分(10)に面する結合ウェブ(8)の端縁により、母線部品(2)のフォーク歯部(4a、4b)を相互に結合し、および/または、フォーク歯部(4b)の締付端部とは反対側のフォーク歯部(4b)の端部に位置するフォーク歯部(4b)の端縁により形成されていることを特徴とする請求項14に記載の導体接続端子(29)。
  16. 垂直部分(10)は、母線部品(2)の関連する側部凹部内に挿入される少なくとも1つの側部ウェブ(26、26a、26b)を有することを特徴とする請求項1ないし15のいずれかに記載の導体接続端子(29)。
  17. 装着脚(9)は、垂直部分(10)に続きかつ垂直部分(10)から折り曲げられた当接部分(43)を有し、当接部分は、母線部品(2)の締付部分(14)の、締付脚(13)とは離れた側において締付部分(14)に当接しかつ検査領域内において締付部分(14)から間隔をなしていることを特徴とする請求項1ないし16のいずれかに記載の導体
    接続端子(29)。
JP2018566593A 2016-06-24 2017-06-19 導体接続端子 Active JP7075360B2 (ja)

Applications Claiming Priority (3)

Application Number Priority Date Filing Date Title
DE102016111627.0 2016-06-24
DE102016111627.0A DE102016111627A1 (de) 2016-06-24 2016-06-24 Leiteranschlussklemme
PCT/EP2017/064932 WO2017220490A1 (de) 2016-06-24 2017-06-19 Leiteranschlussklemme

Related Child Applications (1)

Application Number Title Priority Date Filing Date
JP2020086467A Division JP7146842B2 (ja) 2016-06-24 2020-05-18 導体接続端子

Publications (2)

Publication Number Publication Date
JP2019522876A JP2019522876A (ja) 2019-08-15
JP7075360B2 true JP7075360B2 (ja) 2022-05-25

Family

ID=59070679

Family Applications (4)

Application Number Title Priority Date Filing Date
JP2018566593A Active JP7075360B2 (ja) 2016-06-24 2017-06-19 導体接続端子
JP2020086467A Active JP7146842B2 (ja) 2016-06-24 2020-05-18 導体接続端子
JP2022107555A Active JP7420872B2 (ja) 2016-06-24 2022-07-04 導体接続端子
JP2022149320A Active JP7418520B2 (ja) 2016-06-24 2022-09-20 導体接続端子

Family Applications After (3)

Application Number Title Priority Date Filing Date
JP2020086467A Active JP7146842B2 (ja) 2016-06-24 2020-05-18 導体接続端子
JP2022107555A Active JP7420872B2 (ja) 2016-06-24 2022-07-04 導体接続端子
JP2022149320A Active JP7418520B2 (ja) 2016-06-24 2022-09-20 導体接続端子

Country Status (7)

Country Link
US (2) US10594053B2 (ja)
EP (3) EP3745538A1 (ja)
JP (4) JP7075360B2 (ja)
CN (4) CN114268000B (ja)
DE (2) DE102016111627A1 (ja)
PL (2) PL3476007T3 (ja)
WO (1) WO2017220490A1 (ja)

Families Citing this family (26)

* Cited by examiner, † Cited by third party
Publication number Priority date Publication date Assignee Title
TWI828624B (zh) 2017-06-13 2024-01-11 美商山姆科技公司 電連接器系統及其使用方法
USD964291S1 (en) 2017-07-21 2022-09-20 Samtec, Inc. Electrical connector
US11289850B2 (en) 2017-07-21 2022-03-29 Samtec, Inc. Electrical connector having latch
KR102732353B1 (ko) * 2017-10-24 2024-11-21 샘텍, 인코포레이티드 직각 전기 커넥터 및 직각 커넥터용 전기 접점
USD896183S1 (en) 2018-01-08 2020-09-15 Samtec, Inc. Electrical cable connector
DE102018106185B4 (de) * 2018-03-16 2025-09-18 Phoenix Contact Gmbh & Co. Kg Kontaktelement mit einem Kontaktkörper und einem daran angeordneten Federelement
DE102018124623B4 (de) * 2018-10-05 2022-07-07 Wago Verwaltungsgesellschaft Mbh Kontakteinsatz einer Leiteranschlussklemme sowie damit gebildete Leiteranschlussklemme
DE202018106897U1 (de) * 2018-12-04 2020-03-05 WAGO Verwaltungsgesellschaft mit beschränkter Haftung Federanschlussklemme
DE202018107068U1 (de) 2018-12-11 2020-03-13 Wago Verwaltungsgesellschaft Mbh Leiteranschlussklemme
DE102019104298B4 (de) * 2019-02-20 2025-06-05 Phoenix Contact Gmbh & Co. Kg Klemmanordnung sowie Anschlussklemme
DE102019106350B4 (de) * 2019-03-13 2023-06-07 Phoenix Contact Gmbh & Co. Kg Anschlussklemme
DE102019116930B4 (de) * 2019-06-24 2023-11-16 WAGO Verwaltungsgesellschaft mit beschränkter Haftung Elektrische Anschlussklemme
TWM591724U (zh) * 2019-10-09 2020-03-01 進聯工業股份有限公司 電性聯接端子裝置
FR3102015B1 (fr) * 2019-10-10 2023-10-20 Baud Ind Contact électrique de puissance en deux pièces pour un circuit de recharge d’un véhicule électrique
DE102020102605B3 (de) * 2020-02-03 2021-06-10 WAGO Verwaltungsgesellschaft mit beschränkter Haftung Kontakteinsatz
DE102020104077A1 (de) * 2020-02-17 2021-08-19 WAGO Verwaltungsgesellschaft mit beschränkter Haftung Federkraftklemmanschluss
DE102020104080C5 (de) * 2020-02-17 2022-05-05 WAGO Verwaltungsgesellschaft mit beschränkter Haftung Leiteranschlussklemme und Verfahren zur Montage einer Leiteranschlussklemme
EP4169128A4 (en) * 2020-06-18 2024-07-03 Ideal Industries Inc. CONDUCTOR CONNECTION TERMINAL
DE102020118578A1 (de) 2020-07-14 2022-01-20 Bürkert Werke GmbH & Co. KG Baugruppe aus einem Feldgerät und einem Steckeradapter
DE102021110425A1 (de) * 2021-04-23 2022-10-27 WAGO Verwaltungsgesellschaft mit beschränkter Haftung Leiteranschlussklemme und Steckdoseneinsatz
DE102021112961A1 (de) 2021-05-19 2022-11-24 WAGO Verwaltungsgesellschaft mit beschränkter Haftung Leiteranschlussklemme mit wenigstens einem Federkraftklemmanschluss
DE102021123215A1 (de) 2021-09-08 2023-03-09 WAGO Verwaltungsgesellschaft mit beschränkter Haftung Leiteranschlussklemme
DE102021126821A1 (de) * 2021-10-15 2023-04-20 Weidmüller Interface GmbH & Co. KG Metallisches Kontaktbauteil einer elektrischen Steckverbindung und elektrische Anschlussklemme
LU502538B1 (de) * 2022-07-21 2024-01-22 Phoenix Contact Gmbh & Co Anschlussklemme zum Anschließen einer elektrischen Leitung
LU503603B1 (de) * 2023-03-10 2024-09-11 Phoenix Contact Gmbh & Co Anschlussanordnung
DE202024101937U1 (de) * 2024-04-18 2025-07-21 WAGO Verwaltungsgesellschaft mit beschränkter Haftung Elektrische Anschlussklemme

Citations (4)

* Cited by examiner, † Cited by third party
Publication number Priority date Publication date Assignee Title
JP2006086126A (ja) 2004-09-15 2006-03-30 Phoenix Contact Gmbh & Co Kg 電気的な接続端子または接合端子
JP2008282815A (ja) 2007-05-11 2008-11-20 Wago Verwaltungs Gmbh 締付け部品
JP2009531815A (ja) 2006-03-28 2009-09-03 フェニックス・コンタクト・ゲゼルシャフト・ミト・ベシュレンクテル・ハフツング・ウント・コンパニー・コマンデイトゲゼルシャフト 回路基板用接続端子
JP2012514840A (ja) 2009-01-09 2012-06-28 フェニックス コンタクト ゲーエムベーハー ウント コムパニー カーゲー 弾力挟持具に用いる挟持バネ

Family Cites Families (47)

* Cited by examiner, † Cited by third party
Publication number Priority date Publication date Assignee Title
JPH0755822Y2 (ja) * 1992-04-01 1995-12-20 サトーパーツ株式会社 電線接続用端子器具
DE19845475B4 (de) * 1998-10-02 2007-11-08 Aeg Niederspannungstechnik Gmbh & Co Kg Federkraftklemme
DE29920231U1 (de) * 1999-11-17 2001-04-05 Weidmüller Interface GmbH & Co, 32760 Detmold Schraubenlose Anschlußklemme
CN1205697C (zh) * 2000-08-04 2005-06-08 欧姆龙株式会社 电线连接器具
US6719581B2 (en) * 2002-07-25 2004-04-13 Nippon Dics Co., Ltd. Plug for speaker cables, and speaker terminal and speaker terminal system provided with them
JP2004072761A (ja) * 2002-07-25 2004-03-04 Nippon Deikkusu:Kk スピーカケーブル用プラグとスピーカ端子、並びに、これらによるスピーカターミナルシステム
JP3975896B2 (ja) * 2002-11-26 2007-09-12 松下電工株式会社 速結端子装置並びに配線器具
DE20308863U1 (de) * 2003-06-06 2003-08-21 Ria Btr Produktions Gmbh Anschlussklemme
JPWO2005011067A1 (ja) * 2003-07-24 2006-09-14 株式会社日本ディックス スピーカケーブル用プラグと該プラグを受入れるスピーカ端子、並びに、前記プラグと端子によるスピーカターミナルシステム
JP4289230B2 (ja) * 2004-06-25 2009-07-01 パナソニック電工株式会社 速結端子装置
DE102004045026B3 (de) * 2004-09-15 2006-02-16 Phoenix Contact Gmbh & Co. Kg Elektrische Anschluß- oder Verbindungsklemme
DE102005041778A1 (de) 2005-09-01 2007-03-08 Phoenix Contact Gmbh & Co. Kg Elektrische Anschlußanordnung
JP2007087621A (ja) * 2005-09-20 2007-04-05 Smk Corp 電線接続用コネクタ
DE102005048972B4 (de) * 2005-10-13 2010-08-12 Phoenix Contact Gmbh & Co. Kg Federkraftklemme mit Klemmfeder und Strombalken
DE102006005260A1 (de) * 2006-02-02 2007-08-16 Phoenix Contact Gmbh & Co. Kg Elektrische Anschlußklemme
US7175469B1 (en) * 2006-07-21 2007-02-13 Tyco Electronics Corporation Connector having dual tabbed wire trap
DE102007024690B4 (de) 2007-05-25 2009-06-04 Phoenix Contact Gmbh & Co. Kg Elektrische Anschluß- oder Verbindungsklemme
EP2316150B1 (de) * 2008-08-27 2013-04-24 Phoenix Contact GmbH & Co. KG Elektrische Anschlussklemme
DE202008014469U1 (de) * 2008-10-31 2010-03-18 Weidmüller Interface GmbH & Co. KG Anschlussklemme zum Anschluss von Leiterenden
JP5563241B2 (ja) * 2009-05-15 2014-07-30 スリーエム イノベイティブ プロパティズ カンパニー 電気コネクタ
CN101562282B (zh) * 2009-05-19 2011-01-19 宁波高正电子有限公司 一种电连接器
DE202010008028U1 (de) * 2009-07-18 2010-12-30 Weidmüller Interface GmbH & Co. KG Anschlussvorrichtung für Leiter
JP5491837B2 (ja) * 2009-12-04 2014-05-14 パナソニック株式会社 速結端子装置
DE102010010262B9 (de) * 2010-03-03 2014-10-23 Wago Verwaltungsgesellschaft Mbh Steckverbinder
DE102010025930B4 (de) * 2010-07-02 2019-10-17 Phoenix Contact Gmbh & Co. Kg Anschlussklemme
JP5958680B2 (ja) * 2010-09-14 2016-08-02 パナソニックIpマネジメント株式会社 端子装置
DE102011011080B4 (de) * 2011-02-11 2013-04-11 Wago Verwaltungsgesellschaft Mbh Federklemmanschluss und Leiteranschlusseinheit
US8408952B2 (en) * 2011-05-19 2013-04-02 Shang Tsai Wu Wiring terminal structures
US8851920B2 (en) * 2011-10-12 2014-10-07 Switchlab Inc. Plug-in wire connection terminal structure
DE102011056410B4 (de) * 2011-12-14 2013-06-27 Wago Verwaltungsgesellschaft Mbh Anschlussklemme
DE102012103391B4 (de) * 2012-04-18 2019-12-05 Hebotec Gmbh Halteklammer zur klemmenden Halterung von Gegenständen, insbesondere von Schirmkabeln
DE202013100635U1 (de) 2013-02-13 2013-03-04 Wago Verwaltungsgesellschaft Mbh Federklemmkontakt und Verbindungsklemme für elektrische Leiter
DE102013101411B4 (de) * 2013-02-13 2018-03-22 Wago Verwaltungsgesellschaft Mbh Federkraftklemmanschluss und Leiteranschlussklemme
DE102013107292B4 (de) * 2013-07-10 2016-09-15 Wago Verwaltungsgesellschaft Mbh Steckverbinder
DE102013110475A1 (de) * 2013-09-23 2015-03-26 Phoenix Contact Gmbh & Co. Kg Elektrische Anschlussklemme
DE102013111574B4 (de) * 2013-10-21 2017-01-12 Wago Verwaltungsgesellschaft Mbh Federkraftklemmanschluss und Steckverbinder
DE202013105944U1 (de) * 2013-12-26 2014-01-22 Wago Verwaltungsgesellschaft Mbh Federkraft-Klemmanschluss und Steckverbinder hiermit
DE102014103638B4 (de) * 2014-03-17 2016-05-19 Phoenix Contact Gmbh & Co. Kg Elektrische Anschlussklemme
TWI544705B (zh) * 2014-09-05 2016-08-01 町洋企業股份有限公司 蝶形彈簧連接器
TWM502983U (zh) * 2014-12-04 2015-06-11 Switchlab Inc 軌道型電聯接端子之導電接線結構
DE202015003298U1 (de) * 2015-05-05 2015-06-03 Dinkle Enterprise Co., Ltd. Anschlussklemmenstruktur
EP3116065B1 (en) * 2015-07-07 2019-08-28 TE Connectivity Germany GmbH Push-in clamp retainer, push-in clamp assembly and electric connector element
JP6531585B2 (ja) * 2015-09-15 2019-06-19 オムロン株式会社 ソケット
DE102015115612A1 (de) * 2015-09-16 2017-03-16 Phoenix Contact Gmbh & Co. Kg Anschlussklemme zum Anschließen eines elektrischen Leiters
DE102015119247A1 (de) 2015-11-09 2017-05-11 Wago Verwaltungsgesellschaft Mbh Verbindungsklemme
TWI589079B (zh) * 2016-02-05 2017-06-21 Terminal structure improved
CN105680189A (zh) * 2016-03-31 2016-06-15 上海广奇电气有限公司 一种直接插入式连接件及接线端子

Patent Citations (4)

* Cited by examiner, † Cited by third party
Publication number Priority date Publication date Assignee Title
JP2006086126A (ja) 2004-09-15 2006-03-30 Phoenix Contact Gmbh & Co Kg 電気的な接続端子または接合端子
JP2009531815A (ja) 2006-03-28 2009-09-03 フェニックス・コンタクト・ゲゼルシャフト・ミト・ベシュレンクテル・ハフツング・ウント・コンパニー・コマンデイトゲゼルシャフト 回路基板用接続端子
JP2008282815A (ja) 2007-05-11 2008-11-20 Wago Verwaltungs Gmbh 締付け部品
JP2012514840A (ja) 2009-01-09 2012-06-28 フェニックス コンタクト ゲーエムベーハー ウント コムパニー カーゲー 弾力挟持具に用いる挟持バネ

Also Published As

Publication number Publication date
CN114268000A (zh) 2022-04-01
CN110829045A (zh) 2020-02-21
CN114268000B (zh) 2024-03-01
JP2022177194A (ja) 2022-11-30
US11239575B2 (en) 2022-02-01
CN110829045B (zh) 2021-05-14
PL3787121T3 (pl) 2023-08-14
JP7418520B2 (ja) 2024-01-19
JP2022160414A (ja) 2022-10-19
JP2019522876A (ja) 2019-08-15
JP7420872B2 (ja) 2024-01-23
EP3745538A1 (de) 2020-12-02
CN109328419B (zh) 2023-07-14
JP2020129555A (ja) 2020-08-27
EP3476007A1 (de) 2019-05-01
US10594053B2 (en) 2020-03-17
US20190131724A1 (en) 2019-05-02
DE102016111627A1 (de) 2017-12-28
WO2017220490A1 (de) 2017-12-28
DE202017006806U1 (de) 2018-06-18
US20200220279A1 (en) 2020-07-09
PL3476007T3 (pl) 2021-08-02
EP3787121B1 (de) 2023-04-05
EP3787121A1 (de) 2021-03-03
CN109328419A (zh) 2019-02-12
EP3476007B1 (de) 2020-12-16
CN116845591A (zh) 2023-10-03
JP7146842B2 (ja) 2022-10-04

Similar Documents

Publication Publication Date Title
JP7075360B2 (ja) 導体接続端子
JP6396334B2 (ja) ばね力締付接続部および導体接続端子
CN105659436B (zh) 弹簧接线端子和插接连接器
US10014596B2 (en) Conductor terminal
US7278891B2 (en) Electrical connector element
JP6235033B2 (ja) ばね力端子接続部およびそれを備えた電気装置
TWI619318B (zh) 導體接頭接觸元件(一)
JP5956071B2 (ja) 接続端子
US11146018B2 (en) Conductor connection terminal
US11024987B2 (en) Clamping spring and conductor connection terminal
CN100594645C (zh) 电接线夹
JP7107708B2 (ja) コネクタ
JP6888927B2 (ja) 導体接続端子
CN105576396A (zh) 端子保持部件以及由其和导电部件构成的夹紧装置
CN107681302A (zh) 扁平导体用电连接器
CN111433977B (zh) 端子
US20170062979A1 (en) Female Connector, and Connection Structure of Female Connector and Male Connector
US20120289098A1 (en) Connector with clamping means
JP2002184493A (ja) コネクタ
EP3324488B1 (en) Connector arrangement with a conductor press-on member
JP2021034330A (ja) 雌型コンタクト
JP2012209267A (ja) 平型導体用電気コネクタ

Legal Events

Date Code Title Description
A621 Written request for application examination

Free format text: JAPANESE INTERMEDIATE CODE: A621

Effective date: 20200611

A977 Report on retrieval

Free format text: JAPANESE INTERMEDIATE CODE: A971007

Effective date: 20210524

A131 Notification of reasons for refusal

Free format text: JAPANESE INTERMEDIATE CODE: A131

Effective date: 20210611

A601 Written request for extension of time

Free format text: JAPANESE INTERMEDIATE CODE: A601

Effective date: 20210902

A521 Request for written amendment filed

Free format text: JAPANESE INTERMEDIATE CODE: A523

Effective date: 20211104

A02 Decision of refusal

Free format text: JAPANESE INTERMEDIATE CODE: A02

Effective date: 20211126

A521 Request for written amendment filed

Free format text: JAPANESE INTERMEDIATE CODE: A523

Effective date: 20220324

C60 Trial request (containing other claim documents, opposition documents)

Free format text: JAPANESE INTERMEDIATE CODE: C60

Effective date: 20220324

A911 Transfer to examiner for re-examination before appeal (zenchi)

Free format text: JAPANESE INTERMEDIATE CODE: A911

Effective date: 20220331

C21 Notice of transfer of a case for reconsideration by examiners before appeal proceedings

Free format text: JAPANESE INTERMEDIATE CODE: C21

Effective date: 20220401

TRDD Decision of grant or rejection written
A01 Written decision to grant a patent or to grant a registration (utility model)

Free format text: JAPANESE INTERMEDIATE CODE: A01

Effective date: 20220422

A61 First payment of annual fees (during grant procedure)

Free format text: JAPANESE INTERMEDIATE CODE: A61

Effective date: 20220513

R150 Certificate of patent or registration of utility model

Ref document number: 7075360

Country of ref document: JP

Free format text: JAPANESE INTERMEDIATE CODE: R150

R250 Receipt of annual fees

Free format text: JAPANESE INTERMEDIATE CODE: R250