JP6950737B2 - 絶縁膜の成膜方法、絶縁膜の成膜装置及び基板処理システム - Google Patents

絶縁膜の成膜方法、絶縁膜の成膜装置及び基板処理システム Download PDF

Info

Publication number
JP6950737B2
JP6950737B2 JP2019513266A JP2019513266A JP6950737B2 JP 6950737 B2 JP6950737 B2 JP 6950737B2 JP 2019513266 A JP2019513266 A JP 2019513266A JP 2019513266 A JP2019513266 A JP 2019513266A JP 6950737 B2 JP6950737 B2 JP 6950737B2
Authority
JP
Japan
Prior art keywords
insulating film
film
substrate
forming
coating
Prior art date
Legal status (The legal status is an assumption and is not a legal conclusion. Google has not performed a legal analysis and makes no representation as to the accuracy of the status listed.)
Active
Application number
JP2019513266A
Other languages
English (en)
Other versions
JPWO2018193753A1 (ja
Inventor
村松 誠
誠 村松
祐介 齋藤
祐介 齋藤
久志 源島
久志 源島
寛之 藤井
寛之 藤井
Current Assignee (The listed assignees may be inaccurate. Google has not performed a legal analysis and makes no representation or warranty as to the accuracy of the list.)
Tokyo Electron Ltd
Original Assignee
Tokyo Electron Ltd
Priority date (The priority date is an assumption and is not a legal conclusion. Google has not performed a legal analysis and makes no representation as to the accuracy of the date listed.)
Filing date
Publication date
Application filed by Tokyo Electron Ltd filed Critical Tokyo Electron Ltd
Publication of JPWO2018193753A1 publication Critical patent/JPWO2018193753A1/ja
Application granted granted Critical
Publication of JP6950737B2 publication Critical patent/JP6950737B2/ja
Active legal-status Critical Current
Anticipated expiration legal-status Critical

Links

Images

Classifications

    • HELECTRICITY
    • H01ELECTRIC ELEMENTS
    • H01LSEMICONDUCTOR DEVICES NOT COVERED BY CLASS H10
    • H01L21/00Processes or apparatus adapted for the manufacture or treatment of semiconductor or solid state devices or of parts thereof
    • H01L21/02Manufacture or treatment of semiconductor devices or of parts thereof
    • H01L21/02104Forming layers
    • H01L21/02107Forming insulating materials on a substrate
    • H01L21/02109Forming insulating materials on a substrate characterised by the type of layer, e.g. type of material, porous/non-porous, pre-cursors, mixtures or laminates
    • H01L21/02112Forming insulating materials on a substrate characterised by the type of layer, e.g. type of material, porous/non-porous, pre-cursors, mixtures or laminates characterised by the material of the layer
    • H01L21/02123Forming insulating materials on a substrate characterised by the type of layer, e.g. type of material, porous/non-porous, pre-cursors, mixtures or laminates characterised by the material of the layer the material containing silicon
    • H01L21/02164Forming insulating materials on a substrate characterised by the type of layer, e.g. type of material, porous/non-porous, pre-cursors, mixtures or laminates characterised by the material of the layer the material containing silicon the material being a silicon oxide, e.g. SiO2
    • HELECTRICITY
    • H01ELECTRIC ELEMENTS
    • H01LSEMICONDUCTOR DEVICES NOT COVERED BY CLASS H10
    • H01L21/00Processes or apparatus adapted for the manufacture or treatment of semiconductor or solid state devices or of parts thereof
    • H01L21/02Manufacture or treatment of semiconductor devices or of parts thereof
    • H01L21/02104Forming layers
    • H01L21/02107Forming insulating materials on a substrate
    • H01L21/02109Forming insulating materials on a substrate characterised by the type of layer, e.g. type of material, porous/non-porous, pre-cursors, mixtures or laminates
    • H01L21/02112Forming insulating materials on a substrate characterised by the type of layer, e.g. type of material, porous/non-porous, pre-cursors, mixtures or laminates characterised by the material of the layer
    • H01L21/02123Forming insulating materials on a substrate characterised by the type of layer, e.g. type of material, porous/non-porous, pre-cursors, mixtures or laminates characterised by the material of the layer the material containing silicon
    • H01L21/02126Forming insulating materials on a substrate characterised by the type of layer, e.g. type of material, porous/non-porous, pre-cursors, mixtures or laminates characterised by the material of the layer the material containing silicon the material containing Si, O, and at least one of H, N, C, F, or other non-metal elements, e.g. SiOC, SiOC:H or SiONC
    • H01L21/0214Forming insulating materials on a substrate characterised by the type of layer, e.g. type of material, porous/non-porous, pre-cursors, mixtures or laminates characterised by the material of the layer the material containing silicon the material containing Si, O, and at least one of H, N, C, F, or other non-metal elements, e.g. SiOC, SiOC:H or SiONC the material being a silicon oxynitride, e.g. SiON or SiON:H
    • HELECTRICITY
    • H01ELECTRIC ELEMENTS
    • H01LSEMICONDUCTOR DEVICES NOT COVERED BY CLASS H10
    • H01L21/00Processes or apparatus adapted for the manufacture or treatment of semiconductor or solid state devices or of parts thereof
    • H01L21/02Manufacture or treatment of semiconductor devices or of parts thereof
    • H01L21/02104Forming layers
    • H01L21/02107Forming insulating materials on a substrate
    • H01L21/02225Forming insulating materials on a substrate characterised by the process for the formation of the insulating layer
    • H01L21/0226Forming insulating materials on a substrate characterised by the process for the formation of the insulating layer formation by a deposition process
    • H01L21/02282Forming insulating materials on a substrate characterised by the process for the formation of the insulating layer formation by a deposition process liquid deposition, e.g. spin-coating, sol-gel techniques, spray coating
    • BPERFORMING OPERATIONS; TRANSPORTING
    • B05SPRAYING OR ATOMISING IN GENERAL; APPLYING FLUENT MATERIALS TO SURFACES, IN GENERAL
    • B05DPROCESSES FOR APPLYING FLUENT MATERIALS TO SURFACES, IN GENERAL
    • B05D3/00Pretreatment of surfaces to which liquids or other fluent materials are to be applied; After-treatment of applied coatings, e.g. intermediate treating of an applied coating preparatory to subsequent applications of liquids or other fluent materials
    • B05D3/06Pretreatment of surfaces to which liquids or other fluent materials are to be applied; After-treatment of applied coatings, e.g. intermediate treating of an applied coating preparatory to subsequent applications of liquids or other fluent materials by exposure to radiation
    • B05D3/061Pretreatment of surfaces to which liquids or other fluent materials are to be applied; After-treatment of applied coatings, e.g. intermediate treating of an applied coating preparatory to subsequent applications of liquids or other fluent materials by exposure to radiation using U.V.
    • B05D3/065After-treatment
    • B05D3/067Curing or cross-linking the coating
    • HELECTRICITY
    • H01ELECTRIC ELEMENTS
    • H01LSEMICONDUCTOR DEVICES NOT COVERED BY CLASS H10
    • H01L21/00Processes or apparatus adapted for the manufacture or treatment of semiconductor or solid state devices or of parts thereof
    • H01L21/02Manufacture or treatment of semiconductor devices or of parts thereof
    • H01L21/02104Forming layers
    • H01L21/02107Forming insulating materials on a substrate
    • H01L21/02109Forming insulating materials on a substrate characterised by the type of layer, e.g. type of material, porous/non-porous, pre-cursors, mixtures or laminates
    • H01L21/02205Forming insulating materials on a substrate characterised by the type of layer, e.g. type of material, porous/non-porous, pre-cursors, mixtures or laminates the layer being characterised by the precursor material for deposition
    • HELECTRICITY
    • H01ELECTRIC ELEMENTS
    • H01LSEMICONDUCTOR DEVICES NOT COVERED BY CLASS H10
    • H01L21/00Processes or apparatus adapted for the manufacture or treatment of semiconductor or solid state devices or of parts thereof
    • H01L21/02Manufacture or treatment of semiconductor devices or of parts thereof
    • H01L21/02104Forming layers
    • H01L21/02107Forming insulating materials on a substrate
    • H01L21/02109Forming insulating materials on a substrate characterised by the type of layer, e.g. type of material, porous/non-porous, pre-cursors, mixtures or laminates
    • H01L21/02205Forming insulating materials on a substrate characterised by the type of layer, e.g. type of material, porous/non-porous, pre-cursors, mixtures or laminates the layer being characterised by the precursor material for deposition
    • H01L21/02208Forming insulating materials on a substrate characterised by the type of layer, e.g. type of material, porous/non-porous, pre-cursors, mixtures or laminates the layer being characterised by the precursor material for deposition the precursor containing a compound comprising Si
    • H01L21/02219Forming insulating materials on a substrate characterised by the type of layer, e.g. type of material, porous/non-porous, pre-cursors, mixtures or laminates the layer being characterised by the precursor material for deposition the precursor containing a compound comprising Si the compound comprising silicon and nitrogen
    • H01L21/02222Forming insulating materials on a substrate characterised by the type of layer, e.g. type of material, porous/non-porous, pre-cursors, mixtures or laminates the layer being characterised by the precursor material for deposition the precursor containing a compound comprising Si the compound comprising silicon and nitrogen the compound being a silazane
    • HELECTRICITY
    • H01ELECTRIC ELEMENTS
    • H01LSEMICONDUCTOR DEVICES NOT COVERED BY CLASS H10
    • H01L21/00Processes or apparatus adapted for the manufacture or treatment of semiconductor or solid state devices or of parts thereof
    • H01L21/02Manufacture or treatment of semiconductor devices or of parts thereof
    • H01L21/02104Forming layers
    • H01L21/02107Forming insulating materials on a substrate
    • H01L21/02296Forming insulating materials on a substrate characterised by the treatment performed before or after the formation of the layer
    • H01L21/02318Forming insulating materials on a substrate characterised by the treatment performed before or after the formation of the layer post-treatment
    • H01L21/02345Forming insulating materials on a substrate characterised by the treatment performed before or after the formation of the layer post-treatment treatment by exposure to radiation, e.g. visible light
    • H01L21/02348Forming insulating materials on a substrate characterised by the treatment performed before or after the formation of the layer post-treatment treatment by exposure to radiation, e.g. visible light treatment by exposure to UV light
    • HELECTRICITY
    • H01ELECTRIC ELEMENTS
    • H01LSEMICONDUCTOR DEVICES NOT COVERED BY CLASS H10
    • H01L21/00Processes or apparatus adapted for the manufacture or treatment of semiconductor or solid state devices or of parts thereof
    • H01L21/02Manufacture or treatment of semiconductor devices or of parts thereof
    • H01L21/04Manufacture or treatment of semiconductor devices or of parts thereof the devices having potential barriers, e.g. a PN junction, depletion layer or carrier concentration layer
    • H01L21/18Manufacture or treatment of semiconductor devices or of parts thereof the devices having potential barriers, e.g. a PN junction, depletion layer or carrier concentration layer the devices having semiconductor bodies comprising elements of Group IV of the Periodic Table or AIIIBV compounds with or without impurities, e.g. doping materials
    • H01L21/30Treatment of semiconductor bodies using processes or apparatus not provided for in groups H01L21/20 - H01L21/26
    • H01L21/324Thermal treatment for modifying the properties of semiconductor bodies, e.g. annealing, sintering
    • HELECTRICITY
    • H01ELECTRIC ELEMENTS
    • H01LSEMICONDUCTOR DEVICES NOT COVERED BY CLASS H10
    • H01L21/00Processes or apparatus adapted for the manufacture or treatment of semiconductor or solid state devices or of parts thereof
    • H01L21/67Apparatus specially adapted for handling semiconductor or electric solid state devices during manufacture or treatment thereof; Apparatus specially adapted for handling wafers during manufacture or treatment of semiconductor or electric solid state devices or components ; Apparatus not specifically provided for elsewhere
    • H01L21/67005Apparatus not specifically provided for elsewhere
    • H01L21/67011Apparatus for manufacture or treatment
    • H01L21/67017Apparatus for fluid treatment
    • HELECTRICITY
    • H01ELECTRIC ELEMENTS
    • H01LSEMICONDUCTOR DEVICES NOT COVERED BY CLASS H10
    • H01L21/00Processes or apparatus adapted for the manufacture or treatment of semiconductor or solid state devices or of parts thereof
    • H01L21/67Apparatus specially adapted for handling semiconductor or electric solid state devices during manufacture or treatment thereof; Apparatus specially adapted for handling wafers during manufacture or treatment of semiconductor or electric solid state devices or components ; Apparatus not specifically provided for elsewhere
    • H01L21/67005Apparatus not specifically provided for elsewhere
    • H01L21/67011Apparatus for manufacture or treatment
    • H01L21/67098Apparatus for thermal treatment
    • HELECTRICITY
    • H01ELECTRIC ELEMENTS
    • H01LSEMICONDUCTOR DEVICES NOT COVERED BY CLASS H10
    • H01L21/00Processes or apparatus adapted for the manufacture or treatment of semiconductor or solid state devices or of parts thereof
    • H01L21/67Apparatus specially adapted for handling semiconductor or electric solid state devices during manufacture or treatment thereof; Apparatus specially adapted for handling wafers during manufacture or treatment of semiconductor or electric solid state devices or components ; Apparatus not specifically provided for elsewhere
    • H01L21/67005Apparatus not specifically provided for elsewhere
    • H01L21/67011Apparatus for manufacture or treatment
    • H01L21/67098Apparatus for thermal treatment
    • H01L21/67103Apparatus for thermal treatment mainly by conduction
    • HELECTRICITY
    • H01ELECTRIC ELEMENTS
    • H01LSEMICONDUCTOR DEVICES NOT COVERED BY CLASS H10
    • H01L21/00Processes or apparatus adapted for the manufacture or treatment of semiconductor or solid state devices or of parts thereof
    • H01L21/67Apparatus specially adapted for handling semiconductor or electric solid state devices during manufacture or treatment thereof; Apparatus specially adapted for handling wafers during manufacture or treatment of semiconductor or electric solid state devices or components ; Apparatus not specifically provided for elsewhere
    • H01L21/67005Apparatus not specifically provided for elsewhere
    • H01L21/67011Apparatus for manufacture or treatment
    • H01L21/6715Apparatus for applying a liquid, a resin, an ink or the like
    • HELECTRICITY
    • H01ELECTRIC ELEMENTS
    • H01LSEMICONDUCTOR DEVICES NOT COVERED BY CLASS H10
    • H01L21/00Processes or apparatus adapted for the manufacture or treatment of semiconductor or solid state devices or of parts thereof
    • H01L21/67Apparatus specially adapted for handling semiconductor or electric solid state devices during manufacture or treatment thereof; Apparatus specially adapted for handling wafers during manufacture or treatment of semiconductor or electric solid state devices or components ; Apparatus not specifically provided for elsewhere
    • H01L21/67005Apparatus not specifically provided for elsewhere
    • H01L21/67011Apparatus for manufacture or treatment
    • H01L21/67155Apparatus for manufacturing or treating in a plurality of work-stations
    • H01L21/67161Apparatus for manufacturing or treating in a plurality of work-stations characterized by the layout of the process chambers
    • H01L21/67178Apparatus for manufacturing or treating in a plurality of work-stations characterized by the layout of the process chambers vertical arrangement
    • HELECTRICITY
    • H01ELECTRIC ELEMENTS
    • H01LSEMICONDUCTOR DEVICES NOT COVERED BY CLASS H10
    • H01L21/00Processes or apparatus adapted for the manufacture or treatment of semiconductor or solid state devices or of parts thereof
    • H01L21/67Apparatus specially adapted for handling semiconductor or electric solid state devices during manufacture or treatment thereof; Apparatus specially adapted for handling wafers during manufacture or treatment of semiconductor or electric solid state devices or components ; Apparatus not specifically provided for elsewhere
    • H01L21/67005Apparatus not specifically provided for elsewhere
    • H01L21/67242Apparatus for monitoring, sorting or marking
    • H01L21/67248Temperature monitoring
    • HELECTRICITY
    • H01ELECTRIC ELEMENTS
    • H01LSEMICONDUCTOR DEVICES NOT COVERED BY CLASS H10
    • H01L21/00Processes or apparatus adapted for the manufacture or treatment of semiconductor or solid state devices or of parts thereof
    • H01L21/67Apparatus specially adapted for handling semiconductor or electric solid state devices during manufacture or treatment thereof; Apparatus specially adapted for handling wafers during manufacture or treatment of semiconductor or electric solid state devices or components ; Apparatus not specifically provided for elsewhere
    • H01L21/677Apparatus specially adapted for handling semiconductor or electric solid state devices during manufacture or treatment thereof; Apparatus specially adapted for handling wafers during manufacture or treatment of semiconductor or electric solid state devices or components ; Apparatus not specifically provided for elsewhere for conveying, e.g. between different workstations
    • H01L21/67739Apparatus specially adapted for handling semiconductor or electric solid state devices during manufacture or treatment thereof; Apparatus specially adapted for handling wafers during manufacture or treatment of semiconductor or electric solid state devices or components ; Apparatus not specifically provided for elsewhere for conveying, e.g. between different workstations into and out of processing chamber
    • H01L21/67742Mechanical parts of transfer devices
    • HELECTRICITY
    • H01ELECTRIC ELEMENTS
    • H01LSEMICONDUCTOR DEVICES NOT COVERED BY CLASS H10
    • H01L21/00Processes or apparatus adapted for the manufacture or treatment of semiconductor or solid state devices or of parts thereof
    • H01L21/67Apparatus specially adapted for handling semiconductor or electric solid state devices during manufacture or treatment thereof; Apparatus specially adapted for handling wafers during manufacture or treatment of semiconductor or electric solid state devices or components ; Apparatus not specifically provided for elsewhere
    • H01L21/677Apparatus specially adapted for handling semiconductor or electric solid state devices during manufacture or treatment thereof; Apparatus specially adapted for handling wafers during manufacture or treatment of semiconductor or electric solid state devices or components ; Apparatus not specifically provided for elsewhere for conveying, e.g. between different workstations
    • H01L21/67763Apparatus specially adapted for handling semiconductor or electric solid state devices during manufacture or treatment thereof; Apparatus specially adapted for handling wafers during manufacture or treatment of semiconductor or electric solid state devices or components ; Apparatus not specifically provided for elsewhere for conveying, e.g. between different workstations the wafers being stored in a carrier, involving loading and unloading
    • H01L21/67772Apparatus specially adapted for handling semiconductor or electric solid state devices during manufacture or treatment thereof; Apparatus specially adapted for handling wafers during manufacture or treatment of semiconductor or electric solid state devices or components ; Apparatus not specifically provided for elsewhere for conveying, e.g. between different workstations the wafers being stored in a carrier, involving loading and unloading involving removal of lid, door, cover
    • HELECTRICITY
    • H01ELECTRIC ELEMENTS
    • H01LSEMICONDUCTOR DEVICES NOT COVERED BY CLASS H10
    • H01L21/00Processes or apparatus adapted for the manufacture or treatment of semiconductor or solid state devices or of parts thereof
    • H01L21/67Apparatus specially adapted for handling semiconductor or electric solid state devices during manufacture or treatment thereof; Apparatus specially adapted for handling wafers during manufacture or treatment of semiconductor or electric solid state devices or components ; Apparatus not specifically provided for elsewhere
    • H01L21/683Apparatus specially adapted for handling semiconductor or electric solid state devices during manufacture or treatment thereof; Apparatus specially adapted for handling wafers during manufacture or treatment of semiconductor or electric solid state devices or components ; Apparatus not specifically provided for elsewhere for supporting or gripping
    • H01L21/687Apparatus specially adapted for handling semiconductor or electric solid state devices during manufacture or treatment thereof; Apparatus specially adapted for handling wafers during manufacture or treatment of semiconductor or electric solid state devices or components ; Apparatus not specifically provided for elsewhere for supporting or gripping using mechanical means, e.g. chucks, clamps or pinches
    • H01L21/68714Apparatus specially adapted for handling semiconductor or electric solid state devices during manufacture or treatment thereof; Apparatus specially adapted for handling wafers during manufacture or treatment of semiconductor or electric solid state devices or components ; Apparatus not specifically provided for elsewhere for supporting or gripping using mechanical means, e.g. chucks, clamps or pinches the wafers being placed on a susceptor, stage or support
    • H01L21/68742Apparatus specially adapted for handling semiconductor or electric solid state devices during manufacture or treatment thereof; Apparatus specially adapted for handling wafers during manufacture or treatment of semiconductor or electric solid state devices or components ; Apparatus not specifically provided for elsewhere for supporting or gripping using mechanical means, e.g. chucks, clamps or pinches the wafers being placed on a susceptor, stage or support characterised by a lifting arrangement, e.g. lift pins
    • HELECTRICITY
    • H01ELECTRIC ELEMENTS
    • H01LSEMICONDUCTOR DEVICES NOT COVERED BY CLASS H10
    • H01L21/00Processes or apparatus adapted for the manufacture or treatment of semiconductor or solid state devices or of parts thereof
    • H01L21/70Manufacture or treatment of devices consisting of a plurality of solid state components formed in or on a common substrate or of parts thereof; Manufacture of integrated circuit devices or of parts thereof
    • H01L21/71Manufacture of specific parts of devices defined in group H01L21/70
    • H01L21/76Making of isolation regions between components
    • H01L21/762Dielectric regions, e.g. EPIC dielectric isolation, LOCOS; Trench refilling techniques, SOI technology, use of channel stoppers
    • H01L21/76224Dielectric regions, e.g. EPIC dielectric isolation, LOCOS; Trench refilling techniques, SOI technology, use of channel stoppers using trench refilling with dielectric materials
    • HELECTRICITY
    • H01ELECTRIC ELEMENTS
    • H01LSEMICONDUCTOR DEVICES NOT COVERED BY CLASS H10
    • H01L21/00Processes or apparatus adapted for the manufacture or treatment of semiconductor or solid state devices or of parts thereof
    • H01L21/70Manufacture or treatment of devices consisting of a plurality of solid state components formed in or on a common substrate or of parts thereof; Manufacture of integrated circuit devices or of parts thereof
    • H01L21/71Manufacture of specific parts of devices defined in group H01L21/70
    • H01L21/768Applying interconnections to be used for carrying current between separate components within a device comprising conductors and dielectrics
    • HELECTRICITY
    • H01ELECTRIC ELEMENTS
    • H01LSEMICONDUCTOR DEVICES NOT COVERED BY CLASS H10
    • H01L21/00Processes or apparatus adapted for the manufacture or treatment of semiconductor or solid state devices or of parts thereof
    • H01L21/02Manufacture or treatment of semiconductor devices or of parts thereof
    • H01L21/02104Forming layers
    • H01L21/02107Forming insulating materials on a substrate
    • H01L21/02109Forming insulating materials on a substrate characterised by the type of layer, e.g. type of material, porous/non-porous, pre-cursors, mixtures or laminates
    • H01L21/02112Forming insulating materials on a substrate characterised by the type of layer, e.g. type of material, porous/non-porous, pre-cursors, mixtures or laminates characterised by the material of the layer
    • H01L21/02123Forming insulating materials on a substrate characterised by the type of layer, e.g. type of material, porous/non-porous, pre-cursors, mixtures or laminates characterised by the material of the layer the material containing silicon
    • H01L21/02126Forming insulating materials on a substrate characterised by the type of layer, e.g. type of material, porous/non-porous, pre-cursors, mixtures or laminates characterised by the material of the layer the material containing silicon the material containing Si, O, and at least one of H, N, C, F, or other non-metal elements, e.g. SiOC, SiOC:H or SiONC
    • HELECTRICITY
    • H01ELECTRIC ELEMENTS
    • H01LSEMICONDUCTOR DEVICES NOT COVERED BY CLASS H10
    • H01L21/00Processes or apparatus adapted for the manufacture or treatment of semiconductor or solid state devices or of parts thereof
    • H01L21/02Manufacture or treatment of semiconductor devices or of parts thereof
    • H01L21/02104Forming layers
    • H01L21/02107Forming insulating materials on a substrate
    • H01L21/02109Forming insulating materials on a substrate characterised by the type of layer, e.g. type of material, porous/non-porous, pre-cursors, mixtures or laminates
    • H01L21/02205Forming insulating materials on a substrate characterised by the type of layer, e.g. type of material, porous/non-porous, pre-cursors, mixtures or laminates the layer being characterised by the precursor material for deposition
    • H01L21/02208Forming insulating materials on a substrate characterised by the type of layer, e.g. type of material, porous/non-porous, pre-cursors, mixtures or laminates the layer being characterised by the precursor material for deposition the precursor containing a compound comprising Si
    • H01L21/02214Forming insulating materials on a substrate characterised by the type of layer, e.g. type of material, porous/non-porous, pre-cursors, mixtures or laminates the layer being characterised by the precursor material for deposition the precursor containing a compound comprising Si the compound comprising silicon and oxygen
    • H01L21/02216Forming insulating materials on a substrate characterised by the type of layer, e.g. type of material, porous/non-porous, pre-cursors, mixtures or laminates the layer being characterised by the precursor material for deposition the precursor containing a compound comprising Si the compound comprising silicon and oxygen the compound being a molecule comprising at least one silicon-oxygen bond and the compound having hydrogen or an organic group attached to the silicon or oxygen, e.g. a siloxane
    • HELECTRICITY
    • H01ELECTRIC ELEMENTS
    • H01LSEMICONDUCTOR DEVICES NOT COVERED BY CLASS H10
    • H01L21/00Processes or apparatus adapted for the manufacture or treatment of semiconductor or solid state devices or of parts thereof
    • H01L21/02Manufacture or treatment of semiconductor devices or of parts thereof
    • H01L21/04Manufacture or treatment of semiconductor devices or of parts thereof the devices having potential barriers, e.g. a PN junction, depletion layer or carrier concentration layer
    • H01L21/18Manufacture or treatment of semiconductor devices or of parts thereof the devices having potential barriers, e.g. a PN junction, depletion layer or carrier concentration layer the devices having semiconductor bodies comprising elements of Group IV of the Periodic Table or AIIIBV compounds with or without impurities, e.g. doping materials
    • H01L21/30Treatment of semiconductor bodies using processes or apparatus not provided for in groups H01L21/20 - H01L21/26
    • H01L21/31Treatment of semiconductor bodies using processes or apparatus not provided for in groups H01L21/20 - H01L21/26 to form insulating layers thereon, e.g. for masking or by using photolithographic techniques; After treatment of these layers; Selection of materials for these layers
    • H01L21/3105After-treatment
    • H01L21/311Etching the insulating layers by chemical or physical means
    • H01L21/31105Etching inorganic layers
    • H01L21/31111Etching inorganic layers by chemical means

Landscapes

  • Engineering & Computer Science (AREA)
  • Physics & Mathematics (AREA)
  • Microelectronics & Electronic Packaging (AREA)
  • General Physics & Mathematics (AREA)
  • Manufacturing & Machinery (AREA)
  • Computer Hardware Design (AREA)
  • Condensed Matter Physics & Semiconductors (AREA)
  • Power Engineering (AREA)
  • Robotics (AREA)
  • Plasma & Fusion (AREA)
  • Formation Of Insulating Films (AREA)
  • Internal Circuitry In Semiconductor Integrated Circuit Devices (AREA)
  • Element Separation (AREA)

Description

本発明は、基板の上に酸化シリコンを含む塗布膜であって、架橋反応より硬化される絶縁膜を成膜する技術に関する。
半導体装置の製造工程の中には、シリコン酸化膜などの絶縁膜を成膜する工程があり、絶縁膜は、例えばプラズマCVDや、塗布液の塗布によるなどの方法により成膜される。プラズマCVDにより成膜された絶縁膜は緻密で良質な膜が得られる利点があるが、埋め込み性が悪い。そのため例えばSTI(シャロートレンチアイソレーション)と呼ばれる微細な溝に絶縁物を埋め込む場合に適さず、プラズマCVDと、エッチバックとを繰り返し行い、徐々に隙間ができないように埋め込んでいく必要があるなど、成膜プロセスが繁雑になったり、真空処理を行うため大掛かりな装置が必要になる。
また例えばスピンコーティングなどにより半導体ウエハ(以下「ウエハ」という)に塗布液を塗布し、塗布膜をキュアして絶縁膜を成膜する手法は、埋め込み性が良好であり、STIなど微細なパターンにも、絶縁膜を充填しやすい。さらに常圧雰囲気にて処理を行うことができる利点があるが、膜の強度が比較的低くなるという課題がある。このため例えば600℃〜800℃で塗布膜を熱処理(キュア)して膜の強度を高くしている。
しかしパターンの微細化に伴い、製造される半導体装置に対する熱履歴をできるだけ低く抑える要請があり、例えば層間絶縁膜を成膜する場合、銅(Cu)配線のマイグレーション、Cuの拡散などの観点から450℃よりも高温にできない。そのため塗布液の塗布により絶縁膜を成膜する手法はキュア温度が高いため層間絶縁膜に適用できない。
特許文献1には、塗布膜の塗布後、低温で塗布膜を加熱し、その後水蒸気雰囲気にて高温で処理を行うことにより絶縁膜を成膜する技術が記載されているが本発明の課題を解決するものではない。
特開2012−174717号公報
本発明はこのような事情の下になされたものであり、その目的は、基板上に酸化シリコンを含む絶縁膜を塗布膜として形成するにあたって、良好な膜質が得られる技術を提供することにある。
本発明は、シャロートレンチアイソレーションの溝部に絶縁膜を成膜する方法において、
酸化シリコンを含む絶縁膜を形成するための前駆体を溶媒に溶解させた塗布液を基板に塗布して塗布膜を形成する工程と、
前記塗布膜中の溶媒を揮発させる溶媒揮発工程と、
この工程の後、前記前駆体を構成する分子団に未結合手を生成するために、大気よりも酸素濃度が低い低酸素雰囲気で前記塗布膜にエネルギーを供給するエネルギー供給工程と、
その後、前記基板を加熱し、前記前駆体を架橋させて絶縁膜を形成するキュア工程と、を含むことを特徴とする。
本発明は、基板である半導体ウエハ上のシャロートレンチアイソレーションの溝部に絶縁膜を成膜するための成膜装置において、
酸化シリコンを含む絶縁膜を形成するための前駆体を溶媒に溶解させた塗布液を基板に塗布して塗布膜を形成するための塗布モジュールと、
前記塗布膜中の溶媒を揮発させるための溶媒揮発モジュールと、
前記前駆体を活性化させるために、溶媒が揮発された塗布膜に対して、大気よりも酸素濃度が低い低酸素雰囲気でエネルギーを供給するためのエネルギー供給モジュールと、
前記エネルギー供給モジュールにて処理された後の基板を加熱し、前記前駆体を架橋させて絶縁膜を形成するためのキュアモジュールと、
各モジュールの間で基板を搬送するための基板搬送機構と、を備えたことを特徴とする。
本発明は、基板である半導体ウエハ上のシャロートレンチアイソレーションの溝部に絶縁膜を成膜するための基板処理システム-において、
基板を搬送容器に入れて搬入出するための搬入出ポートと、酸化シリコンを含む絶縁膜を形成するための前駆体を溶媒に溶解させた塗布液を基板に塗布して塗布膜を形成するための塗布モジュールと、前記塗布膜中の溶媒を揮発させるための溶媒揮発モジュールと、前記前駆体を活性化させるために、溶媒が揮発された塗布膜に対して、大気よりも酸素濃度が低い低酸素雰囲気でエネルギーを供給するためのエネルギー供給モジュールと、各モジュール及び前記搬入出ポートの間で基板を搬送するための基板搬送機構と、を備えた基板処理装置と、
前記エネルギー供給モジュールにて処理された後の基板を加熱し、前記前駆体を架橋させて絶縁膜を形成するためのキュア装置と、
前記基板処理装置の前記搬入出ポートと前記キュア装置との間で前記搬送容器を搬送するための容器搬送機構と、を備えたことを特徴とする。

本発明は、酸化シリコンを含む絶縁膜の前駆体を含む塗布液を基板に塗布し、塗布液の溶媒を揮発させた後、キュア工程を行う前に、低酸素雰囲気で前記塗布膜にエネルギーを供給している。このため前駆体における加水分解される部位にて未結合手が生成されやすい。キュア工程では先ず加水分解により、前駆体を構成する分子団のシリコンに水酸基が結合し、次いで分子団同士の水酸基が脱水縮合して架橋が行われるが、予め加水分解される部位であるシリコンに未結合手を生成していることから、水酸基の生成効率が高くなる。即ち、加水分解に必要なエネルギーが低下することから、低温でキュア工程を行っても、加水分解されずに残る部位が少なくなる。この結果効率的に脱水縮合が起こるので、架橋率が向上して緻密な(良質な)絶縁膜の製造が期待できる。
従来の絶縁膜のキュア工程を説明する説明図である。 本発明の絶縁膜のキュア工程を説明する説明図である。 本発明の実施の形態に係る絶縁膜の成膜工程を説明する説明図である。 本発明の実施の形態に係る絶縁膜の成膜工程を説明する説明図である。 本発明の実施の形態に係る絶縁膜の成膜工程を説明する説明図である。 本発明の実施の形態に係る絶縁膜の成膜工程を説明する説明図である。 本発明の実施の形態に係る絶縁膜の成膜工程を説明する説明図である。 従来の成膜処理におけるポリシラザンの反応経路を説明する説明図である。 本発明の成膜方法にかかるポリシラザンの反応経路を説明する説明図である。 絶縁膜の表面の平坦化を示す説明図である。 絶縁膜の成膜装置を示す平面図である。 絶縁膜の成膜装置の縦断面図である。 前記成膜システムに設けられる塗布モジュールを示す断面図である。 前記成膜システムに設けられる溶媒揮発モジュールを示す断面図である。 前記成膜システムに設けられる紫外線照射モジュールを示す断面図である。 前記成膜システムに設けられるキュア処理モジュールを示す断面図である。 本発明の実施の形態に係る基板処理システムを示す平面図である。 本発明の実施の形態の他の例に係る絶縁膜の成膜工程を説明する説明図である。 本発明の実施の形態の他の例に係る絶縁膜の成膜工程を説明する説明図である。 本発明の実施の形態の他の例に係る絶縁膜の成膜工程を説明する説明図である。 本発明の実施の形態の他の例に係る絶縁膜の成膜工程を説明する説明図である。 本発明の実施の形態の他の例に係る絶縁膜の成膜工程を説明する説明図である。 本発明の実施の形態の他の例に係る絶縁膜の成膜工程を説明する説明図である。 本発明の実施の形態の他の例に係るウエハの表面構造を示す断面図である。
[発明の概要]
本発明の実施形態の詳細について説明する前に、本発明の概要について述べておく。本発明の絶縁膜の成膜方法の一例として、酸化シリコンを含む絶縁膜の前駆体を含む塗布液を基板に塗布し、得られた塗布膜を加熱して塗布膜中の溶媒を揮発させ、次いで基板を加熱して塗布膜中の分子団の再配列を行い、その後、塗布膜に紫外線を照射し、しかる後、塗布膜をキュアする工程が挙げられる。
塗布液は、酸化シリコンを含む絶縁膜の前駆体の分子団であるオリゴマーの群を溶媒である溶剤に溶解させて製造される。一般的なキュア工程では、基板を例えば500℃に加熱することにより図1に示すようにオリゴマーのSi−H結合がHO(水分)との加水分解(反応)により、Si−OHが生成され、続いて脱水縮合(反応)が起こってSi−O−Si結合が生成され、オリゴマー同士が架橋される。
塗布液の成分としてオリゴマーが用いられる理由は、前駆体全体が連繋されていると溶剤に溶解しないからである。このためオリゴマーの状態、即ち既述の前駆体の加水分解前の状態は安定化しており、加水分解はこの安定化状態から不安定状態に移行させるプロセスであることから、加水分解を促進させるのが難しく、キュア温度を高温化するかあるいは低温で長い時間反応させることが必要になる。
一方脱水縮合反応は熱エネルギーを与えるだけで速やかに進行する。このため加水分解を促進させるためにキュアの温度を高温化すると、加水分解が起こる(Si−HがSi−OHとなる)よりも、脱水縮合が起こる(Si−OHがSi−O−Siとなる)方が容易であることから、絶縁膜の緻密性が低くなる。その理由については、概略的な言い方をすれば、一部のオリゴマー同士が脱水縮合により架橋されたときに、他のオリゴマーは未だ加水分解が行われていない場合が起こり、当該他のオリゴマーが一部のオリゴマー同士の架橋物内に取り込まれてしまうことに起因すると推測される。なお低温で長時間キュアを行う手法は、スループットが低くなるので、生産ラインでは受け入れ難い。
そこで本発明では、キュア工程を行う前に例えば紫外線を塗布膜に照射して、加水分解が起こる部位に未結合手を生成する(オリゴマーをいわば活性化する)ようにしている。即ち図2に示すように紫外線のエネルギーによりオリゴマーにおけるSi−Hの結合を切断して未結合手を生成している。このためキュア工程において加水分解に必要なエネルギーが低くなるので、水酸基(OH基)の生成効率が高くなり、その後の脱水縮合による架橋率が向上する。このことは、低温でキュア工程を行っても、緻密な(良好な膜質である)絶縁膜が得られるということである。
塗布膜に対する紫外線の照射は、キュア工程の前に行うことが必要である。その理由については、キュア工程は低温とはいっても例えば350℃〜450℃の加熱雰囲気で行われることから、紫外線のエネルギーにより既述のように未結合手が生成されると、未結合手が生成された部位から架橋が起こり、このためSi−H結合が未だ切断されていないオリゴマーが、架橋されたオリゴマー群の中に閉じ込められてしまい、絶縁膜の緻密性が低くなる。
このため紫外線を塗布膜に照射する工程は、このような現象が抑えられた温度で行うことが必要であり、具体的には例えば350℃以下が望ましいと考えられ、例えば室温で行うことができる。また紫外線を塗布膜に照射する工程は、大気雰囲気よりも酸素濃度が低い低酸素濃度雰囲気で行うことが必要であり、例えば酸素濃度が400ppm以下、好ましくは50ppm以下の雰囲気で行われる。低酸素濃度雰囲気は、一例として窒素ガスなどの不活性ガス雰囲気が挙げられる。
この工程が行われる雰囲気において酸素濃度が高いと、紫外線の照射により生成された未結合手を有するオリゴマー同士が瞬時で結合し、結合されたオリゴマーの中に、孤立したオリゴマーが閉じ込められ、結果として絶縁膜の緻密性が低くなる。
[実施の形態]
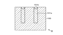
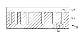
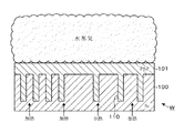
次に本発明の絶縁膜の成膜方法の実施の形態について詳述する。この例では、被処理基板に対してSTIを行うプロセスについて説明する。図3に示すように被処理基板であるウエハWには、シリコン膜100に溝部(トレンチ)110が形成されており、そしてSOG膜の前駆体を有機溶剤に溶解した塗布液をウエハWに塗布することにより、トレンチ110を埋めるように塗布膜101が形成される。前駆体としては、例えば−(SiHNH)‐を基本構造とするポリマーであるポリシラザンが用いられる。塗布液は、例えば流動性を良くするためにポリシラザンの分子団がオリゴマーの状態で溶解している。そのため図3に示すように、例えばスピンコーティングによりウエハWに塗布したときに塗布液が細いトレンチ110内に進入しやすく埋め込み性の良好な塗布膜101が得られる。なお図3〜図10では、塗布膜101にPSZ(ポリシラザン)と記載している。
続いて図4に示すようにウエハWを100〜250℃、例えば150℃で3分間加熱する。これにより塗布膜101中に含まれる溶媒である溶剤が揮発する。次に図5に示すようにウエハWを200〜300℃、例えば250℃で加熱する。この時塗布膜101中に含まれるオリゴマーが熱により活性化される。そのため塗布膜101中のオリゴマーが再配列されて、隙間を埋めるように並ぶ(リフロー工程)。このリフロー工程を行いオリゴマーが再配列することによりオリゴマー間の隙間が狭くなる。そのため後段のキュア処理によりオリゴマー同士の架橋を形成したときに緻密な膜になりやすくなる。
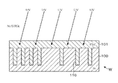
その後、図6に示すように400ppm、好ましくは50ppm以下の酸素濃度の雰囲気、例えば窒素(N)ガス雰囲気にて、塗布膜101に5000mJ/cm以下、例えば4000mJ/cmのエネルギーを照射する。エネルギーとしては、例えば主たる波長が200nm以下の紫外線、例えば主たる波長が172nmの紫外線(UV)を照射する。主たる波長とは、スペクトルにおいて最大ピーク、あるいはその近傍に対応する波長を指している。さらに続くキュア工程においては、図7に示すようにウエハWに向けて水蒸気を供給しながら、350〜450℃の温度にて段階的加熱処理、例えば水蒸気を雰囲気下で400℃と、450℃で段階的に加熱し、さらにNガス雰囲気下で450℃で加熱する。
図8は紫外線を照射せずにポリシラザンにキュア処理を行った時の反応経路を示し図9は、紫外線を照射したポリシラザンにキュア処理を行った時の反応経路を示す。図8に示すようにポリシラザンにキュア処理を行うと、加水分解により、Siと結合しているHがOH基となり、さらにN−H基が酸化され、アンモニア(NH)となることでSi−O結合が形成される。そしてOH基同士が脱水縮合により、架橋を形成していく。しかしながら発明の概要にて述べたようにキュア処理をしたときに加水分解が起こりにくく、緻密性の低い膜となる。
これに対してポリシラザンを含む塗布膜101にキュア処理前に紫外線を照射することで、図9に示すようにSi−H結合が切断されて未結合手が形成されると共に、一部のSi−N結合が切断されて未結合手が形成される。これによりキュア処理を行った時に未結合手にOH基が容易に結合し、Si−OHが生成される。また脱水縮合によりOH基同士が架橋し、Si−O−Si結合が形成される。さらにポリシラザンにおけるSi−N結合がOに置換されて酸化シリコンが生成されていく。既述のように予め未結合手を形成することにより、OH基が生成効率が高く、架橋率が向上するため、良好な膜質の絶縁膜(酸化シリコン膜)が形成される。
絶縁膜が硬化した後、図10に示すようにウエハWは、例えばCMP(chemical Mechanical polishing)によりウエハWの表面の余分な塗布膜101が除去される。この時塗布膜101の強度が低い場合には、CMPによる研磨が難しくなるが、塗布膜101が緻密性が高い酸化シリコン膜となっており、強度が十分に高められているためCMPにより研磨されてウエハWの表面にシリコン膜100が露出する。
続いて上述の絶縁膜の成膜方法を行うための絶縁膜の成膜装置について説明する。図11、図12に示すように絶縁膜の成膜装置は、ウエハWを複数枚含む搬送容器であるキャリアCから装置内に搬入出するための搬入出ポートであるキャリアブロックS1と、中継ブロックS2と、処理ブロックS3とを一列に接続して構成されている。
キャリアブロックS1は、複数枚のウエハWを収納して搬送するためのキャリアCが例えば横方向(X方向)に複数(例えば3個)載置されるステージ11と、ステージ11に載置されたキャリアC内に対してウエハWの受け渡しを行うための搬送アームである受け渡し機構12と、を備えている。受け渡し機構12は、ウエハWの保持部分が進退自在、X方向に移動自在、鉛直軸周りに回転自在、昇降自在に構成されている。
中継ブロックS2は、キャリアブロックS1にてキャリアCから取り出されたウエハWを処理ブロックS3側に受け渡す役割を持っている。中継ブロックS2は、ウエハWの載置台が上下に複数配置された受け渡し棚13と、受け渡し棚13の各載置台の間でウエハWの移載を行うための昇降自在な移載機構14と、を備えている。受け渡し棚13には、処理ブロックS3に設けられる主搬送機構15a、15bがウエハWの受け渡しを行うことができる高さ位置と、受け渡し機構42がウエハWの受け渡しを行うことができる高さ位置と、においてウエハWの載置台が配置されている。
処理ブロックS3は、上下に処理ブロックB1、B2が積層された2階建てになっている。処理ブロックB1、B2は略同様に構成されており、処理ブロックB1を例に説明する。処理ブロックB1は、各々中継ブロックS2から見て前後方向(Y方向)に伸びる例えばガイドレールからなる搬送路16に沿って移動自在な主搬送機構15aを備えている。処理ブロックB1には、搬送路16の左右両側にウエハWに対して処理を行うためのモジュールが配置されている。処理ブロックB1においては、例えば搬入出ブロックS1から見て右側に、塗布液を塗布するための塗布モジュール2が設けられている。また左側には、中継ブロックS2側から、例えば溶媒揮発モジュール3、リフローモジュール4、紫外線照射モジュール5及び2台のキュアモジュール6が並んで配置されている。
また絶縁膜の成膜装置には、例えばコンピュータからなる制御部9が設けられている。制御部9は、プログラム格納部を有しており、プログラム格納部には、成膜装置内におけるウエハWの搬送、あるいは各モジュールにおけるウエハWの処理のシーケンスが実施されるように命令が組まれた、プログラムが格納される。このプログラムは、例えばフレキシブルディスク、コンパクトディスク、ハードディスク、MO(光磁気ディスク)、メモリーカードなどの記憶媒体により格納されて制御部8にインストールされる。
絶縁膜の成膜装置におけるウエハWの流れを簡単に説明すると、ウエハWを収納したキャリアCがステージ11載置されると、受け渡し機構12、受け渡し棚13及び移載機構14を介して処理ブロックB1又はB2に搬送される。その後、ウエハWは、塗布モジュール2にて塗布膜101が塗布され、溶媒揮発モジュール3→リフローモジュール4→紫外線照射モジュール5→キュアモジュール6の順番に搬送されて絶縁膜が形成される。その後ウエハWは、受け渡し棚13に受け渡され、移載機構14及び受け渡し機構12によりキャリアCに戻される。
なお絶縁膜の成膜装置は、CMPを行う研磨装置を備えてもよく、例えば一方のキュアモジュール6に代えて研磨装置を設けてもよい。そしてキュアモジュール6にてキュア処理を行った後のウエハWをCMPにより研磨するように構成してもよい。
続いて、塗布モジュール2について説明する。塗布モジュール2は例えばパターンの形成されたウエハWに対して、公知のスピンコーティング法により、絶縁膜の前駆体となるポリシラザンを有機溶剤に溶解した塗布液を塗布する。塗布モジュール2は、図13に示すようにウエハWを吸着保持して駆動機構22により回転自在、昇降自在に構成されたスピンチャック21を備えている。また図13中の23はカップモジュールである。図13中24は、下方に伸びる外周壁及び内周壁が筒状に形成されたガイド部材である。
また外カップ25と前記外周壁との間には、排出空間が形成され、排出空間の下方は、気液分離できる構造になっている。ガイド部材24の周囲には、外カップ25の上端から中心側に向かって伸び出すように設けられた、ウエハWから振り切られた液を受け止める液受け部27が設けられている。また塗布ユニット2は塗布液ノズル28を備え、例えばポリシラザンなどの塗布液が貯留された塗布液供給源29から塗布液ノズル28を介してウエハWの中心部に塗布液を供給すると共にウエハWを鉛直軸周りに所定の回転数で回転させ、ウエハWの表面に塗布液を展伸して塗布膜を形成する。
次に溶媒揮発モジュール3について説明する。図14に示すように溶媒揮発モジュール3は、図示しない筐体内に上面が開口している扁平な円筒体からなる下部材31と、この下部材31に対して上下に移動して処理容器2を開閉する蓋部32とからなる処理容器30を備えている。下部材32は筐体の底面部3aに支持部材41を介して支持されている。また下部材31にはウエハWを載置して、例えば100〜250℃に加熱するための加熱機構34が埋設された加熱板33が設けられている。筐体の底面部3aには、下部材25の底部及び加熱板21を貫通しウエハWを外部の主搬送機構15aとの間で受け渡しを行うための昇降ピン35を昇降させるための昇降機構36が設けられている。
蓋部32は下面が開口している扁平な円筒体からなり、蓋部32の天井板の中央部には、排気口38が形成され、この排気口38には排気管39が接続されている。この排気管39は処理容器30側を上流側とすると、工場内に引き回されている共用の排気ダクトにその下流端が接続されている。
蓋部32は、下部材31の周壁部の上面に設けられたピン40に接触するように載置され、蓋部32と下部材との間にわずかな隙間が形成されるように載置され、ウエハWを加熱する処理空間を形成する。そして排気口38から排気を行うことにより、筐体内の雰囲気が蓋部32と、下部材25と隙間から処理容器内に流入するように構成されている。また蓋部32には、蓋部32を処理容器2を閉じた状態とする下降位置と、ウエハWを加熱板21に対して受け渡すときの上昇位置との間で昇降できるように構成されている。この例では蓋部22の昇降動作は蓋部22の外周面に取り付けられた昇降機構37を駆動することにより行われる。
またリフローモジュール4は、加熱機構34により、ウエハWが200〜300℃に加熱するように構成されたことを除いて溶媒揮発モジュール3とほぼ同様に構成されている。
エネルギー供給モジュールである紫外線照射モジュール5は、図15に示すように扁平で前後方向に細長い直方体形状の筐体50を備え、筐体50の前方側の側壁面にはウエハWを搬入出するための搬入出口51と、この搬入出口51を開閉するシャッタ52とが設けられている。
筐体50の内部は、搬入出口51から見て手前側にウエハWを搬送する搬送アーム53が設けられている。搬送アーム53は、クーリングプレートとして構成され、例えばリフロー工程後、紫外線照射処理の前に、ウエハWを常温(25℃)まで冷却できるように構成されている。搬入出口71から見て奥側には、ウエハWの載置台54が配置されている。載置台54及び搬送アーム53の下方にはウエハの受け渡しを行うための昇降ピン56、58が夫々設けられ、昇降ピン56、58は、夫々昇降機構57、59により昇降するように構成されている。
載置台54の上方側には、載置台54に載置されたウエハWに紫外線光を照射するための例えば主たる波長が172nmの紫外線を照射するキセノンランプなどの紫外線ランプ71を収容したランプ室70が設けられている。ランプ室70の下面は、紫外線ランプ71から照射された波長172nmの紫外線光をウエハWへ向けて透過させる光透過窓72が設けられている。またランプ室70の下方の側壁には、ガス供給部73と、排気口74と、が互いに対向するように設けられている。ガス供給部73には、筐体50内にNガスを供給するためのNガス供給源75が接続されている。排気口74には、排気管76を介して排気機構77が接続されている。
そして載置台54に載置されたウエハWに紫外線を照射するときには、ガス供給部73からNガスを供給すると共に排気を行い、ウエハWの雰囲気を例えば400ppm以下より好ましくは50ppm以下の低酸素雰囲気、例えばNガス雰囲気とするように構成されている。搬送アームに53にて常温まで冷却されたウエハWが載置台54に載置されると、Nガス供給源75からNガスを供給し、低酸素雰囲気とした状態でウエハWに例えば4000mJ/cmのエネルギーが照射される
続いてキュアモジュール6について説明する。図16に示すようにキュアモジュール6は、図示しない筐体内に蓋部62及び下部材61とで構成される処理容器60を設けて構成される。処理容器60内には、ウエハWが載置される載置台63が設けられ、載置台63には、載置台63に載置されたウエハWを例えば350〜450℃に加熱する加熱機構65が設けられている。また蓋部62の天板部にはガス導入口65が設けられ、ガス導入口65には、ガス供給管66の一端が接続されている。ガス供給管66の他端側は、2本に分岐し、一方の端部には、処理容器60内に水蒸気を供給するための水蒸気供給源67が接続され、もう一方の端部には、処理容器60内にNガスを供給するためのNガス供給源68が接続されている。なお図16中のV67、V68はバルブであり、M67、M68は、流量調整部である。
また蓋部62におけるガス導入口65の下方には、載置台63の上面と対向するようにガス拡散板69が設けられている。ガス拡散板69は例えばパンチングプレートで構成され、ガス導入口65から処理容器60内に導入されたガスを拡散し、載置台63に載置されたウエハWに向けて供給する。また下部材61には、排気口82が形成され、排気口には、排気管83の一端が接続されると共に、排気管83の他端側は排気部に接続されている。
蓋部62は、筐体の底面部に設置された昇降機構81により昇降するように構成され、蓋部62を上昇させた状態でウエハWが処理容器60内に搬入されて載置台63に載置される。そして蓋部62を下降させることで処理容器60が密閉され、載置台63に載置されたウエハWを加熱しながら水蒸気を供給するための処理空間が形成される。
そして既述のように紫外線照射処理を行ったウエハWが載置台63に載置されると、処理容器60内に水蒸気を満たすと共にウエハWを400℃で30分、450℃で120分段階的に加熱した後、水蒸気の供給を停止し、窒素ガス雰囲気下で450℃で30分加熱する。
上述の実施の形態によれば、ポリシラザンを含む塗布液をウエハWに塗布し、塗布膜101中の溶剤を揮発させた後、キュア工程を行う前に、窒素雰囲気で前記塗布膜101に紫外線を照射している。このためポリシラザンにおける加水分解される部位にて未結合手が生成されやすい。そのため予め加水分解される部位であるシリコンに未結合手を生成していることから、水酸基の生成効率が高くなる。即ち、加水分解に必要なエネルギーが低下することから、キュア工程の温度を350℃としたときにも、加水分解されずに残る部位が少なくなる。この結果効率的に脱水縮合が起こるので、架橋率が向上して緻密な(良質な膜質である)絶縁膜を成膜することができる。
また本発明は、塗布処理から紫外線照射の工程までを行う成膜装置と、別個にキュア処理を行う熱処理装置とを備え、成膜装置で紫外線照射を行ったウエハWを、熱処理装置に搬送してキュア処理を行う基板処理システムであってもよい。図17に示すように基板処理システムは、キュア処理装置を設けないことを除いて、図11、図12に示す絶縁膜の成膜装置と同様に構成した基板処理装置90と、ウエハWに熱処理を行う熱処理炉97を含む熱処理装置93と、を備え、基板処理装置90と熱処理装置93との間においてキャリアCを搬送する容器搬送機構である搬送車(AVG)98が設けられている。熱処理装置93は、キャリアCが搬送されるキャリアブロックS1と、キャリアCからウエハを取り出す受け渡し機構94とキャリアCから取り出したウエハWを載置する載置棚96と、載置棚96に載置されたウエハWを熱処理炉97に移載する移載機構95を備えている。熱処理炉97は、例えば周知の熱処理炉が用いられ、複数枚の基板を基板保持具に棚状に配置してヒータで囲まれた縦型の反応管内に搬入して熱処理(キュア)が行われる。
そしてこの基板処理システムは、基板処理装置90の制御部91と、熱処理装置93におけるウエハWの搬送及びキュア処理工程を実行するためのプログラムを備えた熱処理装置93の制御部92と、に制御信号を送信すると共に、搬送車98によるキャリアCの搬送を制御する上位コンピュータ99を備えている。上位コンピュータ99には、既述の絶縁膜の成膜方法を実行するためのプログラムが記憶されており、ウエハWへの塗布液の塗布から紫外線照射処理までの工程を基板処理装置90にて行い、紫外線を照射したウエハWをキャリアCに収納して、搬送車98により熱処理装置93に搬送し、キュア処理を行う。このような基板処理システムにおいても同様に絶縁膜の成膜方法を適用することができる。このように熱処理炉を含む基板処理システムを用いても強度の高い絶縁膜を成膜することができる効果がある。一方でキュア処理工程の温度が低くできるため、絶縁膜成膜工程を行うにあたって、高温処理を行うための専用の熱処理炉を含む基板処理システムとする必要がない効果もある。
さらに上述の実施の形態において、キュア工程において、アンモニアガスを供給しながら加熱してキュア処理を行うようにしてもよい。あるいはキュア処理の際に供給するガスはNガスであってもよい。
また本発明は、低誘電率膜などの層間絶縁膜の成膜に適用してもよい。層間絶縁膜の成膜にあたっては、配線材料である銅のマイグレーションや拡散を抑えるために、加熱温度は、450℃以下、例えば400℃以下にすることが要請されている。また層間絶縁膜を十分な硬度に構成する観点から300℃以上出ることが好ましい。本発明ではキュア温度が低温であっても良質な膜質の絶縁膜が得られることから、層間絶縁膜の成膜に適用することが期待できる。また例えば細い溝部が形成された基板に絶縁膜を形成する例としてPMD(Pre Metal Dielectric)に適用してもよい。
また本発明は、塗布液を複数回塗布して絶縁膜を成膜するようにしても良い。例えば図11、図12に示す絶縁膜の成膜装置において、まずトレンチ110が形成されたウエハWを塗布モジュール2に搬送して、一回目の塗布液の塗布を行う。これにより例えば図18に示すようにシリコン膜100に形成されたトレンチ110の内部に塗布液が進入した状態の塗布膜101aが形成される。なお図18〜図23では、1回目の塗布液の塗布により形成される塗布膜を101aで示し、2回目の塗布液の塗布により形成される塗布膜を101bで示す。
その後ウエハWを、実施の形態と同様に溶媒揮発モジュール3に搬送し、溶剤を揮発させた後、例えば紫外線照射モジュール5に搬送し、図19に示すように低酸素雰囲気にて塗布膜101aに紫外線を照射する。次いでウエハWを塗布モジュール2に搬送し、2回目の塗布処理を行う。これにより図20に示すようにウエハWに、さらに塗布膜101bが積層される。その後ウエハWを溶媒揮発モジュール3に搬送し、溶剤を揮発させた後、紫外線照射モジュール5に搬送し、図21に示すように低酸素雰囲気にて塗布膜101bに紫外線を照射する。続いてウエハWをキュアモジュール6に搬送し、図22に示すように例えば水蒸気雰囲気下で400℃、450℃で段階的に加熱した後Nガス雰囲気下で450℃に加熱する。その後例えばウエハWをCMP装置に搬送し、図23に示すように表層の塗布膜101bをCMPにより除去する。
塗布膜101a、101bに紫外線を照射したときに、紫外線は塗布膜101a、101bの表層側から下層側に透過していくため、塗布膜101a、101bの下層側は表層側に比べて、紫外線が弱まりやすく、Si−H結合が十分に未結合手にならないおそれがある。そのためウエハWにキュア処理を行った時に塗布膜101a、101bの下層側において、架橋率が低くなることがあり、膜全体としての架橋率が低くなることがある。また例えば表層の塗布膜をCMPにより除去したときに塗布膜における膜質の悪い層が露出するおそれがある。
そのため塗布膜101a、101bの塗布と、紫外線照射とを複数回繰り返して所定の膜厚の塗布膜101a、101bを成膜することで、塗布膜101a、101bが各々薄い状態で紫外線照射処理ができ、塗布膜101a、101bの全層に、未結合手が形成されやすくなる。そのためキュア処理を行った時に塗布膜101a、101bの全層で、架橋が形成されやすくなり、全層に亘って架橋率が高く緻密な塗布膜101a、101bを形成することができる。これにより後述の実施例2に示すようにより緻密でエッチング強度の高い絶縁膜を成膜することができる。
また1回目の塗布処理を行い、溶剤を揮発させ、低酸素雰囲気にて塗布膜101aに紫外線を照射した後に、さらにキュアモジュール6に搬送し、例えば水蒸気雰囲気下で350℃に加熱してもよい。その後2回目の塗布処理を行い、溶剤を揮発させた後、低酸素雰囲気にて塗布膜101bに紫外線を照射し、さらにキュア処理を行ってもよい。
さらに1回目の塗布処理及び2回目の塗布処理における溶剤を揮発させた後に、例えばウエハWを250℃で加熱するリフロー工程を行うようにしてもよい。
また本発明は、例えば犠牲膜を成膜する工程に適用してもよい。図24は、犠牲膜を形成した被処理基板の一例を示す。図24に示すようにウエハWは、SiO膜102の上面にポリシリコン層103が形成され、さらにポリシリコン層103を厚さ方向に貫通するようにトレンチ110が形成されている。そしてこのウエハWの上面に犠牲膜となるSiON膜104が成膜される。図24は、SiON膜104を成膜した後、所定のパターンでSiON膜104をエッチングした後のウエハWの表層部の断面の様子を示している。このウエハWにおいては、SiON膜104及びポリシリコン層103に対するSiO層102のエッチング選択比を利用して、SiON膜104でおおわれておらず、SiON膜104の除去されたトレンチ110の底部に臨むSiO層102をエッチングする。
SiON膜104などの犠牲膜は、回路パターンなどの凹凸が形成されたウエハWに成膜されることから、埋め込み性が良好であることが好ましい。そのため塗布液の塗布により成膜されることが好ましい。またエッチング対象となる膜ここではSiO膜102とのエッチング選択比を十分に高めることからエッチング強度が高いことが好ましい。
SiON膜104を成膜するにあたっては、例えば前駆体としてポリシラザンを含んだ塗布液をウエハWに向けて塗布する。その後図3〜図6に示したように、塗布膜101を例えば150℃で3分加熱して塗布膜101中の溶剤を揮発させた後、250℃で加熱して塗布膜101のリフローを行う。次いで塗布膜101に向けて、低酸素雰囲気下で5000J/cm以下の紫外線を照射する。その後、キュアモジュール6において、Nガス雰囲気下でウエハWを400℃、450℃で段階的に加熱するキュア工程を行う。
前駆体として含まれるポリシラザンにおいては、上述のように塗布膜101中に含まれるオリゴマー同士の脱水縮合を進めるときに、ポリシラザンに含まれる−Si(NH)Si−がSi−O−Si結合に置換される。この−Si(NH)Si−からSi−O−Si結合への置換率が高いとSiOに近づき、−Si(NH)Si−をより多く残すように成膜することでN濃度が高いSiON膜になる。従って塗布膜101に紫外線を照射した後、キュア工程において、例えばNガス雰囲気下で350℃に加熱する。この時低い温度、例えば350〜450℃キュア処理をすることで、−Si(NH)Si−の置換が抑制された状態となると共に、紫外線の照射により形成された未結合手が、既述のように加水分解及び脱水縮合を行いSi−O−Si結合の生成が進行する。従ってポリシラザンのオリゴマーを架橋させて強固な膜とすると共に、窒素の離脱を抑え、窒素含有率が高いSiON膜を成膜することができる。
また紫外線を照射する工程において、架橋が進行する温度、例えばポリシラザンでは、350〜400℃まで上げてしまうと、未結合手の形成と、加水分解及び脱水縮合と、が同時に進行してしまうことがあり、結合されたオリゴマーの中に、孤立したオリゴマーが閉じ込められ、結果として絶縁膜の緻密性が低くなる。
そのため紫外線を照射する温度は、350℃以下であることが好ましい。また紫外線照射時に架橋の進行しない温度であることが要件であることから、リフロー工程において紫外線を照射するようにしてもよい。しかしながら溶剤揮発工程においては、溶媒である溶剤が紫外線の照射により変質するおそれもある。そのため、溶剤揮発工程以後である必要がある。
またエネルギー照射工程におけるエネルギーが大きすぎると、Si−H結合以外の他の結合が切断されてしまうことがある。そのためエネルギーの照射量は、5000J/cm以下であることが好ましく、Si−H結合の末端を切るのに十分なドーズ量以上の照射量であればよい。
また後述の実施例3に示すように溶剤揮発工程におけるウエハWの加熱温度を200〜250℃にして上述の絶縁膜の成膜方法を実行することで効果を上げることができる。これは、塗布膜101中の溶剤をより確実に除去することで、溶剤に吸収されるエネルギーは少なくなるためと、実施例3ではリフロー処理を行っておらず、リフロー処理におけるオリゴマーの再配列に相当する効果生じたためと、の相乗効果であると推測される。
また効率よく未結合手を形成する観点から、塗布膜を透過せず、塗布膜に吸収される波長のエネルギーが好ましい。そのため紫外線の場合には、主たる波長が200nm以下であることが好ましく、例えばArFランプなどの波長193nmの紫外線を用いてもよく、また重水素ランプなどを用いてもよい。さらに塗布膜に照射するエネルギーとしては、電子線などを用いてもよい。
また溶剤揮発工程に用いる塗布膜101中の溶剤を揮発させる装置は、例えば密閉した処理容器内を例えば大気圧の半分まで減圧し、処理容器内に載置したウエハWにおける溶剤の揮発を促進して溶剤を揮発させる装置でも良い。
<評価試験1>
本発明の実施の形態の効果を検証するために以下の試験を行った。図17に示した基板処理システムを用い、評価用のウエハWに絶縁膜を成膜し、絶縁膜のエッチング強度について評価した。
[実施例1]
絶縁膜の成膜方法における紫外線照射工程においてNガス雰囲気下で主たる波長が172nmの紫外線をドーズ量が2000mJ/cmとなるように照射した例を実施例1−1とした。なおウエハWは、実施の形態に示した塗布液を塗布した後、溶剤揮発工程において、ウエハWを150℃で3分加熱し、その後リフロー工程を行わずに、紫外線照射工程を行った。続くキュア工程においては、熱処理炉内において、水蒸気を供給した状態で、400℃で30分、450℃で120分の2段階の加熱を行った後、Nガス雰囲気下で450℃で30分加熱した。なお塗布膜の目標膜厚は100nmとした。
[比較例1、2]
また紫外線照射工程において、大気雰囲気にて2000mJ/cmの紫外線を照射したことを除いて、実施例1−1と同様に処理した例を比較例1とした。また紫外線照射を行わないことを除いて、実施例1−1と同様に処理した例を比較例2とした。
実施例1、比較例1、2の各々において、0.5%希フッ酸によりウェットエッチングを行い単位時間当たりのエッチング量(エッチングレート)を評価し、0.5%希フッ酸に対するシリコンの熱酸化膜のエッチングレートを1としたときの各々の例における相対的エッチングレートを求めた。以下実施例においては、この相対的エッチングレートによりエッチング強度を評価した。
比較例1、2における相対的エッチングレートは、夫々3.74、5.55であった。これに対して、実施例1における相対的エッチングレートは、2.04であった。
この結果によれば、ポリシラザンを含む塗布液をウエハWに塗布し絶縁膜を成膜するにあたって、キュア工程前の塗布膜にNガス雰囲気下で紫外線のエネルギーを照射することにより、エッチング強度を高めることができるといえる。
さらに実施例1及び比較例1の各々において、(FT−IR:フーリエ変換赤外分光光度計)を用い、紫外線照射処理の前後及びキュア処理後における原子結合の量を評価した。比較例1においては、紫外線照射処理の後において、Si−H結合が減少し、Si−O結合が増加していた。また実施例1においては、紫外線照射処理の後にSi−H結合の減少は見られたが、Si−O結合は増加しておらず、キュア処理後においてSi−O結合が増加していた。
この結果から推測すると、紫外線照射処理をすることによりSi−H結合が減少しており、未結合手を形成することができるが、紫外線照射処理を大気雰囲気で行うと、キュア処理に先立って、架橋反応が進行し、紫外線照射処理をNガス雰囲気下で行うと、キュア処理前の架橋反応抑制できると考えられる。そしてキュア処理前に未結合手を形成すると共に、架橋反応を抑制することにより、エッチング強度が高まると推測される。
また紫外線をドーズ量を3000及び4000mJ/cmに設定した場合において、相対的エッチングレートを評価したところ各々2.70.2.42であり、4000mJ/cm程度の紫外線のドーズ量においても強度の高い絶縁膜を得ることができた。
<評価試験2>
またウエハWへの塗布液の塗布と、塗布膜への紫外線照射処理と、を複数回繰り返した後、キュア処理を行うことの効果を検証するため、以下の実施例に従って図17に示した基板処理システムを用い、ウエハWに絶縁膜を成膜し、実施例1と同様に相対的エッチングレートを求め、絶縁膜のエッチング強度について評価した。
[実施例2−1]
評価用のウエハWに1回目の塗布液を塗布した後、溶剤揮発工程において、ウエハWを150℃で3分加熱し、その後リフロー工程を行わずに、実施の形態と同様に紫外線照射工程を行った。紫外線照射工程においてNガス雰囲気下で照射する波長172nmの紫外線のドーズ量を4000mJ/cmに設定した。さらに2回目の塗布液の塗布として、1回目の塗布液と同量の塗布液を塗布した後、溶剤揮発工程において、ウエハWを150℃で3分加熱し、その後リフロー工程を行わずに、実施の形態と同様に紫外線照射工程を行った。その後実施例1と同様のキュア工程を行った例を実施例2−1とした。なお1回目の塗布液を塗布及び2回目の塗布液の塗布における塗布液の供給量は、凡そ実施例1と同様であり、キュア処理後の塗布膜の目標膜厚は200nmとした。
[実施例2−2]
塗布液の塗布量を実施例1の凡そ2倍の量として、塗布膜の目標膜厚を200nmとして成膜し、紫外線照射工程においてNガス雰囲気下で照射する波長172nmの紫外線のドーズ量を4000mJ/cmに設定したことを除いて、実施例1と同様に処理した例を実施例2−2とした。
実施例2−1及び2−2における相対的エッチングレートは、夫々2.27、2.56であった。実施例2−1及び2−2のいずれにおいても相対的エッチングレートが低くなっており、エッチング強度が高いことが分かる。また実施例2−2と比較して、実施例2−1はさらに相対的エッチングレートが低くなっていることが分かる。
この結果によれば、ウエハWへの塗布液の塗布と、塗布膜への紫外線照射処理と、を複数回繰り返すことにより、より緻密で良好な絶縁膜を得ることができると言える。
<評価試験3>
また溶剤揮発工程におけるウエハWの加熱温度による効果を検証するため、以下の実施例に従って図17に示した基板処理システムを用い、ウエハWに絶縁膜を成膜し、絶縁膜のエッチング強度について評価した。
[実施例3−1]
ウエハWは、実施の形態に示した塗布液を塗布した後、溶剤揮発工程において、ウエハWを150℃で3分加熱し、その後リフロー工程を行わずに、紫外線照射工程を行った。続くキュア工程においては、熱処理炉内において、水蒸気を供給した状態で、400℃で30分、450℃で120分の2段階の加熱を行った後、Nガス雰囲気下で450℃で30分加熱した。なお塗布膜の目標膜厚は100nmとした。
[実施例3−2、3−3]
溶剤揮発工程におけるウエハWの加熱温度を200℃、250℃に設定したことを除いて実施例3−1と同様に処理した例を、夫々実施例3−2〜3−3とした。
実施例3−1、3−2及び3−3における相対的エッチングレートは、夫々3.68、2.74及び2.74であった。溶剤揮発工程におけるウエハWの加熱温度を上げることでより緻密で良好な絶縁膜を得ることができると言える。
2 塗布モジュール
3 溶媒揮発モジュール
4 リフローモジュール
5 紫外線照射モジュール
6 キュアモジュール
9、90、92 制御部
99 上位コンピュータ
100 シリコン膜
101 塗布膜
W ウエハ


Claims (16)

  1. シャロートレンチアイソレーションの溝部に絶縁膜を成膜する方法において、
    酸化シリコンを含む絶縁膜を形成するための前駆体を溶媒に溶解させた塗布液を基板に塗布して塗布膜を形成する工程と、
    前記塗布膜中の溶媒を揮発させる溶媒揮発工程と、
    この工程の後、前記前駆体を構成する分子団に未結合手を生成するために、大気よりも酸素濃度が低い低酸素雰囲気で前記塗布膜にエネルギーを供給するエネルギー供給工程と、
    その後、前記基板を加熱し、前記前駆体を架橋させて絶縁膜を形成するキュア工程と、を含むことを特徴とする絶縁膜の成膜方法。
  2. 前記溶媒を揮発させる工程の後、塗布膜中の分子団を再配列するために基板を加熱するリフロー工程を行うことを特徴とする請求項1に記載の絶縁膜の成膜方法。
  3. 前記エネルギー供給工程は、前記リフロー工程の後、基板の温度を降温させた状態で行われることを特徴とする請求項2記載の絶縁膜の成膜方法。
  4. 前記エネルギー供給工程が行われる低酸素雰囲気は、酸素濃度が400ppm以下であることを特徴とする請求項1に記載の絶縁膜の成膜方法。
  5. 前記低酸素雰囲気は、不活性ガスを含む雰囲気であることを特徴とする請求項1に記載の絶縁膜の成膜方法。
  6. 前記エネルギーは、主たる波長が200nmよりも短い紫外線のエネルギーであることを特徴とする請求項1に記載の絶縁膜の成膜方法。
  7. 前記塗布膜に供給される紫外線のエネルギーは、5000mJ/cm以下のエネルギーであることを特徴とする請求項6に記載の絶縁膜の成膜方法。
  8. 前記塗布膜を形成する工程から前記エネルギーを供給する工程までの工程群を複数回繰り返し、その後前記キュア工程を行うことを特徴とする請求項1の絶縁膜の成膜方法。
  9. 前記キュア工程は、基板を水蒸気雰囲気下で加熱することを特徴とする請求項1に記載の絶縁膜の成膜方法。
  10. 前記キュア工程における基板の加熱温度は300℃以上450℃以下であることを特徴とする請求項1に記載の絶縁膜の成膜方法。
  11. 基板である半導体ウエハ上のシャロートレンチアイソレーションの溝部に絶縁膜を成膜するための成膜装置において、
    酸化シリコンを含む絶縁膜を形成するための前駆体を溶媒に溶解させた塗布液を基板に塗布して塗布膜を形成するための塗布モジュールと、
    前記塗布膜中の溶媒を揮発させるための溶媒揮発モジュールと、
    前記前駆体を活性化させるために、溶媒が揮発された塗布膜に対して、大気よりも酸素濃度が低い低酸素雰囲気でエネルギーを供給するためのエネルギー供給モジュールと、
    前記エネルギー供給モジュールにて処理された後の基板を加熱し、前記前駆体を架橋させて絶縁膜を形成するためのキュアモジュールと、
    各モジュールの間で基板を搬送するための基板搬送機構と、を備えたことを特徴とする絶縁膜の成膜装置。
  12. 前記溶媒揮発モジュールは、基板を加熱する溶媒加熱用の加熱モジュールであることを特徴とする請求項11に記載の絶縁膜の成膜装置。
  13. 溶媒が揮発された塗布膜中の分子団を再配列するために基板を加熱するリフロー用の加熱モジュールを備えていることを特徴とする請求項11に記載の絶縁膜の成膜装置。
  14. 前記エネルギー供給モジュールは、主たる波長が200nmよりも短い紫外線を塗布膜に照射するためのモジュールであることを特徴とする請求項11に記載の絶縁膜の成膜装置。
  15. 前記キュアモジュールは、基板に水蒸気を供給して加熱することを特徴とする請求項11に記載の絶縁膜の成膜装置。
  16. 基板である半導体ウエハ上のシャロートレンチアイソレーションの溝部に絶縁膜を成膜するための基板処理システム-において、
    基板を搬送容器に入れて搬入出するための搬入出ポートと、酸化シリコンを含む絶縁膜を形成するための前駆体を溶媒に溶解させた塗布液を基板に塗布して塗布膜を形成するための塗布モジュールと、前記塗布膜中の溶媒を揮発させるための溶媒揮発モジュールと、前記前駆体を活性化させるために、溶媒が揮発された塗布膜に対して、大気よりも酸素濃度が低い低酸素雰囲気でエネルギーを供給するためのエネルギー供給モジュールと、各モジュール及び前記搬入出ポートの間で基板を搬送するための基板搬送機構と、を備えた基板処理装置と、
    前記エネルギー供給モジュールにて処理された後の基板を加熱し、前記前駆体を架橋させて絶縁膜を形成するためのキュア装置と、
    前記基板処理装置の前記搬入出ポートと前記キュア装置との間で前記搬送容器を搬送するための容器搬送機構と、を備えたことを特徴とする基板処理システム。
JP2019513266A 2017-04-17 2018-03-13 絶縁膜の成膜方法、絶縁膜の成膜装置及び基板処理システム Active JP6950737B2 (ja)

Applications Claiming Priority (3)

Application Number Priority Date Filing Date Title
JP2017081595 2017-04-17
JP2017081595 2017-04-17
PCT/JP2018/009752 WO2018193753A1 (ja) 2017-04-17 2018-03-13 絶縁膜の成膜方法、絶縁膜の成膜装置及び基板処理システム

Publications (2)

Publication Number Publication Date
JPWO2018193753A1 JPWO2018193753A1 (ja) 2020-02-20
JP6950737B2 true JP6950737B2 (ja) 2021-10-13

Family

ID=63855699

Family Applications (1)

Application Number Title Priority Date Filing Date
JP2019513266A Active JP6950737B2 (ja) 2017-04-17 2018-03-13 絶縁膜の成膜方法、絶縁膜の成膜装置及び基板処理システム

Country Status (6)

Country Link
US (1) US11631581B2 (ja)
JP (1) JP6950737B2 (ja)
KR (1) KR102595053B1 (ja)
CN (1) CN110546744B (ja)
TW (1) TWI793115B (ja)
WO (1) WO2018193753A1 (ja)

Families Citing this family (3)

* Cited by examiner, † Cited by third party
Publication number Priority date Publication date Assignee Title
US11387138B2 (en) * 2018-09-25 2022-07-12 Taiwan Semiconductor Manufacturing Co., Ltd. Integrated circuit isolation feature and method of forming the same
EP4247908B1 (en) * 2020-11-20 2025-01-08 Merck Patent GmbH Method of manufacturing silicon nitrogeneous film
JP2025513171A (ja) * 2022-04-18 2025-04-24 メルク パテント ゲゼルシャフト ミット ベシュレンクテル ハフツング 溝を有する基板に窒化珪素質膜を製造する方法

Family Cites Families (19)

* Cited by examiner, † Cited by third party
Publication number Priority date Publication date Assignee Title
US5747623A (en) * 1994-10-14 1998-05-05 Tonen Corporation Method and composition for forming ceramics and article coated with the ceramics
JP4398580B2 (ja) * 2000-10-18 2010-01-13 グンゼ株式会社 パタ−ン状二酸化ケイ素転化膜の形成方法
JP4542977B2 (ja) * 2005-10-27 2010-09-15 東京エレクトロン株式会社 塗布膜の成膜方法及びその装置
JP2009076869A (ja) * 2007-08-24 2009-04-09 Tokyo Electron Ltd 基板の処理方法、プログラム及びコンピュータ記憶媒体
US7588968B1 (en) * 2008-03-31 2009-09-15 Intel Corporation Linked chip attach and underfill
US8466067B2 (en) * 2009-10-05 2013-06-18 Applied Materials, Inc. Post-planarization densification
US9082612B2 (en) * 2010-12-22 2015-07-14 Cheil Industries, Inc. Composition for forming a silica layer, method of manufacturing the composition, silica layer prepared using the composition, and method of manufacturing the silica layer
JP5710308B2 (ja) 2011-02-17 2015-04-30 メルクパフォーマンスマテリアルズIp合同会社 二酸化ケイ素膜の製造方法
CN103702933A (zh) * 2011-06-22 2014-04-02 Az电子材料Ip(日本)株式会社 形成氮氧化硅膜的方法和具有由此形成的氮氧化硅膜的衬底
WO2013065771A1 (ja) * 2011-11-01 2013-05-10 株式会社日立国際電気 半導体装置の製造方法、半導体装置の製造装置及び記録媒体
WO2013161809A1 (ja) * 2012-04-26 2013-10-31 コニカミノルタ株式会社 ガスバリア性フィルム、およびこれを用いる電子デバイス
US20150333233A1 (en) * 2012-12-28 2015-11-19 Takashi Washizu Light emitting device
JP5929775B2 (ja) * 2013-02-08 2016-06-08 コニカミノルタ株式会社 ガスバリア性フィルムおよびその製造方法、ならびに前記ガスバリア性フィルムを含む電子デバイス
JPWO2014192700A1 (ja) * 2013-05-28 2017-02-23 コニカミノルタ株式会社 ガスバリア性フィルムおよびその製造方法
JP6361505B2 (ja) * 2013-07-04 2018-07-25 東レ株式会社 不純物拡散組成物および半導体素子の製造方法
US10113236B2 (en) * 2014-05-14 2018-10-30 Applied Materials, Inc. Batch curing chamber with gas distribution and individual pumping
US9847245B1 (en) * 2016-06-16 2017-12-19 Samsung Electronics Co., Ltd. Filling processes
JP6807236B2 (ja) * 2017-01-13 2021-01-06 東京応化工業株式会社 組成物及びシリカ質膜の製造方法
JP6849083B2 (ja) * 2017-09-11 2021-03-24 東京エレクトロン株式会社 絶縁膜の成膜方法、基板処理装置及び基板処理システム

Also Published As

Publication number Publication date
TW201903901A (zh) 2019-01-16
KR102595053B1 (ko) 2023-10-30
TWI793115B (zh) 2023-02-21
CN110546744A (zh) 2019-12-06
WO2018193753A1 (ja) 2018-10-25
CN110546744B (zh) 2023-10-20
JPWO2018193753A1 (ja) 2020-02-20
US20200211838A1 (en) 2020-07-02
KR20190139921A (ko) 2019-12-18
US11631581B2 (en) 2023-04-18

Similar Documents

Publication Publication Date Title
US10068765B2 (en) Multi-step system and method for curing a dielectric film
TWI613724B (zh) 使用有機胺基矽烷退火形成SiOCH膜的方法
TWI464805B (zh) 低介電常數介電質之整合方法
US20140235068A1 (en) Method of manufacturing semiconductor device, apparatus for manufacturing semiconductor device, and non-transitory computer-readable recording medium
US20090227118A1 (en) Method for removing a pore-generating material from an uncured low-k dielectric film
JP6950737B2 (ja) 絶縁膜の成膜方法、絶縁膜の成膜装置及び基板処理システム
KR20120025543A (ko) 성막 방법, 전 처리 장치 및 처리 시스템
KR101131640B1 (ko) 폴리실라잔막의 처리 방법
US11823897B2 (en) Method for forming insulating film, apparatus for processing substrate, and system for processing substrate
CN1276480C (zh) 有机硅氧烷膜的处理方法及装置
JP2009076869A (ja) 基板の処理方法、プログラム及びコンピュータ記憶媒体
TWI851635B (zh) 在溝槽上面形成低k可流動介電膜的方法
US20090226695A1 (en) Method for treating a dielectric film with infrared radiation

Legal Events

Date Code Title Description
A621 Written request for application examination

Free format text: JAPANESE INTERMEDIATE CODE: A621

Effective date: 20191009

A131 Notification of reasons for refusal

Free format text: JAPANESE INTERMEDIATE CODE: A131

Effective date: 20201208

A601 Written request for extension of time

Free format text: JAPANESE INTERMEDIATE CODE: A601

Effective date: 20210205

A521 Request for written amendment filed

Free format text: JAPANESE INTERMEDIATE CODE: A523

Effective date: 20210316

TRDD Decision of grant or rejection written
A01 Written decision to grant a patent or to grant a registration (utility model)

Free format text: JAPANESE INTERMEDIATE CODE: A01

Effective date: 20210824

A61 First payment of annual fees (during grant procedure)

Free format text: JAPANESE INTERMEDIATE CODE: A61

Effective date: 20210906

R150 Certificate of patent or registration of utility model

Ref document number: 6950737

Country of ref document: JP

Free format text: JAPANESE INTERMEDIATE CODE: R150

R250 Receipt of annual fees

Free format text: JAPANESE INTERMEDIATE CODE: R250

R250 Receipt of annual fees

Free format text: JAPANESE INTERMEDIATE CODE: R250