JP6889869B2 - コンバイン - Google Patents

コンバイン Download PDF

Info

Publication number
JP6889869B2
JP6889869B2 JP2019033954A JP2019033954A JP6889869B2 JP 6889869 B2 JP6889869 B2 JP 6889869B2 JP 2019033954 A JP2019033954 A JP 2019033954A JP 2019033954 A JP2019033954 A JP 2019033954A JP 6889869 B2 JP6889869 B2 JP 6889869B2
Authority
JP
Japan
Prior art keywords
vertical
discharge cylinder
frame
horizontal frame
extending
Prior art date
Legal status (The legal status is an assumption and is not a legal conclusion. Google has not performed a legal analysis and makes no representation as to the accuracy of the status listed.)
Active
Application number
JP2019033954A
Other languages
English (en)
Other versions
JP2020137432A (ja
Inventor
棟 張
棟 張
正司 中井
正司 中井
渡部 寛樹
寛樹 渡部
二神 伸
伸 二神
Current Assignee (The listed assignees may be inaccurate. Google has not performed a legal analysis and makes no representation or warranty as to the accuracy of the list.)
Iseki and Co Ltd
Original Assignee
Iseki and Co Ltd
Priority date (The priority date is an assumption and is not a legal conclusion. Google has not performed a legal analysis and makes no representation as to the accuracy of the date listed.)
Filing date
Publication date
Application filed by Iseki and Co Ltd filed Critical Iseki and Co Ltd
Priority to JP2019033954A priority Critical patent/JP6889869B2/ja
Publication of JP2020137432A publication Critical patent/JP2020137432A/ja
Application granted granted Critical
Publication of JP6889869B2 publication Critical patent/JP6889869B2/ja
Active legal-status Critical Current
Anticipated expiration legal-status Critical

Links

Images

Landscapes

  • Threshing Machine Elements (AREA)
  • Harvester Elements (AREA)

Description

本発明は、コンバインに関するものである。
従来、グレンタンクの後側に、グレンタンクに貯留された穀粒を外部に排出する排出筒の上下方向に延在する縦排出筒を設け、脱穀装置と縦排出筒の間に形成された空間に、エンジンに供給する燃料を貯留する燃料タンク等を配置する技術が知られている。
特開2017―93370号公報
しかし、特許文献1に開示された技術では、縦排出筒を連結する左右方向に延在する横フレームを、縦排出筒よりも機体内側に設けられた上下方向に延在する縦フレームで支持しているので、脱穀装置と縦排出筒の間に形成される空間が狭くなり、大容量の燃料タンク等の装置を配置することができない恐れがあった。
そこで、本発明の課題は、脱穀装置と縦排出筒の間に大きな空間を形成できるコンバインを提供することにある。
上記課題を解決した本発明は次記のとおりである。
請求項1に係る発明は、機体フレーム(1)の左右方向の左側に収穫された穀稈の脱穀を行う脱穀装置(4)を載設し、該機体フレーム(1)の左右方向の右側に脱穀処理された穀粒を貯留するグレンタンク(7)を載設したコンバインにおいて、
前記グレンタンク(7)に貯留された穀粒を外部に排出する排出筒(8)を設け、前記排出筒(8)を、前記グレンタンク(7)の後部にオーガメタル(9)を介して連通された上下方向に延在する縦排出筒(8A)と、該縦排出筒(8A)の上部に連通された前後方向に延在する横排出筒(8B)で形成し、前記縦排出筒(8A)をグレンタンク(7)の後壁(7A)の後側に設け、前記後壁(7A)と縦排出筒(8A)の間に左右方向に延在する横フレーム(20)を設け、前記縦排出筒(8A)の前方外側に上下方向に延在する縦フレーム(10)を設け、前記横フレーム(20)の左右方向の左部を、前記脱穀装置(4)の右壁(4A)に固定し、前記横フレーム(20)の左右方向の右部を、前記縦フレーム(10)の上部に固定し、前記縦排出筒(8A)と横フレーム(20)を前後方向に分割可能に形成された第1連結部材(25)で連結したことを特徴とするコンバインである。
請求項2に係る発明は、背面視において、前記横フレーム(20)における縦排出筒(8A)と縦フレーム(10)の間の部位に、上下方向に延在するピン(22)を設け、前記後壁(7A)に設けられた後方に向かって延在する第2連結部材(21)を、前記ピン(22)に回転自在に支持した請求項1記載のコンバインである。
請求項3に係る発明は、前記縦フレーム(10)の上部とオーガメタル(9)の後部を第1補強部材(30)で連結した請求項1又は2記載のコンバインである。
請求項4に係る発明は、背面視において、前記横フレーム(20)における縦排出筒(8A)の左側近傍の部位とオーガメタル(9)の後部を第2補強部材(35)で連結した請求項1〜3のいずれか1項に記載のコンバインである。
請求項5に係る発明は、背面視において、前記第2補強部材(35)を、前記オーガメタル(9)の後部から縦排出筒(8A)に重ねて上下方向に延在させ、左側上方に湾曲させた後に左側上方に向かって延在させて、前記横フレーム(20)に連結した請求項4記載のコンバインである。
請求項6に係る発明は、平面視において、前記横フレーム(20)の左右方向の中間部と右壁(4A)を、該右壁(4A)から右側前方に延在する支持部材(46)で連結した請求項1〜5のいずれか1項に記載のコンバインである。
請求項1記載の発明によれば、縦排出筒(8A)の前方外側に縦フレーム(10)が設けられているので、脱穀装置(4)の右壁(4A)と縦排出筒(8A)の間に大きな空間を形成することができ、燃料タンク等の装置を容易に行うことができる。また、横フレーム(20)の左右方向の両側部を脱穀装置(4)の右壁(4A)と縦フレーム(10)で支持しているので横フレーム(20)の剛性が高まり、横フレーム(20)のたわみ量を軽減して、グレンタンク(7)の前後・上下方向の振動を抑制することもできる。
請求項2記載の発明によれば、請求項1記載の発明の効果に加えて、横フレーム(20)における縦排出筒(8A)と縦フレーム(10)の間の部位にピン(22)が設けられているので、ピン(22)を中心としてグレンタンク(7)を収納位置と開放位置に容易に回動することができる。
請求項3記載の発明によれば、請求項1又は2記載の発明の効果に加えて、縦フレーム(10)の剛性が高まり、縦フレーム(10)のたわみ量を軽減して、グレンタンク(7)の前後・上下方向の振動をより抑制することもできる。
請求項4記載の発明によれば、請求項1〜3のいずれか1項に記載の発明の効果に加えて、横フレーム(20)の剛性がより高まり、横フレーム(20)のたわみ量をより軽減して、グレンタンク(7)の前後・上下方向の振動をより抑制することもできる。
請求項5記載の発明によれば、請求項4記載の発明の効果に加えて、第2補強部材(35)が縦排出筒(8A)に重さなって上下方向に延在しているので、脱穀装置(4)の右壁(4A)と縦排出筒(8A)の間に形成される空間の障害になることを防止することができる。
請求項6記載の発明によれば、請求項1〜5のいずれか1項に記載の発明の効果に加えて、横フレーム(20)の剛性がさらに高まり、横フレーム(20)のたわみ量をさらに軽減して、グレンタンク(7)の前後・上下方向の振動をさらに抑制することもできる。
コンバインの平面図である。 コンバインの左側面図である。 コンバインの正面図である。 縦排出筒を支持する縦フレームと横フレームの背面図である。 縦排出筒を支持する縦フレームと横フレームの左側面図である。 縦排出筒を支持する縦フレームと横フレームの平面図である。 グレンタンクの後壁と横フレームの連結部の平面図である。 縦排出筒と横フレームの連結部の平面図である。 縦排出筒の回動を規制するリミットスイッチを説明する平面図である。 縦フレームに連結された第1補強部材の背面図である。 縦フレームに連結された第1補強部材の左側面図である。 縦フレームに連結された第1補強部材の平面図である。 縦フレームに連結された他の第1補強部材の左側面図である。 横フレームに連結された第2補強部材の背面図である。 横フレームに連結された第2補強部材の左側面図である。 横フレームに連結された第2補強部材の平面図である。 他の形態の横フレームの背面図である。 さらに他の形態の横フレームの平面図である。
図1〜3に示すように、汎用コンバインは、機体フレーム1の下側に土壌面を走行する左右一対のクローラからなる走行装置2が設けられ、機体フレーム1の前側に圃場の穀稈を収穫する刈取前処理装置3が設けられ、刈取前処理装置3の後方左側に収穫された穀稈を脱穀・選別処理する脱穀装置4が設けられ、刈取前処理装置3の後方右側に操縦者が搭乗する操縦部5が設けられている。
操縦部5の下部には、エンジンを内装するエンジンルーム6が設けられ、操縦部5の後側には、脱穀・選別処理された穀粒を貯留するグレンタンク7が設けられ、グレンタンク7の後側には、穀粒を外部に排出する排出筒8が設けられている。排出筒8は、グレンタンク7の下部に連通され上下方向に延在する縦排出筒8Aと、縦排出筒8Aの上部に連通され前後方向に延在する横排出筒8Bから形成されている。
刈取前処理装置3は、圃場の穀稈を起立させながら掻込んで後方に搬送する掻込装置3Aと、後方に搬送された穀稈の株元を切断する刈刃装置3Bと、後方に搬送された穀稈を左側に寄せ集めるオーガ装置3Cと、寄せ集められた穀稈を脱穀装置4に搬送するフィーダハウス3Dから構成されている。
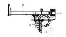
図4〜6に示すように、グレンタンク7の下部に設けられた搬出螺旋の搬出口と縦排出筒8Aの下部は、側面視においてエルボー形状に形成されたオーガメタル9を介して連通されている。また、オーガメタル9は、前後に分割して形成されている。
背面視において、縦排出筒8Aの右側には、上下方向に延在する縦フレーム10が設けられ、縦フレーム10の下部は、機体フレーム1に固定されている。また、縦排出筒8Aの上下方向の中間部における上側に偏移した部位には、左右方向に延在する横フレーム20が設けられ、横フレーム20の左部は、脱穀装置4の右壁に固定され、横フレーム20の右部は、縦フレーム10に固定されている。これにより、縦排出筒8Aの左側に大きな空間を形成することができ、エンジンに供給される軽油を貯留する大きな燃料タンク15を配置することができる。なお、縦フレーム10と横フレーム20の固定は、溶接、ボルト等の締結手段によって行うことができる。
側面視において、縦フレーム10は、グレンタンク7の後壁と縦排出筒8Aの間に立設され、平面視において、横フレーム20は、グレンタンク7の後壁と縦排出筒8Aの間に横設されている。
図7で示すように、グレンタンク7の後壁7Aと横フレーム20は、平面視で略山形形状に形成された連結部材(請求項における「第2連結部材」)21を介して連結されている。連結部材21の前部は、グレンタンク7の後壁7Aにおける右側に偏移した部位に固定され、連結部材21の後部は、横フレーム20の上面に立設されたピン22に回転自在に外嵌されている。これにより、ピン22を中心として、グレンタンク7の前部を機体フレーム1上の収納位置から機体フレーム1の外側の開放位置に回動して、脱穀装置4の右壁4Bに設けられたベルト等の張力調整を容易に行うことができる。また、横フレーム20は、脱穀装置4と縦フレーム10の間に架設されているので、グレンタンク7の回動によって横フレーム20が変形するのを防止することができる。
図8に示すように、縦排出筒8Aと横フレーム20は、平面視で略矩形形状に形成された連結部材(請求項における「第1連結部材」)25を介して連結されている。連結部材25は、前後方向に分割可能に形成されている。
前側に位置する前連結部材25Aの前部は、横フレーム20に固定され、前連結部材25Aの後部には、縦排出筒8Aの前部を挿入可能な半円形形状の切欠き部が形成されている。後側の後連結部材25Bの前部は、前連結部材25Aに着脱自在に固定され、後連結部材25Bの前部には、縦排出筒8Aの後部に外嵌可能な半円形形状の切欠き部が形成されている。これにより、縦排出筒8Aの上部を確実に横フレーム20の支持することができ、機体の後方から縦排出筒8Aの着脱作業を容易に行うことができる。
本実施形態では、後連結部材25Bは、板状体を半円形形状に湾曲させて形成している。これにより、機体の後側から縦排出筒8Aの着脱作業をより容易に行うことができる。なお、連結部材25を、左右方向に分割可能に形成することもできる。これにより、機体の右側から縦排出筒8Aの着脱作業をより容易に行うことができる。
図9に示すように、横フレーム20の右部には、ブラケットを介して縦排出筒8Aの時計方向の回転角度を規制するリミットセンサ27が設けられ、第1補強部材30の上部には、ブラケットを介して縦排出筒8Aの反時計方向の回転角度を規制するリミットセンサ28が設けられている。これにより、縦排出筒8Aが過度に回転するのを規制して、横排出筒8Bと他の車両等の接触を防止することができる。
図10〜12に示すように、縦フレーム10の上部とオーガメタル9の後部は、第1補強部材30で連結されている。これにより、縦フレーム10の剛性が高まり、グレンタンク7の前後・上下方向への揺動を抑制することができる。また、オーガメタル9の後部には、縦排出筒8Aを回動させるモータ29が設けられている。
背面視において、第1補強部材30は、オーガメタル9の後部から右側に向かって延在して縦フレーム10の下部に至り、上側に向かって湾曲した後に上側に向かって延在して縦フレーム10の上部に連結されている。
側面視において、第1補強部材30は、オーガメタル9の後部から上側に向かって延在して縦フレーム10の上部に至り、前側に向かって湾曲した後に前側に向かって延在して縦フレーム10の上部に連結されている。
平面視において、第1補強部材30は、オーガメタル9における右側後部から右側に向かって延在して縦フレーム10に至り、前側に向かって湾曲した後に前側に向かって延在して縦フレーム10の後部に連結されている。
これにより、第1補強部材30の長さを短く形成することができ、第1補強部材30の重量を軽減して第1補強部材30の取付作業を容易に行うことができる。
図13に示すように、縦フレーム10の上部とオーガメタル9の後部を連結する第1補強部材30に替えて、縦フレーム10の上部とオーガメタル9の下部に位置する機体フレーム1の後部を第1補強部材30Aで連結することもできる。なお、第1補強部材30Aは、側面視において、機体フレーム1の後部から後側に向かって延在し、上側に向かって湾曲した後に上側に向かって延在し、前方上側に湾曲して縦フレーム10の上部に連結されている。これにより、コンバインの後進時に、縦排出筒8Aと他の車両等の接触を防止することができる。
図14〜16に示すように、横フレーム20における縦排出筒8Aの左部に近接する部位とオーガメタル9の後部は、第2補強部材35で連結されている。これにより、横フレーム20の剛性が高まり、グレンタンク7の前後・上下方向への揺動を抑制することができる。
背面視において、第2補強部材35は、縦排出筒8Aの左部と重なってオーガメタル9の後部から上側に向かって延在して横フレーム20の下側に至り、左方上側に向かって湾曲した後に左方上側に向かって延在して横フレーム20の後部に連結されている。
側面視において、第2補強部材35は、オーガメタル9の後部から後側に向かって延在し、上側に向かって湾曲した後に上側に向かって延在し、前方上側に向かって湾曲した後に前方上側に向かって延在して横フレーム20の後部に連結されている。
平面視において、第2補強部材35は、オーガメタル9の後部から後側に向かって延在し、左方前側に向かって湾曲した後に左方前側に向かって延在して横フレーム20の後部に連結されている。
これにより、第2補強部材35の長さを短く形成することができ、第2補強部材35の重量を軽減して第2補強部材35の取付作業を容易に行うことができる。また、第2補強部材35の上下方向に延在する部位は、縦排出筒8Aの左部の後側に設けられているので、コンバインの後進時に、縦排出筒8Aと他の車両等の接触を防止することができる。
図15示すように、横フレーム20における縦排出筒8Aの左部に近接する部位とオーガメタル9の後部を連結する第2補強部材35替えて、横フレーム20における縦排出筒8Aの左部に近接する部位とオーガメタル9の下部に位置する機体フレーム1の後部を第2補強部材35A連結することもできる。なお、第2補強部材35Aは側面視において、機体フレーム1の後部から後側に向かって延在し、上側に向かって湾曲した後に上側に向かって延在し、上方前側に向かって湾曲した後に上方前側に向かって延在して横フレーム20の後部に至っている。これにより、コンバインの後進時に、縦排出筒8Aと他の車両等の接触をより防止することができる。
縦フレーム10の上部とオーガメタル9の後部等を連結する第1補強部材30,31や横フレーム20における縦排出筒8Aの左部に近接する部位とオーガメタル9の後部等を連結する第2補強部材35,36を単体として設けるだけでなく、縦フレーム10の上部とオーガメタル9の後部等を連結する第1補強部材30,31と横フレーム20における縦排出筒8Aの左部に近接する部位とオーガメタル9の後部等を連結する第2補強部材35,36を同時に設けることが好ましい。これにより、グレンタンク7の前後・上下方向への揺動をより抑制することができる。
次に、脱穀装置4の右壁4Aと縦フレーム10の間に架設される他の形態の横フレーム20Aについて説明する。なお、同一部材には同一符号を付して説明を省略する。
図17に示すように、横フレーム20Aは、上下方向に所定の間隔を隔てた2本の上横フレーム40と下横フレーム41から形成されている。
上横フレーム40の左部は、脱穀装置4の右壁4Aに固定され、上横フレーム40の右部は、縦フレーム10の上部に固定されている。
下横フレーム41の左部は、脱穀装置4の右壁4Aに固定され、上横フレーム40の右部は、縦フレーム10における上下方向の中間部の左面に固定されている。平面視において、下横フレーム41は、燃料タンク15の給油口15Aと同一高さに設けられている。
これにより、脱穀装置4と縦フレーム10が強固に固定されて、縦フレーム10の剛性が高まり、グレンタンク7の前後・上下方向への揺動を抑制することができる。なお、第1補強部材30を設けて縦フレーム10の剛性をより高めるのが好ましい。
次に、脱穀装置4の右壁4Aと縦フレーム10の間に架設されるさらに他の形態の横フレーム20Bについて説明する。なお、同一部材には同一符号を付して説明を省略する。
図18に示すように、横フレーム20Bは、左右方向に延在する横フレーム45と、横フレーム45の左右方向の中間部を支持する支持フレーム46から形成されている。
横フレーム45の左部は、脱穀装置4の右壁4Aに固定され、横フレーム45の右部は、縦フレーム10の上部に固定されている。
支持フレーム46の左部は、脱穀装置4の右壁4Aにおける横フレーム45の左部が固定された部位の後側に固定され、支持フレーム46の右部は、横フレーム45の左右方向の中間部の後面に固定されている。
これにより、横フレーム45の剛性が高まり、グレンタンク7の回動によって横フレーム20が変形するのをより防止することができる。なお、第2補強部材35を設けて横フレーム45の剛性をより高めるのが好ましい。
1 機体フレーム
4 脱穀装置
4A 右壁
7 グレンタンク
7A 後壁
8 排出筒
8A 縦排出筒
8B 横排出筒
9 オーガメタル
10 縦フレーム
20 横フレーム
21 連結部材(第2連結部材)
22 ピン
25 連結部材(第1連結部材)
30 第1補強部材
35 第2補強部材

Claims (6)

  1. 機体フレーム(1)の左右方向の左側に収穫された穀稈の脱穀を行う脱穀装置(4)を載設し、該機体フレーム(1)の左右方向の右側に脱穀処理された穀粒を貯留するグレンタンク(7)を載設したコンバインにおいて、
    前記グレンタンク(7)に貯留された穀粒を外部に排出する排出筒(8)を設け、前記排出筒(8)を、前記グレンタンク(7)の後部にオーガメタル(9)を介して連通された上下方向に延在する縦排出筒(8A)と、該縦排出筒(8A)の上部に連通された前後方向に延在する横排出筒(8B)で形成し、前記縦排出筒(8A)をグレンタンク(7)の後壁(7A)の後側に設け、前記後壁(7A)と縦排出筒(8A)の間に左右方向に延在する横フレーム(20)を設け、前記縦排出筒(8A)の前方外側に上下方向に延在する縦フレーム(10)を設け、前記横フレーム(20)の左右方向の左部を、前記脱穀装置(4)の右壁(4A)に固定し、前記横フレーム(20)の左右方向の右部を、前記縦フレーム(10)の上部に固定し、前記縦排出筒(8A)と横フレーム(20)を前後方向に分割可能に形成された第1連結部材(25)で連結したことを特徴とするコンバイン。
  2. 背面視において、前記横フレーム(20)における縦排出筒(8A)と縦フレーム(10)の間の部位に、上下方向に延在するピン(22)を設け、前記後壁(7A)に設けられた後方に向かって延在する第2連結部材(21)を、前記ピン(22)に回転自在に支持した請求項1記載のコンバイン。
  3. 前記縦フレーム(10)の上部とオーガメタル(9)の後部を第1補強部材(30)で連結した請求項1又は2記載のコンバイン。
  4. 背面視において、前記横フレーム(20)における縦排出筒(8A)の左側近傍の部位とオーガメタル(9)の後部を第2補強部材(35)で連結した請求項1〜3のいずれか1項に記載のコンバイン。
  5. 背面視において、前記第2補強部材(35)を、前記オーガメタル(9)の後部から縦排出筒(8A)に重ねて上下方向に延在させ、左側上方に湾曲させた後に左側上方に向かって延在させて、前記横フレーム(20)に連結した請求項4記載のコンバイン。
  6. 平面視において、前記横フレーム(20)の左右方向の中間部と右壁(4A)を、該右壁(4A)から右側前方に延在する支持部材(46)で連結した請求項1〜5のいずれか1項に記載のコンバイン。
JP2019033954A 2019-02-27 2019-02-27 コンバイン Active JP6889869B2 (ja)

Priority Applications (1)

Application Number Priority Date Filing Date Title
JP2019033954A JP6889869B2 (ja) 2019-02-27 2019-02-27 コンバイン

Applications Claiming Priority (1)

Application Number Priority Date Filing Date Title
JP2019033954A JP6889869B2 (ja) 2019-02-27 2019-02-27 コンバイン

Publications (2)

Publication Number Publication Date
JP2020137432A JP2020137432A (ja) 2020-09-03
JP6889869B2 true JP6889869B2 (ja) 2021-06-18

Family

ID=72263921

Family Applications (1)

Application Number Title Priority Date Filing Date
JP2019033954A Active JP6889869B2 (ja) 2019-02-27 2019-02-27 コンバイン

Country Status (1)

Country Link
JP (1) JP6889869B2 (ja)

Family Cites Families (4)

* Cited by examiner, † Cited by third party
Publication number Priority date Publication date Assignee Title
JPH0530606Y2 (ja) * 1986-06-21 1993-08-05
JP5421820B2 (ja) * 2010-02-26 2014-02-19 株式会社クボタ 穀粒搬送装置
JP2015128413A (ja) * 2013-12-03 2015-07-16 株式会社クボタ コンバイン
JP6257480B2 (ja) * 2014-09-02 2018-01-10 株式会社クボタ 収穫機

Also Published As

Publication number Publication date
JP2020137432A (ja) 2020-09-03

Similar Documents

Publication Publication Date Title
JP7065809B2 (ja) 作業車
JP2016067221A (ja) コンバイン
JP6765348B2 (ja) コンバイン
JP2009005623A (ja) コンバイン
CN102461389B (zh) 联合收割机
JP6889869B2 (ja) コンバイン
CN203206740U (zh) 割取收获机
JP7433207B2 (ja) コンバイン
JP5682890B2 (ja) コンバイン
JP6976087B2 (ja) コンバイン
JP7117995B2 (ja) 収穫機
JP7121934B1 (ja) コンバイン
CN110617138B (zh) 联合收割机、半喂入联合收割机、收割机
JP6838481B2 (ja) コンバイン
JP2025080406A (ja) コンバイン
JP7777292B2 (ja) コンバイン
JP7825159B2 (ja) コンバイン
JP2016140302A (ja) コンバイン
JP2016021964A (ja) コンバイン
JP2008271872A (ja) コンバイン
JP6844671B2 (ja) コンバイン
JP2019216648A (ja) コンバイン
JP2010004844A (ja) コンバインのナローガイド
JP6850438B2 (ja) コンバイン
JP4500553B2 (ja) コンバインにおける燃料タンクの取付構造

Legal Events

Date Code Title Description
A621 Written request for application examination

Free format text: JAPANESE INTERMEDIATE CODE: A621

Effective date: 20191031

A131 Notification of reasons for refusal

Free format text: JAPANESE INTERMEDIATE CODE: A131

Effective date: 20201016

A521 Written amendment

Free format text: JAPANESE INTERMEDIATE CODE: A523

Effective date: 20201207

TRDD Decision of grant or rejection written
A01 Written decision to grant a patent or to grant a registration (utility model)

Free format text: JAPANESE INTERMEDIATE CODE: A01

Effective date: 20210423

A61 First payment of annual fees (during grant procedure)

Free format text: JAPANESE INTERMEDIATE CODE: A61

Effective date: 20210506

R150 Certificate of patent or registration of utility model

Ref document number: 6889869

Country of ref document: JP

Free format text: JAPANESE INTERMEDIATE CODE: R150