JP6835601B2 - 魚釣用スピニングリール - Google Patents

魚釣用スピニングリール Download PDF

Info

Publication number
JP6835601B2
JP6835601B2 JP2017007267A JP2017007267A JP6835601B2 JP 6835601 B2 JP6835601 B2 JP 6835601B2 JP 2017007267 A JP2017007267 A JP 2017007267A JP 2017007267 A JP2017007267 A JP 2017007267A JP 6835601 B2 JP6835601 B2 JP 6835601B2
Authority
JP
Japan
Prior art keywords
spool
fishing
thread
peripheral surface
annular portion
Prior art date
Legal status (The legal status is an assumption and is not a legal conclusion. Google has not performed a legal analysis and makes no representation as to the accuracy of the status listed.)
Active
Application number
JP2017007267A
Other languages
English (en)
Other versions
JP2018113916A (ja
Inventor
平山 広和
広和 平山
Current Assignee (The listed assignees may be inaccurate. Google has not performed a legal analysis and makes no representation or warranty as to the accuracy of the list.)
Shimano Inc
Original Assignee
Shimano Inc
Priority date (The priority date is an assumption and is not a legal conclusion. Google has not performed a legal analysis and makes no representation as to the accuracy of the date listed.)
Filing date
Publication date
Application filed by Shimano Inc filed Critical Shimano Inc
Priority to JP2017007267A priority Critical patent/JP6835601B2/ja
Priority to KR1020170109083A priority patent/KR102449061B1/ko
Priority to TW106132176A priority patent/TWI730175B/zh
Priority to CN201711058741.5A priority patent/CN108323481B/zh
Priority to US15/820,697 priority patent/US10412946B2/en
Publication of JP2018113916A publication Critical patent/JP2018113916A/ja
Application granted granted Critical
Publication of JP6835601B2 publication Critical patent/JP6835601B2/ja
Active legal-status Critical Current
Anticipated expiration legal-status Critical

Links

Images

Classifications

    • AHUMAN NECESSITIES
    • A01AGRICULTURE; FORESTRY; ANIMAL HUSBANDRY; HUNTING; TRAPPING; FISHING
    • A01KANIMAL HUSBANDRY; AVICULTURE; APICULTURE; PISCICULTURE; FISHING; REARING OR BREEDING ANIMALS, NOT OTHERWISE PROVIDED FOR; NEW BREEDS OF ANIMALS
    • A01K89/00Reels
    • A01K89/01Reels with pick-up, i.e. with the guiding member rotating and the spool not rotating during normal retrieval of the line
    • A01K89/0117Anti-reverse mechanisms
    • AHUMAN NECESSITIES
    • A01AGRICULTURE; FORESTRY; ANIMAL HUSBANDRY; HUNTING; TRAPPING; FISHING
    • A01KANIMAL HUSBANDRY; AVICULTURE; APICULTURE; PISCICULTURE; FISHING; REARING OR BREEDING ANIMALS, NOT OTHERWISE PROVIDED FOR; NEW BREEDS OF ANIMALS
    • A01K89/00Reels
    • A01K89/015Reels with a rotary drum, i.e. with a rotating spool
    • A01K89/0192Frame details
    • A01K89/01928Frame details with line or water shields
    • AHUMAN NECESSITIES
    • A01AGRICULTURE; FORESTRY; ANIMAL HUSBANDRY; HUNTING; TRAPPING; FISHING
    • A01KANIMAL HUSBANDRY; AVICULTURE; APICULTURE; PISCICULTURE; FISHING; REARING OR BREEDING ANIMALS, NOT OTHERWISE PROVIDED FOR; NEW BREEDS OF ANIMALS
    • A01K89/00Reels
    • A01K89/02Brake devices for reels
    • A01K89/027Brake devices for reels with pick-up, i.e. for reels with the guiding member rotating and the spool not rotating during normal retrieval of the line
    • AHUMAN NECESSITIES
    • A01AGRICULTURE; FORESTRY; ANIMAL HUSBANDRY; HUNTING; TRAPPING; FISHING
    • A01KANIMAL HUSBANDRY; AVICULTURE; APICULTURE; PISCICULTURE; FISHING; REARING OR BREEDING ANIMALS, NOT OTHERWISE PROVIDED FOR; NEW BREEDS OF ANIMALS
    • A01K89/00Reels
    • A01K89/01Reels with pick-up, i.e. with the guiding member rotating and the spool not rotating during normal retrieval of the line
    • A01K89/0111Spool details
    • AHUMAN NECESSITIES
    • A01AGRICULTURE; FORESTRY; ANIMAL HUSBANDRY; HUNTING; TRAPPING; FISHING
    • A01KANIMAL HUSBANDRY; AVICULTURE; APICULTURE; PISCICULTURE; FISHING; REARING OR BREEDING ANIMALS, NOT OTHERWISE PROVIDED FOR; NEW BREEDS OF ANIMALS
    • A01K89/00Reels
    • A01K89/015Reels with a rotary drum, i.e. with a rotating spool
    • A01K89/0192Frame details
    • A01K89/01925Reel supports, e.g. reel feet
    • AHUMAN NECESSITIES
    • A01AGRICULTURE; FORESTRY; ANIMAL HUSBANDRY; HUNTING; TRAPPING; FISHING
    • A01KANIMAL HUSBANDRY; AVICULTURE; APICULTURE; PISCICULTURE; FISHING; REARING OR BREEDING ANIMALS, NOT OTHERWISE PROVIDED FOR; NEW BREEDS OF ANIMALS
    • A01K89/00Reels
    • A01K89/015Reels with a rotary drum, i.e. with a rotating spool
    • A01K89/01931Spool or spool shaft details
    • AHUMAN NECESSITIES
    • A01AGRICULTURE; FORESTRY; ANIMAL HUSBANDRY; HUNTING; TRAPPING; FISHING
    • A01KANIMAL HUSBANDRY; AVICULTURE; APICULTURE; PISCICULTURE; FISHING; REARING OR BREEDING ANIMALS, NOT OTHERWISE PROVIDED FOR; NEW BREEDS OF ANIMALS
    • A01K89/00Reels
    • A01K89/02Brake devices for reels
    • A01K89/033Brake devices for reels with a rotary drum, i.e. for reels with a rotating spool

Landscapes

  • Life Sciences & Earth Sciences (AREA)
  • Environmental Sciences (AREA)
  • Animal Husbandry (AREA)
  • Biodiversity & Conservation Biology (AREA)

Description

本発明は、スプールの内側への釣糸の侵入を防止する糸落ち防止部材を備えた魚釣用スピニングリールに関する。
従来、魚釣用スピニングリールは、ベール支持部材を支持する一対の支持腕と円筒状部とで構成されたロータと、釣糸巻回胴部の前後にフランジ部を具備し、ロータの回転に連動し且つロータの回転軸の軸心方向に往復動するスプールと、を有し、ロータの回転でスプールに釣糸を巻き付けるように構成されている。そして、このような魚釣用スピニングリールに、スプールの後側フランジ部より後方への釣糸の抜け落ちを防止するよう、糸落ち防止部材を設けることが知られている。
この糸落ち防止部材は様々な構成が知られており、例えば、特許文献1には、糸落ち防止部材として、スプールの後フランジに設けられ、リール本体に向けて延出する円筒状のスカート部の後端外周部に複数のテーパ部と周溝とを設け、後側フランジ部より後方への釣糸の抜け落ちを防止するものが開示されている。
また、別の糸落ち防止部材として、例えば特許文献2には、第1環状部と、第1環状部より径方向外側に位置する第2環状部と、第1環状部及び第2環状部を繋ぐ壁状部と、第2環状部に径方向外側に突出してロータの支持腕の係合溝に係合する係合突起と、を有し、第1環状部をスプールのスカート部の内側に位置させ、第2環状部をスカート部の後端縁よりリール本体側に位置させるとともに、第2環状部の外周面がスカート部の外周面と略面一に位置するとともに、壁状部の位置から係合突起の基部まで軸方向長さLを有するものが開示されている。これは、釣糸がスプールの後側フランジから後方へ抜け落ちた場合でも、その抜け落ちた釣糸は第2環状部の外周面のリール本体側後端に突出形成された係合突起で止められ、その止められた位置には、スプールの内部に入り込むような隙間がなく第2環状部の外周面が存在していることから、釣糸がスプール内部に入り込んで糸絡みすることが防止されるというものである。
特開2008−118918号公報 特許第3761490号公報
特許文献1に記載の糸落ち防止部材では、スプールのスカート部に数多くのテーパ部や溝部を形成するための加工が必要となりコストが高くなるだけでなく、糸落ち防止部材の分だけ、スプールのスカートを大きくする必要があるため、スプールの小型化、ひいてはリールの小型化ができない。
また、特許文献2に記載の糸落ち防止部材では、第2環状部の外周面がスカート部の外周面と略面一に位置するように構成されているため、スカート部の後端面と壁状部との間の円周隙間Gは、全周に渡って径方向外側に開口している。円周隙間Gは、釣糸を巻回するスプールの円周面と略平行な円周面上に開口しているため、わずかな隙間であっても、釣糸がその隙間から入り込み、糸絡みの原因となるおそれがある。
また、特許文献2に記載の糸落ち防止部材では、糸落ち防止部材は、ロータと共に、スプールに対してわずかな円周隙間Gをもって回転しているが、糸落ち防止部材とスプールとの間がラビリンス構造となっており、糸落ち防止部材の回転軸のブレ等が発生すると、スプールと糸落ち防止部材とが接触して回転特性に影響を与えるおそれもある。
さらに、特許文献2に記載の糸落ち防止部材では、スプールのスカート部より糸落ち防止部の第2環状部が大きく露出する。一般的に、スプールと糸落ち防止部材の材質は異なり、見た目も異なるので、デザイン性においては好ましくない。
本発明は上記のような問題を解決するためになされたものであり、スプールの内側への釣糸の侵入をより効果的に防止できる糸落ち防止部材を備える魚釣用スピニングリールを提供することを目的とするものである。
本発明の魚釣用スピニングリールは、
円筒部と、当該円筒部より延出しベールアームを支持する一対の支持腕とを備えるロータと、
スプール軸に支持され、釣糸巻回胴部の前後に前フランジ部と後フランジ部とをそれぞれ備え、前記ロータの回転に連動して前記スプール軸の軸心方向に往復動するスプールと、
前記スプールの内側への釣糸の侵入を防止する糸落ち防止部材と、
を備えた魚釣用スピニングリールにおいて、
前記糸落ち防止部材は、
前記スプール軸に対して回転可能且つ前記スプール軸の軸心方向に前記スプールと共に移動可能に前記スプール軸に支持された基端部と、
前記基端部より径方向外側に向けて延出された継ぎフレームと、
前記継ぎフレームの先端に連設された環状部と、
を有しており、
前記環状部は、前記後フランジ部の内周面に対向する外周面を有し、
前記後フランジ部の内周面と前記環状部の外周面との間に形成される間隙が、前記スプール軸の軸心方向に向いて開口し
前記環状部の後端面が、前記スプールの後フランジ部の後端面よりも後方に位置する。
上記の特徴を有する魚釣用スピニングリールによれば、糸落ち防止部材の環状部は、スプールのスカート部を含む後フランジ部の内周側に対向して構成されているが、径方向には突出しない。そのため、スプールの後フランジ部と糸落ち防止部材との間に形成される間隙は、釣糸を巻回するスプールの釣糸巻回胴部に略平行な円周面上に径方向外側に向いて開口するのではなく、スプール軸の軸心方向後方に向かって開口する。そのため、魚釣操作中に釣糸がスプールの内側へ侵入することをより効果的に防止することができる。さらに環状部の後端面が、スプールの後フランジ部の後端面よりも後方に位置する構成により、釣糸がロータの円筒部に向かって入り込むことを抑制することができる。
また、本発明の別の観点では、前記環状部の外周面に、円周方向に設けられた円周溝を有する。この構成により、仮に糸落ち防止部材の環状部とスプールの後フランジ部との間の間隙に釣糸が侵入した場合であっても、円周溝で受け止めることができ、それ以上奥に深く入り込むことを抑制できる。
また、本発明の別の観点では、前記環状部に径方向外側に突出して設けられ、前記ロータの前記支持腕の少なくとも一方に係合する係合突起を有する。この構成により、ロータの支持腕まで延在する係合突起で釣糸を受け止め、釣糸が後方に移動することを抑制することができる。
また、本発明の別の観点では、前記後フランジ部の外周面に円周方向に設けられた溝部を有する。この構成により、釣糸巻回胴部から後フランジ部を乗り越えて後方へ移動してきた釣糸はこの溝部で係止され、釣糸がさらに後方へ移動することを抑制することができる。
本発明によれば、スプールの内側への釣糸の侵入をより効果的に防止できる糸落ち防止部材を備える魚釣用スピニングリールを提供することができる。
本発明の実施の形態に係るスピニングリールの側面図である。 図1に示すスピニングリールのロータとスプールの断面図である。 (a)は図1に示すスピニングリールの糸落ち防止部材の斜視図、(b)はその上面図、(c)は図3(b)のA−A断面図である。 (a)は糸落ち防止部材とスプールの後フランジ部との対向部分の拡大図、(b)はその変形例、(c)は糸落ち防止部材の円周溝の変形例、(d)は円周溝の他の変形例である。 糸落ち防止部材の係合突起を増やした変形例である。
(実施の形態)
本発明の実施の形態に係る魚釣り用のスピニングリール10について、図面を参照して説明する。
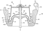
釣竿Rに取り付けられるスピニングリール10は、図1、2に示すように、ハンドル20を備えたリール本体(ハウジング)30と、リール本体30の前部に回転自在に支持されたロータ40と、ロータ40の前方に配置され、釣り糸が巻き付けられるスプール60と、を備える。なお本書において特記しない場合、「前」とは釣糸を送出する方向(図1の左方向)であり、「後」とはその逆で釣糸を引き戻す方向(図1の右方向)である。なお、図2では上方向が「前」、下方向が「後」になる。
ロータ40は、スプール60に釣糸を巻き付けるための部材である。ロータ40は、リール本体30の内部に配置されたスプール軸62の周囲を回転可能に軸受を介して支持されたピニオンギア(図示せず)の前部に固定されている。ロータ40は、ハンドル20を手で回すことにより、ピニオンギアと一体的にスプール軸62の周囲を回転する。即ち、ロータ40の回転軸の軸心はスプール軸62の軸心Sと一致する。
ロータ40は、円筒部41と、円筒部41の後端部から径方向外側に延出し、さらに前方へ向かって延在する一対の支持腕(ロータアーム)42、43を備える。支持腕42、43の内側の側部には、後述する糸落ち防止部材80の係合突起91、92が係合するリブ42a、43aが設けられている。支持腕42、43の先端部には、釣糸を誘導するベールアーム50が取り付けられている。
ベールアーム50は、釣糸を誘導するベール54と釣糸案内機構53と第1ベール支持部51と第2ベール支持部52とを備え、ベール54の一端が第1ベール支持部51に連結され、他端が釣糸案内機構53を介して第2ベール支持部52に連結されている。ベールアーム50の第1ベール支持部51はロータ40の支持腕42に揺動可能に支持され、第2ベール支持部52はロータ40の支持腕43に揺動可能に支持されている。
スプール60は、釣糸案内機構53によって案内された釣糸が巻き付けられる部材である。図2に示すように、スプール60は、スプール軸62の先端部にネジ68によりネジ留めされている。スプール軸62は、ロータ40の回転に同期して、リール本体30の内部に配置されたオシレーティング機構(図示せず)によりスプール軸62の軸心Sの方向(前後方向)に往復移動する。このときスプール60もスプール軸62と一体的に前後に往復移動する。
スプール60は、釣糸が巻回される釣糸巻回胴部63と、釣糸巻回胴部63の前部に配置された前フランジ部64と、釣糸巻回胴部63の後部に配置された後フランジ部65と、を有する。
前フランジ部64は、釣糸巻回胴部63の前端部から径方向外側に立ち上がっており、外径が釣糸巻回胴部63の前端部の直径よりも大きく形成されている。後フランジ部65は、釣糸巻回胴部63の後端部から径方向外側に立ち上がっており、外径が釣糸巻回胴部63の後端部の直径よりも大きく形成されている。後フランジ部65は後方に延在する円筒状の円筒部(スカート部)66を有する。円筒部66の外周面には、円周方向に溝部(又はテーパ部)67が形成されている。前フランジ部64と後フランジ部65の外径が釣糸巻回胴部63の直径よりも大きく形成されているのは、釣糸巻回胴部63に巻回された釣糸が釣糸巻回胴部63よりも前方又は後方に移動(以下、「糸落ち」ともいう。)しないようにするためである。
スプール60の内側には、糸落ち防止部材80が配置されている。これは、釣糸が後フランジ部65を越えて後方に糸落ちしたときに、釣糸がさらにスプール60の内側に入り込んでしまうことを防止するための部材である。
糸落ち防止部材80は、図3に示すように、基端部81と、基端部81より径方向外側に向けて延出された4つの継ぎフレーム82(82a、82b、82c、82d)と、継ぎフレーム82の先端に連設された環状部83と、を有する。
基端部81は、スプール軸62に対して回転可能、且つスプール軸62の軸心Sの方向にスプール60と共に移動可能にスプール軸62に支持されている。基端部81は、スプール軸62が挿通される軸孔87を有する円柱部81aと、円柱部81aの後端に径方向に拡径されたフレーム支持部81bとを有する。環状部83は、円筒状の壁部84と、壁部84の外周面に円周方向に形成された円周溝85と、壁部84の2カ所から径方向に突出する係合突起91、92を有する。
4つの継ぎフレーム82は、それぞれフレーム支持部81bから径方向外側に延出し、途中で下方に屈曲して環状部83の上部に結合されている。4つの継ぎフレーム82a、82b、82c、82dは、90°間隔で配置されている。4つの均等に配置された継ぎフレーム82で環状部83を支持することにより、糸落ち防止部材80は軽量でかつ安定して回転することができる。なお、継ぎフレーム82の数は4つでなくともよい。例えば2つ又は3つを均等に配置してもよい。
糸落ち防止部材80は、基端部81においてスプール軸62に支持されており、スプール軸62の前後方向の移動に伴って移動する。同時に、係合突起91、92がロータ40の支持腕42、43の側部にあるリブ42a、43aに係止されているため、糸落ち防止部材80は、ロータ40の回転に伴って回転する。
図4(a)に示すように、環状部83(の円筒状の壁部84)は、スプール60の後フランジ部65の内側に配置され、その一部が後フランジ部65の内周面65aに対向している。環状部83の外周面83aとスプール60の後フランジ部65の内周面65aとの間には、間隙88が形成されている。この間隙88は、軸心Sの後方向に向かって開口する。釣糸は円周方向に巻かれているため、後フランジ部65より後方へ糸落ちした釣糸は径方向へは移動しやすいが、軸心S方向に開口した間隙88へは侵入しにくい。そのため、魚釣操作中に釣糸がスプール60の内側へ侵入することを効果的に防止することができる。この間隙88は、糸落ち防止部材80の回転揺れによってスプール60に接触することがない程度に、できるだけ小さくすることが好ましい。
また上記の構成では、環状部83から径外側方向へ突出する部分を有しないため、間隙88は直角に屈曲した部分がない(ラビリンス構造にならない)。そのため、糸落ち防止部材80が回転するときに回転揺れが発生しても、スプール60と接触するおそれが少ない。さらに、糸落ち防止部材80の環状部83がスプールの後フランジ部65から露出する部分が少ないため目立たず、デザイン性においても向上させることができる。
なお、係合突起91、92が設けられた位置の環状部83の外周面83aについては、径方向外側に向かって開口する間隙が形成されるが、環状部83の全周に対する係合突起91、92の領域はごく一部であるため、実質的には影響は生じない。
環状部83の後端面83bは、スプール60の後フランジ部65の後端面65bよりも後方側にある。つまり、環状部83(の円筒状の壁部84)は、後フランジ部65よりも長く後方に突出している。この構成により、釣糸がロータ40の円筒部41の方に入り込むことを防止することができる。
糸落ち防止部材80の環状部83の外周面83aには、円周方向に円周溝85が形成されている。このため、万一釣糸が間隙88に侵入した場合でも、円周溝85に係止されるため、釣糸がこれ以上スプール内側の奥深くに侵入することを抑制できる。
また、スプール60の後フランジ部65の外周面には、円周方向に溝部67が形成されている。釣糸が釣糸巻回胴部63から後フランジ部65を乗り越えて後方へ移動してきた場合でも、釣糸は溝部67で係止され、さらに後方へ移動することを抑制できる。なお溝部67は、前部の立ち上がり部67aと後部の立ち上がり部67bが傾斜しているが、これらの立ち上がり部67a、67bを径方向に平行に立ち上げてもよい。
(変形例)
上記の実施の形態では、図4(a)で示すように、糸落ち防止部材80の環状部83の後端面83bは、スプール60の後フランジ部65の後端面65bよりも後方に位置している。しかし、このような形態に限らず、図4(b)に示すように、環状部83の後端面83bと後フランジ部65の後端面65bとを略同じ軸方向位置としてもよいし、さらに、環状部83の後端面83bが後フランジ部65の後端面65bよりも前方に位置してもよい。この場合、係合突起91、92は、環状部83の後端面83bからいったん後方に延出させ、さらに径方向に延出させる。このような形態により、環状部83が外部からほとんど見えず、糸落ちを防止する機能を保持するとともに、糸落ち防止部材80がさらに目立たない外観を与えることができる。
糸落ち防止部材80の環状部83の円周溝85の形状は限定されない。例えば円周溝85は、図4(c)に示すように、前部を径方向に立ち上げた立ち上がり部85aとし、後部は傾斜したテーパ状の傾斜面85bを設けて円周溝85としてもよい。また図4(d)に示すように、前部の立ち上がり部85aと後部の立ち上がり部85cがそれぞれ傾斜した円周溝85としてもよい。
上記の実施の形態では、糸落ち防止部材80の係合突起91、92は支持腕42、43にそれぞれ1つずつ係合するようにした。しかしこれに限らず、図5に示すように、支持腕43に係合する2つの係合突起92、93を設けてもよい。また支持腕42に係合する係合突起91を2つにしてもよい。これにより、ロータ40に伴って回転する糸落ち防止部材80の回転性能がより安定化される。また逆に、2つの係合突起91、92をいずれか1つだけに減らして配置してもよい(図示せず)。これにより、糸落ち防止部材80とスプール60との間の間隙88が径方向外側に開口する箇所を減らすことができる。
10 スピニングリール
20 ハンドル
30 リール本体
40 ロータ
41 円筒部
42、43 支持腕
42a、43a リブ
50 ベールアーム
51 第1ベール支持部
52 第2ベール支持部
53 釣糸案内機構
54 ベール
60 スプール
62 スプール軸
63 釣糸巻回胴部
64 前フランジ部
65 後フランジ部
65a (後フランジ部の)内周面
65b (後フランジ部の)後端面
66 円筒部
67 溝部
67a、67b 立ち上がり部
68 ネジ
80 糸落ち防止部材
81 基端部
81a 円柱部
81b フレーム支持部
82(82a、82b、82c、82d) 継ぎフレーム
83 環状部
83a (環状部の)外周面
83b (環状部の)後端面
84 壁部
85 円周溝
85a 前立ち上がり部
85b、85c 後立ち上がり部
87 軸孔
88 間隙
91、92、93 係合突起

Claims (4)

  1. 円筒部と、当該円筒部より延出しベールアームを支持する一対の支持腕とを備えるロータと、
    スプール軸に支持され、釣糸巻回胴部の前後に前フランジ部と後フランジ部とをそれぞれ備え、前記ロータの回転に連動して前記スプール軸の軸心方向に往復動するスプールと、
    前記スプールの内側への釣糸の侵入を防止する糸落ち防止部材と、
    を備えた魚釣用スピニングリールにおいて、
    前記糸落ち防止部材は、
    前記スプール軸に対して回転可能且つ前記スプール軸の軸心方向に前記スプールと共に移動可能に前記スプール軸に支持された基端部と、
    前記基端部より径方向外側に向けて延出された継ぎフレームと、
    前記継ぎフレームの先端に連設された環状部と、
    を有しており、
    前記環状部は、前記後フランジ部の内周面に対向する外周面を有し、
    前記後フランジ部の内周面と前記環状部の外周面との間に形成される間隙が、前記スプール軸の軸心方向に向いて開口し
    前記環状部の後端面が、前記スプールの後フランジ部の後端面よりも後方に位置する、
    ことを特徴とする魚釣用スピニングリール。
  2. 前記環状部の外周面に円周方向に設けられた円周溝を有する、請求項1に記載の魚釣用スピニングリール。
  3. 前記環状部に径方向外側に突出して設けられ、前記ロータの前記支持腕の少なくとも一方に係合する係合突起を有する、請求項1又は2に記載の魚釣用スピニングリール。
  4. 前記後フランジ部の外周面に円周方向に設けられた溝部を有する、請求項1からのいずれか1項に記載の魚釣用スピニングリール。
JP2017007267A 2017-01-19 2017-01-19 魚釣用スピニングリール Active JP6835601B2 (ja)

Priority Applications (5)

Application Number Priority Date Filing Date Title
JP2017007267A JP6835601B2 (ja) 2017-01-19 2017-01-19 魚釣用スピニングリール
KR1020170109083A KR102449061B1 (ko) 2017-01-19 2017-08-29 낚시용 스피닝 릴
TW106132176A TWI730175B (zh) 2017-01-19 2017-09-20 釣魚用紡車式捲線器
CN201711058741.5A CN108323481B (zh) 2017-01-19 2017-11-01 钓鱼用纺车式渔线轮
US15/820,697 US10412946B2 (en) 2017-01-19 2017-11-22 Spinning reel for fishing

Applications Claiming Priority (1)

Application Number Priority Date Filing Date Title
JP2017007267A JP6835601B2 (ja) 2017-01-19 2017-01-19 魚釣用スピニングリール

Publications (2)

Publication Number Publication Date
JP2018113916A JP2018113916A (ja) 2018-07-26
JP6835601B2 true JP6835601B2 (ja) 2021-02-24

Family

ID=62838239

Family Applications (1)

Application Number Title Priority Date Filing Date
JP2017007267A Active JP6835601B2 (ja) 2017-01-19 2017-01-19 魚釣用スピニングリール

Country Status (5)

Country Link
US (1) US10412946B2 (ja)
JP (1) JP6835601B2 (ja)
KR (1) KR102449061B1 (ja)
CN (1) CN108323481B (ja)
TW (1) TWI730175B (ja)

Families Citing this family (3)

* Cited by examiner, † Cited by third party
Publication number Priority date Publication date Assignee Title
JP7113707B2 (ja) * 2018-09-14 2022-08-05 株式会社シマノ スピニングリール
JP7458874B2 (ja) * 2020-04-14 2024-04-01 株式会社シマノ 釣り用リールの駆動ギア
JP2024139306A (ja) * 2023-03-27 2024-10-09 グローブライド株式会社 魚釣用スピニングリール

Family Cites Families (14)

* Cited by examiner, † Cited by third party
Publication number Priority date Publication date Assignee Title
US4106718A (en) * 1970-10-30 1978-08-15 The Garcia Corporation Spinning reel spool and adapter therefor
JPH0415016Y2 (ja) * 1986-09-30 1992-04-03
US5356091A (en) * 1990-05-09 1994-10-18 Shimano Inc. Spinning reel
JPH083267Y2 (ja) * 1990-05-09 1996-01-31 島野工業株式会社 スピニングリール
JP2532864Y2 (ja) * 1990-06-22 1997-04-16 株式会社シマノ スピニングリール
FR2709922B1 (fr) * 1993-09-14 1995-10-27 Mitchell Sports Moulinet de pêche à bobine enveloppée et dispositif de retenue du fil.
JP2604666Y2 (ja) * 1993-12-17 2000-05-22 ダイワ精工株式会社 魚釣用スピニングリール
US5615843A (en) * 1993-12-28 1997-04-01 Daiwa Seiko, Inc. Spinning reel for fishing having fish-line entry restrainer
JP2959662B2 (ja) * 1993-12-28 1999-10-06 ダイワ精工株式会社 魚釣用スピニングリール
US5676326A (en) * 1995-09-29 1997-10-14 Zebco Division Of Brunswick Corp. Fishing reel with member to control line migration
JP3761490B2 (ja) * 2002-04-30 2006-03-29 ダイワ精工株式会社 魚釣用スピニングリール
JP2007289055A (ja) * 2006-04-25 2007-11-08 Daiwa Seiko Inc 魚釣用スピニングリ−ル
JP2008118918A (ja) * 2006-11-13 2008-05-29 Daiwa Seiko Inc 魚釣用スピニングリ−ル
JP4870101B2 (ja) * 2008-02-12 2012-02-08 グローブライド株式会社 魚釣用スピニングリール

Also Published As

Publication number Publication date
CN108323481A (zh) 2018-07-27
KR102449061B1 (ko) 2022-09-30
CN108323481B (zh) 2021-10-22
TW201826924A (zh) 2018-08-01
KR20180085662A (ko) 2018-07-27
JP2018113916A (ja) 2018-07-26
US20180199555A1 (en) 2018-07-19
TWI730175B (zh) 2021-06-11
US10412946B2 (en) 2019-09-17

Similar Documents

Publication Publication Date Title
JP6835601B2 (ja) 魚釣用スピニングリール
KR100656501B1 (ko) 스피닝 릴의 낚싯줄 안내 기구
JP4451743B2 (ja) スピニングリールの釣り糸案内機構
KR101048724B1 (ko) 스피닝 릴의 로터
JP6368515B2 (ja) 両軸受リール
KR100905061B1 (ko) 스피닝 릴의 낚싯줄 안내기구
JP2015181436A5 (ja)
JP2015165784A (ja) ベール支持機構
KR20040019947A (ko) 스피닝 릴의 낚싯줄 안내 기구
JP2007006710A (ja) 両軸受リール
JP2010172298A (ja) 魚釣用スピニングリール
JP6976814B2 (ja) スピニングリール
KR20040031656A (ko) 스피닝 릴의 낚싯줄 안내 기구
JP3905068B2 (ja) スピニングリールのロータ
JP7384851B2 (ja) 魚釣用スピニングリール
JP7049090B2 (ja) ロータおよびスピニングリール
JP3761490B2 (ja) 魚釣用スピニングリール
JP6405230B2 (ja) 魚釣用スピニングリール
JP7391062B2 (ja) 魚釣用スピニングリール
JP2020043768A (ja) スピニングリール
KR20040092447A (ko) 스피닝 릴의 낚싯줄 안내 기구
JP3542252B2 (ja) スピニングリールの釣り糸案内機構
JP3472684B2 (ja) スピニングリールの釣り糸案内機構
JP2003289770A (ja) スピニングリールの釣り糸案内機構
JP6948295B2 (ja) 魚釣用スピニングリール

Legal Events

Date Code Title Description
A621 Written request for application examination

Free format text: JAPANESE INTERMEDIATE CODE: A621

Effective date: 20190920

A977 Report on retrieval

Free format text: JAPANESE INTERMEDIATE CODE: A971007

Effective date: 20201016

A131 Notification of reasons for refusal

Free format text: JAPANESE INTERMEDIATE CODE: A131

Effective date: 20201110

A521 Request for written amendment filed

Free format text: JAPANESE INTERMEDIATE CODE: A523

Effective date: 20201217

TRDD Decision of grant or rejection written
A01 Written decision to grant a patent or to grant a registration (utility model)

Free format text: JAPANESE INTERMEDIATE CODE: A01

Effective date: 20210126

A61 First payment of annual fees (during grant procedure)

Free format text: JAPANESE INTERMEDIATE CODE: A61

Effective date: 20210204

R150 Certificate of patent or registration of utility model

Ref document number: 6835601

Country of ref document: JP

Free format text: JAPANESE INTERMEDIATE CODE: R150

R250 Receipt of annual fees

Free format text: JAPANESE INTERMEDIATE CODE: R250

R250 Receipt of annual fees

Free format text: JAPANESE INTERMEDIATE CODE: R250

R250 Receipt of annual fees

Free format text: JAPANESE INTERMEDIATE CODE: R250