JP6564541B2 - 自動倉庫システム - Google Patents

自動倉庫システム Download PDF

Info

Publication number
JP6564541B2
JP6564541B2 JP2019044451A JP2019044451A JP6564541B2 JP 6564541 B2 JP6564541 B2 JP 6564541B2 JP 2019044451 A JP2019044451 A JP 2019044451A JP 2019044451 A JP2019044451 A JP 2019044451A JP 6564541 B2 JP6564541 B2 JP 6564541B2
Authority
JP
Japan
Prior art keywords
carriage
traveling
unit
stacker crane
automatic warehouse
Prior art date
Legal status (The legal status is an assumption and is not a legal conclusion. Google has not performed a legal analysis and makes no representation as to the accuracy of the status listed.)
Active
Application number
JP2019044451A
Other languages
English (en)
Other versions
JP2019081663A (ja
Inventor
日野 克美
克美 日野
信也 斎藤
信也 斎藤
勇 荒瀬
勇 荒瀬
Current Assignee (The listed assignees may be inaccurate. Google has not performed a legal analysis and makes no representation or warranty as to the accuracy of the list.)
Sumitomo Heavy Industries Material Handling Systems Co Ltd
Original Assignee
Sumitomo Heavy Industries Material Handling Systems Co Ltd
Priority date (The priority date is an assumption and is not a legal conclusion. Google has not performed a legal analysis and makes no representation as to the accuracy of the date listed.)
Filing date
Publication date
Application filed by Sumitomo Heavy Industries Material Handling Systems Co Ltd filed Critical Sumitomo Heavy Industries Material Handling Systems Co Ltd
Priority to JP2019044451A priority Critical patent/JP6564541B2/ja
Publication of JP2019081663A publication Critical patent/JP2019081663A/ja
Application granted granted Critical
Publication of JP6564541B2 publication Critical patent/JP6564541B2/ja
Active legal-status Critical Current
Anticipated expiration legal-status Critical

Links

Images

Landscapes

  • Warehouses Or Storage Devices (AREA)

Description

本発明は、物品を入庫・出庫する自動倉庫システムに関する。
物品を入庫・出庫する自動倉庫システムが知られている。例えば特許文献1には複数の収容部を上下左右に備えた収容棚が複数配置された大型倉庫等において、指定された物品を収容棚の所定の収容部に対して搬入もしくは搬出を行う倉庫システムが記載されている。
特開2015−157683号公報
ところで、特許文献1に記載の自動倉庫システムでは、収容棚の各収容部の底面に、一対に対向する走行レールが敷設されており、走行レールの載置部には、物品が載置された複数のパレットが支持されている。例えば、物品を出庫する場合に、搬送台車は走行レール上を走行して指定された収容部に移動して、載置台を昇降させることで指定の物品を載置台上に載置し、その状態で走行レールの端部まで搬送する。
さらに、このような従来の自動倉庫システムでは、搬送台車は、走行レールの端部にて昇降台付きのスタッカークレーンの到着を待ち、スタッカークレーンが到着したら物品と共にスタッカークレーンの昇降台に回収される。物品と搬送台車を載せたスタッカークレーンは収容棚の側面に沿って走行すると共に、昇降台を降下させ所定の出庫部に移動して物品を出庫する。次に、スタッカークレーンは収容棚の側面に沿って走行すると共に昇降台を上昇させて、空荷となった搬送台車を元の走行レールの端部に搬送する。次に、搬送台車は走行レールに戻り所定の待機状態に至る。また、物品を入庫する場合も、スタッカークレーンは搬送台車を載せて走行レールの端部と入庫部の間を往復移動することになる。
このように、従来の自動倉庫システムでは、スタッカークレーンが搬送台車の支援を受けることで物品を入庫・出庫するように構成されているため、スタッカークレーンが搬送台車の到着を待つ時間や、搬送台車がスタッカークレーンの移動を待つ時間が無駄になっており、倉庫の入庫・出庫の稼働効率が低下する要因となっていた。
このような背景から、従来の自動倉庫システムには倉庫の稼働効率を向上する観点から改善する余地があった。
本発明の目的は、このような課題に鑑みてなされたもので、倉庫の稼働効率を向上することができる自動倉庫システムの技術を提供することにある。
上記課題を解決するために、本発明のある態様の自動倉庫システムは、複数行複数列の収容部を有する棚部と、収容部間を列方向に移動可能であり、収容部へ物品の搬入・搬出を行う搬送台車と、棚部に隣接して行方向に走行可能な走行台車と、を備える。走行台車は、台車本体部と、台車本体部上に設けられ、収容部側へ進退可能なシャトルフォークと、台車本体部上に設けられ、搬送台車が走行可能なガイド部と、を含む。ガイド部は、搬送台車が走行可能な位置である第1位置と、シャトルフォーク上に物品を載置可能とするために退避する第2位置と、の間で移動可能に構成される。
この態様によると、自動倉庫システムにおいて、走行台車は収容部側へ進退可能なシャトルフォークが設けられるから、シャトルフォーク上に物品を載置することができる。
本発明の別の態様は、スタッカークレーンである。このスタッカークレーンは、棚部に隣接して走行可能に設けられるスタッカークレーンであって、昇降機構により昇降可能に設けられる台車本体部と、台車本体部上に設けられ、棚部側へ進退可能なシャトルフォークと、台車本体部上に設けられ、棚部へ物品の搬入・搬出を行う搬送台車が走行可能なガイド部と、とを備える。ガイド部は、搬送台車が走行可能な位置である第1位置と、シャトルフォーク上に物品を載置可能とするために退避する第2位置と、の間で移動可能に構成される。
この態様によると、ガイド部を第1位置に移動して搬送台車を走行させることができ、またガイド部を第2位置に退避してシャトルフォークで物品を載置することができる。
本発明のさらに別の態様は、自動倉庫システムである。この自動倉庫システムは、複数行複数列の収容部を有し、収容部が上下方向に複数段設けられた棚部と、収容部間を列方向に移動可能であり、収容部へ物品の搬入・搬出を行う搬送台車と、各々の収容部に隣接して設けられており、行方向に延伸した軌道と、軌道上を走行可能な走行台車と、各々の軌道の一端に隣接して設けられており、走行台車を他の段の軌道上へ移動させる昇降部と、を備える。走行台車は、台車本体部と、台車本体部上に設けられ搬送台車を収容可能な収容部と、を含む。
この態様によると、走行台車は、搬送台車を収容して軌道上を走行することができ、また昇降部によって他の段の軌道上へ移動することができる。
本発明のさらに別の態様もまた、自動倉庫システムである。この自動倉庫システムは、複数行複数列の収容部を有する棚部と、物品を入庫するための入庫部と、物品を出庫するための出庫部と、収容部間を移動可能であり、収容部へ物品の搬入・搬出を行う搬送台車と、棚部に隣接して設けられ、棚部と入庫部又は出庫部との間を走行可能な走行台車と、制御部と、を備える。制御部は、一の収容部に載置された物品を他の収容部へ搬送して載置するように搬送台車を制御し、他の収容部に載置された物品を走行台車が回収するように走行台車を制御し、物品を回収した走行台車は物品を出庫部へ搬送するよう走行台車を制御し、その間、棚部内で別の物品の搬送をするように搬送台車を制御する。
この態様によると、走行台車が物品を出庫部へ搬送する間に、搬送台車は棚部内で別の物品の搬送をすることができる。
本発明によれば、倉庫の稼働効率を向上することができる自動倉庫システムの技術を提供することができる。
実施の形態に係る自動倉庫システムの斜視図である。 実施の形態に係る自動倉庫システムの平面図である。 実施の形態に係る搬送台車の平面図である。 実施の形態に係る搬送台車の内部を示す上面視の模式図である。 実施の形態に係る搬送台車の内部を示す側面視の模式図である。 実施の形態に係る自動倉庫システムの棚部の一部を示す正面図である。 実施の形態に係るスタッカークレーンの正面図である。 台車本体部の上面視の模式図である。 ガイド部が第1位置に移動した状態の台車本体部を示す模式図である。 ガイド部が第2位置に移動した状態の台車本体部を示す模式図である。 走行台車に進入した搬送台車の状態を示す模式図である。 第5変形例に係る自動倉庫システムの正面図である。 第5変形例に係る自動倉庫システムの側面図である。 第5変形例に係る走行台車の斜視図である。
以下、本発明を好適な実施の形態をもとに図面を参照しながら説明する。各図面に示される同一または同等の構成要素、部材には、同一の符号を付するものとし、適宜重複した説明は省略する。また、各図面における部材の寸法は、理解を容易にするために適宜拡大、縮小して示される。また、各図面において実施の形態を説明する上で重要ではない部材の一部は省略して表示する。
図1は、実施形態に係る自動倉庫システム100の斜視図である。図2は自動倉庫システム100の平面図である。以下、XYZ直交座標系をもとに説明する。方向Xは水平な左右方向に対応し、方向Yは水平な前後方向に対応し、方向Zは鉛直な上下方向に対応する。方向Yおよび方向Zはそれぞれ方向Xに直交する。方向Xは左方向あるいは右方向と、方向Yは前方向あるいは後方向と、方向Zは上方向あるいは下方向と表記することがある。
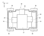
図2に示すように、自動倉庫システム100は水平面内に複数行複数列の収容部10を有する棚部12と、搬送台車30と、走行台車としてスタッカークレーン50と、物品90を入庫するための入庫部15と、物品90を出庫するための出庫部16と、を主に備える。搬送台車30は、収容部10の間を列方向(Y方向)に移動可能であり、収容部10へ物品90の搬入・搬出を行うように構成される。スタッカークレーン50は、棚部12に隣接して行方向(X方向)に走行可能に構成される。スタッカークレーン50は、台車本体部52と、台車本体部52上に設けられ、収容部10側へ進退可能なシャトルフォーク54と、台車本体部52上に設けられ、搬送台車30が走行可能なガイド部56と、を含む。入庫部15は自動倉庫システム100の外部から搬入される物品90を受け入れる台部であり、出庫部16は自動倉庫システム100から外部に搬出される物品90を載置する台部である。搬送台車30とスタッカークレーン50については後述する。
(棚部)
図1に示すように、棚部12は、上下(Z方向)に設けられた複数段の(例えば3段)の棚段14を含む。棚段14は、行方向(X方向)に複数(例えば13)連ねて設けられる連設収容部18を含む。連設収容部18は、列方向(Y方向)に複数(例えば3)の収容部10が連設される。図2に示すように、棚部12は、スタッカークレーン50の走行路78を挟んで対となるようにY方向(列方向)に対向して配置される。つまり、対となる2つの棚部12がスタッカークレーン50が走行移動する移動経路である走行路78を隔てて設置される。連設収容部18は、走行フレーム20と、棚支柱22と、ストッパ手段18cとを含む。
連設収容部18には、一対の走行フレーム20がX方向に所定の間隔を隔てて平行に設けられる。走行フレーム20は延伸方向であるY方向に垂直な断面が角張ったCの字形状を有する柱状の部材で、一対の走行フレーム20の向かい合う面は開いている。走行フレーム20の上側には、物品90を載せたパレット92を載置する収容部10が形成される。走行フレーム20の内側の中空部分は搬送台車30の車輪が走行可能な形状を有している(図6も参照)。なお、収容部10は走行フレーム20と別に形成されて固定されてもよい。連設収容部18は走行フレーム20の走行路78側の端を開端部18a、反対側の端を閉端部18bと表記する。開端部18aは搬送台車30が通過できるように開かれる。閉端部18bは物品90や搬送台車30のオーバーランや抜け出しを防ぐためにストッパ手段18cが設けられる。なお、連設収容部18の収容部10のうち開端部18aに最も近い収容部10を特に収容部10aと、収容部10a以外の収容部10を特に収容部10bと表記することがある。走行フレーム20は所定の間隔を隔てて立設される複数の棚支柱22によって支持される。
(搬送台車)
次に、搬送台車30について説明する。図3は搬送台車30の平面図である。図4は搬送台車30の内部を示す上面視の模式図である。図5は搬送台車30の内部を示す側面視の模式図である。搬送台車30は、物品90を載せたパレット92を走行フレーム20の上面20aから所定の高さ浮かせて搬送可能に構成される(図6も参照)。搬送台車30は、車体38と、載置台31と、リフト機構32と、複数(例えば2組)の車輪35と、モータ34と、駆動機構33と、バッテリ37と、受電部36と、を含む。
搬送台車30は、一対の走行フレーム20の間で走行フレーム20の延伸方向(列方向)に走行可能に設けられる。車体38は、上下に薄い扁平な略直方体形状を有する筐体で、例えば鋼板などの金属板からプレス加工によって形成される。車体38は一部が樹脂材料から形成されてもよい。2組の車輪35は、車体38のX方向の両側に回転可能に取り付けられる。モータ34と駆動機構33は、車輪35を回転駆動するために車体38内部のY方向の両端に寄った位置に設けられる。駆動機構33はモータ34の回転力を適宜減速して車輪35を回転駆動する。車輪35は、側面視が円形である円筒形の部材で、例えば樹脂材料から形成される。車輪35は、車体38の両側部から一部が突出して設けられる。車輪35は、走行フレーム20の内側部20bに進入した状態で、内側部20bの下側のレール部20cに接地して回転可能に構成される(図6も参照)。車輪35の数に制限はなく、例えば6輪以上であってもよい。
載置台31とリフト機構32は車体38の上側の空間に設けられる。載置台31は上下に薄い扁平な板状の部材で、上面31dは物品90を載せたパレット92を載置するように平坦に形成され、下部はリフト機構32に支持される。載置台31はリフト機構32により上下に昇降駆動される。載置台31は最降下位置と最上昇位置との間で上下に駆動される。なお、最降下位置にある載置台31を載置台31aと、最上昇位置にある載置台31を載置台31bと表記することがある
図6も参照して説明する。図6は自動倉庫システム100の棚部12の一部を示す正面図である。図6の棚部12の中段に示すように、載置台31が最降下位置に降下している状態では、載置台31の上面31dは走行フレーム20の上面20aより下側に位置し、上面31dとパレット92の間にはこれらが接触しない程度の隙間が形成される。この状態では搬送台車30はパレット92に接触せずに走行フレーム20を自在に走行移動できる。図6の棚部12の上段に示すように、載置台31が最上昇位置に上昇している状態では、載置台31bの上面31dは走行フレーム20の上面20aから上側に突き出して物品90を載せたパレット92を持ち上げる。この状態では、パレット92と走行フレーム20の上面20aとの間にはこれらが接触しない程度の隙間が形成され、搬送台車30は物品90を載せたパレット92を載置した状態で走行フレーム20を走行移動できる。リフト機構32は、例えばモータに駆動されるカムを含んで構成することができる。この場合。モータの回転力を減速してカムを回転することで、カムのカム面が上昇または降下して載置台31を上下に駆動することができる。
バッテリ37と受電部36は、車体38の下側の空間であって2つの駆動機構33の間に設けられる。受電部36は車体38の側面に入力端子が設けられ、後述するスタッカークレーン50の充電部59に接続されてバッテリ37を充電するための電力の供給を受ける。バッテリ37は所定のタイミングでモータ34とリフト機構32に電力を供給する。
(スタッカークレーン)
次に、スタッカークレーン50について説明する。走行台車であるスタッカークレーン50は、棚部12に隣接する走行路78を走行可能に設けられる。スタッカークレーン50は、物品90を入庫するときには、入庫部15にて入庫する物品90を載せたパレット92を積み込んで、昇降動作および走行動作により目的の連設収容部18の開端部18aに搬送して、それらを収容部10に収容する。スタッカークレーン50は、物品90を出庫するときには、連設収容部18の開端部18aにて目的の物品90を載せたパレット92を回収して、昇降動作および走行動作により出庫部16に搬送して搬出する。
図7はスタッカークレーン50の正面図である。スタッカークレーン50は、昇降機構51と、台車本体部52と、基台部53と、シャトルフォーク54と、一対のガイド部56と、一対の昇降支柱58と、上支持部61と、充電部59と、を主に含む。また、スタッカークレーン50は電源手段として、例えば図外の架線から電力の供給を受けるトロリー機構(不図示)を備える。基台部53は、スタッカークレーン50の下部に設けられる上下に薄い偏平な部材で、その下側には走行路78をX方向に走行移動するための駆動機構64と走行車輪55が取付けられる。駆動機構64は、例えばモータと減速機構を含み、走行車輪55を回転駆動するように構成される。一対の昇降支柱58は上向きに延伸する断面が矩形状の支柱で、X方向に隔てられて基台部53に立設される。上支持部61は一対の昇降支柱58の上部を繋ぐように設けられる。上支持部61の上側には、図示しない上側の軌道をY方向に挟んで支持する2組のガイドローラ62が設けられる。つまり、スタッカークレーン50は、下側が走行路78を走行する走行車輪55によって支持され、上側が軌道を挟むガイドローラ62によって支持される。
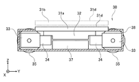
図8は台車本体部52の上面視の模式図である。台車本体部52は、一対の昇降支柱58の間に設けられる上下に薄い偏平な部材で、上面視で略矩形状を有する。台車本体部52のX方向の両側には2組のサイドローラ63が回転可能に設けられる。この2組のサイドローラ63がそれぞれの昇降支柱58をY方向に挟むことよって、台車本体部52は昇降支柱58に沿って昇降可能にガイドされる。昇降機構51は昇降支柱58の根元に設けられる。この昇降機構51が台車本体部52を吊っているワイヤーロープ(不図示)を巻取り・送出しすることによって、台車本体部52は上下に昇降駆動される。このように構成されることで、台車本体部52は昇降自在な昇降台として機能する。
次に、ガイド部56について説明する。ガイド部56は、延伸方向であるY方向に垂直な断面が角張ったCの字形状を有する一対のレールであって、当該レール間の間隔が調整可能に構成される。図9はガイド部56が第1位置に移動した状態の台車本体部52を正面視で示す模式図である。一対のガイド部56は、搬送台車30の走行を可能とするように、台車本体部52上に設けられる。一対のガイド部56は、台車本体部52上にX方向に所定の間隔を隔てて平行に配置される。一対のガイド部56の向かい合う面は、搬送台車30の車輪35が内側に進入して走行できるように開いている。つまり、ガイド部56が走行フレーム20と同様の断面形状を有することで、搬送台車30は、走行フレーム20とガイド部56の間で自在に往来することができる。
図10はガイド部56が第2位置に移動した状態の台車本体部52を正面視で示す模式図である。一対のガイド部56と台車本体部52との間には一対のガイド駆動部57が介在する。ガイド駆動部57はガイド部56をシャトルフォーク54より上側の位置で支持する。ガイド駆動部57はガイド部56をX方向に移動させる駆動機構である。一対のガイド部56は、ガイド駆動部57に駆動されることにより、搬送台車30が走行可能な位置である第1位置と、シャトルフォーク54上に物品90を載せたパレット92を載置可能とするために退避する第2位置と、の間で移動可能に構成される。ガイド駆動部57は、ガイド部56を第1位置と第2位置との間で移動させるために、例えばモータや空気圧による駆動機構を備える。
第1位置に移動した一対のガイド部56の間には間隔D1が形成され、第2位置に移動した一対のガイド部56の間には間隔D2が形成される。つまり、一対のガイド部56はその間隔が間隔D1と間隔D2の間で変化可能に構成される。間隔D1は搬送台車30の車輪35の外側部の距離D3より小さく構成される。間隔D2は、間隔D1よりも大きく、また距離D3よりも大きく、後述するシャトルフォーク54の可動部54aの幅D4よりも大きく構成される。
充電部59は、搬送台車30に搭載されるバッテリ37を充電するために、ガイド部56の内側の側面に設けられる。充電部59の接続端子は、ガイド部56とともにX方向に移動可能に設けられ、ガイド部56が第1位置に移動したときに搬送台車30の受電部36の接続端子と接続される。充電部59は所定のタイミングで、搬送台車30の受電部36に給電してバッテリ37を充電することができる。
次に、シャトルフォーク54について説明する。シャトルフォーク54は進退および昇降する部分である可動部54aを含む。可動部54aは、台車本体部52から開端部18aに最も近い収容部10aのパレット92の下側に差込み可能な形状と、物品90を載せたパレット92とを持ち上げ可能なリフト能力とを有する。また、可動部54aは、台車本体部52に後退した状態で、ガイド部56を走行する状態の搬送台車30の下面より下側に降下できるように構成される。つまり、可動部54aが台車本体部52上に後退して最降下位置に降下した状態では、シャトルフォーク54は、ガイド部56を移動する搬送台車30より下側の空間に収容可能な形状を有する。
また、シャトルフォーク54の可動部54aの幅D4は間隔D2よりも小さく形成される。このため、ガイド部56が第2位置に退避した状態では、可動部54aはガイド部56に干渉されることなくガイド部56から上側に突き出て物品90を載せたパレット92を載置可能に構成される。また、シャトルフォーク54の可動部54aは、物品90を載せたパレット92を収容部10aの走行フレーム20から浮上させて、台車本体部52上に引き戻してそこに載置できるリフト能力を有する。つまり、シャトルフォーク54は、台車本体部52と収容部10aとの間で相互に物品90を載せたパレット92を移載可能に構成される。
(動作)
次に、このように構成された自動倉庫システム100の動作の一例を説明する。制御部60は、所定の操作に基づき、搬送台車30とスタッカークレーン50が以下の手順で動作するように制御する。自動倉庫システム100は、以下に説明する連携動作と単独動作をそれぞれ実行すると共に、これらの動作を同時並行に実行することができるように構成される。
(連携動作)
まず、搬送台車30とスタッカークレーン50の連携出庫動作について説明する。連携出庫動作は、スタッカークレーン50と搬送台車30とを用いて収容部10の物品90を出庫部16に搬送して出庫する動作であって、一例として以下のプロセスを含む。連携出庫動作において制御部60は、スタッカークレーン50と搬送台車30が以下の動作をするように制御する。連携出庫動作は、制御部60に所定の操作をすることで開始される。スタッカークレーン50は、走行および昇降することにより目的の連設収容部18の開端部18aの前に移動する。このとき、ガイド部56は第2位置に移動しておく。搬送台車30は、載置台31を降下させた状態で、走行フレーム20を走行して目的の収容部10の物品90を載せたパレット92の下側に移動して、載置台31を上昇させて物品90をパレット92ごと浮上させて支持する。この状態で搬送台車30は開端部18aに移動する。スタッカークレーン50が開端部18aに到着したら、搬送台車30は走行フレーム20に連なるガイド部56を走行して台車本体部52の中の所定の位置に移動する(図9も参照)。
続いて、図11に示すように、搬送台車30は、載置台31bを最降下位置に降下させて、物品90を載せたパレット92をガイド部56上に載置する。このとき、搬送台車30の載置台31bとパレット92の間には接触しない程度の隙間が形成され、搬送台車30は空荷で走行可能な状態になる。続いて、搬送台車30は、ガイド部56と走行フレーム20とを走行してスタッカークレーン50から連設収容部18に移動する。続いて、搬送台車30が抜けたスタッカークレーン50は、走行および昇降することにより物品90を載せたパレット92を出庫部16に搬送して出庫する。
次に、搬送台車30とスタッカークレーン50の連携入庫動作について説明する。連携入庫動作は、スタッカークレーン50と搬送台車30とを用いて物品90を入庫部15から収容部10に搬送して収容する動作であって、一例として以下のプロセスを含む。連携入庫動作において制御部60は、スタッカークレーン50と搬送台車30が以下の動作をするように制御する。連携入庫動作は、制御部60に所定の操作を入力することで開始される。スタッカークレーン50は、走行および昇降することにより入庫部15に移動する。このとき、ガイド部56は第2位置に移動しておく。スタッカークレーン50は、入庫部15からガイド部56上に物品90を載せたパレット92を移載する。スタッカークレーン50は、走行および昇降することにより目的の連設収容部18の開端部18aの前に移動する。
搬送台車30は開端部18aに移動してスタッカークレーン50の到着を待つ。このとき、載置台31bは最降下位置に降下させておく。スタッカークレーン50が開端部18aに到着したら、搬送台車30は走行フレーム20とガイド部56とを走行して台車本体部52の所定の位置に移動する(図11を参照)。搬送台車30は載置台31を上昇させて物品90とパレット92をガイド部56から浮上させて支持する(図9を参照)。このときパレット92とガイド部56の間には接触しない程度の隙間が形成される。この状態で、搬送台車30はガイド部56と走行フレーム20とを走行してスタッカークレーン50から連設収容部18の所定の収容部10に移動し、載置台31を降下させて、物品90を載せたパレット92を収容部10の走行フレーム20上に載置する。
(単独動作)
次に、スタッカークレーン50の単独出庫動作について説明する。単独出庫動作は、スタッカークレーン50を用いて収容部10aの物品90を出庫部16に搬送して出庫する動作であって、一例として以下のプロセスを含む。単独出庫動作において制御部60は、スタッカークレーン50が以下の動作をするように制御する。図10は、単独動作時における台車本体部52の状態を示す。図10ではガイド部56は第2位置に待避している。まず、シャトルフォーク54は、収容部10aの前に移動して、可動部54aを収容部10aの物品90を載せたパレット92の下側に差し込んで持ち上げ走行フレーム20から浮上させて支持する。この状態で物品90を載せたパレット92を台車本体部52側に引き入れ、可動部54aを降下させることでスタッカークレーン50に搬入する。続いて、スタッカークレーン50は、走行および昇降することにより物品90を載せたパレット92を出庫部16に搬送して出庫する。
次に、スタッカークレーン50の単独入庫動作について説明する。単独入庫動作は、スタッカークレーン50を用いて入庫部15の物品90を収容部10aに搬入する動作であって、一例として以下のプロセスを含む。単独入庫動作において制御部60は、スタッカークレーン50が以下の動作をするように制御する。まず、スタッカークレーン50は、入庫部15に移動して入庫部15から物品90を載せたパレット92を台車本体部52のシャトルフォーク54の可動部54a上に移載する。この状態で、スタッカークレーン50は、走行および昇降することにより目的の開端部18aの収容部10aの前に移動する。続いて、スタッカークレーン50は、可動部54aで物品90を載せたパレット92を持ち上げ、走行フレーム20上に載置することで収容部10aに移載して入庫する。
上記のように、スタッカークレーン50は、単独で可動部54aが届く範囲の物品90を出庫または入庫可能であるため、搬送台車30を待つ時間のロスを最小限に抑えることができる。また、スタッカークレーン50が単独出庫動作または単独入庫動作をしている間に、搬送台車30は別の物品90を載せたパレット92に対する動作を並行して実行することができる。開端部18aから離れた収容部10bの物品90は搬送台車30との連係により入庫または出庫して、開端部18aに近い収容部10aの物品90は単独動作で入庫または出庫することができる。
(並列動作)
次に、スタッカークレーン50と搬送台車30の並列動作の第1例を説明する。第1例は複数の物品90を出庫する動作で、制御部60はスタッカークレーン50と搬送台車30が以下の動作をするように制御する。まず、制御部60は、開端部18aから離れた一の収容部10に載置された物品90を開端部18aに近い他の収容部である収容部10aへ搬送して載置するように搬送台車30を制御する。また、制御部60は、収容部10aに載置された物品90をスタッカークレーン50が回収するようにスタッカークレーン50を制御する。また、制御部60は、物品90を回収したスタッカークレーン50が物品90を出庫部16へ搬送するようスタッカークレーン50を制御する。また、制御部60は、スタッカークレーン50が物品90を出庫部16へ搬送して出庫する間、棚部12内で別の物品90の搬送をするように搬送台車30を制御する。
次に、スタッカークレーン50と搬送台車30の並列動作の第2例を説明する。第2例も複数の物品90を出庫する動作で、制御部60はスタッカークレーン50と搬送台車30が以下の動作をするように制御する。まず、スタッカークレーン50は開端部18aに近い収容部10aの物品90に対して単独出庫動作を実行する。その間に、搬送台車30は、開端部18aから離れた収容部10から別の物品90を開端部18aに搬送して待機し、単独出庫動作を終えたスタッカークレーン50が到着したら、速やかに連携出庫動作により物品90をスタッカークレーン50に受け渡しする。スタッカークレーン50は受け渡しされた物品90を出庫部16に搬送して出庫する。
次に、スタッカークレーン50と搬送台車30の並列動作の第3例を説明する。第3例では入庫動作と出庫動作を並列に実行するもので、スタッカークレーン50が単独入庫動作をする間に、搬送台車30は、開端部18aから離れた収容部10bから出庫すべき物品90を開端部18aに搬送して待機する。搬送台車30は、単独入庫動作を終えたスタッカークレーン50が到着したら、速やかに連携出庫動作により物品90をスタッカークレーン50に受け渡しする。スタッカークレーン50は受け渡しされた物品90を出庫部16に搬送して出庫する。このように、自動倉庫システム100では、入庫動作と出庫動作とを並列に実行することが可能である。このようにスタッカークレーン50と搬送台車30とが並列動作することで、スタッカークレーン50と搬送台車30の待ち時間を減らし、総合的な倉庫の稼働効率を向上することができる。
次に、このように構成された自動倉庫システム100の特徴を説明する。
自動倉庫システム100では、スタッカークレーン50は、台車本体部52と、台車本体部52上に設けられ、収容部10側へ進退可能なシャトルフォーク54と、台車本体部52上に設けられ、搬送台車30が走行可能なガイド部56と、を含み、ガイド部56は、搬送台車30が走行可能な位置である第1位置と、シャトルフォーク54上に物品90を載置可能とするために退避する第2位置と、の間で移動可能に構成される。この構成により、ガイド部56を第1位置に移動して搬送台車30を走行させることができ、ガイド部56を第2位置に退避して、シャトルフォーク54で物品90を載置することができる。
自動倉庫システム100では、ガイド部は一対のレールであって、当該レール間の距離が調整可能に構成されるため、搬送台車30が一対のレールの間で走行することができる。
自動倉庫システム100では、スタッカークレーン50は、搬送台車30に搭載されるバッテリ37を充電する充電部59を含むため、搬送台車30がスタッカークレーン50に収容されたタイミングで、バッテリ37を充電することができる。
自動倉庫システム100では、棚部12が、スタッカークレーン50の走行路78を挟んで対となるように設けられる。この構成により、1台のスタッカークレーン50で走行路78の両側の棚部12の収容部10に物品90の搬入、搬出をすることができる。
以上、本発明の実施の形態をもとに説明した。これらの実施の形態は例示であり、いろいろな変形および変更が本発明の特許請求範囲内で可能なこと、またそうした変形例および変更も本発明の特許請求の範囲にあることは当業者に理解されるところである。従って、本明細書での記述および図面は限定的ではなく例証的に扱われるべきものである。
(第1変形例)
実施の形態の自動倉庫システム100の説明では、連係動作について、スタッカークレーン50が、搬送台車30を保持しない状態で開端部18aと、入庫部15または出庫部16の間で移動する例について説明したがこれに限定されない。例えば、スタッカークレーン50が、搬送台車30を保持した状態で開端部18aと、入庫部15または出庫部16の間で移動するように制御されてもよい。
(第2変形例)
実施の形態の自動倉庫システム100の説明では、開端部18a近傍の収容部10aとスタッカークレーン50との間における物品90の載せ替え動作は、スタッカークレーン50が単独動作にて載せ替えする例について説明したがこれに限定されない。例えば、収容部10aとスタッカークレーン50との間における物品90の載せ替え動作は、搬送台車30との連携動作にて実行するように制御されてもよい。
(第3変形例)
実施の形態の自動倉庫システム100の説明では、パレット92に載せられた物品90を搬送する例について説明したがこれに限定されない。パレット92を使用することは必須ではなく、物品90を単独の状態で搬送および収容をするようにしてもよい。
(第4変形例)
実施の形態の自動倉庫システム100の説明では、スタッカークレーン50がシャトルフォーク54を用いて、開端部18aに最も近い収容部10aに対して物品90を搬入・搬出する例について説明したがこれに限定されない。例えば、スタッカークレーン50は、シャトルフォーク54の可動部54aが届く範囲で、シャトルフォーク54を用いて、収容部10aより閉端部18b側にある収容部10に対して物品90を搬入・搬出するように構成してもよい。
(第5変形例)
次に、第5変形例に係る自動倉庫システム200について説明する。実施の形態の自動倉庫システム100の走行台車が、昇降機構51を備えるスタッカークレーン50であるのに対して、自動倉庫システム200の走行台車は昇降機構を具備しない。つまり、自動倉庫システム200は、自動倉庫システム100に対して走行台車が昇降機構を有せず、別に設けた昇降エレベータに移載して昇降させるように構成される点で相違し、その他の構成は同様である。したがって、重複する説明を省略し相違する点を重点的に説明する。
図12は第5変形例に係る自動倉庫システム200の正面図である。図12では重要でない部材や部分の記載を適宜省略している。図13は自動倉庫システム200の側面図である。図13では後述する昇降部260の記載を省略している。自動倉庫システム200は、棚部12と、搬送台車30と、軌道270と、走行台車250と、昇降部260と、入庫部15と、出庫部16と、を主に含む。軌道270は、各々の収容部10に隣接して各段ごとに設けられており、行方向(X方向)に延伸する一対のレール272を含む。一対のレール272それぞれは、走行台車250の車輪253が走行できるように、例えば互いに内側が開いたL字状の断面を有する。
昇降部260は、各段の軌道270の一端270aに隣接して昇降部260が設けられる。自動倉庫システム200では、昇降部260によって、ある段の軌道270の一端270aに位置する走行台車250を他の段の軌道270へ移動可能に構成される。昇降部260は、支柱部262と、昇降台264と、昇降機構266と、を含み、昇降エレベータとして機能する。支柱部262は、例えば横断面が矩形状の支柱で床76に立設される。昇降台264は、例えばX方向及びY方向に延在する板状の部材で支柱部262に昇降可能にガイドされる。昇降台264は走行台車250を載置可能な形状を有する。昇降台264には軌道270上を走行してきた走行台車250の車輪253が走行できるような走行面を有する。昇降機構266は、例えば支柱部262の根元に設けられる。昇降機構266は、昇降台264を吊っているワイヤーロープ(不図示)を巻取り・送出することによって、昇降台264を昇降駆動する。昇降部260の最下段に隣接して入庫部15および出庫部16が設けられる。
次に、走行台車250について説明する。図14は、走行台車250の斜視図である。走行台車250は、搬送台車30を収容可能に、軌道270上を行方向(X方向)に走行可能に、昇降台264上を走行して乗り移り可能に構成される。走行台車250は、車体251と、収容台252と、一対のガイド部256と、複数(例えば2組)の車輪253と、駆動機構(不図示)と、充電部259と、を主に含む。走行台車250は、その上部に設けられた収容台252に搬送台車30を収容可能に構成される。
車体251は、上面視が略矩形状で、上下に薄い偏平形状を有する筐体である。車輪253は、例えば樹脂材料から形成されるタイヤであり、車体251のY方向の両側に設けられる。車輪253の数に制限はなく、例えば6輪以上であってもよい。車輪253は駆動機構(不図示)によって回転駆動される。収容台252は、車体251の上部に設けられる平坦な台部で、搬送台車30が走行して乗り移れるように構成される。一対のガイド部256は、車体251の上部に収容台252をX方向に挟むように設けられる壁体で、搬送台車30の走行をガイドするように構成される。収容台252は、一対のガイド部256の上面から下側に窪んだ凹部形状を有する。換言すれば、一対のガイド部256は収容台252の上面から上側に張り出した形状を有する。
走行台車250は、例えば各段の軌道270に沿って設けた架線(不図示)からトロリ機構(不図示)によって電力の供給を受けてもよい。走行台車250は、例えば車体251の下部に内蔵されるバッテリ258を含んでもよい。バッテリ258は、各種の手段によって充電されてもよい。バッテリ258は充電部259を通じてバッテリ37を充電するための電力を供給してもよい。
充電部259は、例えば一対のガイド部256の内側側面の一方に設けられてもよい。充電部259はX方向に移動して搬送台車30の受電部36に接近するように構成されてもよい。充電部259は、例えば高周波電磁誘導を利用して、非接触でバッテリ37に給電可能に構成されてもよい。充電部259は、所定のタイミングで、搬送台車30の受電部36を通じてバッテリ37を充電するように構成されてもよい。
(出庫動作)
自動倉庫システム200の出庫動作の一例を説明する。収容部10内の物品90を出庫する際には、例えば以下の動作を実行してもよい。なお、物品90はパレット92に載せられた状態で搬送されてもよい。
(1)搬送台車30で物品90を回収する。
(2)物品90を回収した搬送台車30を走行台車250に収容する。
(3)搬送台車30を収容した走行台車250を軌道270に沿って昇降部260まで走行させる。
(4)昇降部260によって、走行台車250を最下段の軌道270まで降ろす。
(5)走行台車250を最下段の軌道270に沿って出庫部16まで走行させる。
(6)搬送台車30上の物品90を出庫部16に回収する。
(入庫動作)
自動倉庫システム200の入庫動作の一例を説明する。収容部10内の物品90を入庫する際には、例えば以下の動作を実行してもよい。なお、物品90はパレット92に載せられた状態で搬送されてもよい。
(1)物品90を入庫部15から搬送台車30上に移載する。
(2)物品90を載せた搬送台車30を走行台車250に収容する。
(3)走行台車250を最下段の軌道270に沿って昇降部260まで走行させる。
(4)昇降部260によって、走行台車250を所定の段の軌道270まで上昇させる。
(5)走行台車250を軌道270に沿って所定の収容部10の間口前まで走行させる。
(6)搬送台車30で物品90を所定の収容部10に収容する。
これらの変形例は、自動倉庫システム100と同様の構成を具備することで、上述した自動倉庫システム100と同様の特徴を有する。加えて、第5変形例の自動倉庫システム200は、各段毎に走行台車250が設けられるから、一の走行台車250は他の走行台車250と同時並行に別の動作をすることができる。つまり、昇降部260が一の走行台車250の昇降を完了させた後は、当該走行台車250による出庫又は入庫作業が完了するのを待つことなく、順次他の走行台車250の昇降が可能であるから、倉庫の稼働効率を向上することができる。
説明に使用した図面では、部材の関係を明瞭にするために一部の部材の断面にハッチングを施しているが、当該ハッチングはこれらの部材の素材や材質を制限するものではない。
100・・自動倉庫システム、 200・・自動倉庫システム、 10・・収容部、 12・・棚部、 15・・入庫部、 16・・出庫部、 18・・連設収容部、 20・・走行フレーム、 22・・棚支柱、 30・・搬送台車、 31・・載置台、 36・・受電部、 37・・バッテリ、 50・・スタッカークレーン、 51・・昇降機構、 52・・台車本体部、 53・・基台部、 54・・シャトルフォーク、 55・・走行車輪、 56・・ガイド部、 57・・ガイド駆動部、 58・・昇降支柱、 59・・充電部、 60・・制御部、 62・・ガイドローラ、 63・・サイドローラ、 64・・駆動機構、 78・・走行路、 90・・物品、 92・・パレット、 250・・走行台車、 251・・車体、 252・・収容台、 256・・ガイド部、 258・・バッテリ、 259・・充電部、 260・・昇降部、 262・・支柱部、 264・・昇降台、 266・・昇降機構、 270・・軌道、 272・・レール。

Claims (6)

  1. 複数行複数列の収容部が複数段設けられた棚部と、
    前記棚部における一の段において前記収容部間を移動可能であり、前記収容部へ物品の搬入・搬出を行う搬送台車と、
    前記搬送台車を搭載可能であり、走行可能な走行台車と、
    前記棚部における段ごとに設けられ、前記走行台車が走行可能な軌道と、
    一の段に対して設けられた前記軌道上の前記走行台車を、他の段に対して設けられた前記軌道上へ移動させる昇降部と、を備えることを特徴とする自動倉庫システム。
  2. 前記搬送台車が移動する方向を列方向とし、前記列方向と直交する方向を行方向とした場合、各段に対応する各々の前記軌道は、前記方向に沿って延伸しており、
    前記昇降部は、各々の前記軌道の端部に隣接して設けられている、ことを特徴とする請求項1に記載の自動倉庫システム。
  3. 前記搬送台車は、当該搬送台車を移動させるための電力を供給するバッテリを有しており、
    前記走行台車は、搭載した前記搬送台車の前記バッテリを充電可能な充電部を有している、ことを特徴とする請求項1又は2に記載の自動倉庫システム。
  4. 各段に対応する各々の軌道に沿って設けられ、前記軌道上の前記走行台車へ電力を供給可能な架線を更に備える、ことを特徴とする請求項3に記載の自動倉庫システム。
  5. 前記走行台車は、充電されることが可能なバッテリを有する、ことを特徴とする請求項4に記載の自動倉庫システム。
  6. 前記搬送台車、前記走行台車、及び、前記昇降部それぞれの動作を制御可能な制御部を更に備え、
    前記制御部は、一の前記走行台車の昇降を完了させた後、当該一の前記走行台車による物品の出庫又は入庫作業が完了することを待つことなく、他の前記走行台車の昇降を行うように、前記昇降部を制御する、ことを特徴とする請求項1〜5のいずれか一項に記載の自動倉庫システム。
JP2019044451A 2019-03-12 2019-03-12 自動倉庫システム Active JP6564541B2 (ja)

Priority Applications (1)

Application Number Priority Date Filing Date Title
JP2019044451A JP6564541B2 (ja) 2019-03-12 2019-03-12 自動倉庫システム

Applications Claiming Priority (1)

Application Number Priority Date Filing Date Title
JP2019044451A JP6564541B2 (ja) 2019-03-12 2019-03-12 自動倉庫システム

Related Parent Applications (1)

Application Number Title Priority Date Filing Date
JP2016048439A Division JP6509150B2 (ja) 2016-03-11 2016-03-11 自動倉庫システム及びスタッカークレーン

Related Child Applications (1)

Application Number Title Priority Date Filing Date
JP2019136678A Division JP6806856B2 (ja) 2019-07-25 2019-07-25 自動倉庫システム

Publications (2)

Publication Number Publication Date
JP2019081663A JP2019081663A (ja) 2019-05-30
JP6564541B2 true JP6564541B2 (ja) 2019-08-21

Family

ID=66671058

Family Applications (1)

Application Number Title Priority Date Filing Date
JP2019044451A Active JP6564541B2 (ja) 2019-03-12 2019-03-12 自動倉庫システム

Country Status (1)

Country Link
JP (1) JP6564541B2 (ja)

Families Citing this family (1)

* Cited by examiner, † Cited by third party
Publication number Priority date Publication date Assignee Title
CN114229302B (zh) * 2021-12-28 2024-08-20 江苏智库智能科技有限公司 四向穿梭车立体库仓库管理系统仿真模拟方法

Family Cites Families (6)

* Cited by examiner, † Cited by third party
Publication number Priority date Publication date Assignee Title
JPS497825Y1 (ja) * 1970-08-06 1974-02-23
JPS5341267Y2 (ja) * 1974-11-25 1978-10-05
US5419444A (en) * 1993-11-12 1995-05-30 Inca Metal Products Corporation Low profile push-back rack assembly
JP3217620B2 (ja) * 1994-10-31 2001-10-09 株式会社イトーキクレビオ 自動倉庫における移動台車の物品搬出入制御方法
ITBG20070035A1 (it) * 2007-06-26 2008-12-27 Automha S R L Dispositivo per lo stoccaggio automatico di una unita' di carico in una corsa di stoccaggio.
JP6442159B2 (ja) * 2014-05-09 2018-12-19 株式会社オカムラ 倉庫システム

Also Published As

Publication number Publication date
JP2019081663A (ja) 2019-05-30

Similar Documents

Publication Publication Date Title
JP6509150B2 (ja) 自動倉庫システム及びスタッカークレーン
CN102923427B (zh) 物品运送设备
CN210162598U (zh) 一种仓储分拣系统
KR20230154101A (ko) 반송차 및 반송 설비
CN101312894A (zh) 堆垛器
WO2010084542A1 (ja) 自動倉庫
CN215324900U (zh) 一种仓储系统
CN112478650A (zh) 一种智能化自动装卸车系统及方法
KR20150027749A (ko) 슬래브들을 이동시키기 위한 장치 및 상기 장치를 가진 저장고
JP6806856B2 (ja) 自動倉庫システム
TWI374847B (ja)
CN116761764A (zh) 储存容器搬运系统和转移储存容器的方法
CN113443321A (zh) 物品收纳设备
JP7189192B2 (ja) 自動倉庫システム
JP6564541B2 (ja) 自動倉庫システム
JP4619497B2 (ja) タイヤ用自動倉庫
JP5365302B2 (ja) 走行車システム
JP2019210152A (ja) 自動倉庫システム
JPH07237710A (ja) ピッキング用移載装置
JP6563559B1 (ja) 自動倉庫システム
JP2003237908A (ja) スタッカークレーン
JPH0485202A (ja) 自動倉庫
JP6621430B2 (ja) 自動倉庫システム
CN212830762U (zh) 一种双臂提升机垂直搬运系统
CN214326137U (zh) 一种车辆存取装置

Legal Events

Date Code Title Description
A621 Written request for application examination

Free format text: JAPANESE INTERMEDIATE CODE: A621

Effective date: 20190312

A871 Explanation of circumstances concerning accelerated examination

Free format text: JAPANESE INTERMEDIATE CODE: A871

Effective date: 20190312

A975 Report on accelerated examination

Free format text: JAPANESE INTERMEDIATE CODE: A971005

Effective date: 20190326

A131 Notification of reasons for refusal

Free format text: JAPANESE INTERMEDIATE CODE: A131

Effective date: 20190409

A521 Request for written amendment filed

Free format text: JAPANESE INTERMEDIATE CODE: A523

Effective date: 20190410

TRDD Decision of grant or rejection written
A01 Written decision to grant a patent or to grant a registration (utility model)

Free format text: JAPANESE INTERMEDIATE CODE: A01

Effective date: 20190709

A61 First payment of annual fees (during grant procedure)

Free format text: JAPANESE INTERMEDIATE CODE: A61

Effective date: 20190726

R150 Certificate of patent or registration of utility model

Ref document number: 6564541

Country of ref document: JP

Free format text: JAPANESE INTERMEDIATE CODE: R150

S531 Written request for registration of change of domicile

Free format text: JAPANESE INTERMEDIATE CODE: R313531

R350 Written notification of registration of transfer

Free format text: JAPANESE INTERMEDIATE CODE: R350