JP6541553B2 - アシストスーツ - Google Patents

アシストスーツ Download PDF

Info

Publication number
JP6541553B2
JP6541553B2 JP2015227688A JP2015227688A JP6541553B2 JP 6541553 B2 JP6541553 B2 JP 6541553B2 JP 2015227688 A JP2015227688 A JP 2015227688A JP 2015227688 A JP2015227688 A JP 2015227688A JP 6541553 B2 JP6541553 B2 JP 6541553B2
Authority
JP
Japan
Prior art keywords
rotating body
transmission mechanism
electric motor
wire
wires
Prior art date
Legal status (The legal status is an assumption and is not a legal conclusion. Google has not performed a legal analysis and makes no representation as to the accuracy of the status listed.)
Active
Application number
JP2015227688A
Other languages
English (en)
Other versions
JP2017094422A (ja
Inventor
坂野 倫祥
倫祥 坂野
健二 満井
健二 満井
雄大 井ノ上
雄大 井ノ上
小谷 伸介
伸介 小谷
Current Assignee (The listed assignees may be inaccurate. Google has not performed a legal analysis and makes no representation or warranty as to the accuracy of the list.)
Kubota Corp
Original Assignee
Kubota Corp
Priority date (The priority date is an assumption and is not a legal conclusion. Google has not performed a legal analysis and makes no representation as to the accuracy of the date listed.)
Filing date
Publication date
Application filed by Kubota Corp filed Critical Kubota Corp
Priority to JP2015227688A priority Critical patent/JP6541553B2/ja
Priority to KR1020187011365A priority patent/KR102062998B1/ko
Priority to CN201680063412.7A priority patent/CN108136591B/zh
Priority to PCT/JP2016/084072 priority patent/WO2017086378A1/ja
Priority to EP16866379.7A priority patent/EP3378606B1/en
Publication of JP2017094422A publication Critical patent/JP2017094422A/ja
Application granted granted Critical
Publication of JP6541553B2 publication Critical patent/JP6541553B2/ja
Active legal-status Critical Current
Anticipated expiration legal-status Critical

Links

Images

Landscapes

  • Manipulator (AREA)

Description

本発明は、作業者が装着して使用するもので、作業者の作業(動作)を動力によって補助するアシストスーツに関する。
荷物を持ち上げて運んだり、要介護者を抱いたりする作業者を補助するアシストスーツとして、特許文献1に開示されているものがある。特許文献1では、胴外骨格(特許文献1の図1の160)、胴外骨格から作業者を越えて前方に延出された荷吊り上げ機構(特許文献1の図1の221)、荷吊り上げ機構を駆動する駆動装置を備えて、アシストスーツが構成されている。
特許文献1では荷吊り上げ機構において、胴外骨格から作業者を越えて前方に延出されたアーム部と、アーム部から下方に延出されたワイヤ(特許文献1の図1の222)と、作業者が手で持つことにより荷物を保持するものでワイヤに連結されたエンド・エフェクタ(特許文献1の図1の223)とが備えられている。
特許文献1では、作業者が胴外骨格を背中部に取り付けることにより(背中部に背負うことにより)、アシストスーツを装着するのであり、荷吊り上げ機構のエンド・エフェクタを作業者が手で持つような状態となる。
これにより、アシストスーツを装着した状態において、作業者が荷吊り上げ機構により荷物を保持するのであり、この状態で荷物は荷吊り上げ機構に支持される。作業者は荷吊り上げ機構のエンド・エフェクタを手で持つことにより、荷物の位置を安定させる(荷物が振ら付かないようにする)。
本体部に備えられた駆動装置によりワイヤを巻き取ることによって、荷吊り上げ機構のエンド・エフェクタ(荷物)を上昇させることができるのであり、駆動装置によりワイヤを繰り出すことによって、荷吊り上げ機構のエンド・エフェクタ(荷物)を下降させることができる。
特表2013−531593号公報
前述のように、ワイヤを巻き取り及び繰り出す場合、ワイヤを巻き取り及び繰り出す回転体と、回転体を巻き取り側及び繰り出し側に回転駆動する電動モータとが、駆動装置に備えられる。
本発明は、アシストスーツにおいて、駆動装置にワイヤを巻き取り及び繰り出す回転体及び電動モータを備えた場合、回転体及び電動モータをコンパクトにまとめることを目的としている。
[I](構成)
本発明の第1特徴は、アシストスーツにおいて次のように構成することにある。
作業者の背中部に取り付けられる本体部と、前記本体部から作業者を越えて前方に延出されたアーム部と、
前記アーム部から下方に延出されたワイヤと、作業者が手で持つことにより荷物を保持するもので前記ワイヤに連結されたハンド部とが備えられ、
前記ワイヤを巻き取ることにより前記ハンド部を上昇させ、前記ワイヤを繰り出すことにより前記ハンド部を下降させる駆動装置と、
作業者に操作されることにより前記駆動装置を作動させる手動操作部とが備えられており、
前記駆動装置を前記本体部に備えて、
前記駆動装置が、左右方向の回転軸芯周りに回転自在に左右方向に配置されて前記ワイヤを巻き取り及び繰り出す回転体と、前記回転体の下側に左右方向に配置された電動モータと、前記電動モータの出力軸側の端部と前記回転体の右又は左の前記出力軸側の端部とに亘って上下方向に配置された伝動機構とを備えており、
前記電動モータの動力が前記伝動機構を介して前記回転体に伝達されて、前記回転体が巻き取り側及び繰り出し側に回転駆動されるように構成しており、
前記本体部は、右及び左のフレームと、右及び左の前記フレームの上部に亘って連結された上部部材とを備え、前記回転体が前記上部部材に支持されている。
(作用及び発明の効果)
本発明の第1特徴によると、駆動装置において、左右方向に配置された回転体と、回転体の下側に左右方向に配置された電動モータと、電動モータの出力軸側の端部と回転体の右又は左の出力軸側の端部とに亘って上下方向に配置された伝動機構とが備えられて、回転体、電動モータ及び伝動機構が背面視(正面視)で、例えばコ字状(又は逆コ字状)にコンパクトに配置される。
この場合、アーム部が上側に位置し、駆動装置が下側に位置するので、回転体を左右方向に配置することによって、ワイヤが回転体から無理なく上方に延出されてアーム部に至るのであり、ワイヤがアーム部から無理なく下方に延出される。
電動モータが回転体の下側に位置し、伝動機構が回転体の横側に位置するので、電動モータや伝動機構と干渉することなく、ワイヤが回転体から無理なく上方に延出される。
[II]構成
本発明の第2特徴は、本発明の第1特徴のアシストスーツにおいて次のように構成することにある。
前記上部部材は、右及び左のフレームの前記フレームの上部に亘って連結された上部板部材であり、
前記本体部は、右及び左のフレームの前記フレームの中間部に亘って連結された中間部板部材を更に備えている。
[II](構成)
本発明の第3特徴は、本発明の第1特徴又は第2特徴のアシストスーツにおいて次のように構成することにある。
前記回転体の右又は左の前記出力軸側の端部を支持する第1軸受け部を、前記伝動機構に備えて、前記伝動機構を前記本体部に連結し、
前記回転体の右又は左の前記出力軸側の反対側の端部を支持する第2軸受け部を備え、前記第2軸受け部を前記本体部に連結して、
前記第1及び第2軸受け部により、前記回転体を前記回転軸芯周りに回転自在に支持している。
(作用及び発明の効果)
左右方向の回転軸芯周りに回転自在に回転体を支持する場合、回転体の右及び左の端部を軸受け部により支持する。
この場合、本発明の第3特徴によると、回転体の右又は左の電動モータの出力軸側の反対側の端部を支持する第2軸受け部では、第2軸受け部を本体部に連結しており、第2軸受け部が本体部に支持されるように構成している。
これに対して、回転体の右又は左の電動モータの出力軸側の端部を支持する第1軸受け部では、第1軸受け部を伝動機構に備えて、伝動機構を本体部に連結しており、第1軸受け部が伝動機構を介して本体部に支持されるように構成している。
これにより、電動モータの動力を回転体に伝達する伝動機構が、第1軸受け部の支持部材に兼用されることになって、構造の簡素化を図ることができる。
[I](構成)
本発明の第4特徴は、本発明の第3特徴のアシストスーツにおいて次のように構成することにある。
前記電動モータを前記伝動機構に連結することにより、前記伝動機構を介して前記電動モータを前記本体部に連結している。
(作用及び発明の効果)
前項[II]に記載のように、伝動機構を本体部に連結した状態において、本発明の第4特徴によると、電動モータを伝動機構に連結することにより、伝動機構を介して電動モータが本体部に連結されるように構成している。
これにより、電動モータの動力を回転体に伝達する伝動機構が、電動モータの支持部材に兼用されることになって、構造の簡素化を図ることができる。
[V](構成)
本発明の第5特徴は、本発明の第1〜第4特徴のアシストスーツのうちのいずれか一つにおいて次のように構成することにある。
前記回転体を覆うカバーを備えている。
(作用及び発明の効果)
本発明の第5特徴によると、回転体を覆うカバーを備えることによって、回転体にゴミ等が付着するのを防止することができるのであり、回転体にゴミ等が付着することによるワイヤの巻き取り不良(繰り出し不良)を少なくすることができる。
[V](構成)
本発明の第6特徴は、本発明の第5特徴のアシストスーツにおいて次のように構成することにある。
前記カバーが、固定部分と、着脱自在な着脱部分とを備えており、
前記固定部分に開口部を備えて、前記ワイヤが前記開口部を通って前記回転体に巻き取り及び繰り出される請求項4に記載のアシストスーツ。
(作用及び発明の効果)
前項[V]に記載のように、回転体を覆うカバーを備える場合、本発明の第6特徴によると、カバーに固定部分と着脱部分とを備えている。
これにより、カバーの着脱部分を取り外すことによって、回転体の掃除や回転体のメンテンス作業が容易に行えるのであり、作業性が良いものとなる。
本発明の第6特徴によると、カバーの固定部分の開口部を備えることにより、ワイヤがカバーの固定部分の開口部を通って回転体に巻き取り及び繰り出されるように構成しているので、前述のようにカバーの着脱部分を取り外す際に、ワイヤの影響を受けることがない。
[VI](構成)
本発明の第7特徴は、本発明の第6特徴のアシストスーツにおいて次のように構成することにある。
前記回転体と前記伝動機構とを、連結及び分離自在な連結部材を介して連結して、
前記着脱部分を取り外した状態で、前記回転体を前記伝動機構から取り外し自在に構成している請求項5に記載のアシストスーツ。
(作用及び発明の効果)
本発明の第7特徴によると、カバーの着脱部分を取り外して、回転体と伝動機構との連結を外すことにより、回転体を容易に取り出すことができるのであり、回転体の交換等のメンテナンス作業が容易に行えるようになって、作業性が良いものとなる。
アシストスートの全体右側面図である。 アシストスーツの全体背面図である。 アシストスーツの全体正面図である。 駆動装置の斜視図である。 駆動装置の縦断背面図である。 駆動装置における回転体の分解斜視図である。 駆動装置の縦断左側面図である。 回転体の斜視図である。 回転体の正面図である。 ワイヤのインナーが回転体の溝部に位置している状態での回転体の背面図である。 ワイヤのインナーが回転体の溝部の中間に位置している状態での回転体の背面図である。 ワイヤのインナーが回転体の左の部分に位置している状態での回転体の背面図である。 発明の実施の第4別形態における回転体の溝部の付近の縦断背面図である。
[1]
先ず、アシストスーツの全体構成及び本体部1について説明する。
図1,2,3に示すように、作業者の背中部に取り付けられる本体部1、本体部1の上部から上方に延出された右及び左のアーム部2、本体部1の下部に備えられた右及び左の脚作用部3が備えられており、作業者への装着用の取付ベルト4、右及び左の肩ベルト5が備えられて、アシストスーツが構成されている。
図1,2,3に示すように、本体部1は、右及び左の縦フレーム6、右及び左の縦フレーム6の上部及び中間部に亘って連結された支持板7,8、右及び左の縦フレーム6の下部に亘って連結された横フレーム9等を備えて、枠状に構成されている。右及び左の脚作用部3に取付ベルト4が取り付けられており、右及び左の縦フレーム6に右及び左の肩ベルト5が取り付けられている。支持板8の後面に制御装置14が連結されており、制御装置14の後側を覆うように支持板8に連結された支持板15に、バッテリー16が連結されている。
これにより、図1,2,3に示すように、右及び左の肩ベルト5に作業者の右及び左の腕部(右及び左の肩部)を入れ、取付ベルト4を作業者の腰部に巻き付けて固定することにより、作業者の背中部に本体部1が取り付けられる。
図1,2,3に示すように、アシストスーツ及び荷物の重量が取付ベルト4を介して主に作業者の腰部に掛かることになるのであり、アシストスーツ及び荷物の重量が作業者の腰部により安定して支持される。右及び左の肩ベルト5は、主に本体部1が作業者の背中部から後方に離れようとする状態を止める機能を発揮する。
[2]
次に、右及び左の脚作用部3について説明する。
図1,2,3に示すように、右及び左の脚作用部3は、基部10、伝動ケース11、操作アーム12及び脚ベルト13等を備えている。横フレーム9に左右方向にスライド自在に基部10が支持されており、基部10の外端部に伝動ケース11が前向きに連結されている。
図1,2,3に示すように、伝動ケース11の前部の左右方向の横軸芯P1周りに、操作アーム12が揺動自在に支持されており、幅広のベルト状の脚ベルト13が操作アーム12の端部に連結されている。複数の平ギヤにより構成された伝動機構(図示せず)が伝動ケース11の内部に備えられ、電動モータ(図示せず)が基部10に左右方向に内装されており、電動モータにより伝動機構を介して操作アーム12が横軸芯P1周りに揺動駆動される。
前項[1]に記載のように、作業者の背中部に本体部1を取り付ける場合において、作業者が取付ベルト4を腰部に巻き付けて固定する際、取付ベルト4と一緒に、右及び左の脚作用部3(基部10)が横フレーム9に沿って左右方向に移動可能である。
これにより、取付ベルト4の腰部への巻き付け具合により、作業者の体格に合わせるように右及び左の脚作用部3の間隔が決まるのであり、取付ベルト4により右及び左の脚作用部3の位置が決められた状態となる。
この後、図1,2,3に示すように、作業者は脚ベルト13を太腿に巻き付けて、面ファスナ(商品面:マジックテープ(登録商標))により、脚ベルト13を太腿に固定する。以上のようにして、アシストスーツの作業者への装着が終了する。
[3]
次に、右及び左のアーム部2について説明する。
図1,2,3に示すように、右及び左の縦フレーム6の上部が、作業者の右及び左の肩部を越えて斜め前方の斜め上方に延出されて、右及び左のアーム部2が構成されており、右及び左のアーム部2の上端部に、案内プーリー33が回転自在に支持されている。
図1,2,3に示すように、支持板7の後面に駆動装置17が連結されており、駆動装置17から、右の2本のワイヤ18,19及び左の2本のワイヤ18,19が延出されている。支持板7の上部に受け部材21が連結され、右及び左のアーム部2の上部に受け部材22が備えられており、ワイヤ18,19のアウター18b,19bが受け部材21,22に連結されて、ワイヤ18,19のインナー18a,19aが駆動装置17に接続されている。
図1,2,3に示すように、右の2本のワイヤ18,19のインナー18a,19aが案内プーリー33に掛けられて下方に延出されており、右の2本のワイヤ18,19のインナー18a,19aに右のハンド部20が連結されている。左の2本のワイヤ18,19のインナー18a,19aが案内プーリー33に掛けられて下方に延出されており、左の2本のワイヤ18,19のインナー18a,19aに左のハンド部20が連結されている。
図1,2,3に示すように、右及び左のハンド部20は、金属製の板材を断面コ字状(フック状)に折り曲げて構成されており、左右対称の形状となっている。右のハンド部20に、押しボタン型式の上昇操作スイッチ23(手動操作部に相当)が備えられており、左のハンド部20に、押しボタン型式の下降操作スイッチ24(手動操作部に相当)が備えられている。上昇及び下降操作スイッチ23,24は、ハーネス(図示せず)を介して制御装置14に接続されている。
前項[1][2]に記載のように、作業者がアシストスーツを装着した状態において、作業者が右手で右のハンド部20を握るようにして持ち、左手で左のハンド部20を握るようにして持つ。
前述の状態において、作業者は右手及び左手の親指により上昇及び下降操作スイッチ23,24を押し操作する。この場合、上昇及び下降操作スイッチ23,24は復帰型に構成されており、作業者が上昇及び下降操作スイッチ23,24を押し操作していると、上昇及び下降操作スイッチ23,24から信号が出力されるのであり、作業者が上昇及び下降操作スイッチ23,24の押し操作を止めると、上昇及び下降操作スイッチ23,24の信号は停止する。
[4]
例えば、床に置かれた荷物を高い棚やトラックの荷台に置くような場合、作業者がしゃがんで床の荷物を手で持ち、次に手を下に延ばした状態で荷物を持ちながら立ち上がり、次に手で荷物を持ち上げて、荷物を高い棚やトラックの荷台に置くような状態が想定される。
前述の状態において、上昇及び下降操作スイッチ23,24の押し操作に基づいて、制御装置14により右及び左の脚作用部3、駆動装置17が作動する状態について、説明する。
図1,2,3に示すように、作業者がアシストスーツを装着した状態において、作業者が上昇及び下降操作スイッチ23,24の両方を押し操作していないと、駆動装置17は停止し、右及び左の脚作用部3の電動モータは停止状態(自由回転状態)となる。
これにより、作業者が歩行する場合や、作業者が膝部を曲げて腰部を落とす場合(しゃがむ場合)、作業者の太腿に追従するように操作アーム12が揺動するのであり、作業者の動作が妨げられることはない。
次に、作業者がしゃがんで床の荷物を手で持つ場合、作業者が下降操作スイッチ24を押し操作すると、ワイヤ18,19のインナー18a,19aが駆動装置17から繰り出されて、右及び左のハンド部20が下降する。下降操作スイッチ24の押し操作を止めると、駆動装置17が停止して、右及び左のハンド部20が停止する。
後述する[6]に記載のように、駆動装置17にブレーキ機能が備えられている。これにより、駆動装置17が停止した状態において、ワイヤ18,19のインナー18a,19aが駆動装置17から繰り出されることはなく、後述するように右及び左のハンド部20に荷物の重量が掛かっても、右及び左のハンド部20が下降することはない。
次に、作業者は右手(左手)で右(左)のハンド部20を持ち、右及び左のハンド部20を荷物に掛けて、作業者が立ち上がることにより荷物を床から持ち上げる。この状態において作業者が上昇操作スイッチ23を押し操作すると、右及び左の脚作用部3が下方に操作され、作業者の太腿部が下方に操作されて、作業者の立ち上がりが補助される。
前述のように作業者が立ち上がる際において、前述の駆動装置17のブレーキ機能により、右及び左のハンド部20(荷物)が下降することはない。
前述のように、作業者が上昇操作スイッチ23を押し操作した状態で立ち上がった後、右及び左の脚作用部3が略真下に向く位置に達したことが検出されると、作業者が完全に立ち上がったと判断されて、右及び左の脚作用部3の電動モータは停止状態(自由回転状態)となる。
次に、駆動装置17が作動して、ワイヤ18,19のインナー18a,19aが駆動装置17に巻き取られて、右及び左のハンド部20(荷物)が上昇する。所望の位置まで右及び左のハンド部20(荷物)が上昇すると、上昇操作スイッチ23の押し操作を止めることにより、駆動装置17が停止して、右及び左のハンド部20(荷物)が停止する。
次に、作業者は荷物を置くべき高い棚やトラックの荷台等へ歩いて移動する。作業者が高い棚やトラックの荷台等に到着すると、作業者は下降操作スイッチ24を押し操作し、右及び左のハンド部20(荷物)を下降させて、荷物を高い棚やトラックの荷台等に置いて、右及び左のハンド部20を荷物から外す。
以上のようにして、荷物を高い棚やトラックの荷台等に置くと、最初の状態に戻り、次の荷物に対して同様な操作を行う。
[5]
次に、駆動装置17の全体構成、駆動装置17における電動モータ29及び伝動機構30について説明する。
図4,5,6に示すように、駆動装置17は、左右方向の回転軸芯P2周りに回転自在に左右方向に配置された4個の回転体25,26,27,28と、4個の回転体25〜28の下側に左右方向に配置された電動モータ29と、電動モータ29の出力軸29a側の端部と回転体25〜28の左の端部(電動モータ29の出力軸29a側の端部)とに亘って上下方向に配置された伝動機構30とを備えている。
図4,5,6に示すように、伝動機構30は、伝動ケース31と蓋部32とを備えて構成され、伝動ケース31に備えられた脚部31aが支持板7にボルト連結されている。電動モータ29の出力軸29a側の端部が伝動ケース31の下部に連結されており、電動モータ29の脚部29cか支持板7にボルト連結されている。このように、電動モータ29を伝動機構30に連結することにより、伝動機構30を介して電動モータ29が本体部1に連結された状態となっている。
図5に示すように、伝動ケース31と蓋部32の中間部に、大径の第1ギヤ41及び小径の第2ギヤ42が一体で回転するように支持されており、電動モータ29の出力軸29aに連結された出力ギヤ29bが第1ギヤ41と咬合している。
伝動ケース31と蓋部32の上部に、伝動軸34が回転自在に支持されており、伝動軸34が伝動ケース31と蓋部32から右及び左側に突出している。伝動軸34に第3ギヤ43が固定されており、第3ギヤ43が第2ギヤ42と咬合している。
図4,5,6に示すように、蓋部32にブラケット50が連結され、ブラケット50に角度センサー35(ロータリエンコーダ)が連結されており、角度センサー35が伝動軸34の左の端部に接続されている。
[6]
次に、駆動装置17における回転体25〜28の支持構造について説明する。
図4,5,6に示すように、半円筒状の支持部材36(カバーに相当)(カバーの固定部分に相当)が備えられている。支持部材36の左の端部(電動モータ29の出力軸29a側の端部)に、半円状のフランジ部36a(第1軸受け部に相当)が備えられて、フランジ部36aが伝動ケース31の上部に連結されている。これにより、支持部材36のフランジ部36aが、伝動ケース31(伝動機構30)を介して支持板7(本体部1)に連結された状態となっている。
図4,5,6に示すように、支持部材36の右の端部(電動モータ29の出力軸29a側の反対側の端部)に、脚部36b(第2軸受け部に相当)が備えられており、脚部36bが支持板7(本体部1)にボルト連結されている。
図5及び図6に示すように、支持部材36のフランジ部36aに、ベアリング37が支持され、支持部材36の脚部36bにベアリング38が支持されている。断面四角状の駆動軸39がベアリング37,38により回転軸芯P2周りに回転自在に支持されており、駆動軸39と伝動軸34とが円筒状の連結部材40により連結されている。
図6及び図8に示すように、回転体25〜28は合成樹脂により円柱状に構成されて、中央部に断面四角状の取付孔44が開口されており、取付孔44に駆動軸39が挿入されることにより、回転体25〜28が駆動軸39に取り付けられている。
図4及び図6に示すように、透明の合成樹脂製で半円筒状のカバー部材45(カバーに相当)(カバーの着脱部分に相当)が備えられており、カバー部材45が、支持部材36のフランジ部36a及び脚部35bにボルト連結されている。カバー部材45によりベアリング37,38が固定されているのであり、支持部材36及びカバー部材45により回転体25〜28の外周面が覆われている。
これにより、回転体25〜28(駆動軸39)の左の端部(電動モータ29の出力軸29a側の端部)が、ベアリング37を介して支持部材36のフランジ部36aに支持された状態となっている。回転体25〜28(駆動軸39)の右の端部(電動モータ29の出力軸29a側の反対側の端部)が、ベアリング38を介して支持部材36の脚部36bに支持された状態となっている。
以上の構造により、電動モータ29の動力が伝動機構30(第1,2,3ギヤ41,42,43)を介して、駆動軸39に伝達されて、回転体25〜28(駆動軸39)が巻き取り側及び繰り出し側に回転駆動される。
電動モータ29に電磁ブレーキ(図示せず)が備えられている。電動モータ29の作動時に電磁ブレーキは解除状態となり、電動モータ29の停止時及び非通電時に電磁ブレーキは制動状態となる。
図4及び図6に示すように、カバー部材45を支持部材36から取り外すことにより、ベアリング37,38を支持部材36のフランジ部36a及び脚部36bから取り外すことができ、駆動軸39を連結部材40から抜き出すことにより、回転体25〜28及び駆動軸39を取り外すことができる。このように回転体25〜28及び駆動軸39を取り外すことにより、駆動軸39から回転体25〜28を抜き出して、回転体25〜28の交換を行うことができる。
[7]
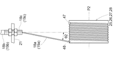
次に、駆動装置17における回転体25〜28について説明する。
図8及び図9に示すように、回転体25〜28は合成樹脂により円柱状に構成されて、中央部に断面四角状の取付孔44が開口されている。回転体25〜28の右の横側面に、ワイヤ18,19のインナー18a,19aの取付部46が備えられており、回転体25〜28の外周面の右の部分において、取付部46につながる溝部47が備えられている。
図8及び図9に示すように、回転体25〜28の外周面における回転軸芯P2の方向での左の部分48において、回転体25〜28の外周面を複数周に亘って螺旋状(雄ネジ状)に回りながら、回転体25〜28の溝部47と左の部分48とに亘って接続される連続した1本の溝部49が、回転体25〜28の外周面に備えられている。
図7及び図10に示すように、ワイヤ18,19のアウター18b,19bの端部18c,19cが、受け部材21に連結されており、4個の回転体25〜28に対向するように4個の開口部36cが支持部材36に備えられている。
図4及び図7に示すように、左のワイヤ18のインナー18aが、支持部材36の回転体25に対抗する開口部36cを通っており、左のワイヤ18のインナー18aの端部が回転体25の取付部46に取り付けられている。左のワイヤ19のインナー19aが、支持部材36の回転体26に対向する開口部36cを通っており、左のワイヤ19のインナー19aの端部が回転体26の取付部46に取り付けられている。
図4及び図7に示すように、右のワイヤ18のインナー18aが、支持部材36の回転体28に対向する開口部36cを通っており、右のワイヤ18のインナー18aの端部が回転体28の取付部46に取り付けられている。右のワイヤ19のインナー19aが、支持部材36の回転体27に対向する開口部36cを通っており、右のワイヤ19のインナー19aの端部が回転体27の取付部46に取り付けられている。
[8]
次に、駆動装置17における回転体25〜28において、ワイヤ18,19のインナー18a,19aの巻き取りの状態について説明する。
図10に示すように、ワイヤ18,19のアウター18b,19bの端部18c,19cが、回転体25〜28の外周面に対向する位置で、且つ、回転体25〜28の外周面における溝部49の回転軸芯P2方向での範囲Wの中央部に対向する位置W1に配置されている。
図10に示す状態は、ワイヤ18,19のインナー18a,19aが回転体25〜28から完全に繰り出された状態であり、ワイヤ18,19のインナー18a,19aが回転体25〜28の溝部47に位置して、溝部49に入っていない状態である。
図10に示す状態において背面視で、ワイヤ18,19のインナー18a,19aが、ワイヤ18,19のアウター18b,19bの端部18c,19cから、回転体25〜28の溝部47に向く状態となっている。回転体25〜28と受け部材21との間隔が比較的大きなものに設定されているので、ワイヤ18,19のインナー18a,19aが回転体25〜28の溝部47に向く角度θ1は小さなものとなっている。
図10に示す状態から回転体25〜28が巻き取り側に回転駆動されると(図7の紙面反時計方向)、ワイヤ18,19のインナー18a,19aが回転体25〜28の溝部47から溝部49に順に入っていき、ワイヤ18,19のインナー18a,19aが回転体25〜28の溝部49に沿って回転体25〜28の外周面に螺旋状に巻き付けられる状態となって、ワイヤ18,19のインナー18a,19aが回転体25〜28に巻き取られる。
これにより、図10から図11に示すように、背面視で、ワイヤ18,19のインナー18a,19aが、回転体25〜28の溝部47に向いた状態から、範囲Wの中央部に対向する位置W1に接近していく。
この場合、ワイヤ18,19のインナー18a,19aが回転体25〜28の溝部47から溝部49に順に入っていくのであり、ワイヤ18,19のインナー18a,19aの次の部分が、ワイヤ18,19のインナー18a,19aの最初の部分の上側に巻き取られるという状態(ワイヤ18,19のインナー18a,19aが二重に重ねて巻き取られる状態)は生じない。
図11に示す状態からさらに回転体25〜28が巻き取り側に回転駆動されると(図7の紙面反時計方向)、ワイヤ18,19のインナー18a,19aが回転体25〜28の溝部47から溝部49に順に入っていき、図11から図12に示すように、背面視で、ワイヤ18,19のインナー18a,19aが、範囲Wの中央部に対向する位置W1を通過して、回転体25〜28の左の部分48に向く状態となる。
図12に示す状態において、回転体25〜28と受け部材21との間隔が比較的大きなものに設定されているので、ワイヤ18,19のインナー18a,19aが回転体25〜28の左の部分48に向く角度θ2は小さなものとなっている。
図12に示すように、ワイヤ18,19のインナー18a,19aが回転体25〜28の左の部分48に達するまで、回転体25〜28が巻き取り側に回転駆動されると、ワイヤ18,19のインナー18a,19aが回転体25〜28の溝部49の全ての部分に入った状態となるので、これ以上に、回転体25〜28を巻き取り側に回転駆動することはできない。
これにより、ワイヤ18,19のインナー18a,19aが回転体25〜28の左の部分48に達するまで、回転体25〜28が回転したことが角度センサー35により検出されると、電動モータ29が自動的に停止する。
[9]
次に、駆動装置17における回転体25〜28において、ワイヤ18,19のインナー18a,19aの繰り出しの状態について説明する。
図12に示すように、ワイヤ18,19のインナー18a,19aが回転体25〜28の左の部分48に達するまで、回転体25〜28が巻き取り側に回転駆動された状態において、回転体25〜28が繰り出し側に回転駆動されると(図7の紙面時計方向)、ワイヤ18,19のインナー18a,19aが回転体25〜28の溝部49(回転体25〜28の左の部分48)から順に出ていき、ワイヤ18,19のインナー18a,19aが回転体25〜28から繰り出される。
これにより、図12から図11に示すように、背面視で、ワイヤ18,19のインナー18a,19aが、回転体25〜28の左の部分48に向いた状態から、範囲Wの中央部に対向する位置W1に接近していく。
図11に示す状態からさらに回転体25〜28が繰り出し側に回転駆動されると(図7の紙面時計方向)、ワイヤ18,19のインナー18a,19aが回転体25〜28の溝部49から順に出ていき、図12から図11に示すように、背面視で、ワイヤ18,19のインナー18a,19aが、範囲Wの中央部に対向する位置W1を通過して、回転体25〜28の溝部47に向く状態となる。
図10に示すように、ワイヤ18,19のインナー18a,19aが回転体25〜28の溝部47に達するまで、回転体25〜28が繰り出し側に回転駆動されると、ワイヤ18,19のインナー18a,19aが回転体25〜28の溝部49の全ての部分から出た状態となるので、これ以上に、回転体25〜28を繰り出し側に回転駆動することはできない。
これにより、ワイヤ18,19のインナー18a,19aが回転体25〜28の溝部47に達するまで、回転体25〜28が回転したことが角度センサー35により検出されると、電動モータ29が自動的に停止する。
例えば図11に示すような途中の状態で電動モータ29が停止した後、回転体25〜28が巻き取り側に回転駆動されると、前項[8]の記載と同様に、ワイヤ18,19のインナー18a,19aが回転体25〜28の溝部49に順に入っていき、ワイヤ18,19のインナー18a,19aが回転体25〜28の溝部49に沿って回転体25〜28の外周面に螺旋状に巻き付けられる。
同様に図11に示すような途中の状態で電動モータ29が停止した後、回転体25〜28が繰り出し側に回転駆動されると、本項[9]の記載と同様に、ワイヤ18,19のインナー18a,19aが回転体25〜28の溝部49から順に出ていき、ワイヤ18,19のインナー18a,19aが回転体25〜28から繰り出される。
[10]
次に、駆動装置17における回転体25〜28と支持部材36及びカバー部材45との関係について説明する。
図4及び図7に示すように、支持部材36及びカバー部材45の内面は円筒状となっており、支持部材36及びカバー部材45の内面が回転体25〜28の外周面に接近した状態となっている。
図5に示すように、ワイヤ18,19のインナー18a,19aの外径D1に対して、回転体25〜28の溝部49の深さが、ワイヤ18,19のインナー18a,19aの外径D1よりも十分に大きなものとなっている。
これにより、ワイヤ18,19のインナー18a,19aが回転体25〜28の溝部49に入った状態で、ワイヤ18,19のインナー18a,19aが回転体25〜28の溝部49に埋没した状態となる。
回転体25〜28の外周面と支持部材36及びカバー部材45の内面との間隔W2が、ワイヤ18,19のインナー18a,19aの外径D1よりも小さなものに設定されている。
これにより、図5に示すように、ワイヤ18,19のインナー18a,19aが回転体25〜28の溝部49に入った状態において、支持部材36及びカバー部材45の内面がワイヤ18,19のインナー18a,19aに接触することはない。
図5に示すように、回転体25〜28の溝部49に入っていたワイヤ18,19のインナー18a,19aが回転体25〜28の溝部49から出ようとしても、ワイヤ18,19のインナー18a,19aが回転体25〜28の溝部49から完全に出るまでに、ワイヤ18,19のインナー18a,19aが支持部材36及びカバー部材45の内面に接触するのであり、これによって回転体25〜28の溝部49に入っていたワイヤ18,19のインナー18a,19aが回転体25〜28の溝部49から出る状態が抑えられる。
[発明の実施の第1別形態]
図4,5,6に示す構造に対して、以下に示すように構成してもよい。
4個の回転体25〜28の下側に、電動モータ29の出力軸29aが右に向くように、電動モータ29を左右方向に配置して、電動モータ29の出力軸29a側の端部と回転体25〜28の右の端部(電動モータ29の出力軸29a側の端部)とに亘って、上下方向に伝動機構30を備える。
前述のように構成すると、支持部材36の右の端部にフランジ部36aが備えられ、支持部材36の左の端部に脚部36bが備えられる。
[発明の実施の第2別形態]
前述の[発明を実施するための形態][発明の実施の第1別形態]において、電動モータ29の脚部29cを廃止して、電動モータ29が伝動機構30を介してのみ支持板7(本体部1)に連結されるように構成してもよい。
支持部材36のフランジ部36aにベアリング37を支持するのではなく、伝動ケース31(伝動機構30)にベアリング37を支持させるように構成してもよい。このように構成すると、伝動ケース31が第1軸受け部となる。
[発明の実施の第3別形態]
図1,2,3に示す右のハンド部20に対して、1本のワイヤ18及び1個の回転体25を備え、左のハンド部20に対して、1本のワイヤ18及び1個の回転体28を備えるように構成してもよい。
[発明の実施の第4別形態]
図5に示す構造に対して、以下に示すように構成してもよい。
図13に示すように、ワイヤ18,19のインナー18a,19aの外径D1に対して回転体25〜28の溝部49の深さを、ワイヤ18,19のインナー18a,19aの外径D1の約1/2に設定する。
これにより、ワイヤ18,19のインナー18a,19aが回転体25〜28の溝部49に入った状態で、ワイヤ18,19のインナー18a,19aが回転体25〜28の溝部49から少し露出する状態となる。
回転体25〜28の外周面と支持部材36及びカバー部材45の内面との間隔W2を、ワイヤ18,19のインナー18a,19aの外径D1よりも小さく、且つワイヤ18,19のインナー18a,19aの外径D1の1/2よりも大きなものに設定する。
[発明の実施の第5別形態]
前述の[発明を実施するための形態][発明の実施の第1別形態]〜[発明の実施の第4別形態]において、右及び左のアーム部2を廃止して、1本のアーム部2を備えてもよい。
前述のように構成した場合、1本のアーム部2から2本のワイヤ18を延出して、2本のワイヤ18の一方に右のハンド部20を備え、2本のワイヤ18の他方に左のハンド部20を備える。
又は、1本のアーム部2から1本のワイヤ18を延出し、1本のワイヤ18の端部を二股状に分岐させて、分岐部分の一方に右のハンド部20を備え、分岐部分の他方に左のハンド部20を備える。
[発明の実施の第6別形態]
前述の[発明を実施するための形態][発明の実施の第1別形態]〜[発明の実施の第5別形態]において、右及び左の脚作用部3を備えないように構成してもよい。バッテリー16を、支持板15ではなく横フレーム9の後面に連結するように構成してもよい。
本発明は、作業者が装着して使用するもので、作業者の作業(動作)を動力によって補助するアシストスーツに適用できる。
1 本体部
2 アーム部
17 駆動装置
18,19 ワイヤ
20 ハンド部
23,24 手動操作部
25,26,27,28 回転体
29 電動モータ
29a 電動モータの出力軸
30 伝動機構
36 カバー、固定部分
36a 第1軸受け部
36b 第2軸受け部
36c 固定部分の開口部
40 連結部材
45 カバー、着脱部分
P2 回転軸芯

Claims (7)

  1. 作業者の背中部に取り付けられる本体部と、前記本体部から作業者を越えて前方に延出されたアーム部と、
    前記アーム部から下方に延出されたワイヤと、作業者が手で持つことにより荷物を保持するもので前記ワイヤに連結されたハンド部とが備えられ、
    前記ワイヤを巻き取ることにより前記ハンド部を上昇させ、前記ワイヤを繰り出すことにより前記ハンド部を下降させる駆動装置と、
    作業者に操作されることにより前記駆動装置を作動させる手動操作部とが備えられており、
    前記駆動装置を前記本体部に備えて、
    前記駆動装置が、左右方向の回転軸芯周りに回転自在に左右方向に配置されて前記ワイヤを巻き取り及び繰り出す回転体と、前記回転体の下側に左右方向に配置された電動モータと、前記電動モータの出力軸側の端部と前記回転体の右又は左の前記出力軸側の端部とに亘って上下方向に配置された伝動機構とを備えており、
    前記電動モータの動力が前記伝動機構を介して前記回転体に伝達されて、前記回転体が巻き取り側及び繰り出し側に回転駆動されるように構成しており、
    前記本体部は、右及び左のフレームと、右及び左の前記フレームの上部に亘って連結された上部部材とを備え、前記回転体が前記上部部材に支持されているアシストスーツ。
  2. 前記上部部材は、右及び左のフレームの前記フレームの上部に亘って連結された上部板部材であり、
    前記本体部は、右及び左のフレームの前記フレームの中間部に亘って連結された中間部板部材を更に備えている請求項1に記載のアシストスーツ。
  3. 前記回転体の右又は左の前記出力軸側の端部を支持する第1軸受け部を、前記伝動機構に備えて、前記伝動機構を前記本体部に連結し、
    前記回転体の右又は左の前記出力軸側の反対側の端部を支持する第2軸受け部を備え、前記第2軸受け部を前記本体部に連結して、
    前記第1及び第2軸受け部により、前記回転体を前記回転軸芯周りに回転自在に支持している請求項1又は2に記載のアシストスーツ。
  4. 前記電動モータを前記伝動機構に連結することにより、前記伝動機構を介して前記電動モータを前記本体部に連結している請求項に記載のアシストスーツ。
  5. 前記回転体を覆うカバーを備えている請求項1〜のうちのいずれか一つに記載のアシストスーツ。
  6. 前記カバーが、固定部分と、着脱自在な着脱部分とを備えており、
    前記固定部分に開口部を備えて、前記ワイヤが前記開口部を通って前記回転体に巻き取り及び繰り出される請求項に記載のアシストスーツ。
  7. 前記回転体と前記伝動機構とを、連結及び分離自在な連結部材を介して連結して、
    前記着脱部分を取り外した状態で、前記回転体を前記伝動機構から取り外し自在に構成している請求項に記載のアシストスーツ。
JP2015227688A 2015-11-20 2015-11-20 アシストスーツ Active JP6541553B2 (ja)

Priority Applications (5)

Application Number Priority Date Filing Date Title
JP2015227688A JP6541553B2 (ja) 2015-11-20 2015-11-20 アシストスーツ
KR1020187011365A KR102062998B1 (ko) 2015-11-20 2016-11-17 어시스트 슈트
CN201680063412.7A CN108136591B (zh) 2015-11-20 2016-11-17 辅助服
PCT/JP2016/084072 WO2017086378A1 (ja) 2015-11-20 2016-11-17 アシストスーツ
EP16866379.7A EP3378606B1 (en) 2015-11-20 2016-11-17 Assistance suit

Applications Claiming Priority (1)

Application Number Priority Date Filing Date Title
JP2015227688A JP6541553B2 (ja) 2015-11-20 2015-11-20 アシストスーツ

Publications (2)

Publication Number Publication Date
JP2017094422A JP2017094422A (ja) 2017-06-01
JP6541553B2 true JP6541553B2 (ja) 2019-07-10

Family

ID=58803457

Family Applications (1)

Application Number Title Priority Date Filing Date
JP2015227688A Active JP6541553B2 (ja) 2015-11-20 2015-11-20 アシストスーツ

Country Status (1)

Country Link
JP (1) JP6541553B2 (ja)

Family Cites Families (8)

* Cited by examiner, † Cited by third party
Publication number Priority date Publication date Assignee Title
JP3024978U (ja) * 1995-10-13 1996-06-07 吉村 敏正 背負い式荷物持ち上げ装置
KR0152874B1 (ko) * 1995-11-30 1998-10-15 이종수 자동창고용 입출고장치
JP6008836B2 (ja) * 2010-04-09 2016-10-19 ロッキード・マーチン・コーポレイションLockheed Martin Corporation 携帯型荷吊り上げシステム
CA2796088C (en) * 2010-04-09 2018-02-06 Ekso Bionics Exoskeleton load handling system and method of use
JP5909063B2 (ja) * 2011-09-06 2016-04-26 国立大学法人 和歌山大学 パワーアシストロボット装置
WO2014006850A1 (ja) * 2012-07-05 2014-01-09 パナソニック株式会社 支援装置、動作支援装置及び筋力訓練支援装置
WO2015132850A1 (ja) * 2014-03-03 2015-09-11 三菱電機株式会社 エレベータ用巻上機
JP6148192B2 (ja) * 2014-03-20 2017-06-14 株式会社クボタ アシストスーツ

Also Published As

Publication number Publication date
JP2017094422A (ja) 2017-06-01

Similar Documents

Publication Publication Date Title
CN108430714B (zh) 辅助器具
JP6660827B2 (ja) アシスト器具
WO2018117184A1 (ja) アシスト器具
JP6541553B2 (ja) アシストスーツ
JP2018002343A (ja) アシスト器具
JP6541552B2 (ja) アシストスーツ
JP6624940B2 (ja) アシスト器具
JP6581962B2 (ja) アシスト器具
JP6775473B2 (ja) アシスト器具
JP6837424B2 (ja) 荷物保持用のハンド部
JP6785744B2 (ja) アシスト器具
JP6905842B2 (ja) 荷物保持用のハンド部
JP6581961B2 (ja) アシスト器具
EP3647255A1 (en) Hand part for holding baggage, and assistance implement
JP6671179B2 (ja) アシスト器具
JP2018158407A (ja) 荷物保持用のハンド部
JP6671180B2 (ja) アシスト器具
JP6833665B2 (ja) アシスト器具
JP6854732B2 (ja) 荷物保持用のハンド部
JP6833633B2 (ja) アシスト器具
JP6783171B2 (ja) アシスト器具
JP2019011152A (ja) アシスト器具
JP6905891B2 (ja) 荷物保持用のハンド部
JP6804354B2 (ja) 荷物保持用のハンド部
JP6624941B2 (ja) アシスト器具

Legal Events

Date Code Title Description
A621 Written request for application examination

Free format text: JAPANESE INTERMEDIATE CODE: A621

Effective date: 20171222

A131 Notification of reasons for refusal

Free format text: JAPANESE INTERMEDIATE CODE: A131

Effective date: 20181023

A521 Written amendment

Free format text: JAPANESE INTERMEDIATE CODE: A523

Effective date: 20181221

TRDD Decision of grant or rejection written
A01 Written decision to grant a patent or to grant a registration (utility model)

Free format text: JAPANESE INTERMEDIATE CODE: A01

Effective date: 20190514

A61 First payment of annual fees (during grant procedure)

Free format text: JAPANESE INTERMEDIATE CODE: A61

Effective date: 20190611

R150 Certificate of patent or registration of utility model

Ref document number: 6541553

Country of ref document: JP

Free format text: JAPANESE INTERMEDIATE CODE: R150