JP6480098B2 - 半導体装置 - Google Patents

半導体装置 Download PDF

Info

Publication number
JP6480098B2
JP6480098B2 JP2013226712A JP2013226712A JP6480098B2 JP 6480098 B2 JP6480098 B2 JP 6480098B2 JP 2013226712 A JP2013226712 A JP 2013226712A JP 2013226712 A JP2013226712 A JP 2013226712A JP 6480098 B2 JP6480098 B2 JP 6480098B2
Authority
JP
Japan
Prior art keywords
insulating substrate
semiconductor device
metal support
pressing portion
case
Prior art date
Legal status (The legal status is an assumption and is not a legal conclusion. Google has not performed a legal analysis and makes no representation as to the accuracy of the status listed.)
Active
Application number
JP2013226712A
Other languages
English (en)
Other versions
JP2015088653A (ja
Inventor
高橋 卓也
卓也 高橋
義貴 大坪
義貴 大坪
Current Assignee (The listed assignees may be inaccurate. Google has not performed a legal analysis and makes no representation or warranty as to the accuracy of the list.)
Mitsubishi Electric Corp
Original Assignee
Mitsubishi Electric Corp
Priority date (The priority date is an assumption and is not a legal conclusion. Google has not performed a legal analysis and makes no representation as to the accuracy of the date listed.)
Filing date
Publication date
Application filed by Mitsubishi Electric Corp filed Critical Mitsubishi Electric Corp
Priority to JP2013226712A priority Critical patent/JP6480098B2/ja
Priority to US14/296,778 priority patent/US9633918B2/en
Priority to DE102014217266.7A priority patent/DE102014217266B4/de
Priority to CN201410475125.XA priority patent/CN104600038B/zh
Publication of JP2015088653A publication Critical patent/JP2015088653A/ja
Application granted granted Critical
Publication of JP6480098B2 publication Critical patent/JP6480098B2/ja
Active legal-status Critical Current
Anticipated expiration legal-status Critical

Links

Images

Classifications

    • HELECTRICITY
    • H01ELECTRIC ELEMENTS
    • H01LSEMICONDUCTOR DEVICES NOT COVERED BY CLASS H10
    • H01L23/00Details of semiconductor or other solid state devices
    • H01L23/02Containers; Seals
    • H01L23/04Containers; Seals characterised by the shape of the container or parts, e.g. caps, walls
    • HELECTRICITY
    • H01ELECTRIC ELEMENTS
    • H01LSEMICONDUCTOR DEVICES NOT COVERED BY CLASS H10
    • H01L23/00Details of semiconductor or other solid state devices
    • H01L23/32Holders for supporting the complete device in operation, i.e. detachable fixtures
    • HELECTRICITY
    • H01ELECTRIC ELEMENTS
    • H01LSEMICONDUCTOR DEVICES NOT COVERED BY CLASS H10
    • H01L23/00Details of semiconductor or other solid state devices
    • H01L23/562Protection against mechanical damage
    • HELECTRICITY
    • H01ELECTRIC ELEMENTS
    • H01LSEMICONDUCTOR DEVICES NOT COVERED BY CLASS H10
    • H01L24/00Arrangements for connecting or disconnecting semiconductor or solid-state bodies; Methods or apparatus related thereto
    • H01L24/01Means for bonding being attached to, or being formed on, the surface to be connected, e.g. chip-to-package, die-attach, "first-level" interconnects; Manufacturing methods related thereto
    • HELECTRICITY
    • H10SEMICONDUCTOR DEVICES; ELECTRIC SOLID-STATE DEVICES NOT OTHERWISE PROVIDED FOR
    • H10DINORGANIC ELECTRIC SEMICONDUCTOR DEVICES
    • H10D62/00Semiconductor bodies, or regions thereof, of devices having potential barriers
    • H10D62/80Semiconductor bodies, or regions thereof, of devices having potential barriers characterised by the materials
    • H10D62/83Semiconductor bodies, or regions thereof, of devices having potential barriers characterised by the materials being Group IV materials, e.g. B-doped Si or undoped Ge
    • H10D62/8303Diamond
    • HELECTRICITY
    • H10SEMICONDUCTOR DEVICES; ELECTRIC SOLID-STATE DEVICES NOT OTHERWISE PROVIDED FOR
    • H10DINORGANIC ELECTRIC SEMICONDUCTOR DEVICES
    • H10D62/00Semiconductor bodies, or regions thereof, of devices having potential barriers
    • H10D62/80Semiconductor bodies, or regions thereof, of devices having potential barriers characterised by the materials
    • H10D62/85Semiconductor bodies, or regions thereof, of devices having potential barriers characterised by the materials being Group III-V materials, e.g. GaAs
    • H10D62/8503Nitride Group III-V materials, e.g. AlN or GaN
    • HELECTRICITY
    • H01ELECTRIC ELEMENTS
    • H01LSEMICONDUCTOR DEVICES NOT COVERED BY CLASS H10
    • H01L2224/00Indexing scheme for arrangements for connecting or disconnecting semiconductor or solid-state bodies and methods related thereto as covered by H01L24/00
    • H01L2224/01Means for bonding being attached to, or being formed on, the surface to be connected, e.g. chip-to-package, die-attach, "first-level" interconnects; Manufacturing methods related thereto
    • H01L2224/26Layer connectors, e.g. plate connectors, solder or adhesive layers; Manufacturing methods related thereto
    • H01L2224/31Structure, shape, material or disposition of the layer connectors after the connecting process
    • H01L2224/32Structure, shape, material or disposition of the layer connectors after the connecting process of an individual layer connector
    • H01L2224/321Disposition
    • H01L2224/32151Disposition the layer connector connecting between a semiconductor or solid-state body and an item not being a semiconductor or solid-state body, e.g. chip-to-substrate, chip-to-passive
    • H01L2224/32221Disposition the layer connector connecting between a semiconductor or solid-state body and an item not being a semiconductor or solid-state body, e.g. chip-to-substrate, chip-to-passive the body and the item being stacked
    • H01L2224/32225Disposition the layer connector connecting between a semiconductor or solid-state body and an item not being a semiconductor or solid-state body, e.g. chip-to-substrate, chip-to-passive the body and the item being stacked the item being non-metallic, e.g. insulating substrate with or without metallisation
    • HELECTRICITY
    • H01ELECTRIC ELEMENTS
    • H01LSEMICONDUCTOR DEVICES NOT COVERED BY CLASS H10
    • H01L2224/00Indexing scheme for arrangements for connecting or disconnecting semiconductor or solid-state bodies and methods related thereto as covered by H01L24/00
    • H01L2224/01Means for bonding being attached to, or being formed on, the surface to be connected, e.g. chip-to-package, die-attach, "first-level" interconnects; Manufacturing methods related thereto
    • H01L2224/42Wire connectors; Manufacturing methods related thereto
    • H01L2224/47Structure, shape, material or disposition of the wire connectors after the connecting process
    • H01L2224/48Structure, shape, material or disposition of the wire connectors after the connecting process of an individual wire connector
    • H01L2224/4805Shape
    • H01L2224/4809Loop shape
    • H01L2224/48091Arched
    • HELECTRICITY
    • H01ELECTRIC ELEMENTS
    • H01LSEMICONDUCTOR DEVICES NOT COVERED BY CLASS H10
    • H01L2224/00Indexing scheme for arrangements for connecting or disconnecting semiconductor or solid-state bodies and methods related thereto as covered by H01L24/00
    • H01L2224/01Means for bonding being attached to, or being formed on, the surface to be connected, e.g. chip-to-package, die-attach, "first-level" interconnects; Manufacturing methods related thereto
    • H01L2224/42Wire connectors; Manufacturing methods related thereto
    • H01L2224/47Structure, shape, material or disposition of the wire connectors after the connecting process
    • H01L2224/48Structure, shape, material or disposition of the wire connectors after the connecting process of an individual wire connector
    • H01L2224/484Connecting portions
    • H01L2224/4847Connecting portions the connecting portion on the bonding area of the semiconductor or solid-state body being a wedge bond
    • H01L2224/48472Connecting portions the connecting portion on the bonding area of the semiconductor or solid-state body being a wedge bond the other connecting portion not on the bonding area also being a wedge bond, i.e. wedge-to-wedge
    • HELECTRICITY
    • H01ELECTRIC ELEMENTS
    • H01LSEMICONDUCTOR DEVICES NOT COVERED BY CLASS H10
    • H01L2224/00Indexing scheme for arrangements for connecting or disconnecting semiconductor or solid-state bodies and methods related thereto as covered by H01L24/00
    • H01L2224/73Means for bonding being of different types provided for in two or more of groups H01L2224/10, H01L2224/18, H01L2224/26, H01L2224/34, H01L2224/42, H01L2224/50, H01L2224/63, H01L2224/71
    • H01L2224/732Location after the connecting process
    • H01L2224/73251Location after the connecting process on different surfaces
    • H01L2224/73265Layer and wire connectors
    • HELECTRICITY
    • H01ELECTRIC ELEMENTS
    • H01LSEMICONDUCTOR DEVICES NOT COVERED BY CLASS H10
    • H01L2924/00Indexing scheme for arrangements or methods for connecting or disconnecting semiconductor or solid-state bodies as covered by H01L24/00
    • H01L2924/10Details of semiconductor or other solid state devices to be connected
    • H01L2924/11Device type
    • H01L2924/13Discrete devices, e.g. 3 terminal devices
    • H01L2924/1304Transistor
    • H01L2924/1305Bipolar Junction Transistor [BJT]
    • H01L2924/13055Insulated gate bipolar transistor [IGBT]

Landscapes

  • Engineering & Computer Science (AREA)
  • Computer Hardware Design (AREA)
  • Microelectronics & Electronic Packaging (AREA)
  • Power Engineering (AREA)
  • Physics & Mathematics (AREA)
  • Condensed Matter Physics & Semiconductors (AREA)
  • General Physics & Mathematics (AREA)
  • Cooling Or The Like Of Semiconductors Or Solid State Devices (AREA)

Description

本発明は、例えば大電流の制御などに用いられる半導体装置に関する。
特許文献1には、ベース板を有しないベースレス構造の半導体装置が開示されている。この半導体装置は、絶縁基板を接着剤でケースに固定するものである。
特開平7−326711号公報
ベースレス構造の半導体装置は、ベース板がないので剛性が低い。そのため、ねじ締めなどにより半導体装置をヒートシンクに固定する際に絶縁基板に力が及ぼされ、絶縁基板が上に凸に反ることがある。絶縁基板が上に凸に反ると絶縁基板にクラックが生じたり、絶縁基板とヒートシンクとの間の熱抵抗が増加したりする問題があった。
本発明は、上述のような課題を解決するためになされたもので、絶縁基板が上に凸に反ることを抑制できる半導体装置を提供することを目的とする。
本願の発明に係る半導体装置は、絶縁基板と、該絶縁基板の上面に固定された半導体素子と、該半導体素子を囲む包囲部を有する、樹脂で形成されたケースと、端部が該包囲部に固定され、該絶縁基板の上に位置する金属支持体と、該絶縁基板が上に凸に反らないように、該金属支持体から下方に伸びる押さえ部と、該絶縁基板と該ケースを接着する接着剤と、を備え、該絶縁基板は、該金属支持体の復元力が付与された該押さえ部により下方に押圧されることで下に凸に反り、該絶縁基板の下面は該ケースの下面よりも下に位置することを特徴とする。



本発明によれば、押さえ部が絶縁基板の上方への変位を阻止するので、絶縁基板が上に凸に反ることを抑制できる。
本発明の実施の形態1に係る半導体装置の断面図である。 半導体装置の平面図である。 金属支持体等の斜視図である。 半導体装置をヒートシンクに固定することを示す図である。 本発明の実施の形態2に係る半導体装置の断面図である。 本発明の実施の形態3に係る半導体装置の断面図である。 本発明の実施の形態4に係る半導体装置の断面図である。 半導体装置の一部断面図である。 接着剤を熱硬化させる工程を説明する図である。 本発明の実施の形態5に係る半導体装置の断面図である。 本発明の実施の形態6に係る半導体装置の断面図である。 本発明の実施の形態7に係る半導体装置の断面図である。 本発明の実施の形態8に係る半導体装置の断面図である。 本発明の実施の形態9に係る半導体装置の断面図である。
本発明の実施の形態に係る半導体装置について図面を参照して説明する。同じ又は対応する構成要素には同じ符号を付し、説明の繰り返しを省略する場合がある。
実施の形態1.
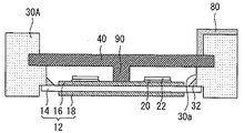
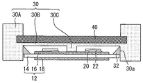
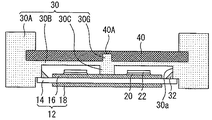
図1は、本発明の実施の形態1に係る半導体装置10の断面図である。半導体装置10は絶縁基板12を備えている。絶縁基板12は、セラミック基板14、セラミック基板14の上面側に形成された金属パターン16、及びセラミック基板14の下面側に形成された金属膜18を備えている。金属パターン16と金属膜18は例えばアルミで形成されている。このように、絶縁基板12は、セラミック基板14の両面にアルミを形成した構成である。
絶縁基板12の上面には、はんだ20によって、半導体素子22が固定されている。半導体素子22は、IGBT(Insulated Gate Bipolar Transistor)又はダイオードなどであるが、特にこれらに限定されない。
半導体装置10は、例えばPPS樹脂(ポリフェニレンサルファイド樹脂)で形成されたケース30を備えている。ケース30は、包囲部30A、延伸部30B、及び押さえ部30Cを備えている。包囲部30Aは半導体素子22を囲む部分である。延伸部30Bは、包囲部30Aから絶縁基板12の上方に伸びる部分である。押さえ部30Cは、絶縁基板12が上に凸に反らないように、絶縁基板12の上方から絶縁基板12の中央部を押さえる部分である。
延伸部30Bには金属支持体40が乗せられている。金属支持体40は棒状の銅で形成されている。金属支持体40の端部は、例えばインサート成形により、包囲部30Aに固定されている。つまり、金属支持体40の端部は包囲部30Aに埋め込まれている。この金属支持体40は、絶縁基板12の上に位置している。
図2は、半導体装置10の平面図である。ケース30の包囲部30Aの四隅には貫通孔30Dが形成されている。そして、金属支持体40は絶縁基板12の中央部を横断するように設けられている。押さえ部30Cの位置は、破線で示されているとおり、絶縁基板12の中央の直上である。
図3は、金属支持体40等の斜視図である。金属支持体40は、延伸部30B及び押さえ部30Cの直上に位置している。押さえ部30Cは金属支持体40から下方に伸びているので、押さえ部30Cの上方への変位は金属支持体40によって抑制されている。
図1の説明に戻る。絶縁基板12とケース30は接着剤32で接着されている。具体的には、ケース30の包囲部30Aの側面30aとセラミック基板14が接着剤32で接着されている。また、ケース30の段差部30bにセラミック基板14の端部が接触している。
図4は、半導体装置10をヒートシンク50に固定することを示す図である。ヒートシンク50の表面には放熱グリス52が塗布されている。また、ヒートシンク50にはねじ穴50Aが形成されている。貫通孔30Dを通したねじ54をヒートシンク50のねじ穴50Aに締める。これにより、放熱グリス52を介して、金属膜18とヒートシンク50を接触させる。本発明の実施の形態1に係る半導体装置10は、上記のとおり、ヒートシンク50に固定される。
半導体装置10をヒートシンク50に取り付ける際のねじ締めによりケース30が歪むと、絶縁基板12が上に凸に反るおそれがある。しかしながら、本発明の実施の形態1に係る半導体装置10では、押さえ部30Cが絶縁基板12の中央部を下方に押さえつけるので、絶縁基板12が上に凸に反ることを抑制できる。しかも、押さえ部30Cの上には金属支持体40があるので、押さえ部30Cが絶縁基板12に押されて上方に変位することはない。従って、絶縁基板12が上に凸に反ることを確実に防止できる。
また、半導体装置10を構成する部材間には線膨張係数差が存在する。そのため、パワーサイクルなどの温度変化により、絶縁基板が上下方向に変位すると、はんだに引張応力を及ぼすと考えられる。はんだに引張応力が及ぼされると、はんだにクラックが入るおそれがある。しかしながら、本発明の実施の形態1に係る半導体装置10は、押さえ部30Cにより絶縁基板12の変位を抑制するため、はんだ20のクラックを防止できる。さらに、絶縁基板12の変位抑制により、放熱グリス52などの放熱材が絶縁基板12とヒートシンク50の間から押し出されるポンピングアウトを抑制することができる。
本発明の実施の形態1に係る金属支持体40は銅で形成され、ケース30はPPS樹脂で形成されているので、金属支持体40とケース30の熱膨張係数はほぼ等しい。従って、金属支持体40とケース30の熱膨張係数の差により両者が変形することを回避できるので、上記の効果を確実に得ることができる。
ところで、絶縁基板12の金属パターン16と金属膜18はアルミで形成されているので、これらを銅で形成した場合などと比較して、絶縁基板12の剛性は低い。剛性の低い絶縁基板12の反りは、押さえ部30C及び金属支持体40の剛性を高めることなく容易に抑制できる。従って、押さえ部30Cと金属支持体40の材料として剛性の低い材料を採用できるので、材料選択の幅が広がる。また、押さえ部30Cと金属支持体40の厚さ又は幅を小さくして、コスト削減することもできる。
金属支持体40の形状は、絶縁基板12が上に凸に反ることを防止できれば、特に限定されない。例えば、金属支持体として平板を用いても良い。また、金属支持体を十字型に形成して、金属支持体の4つの端部を包囲部30Aに固定してもよい。この場合、十字型の金属支持体のクロスする部分を押さえ部の直上に位置させると、押さえ部の変位抑制効果を高めることができる。
押さえ部30Cは絶縁基板12に接触することが好ましいが、押さえ部30Cと絶縁基板12の間に僅かな隙間があっても、絶縁基板12が大きく上に凸に反ることを抑制できる。従って、押さえ部30Cと絶縁基板12は接触させなくてもよい。
半導体素子22は珪素で形成されることが多いが、珪素に比べてバンドギャップが大きいワイドバンドギャップ半導体によって形成してもよい。ワイドバンドギャップ半導体としては、例えば炭化珪素、窒化ガリウム系材料、又はダイヤモンドがある。ワイドバンドギャップ半導体で形成した半導体素子22は、珪素で形成した半導体素子よりも、高電流密度で発熱量が大きい。この場合、絶縁基板12が大きく反ることが懸念されるが、本発明の実施の形態1に係る半導体装置10では、押さえ部30Cにより絶縁基板12の反りを抑制できる。その他、本発明の特徴を失わない範囲で様々な変形が可能である。なお、これらの変形は以下の実施の形態に係る半導体装置にも応用できる。
以下の実施の形態に係る半導体装置については、実施の形態1に係る半導体装置10と共通点が多いので、半導体装置10との相違点を中心に説明する。
実施の形態2.
図5は、本発明の実施の形態2に係る半導体装置の断面図である。この半導体装置は、押さえ部30Eと押さえ部30Fを備えている。押さえ部30Eと押さえ部30Fが絶縁基板12に接することで、絶縁基板12が上に凸に反ることを防止する。このように、押さえ部を複数備えることで絶縁基板12が上に凸に反ることを確実に防止できる。
ところで、絶縁基板が反るとき絶縁基板は中央部で変位量が最大となる。そのため、実施の形態1では押さえ部30Cで絶縁基板12の中央部を押さえた。しかしながら、絶縁基板の反りを抑制できる限り、実施の形態2に係る押さえ部30E、30Fのように絶縁基板12の非中央部を押さえてもよい。また、押さえ部の数は特に限定されない。
実施の形態3.
図6は、本発明の実施の形態3に係る半導体装置の断面図である。押さえ部60は、例えばゴムなどの弾性体で形成されている。押さえ部60はケース30とは別部材である。押さえ部60により絶縁基板12が上に凸に反ることを抑制できる。また、絶縁基板12を上に凸に反らせる力が非常に強い場合、押さえ部により絶縁基板の変位を完全に防止してしまうと、絶縁基板のクラックの原因となる。しかし、弾性体により絶縁基板の僅かな反りを許容することで、クラックを防止できる。
実施の形態4.
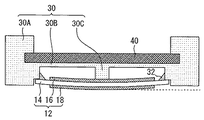
図7は、本発明の実施の形態4に係る半導体装置の断面図である。絶縁基板12は、押さえ部30Cにより下方に押圧されることで下に凸に反っている。また、絶縁基板12の下面はケース30の下面よりも下に位置している。
本発明の実施の形態4に係る半導体装置の製造方法を説明する。図8は、絶縁基板12とケース30を接着する前の半導体装置の一部断面図である。接着剤32は塗布されているだけで、熱硬化前である。絶縁基板12の下面はケース30の下面よりも距離yだけ下に位置している。
接着剤32を熱硬化させる工程について、図9を参照しつつ説明する。この工程では、ねじ穴70Aを有するキュアベース板70を利用する。まず、ねじ72をケース30の貫通孔30Dに通しねじ穴70Aに締めることで、半導体装置をキュアベース板70に固定する。このとき、絶縁基板12の下面とケース30の下面が同じ高さとなるため、金属支持体40が上に凸に反る。
次いで、キュアベース板70から絶縁基板12に熱供給して、接着剤32を熱硬化させる。こうして、絶縁基板12とケース30を接着する。次いで、ねじ72を緩めて半導体装置をキュアベース板70から取り出すと、弾性を有する金属支持体40の復元力により押さえ部30Cが下方に変位する。そして押さえ部30Cにより絶縁基板12が下方に押圧され、絶縁基板12が下に凸に反る。
ここで、絶縁基板が上に凸に反ると、絶縁基板とヒートシンクの接触面積が少なくなるので、熱抵抗が悪化する。しかし、本発明の実施の形態4に係る半導体装置は、押さえ部30Cにより絶縁基板12を下に凸に反らせることができるので、熱抵抗の悪化を回避できる。
実施の形態5.
図10は、本発明の実施の形態5に係る半導体装置の断面図である。金属支持体40は凹部40Aを有している。そして、凹部40Aはケース30の樹脂30Gで満たされている。樹脂30Gはインサート成形で形成できる。凹部40Aに樹脂30Gを満たすことで、金属支持体40とケース30の接合面積を増やすことができるので、押さえ部30Cの剛性を高めることができる。よって、絶縁基板12が上に凸に反ることを確実に防止できる。
実施の形態6.
図11は、本発明の実施の形態6に係る半導体装置の断面図である。絶縁基板12は接着剤32のみを介して包囲部30Aと接している。そのため、絶縁基板12と包囲部30Aは直接接触していない。絶縁基板12の外周部がケース30よりもヤング率の小さい接着剤32のみと接することで、絶縁基板12の変位の応力が緩和され絶縁基板12が割れにくくなる。
実施の形態7.
図12は、本発明の実施の形態7に係る半導体装置の断面図である。この半導体装置は、金属支持体40に接続された電極80を備えている。また、金属支持体40と電極80を同一部材で形成しても良い。そして、金属支持体40はワイヤ82、84により半導体素子22に接続されている。そのため、金属支持体40は、押さえ部30Cを固定する機能に加えて、半導体素子22の電極としての機能も有する。従って、半導体装置内における部品の実装密度を高め半導体装置内部の空間を効率的に利用できる。これは、半導体装置の小型化に寄与する。
実施の形態8.
図13は、本発明の実施の形態8に係る半導体装置の断面図である。押さえ部90は金属支持体40と一体的に金属で形成されている。そして、押さえ部90は、はんだ92により半導体素子22の電極に固定されている。従って、電極80と半導体素子22をワイヤなどで接続する必要がないので、製造コストを低減できる。なお、更に製造コストを低減するために、電極80、金属支持体40、及び押さえ部90を一体的に金属で形成しても良い。
実施の形態9.
図14は、本発明の実施の形態9に係る半導体装置の断面図である。押さえ部90は金属支持体40と一体的に金属で形成されている。そして、押さえ部90は、半導体素子22の裏面電極と電気的に接続された金属パターン16に固定されている。押さえ部90の応力、絶縁基板12が上に凸に反ろうとする力、又はこれら両方の力により、はんだを用いることなく、押さえ部90と金属パターン16が接触している。押さえ部90と金属パターン16の固定を確実にするためにはんだを用いてもよい。
本発明の実施の形態9に係る半導体装置によれば、電極80と金属パターン16をワイヤなどで接続する必要がないので、製造コストを低減できる。なお、更に製造コストを低減するために、電極80、金属支持体40、及び押さえ部90を一体的に金属で形成しても良い。
絶縁基板12は半導体素子22よりも破壊耐量が高い。そのため、押さえ部90を絶縁基板12に固定する本発明の実施の形態9に係る半導体装置は、押さえ部を半導体素子に固定する実施の形態8の半導体装置と比較して、押さえ部90が下方に及ぼす力を大きくすることができる。よって、絶縁基板12の変位を確実に抑制できる。
なお、ここまでで説明した各実施の形態に係る半導体装置の特徴は、適宜に組み合わせてもよい。
10 半導体装置、 12 絶縁基板、 14 セラミック基板、 16 金属パターン、 18 金属膜、 20 はんだ、 22 半導体素子、 30 ケース、 30A 包囲部、 30B 延伸部、 30C 押さえ部、 30D 貫通孔、 40 金属支持体

Claims (8)

  1. 絶縁基板と、
    前記絶縁基板の上面に固定された半導体素子と、
    前記半導体素子を囲む包囲部を有する、樹脂で形成されたケースと、
    端部が前記包囲部に固定され、前記絶縁基板の上に位置する金属支持体と、
    前記絶縁基板が上に凸に反らないように、前記金属支持体から下方に伸びる押さえ部と、
    前記絶縁基板と前記ケースを接着する接着剤と、を備え、
    前記絶縁基板は、前記金属支持体の復元力が付与された前記押さえ部により下方に押圧されることで下に凸に反り、
    前記絶縁基板の下面は前記ケースの下面よりも下に位置することを特徴とする半導体装置。
  2. 前記押さえ部を複数備えたことを特徴とする請求項1に記載の半導体装置。
  3. 前記押さえ部を弾性体で形成したことを特徴とする請求項1に記載の半導体装置。
  4. 前記金属支持体は銅で形成され、
    前記樹脂はPPS樹脂であることを特徴とする請求項1〜3のいずれか1項に記載の半導体装置。
  5. 前記絶縁基板は前記接着剤のみを介して前記包囲部と接したことを特徴とする請求項1〜4のいずれか1項に記載の半導体装置。
  6. 前記絶縁基板は、セラミック基板の両面にアルミを形成した構成であることを特徴とする請求項1〜5のいずれか1項に記載の半導体装置。
  7. 前記半導体素子は、ワイドバンドギャップ半導体によって形成されたことを特徴とする請求項1〜6のいずれか1項に記載の半導体装置。
  8. 前記ワイドバンドギャップ半導体は、炭化珪素、窒化ガリウム系材料、又はダイヤモンドであることを特徴とする請求項7に記載の半導体装置。
JP2013226712A 2013-10-31 2013-10-31 半導体装置 Active JP6480098B2 (ja)

Priority Applications (4)

Application Number Priority Date Filing Date Title
JP2013226712A JP6480098B2 (ja) 2013-10-31 2013-10-31 半導体装置
US14/296,778 US9633918B2 (en) 2013-10-31 2014-06-05 Semiconductor device
DE102014217266.7A DE102014217266B4 (de) 2013-10-31 2014-08-29 Halbleitervorrichtung
CN201410475125.XA CN104600038B (zh) 2013-10-31 2014-09-17 半导体装置

Applications Claiming Priority (1)

Application Number Priority Date Filing Date Title
JP2013226712A JP6480098B2 (ja) 2013-10-31 2013-10-31 半導体装置

Related Child Applications (1)

Application Number Title Priority Date Filing Date
JP2017196550A Division JP6421859B2 (ja) 2017-10-10 2017-10-10 半導体装置

Publications (2)

Publication Number Publication Date
JP2015088653A JP2015088653A (ja) 2015-05-07
JP6480098B2 true JP6480098B2 (ja) 2019-03-06

Family

ID=52811967

Family Applications (1)

Application Number Title Priority Date Filing Date
JP2013226712A Active JP6480098B2 (ja) 2013-10-31 2013-10-31 半導体装置

Country Status (4)

Country Link
US (1) US9633918B2 (ja)
JP (1) JP6480098B2 (ja)
CN (1) CN104600038B (ja)
DE (1) DE102014217266B4 (ja)

Families Citing this family (7)

* Cited by examiner, † Cited by third party
Publication number Priority date Publication date Assignee Title
DE112016006928B4 (de) * 2016-06-03 2025-06-05 Mitsubishi Electric Corporation Halbleitervorrichtungsmodul
EP3340291B1 (en) 2016-12-23 2024-10-30 Infineon Technologies AG Method for producing an electronic module assembly and electronic module assembly
CN111542921B (zh) * 2018-01-05 2024-03-19 三菱电机株式会社 半导体装置
CN112236855B (zh) 2018-12-10 2025-07-29 富士电机株式会社 半导体装置
US20230154808A1 (en) * 2020-10-23 2023-05-18 Mitsubishi Electric Corporation Semiconductor apparatus and method for manufacturing semiconductor apparatus
JP2023031825A (ja) * 2021-08-25 2023-03-09 富士電機株式会社 半導体装置及び半導体装置の製造方法
JP2023128645A (ja) * 2022-03-04 2023-09-14 富士電機株式会社 半導体装置の製造方法

Family Cites Families (19)

* Cited by examiner, † Cited by third party
Publication number Priority date Publication date Assignee Title
JP3316714B2 (ja) 1994-05-31 2002-08-19 三菱電機株式会社 半導体装置
DE19530264A1 (de) 1995-08-17 1997-02-20 Abb Management Ag Leistungshalbleitermodul
JP3519299B2 (ja) * 1999-01-06 2004-04-12 芝府エンジニアリング株式会社 半導体装置
US6218730B1 (en) * 1999-01-06 2001-04-17 International Business Machines Corporation Apparatus for controlling thermal interface gap distance
JP2003303933A (ja) * 2002-04-12 2003-10-24 Toyota Motor Corp 半導体装置の製造方法
JP2004179584A (ja) * 2002-11-29 2004-06-24 Toyo Jushi Kk トランジスタパッケージ及びその製造方法
DE102006006425B4 (de) 2006-02-13 2009-06-10 Semikron Elektronik Gmbh & Co. Kg Leistungshalbleitermodul in Druckkontaktausführung
JP2008244394A (ja) * 2007-03-29 2008-10-09 Sumitomo Electric Ind Ltd 半導体装置
US7851267B2 (en) 2007-10-18 2010-12-14 Infineon Technologies Ag Power semiconductor module method
US7944033B2 (en) * 2007-10-18 2011-05-17 Infineon Technologies Ag Power semiconductor module
DE102008051560A1 (de) 2007-10-18 2009-04-23 Infineon Technologies Ag Leistungshalbleitermodul
DE102009002191B4 (de) * 2009-04-03 2012-07-12 Infineon Technologies Ag Leistungshalbleitermodul, Leistungshalbleitermodulanordnung und Verfahren zur Herstellung einer Leistungshalbleitermodulanordnung
DE102009026558B3 (de) 2009-05-28 2010-12-02 Infineon Technologies Ag Leistungshalbleitermodul mit beweglich gelagerten Schaltungsträgern und Verfahren zur Herstellung eines solchen Leistungshalbleitermoduls
DE102009046258B3 (de) * 2009-10-30 2011-07-07 Infineon Technologies AG, 85579 Leistungshalbleitermodul und Verfahren zum Betrieb eines Leistungshalbleitermoduls
JP5450192B2 (ja) * 2010-03-24 2014-03-26 日立オートモティブシステムズ株式会社 パワーモジュールとその製造方法
WO2011136070A1 (ja) * 2010-04-27 2011-11-03 京セラ株式会社 弾性波装置およびその製造方法
DE102010041892A1 (de) 2010-10-01 2012-04-05 Semikron Elektronik Gmbh & Co. Kg Leistungshalbleitermodul mit einem Grundmodul und einem Verbindungsmodul
JP5669657B2 (ja) * 2011-04-11 2015-02-12 三菱電機株式会社 半導体装置
JP5665729B2 (ja) * 2011-12-27 2015-02-04 三菱電機株式会社 電力用半導体装置

Also Published As

Publication number Publication date
US20150115282A1 (en) 2015-04-30
DE102014217266A1 (de) 2015-04-30
DE102014217266B4 (de) 2023-11-16
CN104600038A (zh) 2015-05-06
US9633918B2 (en) 2017-04-25
CN104600038B (zh) 2017-07-18
JP2015088653A (ja) 2015-05-07

Similar Documents

Publication Publication Date Title
JP6480098B2 (ja) 半導体装置
JP6323325B2 (ja) 半導体装置、半導体装置の製造方法
JP6526323B2 (ja) パワーモジュール、パワー半導体装置及びパワーモジュール製造方法
JP6743916B2 (ja) 半導体装置及び半導体装置の製造方法
JP6768612B2 (ja) 半導体装置
JP6421859B2 (ja) 半導体装置
JP6548146B2 (ja) 回路構成体
JP6813259B2 (ja) 半導体装置
JP7247574B2 (ja) 半導体装置
JP6391527B2 (ja) パワー半導体モジュール
JP6907670B2 (ja) 半導体装置および半導体装置の製造方法
JP2010050395A (ja) 半導体装置およびその製造方法
JP2015090965A (ja) 半導体装置
JP2016054249A (ja) 半導体装置
JP6766744B2 (ja) 半導体モジュール
JP6364556B1 (ja) 電子装置
JP4046623B2 (ja) パワー半導体モジュールおよびその固定方法
JP6702431B2 (ja) 半導体装置
JP6080929B2 (ja) 半導体モジュール
JP3191112U (ja) 半導体装置及び半導体装置用ケース
JP5693395B2 (ja) 半導体装置
JP6771581B2 (ja) 半導体モジュール及び半導体装置
JP5124329B2 (ja) 半導体装置
JP5062189B2 (ja) 半導体装置の実装構造
JP4994025B2 (ja) 樹脂封止型電子機器

Legal Events

Date Code Title Description
A621 Written request for application examination

Free format text: JAPANESE INTERMEDIATE CODE: A621

Effective date: 20151217

A131 Notification of reasons for refusal

Free format text: JAPANESE INTERMEDIATE CODE: A131

Effective date: 20161004

A521 Request for written amendment filed

Free format text: JAPANESE INTERMEDIATE CODE: A523

Effective date: 20161026

A131 Notification of reasons for refusal

Free format text: JAPANESE INTERMEDIATE CODE: A131

Effective date: 20170207

A521 Request for written amendment filed

Free format text: JAPANESE INTERMEDIATE CODE: A523

Effective date: 20170309

A02 Decision of refusal

Free format text: JAPANESE INTERMEDIATE CODE: A02

Effective date: 20170725

A521 Request for written amendment filed

Free format text: JAPANESE INTERMEDIATE CODE: A523

Effective date: 20171010

A911 Transfer to examiner for re-examination before appeal (zenchi)

Free format text: JAPANESE INTERMEDIATE CODE: A911

Effective date: 20171019

A912 Re-examination (zenchi) completed and case transferred to appeal board

Free format text: JAPANESE INTERMEDIATE CODE: A912

Effective date: 20171215

A521 Request for written amendment filed

Free format text: JAPANESE INTERMEDIATE CODE: A523

Effective date: 20181130

A61 First payment of annual fees (during grant procedure)

Free format text: JAPANESE INTERMEDIATE CODE: A61

Effective date: 20190207

R150 Certificate of patent or registration of utility model

Ref document number: 6480098

Country of ref document: JP

Free format text: JAPANESE INTERMEDIATE CODE: R150

R250 Receipt of annual fees

Free format text: JAPANESE INTERMEDIATE CODE: R250

R250 Receipt of annual fees

Free format text: JAPANESE INTERMEDIATE CODE: R250

R250 Receipt of annual fees

Free format text: JAPANESE INTERMEDIATE CODE: R250

R250 Receipt of annual fees

Free format text: JAPANESE INTERMEDIATE CODE: R250