JP6459727B2 - 磁気リング、および、この磁気リングを有する回転センサ - Google Patents

磁気リング、および、この磁気リングを有する回転センサ Download PDF

Info

Publication number
JP6459727B2
JP6459727B2 JP2015075337A JP2015075337A JP6459727B2 JP 6459727 B2 JP6459727 B2 JP 6459727B2 JP 2015075337 A JP2015075337 A JP 2015075337A JP 2015075337 A JP2015075337 A JP 2015075337A JP 6459727 B2 JP6459727 B2 JP 6459727B2
Authority
JP
Japan
Prior art keywords
magnetic
region
circumferential direction
parts
force
Prior art date
Legal status (The legal status is an assumption and is not a legal conclusion. Google has not performed a legal analysis and makes no representation as to the accuracy of the status listed.)
Expired - Fee Related
Application number
JP2015075337A
Other languages
English (en)
Other versions
JP2016194486A (ja
Inventor
靖寛 北浦
靖寛 北浦
紀博 車戸
紀博 車戸
徹哉 近江
徹哉 近江
Current Assignee (The listed assignees may be inaccurate. Google has not performed a legal analysis and makes no representation or warranty as to the accuracy of the list.)
Denso Corp
Original Assignee
Denso Corp
Priority date (The priority date is an assumption and is not a legal conclusion. Google has not performed a legal analysis and makes no representation as to the accuracy of the date listed.)
Filing date
Publication date
Application filed by Denso Corp filed Critical Denso Corp
Priority to JP2015075337A priority Critical patent/JP6459727B2/ja
Priority to PCT/JP2016/001616 priority patent/WO2016157811A1/ja
Publication of JP2016194486A publication Critical patent/JP2016194486A/ja
Application granted granted Critical
Publication of JP6459727B2 publication Critical patent/JP6459727B2/ja
Expired - Fee Related legal-status Critical Current
Anticipated expiration legal-status Critical

Links

Images

Classifications

    • GPHYSICS
    • G01MEASURING; TESTING
    • G01DMEASURING NOT SPECIALLY ADAPTED FOR A SPECIFIC VARIABLE; ARRANGEMENTS FOR MEASURING TWO OR MORE VARIABLES NOT COVERED IN A SINGLE OTHER SUBCLASS; TARIFF METERING APPARATUS; MEASURING OR TESTING NOT OTHERWISE PROVIDED FOR
    • G01D5/00Mechanical means for transferring the output of a sensing member; Means for converting the output of a sensing member to another variable where the form or nature of the sensing member does not constrain the means for converting; Transducers not specially adapted for a specific variable
    • G01D5/12Mechanical means for transferring the output of a sensing member; Means for converting the output of a sensing member to another variable where the form or nature of the sensing member does not constrain the means for converting; Transducers not specially adapted for a specific variable using electric or magnetic means
    • G01D5/244Mechanical means for transferring the output of a sensing member; Means for converting the output of a sensing member to another variable where the form or nature of the sensing member does not constrain the means for converting; Transducers not specially adapted for a specific variable using electric or magnetic means influencing characteristics of pulses or pulse trains; generating pulses or pulse trains
    • GPHYSICS
    • G01MEASURING; TESTING
    • G01DMEASURING NOT SPECIALLY ADAPTED FOR A SPECIFIC VARIABLE; ARRANGEMENTS FOR MEASURING TWO OR MORE VARIABLES NOT COVERED IN A SINGLE OTHER SUBCLASS; TARIFF METERING APPARATUS; MEASURING OR TESTING NOT OTHERWISE PROVIDED FOR
    • G01D5/00Mechanical means for transferring the output of a sensing member; Means for converting the output of a sensing member to another variable where the form or nature of the sensing member does not constrain the means for converting; Transducers not specially adapted for a specific variable
    • G01D5/12Mechanical means for transferring the output of a sensing member; Means for converting the output of a sensing member to another variable where the form or nature of the sensing member does not constrain the means for converting; Transducers not specially adapted for a specific variable using electric or magnetic means
    • G01D5/244Mechanical means for transferring the output of a sensing member; Means for converting the output of a sensing member to another variable where the form or nature of the sensing member does not constrain the means for converting; Transducers not specially adapted for a specific variable using electric or magnetic means influencing characteristics of pulses or pulse trains; generating pulses or pulse trains
    • G01D5/245Mechanical means for transferring the output of a sensing member; Means for converting the output of a sensing member to another variable where the form or nature of the sensing member does not constrain the means for converting; Transducers not specially adapted for a specific variable using electric or magnetic means influencing characteristics of pulses or pulse trains; generating pulses or pulse trains using a variable number of pulses in a train

Landscapes

  • Physics & Mathematics (AREA)
  • General Physics & Mathematics (AREA)
  • Transmission And Conversion Of Sensor Element Output (AREA)

Description

本発明は、環状のリングに磁極部の形成された磁気リング、および、この磁気リングを有する回転センサに関するものである。
従来、例えば特許文献1に示されるように、特に自動車のクランク軸の角度位置を測定するための磁気多極エンコーダが提案されている。磁気多極エンコーダは、極性が交番するようにストリップ状に磁化された少なくとも1つの磁気トラック、および、基準位置を画定するための少なくとも1つの標識区画を有する。この標識区画は、磁化されていないか又は弱く磁化されているだけである中央の領域、および、中央の領域の両側で接し、互いに同じ極性で磁化されている2つのストリップを含んでいる。
特開2005−62189号公報
通常、磁性と磁力の相等しい2つの同極の間に、それとは磁性の異なる異極が位置する場合、その異極の磁界分布は対称形状を成す。しかしながら2つの同極に磁力差がある場合、より磁力の強い方向に磁界が偏るため、異極の磁界分布が対称形状を成さず、乱れることになる。
これに対して特許文献1に示される磁気多極エンコーダの標識区画(弱着磁部)は、上記したように磁化されていないか又は弱く磁化されているだけである中央の領域を含んでいる。そのため弱着磁部と磁気トラックの1つの磁極(磁性部)とに磁力差が生じ、弱着磁部と1つの磁性部との間に位置する磁性部にて構成される磁界分布に乱れが生じる。
そこで本発明は上記問題点に鑑み、弱着磁部と隣接する磁性部にて構成される磁界に乱れが生じることの抑制された磁気リング、および、この磁気リングを有する回転センサを提供することを目的とする。
上記した目的を達成するための開示された発明の1つは、環状を成すリング(20)と、
リングの外面(20b,20c)に形成された磁極部(30)と、を有する磁気リングであって、
磁極部は、磁性の異なる複数の第1磁性部(31)と第2磁性部(32)、および、第1磁性部と第2磁性部それぞれよりも磁力の低い1つの弱着磁部(33)を有し、
第1磁性部と第2磁性部とは、リングによって形作られる円の中心を直交する中心軸の周回方向に等ピッチで交互に形成され、複数の第1磁性部の内の1つが周回方向で並ぶ弱着磁部の2つの側面(33a,33b)の内の1つの第1側面(33a)と隣接し、複数の第2磁性部の内の1つが2つの側面の内の残り1つの第2側面(33b)と隣接しており、
第1側面と隣接する第1磁性部の構成する磁界における磁極部の形成面に直交する法線方向の成分の最大となる位置が、周回方向における第1側面と隣接する第1磁性部の中心からずれることが抑制されるように、第1側面に最も近い第2磁性部が第2側面に最も近い第2磁性部よりも磁力が低く、
第2側面と隣接する第2磁性部の構成する磁界における法線方向の成分の最大となる位置が、周回方向における第2側面と隣接する第2磁性部の中心からずれることが抑制されるように、第2側面に最も近い第1磁性部が第1側面に最も近い第1磁性部よりも磁力が低くなっている。
また開示された発明の1つは、環状を成すリング(20)と、
リングの外面(20b,20c)に形成された磁極部(30)と、を有する磁気リングであって、
磁極部は、磁性の異なる複数の第1磁性部(31)と第2磁性部(32)、および、第1磁性部と第2磁性部それぞれよりも磁力の低い1つの弱着磁部(33)を有し、
第1磁性部と第2磁性部とは、リングによって形作られる円の中心を直交する中心軸の周回方向に交互に形成され、複数の第1磁性部の内の1つが周回方向で並ぶ弱着磁部の2つの側面(33a,33b)の内の1つの第1側面(33a)と隣接し、複数の第2磁性部の内の1つが2つの側面の内の残り1つの第2側面(33b)と隣接しており、
第1側面と隣接する第1磁性部の構成する磁界における磁極部の形成面に直交する法線方向の成分の最大となる位置が、周回方向における第1側面と隣接する第1磁性部の中心からずれることが抑制されるように、第1側面に最も近い第2磁性部が第2側面に最も近い第2磁性部よりも磁力が低く、
第2側面と隣接する第2磁性部の構成する磁界における法線方向の成分の最大となる位置が、周回方向における第2側面と隣接する第2磁性部の中心からずれることが抑制されるように、第2側面に最も近い第1磁性部が第1側面に最も近い第1磁性部よりも磁力が低くなっており、
全ての第1磁性部の構成する磁界における法線方向の成分の最大となる位置が、周回方向における第1磁性部の中心からずれることが抑制されるように、第1磁性部と第2磁性部の形成領域において周回方向に第2側面から第1側面へと向かうにしたがって、各第2磁性部の周回方向の長さが徐々に短くなって磁力が徐々に低下し、
全ての第2磁性部の構成する磁界における法線方向の成分の最大となる位置が、周回方向における第2磁性部の中心からずれることが抑制されるように、第1磁性部と第2磁性部の形成領域において周回方向に第1側面から第2側面へと向かうにしたがって、各第1磁性部の周回方向の長さが徐々に短くなって磁力が徐々に低下している。
開示された発明の1つは、環状を成すリング(20)と、
リングの外面(20b,20c)に形成された磁極部(30)と、を有する磁気リングであって、
磁極部は、磁性の異なる複数の第1磁性部(31)と第2磁性部(32)、および、第1磁性部と第2磁性部それぞれよりも磁力の低い1つの弱着磁部(33)を有し、
第1磁性部と第2磁性部とは、リングによって形作られる円の中心を直交する中心軸の周回方向に交互に形成され、複数の第1磁性部の内の1つが周回方向で並ぶ弱着磁部の2つの側面(33a,33b)の内の1つの第1側面(33a)と隣接し、複数の第2磁性部の内の1つが2つの側面の内の残り1つの第2側面(33b)と隣接しており、
第1側面と隣接する第1磁性部の構成する磁界における磁極部の形成面に直交する法線方向の成分の最大となる位置が、周回方向における第1側面と隣接する第1磁性部の中心からずれることが抑制されるように、第1側面に最も近い第2磁性部が第2側面に最も近い第2磁性部よりも磁力が低く、
第2側面と隣接する第2磁性部の構成する磁界における法線方向の成分の最大となる位置が、周回方向における第2側面と隣接する第2磁性部の中心からずれることが抑制されるように、第2側面に最も近い第1磁性部が第1側面に最も近い第1磁性部よりも磁力が低くなっており、
第1磁性部と第2磁性部の形成領域において周回方向で第1側面と第2側面との間の所定の幅を有する領域を中間領域とし、第1側面と中間領域との間を第1領域、中間領域と第2側面との間の領域を第2領域とすると、
全ての第1磁性部の構成する磁界における法線方向の成分の最大となる位置が、周回方向における第1磁性部の中心からずれることが抑制されるように、
第2領域において周回方向に第2側面から中間領域へと向かうにしたがって、各第2磁性部の周回方向の長さが徐々に短くなって磁力が徐々に低下し、
中間領域に位置する複数の第2磁性部それぞれの周回方向の長さが等しくて磁力が互いに等しく、
第1領域において周回方向に中間領域から第1側面へと向かうにしたがって、各第2磁性部の周回方向の長さが徐々に短くなって磁力が徐々に低下し、
中間領域の複数の第2磁性部それぞれの磁力は、第2領域の複数の第2磁性部それぞれよりも磁力が低く、第1領域の複数の第2磁性部それぞれよりも磁力が高くなっており、
全ての第2磁性部の構成する磁界における法線方向の成分の最大となる位置が、周回方向における第2磁性部の中心からずれることが抑制されるように、
第1領域において周回方向に第1側面から中間領域へと向かうにしたがって、各第1磁性部の周回方向の長さが徐々に短くなって磁力が徐々に低下し、
中間領域に位置する複数の第1磁性部それぞれの周回方向の長さが等しくて磁力が互いに等しく、
第2領域において周回方向に中間領域から第2側面へと向かうにしたがって、各第1磁性部の周回方向の長さが徐々に短くなって磁力が徐々に低下し、
中間領域の複数の第1磁性部それぞれの磁力は、第1領域の複数の第1磁性部それぞれよりも磁力が低く、第2領域の複数の第1磁性部それぞれよりも磁力が高くなっている。
開示された発明の1つは、磁気リング(10)と、
磁気リングが回転することで形成される磁界を電気信号に変換する磁電変換部(50)と、を有する。
磁極部(30)が磁力の等しい第1磁性部(31)と第2磁性部(32)のみから成る場合、第1磁性部(31)が磁力の等しい第2磁性部(32)の間に位置するため、第1磁性部(31)の構成する磁界の法線成分の最大となる位置(最大位置)は第1磁性部(31)の中心に一致する。同様にして第2磁性部(32)の構成する磁界の最大位置は、第2磁性部(32)が磁力の等しい第1磁性部(31)の間に位置するため、第2磁性部(32)の中心に一致する。
しかしながら磁極部(30)が弱着磁部(33)を有する場合、弱着磁部(33)と第2磁性部(32)の磁力が異なるため、弱着磁部(33)と第2磁性部(32)との間の第1磁性部(31)の構成する磁界の最大位置が中心からずれる。同様にして、弱着磁部(33)と第1磁性部(31)の磁力が異なるため、弱着磁部(33)と第1磁性部(31)との間の第2磁性部(32)の構成する磁界の最大位置が中心からずれる。このずれ量は、弱着磁部(33)と磁性部(31,32)との磁力差に比例する。
そこで上記したように本発明では、第1側面(33a)に最も近い第2磁性部(32)と第2側面(33b)に最も近い第1磁性部(31)それぞれの磁力を低くしている。これにより弱着磁部(33)と磁性部(31,32)との磁力差が縮まり、弱着磁部(33)と第2磁性部(32)との間の第1磁性部(31)の構成する磁界の最大位置の中心からのずれが抑制される。同様にして、弱着磁部(33)と第1磁性部(31)との間の第2磁性部(32)の構成する磁界の最大位置の中心からのずれが抑制される。以上により、弱着磁部(33)と隣接する磁性部(21,22)にて構成される磁界に乱れが生じることが抑制される。
他の開示された発明の1つでは、全ての第1磁性部の構成する磁界における法線方向の成分の最大となる位置が、周回方向における第1磁性部の中心からずれることが抑制されるように、全ての第2磁性部それぞれの磁力が互いに異なり、第1磁性部と第2磁性部の形成領域において周回方向に第1側面から第2側面へと向かうにしたがって徐々に低下し、
全ての第2磁性部の構成する磁界における法線方向の成分の最大となる位置が、周回方向における第2磁性部の中心からずれることが抑制されるように、全ての第1磁性部それぞれの磁力が互いに異なり、第1磁性部と第2磁性部の形成領域において周回方向に第2側面から第1側面へと向かうにしたがって徐々に低下している。
これによれば、周回方向において1つの第1磁性部(31)を介して並ぶ2つの第2磁性部(32)の磁力差が縮まる。そのため、弱着磁部(33)と第2磁性部(32)との間に位置する第1磁性部(31)の構成する磁界の最大位置だけではなく、2つの第2磁性部(32)の間に位置する第1磁性部(31)の構成する磁界の最大位置の中心からのずれも抑制される。
同様にして上記発明によれば、周回方向において1つの第2磁性部(32)を介して並ぶ2つの第1磁性部(31)の磁力差が縮まる。そのため、弱着磁部(33)と第1磁性部(31)との間に位置する第2磁性部(32)の構成する磁界の最大位置だけではなく、2つの第1磁性部(31)の間に位置する第2磁性部(32)の構成する磁界の最大位置の中心からのずれも抑制される。
なお、特許請求の範囲に記載の請求項、および、課題を解決するための手段それぞれに記載の要素に括弧付きで符号をつけている。この括弧付きの符号は実施形態に記載の各構成要素との対応関係を簡易的に示すためのものであり、実施形態に記載の要素そのものを必ずしも示しているわけではない。括弧付きの符号の記載は、いたずらに特許請求の範囲を狭めるものではない。
第1実施形態に係る回転センサの概略構成を示す斜視図である。 磁極部を説明するための磁気リングの展開図である。 磁極部の構成する磁界を説明するための比較構成のモデル図である。 複数のS極部とN極部それぞれの磁力が等しい場合の磁界を説明するためのモデル図である。 S極部とN極部の磁力を選択的に低下させた場合の磁界を説明するためのモデル図である。 第1実施形態に係る磁極部の構成する磁界を示すモデル図である。 S極部とN極部の磁力を示す図表である。 S極部とN極部の磁力を示す図表である。 S極部とN極部の磁力を示す図表である。 S極部とN極部の具体的な構成を示す図表である。 S極部とN極部の磁力の変形例を示す図表である。 S極部とN極部の磁力の変形例を示す図表である。 S極部とN極部の磁力の変形例を示す図表である。 S極部とN極部の横幅の変形例を示す図表である。 S極部とN極部の横幅の変形例を示す図表である。 S極部とN極部の横幅の変形例を示す図表である。 回転センサの変形例を示す斜視図である。
以下、本発明をクランクシャフトの回転を検出する回転センサに適用した場合の実施形態を図に基づいて説明する。
(第1実施形態)
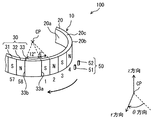
図1〜図9に基づいて本実施形態に係る回転センサを説明する。以下においては円柱座標を構成する3方向を、r方向、z方向、θ方向と示す。r方向はz方向と直交の関係にあり、θ方向はr方向の原点周りの角度を示す。r方向は特許請求の範囲に記載の法線方向に相当し、θ方向は特許請求の範囲に記載の周回方向に相当する。
図1に示すように回転センサ100は磁気リング10と磁電変換部50を有する。磁気リング10は円環状を成し、クランクシャフトなどの回転体に設置される。この回転体の回転によって磁気リング10から発せられる磁束が周期的に変化し、この周期的に変化する磁束が磁電変換部50を透過する。磁電変換部50は周期的に変化する磁束を電気信号に変換し、この電気信号を車両に搭載された電子制御装置に出力する。
磁気リング10はリング20と磁極部30を有する。リング20は円環状を成し、その外面に磁極部30が形成されている。本実施形態では図1に示すようにリング20の中心点CPが上記の円柱座標の原点と一致しており、リング20の内環面20aによって形作られる内円柱、および、外環面20bによって形作られる外円柱それぞれの端面がz方向に対して直交している。リング20はこの中心点CPをz方向に貫く中心軸周りに回転する。この回転によって磁極部30も回転し、磁電変換部50を透過する磁束が周期的に変化する。
磁極部30は磁性の異なる複数のS極部31とN極部32、および、極部31,32それぞれよりも磁力の低い1つの弱着磁部33を有する。図1および図2に示すように本実施形態では磁極部30がリング20の外環面20bに形成されている。複数のS極部31と複数のN極部32とはθ方向において環状を成すように等ピッチで交互に並んでいる。そして複数のS極部31の内の1つと複数のN極部32の内の1つとの間に弱着磁部33が位置し、磁極部30が全体形状として環状を成している。したがって弱着磁部33のθ方向に直交する2つの側面33a,33bの内の1つの第1側面33aにS極部31が隣接し、残り1つの第2側面33bにN極部32が隣接している。以下においてはθ方向において弱着磁部33を介さずに第1側面33aから第2側面33bに向かう方向を順方向、その逆を逆方向と示す。S極部31が特許請求の範囲に記載の第1磁性部に相当し、N極部32が特許請求の範囲に記載の第2磁性部に相当する。
S極部31とN極部32のθ方向の幅(横幅)は相等しく、弱着磁部33の横幅よりも短くなっている。本実施形態では上記の横幅を角度で表すと、S極部31とN極部32それぞれの横幅が6°、弱着磁部33の横幅が12°になっている。
磁極部30はS極部31とN極部32とを合計58個有し、S極部31とN極部32とをそれぞれ29個有している。以下においては構成を明りょうとするため、図2および図3に示すように順方向に交互に並ぶ合計58個のS極部31とN極部32とを1,2,3…58とナンバーリングして示す。これにより、例えば第1側面33aに隣接するS極部31は第1S極部31、第2側面33bに隣接するN極部32は第58N極部32と表される。
磁電変換部50は第1磁電変換素子51と第2磁電変換素子52を有する。これら磁電変換素子51,52はそれぞれr方向において磁極部30と所定のエアギャップを介して対向し、θ方向に並んで配置されている。本実施形態に係る磁電変換素子51,52はr方向に沿う磁束(磁極部30の形成面に直交する法線方向に沿う磁束)を検出するが、θ方向とz方向に沿う磁束は検出しない。
磁電変換素子51,52それぞれを貫くr方向に沿う磁束(以下、法線磁束と示す)は、磁気リング10が回転すると、その強さが周期的に変化する。r方向において中心点CPから遠ざかる方向を正とすると、N極部32の中心と対向している際に法線磁束は正の値が最大となり、S極部31の中心と対向している際に法線磁束は負の値が最大となる。したがって磁気リング10が6°回転する毎に法線磁束が正と負の最大値に周期的に変化する。ただし、磁電変換素子51,52が弱着磁部33と対向している場合、法線磁束は周期的に変化しなくなる。
本実施形態に係る磁電変換素子51,52それぞれはホール素子である。これら2つの磁電変換素子51,52の電気信号の差分値は、磁気リング10が6°回転する毎に周期的に0になる。そして弱着磁部33と磁電変換素子51,52とが対向する際に差分値はゼロとならず、弱着磁部33を介して第58N極部32から第1S極部31へと18°回転する間(差分値がゼロとなる間隔の3倍の間)有限の値となる。この差分値がゼロとなる間隔の3倍の間隔を基準として、差分値がゼロとなる数を順次カウントすることで回転角度を検出することができる。また差分値がゼロとなる間隔時間を検出することで回転数を検出することができる。なお上記のように差分をとることで外乱成分(ノイズ)が除去される。
次に、図3〜図9に基づいて磁極部30の磁力を説明する。図3に示すように磁極部30が弱着磁部33の代わりに新たな極部31,32を有し、全ての極部31,32の磁力が相等しい場合、法線磁束は全ての極部31,32それぞれの中心において最大となる。そしてその間隔は6°となる。
しかしながら磁極部30が弱着磁部33を有し、全ての極部31,32の磁力が相等しい場合、第1S極部31と第58N極部32の法線磁束の最大となる位置(以下、最大位置と示す)がその中心からずれることとなる。図4にて破線矢印で示すように第1S極部31と第58N極部32の中心の磁束はr方向だけではなくθ方向の磁束成分を有することとなる。この結果、第1S極部31と第2N極部32間、および、第57S極部31と第58N極部32間の最大位置間隔それぞれが6°からずれる。このためクランクシャフトなどの回転体の回転角度の検出精度が低下する虞がある。
上記した最大位置間隔の6°からのずれ量は、第1S極部31の隣に位置する弱着磁部33と第2N極部32との磁力差、そして第58N極部32の隣に位置する弱着磁部33と第57S極部31との磁力差に依存する。したがって図5においてN−,S−と示すように、第2N極部32と第57S極部31それぞれの磁力を低下させる。これにより弱着磁部33と第2N極部32との磁力差、および、弱着磁部33と第57S極部31との磁力差それぞれが縮まり、第1S極部31と第58N極部32の法線磁束の最大位置が中心からずれることが抑制される。この結果、第1S極部31と第2N極部32との間、および、第57S極部31と第58N極部32との間それぞれの最大位置間隔が6°からずれることが抑制される。
しかしながら図5にて破線矢印で示すように、第2N極部32と第57S極部31それぞれの磁力を低下した結果、第3S極部31と第56N極部32それぞれの法線磁束の最大位置がその中心からずれることとなる。そのため第2N極部32と第3S極部31との間、および、第57S極部31と第56N極部32との間の最大位置間隔それぞれが6°からずれる。そこでこのずれ量を少なくするために、今度は第4N極部32と第55S極部31それぞれの磁力を低下させる。これにより、第2N極部32と第4N極部32との磁力差、および、第57S極部31と第55S極部31との磁力差それぞれが縮まり、最大位置間隔の6°からのずれ量が少なくなる。以下同様にして、この磁力の低下に伴い新たな磁力差のずれが生じるが、それを順次補うように、58個全てのS極部31とN極部32の磁束を図7〜図9に示すように順次変化させる。すなわち、ナンバーリングが増大するにしたがってS極部31の磁力を順次一定の比率で低下させる。これとは反対にナンバーリングが減少するにしたがってN極部21の磁力を順次一定の比率で低下させる。別の言葉で表現すれば、全てのS極部31の法線磁束の最大位置が、S極部31の中心からずれることが抑制されるように、全てのN極部32それぞれの磁力を順方向に沿って徐々に低下させる。同様にして、全てのN極部32の法線磁束の最大位置が、N極部32の中心からずれることが抑制されるように、全てのS極部31それぞれの磁力を逆方向に沿って徐々に低下させる。これにより、図6にて極部31,32の極性を示すS,Nに対してナンバーリングを施して表すように、全てのS極部31の磁力が異なり、全てのN極部32の磁力が異なっている。
上記した磁力の低下幅は、次のように表すことができる。すなわちS極部31の磁力の低下幅は、全てのS極部31の磁力の内の最大値をM1max、最小値をM1min、磁力の異なるS極部31の総数をN1とすると、(M1max−M1min)/(N1−1)と表される。同様にしてN極部32の磁力の低下幅は、全てのN極部32の磁力の内の最大値をM2max、最小値をM2min、磁力の異なるN極部32の総数をN2とすると、(M2max−M2min)/(N2−1)と表される。本実施形態においてM1max=M2max=100、M1min=M2min=80、N1=N2=29となっている。なお、上記の磁力の強さとしての100とは単なる目安となる数字に過ぎず、例えば100Wbなどを示しているわけではない。そして磁力の強さとしての80とは単なる一例に過ぎず、例えば70などを採用することもできる。なおもちろんではあるが、弱着磁部33の磁力はM1min,M2minそれぞれよりも低くなっている。
次に、本実施形態に係る回転センサ100の作用効果を説明する。上記したように第1側面33a側のN極部32(第2N極部32)と第2側面33b側のS極部31(第57S極部31)それぞれの磁力を低くしている。これにより弱着磁部33と第2N極部32との磁力差、および、弱着磁部33と第57S極部31との磁力差それぞれが縮まる。この結果、第1S極部31の法線磁束の最大位置の中心からのずれが抑制され、第58N極部32の法線磁束の最大位置の中心からのずれが抑制される。以上に示したように、弱着磁部33と隣接する第1S極部31と第58N極部32にて構成される磁界に乱れが生じることが抑制される。
全てのS極部31の法線磁束の最大位置が、S極部31の中心からずれることが抑制されるように、全てのN極部32それぞれの磁力が順方向に沿って徐々に低下している。全てのN極部32の法線磁束の最大位置が、N極部32の中心からずれることが抑制されるように、全てのS極部31それぞれの磁力が逆方向に沿って徐々に低下している。
これによれば、θ方向において1つのS極部31を介して並ぶ2つのN極部32の磁力差が縮まる。そのため、弱着磁部33とN極部32との間に位置するS極部31の法線磁束の最大位置だけではなく、2つのN極部32の間に位置するS極部31の法線磁束の最大位置の中心からのずれも抑制される。同様にして上記構成によれば、θ方向において1つのN極部32を介して並ぶ2つのS極部31の磁力差が縮まる。そのため、弱着磁部33とS極部31との間に位置するN極部32の法線磁束の最大位置だけではなく、2つのS極部31の間に位置するN極部32の法線磁束の最大位置の中心からのずれも抑制される。
以上に示したように本実施形態に係る回転センサ100によれば、全ての極部31,32の法線磁束の最大位置の中心からのずれが抑制され、最大位置間隔が6°からずれることが抑制される。そのため磁気リング10が6°回転する毎に磁電変換素子51,52の電気信号の差分値がゼロとなる間隔がずれることが抑制され、クランクシャフトなどの回転体の回転角度の検出精度が低下することが抑制される。
以上、本発明の好ましい実施形態について説明したが、本発明は上記した実施形態になんら制限されることなく、本発明の主旨を逸脱しない範囲において、種々変形して実施することが可能である。
(第1の変形例)
本実施形態では極部31,32の着磁状態について特に述べていなかった。極部31,32の着磁状態としては、例えば図10の(a)〜(f)に示す状態を採用することができる。すなわち、極部31,32のθ方向における一端側の領域を右領域、他端側の領域を左領域とすると、図10の(a)にハッチングで示すように右領域と左領域それぞれが着磁された構成を採用することができる。この場合、右領域と左領域の間は未着磁領域となっている。また図10の(b)にハッチングで示すように、右領域、左領域、および、その間の中央領域それぞれが着磁された構成を採用することもできる。この場合、右領域と中央領域との間、および、中央領域と左領域との間それぞれが未着磁領域となっている。図10の(c)に示すように右領域と左領域の間の全てが着磁され、右領域と左領域それぞれが未着磁の構成を採用することもできる。図10の(d)に示すように極部31,32の全ての領域が着磁され、中央領域にストライプ状に異なる磁性の領域が複数形成された構成を採用することもできる。図10の(e)に示すようにz方向における極部31,32の中心領域が着磁され、その両端の領域が未着磁領域となった構成を採用することもできる。最後に、図10の(f)にて図10(a)〜(e)よりもピッチの荒いハッチングで示すように、極部31,32の全体の着磁強度(単位体積当たりの着磁の強さ)を調整してもよい。なお、本発明者は図10の(a)に示す極部31,32を有する磁気リング10を製造した。それによれば、図6に示すように法線磁束の最大位置が極部31,32の中心からずれることが抑制される、という実験結果を得ている。全ての極部31,32それぞれの磁力は、上記の未着磁領域や異なる磁性の領域の広さ、若しくは、着磁強度を個別に調整することで、決定される。
(第2の変形例)
本実施形態では全てのN極部32それぞれの磁力が順方向に沿って徐々に低下し、全てのS極部31それぞれの磁力が逆方向に沿って徐々に低下する例を示した。しかしながら図11〜図13に示すように、極部31,32の磁力を弱めても良い。以下においては極部31,32における第1〜第2までの形成領域を第1領域、第2〜第38までの形成領域を中間領域、第39〜第58までの形成領域を第2領域とする。図11〜図13に示す変形例では第1領域のS極部31の磁力が順方向に沿って徐々に低下し、中間領域のS極部31の磁力が互いに等しく、第2領域のS極部31の磁力が順方向に沿って徐々に低下している。そして中間領域のS極部31の磁力は、第1領域のS極部31よりも低く、第2領域のS極部31よりも高くなっている。同様にして第2領域のN極部32の磁力が逆方向に沿って徐々に低下し、中間領域のN極部32の磁力が互いに等しく、第1領域のN極部32の磁力が逆方向に沿って徐々に低下している。そして中間領域のN極部32の磁力は、第2領域のN極部32よりも低く、第1領域のN極部32よりも高くなっている。この変形例においても、S極部31の磁力の低下幅は(M1max−M1min)/(N1−1)と表され、N極部32の磁力の低下幅は(M2max−M2min)/(N2−1)と表される。M1max=M2max=100、M1min=M2min=80、N1=N2=2となっている。
(第3の変形例)
図示しないが、極部31,32それぞれの磁力の低下幅が一定ではなく、θ方向において徐々に変化してもよい。その変化としては、例えば二次関数や指数関数的な変化を採用することができる。
(第4の変形例)
本実施形態ではS極部31とN極部32の横幅が互いに相等しく6°である例を示した。しかしながらS極部31とN極部32の横幅が互いに相等しくなくともよい。例えば図14〜図16に示すように、複数のS極部31が逆方向に沿って7.2°から4.8°へと横幅が順次一定の比率で減少し、複数のN極部32が順方向に沿って7.2°から4.8°へと横幅が順次一定の比率で減少する構成を採用してもよい。この変形例では、極部31,32の着磁強度(単位体積当たりの着磁の強さ)は同一であるが、その横幅が変化するために、複数の極部31,32それぞれの着磁強度が変化する。本発明者は図14〜図16に示すように極部31,32の横幅(磁力)の変化する磁気リング10を製造し、極部31,32の法線磁束をシミュレーションで観測した。すると、全ての極部31,32の法線磁束の最大位置の中心からのずれが抑制され、最大位置間隔が6°からずれることが抑制されることが確認された。そのため磁気リング10が6°回転する毎に磁電変換素子51,52の電気信号の差分値がゼロとなる間隔がずれることが抑制され、クランクシャフトなどの回転体の回転角度の検出精度が低下することが抑制される。なおこの変形例においても、上記の第2の変形例に記載のように、複数の極部31,32の一部の磁力が一定となった構成を採用することもできる。この場合、磁力が一定の複数の極部31,32はそれぞれの横幅が同一で一定となる。
(その他の変形例)
本実施形態では磁気リング10がクランクシャフトに設置される例を示した。しかしながら磁気リング10の設置される回転体としては上記例に限定されず、例えばカムシャフトなどに設置してもよい。
本実施形態では磁極部30がリング20の外環面20bに形成された例を示した。しかしながらこれとは異なり、図17に示すように磁極部30がリング20の内環面20aと外環面20bとを連結する連結面20c(上面若しくは下面)に形成された構成を採用することもできる。この場合、磁電変換部50はz方向において磁極部30と所定のエアギャップを介して対向配置される。なおこの変形例の場合、z方向が特許請求の範囲に記載の法線方向に相当する。
本実施形態ではS極部31とN極部32それぞれの横幅が6°、弱着磁部33の横幅が12°の例を示した。しかしながら極部31,32および弱着磁部33の横幅としては上記例に限定されず、極部31,32の横幅よりも弱着磁部33の横幅の方が長ければよい。
本実施形態では磁極部30がS極部31とN極部32とを合計58個有し、S極部31とN極部32とをそれぞれ29個有する例を示した。しかしながら極部31,32の個数としては上記例に限定されず、例えば磁極部30がS極部31とN極部32とを合計34個有し、S極部31とN極部32とをそれぞれ17個有してもよい。
本実施形態では磁電変換素子51,52それぞれがホール素子である例を示した。しかしながら磁電変換素子51,52としては上記例に限定されず、例えば透過する磁束の方向に応じて抵抗値の変動する磁気抵抗効果素子を採用することもできる。
本実施形態では弱着磁部33の第1側面33aにS極部31が隣接し、第2側面33bにN極部32が隣接する例を示した。しかしながら側面33a,33bそれぞれに極部31,32の一方が隣接する構成を採用することもできる。
20…リング
20b…外環面
20c…連結面
30…磁極部
31…S極部
32…N極部
33…弱着磁部
33a…第1側面
33b…第2側面
100…回転センサ

Claims (14)

  1. 環状を成すリング(20)と、
    前記リングの外面(20b,20c)に形成された磁極部(30)と、を有する磁気リングであって、
    前記磁極部は、磁性の異なる複数の第1磁性部(31)と第2磁性部(32)、および、前記第1磁性部と前記第2磁性部それぞれよりも磁力の低い1つの弱着磁部(33)を有し、
    前記第1磁性部と前記第2磁性部とは、前記リングによって形作られる円の中心を直交する中心軸の周回方向に等ピッチで交互に形成され、複数の前記第1磁性部の内の1つが前記周回方向で並ぶ前記弱着磁部の2つの側面(33a,33b)の内の1つの第1側面(33a)と隣接し、複数の前記第2磁性部の内の1つが2つの前記側面の内の残り1つの第2側面(33b)と隣接しており、
    前記第1側面と隣接する前記第1磁性部の構成する磁界における前記磁極部の形成面に直交する法線方向の成分の最大となる位置が、前記周回方向における前記第1側面と隣接する前記第1磁性部の中心からずれることが抑制されるように、前記第1側面に最も近い前記第2磁性部が前記第2側面に最も近い前記第2磁性部よりも磁力が低く、
    前記第2側面と隣接する前記第2磁性部の構成する磁界における前記法線方向の成分の最大となる位置が、前記周回方向における前記第2側面と隣接する前記第2磁性部の中心からずれることが抑制されるように、前記第2側面に最も近い前記第1磁性部が前記第1側面に最も近い前記第1磁性部よりも磁力が低くなっている磁気リング。
  2. 全ての前記第1磁性部の構成する磁界における前記法線方向の成分の最大となる位置が、前記周回方向における前記第1磁性部の中心からずれることが抑制されるように、全ての前記第2磁性部それぞれの磁力が互いに異なり、前記第1磁性部と前記第2磁性部の形成領域において前記周回方向に前記第側面から前記第側面へと向かうにしたがって徐々に低下し、
    全ての前記第2磁性部の構成する磁界における前記法線方向の成分の最大となる位置が、前記周回方向における前記第2磁性部の中心からずれることが抑制されるように、全ての前記第1磁性部それぞれの磁力が互いに異なり、前記第1磁性部と前記第2磁性部の形成領域において前記周回方向に前記第側面から前記第側面へと向かうにしたがって徐々に低下している請求項1に記載の磁気リング。
  3. 前記第1磁性部と前記第2磁性部の形成領域において前記周回方向で前記第1側面と前記第2側面との間の所定の幅を有する領域を中間領域とし、前記第1側面と前記中間領域との間を第1領域、前記中間領域と前記第2側面との間の領域を第2領域とすると、
    全ての前記第1磁性部の構成する磁界における前記法線方向の成分の最大となる位置が、前記周回方向における前記第1磁性部の中心からずれることが抑制されるように、
    前記第領域に位置する複数の前記第2磁性部それぞれの磁力が互いに異なり、前記周回方向で前記第側面から前記中間領域へと向かうにしたがって徐々に低下し、
    前記中間領域に位置する複数の前記第2磁性部それぞれの磁力が互いに等しく、
    前記第領域に位置する複数の前記第2磁性部それぞれの磁力が互いに異なり、前記周回方向で前記中間領域から前記第側面へと向かうにしたがって徐々に低下し、
    前記中間領域の複数の前記第2磁性部それぞれの磁力は、前記第領域の複数の前記第2磁性部それぞれよりも磁力が低く、前記第領域の複数の前記第2磁性部それぞれよりも磁力が高くなっており、
    全ての前記第2磁性部の構成する磁界における前記法線方向の成分の最大となる位置が、前記周回方向における前記第2磁性部の中心からずれることが抑制されるように、
    前記第1領域に位置する複数の前記第1磁性部それぞれの磁力が互いに異なり、前記周回方向で前記第側面から前記中間領域へと向かうにしたがって徐々に低下し、
    前記中間領域に位置する複数の前記第1磁性部それぞれの磁力が互いに等しく、
    前記第領域に位置する複数の前記第1磁性部それぞれの磁力が互いに異なり、前記周回方向で前記中間領域から前記第側面へと向かうにしたがって徐々に低下し、
    前記中間領域の複数の前記第1磁性部それぞれの磁力は、前記第領域の複数の前記第1磁性部それぞれよりも磁力が低く、前記第領域の複数の前記第1磁性部それぞれよりも磁力が高くなっている請求項1に記載の磁気リング。
  4. 複数の前記第1磁性部の磁力の低下幅は一定であり、
    複数の前記第2磁性部の磁力の低下幅は一定である請求項2または請求項3に記載の磁気リング。
  5. 複数の前記第1磁性部の磁力の低下幅は、複数の前記第1磁性部の磁力の内の最大値をM1max、最小値をM1min、磁力の異なる前記第1磁性部の総数をN1とすると、(M1max−M1min)/(N1−1)と表され、
    複数の前記第2磁性部の磁力の低下幅は、複数の前記第2磁性部の磁力の内の最大値をM2max、最小値をM2min、磁力の異なる前記第2磁性部の総数をN2とすると、(M2max−M2min)/(N2−1)と表される請求項4に記載の磁気リング。
  6. 複数の前記第1磁性部の磁力の低下幅は前記周回方向において変化し、
    複数の前記第2磁性部の磁力の低下幅は前記周回方向において変化する請求項2または請求項3に記載の磁気リング。
  7. 前記周回方向における前記弱着磁部の横幅は、前記第1磁性部および前記第2磁性部それぞれの横幅よりも長い請求項1〜6いずれか1項に記載の磁気リング。
  8. 全ての前記第1磁性部および前記第2磁性部それぞれの少なくとも一部は着磁されていない請求項1〜7いずれか1項に記載の磁気リング。
  9. 全ての前記第1磁性部および前記第2磁性部それぞれにおける前記周回方向に並ぶ2つの端部の内の一端側の右領域、および、2つの前記端部の内の残りの他端側の左領域それぞれが着磁され、前記右領域と前記左領域との間に着磁されていない未着磁領域が位置している請求項8に記載の磁気リング。
  10. 全ての前記第1磁性部および前記第2磁性部それぞれにおける前記右領域と前記左領域との間に位置する中央領域が着磁され、前記右領域と前記中央領域との間、および、前記中央領域と前記左領域との間それぞれに前記未着磁領域が位置している請求項9に記載の磁気リング。
  11. 環状を成すリング(20)と、
    前記リングの外面(20b,20c)に形成された磁極部(30)と、を有する磁気リングであって、
    前記磁極部は、磁性の異なる複数の第1磁性部(31)と第2磁性部(32)、および、前記第1磁性部と前記第2磁性部それぞれよりも磁力の低い1つの弱着磁部(33)を有し、
    前記第1磁性部と前記第2磁性部とは、前記リングによって形作られる円の中心を直交する中心軸の周回方向に交互に形成され、複数の前記第1磁性部の内の1つが前記周回方向で並ぶ前記弱着磁部の2つの側面(33a,33b)の内の1つの第1側面(33a)と隣接し、複数の前記第2磁性部の内の1つが2つの前記側面の内の残り1つの第2側面(33b)と隣接しており、
    前記第1側面と隣接する前記第1磁性部の構成する磁界における前記磁極部の形成面に直交する法線方向の成分の最大となる位置が、前記周回方向における前記第1側面と隣接する前記第1磁性部の中心からずれることが抑制されるように、前記第1側面に最も近い前記第2磁性部が前記第2側面に最も近い前記第2磁性部よりも磁力が低く、
    前記第2側面と隣接する前記第2磁性部の構成する磁界における前記法線方向の成分の最大となる位置が、前記周回方向における前記第2側面と隣接する前記第2磁性部の中心からずれることが抑制されるように、前記第2側面に最も近い前記第1磁性部が前記第1側面に最も近い前記第1磁性部よりも磁力が低くなっており、
    全ての前記第1磁性部の構成する磁界における前記法線方向の成分の最大となる位置が、前記周回方向における前記第1磁性部の中心からずれることが抑制されるように、前記第1磁性部と前記第2磁性部の形成領域において前記周回方向に前記第2側面から前記第1側面へと向かうにしたがって、各前記第2磁性部の前記周回方向の長さが徐々に短くなって磁力が徐々に低下し、
    全ての前記第2磁性部の構成する磁界における前記法線方向の成分の最大となる位置が、前記周回方向における前記第2磁性部の中心からずれることが抑制されるように、前記第1磁性部と前記第2磁性部の形成領域において前記周回方向に前記第1側面から前記第2側面へと向かうにしたがって、各前記第1磁性部の前記周回方向の長さが徐々に短くなって磁力が徐々に低下している磁気リング。
  12. 環状を成すリング(20)と、
    前記リングの外面(20b,20c)に形成された磁極部(30)と、を有する磁気リングであって、
    前記磁極部は、磁性の異なる複数の第1磁性部(31)と第2磁性部(32)、および、前記第1磁性部と前記第2磁性部それぞれよりも磁力の低い1つの弱着磁部(33)を有し、
    前記第1磁性部と前記第2磁性部とは、前記リングによって形作られる円の中心を直交する中心軸の周回方向に交互に形成され、複数の前記第1磁性部の内の1つが前記周回方向で並ぶ前記弱着磁部の2つの側面(33a,33b)の内の1つの第1側面(33a)と隣接し、複数の前記第2磁性部の内の1つが2つの前記側面の内の残り1つの第2側面(33b)と隣接しており、
    前記第1側面と隣接する前記第1磁性部の構成する磁界における前記磁極部の形成面に直交する法線方向の成分の最大となる位置が、前記周回方向における前記第1側面と隣接する前記第1磁性部の中心からずれることが抑制されるように、前記第1側面に最も近い前記第2磁性部が前記第2側面に最も近い前記第2磁性部よりも磁力が低く、
    前記第2側面と隣接する前記第2磁性部の構成する磁界における前記法線方向の成分の最大となる位置が、前記周回方向における前記第2側面と隣接する前記第2磁性部の中心からずれることが抑制されるように、前記第2側面に最も近い前記第1磁性部が前記第1側面に最も近い前記第1磁性部よりも磁力が低くなっており、
    前記第1磁性部と前記第2磁性部の形成領域において前記周回方向で前記第1側面と前記第2側面との間の所定の幅を有する領域を中間領域とし、前記第1側面と前記中間領域との間を第1領域、前記中間領域と前記第2側面との間の領域を第2領域とすると、
    全ての前記第1磁性部の構成する磁界における前記法線方向の成分の最大となる位置が、前記周回方向における前記第1磁性部の中心からずれることが抑制されるように、
    前記第領域において前記周回方向に前記第側面から前記中間領域へと向かうにしたがって、各前記第2磁性部の前記周回方向の長さが徐々に短くなって磁力が徐々に低下し、
    前記中間領域に位置する複数の前記第2磁性部それぞれの前記周回方向の長さが等しくて磁力が互いに等しく、
    前記第領域において前記周回方向に前記中間領域から前記第側面へと向かうにしたがって、各前記第2磁性部の前記周回方向の長さが徐々に短くなって磁力が徐々に低下し、
    前記中間領域の複数の前記第2磁性部それぞれの磁力は、前記第領域の複数の前記第2磁性部それぞれよりも磁力が低く、前記第領域の複数の前記第2磁性部それぞれよりも磁力が高くなっており、
    全ての前記第2磁性部の構成する磁界における前記法線方向の成分の最大となる位置が、前記周回方向における前記第2磁性部の中心からずれることが抑制されるように、
    前記第領域において前記周回方向に前記第側面から前記中間領域へと向かうにしたがって、各前記第1磁性部の前記周回方向の長さが徐々に短くなって磁力が徐々に低下し、
    前記中間領域に位置する複数の前記第1磁性部それぞれの前記周回方向の長さが等しくて磁力が互いに等しく、
    前記第領域において前記周回方向に前記中間領域から前記第側面へと向かうにしたがって、各前記第1磁性部の前記周回方向の長さが徐々に短くなって磁力が徐々に低下し、
    前記中間領域の複数の前記第1磁性部それぞれの磁力は、前記第領域の複数の前記第1磁性部それぞれよりも磁力が低く、前記第領域の複数の前記第1磁性部それぞれよりも磁力が高くなっている磁気リング。
  13. 複数の前記第1磁性部の磁力の低下幅は一定であり、
    複数の前記第2磁性部の磁力の低下幅は一定である請求項11または請求項12に記載の磁気リング。
  14. 請求項1〜1いずれかに記載の磁気リング(10)と、
    前記磁気リングが回転することで形成される磁界を電気信号に変換する磁電変換部(50)と、を有する回転センサ。
JP2015075337A 2015-04-01 2015-04-01 磁気リング、および、この磁気リングを有する回転センサ Expired - Fee Related JP6459727B2 (ja)

Priority Applications (2)

Application Number Priority Date Filing Date Title
JP2015075337A JP6459727B2 (ja) 2015-04-01 2015-04-01 磁気リング、および、この磁気リングを有する回転センサ
PCT/JP2016/001616 WO2016157811A1 (ja) 2015-04-01 2016-03-21 磁気リング、および、この磁気リングを有する回転センサ

Applications Claiming Priority (1)

Application Number Priority Date Filing Date Title
JP2015075337A JP6459727B2 (ja) 2015-04-01 2015-04-01 磁気リング、および、この磁気リングを有する回転センサ

Publications (2)

Publication Number Publication Date
JP2016194486A JP2016194486A (ja) 2016-11-17
JP6459727B2 true JP6459727B2 (ja) 2019-01-30

Family

ID=57005898

Family Applications (1)

Application Number Title Priority Date Filing Date
JP2015075337A Expired - Fee Related JP6459727B2 (ja) 2015-04-01 2015-04-01 磁気リング、および、この磁気リングを有する回転センサ

Country Status (2)

Country Link
JP (1) JP6459727B2 (ja)
WO (1) WO2016157811A1 (ja)

Families Citing this family (1)

* Cited by examiner, † Cited by third party
Publication number Priority date Publication date Assignee Title
JP7064966B2 (ja) * 2018-06-05 2022-05-11 日本電産サンキョー株式会社 磁気式エンコーダ

Family Cites Families (5)

* Cited by examiner, † Cited by third party
Publication number Priority date Publication date Assignee Title
JP3189464B2 (ja) * 1993-02-19 2001-07-16 株式会社デンソー 回転位置検出装置
JPH10170211A (ja) * 1996-12-13 1998-06-26 Canon Inc 位置検出装置及びレンズ位置制御装置
JP2003270258A (ja) * 2002-03-13 2003-09-25 Koyo Seiko Co Ltd センサー付き軸受ユニット
JP2006138788A (ja) * 2004-11-15 2006-06-01 Toyota Motor Corp 磁気式エンコーダ及び同エンコーダを用いた位置検出方法
JP2007315765A (ja) * 2006-05-23 2007-12-06 Ntn Corp 回転センサおよび回転センサ付き軸受

Also Published As

Publication number Publication date
JP2016194486A (ja) 2016-11-17
WO2016157811A1 (ja) 2016-10-06

Similar Documents

Publication Publication Date Title
CN100594383C (zh) 无接触检测发生器部件转速和/或位置的带编码器的装置
JP2011158488A (ja) 磁気センサ
JP4518818B2 (ja) トルクセンサ
JP2009025163A (ja) 磁気エンコーダ
JP6332111B2 (ja) 磁気リング、および、この磁気リングを有する回転センサ
JP7122182B2 (ja) 磁気位置検知システム、磁気位置検知システムの作製方法、および回転体の位置の推定方法
JP6459727B2 (ja) 磁気リング、および、この磁気リングを有する回転センサ
JP4941707B2 (ja) 角度検出装置
JP5062453B2 (ja) 磁気センサ
KR102558334B1 (ko) 자기 인코더 및 그 제조 방법
US20120125138A1 (en) Torque sensing system having torque sensor, and steering system
JP6089943B2 (ja) 回転角センサ
JP5138039B2 (ja) 磁気式位置センサ
JP2005062189A (ja) 磁気多極エンコーダ
JP2018013391A (ja) 変位検出装置
KR102419301B1 (ko) 회전체의 절대위치 검출장치 및 검출방법
JP5920386B2 (ja) 回転角センサ用磁石および回転角センサ
JP6201910B2 (ja) 回転検出センサ及びその製造方法
JP6041959B1 (ja) 磁気検出装置
JP4543728B2 (ja) 磁気エンコーダ
JP2006162557A (ja) トルクセンサ
JP5151634B2 (ja) エンコーダの着磁方法
JP6024577B2 (ja) エンコーダ
WO2023223389A1 (ja) 回転数検出器
JP2018004361A (ja) 磁気エンコーダ

Legal Events

Date Code Title Description
A621 Written request for application examination

Free format text: JAPANESE INTERMEDIATE CODE: A621

Effective date: 20170417

A131 Notification of reasons for refusal

Free format text: JAPANESE INTERMEDIATE CODE: A131

Effective date: 20180424

A521 Request for written amendment filed

Free format text: JAPANESE INTERMEDIATE CODE: A523

Effective date: 20180619

TRDD Decision of grant or rejection written
A01 Written decision to grant a patent or to grant a registration (utility model)

Free format text: JAPANESE INTERMEDIATE CODE: A01

Effective date: 20181204

A61 First payment of annual fees (during grant procedure)

Free format text: JAPANESE INTERMEDIATE CODE: A61

Effective date: 20181217

R151 Written notification of patent or utility model registration

Ref document number: 6459727

Country of ref document: JP

Free format text: JAPANESE INTERMEDIATE CODE: R151

R250 Receipt of annual fees

Free format text: JAPANESE INTERMEDIATE CODE: R250

LAPS Cancellation because of no payment of annual fees