JP6399552B2 - 内燃機関 - Google Patents

内燃機関 Download PDF

Info

Publication number
JP6399552B2
JP6399552B2 JP2015081476A JP2015081476A JP6399552B2 JP 6399552 B2 JP6399552 B2 JP 6399552B2 JP 2015081476 A JP2015081476 A JP 2015081476A JP 2015081476 A JP2015081476 A JP 2015081476A JP 6399552 B2 JP6399552 B2 JP 6399552B2
Authority
JP
Japan
Prior art keywords
intake
port
cylinder head
cylinder
valve
Prior art date
Legal status (The legal status is an assumption and is not a legal conclusion. Google has not performed a legal analysis and makes no representation as to the accuracy of the status listed.)
Expired - Fee Related
Application number
JP2015081476A
Other languages
English (en)
Other versions
JP2016070269A (ja
Inventor
亨允 逆井
亨允 逆井
信二 久我
信二 久我
隆夫 工東
隆夫 工東
Current Assignee (The listed assignees may be inaccurate. Google has not performed a legal analysis and makes no representation or warranty as to the accuracy of the list.)
Honda Motor Co Ltd
Original Assignee
Honda Motor Co Ltd
Priority date (The priority date is an assumption and is not a legal conclusion. Google has not performed a legal analysis and makes no representation as to the accuracy of the date listed.)
Filing date
Publication date
Application filed by Honda Motor Co Ltd filed Critical Honda Motor Co Ltd
Priority to BR102015024422-3A priority Critical patent/BR102015024422B1/pt
Publication of JP2016070269A publication Critical patent/JP2016070269A/ja
Application granted granted Critical
Publication of JP6399552B2 publication Critical patent/JP6399552B2/ja
Expired - Fee Related legal-status Critical Current
Anticipated expiration legal-status Critical

Links

Images

Classifications

    • YGENERAL TAGGING OF NEW TECHNOLOGICAL DEVELOPMENTS; GENERAL TAGGING OF CROSS-SECTIONAL TECHNOLOGIES SPANNING OVER SEVERAL SECTIONS OF THE IPC; TECHNICAL SUBJECTS COVERED BY FORMER USPC CROSS-REFERENCE ART COLLECTIONS [XRACs] AND DIGESTS
    • Y02TECHNOLOGIES OR APPLICATIONS FOR MITIGATION OR ADAPTATION AGAINST CLIMATE CHANGE
    • Y02TCLIMATE CHANGE MITIGATION TECHNOLOGIES RELATED TO TRANSPORTATION
    • Y02T10/00Road transport of goods or passengers
    • Y02T10/10Internal combustion engine [ICE] based vehicles
    • Y02T10/12Improving ICE efficiencies

Landscapes

  • Cylinder Crankcases Of Internal Combustion Engines (AREA)
  • Combustion Methods Of Internal-Combustion Engines (AREA)

Description

本発明は、ピストンが摺動自在に嵌合されるシリンダボアを有するシリンダブロックに、前記ピストンの頂部を臨ませる燃焼室を前記シリンダブロックとの間に形成するシリンダヘッドが結合され、1つの燃焼室に対して1つずつの吸気弁および排気弁が、シリンダ軸線を含む1つの仮想平面上に前記吸気弁および前記排気弁の作動軸線が配置されるようにして前記シリンダヘッドに開閉作動可能に配設され、前記吸気弁で開閉される吸気弁口ならびに前記排気弁で開閉される排気弁口が前記燃焼室の天井部に開口するようにして前記シリンダヘッドに形成され、前記吸気弁口に連なる吸気ポートならびに前記排気弁口に連なる排気ポートが前記シリンダヘッドに設けられる内燃機関に関する。
1つずつの吸気弁および排気弁を備える小排気量の内燃機関において、シリンダヘッドに吸気弁口および排気弁口の左右に配置されるスキッシュが均等に設けられ、開弁状態の吸気弁の一部を収容するリセスがシリンダブロック側に設けられるようにして、燃焼室内でタンブル流を発生させるようにしたものが、特許文献1で知られている。
特開2013−227966号公報
ところで、小排気量の内燃機関では、タンブル流に加えてスワール流を発生させることで燃焼効率をより高めることが可能となるのであるが、上記特許文献1で開示されたものの構造では、スワール流を発生させるためには、吸気ポートの吸入方向を極度に曲げたり、吸入空気のバランスを変えるためのバルブ等を設けたりする必要があり、大きな改造が必要となるとともに内燃機関の大型化を招いてしまう。
本発明は、かかる事情に鑑みてなされたものであり、最小限の改造によって燃焼室内でのスワール流発生を可能とした上で大型化も回避し得るようにした内燃機関を提供することを目的とする。
上記目的を達成するために、本発明は、ピストンが摺動自在に嵌合されるシリンダボアを有するシリンダブロックに、前記ピストンの頂部を臨ませる燃焼室を前記シリンダブロックとの間に形成するシリンダヘッドが結合され、1つの燃焼室に対して1つずつの吸気弁および排気弁が、シリンダ軸線を含む1つの仮想平面上に前記吸気弁および前記排気弁の作動軸線が配置されるようにして前記シリンダヘッドに開閉作動可能に配設され、前記吸気弁で開閉される吸気弁口ならびに前記排気弁で開閉される排気弁口が前記燃焼室の天井部に開口するようにして前記シリンダヘッドに形成され、前記吸気弁口に連なる吸気ポートならびに前記排気弁口に連なる排気ポートが前記シリンダヘッドに設けられる内燃機関において、前記吸気ポートが、その吸気ポートの中心線を、前記シリンダ軸線に直交する平面への投影図上で、前記仮想平面に対して鋭角に交差させるようにして前記シリンダヘッドに設けられ、前記シリンダヘッドに、前記シリンダボアの周縁に対応する部分から前記仮想平面に向かって膨出するようにして前記仮想平面の両側に配置される一対のスキッシュが設けられ、それらのスキッシュのうち前記投影図上で前記仮想平面に対して前記吸気ポートの中心線が鋭角をなして交差する側に配置される一方のスキッシュが、他方のスキッシュよりも大きく膨出するように形成されることを第1の特徴とする。
また本発明は、第1の特徴の構成に加えて、前記シリンダヘッドに取付けられる点火栓の先端部が、前記仮想平面の両側のスキッシュのうち前記仮想平面に向けての膨出量が小さい方のスキッシュと、前記仮想平面との間で前記燃焼室に臨むように配置されることを第2の特徴とする。
本発明は、第2の特徴の構成に加えて、前記シリンダヘッドに、前記吸気弁の弁軸部および前記排気弁の弁軸部間を通るとともに前記点火栓の両側を通って前記シリンダヘッドの側壁に一端部を開口するとともに他端部を閉じた有底の通路孔部と、前記吸気ポートの周囲で前記シリンダヘッドの他の側壁に一端部を開口するとともに他端部を前記通路孔部に連通させた貫通孔部とから成るエアジャケットが形成されることを第3の特徴とする。
本発明は、第1〜第3の特徴の構成のいずれかに加えて、前記シリンダヘッドの前記シリンダブロックとの結合面から前記吸気ポートの中心線までの最大長さが、前記結合面から前記排気ポートの中心線までの最大長さよりも小さく設定され、前記吸気ポートの前記吸気弁口と反対側の端部付近で前記吸気ポートの上流部が直線状に延びるように形成されることを第4の特徴とする。
本発明は、第1〜第4の特徴の構成のいずれかに加えて、前記シリンダブロックおよび前記シリンダヘッドを含んで単気筒に構成される機関本体が、前記シリンダ軸線に直交する平面への投影図上で直線状に延びるように形成される前記吸気ポートを前後方向に指向させた姿勢で車両に搭載されることを第5の特徴とする。
本発明は、第5の特徴の構成に加えて、前記吸気ポートに連なる吸気管が、車両の車幅方向中心を通って車体フレームの一部を構成するフレーム部材の側方を通るように配置されることを第6の特徴とする。
本発明は、第6の特徴の構成に加えて、前記吸気管の吸気流線方向とは異なる方向に吸気流線方向を指向させて前記フレーム部材の前記側方に配置される燃料供給手段が、可撓性を有する材料から成るジョイント部材を介して前記吸気管の上流端に接続されることを第7の特徴とする。
さらに本発明は、第7の特徴の構成に加えて、前記排気ポートに接続される排気装置が、前記フレーム部材に関して前記燃料供給手段とは反対側に配置されることを第8の特徴とする。
なお実施の形態のメインフレーム14が本発明のフレーム部材に対応し、実施の形態の気化器31が本発明の燃料供給手段に対応する。
本発明の第1の特徴によれば、吸気ポートの中心線が、シリンダ軸線に直交する平面への投影図上では、シリンダ軸線を含むとともに吸気弁および排気弁の作動軸線が配置される仮想平面に対して鋭角に交差するようにしてシリンダヘッドに設けられ、仮想平面の両側に配置されるとともに仮想平面に向かって膨出する一対のスキッシュのうち、前記投影図上で仮想平面に対して吸気ポートの中心線が鋭角をなして交差する側に配置される側のスキッシュが、他のスキッシュよりも大きく膨出しているので、吸気ポートから吸気弁口を経て燃焼室内に流入する吸気は膨出量が小さいスキッシュ側でより多く流通することになり、燃焼室の天井部と、吸気ポートの形状を変えるだけの最小限の改造で燃焼室内にスワール流を生じさせることができ、内燃機関の大型化も回避することができる。
また本発明の第2の特徴によれば、点火栓の先端部が、仮想平面と、膨出量が小さい方のスキッシュとの間で燃焼室に臨むように配置されるので、燃焼室内での点火を効率よく行うことができ、燃焼効率の向上を図ることができる。
本発明の第3の特徴によれば、点火栓の両側を通るとともに、吸気ポートの周囲でシリンダヘッドの外壁面に開口するエアジャケットがシリンダヘッドに形成されるので、仮想平面の両側でのスキッシュの膨出量を異ならせることでシリンダ軸線から偏倚した燃焼室の周辺を効率よく放熱、冷却することができる。
本発明の第4の特徴によれば、シリンダヘッドのシリンダブロックとの結合面から吸気ポートの中心線までの長さを、排気ポートよりも小さくし、吸気ポートの上流部が直線状に延びているので、吸気ポートは吸気弁口の付近で急激に屈曲することになり、その屈曲部での空気層の剥離が生じることで、吸気弁口から燃焼室内に流入する空気流をより燃焼室の中心に向かわせて燃焼室内でタンブル流を発生させることができ、燃焼攪拌効果による燃焼効率のさらなる向上を果たすことができる。
本発明の第5の特徴によれば、単気筒の機関本体が、シリンダ軸線に直交する平面への投影図上で直線状に延びる吸気ポートを前後方向に指向させた姿勢で車両に搭載されるので、シリンダヘッドにおける吸気ポートの形状を大きく変えることなく、改造範囲を小幅にしながら吸気ポートのシリンダヘッドからの突出を抑制することができ、車幅方向での機関本体の大型化を抑制することができる。
本発明の第6の特徴によれば、車両の車幅方向中心を通るフレーム部材の側方を、吸気ポートに連なる吸気管が通るので、シリンダヘッドの改造を必要とせずに、吸気管の形状を変えるだけで、フレーム部材を避けるように吸気装置を配置することができる。
本発明の第7の特徴によれば、吸気流線方向が相互に異なる燃料供給手段および吸気管を、可撓性を有する材料から成るジョイント部材を介して接続することで、吸気路の急激な曲がりを容易に達成することができる。
さらに本発明の第8の特徴によれば、排気装置および燃料供給手段がフレーム部材の両側に配置されるので、車両の左右バランスの均衡を図ることができる。
自動二輪車の右側面図である。 図1の2−2線断面図である。 シリンダヘッドをシリンダブロック側から見た図である。 シリンダブロックおよびシリンダヘッドの一部を図3の4−4線に沿って示す断面図である。 図3の5−5線断面図である。 図4の6−6線断面図である。 図5の7−7線断面図である。 吸気弁開弁時の図4に対応した断面図である。
本発明の実施の形態について添付の図面を参照しながら説明する。なお以下の説明で、前後、上下および左右は、自動二輪車に乗車した乗員から見た方向を言うものとする。
先ず図1において、この自動二輪車の車体フレームFは、前輪WFを下端部で軸支するフロントフォーク11および操向用のバーハンドル12を操向可能に支承するヘッドパイプ13と、このヘッドパイプ13から後下がりに延びるメインフレーム14と、該メインフレーム14の上方に配置されて前記ヘッドパイプ12から後方に延出されるアッパーフレーム15と、前記メインフレーム14の後端部から下方に延びる左右一対のピボットフレーム16と、前記アッパーフレーム15の後端部に連設されて後方に延びる左右一対のシートフレーム17と、左右一対の前記ピボットフレーム16の上端部から後上がりに延びるとともに後端部が前記シートフレーム17の後部に連設される左右一対のリヤフレーム18とを備える。
前記ピボットフレーム16には、後輪WRを懸架したスイングアーム19の前端部が支軸20を介して上下に揺動可能に支持される。前記スイングアーム19の後部と、前記シートフレーム17との間には一対のリヤクッションユニット21が設けられる。
前記後輪WRを駆動する動力を発揮する内燃機関Eの機関本体22は、シリンダ軸線Cをほぼ水平となるまで前傾させて前記車体フレームFの前記メインフレーム14および前記ピボットフレーム16に支持されており、この内燃機関Eからの回転動力は、無端状の駆動チェーン23を有する動力伝達機構24を介して前記後輪WRに伝達される。
前記車体フレームFの前記アッパーフレーム15には、前記機関本体22の上方に配置される燃料タンク25が支持されており、この燃料タンク25の後方に配置されるタンデム型の乗車用シート26が前記シートフレーム17に支持される。
前記内燃機関Eの吸気装置28は、前記機関本体22の一部を構成するシリンダヘッド27の上部側壁に下流端部が接続される吸気管29と、その吸気管29の上流端部にジョイント部材30を介して接続される燃料供給手段としての気化器31と、該気化器31の後方に配置されるエアクリーナ32と、前記気化器31および前記エアクリーナ32間を結ぶコネクティングチューブ33とを備える。
また前記内燃機関Eの排気装置34は、前記シリンダヘッド27の下部側壁に接続される排気管35と、前記機関本体22の下方に配置される排気マフラー36と、前記排気管35に接続されるようにして前記排気マフラー36内に収容される触媒コンバータ37とを備える。
図2を併せて参照して、前記機関本体22は、車幅方向に延びる軸線を有するクランクシャフト38(図1参照)を回転自在に支持するクランクケース39と、ほぼ水平となるまで前傾したシリンダ軸線Cを有して前記クランクケース39の前部に結合されるシリンダブロック40と、該シリンダブロック40に結合される前記シリンダヘッド27と、該シリンダヘッド27の前部に結合されるヘッドカバー41とを有して、単気筒の空冷式に構成される。
図3および図4を併せて参照して、前記シリンダブロック40は、前記クランクシャフト38に連接されるピストン42を摺動自在に嵌合させるシリンダボア43を有しており、前記シリンダブロック40および前記シリンダヘッド27間には、前記ピストン42の頂部を臨ませる燃焼室44が形成される。
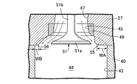
前記シリンダヘッド25には、前記燃焼室44の天井部に開口する吸気弁口45および排気弁口46と、前記吸気弁口45に連なって前記シリンダヘッド27の上部側壁27aに外端を開口させる吸気ポート47と、前記排気弁口46に連なって前記シリンダヘッド27の下部側壁27bに外端を開口させる排気ポート48とが形成される。
前記吸気弁口45は、前記シリンダヘッド25にモールド結合される弁座部材49によって形成され、前記排気弁口46は、前記シリンダヘッド25にモールド結合される弁座部材50によって形成される。
前記吸気弁口45の開閉は吸気弁51でなされるものであり、この吸気弁51は前記弁座部材49に着座して前記吸気弁口45を閉じ得る傘状の弁部51aと、この弁部51aに同軸に連なる弁軸部51bとを一体に有する。また前記排気弁口46の開閉は排気弁52でなされるものであり、この排気弁52は前記弁座部材50に着座して前記排気弁口46を閉じ得る傘状の弁部52aと、この弁部52aに同軸に連なる弁軸部52bとを一体に有する。
前記吸気弁51および前記排気弁52は、機関本体22が有する1つの燃焼室44に対して1つずつがシリンダヘッド27に開閉作動可能に配設されるものであり、前記吸気弁51の前記弁軸部51bは前記シリンダヘッド51に設けられるガイド筒53に摺動自在に嵌合され、前記排気弁52の前記弁軸部52bは前記シリンダヘッド51に設けられるガイド筒54に摺動可能に嵌合される。
前記吸気弁51および排気弁52の作動軸線、すなわち前記弁軸部51b,52bの軸線は、前記シリンダ軸線Cを含む1つの仮想平面VL上に配置される。一方、前記吸気ポート47は、その吸気ポート47の中心線CPAが、前記シリンダ軸線Cに直交する平面への投影図(図3)上で、前記仮想平面VLに対して鋭角の角度αで交差するように直線状に延びて前記シリンダヘッド27に設けられる。
図5および図6を併せて参照して、前記シリンダヘッド27には、前記シリンダボア43の周縁部に対応する部分から前記仮想平面VLに向かって膨出するようにして前記仮想平面VLの両側に配置される一対のスキッシュ55,56が設けられ、それらのスキッシュ55,56のうち前記投影図上で前記仮想平面VLに対して前記吸気ポート47の中心線CPAが鋭角をなして交差する側に配置される一方のスキッシュ55が、他方のスキッシュ56よりも大きく膨出するように形成される。すなわち前記スキッシュ55は、前記シリンダ軸線Cに直交する平面への投影図上で前記シリンダボア43の周縁部からの膨出量WAが一定となるように形成されるのに対して、他方のスキッシュ56は、前記投影図上で周方向中央部に向かうにつれて前記シリンダボア43の周縁部からの膨出量WBが小さくなるように形成されており、前記膨出量WBの最大値が前記膨出量WAよりも小さくなるように前記スキッシュ55,56が形成される。
前記シリンダヘッド27に点火栓57を取付けるための取付け孔58は、前記シリンダヘッド27の左側面に開口するようにして設けられており、前記点火栓57の先端部57aは、前記仮想平面VLの両側のスキッシュ55,56のうち前記仮想平面VLに向けての膨出量WA,WBが小さい方のスキッシュ56と、前記仮想平面VLとの間で前記燃焼室44に臨むように配置される。
図7を併せて参照して、前記シリンダヘッド27には、エアジャケット59が形成されており、このエアジャケット59は、前記吸気弁51の弁軸部51bおよび前記排気弁52の弁軸部52b間を通るとともに前記点火栓57の両側を通って前記シリンダヘッド27の左側壁27cに一端部を開口するとともに他端部を閉じた有底の通路孔部59aと、前記吸気ポート47の周囲で前記シリンダヘッド27の他の外壁面である上部側壁27aに一端部を開口するとともに他端部を前記通路孔部59aに連通させた貫通孔部59bとから成る。
図4に注目して、前記シリンダヘッド27の前記シリンダブロック40との結合面60から前記吸気ポート47の中心線CPAまでの最大長さLAが、前記結合面60から前記排気ポート48の中心線CPBまでの最大長LBさよりも小さく設定され、前記吸気ポート47の前記吸気弁口45と反対側の端部付近で前記吸気ポート47の上流部47aは直線状に延びるように形成される。このような吸気ポート47は、前記吸気弁口45の付近で急激に屈曲した屈曲部47bを有することになる。
前記機関本体22は、前記吸気ポート47を前後方向に指向させた姿勢で車両に搭載されるものであり、この吸気ポート47に連なる吸気管29は、図2で明示するように、車体フレームFの一部を構成して自動二輪車の車幅方向中心を通るフレーム部材である前記メインフレーム14の左側方を通るように配置される。
しかも前記吸気管29は、上流側に向かうにつれて左斜め上方に向かうようにした吸気流線を有するのに対して、前記気化器31は、前後方向に沿う吸気流線を有するものであり、相互に異なる方向の吸気流線を有する前記吸気管29および前記気化器31が、可撓性を有する材料たとえば樹脂によって形成される前記ジョイント部材30を介して接続される。
また前記排気ポート48に接続される前記排気装置34は、前記メインフレーム14に関して前記気化器31とは反対側に配置される。すなわち前記メインフレーム14の軸線を含む仮想鉛直面PLの両側に前記気化器31および前記排気装置34が配置される。
次にこの実施の形態の作用について説明すると、吸気弁口45に連なる吸気ポート47が、その吸気ポート47の中心線CPAを、シリンダ軸線Cに直交する平面への投影図上で、吸気弁51および排気弁52の作動軸線と、シリンダ軸線Cとを含む仮想平面VLに対して鋭角に交差するようにしてシリンダヘッド27に設けられ、そのシリンダヘッド27に、シリンダボア43の周縁に対応する部分から前記仮想平面VLに向かって膨出するようにして前記仮想平面VLの両側に配置される一対のスキッシュ55,56が設けられ、それらのスキッシュ55,56のうち前記投影図上で前記仮想平面VLに対して前記吸気ポート47の中心線CPAが鋭角をなして交差する側に配置される一方のスキッシュ55が、他方のスキッシュ56よりも大きく膨出するように形成されるので、吸気ポート47から吸気弁口45を経て燃焼室44内に流入する吸気は、図6で示すように膨出量WBが小さいスキッシュ56側でより多く流通することになり、燃焼室44の天井部と、吸気ポート47の形状を変えるだけの最小限の改造で燃焼室44内にスワール流を生じさせることができ、内燃機関Eの大型化も回避することができる。
また前記シリンダヘッド27に取付けられる点火栓57の先端部57aが、前記仮想平面VLの両側のスキッシュ55,56のうち前記仮想平面VLに向けての膨出量が小さい方のスキッシュ56と、前記仮想平面VLとの間で前記燃焼室44に臨むように配置されるので、燃焼室44内での点火を効率よく行うことができ、燃焼効率の向上を図ることができる。
また前記シリンダヘッド27に、前記吸気弁51の弁軸部51bおよび前記排気弁52の弁軸部52b間を通るとともに前記点火栓57の両側を通って前記シリンダヘッド27の右側壁27cに一端部を開口するとともに他端部を閉じた有底の通路孔部59aと、吸気ポート47の周囲で前記シリンダヘッド27の上部側壁27aに一端部を開口するとともに他端部を前記通路孔部59aに連通させた貫通孔部59bとから成るエアジャケット59が形成されるので、仮想平面VLの両側でのスキッシュ55,56の膨出量を異ならせることでシリンダ軸線Cから偏倚した燃焼室44の周辺を効率よく放熱、冷却することができる。
また前記シリンダヘッド27のシリンダブロック40との結合面60から前記吸気ポート47の中心線CPAまでの最大長さLAが、前記結合面60から前記排気ポート48の中心線CPBまでの最大長さLBよりも小さく設定され、前記吸気ポート47の前記吸気弁口45と反対側の端部付近で前記吸気ポート47の上流部47aが直線状に延びるように形成されるので、吸気ポート47は吸気弁口45の付近で急激に屈曲することになり、図8で示すように、吸気弁51の開弁時に前記吸気ポート47の屈曲部47bでの空気層の剥離が生じることで、吸気弁口45から燃焼室44内に流入する空気流をより燃焼室44の中心に向かわせて燃焼室44内でタンブル流を発生させることができ、燃焼攪拌効果による燃焼効率のさらなる向上を果たすことができる。
また単気筒に構成される機関本体22が、前記シリンダ軸線Cに直交する平面への投影図上で直線状に延びるように形成される前記吸気ポート47を前後方向に指向させた姿勢で自動二輪車に搭載されるので、シリンダヘッド27における吸気ポート47の形状を大きく変えることなく、改造範囲を小幅にしながら吸気ポート47のシリンダヘッド27からの突出を抑制することができ、車幅方向での機関本体22の大型化を抑制することができる。
また前記吸気ポート47に連なる吸気管29が、自動二輪車の車幅方向中心を通って車体フレームFの一部を構成するメインフレーム14の左側方を通るように配置されるので、シリンダヘッド27の改造を必要とせずに、吸気管29の形状を変えるだけで、メインフレーム14を避けるように吸気装置28を配置することができる。
また前記吸気管29の吸気流線方向とは異なる方向に吸気流線方向を指向させて前記メインフレーム14の前記左側方に配置される気化器31が、可撓性を有する材料から成るジョイント部材30を介して前記吸気管29の上流端に接続されるので、吸気路の急激な曲がりを容易に達成することができる。
さらに排気装置34および気化器31が前記メインフレーム14の両側に配置されるので、自動二輪車の左右バランスの均衡を図ることができる。
以上、本発明の実施の形態について説明したが、本発明は上記実施の形態に限定されるものではなく、特許請求の範囲に記載された本発明を逸脱することなく種々の設計変更を行うことが可能である。
14・・・フレーム部材であるメインフレーム
22・・・機関本体
29・・・吸気管
27・・・シリンダヘッド
30・・・ジョイント部材
31・・・燃料供給手段である気化器
34・・・排気装置
40・・・シリンダブロック
42・・・ピストン
43・・・シリンダボア
44・・・燃焼室
45・・・吸気弁口
46・・・排気弁口
47・・・吸気ポート
47a・・・吸気ポートの上流部
48・・・排気ポート
51・・・吸気弁
51b・・・吸気弁の弁軸部
52・・・排気弁
52b・・・排気弁の弁軸部
55,56・・・スキッシュ
57・・・点火栓
57a・・・点火栓の先端部
59・・・エアジャケット
59a・・・通路孔部
59b・・・貫通孔部
60・・・シリンダヘッドのシリンダブロックとの結合面
C・・・シリンダ
CPA・・・吸気ポートの中心線
CPB・・・排気ポートの中心線
F・・・車体フレーム
LA・・・結合面から吸気ポートの中心線までの最大長さ
LB・・・結合面から排気ポートの中心線までの最大長さ
VL・・・仮想平面

Claims (8)

  1. ピストン(42)が摺動自在に嵌合されるシリンダボア(43)を有するシリンダブロック(40)に、前記ピストン(42)の頂部を臨ませる燃焼室(44)を前記シリンダブロック(40)との間に形成するシリンダヘッド(27)が結合され、1つの燃焼室(44)に対して1つずつの吸気弁(51)および排気弁(52)が、シリンダ軸線(C)を含む1つの仮想平面(VL)上に前記吸気弁(51)および前記排気弁(52)の作動軸線が配置されるようにして前記シリンダヘッド(27)に開閉作動可能に配設され、前記吸気弁(51)で開閉される吸気弁口(45)ならびに前記排気弁(52)で開閉される排気弁口(46)が前記燃焼室(44)の天井部に開口するようにして前記シリンダヘッド(27)に形成され、前記吸気弁口(45)に連なる吸気ポート(47)ならびに前記排気弁口(46)に連なる排気ポート(48)が前記シリンダヘッド(27)に設けられる内燃機関において、前記吸気ポート(47)が、その吸気ポート(47)の中心線(CPA)を、前記シリンダ軸線(C)に直交する平面への投影図上で、前記仮想平面(VL)に対して鋭角に交差させるようにして前記シリンダヘッド(27)に設けられ、前記シリンダヘッド(27)に、前記シリンダボア(43)の周縁に対応する部分から前記仮想平面(VL)に向かって膨出するようにして前記仮想平面(VL)の両側に配置される一対のスキッシュ(55,56)が設けられ、それらのスキッシュ(55,56)のうち前記投影図上で前記仮想平面(VL)に対して前記吸気ポート(47)の中心線が鋭角をなして交差する側に配置される一方のスキッシュ(55)が、他方のスキッシュ(56)よりも大きく膨出するように形成されることを特徴とする内燃機関。
  2. 前記シリンダヘッド(27)に取付けられる点火栓(57)の先端部(57a)が、前記仮想平面(VL)の両側のスキッシュ(55,56)のうち前記仮想平面(VL)に向けての膨出量が小さい方のスキッシュ(56)と、前記仮想平面(VL)との間で前記燃焼室(44)に臨むように配置されることを特徴とする請求項1に記載の内燃機関。
  3. 前記シリンダヘッド(27)に、前記吸気弁(51)の弁軸部(51b)および前記排気弁(52)の弁軸部(52b)間を通るとともに前記点火栓(57)の両側を通って前記シリンダヘッド(27)の側壁に一端部を開口するとともに他端部を閉じた有底の通路孔部(59a)と、前記吸気ポート(47)の周囲で前記シリンダヘッド(27)の他の側壁に一端部を開口するとともに他端部を前記通路孔部(59a)に連通させた貫通孔部(59b)とから成るエアジャケット(59)が形成されることを特徴とする請求項2に記載の内燃機関。
  4. 前記シリンダヘッド(27)の前記シリンダブロック(40)との結合面(60)から前記吸気ポート(47)の中心線(CPA)までの最大長さ(LA)が、前記結合面(60)から前記排気ポート(48)の中心線(CPB)までの最大長さ(LB)よりも小さく設定され、前記吸気ポート(47)の前記吸気弁口(45)と反対側の端部付近で前記吸気ポート(47)の上流部(47a)が直線状に延びるように形成されることを特徴とする請求項1〜3のいずれか1項に記載の内燃機関。
  5. 前記シリンダブロック(40)および前記シリンダヘッド(27)を含んで単気筒に構成される機関本体(22)が、前記シリンダ軸線(C)に直交する平面への投影図上で直線状に延びるように形成される前記吸気ポート(47)を前後方向に指向させた姿勢で車両に搭載されることを特徴とする請求項1〜4のいずれか1項に記載の内燃機関。
  6. 前記吸気ポート(47)に連なる吸気管(29)が、車両の車幅方向中心を通って車体フレーム(F)の一部を構成するフレーム部材(14)の側方を通るように配置されることを特徴とする請求項5に記載の内燃機関。
  7. 前記吸気管(29)の吸気流線方向とは異なる方向に吸気流線方向を指向させて前記フレーム部材(14)の前記側方に配置される燃料供給手段(31)が、可撓性を有する材料から成るジョイント部材(30)を介して前記吸気管(29)の上流端に接続されることを特徴とする請求項6に記載の内燃機関。
  8. 前記排気ポート(48)に接続される排気装置(34)が、前記フレーム部材(14)に関して前記燃料供給手段(31)とは反対側に配置されることを特徴とする請求項7に記載の内燃機関。
JP2015081476A 2014-09-30 2015-04-13 内燃機関 Expired - Fee Related JP6399552B2 (ja)

Priority Applications (1)

Application Number Priority Date Filing Date Title
BR102015024422-3A BR102015024422B1 (pt) 2014-09-30 2015-09-23 Motor de combustão interna

Applications Claiming Priority (2)

Application Number Priority Date Filing Date Title
JP2014199976 2014-09-30
JP2014199976 2014-09-30

Publications (2)

Publication Number Publication Date
JP2016070269A JP2016070269A (ja) 2016-05-09
JP6399552B2 true JP6399552B2 (ja) 2018-10-03

Family

ID=55866441

Family Applications (1)

Application Number Title Priority Date Filing Date
JP2015081476A Expired - Fee Related JP6399552B2 (ja) 2014-09-30 2015-04-13 内燃機関

Country Status (2)

Country Link
JP (1) JP6399552B2 (ja)
BR (1) BR102015024422B1 (ja)

Family Cites Families (8)

* Cited by examiner, † Cited by third party
Publication number Priority date Publication date Assignee Title
JPS59105927A (ja) * 1982-12-10 1984-06-19 Daihatsu Motor Co Ltd 内燃機関
CA2132282C (en) * 1993-10-29 2005-11-22 Richard William Smith, Jr. High performance head assembly for an internal combustion engine
US5598820A (en) * 1995-05-09 1997-02-04 Edelbrock Corporation Cylinder head for four stroke internal combustion engine
JP4344724B2 (ja) * 2005-11-30 2009-10-14 本田技研工業株式会社 内燃機関
JP4661860B2 (ja) * 2007-12-03 2011-03-30 スズキ株式会社 スクータ型車両
JP5719657B2 (ja) * 2011-03-29 2015-05-20 本田技研工業株式会社 鞍乗型車両
JP2013194585A (ja) * 2012-03-19 2013-09-30 Honda Motor Co Ltd 内燃機関の吸気ポート
JP6115197B2 (ja) * 2013-03-08 2017-04-19 スズキ株式会社 内燃機関の燃焼室構造

Also Published As

Publication number Publication date
BR102015024422B1 (pt) 2021-11-23
JP2016070269A (ja) 2016-05-09
BR102015024422A2 (pt) 2016-07-05

Similar Documents

Publication Publication Date Title
TWI358367B (en) Motorcycle
JP6638572B2 (ja) エアクリーナの吸気構造
JPWO2018163912A1 (ja) 内燃機関の吸気構造
JP5384263B2 (ja) 車両のエアクリーナ構造
CN108779736B (zh) 内燃机的进气构造
JP4717586B2 (ja) 燃料噴射式エンジン、及びこれを備える自動二輪車
JP2010228738A (ja) 自動二輪車
JP2010228736A (ja) 自動二輪車
US8622168B2 (en) Motorcycle exhaust system structure including a resonator provided to an exhaust pipe
JP5703183B2 (ja) スクータ型自動二輪車
TWI531491B (zh) 車輛
JP5339603B2 (ja) 自動二輪車
JP5324401B2 (ja) 鞍乗型車両の前部構造
JP6399552B2 (ja) 内燃機関
JP2014145349A (ja) 自動二輪車
JP2020055382A (ja) 車両のフロントカウル構造
JP6228091B2 (ja) 内燃機関の吸気構造
JP6268604B2 (ja) 内燃機関の吸気構造
JP2016180332A (ja) 自動二輪車
JP2017180145A (ja) 空冷式内燃機関
JP2012180798A (ja) 車両の吸気装置
JP2004263694A (ja) 強制空冷式エンジン
JP6795633B2 (ja) 吸気装置用ファンネル
WO2016052005A1 (ja) 鞍乗り型車両用内燃機関
JP2010228735A (ja) 自動二輪車

Legal Events

Date Code Title Description
A621 Written request for application examination

Free format text: JAPANESE INTERMEDIATE CODE: A621

Effective date: 20171129

A977 Report on retrieval

Free format text: JAPANESE INTERMEDIATE CODE: A971007

Effective date: 20180627

TRDD Decision of grant or rejection written
A01 Written decision to grant a patent or to grant a registration (utility model)

Free format text: JAPANESE INTERMEDIATE CODE: A01

Effective date: 20180808

A61 First payment of annual fees (during grant procedure)

Free format text: JAPANESE INTERMEDIATE CODE: A61

Effective date: 20180829

R150 Certificate of patent or registration of utility model

Ref document number: 6399552

Country of ref document: JP

Free format text: JAPANESE INTERMEDIATE CODE: R150

LAPS Cancellation because of no payment of annual fees