JP6361237B2 - ブロワユニット - Google Patents

ブロワユニット Download PDF

Info

Publication number
JP6361237B2
JP6361237B2 JP2014075388A JP2014075388A JP6361237B2 JP 6361237 B2 JP6361237 B2 JP 6361237B2 JP 2014075388 A JP2014075388 A JP 2014075388A JP 2014075388 A JP2014075388 A JP 2014075388A JP 6361237 B2 JP6361237 B2 JP 6361237B2
Authority
JP
Japan
Prior art keywords
door
air
fan
opening
mode
Prior art date
Legal status (The legal status is an assumption and is not a legal conclusion. Google has not performed a legal analysis and makes no representation as to the accuracy of the status listed.)
Expired - Fee Related
Application number
JP2014075388A
Other languages
English (en)
Other versions
JP2015197065A (ja
Inventor
俊輔 石黒
俊輔 石黒
加藤 慎也
慎也 加藤
康裕 関戸
康裕 関戸
Current Assignee (The listed assignees may be inaccurate. Google has not performed a legal analysis and makes no representation or warranty as to the accuracy of the list.)
Denso Corp
Original Assignee
Denso Corp
Priority date (The priority date is an assumption and is not a legal conclusion. Google has not performed a legal analysis and makes no representation as to the accuracy of the date listed.)
Filing date
Publication date
Application filed by Denso Corp filed Critical Denso Corp
Priority to JP2014075388A priority Critical patent/JP6361237B2/ja
Priority to PCT/JP2015/001738 priority patent/WO2015151476A1/ja
Publication of JP2015197065A publication Critical patent/JP2015197065A/ja
Application granted granted Critical
Publication of JP6361237B2 publication Critical patent/JP6361237B2/ja
Expired - Fee Related legal-status Critical Current
Anticipated expiration legal-status Critical

Links

Images

Classifications

    • FMECHANICAL ENGINEERING; LIGHTING; HEATING; WEAPONS; BLASTING
    • F04POSITIVE - DISPLACEMENT MACHINES FOR LIQUIDS; PUMPS FOR LIQUIDS OR ELASTIC FLUIDS
    • F04DNON-POSITIVE-DISPLACEMENT PUMPS
    • F04D29/00Details, component parts, or accessories
    • F04D29/40Casings; Connections of working fluid
    • F04D29/42Casings; Connections of working fluid for radial or helico-centrifugal pumps
    • F04D29/4206Casings; Connections of working fluid for radial or helico-centrifugal pumps especially adapted for elastic fluid pumps
    • F04D29/4226Fan casings
    • F04D29/4246Fan casings comprising more than one outlet
    • BPERFORMING OPERATIONS; TRANSPORTING
    • B60VEHICLES IN GENERAL
    • B60HARRANGEMENTS OF HEATING, COOLING, VENTILATING OR OTHER AIR-TREATING DEVICES SPECIALLY ADAPTED FOR PASSENGER OR GOODS SPACES OF VEHICLES
    • B60H1/00Heating, cooling or ventilating [HVAC] devices
    • B60H1/00007Combined heating, ventilating, or cooling devices
    • B60H1/00021Air flow details of HVAC devices
    • B60H1/00035Air flow details of HVAC devices for sending an air stream of uniform temperature into the passenger compartment
    • B60H1/0005Air flow details of HVAC devices for sending an air stream of uniform temperature into the passenger compartment the air being firstly cooled and subsequently heated or vice versa
    • FMECHANICAL ENGINEERING; LIGHTING; HEATING; WEAPONS; BLASTING
    • F04POSITIVE - DISPLACEMENT MACHINES FOR LIQUIDS; PUMPS FOR LIQUIDS OR ELASTIC FLUIDS
    • F04DNON-POSITIVE-DISPLACEMENT PUMPS
    • F04D17/00Radial-flow pumps, e.g. centrifugal pumps; Helico-centrifugal pumps
    • F04D17/08Centrifugal pumps
    • F04D17/16Centrifugal pumps for displacing without appreciable compression
    • F04D17/162Double suction pumps
    • FMECHANICAL ENGINEERING; LIGHTING; HEATING; WEAPONS; BLASTING
    • F04POSITIVE - DISPLACEMENT MACHINES FOR LIQUIDS; PUMPS FOR LIQUIDS OR ELASTIC FLUIDS
    • F04DNON-POSITIVE-DISPLACEMENT PUMPS
    • F04D29/00Details, component parts, or accessories
    • F04D29/26Rotors specially for elastic fluids
    • F04D29/28Rotors specially for elastic fluids for centrifugal or helico-centrifugal pumps for radial-flow or helico-centrifugal pumps
    • F04D29/281Rotors specially for elastic fluids for centrifugal or helico-centrifugal pumps for radial-flow or helico-centrifugal pumps for fans or blowers
    • F04D29/282Rotors specially for elastic fluids for centrifugal or helico-centrifugal pumps for radial-flow or helico-centrifugal pumps for fans or blowers the leading edge of each vane being substantially parallel to the rotation axis
    • FMECHANICAL ENGINEERING; LIGHTING; HEATING; WEAPONS; BLASTING
    • F04POSITIVE - DISPLACEMENT MACHINES FOR LIQUIDS; PUMPS FOR LIQUIDS OR ELASTIC FLUIDS
    • F04DNON-POSITIVE-DISPLACEMENT PUMPS
    • F04D29/00Details, component parts, or accessories
    • F04D29/40Casings; Connections of working fluid
    • F04D29/42Casings; Connections of working fluid for radial or helico-centrifugal pumps
    • F04D29/44Fluid-guiding means, e.g. diffusers
    • F04D29/46Fluid-guiding means, e.g. diffusers adjustable
    • F04D29/462Fluid-guiding means, e.g. diffusers adjustable especially adapted for elastic fluid pumps
    • F04D29/464Fluid-guiding means, e.g. diffusers adjustable especially adapted for elastic fluid pumps adjusting flow cross-section, otherwise than by using adjustable stator blades
    • BPERFORMING OPERATIONS; TRANSPORTING
    • B60VEHICLES IN GENERAL
    • B60HARRANGEMENTS OF HEATING, COOLING, VENTILATING OR OTHER AIR-TREATING DEVICES SPECIALLY ADAPTED FOR PASSENGER OR GOODS SPACES OF VEHICLES
    • B60H1/00Heating, cooling or ventilating [HVAC] devices
    • B60H1/00007Combined heating, ventilating, or cooling devices
    • B60H1/00021Air flow details of HVAC devices
    • B60H2001/00078Assembling, manufacturing or layout details
    • B60H2001/00099Assembling, manufacturing or layout details comprising additional ventilating means

Landscapes

  • Engineering & Computer Science (AREA)
  • Mechanical Engineering (AREA)
  • General Engineering & Computer Science (AREA)
  • Physics & Mathematics (AREA)
  • Thermal Sciences (AREA)
  • Air-Conditioning For Vehicles (AREA)
  • Structures Of Non-Positive Displacement Pumps (AREA)

Description

本発明は、ブロワユニットに関するものである。
従来、車載空調装置用のブロワユニットにおいて、回転軸の回転に伴って回転軸の軸線方向一方側から空気を吸い込んで回転軸の径方向外側に吹き出すファンと、ファンを収納してファンに対して前記径方向外側に開口する吹出開口部を有するブロワケースと、吹出開口部を開閉するドアとを備えるものがある(例えば、特許文献1参照)。このものにおいて、ファンの回転に伴って、ファンから吹出開口部を通して径方向外側(すなわち、回転方向に対する法線方向)に空気流が吹き出される。
特開平11−139138号公報
上記ブロワユニットでは、ドア3が吹出開口部2を開けた状態でファン1が吹出開口部2を通して径方向外側に空気流を吹き出すものの、ファン1の回転の影響を受けて、空気流には、偏った風速分布(図25参照)が発生する。この風速分布は、回転方向後側よりも回転方向前側の方が風速が速くなる分布である。このため、ファン1から吹き出される空気流の圧力損失が大きくなる。
本発明は上記点に鑑みて、ファンから吹出開口部に吹き出される空気流の風速分布が偏ることを抑制するようにしたブロワユニットを提供することを目的とする。
上記目的を達成するため、請求項1に記載の発明では、第1回転軸(81)と、第1回転軸に支持されて、第1回転軸の回転に伴って回転軸の径方向外側に空気を吹き出すファン(80a、80b)と、ファンを収納してファンに対して径方向外側に開口する吹出開口部(64a〜64e)を有するケース(60)と、吹出開口部を開閉するドア(84a〜84e)と、を備え、ドアは、吹出開口部を開けた状態で、ファンから吹出開口部に吹き出される空気流を第1回転軸の回転方向に分けるように構成されており、ドアは、吹出開口部を開けた状態で、ファンから吹出開口部に吹き出される空気流を第1回転軸の回転方向に分けるためのガイド(120)を備えることを特徴とする。
請求項1に記載の発明によれば、ファンから吹出開口部に吹き出される空気流が第1回転軸の回転方向に分けられる。このため、ドアによって空気流が複数の分流(Ka、Kb)に分けられるものの、複数の分流の風速分布の偏りはそれぞれ小さくなる。したがって、ファンから吹出開口部に吹き出される空気流の風速分布が偏ることを抑制することができる。
なお、この欄および特許請求の範囲で記載した各手段の括弧内の符号は、後述する実施形態に記載の具体的手段との対応関係を示すものである。
本発明の第1実施形態における車両用空調装置の内部構成を示す模式図である。 図1中II−II断面図である。 図1中のモードドアの正面図である。 図1中IV−IV断面図である。 図1中のモードドアの効果を示すための図である。 本発明の第2実施形態におけるモードドアを示す断面図である。 図6のモードドアが開いた状態を示す断面図である。 本発明の第3実施形態におけるモードドアを示す断面図である。 図8のモードドアが開いた状態を示す断面図である。 本発明の第4実施形態におけるモードドアを示す断面図である。 図10のモードドアが開いた状態を示す断面図である。 本発明の第5実施形態におけるモードドアを示す断面図である。 図12中のモードドアのA矢視図である。 図12中XIV−XIV断面図である。 図12中のモードドアが閉じた状態を示す断面図である。 図12中のモードドアのB矢視図である。 図12中XVII−XVII断面図である。 本発明の第6実施形態におけるモードドアを示す断面図である。 図18中のモードドアのA矢視図である。 図18中XX−XX断面図である。 図18中のモードドアが閉じた状態を示す断面図である。 図18中のモードドアのB矢視図である。 図18中XXI−XXI断面図である。 本発明の第7実施形態におけるモードドアを示す断面図である。 従来技術の問題を示すための図である。
以下、本発明の実施形態について図に基づいて説明する。なお、以下の各実施形態相互において、互いに同一もしくは均等である部分には、説明の簡略化を図るべく、図中、同一符号を付してある。
(第1実施形態)
図1は、本発明の一実施形態における車両用空調装置の空調ユニットの断面図である。図1において上、下、左、右の各矢印は、当該車両用空調装置を車両に搭載した際の方向を示している。
本実施形態の空調ユニット10は、内外気二層型の空調ユニット10であって、ヒータユニット20とブロワユニット30とを備える。ブロワユニット30は、車室内のインストルメントパネル下方部のうち、車幅方向の略中央部に配置されている。ヒータユニット20は、車室内のインストルメントパネル下方部のうち、中央部から助手席側へオフセットして配置されている。
ヒータユニット20は、ヒータケース21を備える。ヒータケース21は、ポリプロピレンのような、ある程度弾性を有し、強度的にも優れた樹脂の成型品からなる。ヒータケース21は、上側空気通路22aと下側空気通路22bとを仕切る仕切り壁としての樹脂壁23を備える。上側空気通路22aと下側空気通路22bとは、外気導入口24a、内気導入口24bから導入された空気流を車室以内に向けて流通させるものである。外気導入口24a、および内気導入口24bは、ヒータケース21に形成されているものである。外気導入口24aは、外気(車室外空気)を空気通路22a、22bに導入するために形成されている。内気導入口24bは、内気(車室内空気)を空気通路22a、22bに導入するために形成されている。空気通路22a、22bは、上側空気通路22aと下側空気通路22bを総称したものである。
ヒータユニット20は、外気導入口24aおよび内気導入口24bのうち少なくとも一方を開ける内外気切替ドア25を備える。内外気切替ドア25は、図示しないアクチュエータにより駆動される。さらに、ヒータケース21は、内外気ガイド26を備える。内外気ガイド26は、内外気切替ドア25によって外気導入口24aおよび内気導入口24bをそれぞれ開けた状態で外気導入口24aから導入された外気を上側空気通路22aに導くとともに、内気導入口24bから導入された内気を下側空気通路22bに導くためのガイドである。
ヒータユニット20は、フィルタ40、冷却用熱交換器42、ヒータコア44、およびエアミックスドア48a、48bを備える。
フィルタ40は、ヒータケース21内にて、上側空気通路22aおよび下側空気通路22bを跨ぐように配置されている。フィルタ40は、外気導入口24a、内気導入口24bから導入されて上側空気通路22aを流れる空気流を濾過する。さらに、フィルタ40は、外気導入口24a、内気導入口24bから導入されて下側空気通路22bを流れる空気流を濾過する。
冷却用熱交換器42は、ヒータケース21内にて、上側空気通路22aおよび下側空気通路22bを跨ぐように配置されている。冷却用熱交換器42は、フィルタ40に対して空気流の流れ下流側に配置されている。冷却用熱交換器42は、周知の冷凍サイクルの冷媒の蒸発潜熱をフィルタ40を通過した空気から吸収してこの空気を空気通路毎に冷却するものである。
ヒータコア44は、ヒータケース21内において、冷却用熱交換器42に対して空気流れ下流側に配置されて、かつ上側空気通路22aおよび下側空気通路22bを跨ぐように配置されている。ヒータコア44は、空気通路22a、22bを通過した冷風をエンジン冷却水(温水)により加熱して温風を吹き出す。
上側空気通路22aには、冷却用熱交換器42からの冷風をヒータコア44をバイパスして車室内に向けて流すバイパス通路46aが形成されている。下側空気通路22bには、冷却用熱交換器42からの冷風をヒータコア44をバイパスして車室内に向けて流すバイパス通路46bが形成されている。
エアミックスドア48aは、上側空気通路22a内に配置されて、冷却用熱交換器42から吹き出される風量のうちヒータコア44に流れる風量とバイパス通路46aに流れる風量との比率を変えるドアである。エアミックスドア48bは、下側空気通路22b内に配置されて、冷却用熱交換器42から吹き出される風量のうちヒータコア44に流れる風量とバイパス通路46bに流れる風量との比率を変えるドアである。本実施形態では、エアミックスドア48a、48bとしてスライド移動可能にヒータケース21に対して支持されているスライドドアが設けられている。
上側空気通路22aには、エアミックスドア48aに対して駆動力を出力するアクチュエータ50a、およびアクチュエータ50aの駆動出力をエアミックスドア48aに伝達する動力伝達機構51aが配置されている。アクチュエータ50aおよび動力伝達機構51aは、ヒータケース21のうちフィルタ40に対して空気流の流れ下流側に配置されている。
下側空気通路22bには、エアミックスドア48bに対して駆動力を出力するアクチュエータ50b、およびアクチュエータ50bの駆動出力をエアミックスドア48bに伝達する動力伝達機構51bが配置されている。アクチュエータ50bおよび動力伝達機構51bは、ヒータケース21のうちフィルタ40に対して空気流の流れ下流側に配置されている。
本実施形態では、アクチュエータ50a、50bおよび動力伝達機構51a、51bは、ヒータケース21に支持されている。アクチュエータ50a、50bとしては、サーボモータ等の電動モータが用いられる。動力伝達機構51a、51bは、それぞれ歯車や回転軸等により構成されている。
ヒータケース21には、上側空気通路22aの空気出口28aと下側空気通路22bの空気出口28bとが形成されている。空気出口28aは、ヒータコア44およびバイパス通路46aに対して空気流れ下流側に配置されている。空気出口28bは、ヒータコア44およびバイパス通路46bに対して空気流れ下流側に配置されている。
ブロワユニット30は、ブロワケース60を備える。ブロワケース60は、ポリプロピレンのような、ある程度弾性を有し、強度的にも優れた樹脂の成型品からなる。ブロワケース60は、上側空気通路61aと下側空気通路61bとを仕切る仕切り壁としての樹脂壁62を備える。ブロワケース60には、ヒータケース21の空気出口28aから吹き出される空気流を上側空気通路61a内に導く空気入口63aが設けられている。ブロワケース60には、ヒータケース21の空気出口28bから吹き出される空気流を下側空気通路61b内に導く空気入口63bが設けられている。
ヒータケース21およびブロワケース60の間には、ダクト70が配置されている。ダクト70は、ヒータケース21およびブロワケース60とともに空調ケースを構成するものであって、ポリプロピレンのような、ある程度弾性を有し、強度的にも優れた樹脂の成型品からなる。ダクト70は、上側空気通路71aと下側空気通路71bとを仕切る樹脂壁72を備える。上側空気通路71aは、ヒータケース21の空気出口28aから吹き出される空気流を上側空気通路61a内に導くために用いられている。下側空気通路71bは、ヒータケース21の空気出口28bから吹き出される空気流を下側空気通路61b内に導くために用いられている。
本実施形態のダクト70は、ヒータケース21から吹き出される空気流のうち主流の空気流れ方向に対して直交する断面の面積が空気出口28a、28bから空気入口63a、63bに向けて小さくなるようにテーパ状に形成されている。主流は、ヒータケース21から吹き出される複数の空気流のうち最も風量の多い空気流である。ブロワユニット30は、ファン80a、80b、およびブロワモータ82を備える。ファン80aは、回転軸81の軸線方向一方側(図中上側)に支持されている。ファン80bは、回転軸81の軸線方向他方側(図中下側)に支持されている。ファン80a、80bは、それぞれ、複数のブレードが回転軸81の回転方向に並べられている遠心式ファンである。
ファン80aは、回転軸81の軸線方向他方側(図中下側)から上側空気通路61a内の空気を吸い込んで径方向外側に吹き出す。ファン80bは、回転軸81の軸線方向一方側(図中上側)から下側空気通路61b内の空気を吸い込んで径方向外側に吹き出す。回転軸81は、樹脂壁62を貫通して、天地方向に延びるように配置されている。ブロワモータ82は、回転軸81を介してファン80a、80bを回転駆動する電動モータである。
図1および図2に示すように、ブロワケース60には、モードドア84a、84b、84cが配置されている。
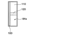
モードドア84aは、図3に示すように、ドア本体100および回転軸(第2回転軸)110を備えるバタフライドアである。ドア本体100は、厚み方向一方側(図3中手前側)から視て長方形状に形成されている板状に形成されている。回転軸110は、ドア本体100の側面102、103からそれぞれ突出するように形成されている。回転軸110は、その軸線D1がドア本体100の中央部Saを通過するように設定されている。つまり、軸線D1は、ドア本体100の面方向の中央部に重なるように設定されている。側面102、103は、ドア本体100のうち互いに対向する側面である。モードドア84aは、ブロワケース60に対して回転軸110の軸線D1を中心として回転自在に支持されている。
本実施形態では、モードドア84aのドア本体100は、ドア本体100を回転軸110の軸線方向(図2中紙面手前側)から視て、ドア本体100の厚み方向一方側に凸となる円弧状に形成されている円弧部101を備える。本実施形態のモードドア84b、84cとしては、モードドア84aと同様に、円弧部101を備えるバタフライドアが採用されている。
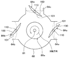
ブロワケース60のうちファン80aに対して回転軸81を中心とする径方向外側に、フェイス吹出開口部64a、64bおよびデフロスタ吹出開口部64cが形成されている。フェイス吹出開口部64a、64bおよびデフロスタ吹出開口部64cは、回転軸81の回転方向に並べられている。
なお、フェイス吹出開口部64aは、運転席側フェイスダクトを通して運転席側フェイス吹出口に連通している。フェイス吹出開口部64bは、助手席側フェイスダクトを通して助手席側フェイス吹出口に連通している。デフロスタ吹出開口部64cは、デフロスタダクトを通してデフロスタ吹出口に連通している。運転席側フェイス吹出口は、運転者上半身に空気流を吹き出すための吹出口である。助手席側フェイス吹出口は、助手席の乗員上半身に空気流を吹き出すための吹出口である。デフロスタ吹出口は、フロントガラスの内表面に空気流を吹き出すための吹出口である。
本実施形態のモードドア84aは、その回転によってフェイス吹出開口部64aを開閉する。モードドア84bは、その回転によってフェイス吹出開口部64bを開閉する。モードドア84cは、その回転によってデフロスタ吹出開口部64cを開閉する。なお、図2中鎖線は、モードドア84a、84b、84cがそれぞれ対応する吹出開口部を閉じた状態を示している。
図1および図4に示すように、ブロワケース60内には、モードドア84d、84eが配置されている。本実施形態のモードドア84d、84eとしては、モードドア84aと同様に、円弧部101を備えるバタフライドアが採用されている。
ブロワケース60のうちファン80bに対して回転軸81を中心とする径方向外側には、フット吹出開口部64d、64eが形成されている。フット吹出開口部64d、64eは、回転軸81の回転方向に並べられている。
なお、フット吹出開口部64dは、運転席側フットダクトを通して運転席側フット吹出口に連通している。フット吹出開口部64eは、助手席側フットダクトを通して助手席側フット吹出口に連通している。
モードドア84dは、その回転によりフット吹出開口部64dを開閉する。モードドア84eは、その回転によりフット吹出開口部64eを開閉する。なお、図4中鎖線は、モードドア84d、84eがそれぞれ対応する吹出開口部を閉じた状態を示している。
図1のブロワケース60内には、モードドア84a、84b、84cに対して駆動力を出力するアクチュエータ90aが配置されている。アクチュエータ90aは、動力伝達機構を介してモードドア84a、84b、84cをそれぞれ独立して駆動する。動力伝達機構は、複数の歯車や回転軸によって構成されたもので、アクチュエータ90aの駆動出力をモードドア84a、84b、84cに伝達するためのリンク機構である。アクチュエータ90aは、電子制御装置により制御される。
ブロワケース60内には、モードドア84d、84eに対して駆動力を出力するアクチュエータ90bを備える。アクチュエータ90bは、動力伝達機構を通してモードドア84d、84eをそれぞれ独立して駆動する。動力伝達機構は、複数の歯車や回転軸によって構成されたもので、アクチュエータ90bの駆動出力をモードドア84d、84eに伝達するためのリンク機構である。アクチュエータ90bは、電子制御装置により制御される。
ここで、アクチュエータ90a、90bは、樹脂壁62とともに、上側空気通路61aおよび下側空気通路61bの間の仕切り壁を構成している。
本実施形態は、アクチュエータ90a、90bおよび2つの動力伝達機構は、ブロワケース60に支持されている。アクチュエータ90a、90bとしてサーボモータ等の電動モータが用いられる。
次に、本実施形態の空調ユニット10の作動の具体例として内外気二層モードについて説明する。
まず、内外気切替ドア25が外気導入口24aおよび内気導入口24bをそれぞれ開けた状態にする。そして、アクチュエータ90aはその駆動出力を動力伝達機構を通してモードドア84a、84b、84cに出力することにより、モードドア84a、84b、84cを回転させる。これにより、フェイス吹出開口部64a、64bおよびデフロスタ吹出開口部64cは、それぞれ、開口、或いは閉鎖される。
アクチュエータ90bはその駆動出力を動力伝達機構を通してモードドア84bに出力することにより、モードドア84bを回転させる。これにより、フット吹出開口部64d、64eは、それぞれ、開口、或いは閉鎖される。
さらに、ブロワモータ82が回転軸81を介してファン80a、80bを回転させる。このため、ヒータケース21内には、導入口24a、24b側から車室内に向けて流れる空気流が発生する。
これに伴い、外気導入口24aから導入された外気は、内外気切替ドア25および内外気ガイド26によって上側空気通路22aに導かれる。この導かれた外気は、フィルタ40を通過してから冷却用熱交換器42に流れる。このことにより、上側空気通路22aにおいて、冷却用熱交換器42から冷風が吹き出される。
ここで、冷却用熱交換器42から吹き出される冷風のうち一部はヒータコア44に流れる。これに伴い、ヒータコア44から温風が吹き出される。一方、冷却用熱交換器42から吹き出される冷風のうちヒータコア44に流れる冷風以外の残りの冷風はバイパス通路46aに流れる。これに伴い、ヒータコア44から吹き出される温風とバイパス通路46aを通過した冷風とは、混合されて上側空気通路22aの空気出口28aからダクト70の上側空気通路71aに吹き出される。
このとき、エアミックスドア48aは、冷却用熱交換器42から吹き出される風量のうちヒータコア44に流れる風量とバイパス通路46aに流れる風量との比率を変えることにより、空気出口28aから吹き出される空気温度を調整することができる。このように温度調節された空気流は、ダクト70の上側空気通路71a内を通過してからブロワケース60の上側空気通路61aに流れる。これに伴い、この空気流は、ファン80aに対して軸線方向他方側から吸入される。そして、ファン80aは、この吸い込んだ空気を径方向外側に吹き出す。
このとき、フェイス吹出開口部64a、64bおよびデフロスタ吹出開口部64cのうち、例えばデフロスタ吹出開口部64cがモードドア84dにより開口されている場合には、ファン80aからデフロスタ吹出開口部64cに吹き出される空気流は、モードドア84dによってファン80aの回転方向に分けられる(図5参照)。このことにより、ファン80aから吹き出される空気流は、モードドア84cによって空気流Ka、Kbに分流される。このとき、モードドア84dの円弧部101は、回転方向前側に向けて配置されている。このため、デフロスタ吹出開口部64cのうちモードドア84dに対して回転方向前側に流れる空気流Kaは、コアンダ効果によって、円弧部101から剥離することなく、円弧部101に沿って流れる。このようにファン80aからデフロスタ吹出開口部64cに流れる空気流は、デフロスタダクトおよびデフロスタ吹出口を通してフロントガラスの内表面に吹き出される。図5中符号80cは翼を示している。
一方、内気導入口24bからの内気が内外気切替ドア25および内外気ガイド26によって下側空気通路22b内に導かれる。この内気は、フィルタ40を通過してから冷却用熱交換器42に流れる。このことにより、下側空気通路22bにおいて、冷却用熱交換器42から冷風が吹き出される。
ここで、冷却用熱交換器42から吹き出される冷風のうち一部はヒータコア44に流れる。これに伴い、ヒータコア44から温風が吹き出される。一方、冷却用熱交換器42から吹き出される冷風のうちヒータコア44に流れる冷風以外の残りの冷風はバイパス通路46bに流れる。これに伴い、ヒータコア44から吹き出される温風とバイパス通路46bを通過した冷風とは、混合されて下側空気通路22bの空気出口28bからダクト70の下側空気通路71bに吹き出される。このとき、エアミックスドア48bは、冷却用熱交換器42から吹き出される風量のうちヒータコア44に流れる風量とバイパス通路46bに流れる風量との比率を変えることにより、空気出口28bから吹き出される空気温度を調整することができる。
このように温度調節された空気流は、ダクト70の下側空気通路71b内を通過してからブロワケース60の下側空気通路61bに流れる。これに伴い、この空気流は、ファン80bに対して軸線方向一方側から吸入される。このため、ファン80bは、この吸い込んだ空気を径方向外側に吹き出す。
ここで、フット吹出開口部64d、64eがモードドア84d、84eによって開口されている場合には、ファン80bから吹き出された空気流は、フット吹出開口部64d、64eに流れる。このとき、上述したモードドア84cと同様に、モードドア84dは、ファン80bからフット吹出開口部64dに流れる空気流をファン80aの回転方向に分ける。そして、フット吹出開口部64dから吹き出される空気は、運転席側フットダクトおよび運転席側フット吹出口を通して運転者下半身に吹き出される。
一方、モードドア84eは、ファン80bからフット吹出開口部64eに流れる空気流をファン80aの回転方向に分ける。フット吹出開口部64eから吹き出される空気は、助手席側フットダクトおよび助手席側フット吹出口を通して助手席の乗員下半身に吹き出される。
以上説明した本実施形態によれば、ブロワユニット30は、回転軸81と、回転軸81に支持されて、回転軸81の回転に伴って回転軸81の径方向外側に空気を吹き出すファン80a、80bと、ファン80a、80bを収納してファン80a、80bに対して径方向外側に開口する吹出開口部64a〜64eを有するブロワケース60と、吹出開口部64a〜64eを開閉するモードドア84a〜84eとを備える。モードドア84a〜84eとしては、バタフライドアが採用されている。モードドア84a〜84eは、吹出開口部64a〜64eのうち対応する吹出開口部を開けた状態で、ファン80a(80b)から対応する吹出開口部に吹き出される空気流を回転軸81の回転方向に分ける。したがって、ファン80a(80b)から吹出開口部に吹き出される空気流は分流Ka、Kbに分けられるものの、分流Ka、Kbの風速分布の偏りはそれぞれ小さくなる。このため、ファン80a、80bから吹出開口部64a〜64eに吹き出される空気流の風速分布が回転方向に偏ることを抑制することができる。これに加えて、吹出開口部64a〜64eに吹き出される空気流の渦が形成されることを抑制することができる。これにより、ファン80a、80bから吹出開口部64a〜64eに吹き出される空気流の圧力損失が大きくなることを抑制できる。
本実施形態では、モードドア84cは、デフロスタ吹出開口部64cを開けた状態で、円弧部101が回転方向前側に向けて配置されている。このため、デフロスタ吹出開口部64cのうちモードドア84cに対して回転方向前側に流れる空気流Kaは、コアンダ効果によって、円弧部101から剥離することなく、円弧部101に沿って流れる。このため、回転方向に亘って、空気流Kaの風速や空気流れ方向を揃えることができる。モードドア84a、80b、80d、80eにおいても、モードドア84cと同様の効果が得られる。
(第2実施形態)
上記第1実施形態では、1つの吹出開口部に1つのバタフライドアを設けた例について説明したが、これに代えて、本第2実施形態では、1つの吹出開口部に対して複数のモードドアを設ける例を示す。
本実施形態では、吹出開口部64a〜64eに対して吹出開口部毎に2つのモードドアが設けられている。図6、図7は、図2に対応するもので、1つの吹出開口部64aに対して2つのモードドア84aが設けられたブロワユニット30を示す。図6は2つのモードドア84aが吹出開口部64aを閉じた状態を示す図である。図7は2つのモードドア84aが吹出開口部64aを開けた状態を示す図である。
(第3実施形態)
上記第1、第2の実施形態では、モードドア84a〜84eとして、ドア本体に円弧部101を備えるバタフライドアを設けた例について、これに代えて、本第3の実施形態では、モードドア84a〜84eとして、図8、図9のバタフライドアを用いる例について説明する。
本実施形態のモードドア84a〜84eとして、円弧部101を有していないバタフライドアが設けられている。具体的には、モードドア84a〜84eでは、ドア本体100は、その板厚方向の一方側および他方側がそれぞれ面方向に平らに拡がるように形成されている平板状に形成されている。
図8、図9は、図2に対応するもので、1つの吹出開口部64aに対して1つのモードドア84aが設けられたブロワユニット30を示す。図8はモードドア84aが吹出開口部64aを閉じた状態を示す図である。図9はモードドア84aが吹出開口部64aを開けた状態を示す図である。
(第4実施形態)
上記第3実施形態では、1つの吹出開口部に1つのバタフライドアを設けた例について説明したが、これに代えて、本第4実施形態では、1つの吹出開口部に複数のモードドアを設ける例を示す。
本実施形態では、吹出開口部64a〜64eに対して吹出開口部毎に2つのモードドアが設けられている。図10、図11は、図2に対応するもので、1つの吹出開口部64aに対して2つのモードドア84aが設けられたブロワユニット30を示す。図10は、2つのモードドア84aが吹出開口部64aを閉じた状態を示す図である。図11は2つのモードドア84aが吹出開口部64aを開けた状態を示す図である。
(第5実施形態)
上記第1〜4の実施形態では、ファンから吹出開口部に吹き出される空気流を回転方向に分けるために、モードドア84a〜84eとしてバタフライドアを用いた例について説明したが、これに代えて、本第5実施形態では、モードドア84a〜84eとして、ガイド付の片持ちドアを用いる例について図12〜図17を参照して説明する。
図12〜図17は、本実施形態のブロワユニット30およびモードドア84aを示す図である。図12、図15は、図2に相当する断面図であって、本実施形態のブロワユニット30の断面を示す。図13は図12中A矢視図であり、図16は図15中B矢視図である。図14は図12中XIV−XIV断面図であり、図17は図12中XVII−XVII断面図である。図12〜図14は、モードドア84aが吹出開口部64aを開けた状態を示している。図15〜図17は、モードドア84aが吹出開口部64aを閉じた状態を示している。
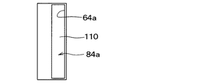
本実施形態のモードドア84aは、板状に形成されているドア本体100と、ドア本体100のうち側面側を軸線が通過するように形成されている回転軸110とを備える片持ちのドアである。
これに加えて、本実施形態のモードドア84aは、ガイド120を備える。ガイド120は、板状に形成されて、かつドア本体100に対して直交するように形成されている。ガイド120は、ファン80aから吹出開口部64aに流れる空気流に沿うように配置されている。ガイド120は、ドア本体100のうち回転軸110の軸線方向中央部に位置する。
このように構成される本実施形態では、モードドア84aが吹出開口部64aを開けた状態で、ファン80aから吹出開口部64aに吹き出される空気流をガイド120が回転方向に分ける。したがって、ガイド120によって空気流が2つの分流に分けられるものの、2つの分流の風速分布の偏りはそれぞれ小さくなる。したがって、上記第1実施形態と同様、ファン80aから吹出開口部64aに吹き出される空気流の風速分布が偏ることを抑制することができる。
なお、モードドア84b〜84eは、モードドア84aと同一構成であるためその説明を省略する。図12〜図15では、モードドア84b、84cおよび吹出開口部64b、64cを省略している。
(第6実施形態)
上記第5実施形態では、ドア本体100にガイド120を備えた片持ちドアをモードドア84a〜84eとした例について説明したが、これに代えて、本第6実施形態では、ドア本体100にガイド120を備えたロータリドアをモードドア84a〜84eとする。
図18〜図23は、本実施形態のブロワユニット30およびモードドア84aを示す図である。図18、図21は、図2に相当する断面図であって、本実施形態のブロワユニット30の断面を示す。図19は図18中A矢視図であり、図22は図21中B矢視図である。図20は図18中XX−XX断面図であり、図23は図21中XXI−XXI断面図である。図18〜図20は、モードドア84aが吹出開口部64aを開けた状態を示している。図21〜図23はモードドア84aが吹出開口部64aを閉じた状態を示している。
(第7実施形態)
本第7実施形態では、上記第1実施形態において、ファンから吹き出される空気流を調整するために、ドア本体にリブを設けたバタフライドアをモードドアとする例について説明する。
本実施形態では、フェイス吹出開口部64aに2つのモードドア84が配置されている。以下、説明の便宜上、2つのモードドア84のうち一方のモードドアをモードドア84とし、残りのモードドアをモードドア84a’とする。
図24は、本実施形態においてドア本体100にリブ104を設けたバタフライドアをモードドア84aとする例を示している。リブ104は、ドア本体100の円弧部101からモードドア84a’側に突起するように形成されている突起部である。このため、ファン80aからモードドア84aとモードドア84a’との間に流れる空気流の風量や風向きを調整することができる。これに伴い、フェイス吹出開口部64aを通過する空気流の風速分布、温度分布を調整することができる。これに加えて、リブ104は、フェイス吹出開口部64aから吹き出される空気流の圧力損失を生じさせる。このため、フェイス吹出開口部64aから吹き出される空気温度を調整することができる。さらに、フェイス吹出開口部64a、64b、およびデフロスタ吹出開口部64cのそれぞれに流れる風量の割合を調整することができる。
(他の実施形態)
上記第7実施形態では、上記第1実施形態のドア本体100にリブ104を設けたバタフライドアをモードドア84aとする例について説明したが、これに代えて、モードドア84a以外のモードドア84b〜84eをドア本体100にリブ(突起部)104を設けたバタフライドアとしてもよい。同様に、上記第2〜7実施形態のドア本体100にリブ104を設けたドアをモードドア84a〜84eとしてもよい。
上記第5、6実施形態では、片持ちドアやロータリドアにガイド120を設けたものをモードドア84a〜84eとした例について説明したが、これに代えて、片持ちドアやロータリドア以外の各種のドア(例えば、スライドドア)にガイド120を設けたものをモードドア84a〜84eとしてもよい。
上記第1〜7実施形態では、本発明に係るブロワユニット30を車両用空調装置に適用した例について説明したが、これに代えて、車両用空調装置以外の空調装置(例えば、設置型空調装置)に本発明に係るブロワユニット30を適用してもよい。さらに、本発明に係るブロワユニット30を車両用空調装置以外の機器に適用してもよい。
上記第1〜4の実施形態では、ドア本体100の側面102、103からそれぞれ突出するように形成されている軸を回転軸110とした例について説明したが、これに代えて、ドア本体100の側面102、103のうち一方の側面から突出するように形成されている軸を回転軸110としてもよい。
上記第1、2の実施形態では、ドア本体100の厚み方向一方側に円弧部101を設けた例について説明したが、これに代えて、ドア本体100の厚み方向一方側および他方側に円弧部101をそれぞれ設けてもよい。
上記第2、4の実施形態では、1つの吹出開口部に対して2つのバタフライドアを設けた例について説明したが、これに代えて、1つの吹出開口部に対して2つ以上のバタフライドアを設けてもよい。
なお、本発明は上記した実施形態に限定されるものではなく、特許請求の範囲に記載した範囲内において適宜変更が可能である。また、上記各実施形態は、互いに無関係なものではなく、組み合わせが明らかに不可な場合を除き、適宜組み合わせが可能である。また、上記各実施形態において、実施形態を構成する要素は、特に必須であると明示した場合および原理的に明らかに必須であると考えられる場合等を除き、必ずしも必須のものではないことは言うまでもない。
10 空調ユニット
20 ヒータユニット
30 ブロワユニット
60 ブロワケース
64a、64b フェイス吹出開口部
64c デフロスタ吹出開口部
64d、64e フット吹出開口部
81 回転軸(第1回転軸)
80a、80b ファン
60 ブロワケース
84a〜84e モードドア

Claims (6)

  1. 第1回転軸(81)と、
    前記第1回転軸に支持されて、前記第1回転軸の回転に伴って前記第1回転軸の径方向外側に空気を吹き出すファン(80a、80b)と、
    前記ファンを収納して前記ファンに対して前記径方向外側に開口する吹出開口部(64a〜64e)を有するケース(60)と、
    前記吹出開口部を開閉するドア(84a〜84e)と、を備え、
    前記ドアは、前記吹出開口部を開けた状態で、前記ファンから前記吹出開口部に吹き出される空気流を前記第1回転軸の回転方向に分けるように構成されており、
    前記ドアは、前記吹出開口部を開けた状態で、前記ファンから前記吹出開口部に吹き出される空気流を前記第1回転軸の回転方向に分けるためのガイド(120)を備えることを特徴とするブロワユニット。
  2. 前記ドアは、前記ファンから前記吹出開口部に吹き出される空気流を調整するための突起部(102)を備えることを特徴とする請求項1に記載のブロワユニット。
  3. 第1回転軸(81)と、
    前記第1回転軸に支持されて、前記第1回転軸の回転に伴って前記第1回転軸の径方向外側に空気を吹き出すファン(80a、80b)と、
    前記ファンを収納して前記ファンに対して前記径方向外側に開口する吹出開口部(64a〜64e)を有するケース(60)と、
    前記吹出開口部を開閉するドア(84a〜84e)と、を備え、
    前記ドアは、前記吹出開口部を開けた状態で、前記ファンから前記吹出開口部に吹き出される空気流を前記第1回転軸の回転方向に分けるように構成されており、
    前記ドアは、前記ファンから前記吹出開口部に吹き出される空気流を調整するための突起部(102)を備えることを特徴とするブロワユニット。
  4. 前記ドアは、板状に形成されているドア本体(100)と、前記ドア本体の中央部(Sa)を軸線(D1)が通過し、かつ前記ドア本体の側面(102、103)から突出するように形成されている第2回転軸(110)とを備え、前記第2回転軸の軸線を中心として回転自在に支持されているバタフライドアであり、
    さらに前記バタフライドアが前記吹出開口部を開けた状態で、前記ファンから前記吹出開口部に吹き出される空気流を前記バタフライドアが前記第1回転軸の回転方向に分けるようになっていることを特徴とする請求項3に記載のブロワユニット。
  5. 1つの前記吹出開口部に対して複数の前記バタフライドアが配置されていることを特徴とする請求項4に記載のブロワユニット。
  6. 前記ドア本体は、前記第2回転軸の軸線方向から視て厚み方向に凸となる円弧状に形成されている円弧部(101)を備えることを特徴とする請求項4または5に記載のブロワユニット。
JP2014075388A 2014-04-01 2014-04-01 ブロワユニット Expired - Fee Related JP6361237B2 (ja)

Priority Applications (2)

Application Number Priority Date Filing Date Title
JP2014075388A JP6361237B2 (ja) 2014-04-01 2014-04-01 ブロワユニット
PCT/JP2015/001738 WO2015151476A1 (ja) 2014-04-01 2015-03-26 ブロワユニット

Applications Claiming Priority (1)

Application Number Priority Date Filing Date Title
JP2014075388A JP6361237B2 (ja) 2014-04-01 2014-04-01 ブロワユニット

Publications (2)

Publication Number Publication Date
JP2015197065A JP2015197065A (ja) 2015-11-09
JP6361237B2 true JP6361237B2 (ja) 2018-07-25

Family

ID=54239822

Family Applications (1)

Application Number Title Priority Date Filing Date
JP2014075388A Expired - Fee Related JP6361237B2 (ja) 2014-04-01 2014-04-01 ブロワユニット

Country Status (2)

Country Link
JP (1) JP6361237B2 (ja)
WO (1) WO2015151476A1 (ja)

Families Citing this family (2)

* Cited by examiner, † Cited by third party
Publication number Priority date Publication date Assignee Title
CN110657128B (zh) * 2019-10-17 2024-12-06 苏州安泰空气技术有限公司 一种无蜗壳风机的矢量调节组件
KR102518293B1 (ko) * 2021-09-03 2023-04-04 엘지전자 주식회사 블로어

Family Cites Families (7)

* Cited by examiner, † Cited by third party
Publication number Priority date Publication date Assignee Title
JPS5428751Y2 (ja) * 1975-08-30 1979-09-14
JPS54153453A (en) * 1978-05-25 1979-12-03 Nissan Motor Co Ltd Air conditioner for vehicle
JPS5994000A (ja) * 1982-11-22 1984-05-30 Hitachi Ltd 遠心形送風機
JP3296186B2 (ja) * 1995-05-10 2002-06-24 株式会社デンソー 車両用空調装置
JP3928261B2 (ja) * 1997-09-03 2007-06-13 株式会社デンソー 車両用空調装置
JP2003214398A (ja) * 2002-01-23 2003-07-30 Sharp Corp 送風装置及びこれを備えた加熱調理器
JP5056057B2 (ja) * 2007-02-20 2012-10-24 株式会社デンソー 車両用空調装置

Also Published As

Publication number Publication date
JP2015197065A (ja) 2015-11-09
WO2015151476A1 (ja) 2015-10-08

Similar Documents

Publication Publication Date Title
JP5625993B2 (ja) 車両用空調装置
WO2015059885A1 (ja) 車両用空調ユニット
JP6341114B2 (ja) 車両用空調装置
WO2018096871A1 (ja) 車両用空調装置
WO2012108146A1 (ja) 空調用複合機能ドア及び車両用空調装置
JP6256943B2 (ja) 車両用空調装置
WO2014156061A1 (ja) 車両用空調装置
JP6361237B2 (ja) ブロワユニット
WO2014058009A1 (ja) 車両用空調装置
JP2009292197A (ja) 車両用空調装置
JP6269432B2 (ja) 車両用空調装置
JP6672124B2 (ja) 車両用の空調装置
JP2006168584A (ja) 空気通路切替装置および車両用空調装置
JP6234747B2 (ja) 車両用空調装置
JP6213350B2 (ja) 車両用空調装置
JP2009006896A (ja) 車両用空調装置
JP6237328B2 (ja) 車両用空調装置
JP5353823B2 (ja) 空調装置
WO2020255951A1 (ja) 空調ユニット
JP4434072B2 (ja) リンク装置および車両用空調装置
JP6592964B2 (ja) 車両用空調ユニット
JP2015196451A (ja) 空調装置
JP2002274158A (ja) 空調装置のリンクプレート構造
JP2009018780A (ja) 車両用空調装置
JP5556757B2 (ja) 車両用空調装置

Legal Events

Date Code Title Description
A621 Written request for application examination

Free format text: JAPANESE INTERMEDIATE CODE: A621

Effective date: 20170215

A131 Notification of reasons for refusal

Free format text: JAPANESE INTERMEDIATE CODE: A131

Effective date: 20171205

A521 Request for written amendment filed

Free format text: JAPANESE INTERMEDIATE CODE: A523

Effective date: 20180129

TRDD Decision of grant or rejection written
A01 Written decision to grant a patent or to grant a registration (utility model)

Free format text: JAPANESE INTERMEDIATE CODE: A01

Effective date: 20180529

A61 First payment of annual fees (during grant procedure)

Free format text: JAPANESE INTERMEDIATE CODE: A61

Effective date: 20180611

R151 Written notification of patent or utility model registration

Ref document number: 6361237

Country of ref document: JP

Free format text: JAPANESE INTERMEDIATE CODE: R151

R250 Receipt of annual fees

Free format text: JAPANESE INTERMEDIATE CODE: R250

LAPS Cancellation because of no payment of annual fees