JP6326797B2 - 低吸着性スタンディングパウチ - Google Patents
低吸着性スタンディングパウチ Download PDFInfo
- Publication number
- JP6326797B2 JP6326797B2 JP2013253888A JP2013253888A JP6326797B2 JP 6326797 B2 JP6326797 B2 JP 6326797B2 JP 2013253888 A JP2013253888 A JP 2013253888A JP 2013253888 A JP2013253888 A JP 2013253888A JP 6326797 B2 JP6326797 B2 JP 6326797B2
- Authority
- JP
- Japan
- Prior art keywords
- layer
- polyolefin resin
- resin layer
- film
- cyclic polyolefin
- Prior art date
- Legal status (The legal status is an assumption and is not a legal conclusion. Google has not performed a legal analysis and makes no representation as to the accuracy of the status listed.)
- Active
Links
Images
Landscapes
- Bag Frames (AREA)
- Wrappers (AREA)
- Laminated Bodies (AREA)
Description
1.シーラント層を備えた積層体からなり、胴部及び底部を有するスタンディングパウチであって、胴部及び底部を形成する積層体のシーラント層は、少なくとも、第一のポリオレフィン系樹脂層と、第二のポリオレフィン系樹脂層と、第一の環状ポリオレフィン系樹脂層と、第二の環状ポリオレフィン系樹脂層がこの順に隣接して積層されたシーラントフィルムからなる層であり、該第二の環状ポリオレフィン系樹脂層は、該積層体における最内層であることを特徴とする、スタンディングパウチ。
2.シーラント層を備えた積層体からなり、胴部及び底部を有するスタンディングパウチであって、胴部を形成する胴材用積層体のシーラント層は、少なくとも、第一のポリオレフィン系樹脂層と、第二のポリオレフィン系樹脂層と、第一の環状ポリオレフィン系樹脂層と、第二の環状ポリオレフィン系樹脂層がこの順に隣接して積層されたシーラントフィルムからなる層であり、該第二の環状ポリオレフィン系樹脂層は、該胴材用積層体における最内層であり、底部を形成する底材用積層体のシーラント層は、ポリオレフィン系樹脂からなる層であることを特徴とする、スタンディングパウチ。
3.前記シーラントフィルムが、前記第一のポリオレフィン系樹脂層と、前記第二のポリオレフィン系樹脂層と、前記第一の環状ポリオレフィン系樹脂層と、前記第二の環状ポリオレフィン系樹脂層との共押出により形成されてなることを特徴とする、上記1及び2に記載のスタンディングパウチ。
4.前記第一及び第二のポリオレフィン系樹脂層を構成するポリオレフィン系樹脂が、直鎖状低密度ポリエチレン樹脂であることを特徴とする、上記1〜3に記載のスタンディングパウチ。
5.前記第一のポリオレフィン系樹脂層の厚みが10〜50μmであり、前記第二のポリオレフィン系樹脂層の厚みが25〜90μmであり、前記第一の環状ポリオレフィン系樹脂層の厚みが2〜10μmであり、前記第二の環状ポリオレフィン系樹脂層の厚みが3〜30μmであることを特徴とする、上記1〜4のいずれかに記載のスタンディングパウチ。
6.上記1〜5のいずれかに記載のスタンディングパウチに内容物を充填してなる包装体。
すなわち、本発明のスタンディングパウチに用いられるシーラントフィルムは、優れた低吸着性を示し、種々の局所刺激物質である有機化合物、例えば、l−メントール、dl−カンフル、サリチル酸メチル、あるいは、タンパク質等を吸着しにくいものである。
1.本発明のスタンディングパウチに用いられるシーラントフィルム及びそれを用いた積層体の層構成
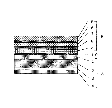
図1〜2は、本発明のスタンディングパウチに用いられるシーラントフィルム及びそれを有する積層体の層構成の一例を示す概略的断面図である。
以下、本発明において使用される樹脂名は、業界において慣用されるものが用いられる。また、本発明において、密度はJIS K7112に準拠して測定した。
本発明のスタンディングパウチに用いられるシーラントフィルムの第一のポリオレフィン系樹脂層は、シーラントフィルムに、柔軟性、カール防止性、滑り性を付与するための層である。そのため、(1)ポリオレフィン系樹脂と、(2)カール防止剤と、(3)アンチブロッキング剤を有する。
ポリオレフィン系樹脂層を形成するポリオレフィン系樹脂としては、例えば、低密度ポリエチレン、中密度ポリエチレン、高密度ポリエチレン、直鎖状低密度ポリエチレン、エチレン・酢酸ビニル共重合体、エチレン・アクリル酸共重合体、エチレン・アクリル酸エステル共重合体、エチレン−メタクリル酸共重合体、エチレン−メタクリル酸エステル共重合体、アイオノマー、ポリプロピレン等が用いられる。
本発明では、構造均一性に優れる点で、メタロセン触媒で調製された直鎖状低密度ポリエチレンを好適に使用することができる。
上記において、40質量%未満であると、十分な柔軟性を発現することが困難であることから好ましくない。
各層の硬度差により生じる「そり」を解消するための、カール防止剤としては、ポリプロピレン系樹脂、環状尿素化合物、ポリエチレングリコール、尿素−ホルムアルデヒド樹脂、メラミン−ホルムアルデヒド樹脂、ポリエチレンイミン、エポキシ化ポリアミド樹脂、ポリアクリルアミド樹脂等や、これらと、エチレン−酢酸ビニル系共重合体、エチレン酢酸ビニル−塩化ビニル系共重合体、スチレン−ブタジエン系共重合体等を併用したものが上げられるが、本発明においては、特にブロックポリプロピレン樹脂が好ましい。
本発明において、上記のカール防止剤の添加量としては、第一のポリオレフィン系樹脂層を構成する樹脂組成物100質量%に対し、5〜20質量%、好ましくは、7〜15質量%である。
アンチブロッキング剤としては、例えば、酸化アルミニウム、酸化マグネシウム、シリカ、酸化カルシウム、酸化チタン、酸化亜鉛等の酸化物、水酸化アルミニウム、水酸化マグネシウム、水酸化カルシウム等の水酸化物、炭酸マグネシウム、炭酸カルシウム等の炭酸塩、硫酸カルシウム、硫酸バリウム等の硫酸塩、ケイ酸マグネシウム、ケイ酸アルミニウム、ケイ酸カルシウム、アルミノケイ酸等のケイ酸塩、その他、カオリン、タルク、珪藻土等の無機化合物系のアンチブロッキング剤の1種ないし2種以上を添加することができる。
。
本発明のスタンディングパウチに用いられるシーラントフィルムの第二のポリオレフィン系樹脂層は、シーラントフィルムに柔軟性を付与すると共に、耐衝撃性や耐落下性を付与するものであり、さらに、第一の環状ポリオレフィン系樹脂層との接着性を確保するための層でもある。そのため、基本的にはポリオレフィン系樹脂からなる。
本発明のスタンディングパウチに用いられるシーラントフィルムの第一の環状ポリオレフィン系樹脂層は、シーラントフィルムに非吸着性を付与するための層であり、基本的には環状ポリオレフィン系樹脂からなる。
本発明の環状ポリオレフィン樹脂は、環状オレフィンをメタセシス開環重合反応によって重合した開環メタセシス重合体(COP)である。
また、包装材料として用いる際にヒートシール温度を低くする効果があることから、本発明においては、ガラス転移温度が75℃より低い、環状ポリオレフィン樹脂が適している。
本発明において好適に使用される開環メタセシス重合体は、いくつか市販されており、例えば、日本ゼオン株式会社製のZEONOR(R)等が挙げられる。
オレフィン系樹脂としては、例えば、低密度ポリエチレン、直鎖状低密度ポリエチレン、中密度ポリエチレン、高密度ポリエチレン、ポリプロピレン等を挙げることができる。
これらの中で、環状ポリオレフィン系樹脂との相溶性がよく、共押出した際に製膜安定性を一層高めるため、直鎖状低密度ポリエチレン(LLDPE)を用いることが特に好ましい。
オレフィン系樹脂の配合比率が50質量%より多いと、シーラントフィルムのたるみの防止や製膜はより容易になるが、環状ポリオレフィンの有する非吸着性が損なわれ、また、透明性が低下する。
本発明のスタンディングパウチに用いられるシーラントフィルムの第二の環状ポリオレフィン系樹脂層は、シーラントフィルムにシール性を付与すると共に、非吸着性と滑り性を付与するための層である。そのため、(1)ポリオレフィン系樹脂と、(2)環状ポリオレフィン系樹脂と、(3)アンチブロッキング剤を有する。
ポリオレフィン系樹脂としては、例えば、低密度ポリエチレン、中密度ポリエチレン、高密度ポリエチレン、直鎖状低密度ポリエチレン、エチレン・酢酸ビニル共重合体、エチレン・アクリル酸共重合体、エチレン・アクリル酸エステル共重合体、エチレン−メタクリル酸共重合体、エチレン−メタクリル酸エステル共重合体、アイオノマー、ポリプロピレン等が用いられる。
本発明において使用するのに好適な直鎖状低密度ポリエチレン樹脂としては、株式会社プライムポリマー製、ウルトラゼックス(R)UZ−1520L、宇部丸善ポリエチレン株式会社製、ユメリット(R)UM−0520F、住友化学株式会社製のスミカセン(R)等が挙げられる。
上記において、10質量%未満であると、十分なシール性を発揮することが困難であることから好ましくない。
環状ポリオレフィン系樹脂としては、環状オレフィンをメタセシス開環重合反応によって重合した開環メタセシス重合体(COP)が好ましく、環状オレフィンとしては、エチレン系不飽和結合及びビシクロ環を有する任意の環状炭化水素を使用することができるが、特にビシクロ[2.2.1]ヘプタ−2−エン(ノルボルネン)骨格を有するものが好ましい。
本発明において、上記の環状ポリオレフィン系樹脂の添加量としては、第二の環状ポリオレフィン系樹脂層を構成する樹脂組成物100質量%に対し、20〜50質量%、好ましくは、30〜40質量%である。
上記において、20質量%未満であると、十分な非吸着性を発揮することが困難であることから好ましくない。また50質量%より多いと十分なシール性が発揮できなくなる。
アンチブロッキング剤としては、例えば、酸化アルミニウム、酸化マグネシウム、シリカ、酸化カルシウム、酸化チタン、酸化亜鉛等の酸化物、水酸化アルミニウム、水酸化マグネシウム、水酸化カルシウム等の水酸化物、炭酸マグネシウム、炭酸カルシウム等の炭酸塩、硫酸カルシウム、硫酸バリウム等の硫酸塩、ケイ酸マグネシウム、ケイ酸アルミニウム、ケイ酸カルシウム、アルミノケイ酸等のケイ酸塩、その他、カオリン、タルク、珪藻土等の無機化合物系のアンチブロッキング剤の1種ないし2種以上を添加することができる。
本発明において、上記のアンチブロッキング剤の添加量としては、第二の環状ポリオレフィン系樹脂層を構成する樹脂組成物100質量%に対し、0.5〜5質量%、好ましくは、1〜5質量%である。
本発明のスタンディングパウチに用いられるシーラントフィルムは、任意の方法により製造されるが、良好な成膜安定性、成膜容易性及び層間密着性を得て、シール強度及び低吸着性を一層高めるために、好ましくは、第一のポリオレフィン系樹脂層と、第二のポリオレフィン系樹脂層と、第一の環状ポリオレフィン系樹脂層と、第二の環状ポリオレフィン系樹脂層とを、共押出することにより製造する。
特に、インフレーション法を用いて製膜することにより、4層間の密着性が高まり、一層高いシール強度及び低吸着性を示すシーラントフィルムを提供することができる。
本発明のスタンディングパウチに用いられるシーラントフィルムは、任意の層厚を有するものでよいが、安定した成膜化及び製品コストの観点から好適には、全体として40〜170μmの層厚を有する。ここで、各層の厚さは、シーラントフィルムを適用する包装材の用途、所望の非吸着性及びシール強度等に応じて適宜に設定することができるが、好適には、第一のポリオレフィン系樹脂層の層厚は、製品コストの観点から、10〜40μm、より好ましくは15〜30μmである。10μmより薄いと、十分な滑り性、カール防止性や柔軟性が確保できない。
上記のシーラントフィルムを、第二の環状ポリオレフィン系樹脂層が積層体における最表層となるように、第一のポリオレフィン系樹脂層側の表面を任意の基材層と対向させて積層し、積層体を得ることができる。
(1)ONフィルム/接着剤層/シーラントフィルム;
(2)ONフィルム/接着剤層/一軸延伸または二軸延伸HDPEフィルム/接着剤層/シーラントフィルム;
(3)ONフィルム/接着剤層/一軸延伸または二軸延伸PPフィルム/接着剤層/シーラントフィルム;
(4)ONフィルム/接着剤層/一軸延伸または二軸延伸PPフィルム/接着剤層/アルミニウム箔/接着剤層/シーラントフィルム;
(5)ONフィルム/シリカまたはアルミナまたはアルミニウム蒸着層/接着剤層/一軸延伸または二軸延伸HDPEフィルム/接着剤層/シーラントフィルム;
(6)ONフィルム/アンカーコート剤層/HDPE層/シーラント層[ここで、HDPE層及びシーラント層は、共押出コーティング法によりアンカーコート剤層上に積層される];
(7)ONフィルム/アンカーコート剤層/HDPE層/低密度ポリエチレン(LDPE)層/接着剤層/シーラントフィルム[ここで、HDPE層及びLDPE層は、共押出コーティング法によりアンカーコート剤層上に積層される];
(8)PETフィルム/接着剤層/アルミニウム箔/接着剤層/ONフィルム/接着剤層/シーラントフィルム;
(9)PETフィルム/接着剤層/シリカまたはアルミナまたはアルミニウム蒸着層/ONフィルム/接着剤層/シーラントフィルム;
(10)PETフィルム/接着剤層/ONフィルム/接着剤層/アルミニウム箔/接着剤層/シーラントフィルム;
(11)PETフィルム/接着剤層/EVOHフィルム/接着剤層/ONフィルム/接着剤層/シーラントフィルム。
上記の積層体を使用し、第二の環状ポリオレフィン系樹脂層が最内層となるように製袋して、包装袋、特にスタンディングパウチとすることができる。また、本発明の積層体を、第二の環状ポリオレフィン系樹脂層を最内層とする蓋材として使用し、包装容器を製造することもできる。
次に本発明について、実施例を挙げて具体的に説明する。
(1)アンチブロッキング剤マスターバッチ(住友化学株式会社製、EMB−21;シリカ10質量%のマスターバッチ)5質量%、ブロックポリプロピレン(サンアロマー株式会社製、PF380A)10質量%、LLDPE(株式会社プライムポリマー製、ウルトラゼックス(R)UZ−1520L)85質量%をブレンドして第一のポリオレフィン系樹脂層を調整した。
と、第一の環状ポリオレフィン系樹脂層である環状ポリオレフィン(ZEONEX5000)と、上記(2)に記載の第二の環状ポリオレフィン系樹脂層を、共押出インフレーション法により、第一のポリオレフィン系樹脂層22.5μm/LLDPE層45.0μm/環状ポリオレフィン層5μm/第二のポリオレフィン系樹脂層7.5μmの4層からなる厚さ80μmのシーラントフィルムを製膜した。
なお、本願明細書の積層体の記載において、「/」はその左右の層が積層一体化されていることを示す。
PETフィルム/接着剤層/アルミ箔/接着剤層/ナイロンフィルム/接着剤層/第一のポリオレフィン系樹脂層/第二のポリオレフィン系樹脂層であるLLDPE層/第一の環状ポリオレフィン系樹脂層/第二の環状ポリオレフィン系樹脂層
(1)アンチブロッキング剤マスターバッチ(住友化学株式会社製、EMB−21;シリカ10質量%のマスターバッチ)5質量%、ブロックポリプロピレン(サンアロマー株式会社製、PF380A)10質量%、LLDPE(株式会社プライムポリマー製、ウルトラゼックス(R)UZ−1520L)85質量%をブレンドして第一のポリオレフィン系樹脂層を調整した。
なお、本願明細書の積層体の記載において、「/」はその左右の層が積層一体化されていることを示す。
PETフィルム/接着剤層/アルミ箔/接着剤層/ナイロンフィルム/接着剤層/第一のポリオレフィン系樹脂層/第二のポリオレフィン系樹脂層であるLLDPE層/第一の環状ポリオレフィン系樹脂層/第二の環状ポリオレフィン系樹脂層
PETフィルム/接着剤層/アルミ箔/接着剤層/ナイロンフィルム/接着剤層/直鎖状低密度ポリエチレン樹脂層
胴材用積層体のシーラントフィルムを、第一のポリオレフィン系樹脂層(22.5μm)/LLDPE層(45.0μm)/環状ポリオレフィン層(12.5μm)とした以外は、実施例1と同様にしてスタンディングパウチを作製した。
シーラントフィルムを、第一のポリオレフィン系樹脂層(22.5μm)/LLDPE層(50.0μm)/第二の環状ポリオレフィン層(7.5μm)とした以外は、実施例1と同様にして包装材料を作製した。
胴材用積層体のシーラントフィルムを、LLDPE層(層厚80μm)のみで作製した以外は、実施例1と同様にしてスタンディングパウチを作製した。
(1)吸着性試験
実施例1〜2及び比較例1〜3のスタンディングパウチについて、上部開口部から、メントール濃度が5μg/mlとなるように調製したメントール−エタノール溶液100mlを充填した後、開口部を脱気シールにより密封した。
50℃の雰囲気下で2週間保存した後、溶液中のメントール含有量をGC/MS法により測定し、吸着量を求めた。
実施例1〜2及び比較例1〜3のスタンディングパウチについて、その胴材用積層体と底材用積層体とを、シーラント面を対向させて重ね合せ、ヒートシーラー(テスター産業(株)製TP-701S HEAT SEAL TESTER)で、170℃で1秒間、圧力1kgf/cm2でヒートシールした。
次いで、これを幅15mmの短冊状に切り出し、テンシロン引張試験機((株)オリエンテック製 RTC-1310A)を用いて圧着されたシール部を引き剥がし、シール強度を測定した。このときの引張速度は300mm/分とした。
実施例1〜2及び比較例1〜3のスタンディングパウチについて、上部開口部から水450mlを充填した後、開口部を密封した。これを120cmの高さから5回落下させ、破袋しなければ○とし、破袋すれば×とした。
以下の表に結果を示す。
これに対し、比較例1のスタンディングパウチは、良好な低吸着性を示すものの、シール強度は低く、落下の衝撃に耐えることができなかった。
また、比較例2、3のスタンディングパウチは、多量のメントールを吸着した。
2.第二のポリオレフィン系樹脂層
3.第一の環状ポリオレフィン系樹脂層
4.第二の環状ポリオレフィン系樹脂層
5.PETフィルム
6.接着剤層
7.アルミ箔
8.接着剤層
9.ナイロンフィルム
10.接着剤層
A.シーラントフィルム
B.基材層
Claims (6)
- シーラント層を備えた積層体からなり、胴部及び底部を有するスタンディングパウチであって、
胴部及び底部を形成する積層体のシーラント層は、少なくとも、第一のポリオレフィン系樹脂層と、第二のポリオレフィン系樹脂層と、第一の環状ポリオレフィン系樹脂層と、第二の環状ポリオレフィン系樹脂層がこの順に隣接して積層されたシーラントフィルムからなる層であり、該第二の環状ポリオレフィン系樹脂層は、該積層体における最内層であり、そして該第一及び第二の環状ポリオレフィン系樹脂層は、それぞれ、70〜100質量%及び20〜50質量%の環状ポリオレフィン樹脂を含むことを特徴とする、スタンディングパウチ。 - シーラント層を備えた積層体からなり、胴部及び底部を有するスタンディングパウチであって、
胴部を形成する胴材用積層体のシーラント層は、少なくとも、第一のポリオレフィン系樹脂層と、第二のポリオレフィン系樹脂層と、第一の環状ポリオレフィン系樹脂層と、第二の環状ポリオレフィン系樹脂層がこの順に隣接して積層されたシーラントフィルムからなる層であり、該第二の環状ポリオレフィン系樹脂層は、該胴材用積層体における最内層であり、そして該第一及び第二の環状ポリオレフィン系樹脂層は、それぞれ、70〜100質量%及び20〜50質量%の環状ポリオレフィン樹脂を含み、
底部を形成する底材用積層体のシーラント層は、ポリオレフィン系樹脂からなる層であることを特徴とする、スタンディングパウチ。 - 前記シーラントフィルムが、前記第一のポリオレフィン系樹脂層と、前記第二のポリオレフィン系樹脂層と、前記第一の環状ポリオレフィン系樹脂層と、前記第二の環状ポリオレフィン系樹脂層との共押出により形成されてなることを特徴とする、請求項1及び2に記載のスタンディングパウチ。
- 前記第一及び第二のポリオレフィン系樹脂層を構成するポリオレフィン系樹脂が、直鎖状低密度ポリエチレン樹脂であることを特徴とする、請求項1〜3に記載のスタンディングパウチ。
- 前記第一のポリオレフィン系樹脂層の厚みが10〜50μmであり、前記第二のポリオレフィン系樹脂層の厚みが25〜90μmであり、前記第一の環状ポリオレフィン系樹脂層の厚みが2〜10μmであり、前記第二の環状ポリオレフィン系樹脂層の厚みが3〜30μmであることを特徴とする、請求項1〜4のいずれか1項に記載のスタンディングパウチ。
- 請求項1〜5のいずれか1項に記載のスタンディングパウチに内容物を充填してなる包装体。
Priority Applications (1)
| Application Number | Priority Date | Filing Date | Title |
|---|---|---|---|
| JP2013253888A JP6326797B2 (ja) | 2013-12-09 | 2013-12-09 | 低吸着性スタンディングパウチ |
Applications Claiming Priority (1)
| Application Number | Priority Date | Filing Date | Title |
|---|---|---|---|
| JP2013253888A JP6326797B2 (ja) | 2013-12-09 | 2013-12-09 | 低吸着性スタンディングパウチ |
Publications (2)
| Publication Number | Publication Date |
|---|---|
| JP2015113124A JP2015113124A (ja) | 2015-06-22 |
| JP6326797B2 true JP6326797B2 (ja) | 2018-05-23 |
Family
ID=53527288
Family Applications (1)
| Application Number | Title | Priority Date | Filing Date |
|---|---|---|---|
| JP2013253888A Active JP6326797B2 (ja) | 2013-12-09 | 2013-12-09 | 低吸着性スタンディングパウチ |
Country Status (1)
| Country | Link |
|---|---|
| JP (1) | JP6326797B2 (ja) |
Families Citing this family (16)
| Publication number | Priority date | Publication date | Assignee | Title |
|---|---|---|---|---|
| KR102507571B1 (ko) * | 2015-11-30 | 2023-03-09 | 디아이씨 가부시끼가이샤 | 첩부제의 포장 구조 |
| JP6819849B2 (ja) * | 2016-05-10 | 2021-01-27 | 三菱瓦斯化学株式会社 | 酸素吸収成形体及びその製造方法、酸素吸収多層体、並びに酸素吸収包装体 |
| EP3489014B1 (en) * | 2016-07-20 | 2021-08-18 | Toppan Printing Co., Ltd. | Sealant film, multilayer film including same and packaging bag |
| KR102600965B1 (ko) * | 2017-01-18 | 2023-11-13 | 다이킨 고교 가부시키가이샤 | 단백질 저흡착성을 갖는 단백질 혹은 단백질을 포함하는 조성물의 투여용, 보존용, 운반용 또는 수송용 용기 및 단백질 혹은 단백질 조성물의 제조용 기재 |
| CN111148703B (zh) * | 2017-09-29 | 2022-07-22 | 大日本印刷株式会社 | 液体内容物包装用的密封膜、层积体、包装材料、包装体 |
| JP7035422B2 (ja) * | 2017-09-29 | 2022-03-15 | 大日本印刷株式会社 | 液体内容物包装用のシーラントフィルム、及び液体内容物用包装材料、液体内容物用包装体 |
| JP7127265B2 (ja) * | 2017-09-29 | 2022-08-30 | 大日本印刷株式会社 | 液体内容物包装用の積層体、及び液体内容物用包装材料、液体内容物用包装体 |
| JP7035423B2 (ja) * | 2017-09-29 | 2022-03-15 | 大日本印刷株式会社 | 液体内容物包装用の積層体、及び液体内容物用包装材料、液体内容物用包装体 |
| JP7035420B2 (ja) * | 2017-09-29 | 2022-03-15 | 大日本印刷株式会社 | 液体内容物包装用のシーラントフィルム、及び液体内容物用包装材料、液体内容物用包装体 |
| JP7275502B2 (ja) * | 2018-08-31 | 2023-05-18 | 大日本印刷株式会社 | 液体内容物包装用の消臭積層体 |
| JP7035421B2 (ja) * | 2017-09-29 | 2022-03-15 | 大日本印刷株式会社 | 液体内容物包装用の積層体、及び液体内容物用包装材料、液体内容物用包装体 |
| JP7035424B2 (ja) * | 2017-09-29 | 2022-03-15 | 大日本印刷株式会社 | 液体内容物包装用のシーラントフィルム、及び液体内容物用包装材料、液体内容物用包装体 |
| JP7331406B2 (ja) * | 2019-03-26 | 2023-08-23 | 大日本印刷株式会社 | 液体紙容器用の消臭積層体 |
| JP7371417B2 (ja) * | 2019-09-26 | 2023-10-31 | 東洋製罐グループホールディングス株式会社 | ポリプロピレン系樹脂組成物及びヒートシール用フィルム |
| WO2021066048A1 (ja) * | 2019-09-30 | 2021-04-08 | ニチバン株式会社 | 包材 |
| JP2021079640A (ja) * | 2019-11-20 | 2021-05-27 | 凸版印刷株式会社 | 積層フィルム、および、包装袋 |
Family Cites Families (5)
| Publication number | Priority date | Publication date | Assignee | Title |
|---|---|---|---|---|
| JP4905643B2 (ja) * | 2005-12-06 | 2012-03-28 | 味の素株式会社 | 複室容器 |
| JP5052833B2 (ja) * | 2006-07-13 | 2012-10-17 | 株式会社細川洋行 | 医療容器用多層体および医療容器 |
| CN101903002B (zh) * | 2007-12-20 | 2013-05-01 | 株式会社细川洋行 | 医疗容器用多层体和医疗容器 |
| JP5699325B2 (ja) * | 2010-11-26 | 2015-04-08 | 大日本印刷株式会社 | 低吸着性スタンディングパウチ |
| JP5810641B2 (ja) * | 2011-06-06 | 2015-11-11 | 大日本印刷株式会社 | 包装材料及びそれよりなる紙容器 |
-
2013
- 2013-12-09 JP JP2013253888A patent/JP6326797B2/ja active Active
Also Published As
| Publication number | Publication date |
|---|---|
| JP2015113124A (ja) | 2015-06-22 |
Similar Documents
| Publication | Publication Date | Title |
|---|---|---|
| JP6326797B2 (ja) | 低吸着性スタンディングパウチ | |
| JP6427870B2 (ja) | 低吸着性シーラントフィルム並びにそれを用いた積層体及び包装袋 | |
| JP5930577B2 (ja) | 包装袋及び包装容器 | |
| JP6620438B2 (ja) | 低吸着性共押出多層シーラントフィルム | |
| JP6241113B2 (ja) | 包装材料 | |
| JP6086138B2 (ja) | 包装材料及びそれよりなる紙容器 | |
| JP5589614B2 (ja) | 易引き裂き性包装袋 | |
| JP6064372B2 (ja) | 低吸着性シーラントフィルム並びにそれを用いた積層体及び包装袋 | |
| JP6015135B2 (ja) | 包装材料 | |
| JP5720202B2 (ja) | 低吸着性シーラントフィルム並びにそれを用いた積層体及び包装袋 | |
| JP2017013485A (ja) | 低吸着性共押出多層シーラントフィルム | |
| JP6160340B2 (ja) | 包装材料 | |
| JP5589613B2 (ja) | 積層フィルム | |
| WO2016021682A1 (ja) | 多層フィルム、包装材用積層フィルム、包装袋及びスタンディングパウチ | |
| JP5699325B2 (ja) | 低吸着性スタンディングパウチ | |
| JP6511713B2 (ja) | 包装材用積層体 | |
| JP2012250487A (ja) | 包装材料及びそれよりなる紙容器 | |
| JP5678571B2 (ja) | 包装材用積層体 | |
| JP5644357B2 (ja) | 樹脂組成物、及びそれよりなる包装材用シーラント層 | |
| JP5751031B2 (ja) | 包装材料及びそれよりなる紙容器 | |
| JP6086137B2 (ja) | 包装材料及びそれよりなる紙容器 | |
| JP5910778B2 (ja) | 包装材料及びそれよりなる紙容器 | |
| JP6511712B2 (ja) | 包装材用積層体 | |
| JP6554756B2 (ja) | 非吸着性シーラントフィルム | |
| JP5810640B2 (ja) | 包装材料及びそれよりなる紙容器 |
Legal Events
| Date | Code | Title | Description |
|---|---|---|---|
| A621 | Written request for application examination |
Free format text: JAPANESE INTERMEDIATE CODE: A621 Effective date: 20161027 |
|
| A977 | Report on retrieval |
Free format text: JAPANESE INTERMEDIATE CODE: A971007 Effective date: 20170720 |
|
| A131 | Notification of reasons for refusal |
Free format text: JAPANESE INTERMEDIATE CODE: A131 Effective date: 20170808 |
|
| A521 | Written amendment |
Free format text: JAPANESE INTERMEDIATE CODE: A523 Effective date: 20171004 |
|
| TRDD | Decision of grant or rejection written | ||
| A01 | Written decision to grant a patent or to grant a registration (utility model) |
Free format text: JAPANESE INTERMEDIATE CODE: A01 Effective date: 20180320 |
|
| A61 | First payment of annual fees (during grant procedure) |
Free format text: JAPANESE INTERMEDIATE CODE: A61 Effective date: 20180402 |
|
| R150 | Certificate of patent or registration of utility model |
Ref document number: 6326797 Country of ref document: JP Free format text: JAPANESE INTERMEDIATE CODE: R150 |
