JP6238640B2 - 画像形成装置、情報処理方法及びプログラム - Google Patents

画像形成装置、情報処理方法及びプログラム Download PDF

Info

Publication number
JP6238640B2
JP6238640B2 JP2013174826A JP2013174826A JP6238640B2 JP 6238640 B2 JP6238640 B2 JP 6238640B2 JP 2013174826 A JP2013174826 A JP 2013174826A JP 2013174826 A JP2013174826 A JP 2013174826A JP 6238640 B2 JP6238640 B2 JP 6238640B2
Authority
JP
Japan
Prior art keywords
information
print data
user
printing
print
Prior art date
Legal status (The legal status is an assumption and is not a legal conclusion. Google has not performed a legal analysis and makes no representation as to the accuracy of the status listed.)
Expired - Fee Related
Application number
JP2013174826A
Other languages
English (en)
Other versions
JP2015042476A (ja
Inventor
順子 中島
順子 中島
Current Assignee (The listed assignees may be inaccurate. Google has not performed a legal analysis and makes no representation or warranty as to the accuracy of the list.)
Canon Inc
Original Assignee
Canon Inc
Priority date (The priority date is an assumption and is not a legal conclusion. Google has not performed a legal analysis and makes no representation as to the accuracy of the date listed.)
Filing date
Publication date
Application filed by Canon Inc filed Critical Canon Inc
Priority to JP2013174826A priority Critical patent/JP6238640B2/ja
Priority to US14/465,704 priority patent/US20150055162A1/en
Priority to CN201410421385.9A priority patent/CN104423906B/zh
Publication of JP2015042476A publication Critical patent/JP2015042476A/ja
Application granted granted Critical
Publication of JP6238640B2 publication Critical patent/JP6238640B2/ja
Expired - Fee Related legal-status Critical Current
Anticipated expiration legal-status Critical

Links

Images

Classifications

    • GPHYSICS
    • G06COMPUTING OR CALCULATING; COUNTING
    • G06FELECTRIC DIGITAL DATA PROCESSING
    • G06F21/00Security arrangements for protecting computers, components thereof, programs or data against unauthorised activity
    • G06F21/60Protecting data
    • G06F21/606Protecting data by securing the transmission between two devices or processes
    • G06F21/608Secure printing

Landscapes

  • Engineering & Computer Science (AREA)
  • Theoretical Computer Science (AREA)
  • Software Systems (AREA)
  • General Health & Medical Sciences (AREA)
  • Computer Hardware Design (AREA)
  • Computer Security & Cryptography (AREA)
  • Health & Medical Sciences (AREA)
  • Physics & Mathematics (AREA)
  • General Engineering & Computer Science (AREA)
  • General Physics & Mathematics (AREA)
  • Bioethics (AREA)
  • Accessory Devices And Overall Control Thereof (AREA)
  • Facsimiles In General (AREA)
  • Control Or Security For Electrophotography (AREA)

Description

本発明は、画像形成装置、情報処理方法及びプログラムに関する。
従来、複合機は、パーソナルコンピュータ等の端末装置から印刷データ(印刷ジョブ)を受信すると、即時に印刷出力を行っていた。この場合、印刷物の取り忘れや、放置された印刷物を第三者が見ることにより情報漏洩が発生する可能性がある。そこで、印刷物の放置を防ぐために、複合機が印刷データを受信しても即時に印刷を行わずに、操作部を介してユーザによる印刷指示要求を受付けると印刷出力を行う留め置き印刷が提案されている(特許文献1)。
また、印刷データを投入したユーザ以外のユーザに印刷出力されるのを防ぐために、留め置かれている印刷データの中から、操作中(ログイン中)のユーザが投入した印刷データのみを表示し、印刷指示要求を許可する印刷システムが提案されている。更に、端末装置が印刷データに印刷許可ユーザ情報を付与して送信することで、印刷許可ユーザ情報に含まれるユーザに対し、印刷データを表示し、印刷指示要求を許可する留め置き印刷システムが提案されている(特許文献2)。
特開2007−251279号公報 特開2006−260023号公報
上記のような留め置き印刷システムでは、印刷データを投入したユーザ(投入者)と、印刷指示要求を行うユーザ(指示者)とが異なる場合がある。このような留め置き印刷システムにおいてユーザ毎に印刷権限管理を行っている場合、前記投入者又は前記指示者のどちらかの印刷権限に従い印刷出力を実行する必要がある。また、留め置き印刷システムにおいてカウンタ管理を行っている場合、前記投入者又は前記指示者のどちらかのカウンタ値を更新する必要がある。更に、留め置き印刷システムにおいてログ管理を行っている場合、前記投入者又は前記指示者のどちらかの情報でログを登録する必要がある。
留め置き印刷システムにおいて、印前記投入者又は前記指示者のどちらの情報に基づいて印刷制御を行うかはユースケースによって異なるため、一意に決めることは難しく、ユーザや管理者の意図に反した制御を行ってしまう可能性がある。
例えば、留め置き印刷システムにおいて、印刷データの投入者が代行印刷者に印刷許可を与える場合、前記投入者の情報に基づいて印刷制御することが望ましい。また、留め置き印刷システムにおいて、複数ユーザが同じデータを印刷出力する場合、印刷出力するユーザの1人が代表して印刷データを投入する場合がある。この場合、留め置き印刷システムでは、印刷指示要求を行う指示者の情報に基づいて印刷制御することが望ましい。
本発明は、適切なユーザの情報を用いて印刷を制御する技術を提供することを目的とする。
そこで、本発明の画像形成装置は、印刷データを受信する受信手段と、前記受信手段により受信された印刷データに付加されている権限情報と所有者情報とを取得する取得手段と、前記受信手段により受信された印刷データを記憶する記憶手段と、ユーザから認証情報を受け付ける操作手段と、前記記憶手段で記憶された印刷データを印刷する場合に、前記印刷データに付加された印刷許可情報に基づいて、前記取得手段により取得された所有者情報により識別されるユーザの権限情報を用いるか、前記操作手段を介して受け付けた認証情報により認証済みのユーザの権限情報を用いるかを判定する判定手段と、前記判定手段での判定結果に応じた権限情報に基づいて、前記記憶手段で記憶された印刷データを印刷する印刷手段と、を有し、前記判定手段は、前記印刷許可情報が示す前記印刷データの印刷許可対象に前記操作手段を介して認証情報を入力したユーザの情報が含まれている場合であって、かつ、前記印刷許可対象の人数が予め定められた人数よりも少ない場合、前記取得手段により取得された所有者情報により識別されるユーザの権限情報を用いると判定することを特徴とする。
本発明によれば、適切なユーザの情報を用いて印刷を制御する技術を提供することができる。
印刷システム構成の一例を示す図である。 PCのハードウェア構成の一例を示す図である。 複合機のハードウェア構成の一例を示す図である。 複合機のソフトウェア構成の一例を示す図である。 ジョブ管理テーブルの一例を示す図である。 PCの処理の一例を示すフローチャート(その1)である。 印刷設定画面の一例を示す図である。 印刷許可情報設定画面の一例を示す図である。 印刷許可ユーザ設定画面の一例を示す図である。 複合機の処理の一例を示すフローチャート(その1)である。 複合機の処理の一例を示すフローチャート(その2)である。 印刷データリストの一例を示す図である。 複合機の処理の一例を示すフローチャート(その3)である。 複合機の処理の一例を示すフローチャート(その4)である。 複合機の処理の一例を示すフローチャート(その5)である。 複合機の処理の一例を示すフローチャート(その6)である。 代行印刷判定情報の一例を示す図である。 複合機の処理の一例を示すフローチャート(その7)である。 特定印刷ジョブ名情報の一例を示す図である。 複合機の処理の一例を示すフローチャート(その8)である。 複合機のジョブ制御情報設定画面の一例を示す図である。 PCの処理の一例を示すフローチャート(その2)である。 PCのジョブ制御情報設定画面の一例を示す図である。 複合機の処理の一例を示すフローチャート(その9)である。 複合機の処理の一例を示すフローチャート(その10)である。 複合機の処理の一例を示すフローチャート(その11)である。
以下、本発明の実施形態について図面に基づき説明する。
<実施形態1>
(システム構成)
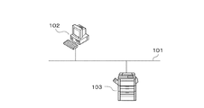
図1は、本実施形態の印刷システム(留め置き印刷システム)の印刷システム構成の一例を示す図である。
ネットワーク101は、例えばTCP/IPプロトコルをサポートするネットワークである。ネットワーク101には、パーソナルコンピュータ102(以下、PC102という)及び複合機103が接続されている。PC102は、情報処理装置の一例である。また、複合機103は、画像形成装置の一例である。なお、図1のシステムにおいて、ネットワーク101に接続されるPC102及び複合機103の台数は、複数台であってもよい。
複合機103は、PC102から印刷データ(印刷ジョブ)を受信すると、印刷出力したり、後で印刷出力するために印刷データを保持したりすることができる。上述したように、複合機103がPC102から受信した印刷データを保持しておき、操作部を介したユーザの印刷指示を受け付けてから印刷出力する印刷方式を留め置き印刷という。
本実施形態の印刷システムにおける複合機103は、PC102を介して投入された印刷ジョブの制御を、前記印刷ジョブの投入者と、操作部を介して印刷を指示した指示者との何れの権限情報に基づいて行うかを判定する。そして、複合機103は、判定結果に応じた権限情報を用いて印刷ジョブを制御する。なお、ここでいう権限情報とは、ユーザ毎やグループ毎に許可されている印刷設定等の印刷権限に関する情報である。また、ここでいう印刷ジョブの制御とは、印刷ジョブの実行や、印刷ジョブの実行に伴うカウンタの更新及びログ(記録情報)の登録等を含む。
(PC102のハードウェア構成)
図2は、PC102のハードウェア構成の一例を示す図である。
CPU202は、PC102全体を制御する。CPU202が、ROM204等に格納されているプログラムを実行することにより、PC102の機能や後述するPC102に係るフローチャートの処理が実現される。
RAM203は、CPU202のワークエリアを提供する。
ROM204は、各種のプログラムやCPU202が実行する処理に用いられる各種のデータ等を格納している。
補助記憶装置205は、本実施形態における制御プログラム等を提供するハードディスクである。
画像表示装置207は、ユーザにメッセージを通知するためのCRTディスプレイや液晶ディスプレイ等である。
入力装置206は、ユーザがPC102に情報を入力するためのマウスやキーボード等である。
ネットワークI/F208は、ネットワークを介して他のネットワーク機器と相互にデータをやり取りすることができる。
バス201は、上記のデバイスを接続するメインバスである。
(複合機103のハードウェア構成)
図3は、複合機103のハードウェア構成の一例を示す図である。
コントローラユニット300は、複合機103の制御を行う。
システムバス311には、CPU301、RAM302、ROM303、HDD304、操作部I/F305、デバイスI/F307及びネットワークI/F310が接続されている。
CPU301は、システムバス311に接続された各装置を統括的に制御する。CPU301が、ROM303等に格納されているプログラムを実行することにより、複合機103の機能(ソフトウェア構成)、OS(オペレーティングシステム)の機能及び後述する複合機103に係るフローチャートの処理が実現される。
RAM302には、CPU301が展開する各種のプログラムが配置される。なお、プログラムには、OSのプログラム(以下、OSプログラムという)、システムソフトウェアのプログラム(以下、システムプログラムという)、アプリケーションソフトウェアのプログラム(以下、アプリケーションプログラムという)等が含まれる。また、RAM302は、各種のデータを一時的に記憶する。
ROM303は、システムのブートプログラム等を格納している。また、ROM303は、システムプログラムやアプリケーションプログラム等も格納している。更に、ROM303は、画像形成に必要なフォントに関するデータ等を格納していてもよい。
HDD304は、ハードディスクドライブで、OSプログラム、システムプログラム、アプリケーションプログラム、画像データ及び閾値等に関するデータを含む各種の設定データ等を格納する記憶領域である。なお、複合機103は、HDD304を搭載せずに、HDD304が格納するデータ等をROM303に格納するようにしてもよい。また、複合機103は、HDD304の代わりに、SSD(Solid State Disk)等のフラッシュメモリのようなハードディスク以外の記憶装置を搭載するような構成としてもよい。
操作部I/F305は、タッチパネルを有した操作部306とのインターフェース部であり、操作部306に表示する画像データを操作部306に対して出力する。また、操作部I/F305は、操作部306を介してユーザが入力した情報を、CPU301に伝える。
デバイスI/F307は、画像入出力デバイスであるスキャナ部308やプリンタ部309と、コントローラユニット300とを接続し、画像データの入力や出力を行う。スキャナ部308からデバイスI/F307を介して入力された画像データは、RAM302やHDD304に格納される。複合機103のアプリケーションは、必要に応じて格納された画像データの画像処理等を実行する。また、CPU301は、デバイスI/F307を介して画像データをプリンタ部309へ出力する。なお、プリンタのように複合機103がスキャナ部308を搭載しない場合もある。
ネットワークI/F310は、ネットワークに接続し、ネットワーク上の外部機器と画像データや複合機を制御する情報の入出力を行う。
複合機103のハードウェア構成は、図3に示される構成に限る必要はない。例えば、FAX機能を有する複合機103の場合には、コントローラユニット300がモデム装置向けI/Fを有していて、モデムによって公衆回線と接続し、FAX伝送するような構成としてもよい。また、例えば、複合機103がフラッシュメモリカード等に格納されたデータを読み出してプリントするために、コントローラユニット300がUSBI/Fを有するような構成としてもよい。
(複合機103のソフトウェア構成)
図4は、複合機103のソフトウェア構成の一例を示す図である。
図4のソフトウェア構成はコントローラユニット300に実装されるものである。コントローラユニット300に実装されたソフトウェアは、いわゆるファームウェアとして実装されており、CPU301によって実現される。
リアルタイムOS401は、リアルタイムオペレーティングシステムであり、組み込みシステムの制御に最適化された各種資源管理のサービスと、枠組みとを、リアルタイムOS401上で動作するソフトウェアに提供する。リアルタイムOS401が提供する各種資源管理のサービス及び枠組みには、CPU301による処理の実行コンテクストを複数管理することで複数の処理を実質的に並行動作させるマルチタスク管理、タスク間の同期やデータ交換を実現するタスク間通信等がある。更に、前記各種資源管理のサービス及び枠組みには、メモリ管理、割り込み管理、各種のデバイスドライバ、ローカルインタフェースやネットワークや通信等の各種プロトコルの処理を実装したプロトコルスタック等もある。
コントローラプラットフォーム402は、ファイルシステム403、ジョブ・デバイス制御404、カウンタ405及びログ406を有する。
ファイルシステム403は、HDD304やRAM302等の記憶装置上に構築されたデータを格納する。ファイルシステム403は、コントローラユニット300が扱うジョブをスプールしたり各種データを保存したりする。
ジョブ・デバイス制御404は、複合機103のハードウェアを制御すると共に、ハードウェアが提供する基本機能(プリント、スキャン、通信、画像変換等)を利用するジョブを制御する。
カウンタ405は、アプリケーション毎の有効期限や、プリント、スキャンのカウンタ情報を管理する。カウンタ405は、プリント、スキャンのカウンタ情報を、ユーザ毎、グループ(部門)毎に管理する。なお、前記カウンタ情報は、上限管理や課金に使用されることがある。
ログ406は、ジョブの実行履歴やファイルシステム403に格納されているデータの操作履歴を、実行したユーザのユーザ情報やユーザが属するグループ情報と共に記録、管理する。
システムサービス407は、複合機103の稼働状況をモニタリングしたり、ネットワークを介してソフトウェア配信サーバから、ソフトウェアのプログラムやライセンスをダウンロードしたりするためのモジュールである。
アプリケーションプラットフォーム408は、リアルタイムOS401、コントローラプラットフォーム402の機構を、後述するシステムアプリケーション409や、追加可能なアプリケーション413から利用可能とするためのミドルウェアである。
システムアプリケーション409は、認証サービス410、権限管理部411及びジョブ管理部412を有する。
認証サービス410は、HDD304に格納されたユーザデータベース内で、操作部306を介して又はネットワークを介して入力されたユーザ名、パスワードの照合を行い、ユーザの認証を行う。なお、必ずしも認証サービス410がHDD304に格納されたユーザデータベース内で認証を行う必要はない。例えば、ActiveDirectory等の外部認証サーバが認証を行うようにしてもよい。
権限管理部411は、ユーザ権限やデータに設定されたセキュリティ設定に基づいて、ジョブや各種リソースへのアクセスを、許可、禁止するためのセキュリティモジュールである。
ジョブ管理部412は、ネットワークを介して複合機103に投入されてHDD304に格納された印刷データを所有者別に管理するモジュールである。ジョブ管理部412は、図5に示すジョブ管理テーブル500をHDD304に保持する。図5は、ジョブ管理テーブル500の一例を示す図である。
書誌情報501、書誌情報502及び書誌情報503は、それぞれ所有者が「yamada」、「suzuki」、「sato」である印刷データの書誌情報の一覧である。書誌情報には、印刷データの受信日時504、印刷データ名505及び印刷許可情報506の情報が含まれている。印刷許可情報506には、印刷可否設定507、印刷許可ユーザID508及び印刷許可グループID509の情報が含まれている。また、印刷許可情報506は、指定ユーザの設定により印刷の実行許可対象を示している。
アプリケーション413は、操作部306へメニューを表示したり、ユーザからの入力を受け付けたりすることができ、複合機103が実現する各種機能をユーザに提供するモジュールである。
留め置きプリントアプリケーション414(以下、アプリケーション414という)は、アプリケーション413の一つで、留め置き印刷データの一覧表示、印刷データを受信した際の留め置き判定、印刷出力処理等を行う。
(PC102の印刷データ送信手順)
図6は、本実施形態におけるPC102から複合機103に印刷データを送信する処理の一例を示すフローチャートである。
本実施形態では、PC102が印刷データとしてページ記述言語(PDL)データを複合機103に送信する例について説明する。なお、PDLには、LIPS(登録商標)やPostScript(登録商標)等がある。複合機103は、PDLを解釈しRIP処理することで印刷を行う。なお、印刷データは、PDLデータ以外のデータであってもよい。例えば、TIFF等の画像データやアプリケーションのドキュメントフォーマット等、複合機103が解釈して印刷することができるフォーマットであれば、どのフォーマットであってもよい。
S601で、PC102上で動作するアプリケーションから起動されたプリンタドライバ(以下、単にプリンタドライバという)は、印刷データを送信する複合機の選択を受け付ける。
S602で、プリンタドライバは、図7に示す印刷設定画面700を画像表示装置207に表示する。
図7は、印刷設定画面700の一例を示す図である。
印刷設定画面700には、出力サイズ、部数、印刷の向き、ページレイアウト、片面印刷、両面印刷、排紙方法等の印刷設定が示されている。ユーザは、入力装置206を介して上記の印刷設定を指定することができる。
図6の説明に戻る。
S603で、プリンタドライバは、入力装置206を介して印刷設定の変更を受け付ける。なお、印刷設定は、図7に示される設定に限る必要はなく、他の印刷設定であってもよい。例えば、印刷設定画面700に、出力方法として明示的に留め置き印刷を指示することができる印刷設定が含まれていてもよい。
S604で、プリンタドライバは、印刷許可情報設定要求を受け付けたか否かを判定し、受け付けたと判定した場合、処理をS605に進め、受け付けていないと判定した場合、処理をS607に進める。より具体的にいうと、プリンタドライバは、印刷設定画面700の印刷許可情報設定ボタン702の選択(押下)を、入力装置206を介して検知した場合、印刷許可情報設定要求を受け付けたと判定する。
S605で、プリンタドライバは、図8に示す印刷許可情報設定画面800を表示する。
図8は、印刷許可情報設定画面800の一例を示す図である。
印刷許可情報設定画面800は、他のユーザへの印刷許可を設定する印刷可否設定801として、「禁止」、「指定ユーザ」、「公開」の設定が選択可能であることを示している。ユーザは、入力装置206を介して上記の設定を指定することができる。そして、プリンタドライバは、入力装置206を介して印刷可否設定を受け付ける。ここで、「禁止」とは、他のユーザによる印刷を許可しないことを意味する。また、「指定ユーザ」とは、指定されたユーザによる印刷を許可することを意味する。また、「公開」とは、指定されていないユーザを含む他のユーザによる印刷を許可することを意味する。
例えば、プリンタドライバは、入力装置206を介して印刷可否設定801の「指定ユーザ」の選択を受け付けた場合、図9に示す印刷許可ユーザ設定画面900を画像表示装置207に表示する。
図9は、印刷許可ユーザ設定画面900の一例を示す図である。
印刷許可ユーザ設定画面900は、印刷許可対象として印刷許可ユーザ901及び印刷許可グループ902の指定が可能であることを示している。また、印刷許可ユーザ901のユーザ指定方法としては、ユーザIDによる指定と、メールアドレスによる指定とがある。ただし、指定方法はこれに限る必要はなく、社員番号、表示名、その他のユーザ識別情報等を用いた指定方法であってもよい。プリンタドライバは、入力装置206を介して印刷許可ユーザ901の指定や印刷許可グループ902の指定を受け付ける。
図6の説明に戻る。
S606で、プリンタドライバは、入力装置206を介して印刷許可情報設定を受け付ける。
S607で、プリンタドライバは、入力装置206を介して印刷指示を受け付ける。
S608で、プリンタドライバは、指定された印刷設定に従いアプリケーションデータをPDLデータに変換し、所有者情報を含む印刷データを生成する。ここでいう所有者とは、PC102を介して前記印刷データを生成して複合機103に投入するユーザ(投入者)のことである。
S609で、プリンタドライバは、ユーザにより印刷許可情報が設定されたか否かを判定し、設定されたと判定した場合、処理をS610に進め、設定されていないと判定した場合、処理をS611に進める。
S610で、プリンタドライバは、S608で生成した印刷データに、印刷許可情報設定に関する印刷許可情報を付与(付加)した印刷データを生成する。なお、プリンタドライバが印刷データに付与する印刷許可情報は、印刷データの印刷制御に関連する関連情報の一例である。
S611で、プリンタドライバは、生成した印刷データを複合機103に送信する。
以上の処理により、前記投入者は、PC102を介して複合機103に投入する印刷データの印刷出力を許可する許可対象を指定することができる。
(印刷データ受信処理手順)
図10は、本実施形態における複合機103の印刷データ受信処理の一例を示すフローチャートである。
S1001で、ジョブ・デバイス制御404は、印刷データの受信を待機する。
S1002で、ジョブ・デバイス制御404は、ネットワークI/F310を介して印刷データを受信し、アプリケーション414に通知する。
S1003で、アプリケーション414は、受信した印刷データが出力方式として留め置き指定されているか否かを判定し、留め置き指定されていると判定した場合、処理をS1008に進め、留め置き指定されていないと判定した場合、処理をS1004に進める。
S1004で、アプリケーション414は、複合機103が強制留め置きモードか否かを判定し、強制留め置きモードであると判定した場合、処理をS1005に進め、強制留め置きモードでないと判定した場合、処理をS1006に進める。なお、ここでいう強制留め置きモードとは、複合機103が受信した印刷データによらず、留め置き印刷で出力するモードのことである。
S1005で、アプリケーション414は、受信した印刷データが留め置き対象文書か否かを判定し、留め置き対象文書であると判定した場合、処理をS1008に進める。一方、アプリケーション414は、留め置き対象文書でないと判定した場合、ジョブ・デバイス制御404に通知し、処理をS1006に進める。より具体的にいうと、アプリケーション414は、印刷データに含まれるPDLデータの種類や印刷要求元情報から留め置き対象か否かを判定する。なお、アプリケーション414は、S1003からS1005までの処理を必ずしも全て実行しなければいけないわけではない。例えば、アプリケーション414は、S1003からS1005までの処理のうち、1つ又は任意の複数の組合せの処理を実行するようにしてもよい。
S1006で、ジョブ・デバイス制御404は、印刷データに含まれるPDLデータに対して、印刷設定に従いRIP処理を行う。
S1007で、ジョブ・デバイス制御404は、デバイスI/F307を介してプリンタ部309に印刷指示を行うことで印刷出力をする。
S1008で、アプリケーション414は、受信した印刷データから書誌情報を抽出する。
S1009で、アプリケーション414は、印刷データから所有者情報が取得可能か否かを判定し、取得可能と判定した場合、処理をS1011に進め、取得可能でないと判定した場合、処理をS1010に進める。より具体的にいうと、アプリケーション414は、S1008で抽出した書誌情報に所有者情報が含まれていれば、所有者情報を取得可能と判定する。
S1010で、アプリケーション414は、処理をキャンセルし、処理を終了する。
S1011で、アプリケーション414は、ファイルシステム403に印刷データのHDD304への格納を要求する。そして、ファイルシステム403は、印刷データをHDD304へ格納する。
S1012で、アプリケーション414は、S1009で取得した所有者情報と、S1011で格納された印刷データとをジョブ管理部412に通知する。そして、ジョブ管理部412は、ジョブ管理テーブル500に指定されたユーザの書誌情報を追加する。
S1013で、アプリケーション414は、印刷許可情報が付与されているか否かを判定し、付与されていると判定した場合、処理をS1014に進め、付与されていないと判定した場合、処理を終了する。
S1014で、アプリケーション414は、印刷許可情報が付与されている旨をジョブ管理部412に通知する。そして、ジョブ管理部412は、ジョブ管理テーブル500の指定された書誌情報に印刷許可情報を登録し、処理を終了する。
以上の処理により、複合機103は、PC102から投入された印刷データの留め置き印刷において、印刷データと共に登録した所有者情報や印刷許可情報を利用することができるようになる。
(印刷処理手順)
図11は、本実施形態における複合機103の印刷処理の一例を示すフローチャートである。
S1101で、認証サービス410は、操作部306に認証画面を表示し、操作部306を介して認証情報が入力されるまで待機する。
S1102で、操作部I/F305は、操作部306を介して受け付けたユーザの入力を認証情報として認証サービス410に送信する。そして、認証サービス410は、認証情報を受信する。
S1103で、認証サービス410は、ユーザ認証を行い、認証が成功したか否か判定し、成功したと判定した場合、アプリケーション413及びアプリケーション414に認証結果を通知し、処理をS1104に進める。一方、S1103で、認証サービス410は、認証が成功しなかったと判定した場合、処理をS1101に戻す。なお、認証処理については、図4を用いて上述したため、詳細な説明を省略する。
S1104で、アプリケーション414は、ジョブ管理部412から書誌情報を取得し、認証済みユーザが印刷可能な印刷データを抽出する。
S1105で、アプリケーション414は、図12に示す印刷可能な印刷データリストを操作部306に表示する。
図12は、印刷データリストの一例を示す図である。
例えば、認証済みユーザが「sato」であり、かつ、「sato」がグループ「Aチーム」に属しているとする。この場合、アプリケーション414は、図5に示すジョブ管理テーブル500より「sato」が印刷可能な印刷データとして図12に示す5つの印刷データを抽出し、印刷データリストとして操作部306に表示する。
図11の説明に戻る。
S1106で、アプリケーション414は、操作部306を介して印刷データの選択及び印刷指示要求の入力を受け付けるまで待機する。
S1107で、操作部I/F305は、操作部306を介してユーザにより選択された印刷データの印刷指示要求をアプリケーション414に送信する。そして、アプリケーション414は、印刷指示要求を受信する。
S1108で、アプリケーション414は、代行印刷判定処理を行う。なお、ここでいう代行印刷とは、印刷データを投入した所有者の代わりとして許可された代行者の指示によって複合機103が前記印刷データの印刷処理を実行する印刷方式のことである。S1108の処理の詳細については、図13を用いて後述する。
S1109で、アプリケーション414は、代行印刷判定処理の判定結果を確認し、代行印刷であると判定した場合、処理をS1110に進め、代行印刷ではないと判定した場合、処理をS1111に進める。
S1110で、アプリケーション414は、印刷出力する際に使用するユーザ情報として所有者情報を記憶する。
S1111で、アプリケーション414は、印刷出力する際に使用するユーザ情報として認証済みユーザ情報を記憶する。
S1112で、アプリケーション414は、印刷出力処理を行い、処理を終了する。S1112の処理の詳細については、図14を用いて後述する。
以上の処理により、複合機103は、投入された印刷データの印刷が代行印刷であるか否かに応じて、印刷出力処理に用いる適切なユーザ情報を記憶することができる。即ち、複合機103は、適切なユーザ情報を用いて、印刷出力処理を実行することができるようになる。
(代行印刷判定処理手順)
図13は、本実施形態における複合機103の代行印刷判定処理の一例を示すフローチャートである。
S1301で、アプリケーション414は、ジョブ管理部412より印刷データの所有者情報を取得する。
S1302で、アプリケーション414は、印刷データの所有者と、認証済みユーザとが合致するか否かを判定し、合致すると判定した場合、処理をS1303に進める。一方、S1302で、アプリケーション414は、印刷データの所有者と、認証済みユーザとが合致しないと判定した場合、処理をS1304に進める。
S1303で、アプリケーション414は、代行印刷ではない、即ち、非代行印刷であると判定する。
S1304で、アプリケーション414は、ジョブ管理部412より印刷データに関連付けられている印刷許可情報を取得する。
S1305で、アプリケーション414は、S1304で取得した印刷許可情報が示す印刷可否設定が「禁止」であるか否かを判定し、印刷可否設定が「禁止」であると判定した場合、処理をS1306に進める。一方、アプリケーション414は、印刷可否設定が「禁止」でないと判定した場合、処理をS1307に進める。
S1306で、アプリケーション414は、ログインユーザに対する印刷権限なしエラーと判定し、エラー終了として図13の処理をする。
S1307で、アプリケーション414は、印刷可否設定が「公開」であるか、「指定ユーザ」であるかを判定し、「公開」であると判定した場合、処理をS1303に進め、「指定ユーザ」であると判定した場合、処理をS1308に進める。
S1308で、アプリケーション414は、印刷許可情報が示す印刷許可ユーザと、認証済みユーザとが合致するか否かを判定し、合致すると判定した場合、処理をS1310に進め、合致しないと判定した場合、処理をS1309に進める。
S1309で、アプリケーション414は、印刷許可情報が示す印刷許可グループを構成するユーザと、認証済みユーザとが合致するか否かを判定し、合致すると判定した場合、処理をS1310に進め、合致しないと判定した場合、処理をS1306に進める。なお、アプリケーション414は、S1308及びS1309の処理を必ずしも全て実行しなければいけないわけではない。例えば、アプリケーション414は、S1308及びS1309の処理のうち、何れか1つの処理を実行するようにしてもよい。
S1310で、アプリケーション414は、代行印刷と判定し、図13の処理を終了する。
以上の処理により、複合機103は、PC102から投入された印刷データの印刷を指示する指示者が代行者であるか否か判定することができる。即ち、複合機103は、前記印刷が代行印刷であるか否かを判定することができる。
(印刷出力処理手順)
図14は、本実施形態における複合機103の印刷出力処理の一例を示すフローチャートである。
S1401で、アプリケーション414は、操作部306を介して選択された印刷データの書誌情報より印刷データを特定する。
S1402で、アプリケーション414は、ファイルシステム403に対し、印刷データの取得要求を送信する。
S1403で、アプリケーション414は、印刷データの取得が成功したか否かを判定し、成功したと判定した場合、処理をS1404に進め、失敗したと判定した場合、処理を終了する。
S1404で、アプリケーション414は、予め印刷出力の際に使用するユーザ情報として記憶しているユーザの印刷権限情報を権限管理部411から取得する。より具体的にいうと、アプリケーション414は、代行印刷の場合、S1110で記憶された所有者情報を印刷権限情報として取得し、代行印刷でない場合、S1111で記憶された認証済みユーザ情報を権限情報として取得する。
S1405で、アプリケーション414は、S1404で取得した印刷権限情報が示す印刷権限と、印刷データに設定されている印刷設定とを比較し、印刷権限があると判定した場合、ジョブ・デバイス制御404に印刷出力を通知し、処理をS1406に進める。一方、アプリケーション414は、印刷権限がないと判定した場合、処理をS1411に進める。
S1406で、ジョブ・デバイス制御404は、印刷データに含まれるPDLデータに対して、印刷設定に従いRIP処理を行う。
S1407で、ジョブ・デバイス制御404は、デバイスI/F307を介してプリンタ部309に印刷指示を行うことで印刷出力をする。
S1408で、アプリケーション414は、印刷出力が成功したか否か判定し、成功したと判定した場合、処理をS1409に進め、失敗したと判定した場合、処理をS1410に進める。
S1409で、アプリケーション414は、カウンタ405に対し、予め印刷出力の際に使用するユーザ情報として記憶しているユーザのカウンタ情報の更新要求を送信する。より具体的にいうと、アプリケーション414は、代行印刷の場合、印刷データの所有者のカウンタ情報の更新要求を送信し、代行印刷でない場合、認証済みユーザのカウンタ情報の更新要求を送信する。そして、カウンタ405は、カウンタ情報を更新する。
S1410で、アプリケーション414は、操作部306に印刷が完了した旨を表示する。
S1411で、アプリケーション414は、ログ406に対し、予め印刷出力の際に使用するユーザ情報として記憶しているユーザ情報でのログの登録要求を送信する。より具体的にいうと、アプリケーション414は、代行印刷の場合、印刷データの所有者のユーザ情報でのログの登録要求を送信し、代行印刷でない場合、認証済みユーザのユーザ情報でのログの登録要求を送信する。そして、ログ406は、要求に従ってログを登録し、処理を終了する。
以上の処理により、複合機103は、代行印刷か否かに応じて、適切なユーザ情報、即ち、適切なユーザの権限情報を用いて印刷を実行することができる。また、複合機103は、代行印刷か否かに応じて、適切にカウンタ情報を更新したり、ログを登録したりすることができる。
以上、本実施形態によれば、複合機103は、印刷データの投入者が入力した印刷許可情報に応じて代行印刷か否かを判定し、適切なユーザ情報を用いて印刷制御を行うことができる。これにより、複合機103は、適切な権限で印刷を実行することができる。また、複合機103は、適切なユーザに対するカウンタ情報の更新やログ登録を行うことができる。
<実施形態2>
次に、実施形態2における印刷システムについて説明する。
なお、本実施形態における印刷システム構成、PC102のハードウェア構成、複合機103のハードウェア構成及び複合機103のソフトウェア構成については、実施形態1と同様であるものとし、説明を省略する。
また、PC102の印刷データ送信手順は、実施形態1で説明した図6の通りである。複合機103の印刷データ受信処理手順は、実施形態1で説明した図10の通りである。複合機103の印刷処理手順は、実施形態1で説明した図11の通りである。複合機103の印刷出力処理手順は、実施形態1で説明した図14の通りである。以上の処理の詳細は実施形態1で説明した通りであるため、説明を省略する。
(代行印刷判定処理手順)
図15は、本実施形態における複合機103の代行印刷判定処理の一例を示すフローチャートである。
S1501からS1507までの処理は、図13のS1301からS1307までの処理と同様であるため、説明を省略する。
S1508で、アプリケーション414は、印刷許可情報が示す印刷許可ユーザと、認証済みユーザとが合致するか否かを判定し、合致すると判定した場合、処理をS1509に進め、合致しないと判定した場合、処理をSS1503に進める。
S1509で、アプリケーション414は、印刷許可情報が示す印刷許可グループを構成するユーザと、認証済みユーザとが合致するか否かを判定し、合致すると判定した場合、処理をS1503に進め、合致しないと判定した場合、処理をS1510に進める。
S1510の処理は、図13のS1310の処理と同様であるため、説明を省略する。
以上、本実施形態によれば、複合機103は、認証済みユーザが印刷許可ユーザに指定されている場合のみ代行印刷と判定して印刷制御することができる。また、複合機103は、印刷許可ユーザに指定されている認証済みユーザ以外を代行者ではないと判定し、認証済みユーザの情報を用いて印刷制御することができる。
<実施形態3>
次に、実施形態3における印刷システムについて説明する。
なお、本実施形態における印刷システム構成、PC102のハードウェア構成、複合機103のハードウェア構成及び複合機103のソフトウェア構成については、実施形態1と同様であるものとし、説明を省略する。
また、PC102の印刷データ送信手順は、実施形態1で説明した図6の通りである。複合機103の印刷データ受信処理手順は、実施形態1で説明した図10の通りである。複合機103の印刷処理手順は、実施形態1で説明した図11の通りである。複合機103の印刷出力処理手順は、実施形態1で説明した図14の通りである。以上の処理の詳細は実施形態1で説明した通りであるため、説明を省略する。
(代行印刷判定処理手順)
図16は、本実施形態における複合機103の代行印刷判定処理の一例を示すフローチャートである。
S1601からS1609までの処理は、図15のS1501からS1509までの処理と同様であるため、説明を省略する。
S1610で、アプリケーション414は、印刷許可情報が示す印刷許可ユーザの人数が、予め定められた指定ユーザの人数(閾値)よりも少ないか否かを判定し、少ないと判定した場合、処理をS1611に進める。一方、アプリケーション414は、少なくないと判定した場合、処理をS1603に進める。
S1611の処理は、図15のS1510の処理と同様であるため、説明を省略する。
以上、本実施形態によれば、複合機103は、認証済みユーザが印刷許可ユーザに指定されており、かつ、印刷許可情報が示す印刷許可ユーザ数が予め定められた閾値未満である場合のみ代行印刷と判定して印刷制御することができる。また、複合機103は、それ以外の認証済みユーザを代行者でないと判定し、認証済みユーザの情報を用いて印刷制御することができる。
<実施形態4>
次に、実施形態4における印刷システムについて説明する。
なお、本実施形態における印刷システム構成、PC102のハードウェア構成、複合機103のハードウェア構成及び複合機103のソフトウェア構成については、実施形態1と同様であるものとし、説明を省略する。
また、PC102の印刷データ送信手順は、実施形態1で説明した図6の通りである。複合機103の印刷データ受信処理手順は、実施形態1で説明した図10の通りである。複合機103の印刷処理手順は、実施形態1で説明した図11の通りである。複合機103の印刷出力処理手順は、実施形態1で説明した図14の通りである。以上の処理の詳細は実施形態1で説明した通りであるため、説明を省略する。
(代行印刷判定情報)
図17は、本実施形態における代行印刷判定情報1700の一例を示す図である。なお、代行印刷判定情報1700は、組合わせ判定条件の一例である。
ジョブ管理部412は、代行印刷判定情報1700をHDD304に保持する。代行印刷判定情報1700には、印刷データ投入者(所有者)1701の情報、印刷指示要求者(指示者)1702の情報及び印刷制御に利用するユーザ情報1703が含まれる。
以下、複合機103が代行印刷判定情報1700を用いて印刷制御を行う場合の一例について説明する。複合機103が、印刷データ投入者1701が投入した印刷データの印刷指示要求を、操作部306を介して印刷指示要求者1702から受け付けたとする。この場合、複合機103は、印刷データ投入者1701と、印刷指示要求者1702との組合せに対応する印刷制御に利用するユーザ情報1703を用いて印刷出力する。なお、複合機103は、操作部306を介して入力された代行印刷判定情報1700を登録してもよいし、ネットワークを介して接続されたPC102から受け付けた代行印刷判定情報1700を登録してもよい。
(代行印刷判定処理手順)
図18は、本実施形態における複合機103の代行印刷判定処理の一例を示すフローチャートである。
S1801からS1803までの処理は、図13のS1301からS1303までの処理と同様であるため、説明を省略する。
S1804で、アプリケーション414は、ジョブ管理部412より代行印刷判定情報1700を取得し、印刷データの所有者と、認証済みユーザとの組合せに該当する情報があるか否か判定する。S1804で、アプリケーション414は、該当する情報があると判定した場合、処理をS1805に進め、該当する情報がないと判定した場合、処理をS1803に進める。
S1805で、アプリケーション414は、該当する印刷制御に利用するユーザ情報1703を確認し、印刷制御に印刷データ投入者情報を利用するか否かを判定し、利用すると判定した場合、処理をS1806に進める。一方、アプリケーション414は、印刷データ投入者情報を利用しないと判定した場合、処理をS1803に進める。より具体的にいうと、アプリケーション414は、該当する印刷制御に利用するユーザ情報1703を確認し、印刷制御に印刷指示要求者情報を利用するよう定義されていた場合、処理をS1803に進める。一方、アプリケーション414は、印刷データ投入者情報を利用するよう定義されていた場合、処理をS1806に進める。
S1806の処理は、図13のS1310の処理と同様であるため、説明を省略する。
以上、本実施形態によれば、複合機103は、予め登録された代行印刷判定条件に従い代行印刷か否かを判定することができ、ユーザや管理者の意図を反映した印刷制御を行うことができる。
<実施形態5>
次に、実施形態5における印刷システムについて説明する。
なお、本実施形態における印刷システム構成、PC102のハードウェア構成、複合機103のハードウェア構成及び複合機103のソフトウェア構成については、実施形態1と同様であるものとし、説明を省略する。
また、PC102の印刷データ送信手順は、実施形態1で説明した図6の通りである。複合機103の印刷データ受信処理手順は、実施形態1で説明した図10の通りである。複合機103の印刷処理手順は、実施形態1で説明した図11の通りである。複合機103の印刷出力処理手順は、実施形態1で説明した図14の通りである。以上の処理の詳細は実施形態1で説明した通りであるため、説明を省略する。
(特定印刷ジョブ名情報)
図19は、本実施形態5における特定印刷ジョブ名情報1900の一例を示す図である。なお、特定印刷ジョブ名情報1900は、ジョブ名判定条件の一例を示す図である。
ジョブ管理部412は、特定印刷ジョブ名情報1900をHDD304に保持する。特定印刷ジョブ名情報1900には、特定印刷ジョブ名1901及び代行印刷判定条件1902に関する情報が含まれる。
複合機103は、印刷データに含まれる印刷ジョブ名が特定印刷ジョブ名情報1900に定義された代行印刷判定条件に合致する場合、代行印刷と判定する。例えば図19の例では、印刷ジョブ名に「代行」が含まれている場合、複合機103は、代行印刷と判定する。なお、複合機103は、操作部306を介して入力された特定印刷ジョブ名情報1900を登録してもよいし、ネットワークを介して接続されたPC102から受け付けた特定印刷ジョブ名情報1900を登録してもよい。
(代行印刷判定処理手順)
図20は、本実施形態における複合機103の代行印刷判定処理の一例を示すフローチャートである。
S2001からS2003までの処理は、図18のS1801からS1803までの処理と同様であるため、説明を省略する。
S2004で、アプリケーション414は、ジョブ管理部412より特定印刷ジョブ名情報1900を取得し、印刷データの印刷ジョブ名が特定印刷ジョブ名情報1900で定義されている代行印刷判定条件に合致するか否かを判定する。そして、アプリケーション414は、合致すると判定した場合、処理をS2005に進め、合致しないと判定した場合、処理をS2003に進める。
S2005の処理は、図18のS1806の処理と同様であるため、説明を省略する。
以上、本実施形態によれば、複合機103は、ユーザが意図した通りに代行印刷と、通常印刷とを使い分けることができ、より柔軟な印刷制御を行うことができる。
<実施形態6>
次に、実施形態6における印刷システムについて説明する。
なお、本実施形態における印刷システム構成、PC102のハードウェア構成、複合機103のハードウェア構成及び複合機103のソフトウェア構成については、実施形態1と同様であるものとし、説明を省略する。
(ジョブ制御情報設定)
図21は、本実施形態における複合機103のジョブ制御情報設定画面(入力画面)2100の一例を示す図である。
複合機103のアプリケーション414は、操作部I/F305を介して操作部306にジョブ制御情報設定画面2100を表示する。ユーザや複合機103の管理者は、操作部306に表示されたジョブ制御情報設定画面2100で、印刷出力の際に使用するユーザ情報等の設定であるジョブ制御情報設定2109を設定することができる。なお、ジョブ制御情報設定2109に関する情報は、第1の制御情報の一例である。
ユーザ等は、操作部306を介して、ジョブ実行の際に使用するユーザ情報2101として、ドライバで指定された情報2102、所有者情報2103、印刷指示者情報2104の何れかを選択するか又は個別に設定2105を選択する。ユーザ等は、操作部306を介して個別に設定2105を選択すると、更に、印刷権限2106、カウンタ2107、ログ2108で使用する情報を個別に設定することができる。アプリケーション414は、操作部306を介して受け付けたジョブ制御情報設定2109に関する情報を、HDD304に格納する。
(PC102の印刷データ送信手順)
図22は、本実施形態におけるPC102から複合機103に印刷データを送信する処理の一例を示すフローチャートである。
S2201からS2206までの処理は、図6のS601からS606までの処理と同様であるため、説明を省略する。
S2207で、プリンタドライバは、ジョブ制御情報設定要求を受け付けたか否かを判定し、受け付けたと判定した場合、処理をS2208に進め、受け付けていないと判定した場合、処理をS2210に進める。より具体的にいうと、プリンタドライバは、入力装置206を介して制御情報設定ボタンの選択を受け付けると、ジョブ制御情報設定要求を受け付けたと判定する。
S2208で、プリンタドライバは、図23に示すジョブ制御情報設定画面2300を画像表示装置207に表示する。
図23は、PC102のジョブ制御情報設定画面2300の一例を示す図である。
ジョブ制御情報設定画面2300は、印刷データを出力する際に使用するユーザ情報の設定であるジョブ制御情報設定2304として、印刷権限2301、カウンタ2302及びログ2303に関する設定を示している。なお、ジョブ制御情報設定2304に関する情報は、第2の制御情報の一例である。
図22の説明に戻る。
S2209で、プリンタドライバは、ジョブ制御情報設定2304に関する情報を受け付ける。
S2210からS2213までの処理は、図6のS607からS610までの処理と同様であるため、説明を省略する。
S2214で、プリンタドライバは、ユーザによりジョブ制御情報設定2304が設定されているか否かを判定し、設定されていると判定した場合、処理をS2215に進め、設定されていないと判定した場合、処理をS2216に進める。
S2215で、プリンタドライバは、S2211で生成した印刷データにジョブ制御情報設定2304に関する情報を付与する。なお、プリンタドライバが印刷データに付与するジョブ制御情報設定2304に関する情報は、印刷データの印刷制御に関連する関連情報の一例である。
S2216の処理は、図6のS611の処理と同様であるため、説明を省略する。
以上の処理により、印刷データの投入者は、PC102を介して複合機103に投入する印刷データの印刷出力を許可する許可対象を指定することができると共に、ジョブ制御に関して意図した設定をすることができる。
(印刷データ受信処理手順)
図24は、本実施形態における複合機103の印刷データ受信処理の一例を示すフローチャートである。
S2401からS2414までの処理は、図10のS1001からS1014までの処理と同様であるため、説明を省略する。
S2415で、アプリケーション414は、ジョブ制御情報設定2304に関する情報が付与されているか否かを判定し、付与されていると判定した場合、処理をS2416に進め、付与されていないと判定した場合、処理を終了する。
S2416で、アプリケーション414は、ジョブ制御情報設定2304に関する情報が付与されている旨をジョブ管理部412に通知する。そして、ジョブ管理部412は、ジョブ管理テーブル500の指定された書誌情報にジョブ制御情報設定2304に関する情報を登録し、処理を終了する。
以上の処理により、複合機103は、PC102から投入された印刷データの留め置き印刷において、印刷データと共に登録した所有者情報、印刷許可情報、ジョブ制御情報設定2304に関する情報を利用することができるようになる。
(印刷処理手順)
図25は、本実施形態における複合機103の印刷処理の一例を示すフローチャートである。
S2501からS2507までの処理は、図11のS1101からS1107までの処理と同様であるため、説明を省略する。
S2508で、アプリケーション414は、ジョブ制御情報判定処理を行う。S2508の処理の詳細については、図26を用いて後述する。
S2509の処理は、図11のS1112の処理と同様であるため、説明を省略する。
以上の処理により、複合機103は、ジョブ制御情報を用いて投入された印刷データの印刷制御を行うことができるようになる。
(ジョブ制御情報判定処理手順)
図26は、本実施形態における複合機103のジョブ制御情報判定処理の一例を示すフローチャートである。
S2601で、アプリケーション414は、判定する制御対象処理を確認する。
S2602で、アプリケーション414は、HDD304に格納されているジョブ制御情報設定2109に関する情報を、ファイルシステム403を介して取得する。
S2603で、アプリケーション414は、S2602で取得した情報が示すジョブ制御情報設定2109が「所有者情報を使用」又は「印刷指示者情報を使用」に設定されているか否かを判定する。そして、アプリケーション414は、「所有者情報を使用」又は「印刷指示者情報を使用」に設定されていると判定した場合、処理をS2604に進める。一方、アプリケーション414は、「所有者情報を使用」又は「印刷指示者情報を使用」に設定されていないと判定した場合、処理をS2605に進める。
S2604で、アプリケーション414は、ジョブ制御情報設定2109の設定値に関する情報を記憶する。
S2605で、アプリケーション414は、S2602で取得した情報が示すジョブ制御情報設定2109が「ドライバ指定情報を使用」に設定されているか否かを判定し、設定されていると判定した場合、処理をS2609に進める。一方、アプリケーション414は、「ドライバ指定情報を使用」に設定されていないと判定した場合、処理をS2606に進める。
S2606で、アプリケーション414は、ジョブ制御情報設定2109内の個別設定に関する情報を取得する。
S2607で、アプリケーション414は、S2606で取得した情報が示す個別設定が「ドライバ指定情報を使用」に設定されているか否かを判定し、設定されていると判定した場合、処理をS2609に進める。一方、アプリケーション414は、「ドライバ指定情報を使用」に設定されていないと判定した場合、処理をS2608に進める。
S2608で、アプリケーション414は、制御対象の個別設定の設定値に関する情報を記憶する。
S2609で、アプリケーション414は、ジョブ管理部412よりジョブ管理テーブル500に登録されているドライバ指定のジョブ制御情報設定2304に関する情報を取得して記憶する。
S2610で、アプリケーション414は、S2609で記憶した情報が示す設定値が「所有者情報を使用」と、「印刷指示者情報を使用」との何れであるかを判定し、「所有者情報を使用」と判定した場合、処理をS2611に進める。一方、アプリケーション414は、「印刷指示者情報を使用」と判定した場合、処理をS2612に進める。
S2611で、アプリケーション414は、ジョブ制御に所有者情報を使用すると判定し、図26の処理を終了する。
S2612で、アプリケーション414は、ジョブ制御に印刷指示者情報を使用すると判定し、図26の処理を終了する。
なお、アプリケーション414は、S2601でジョブ制御情報を判定する制御対象が複数あることを確認した場合、S2606からS2612までの処理を制御対象の数の分だけ繰り返す。
以上の処理により、複合機103は、ジョブ制御情報設定2109を示す情報と、ジョブ制御情報設定2304を示す情報とに基づいて、複合機103の管理者やユーザ等が意図した通りの設定で印刷制御を行うことができる。
以上、本実施形態によれば、複合機103の管理者やユーザは、ジョブ制御に所有者情報と、印刷指示者情報との何れを使用するかを、操作部306を介して設定するジョブ制御情報設定2109により一括設定することができる。また、前記管理者等は、ジョブ制御情報設定2109で「ドライバ指定情報を使用」を選択して設定した場合、複合機103は、PC102のプリンタドライバで指定された情報を用いて印刷制御することができる。より具体的にいうと、複合機103は、プリンタドライバにより指定された所有者情報又は印刷指示者情報の何れかを用いて印刷制御することができる。このように、複合機103は、ジョブ制御情報設定2109に関する情報と、ジョブ制御情報設定2304に関する情報とに基づいて、前記管理者等が意図した通りの設定で印刷制御を行うことができる。
<その他の実施形態>
また、本実施形態は、以下の処理を実行することによっても実現される。即ち、上述した実施形態の機能を実現するソフトウェア(プログラム)を、ネットワーク又は各種記憶媒体を介してシステム或いは装置に供給し、そのシステム或いは装置のコンピュータ(又はCPUやMPU等)がプログラムを読み出して実行する処理である。
以上、上述した各実施形態によれば、印刷データ投入者と、印刷指示要求者とが異なる場合において、複合機103は、印刷指示要求者が代行印刷者であるか否か判定し、適切な情報に基づいて印刷制御を行うことができる。即ち、適切なユーザの情報を用いて印刷ジョブを制御する技術を提供することができる。
以上、本発明の好ましい形態について詳述したが、本実施形態は係る特定の実施形態に限定されるものではなく、特許請求の範囲に記載された本発明の要旨の範囲内において、種々の変形・変更が可能である。

Claims (12)

  1. 印刷データを受信する受信手段と、
    前記受信手段により受信された印刷データに付加されている権限情報と所有者情報とを取得する取得手段と、
    前記受信手段により受信された印刷データを記憶する記憶手段と、
    ユーザから認証情報を受け付ける操作手段と、
    前記記憶手段で記憶された印刷データを印刷する場合に、前記印刷データに付加された印刷許可情報に基づいて、前記取得手段により取得された所有者情報により識別されるユーザの権限情報を用いるか、前記操作手段を介して受け付けた認証情報により認証済みのユーザの権限情報を用いるかを判定する判定手段と、
    前記判定手段での判定結果に応じた権限情報に基づいて、前記記憶手段で記憶された印刷データを印刷する印刷手段と、
    を有し、
    前記判定手段は、前記印刷許可情報が示す前記印刷データの印刷許可対象に前記操作手段を介して認証情報を入力したユーザの情報が含まれている場合であって、かつ、前記印刷許可対象の人数が予め定められた人数よりも少ない場合、前記取得手段により取得された所有者情報により識別されるユーザの権限情報を用いると判定することを特徴とする画像形成装置。
  2. 印刷データを受信する受信手段と、
    前記受信手段により受信された印刷データに付加されている権限情報と所有者情報とを取得する取得手段と、
    前記受信手段により受信された印刷データを記憶する記憶手段と、
    ユーザから認証情報を受け付ける操作手段と、
    前記記憶手段で記憶された印刷データを印刷する場合に、予め定められた判定条件に基づいて、前記取得手段により取得された所有者情報により識別されるユーザの権限情報を用いるか、前記操作手段を介して受け付けた認証情報により認証済みのユーザの権限情報を用いるかを判定する判定手段と、
    前記判定手段での判定結果に応じた権限情報に基づいて、前記記憶手段で記憶された印刷データを印刷する印刷手段と、
    を有し、
    前記判定手段は、前記所有者情報と、前記操作手段を介して認証情報を入力したユーザの情報との組合せから特定される予め定められた組合せ判定条件に基づいて、前記取得手段により取得された所有者情報により識別されるユーザの権限情報を用いるか、前記操作手段を介して受け付けた認証情報により認証済みのユーザの権限情報を用いるかを判定することを特徴とする画像形成装置。
  3. 印刷データを受信する受信手段と、
    前記受信手段により受信された印刷データに付加されている権限情報と所有者情報とを取得する取得手段と、
    前記受信手段により受信された印刷データを記憶する記憶手段と、
    ユーザから認証情報を受け付ける操作手段と、
    前記記憶手段で記憶された印刷データを印刷する場合に、予め定められた判定条件に基づいて、前記取得手段により取得された所有者情報により識別されるユーザの権限情報を用いるか、前記操作手段を介して受け付けた認証情報により認証済みのユーザの権限情報を用いるかを判定する判定手段と、
    前記判定手段での判定結果に応じた権限情報に基づいて、前記記憶手段で記憶された印刷データを印刷する印刷手段と、
    を有し、
    前記判定手段は、前記印刷データに付加されているジョブ名に基づいて、前記取得手段により取得された所有者情報により識別されるユーザの権限情報を用いるか、前記操作手段を介して受け付けた認証情報により認証済みのユーザの権限情報を用いるかを判定することを特徴とする画像形成装置。
  4. 印刷データを受信する受信手段と、
    前記受信手段により受信された印刷データに付加されている権限情報と所有者情報とを取得する取得手段と、
    前記受信手段により受信された印刷データを記憶する記憶手段と、
    ユーザから認証情報を受け付ける操作手段と、
    前記印刷データの印刷に係る設定を入力する入力画面を表示する表示手段と、
    前記記憶手段で記憶された印刷データを印刷する場合に、前記表示手段で表示された入力画面を介して入力された設定を示す第1の制御情報に基づいて、前記取得手段により取得された所有者情報により識別されるユーザの権限情報を用いるか、前記操作手段を介して受け付けた認証情報により認証済みのユーザの権限情報を用いるかを判定する判定手段と、
    前記判定手段での判定結果に応じた権限情報に基づいて、前記記憶手段で記憶された印刷データを印刷する印刷手段と、
    を有し、
    前記判定手段は、前記第1の制御情報と、前記印刷データに付加されている前記印刷データの印刷に係る設定を示す第2の制御情報とに基づいて、前記取得手段により取得された所有者情報により識別されるユーザの権限情報を用いるか、前記操作手段を介して受け付けた認証情報により認証済みのユーザの権限情報を用いるかを判定することを特徴とする画像形成装置。
  5. 印刷データを受信する受信手段と、
    前記受信手段により受信された印刷データに付加されている権限情報と所有者情報とを取得する取得手段と、
    前記受信手段により受信された印刷データを記憶する記憶手段と、
    ユーザから認証情報を受け付ける操作手段と、
    前記記憶手段で記憶された印刷データを印刷する場合に、前記取得手段により取得された所有者情報により識別されるユーザの権限情報を用いるか、前記操作手段を介して受け付けた認証情報により認証済みのユーザの権限情報を用いるかを判定する判定手段と、
    前記判定手段での判定結果に応じた権限情報に基づいて、前記記憶手段で記憶された印刷データを印刷する印刷手段と、
    前記印刷手段で用いられた権限情報に対応するユーザのユーザ情報に基づいて記録情報を登録する登録手段と、
    を有することを特徴とする画像形成装置。
  6. 前記印刷手段で用いられた権限情報に対応するユーザのカウンタ情報を更新する更新手段を更に有することを特徴とする請求項1乃至何れか1項記載の画像形成装置。
  7. 画像形成装置が実行する情報処理方法であって、
    印刷データを受信する受信ステップと、
    前記受信ステップにより受信された印刷データに付加されている権限情報と所有者情報とを取得する取得ステップと、
    前記受信ステップにより受信された印刷データを記憶する記憶ステップと、
    ユーザから認証情報を受け付ける操作ステップと、
    前記記憶ステップで記憶された印刷データを印刷する場合に、前記印刷データに付加された印刷許可情報に基づいて、前記取得ステップにより取得された所有者情報により識別されるユーザの権限情報を用いるか、前記操作ステップを介して受け付けた認証情報により認証済みのユーザの権限情報を用いるかを判定する判定ステップと、
    前記判定ステップでの判定結果に応じた権限情報に基づいて、前記記憶ステップで記憶された印刷データを印刷する印刷ステップと、
    を含み、
    前記判定ステップでは、前記印刷許可情報が示す前記印刷データの印刷許可対象に前記操作ステップを介して認証情報を入力したユーザの情報が含まれている場合であって、かつ、前記印刷許可対象の人数が予め定められた人数よりも少ない場合、前記取得ステップにより取得された所有者情報により識別されるユーザの権限情報を用いると判定することを特徴とする情報処理方法。
  8. 画像形成装置が実行する情報処理方法であって、
    印刷データを受信する受信ステップと、
    前記受信ステップにより受信された印刷データに付加されている権限情報と所有者情報とを取得する取得ステップと、
    前記受信ステップにより受信された印刷データを記憶する記憶ステップと、
    ユーザから認証情報を受け付ける操作ステップと、
    前記記憶ステップで記憶された印刷データを印刷する場合に、予め定められた判定条件に基づいて、前記取得ステップにより取得された所有者情報により識別されるユーザの権限情報を用いるか、前記操作ステップを介して受け付けた認証情報により認証済みのユーザの権限情報を用いるかを判定する判定ステップと、
    前記判定ステップでの判定結果に応じた権限情報に基づいて、前記記憶ステップで記憶された印刷データを印刷する印刷ステップと、
    を含み、
    前記判定ステップでは、前記所有者情報と、前記操作ステップを介して認証情報を入力したユーザの情報との組合せから特定される予め定められた組合せ判定条件に基づいて、前記取得ステップにより取得された所有者情報により識別されるユーザの権限情報を用いるか、前記操作ステップを介して受け付けた認証情報により認証済みのユーザの権限情報を用いるかを判定することを特徴とする情報処理方法。
  9. 画像形成装置が実行する情報処理方法であって、
    印刷データを受信する受信ステップと、
    前記受信ステップにより受信された印刷データに付加されている権限情報と所有者情報とを取得する取得ステップと、
    前記受信ステップにより受信された印刷データを記憶する記憶ステップと、
    ユーザから認証情報を受け付ける操作ステップと、
    前記記憶ステップで記憶された印刷データを印刷する場合に、予め定められた判定条件に基づいて、前記取得ステップにより取得された所有者情報により識別されるユーザの権限情報を用いるか、前記操作ステップを介して受け付けた認証情報により認証済みのユーザの権限情報を用いるかを判定する判定ステップと、
    前記判定ステップでの判定結果に応じた権限情報に基づいて、前記記憶ステップで記憶された印刷データを印刷する印刷ステップと、
    を含み、
    前記判定ステップでは、前記印刷データに付加されているジョブ名に基づいて、前記取得ステップにより取得された所有者情報により識別されるユーザの権限情報を用いるか、前記操作ステップを介して受け付けた認証情報により認証済みのユーザの権限情報を用いるかを判定することを特徴とする情報処理方法。
  10. 画像形成装置が実行する情報処理方法であって、
    印刷データを受信する受信ステップと、
    前記受信ステップにより受信された印刷データに付加されている権限情報と所有者情報とを取得する取得ステップと、
    前記受信ステップにより受信された印刷データを記憶する記憶ステップと、
    ユーザから認証情報を受け付ける操作ステップと、
    前記印刷データの印刷に係る設定を入力する入力画面を表示する表示ステップと、
    前記記憶ステップで記憶された印刷データを印刷する場合に、前記表示ステップで表示された入力画面を介して入力された設定を示す第1の制御情報に基づいて、前記取得ステップにより取得された所有者情報により識別されるユーザの権限情報を用いるか、前記操作ステップを介して受け付けた認証情報により認証済みのユーザの権限情報を用いるかを判定する判定ステップと、
    前記判定ステップでの判定結果に応じた権限情報に基づいて、前記記憶ステップで記憶された印刷データを印刷する印刷ステップと、
    を含み、
    前記判定ステップでは、前記第1の制御情報と、前記印刷データに付加されている前記印刷データの印刷に係る設定を示す第2の制御情報とに基づいて、前記取得ステップにより取得された所有者情報により識別されるユーザの権限情報を用いるか、前記操作ステップを介して受け付けた認証情報により認証済みのユーザの権限情報を用いるかを判定することを特徴とする情報処理方法。
  11. 画像形成装置が実行する情報処理方法であって、
    印刷データを受信する受信ステップと、
    前記受信ステップにより受信された印刷データに付加されている権限情報と所有者情報とを取得する取得ステップと、
    前記受信ステップにより受信された印刷データを記憶する記憶ステップと、
    ユーザから認証情報を受け付ける操作ステップと、
    前記記憶ステップで記憶された印刷データを印刷する場合に、前記取得ステップにより取得された所有者情報により識別されるユーザの権限情報を用いるか、前記操作ステップを介して受け付けた認証情報により認証済みのユーザの権限情報を用いるかを判定する判定ステップと、
    前記判定ステップでの判定結果に応じた権限情報に基づいて、前記記憶ステップで記憶された印刷データを印刷する印刷ステップと、
    前記印刷ステップで用いられた権限情報に対応するユーザのユーザ情報に基づいて記録情報を登録する登録ステップと、
    を含むことを特徴とする情報処理方法。
  12. コンピュータを、請求項1乃至6何れか1項記載の画像形成装置の各手段として機能させるためのプログラム。
JP2013174826A 2013-08-26 2013-08-26 画像形成装置、情報処理方法及びプログラム Expired - Fee Related JP6238640B2 (ja)

Priority Applications (3)

Application Number Priority Date Filing Date Title
JP2013174826A JP6238640B2 (ja) 2013-08-26 2013-08-26 画像形成装置、情報処理方法及びプログラム
US14/465,704 US20150055162A1 (en) 2013-08-26 2014-08-21 Image forming apparatus, information processing apparatus, system, information processing method, and storage medium
CN201410421385.9A CN104423906B (zh) 2013-08-26 2014-08-25 图像形成装置、信息处理装置、系统和信息处理方法

Applications Claiming Priority (1)

Application Number Priority Date Filing Date Title
JP2013174826A JP6238640B2 (ja) 2013-08-26 2013-08-26 画像形成装置、情報処理方法及びプログラム

Publications (2)

Publication Number Publication Date
JP2015042476A JP2015042476A (ja) 2015-03-05
JP6238640B2 true JP6238640B2 (ja) 2017-11-29

Family

ID=52480112

Family Applications (1)

Application Number Title Priority Date Filing Date
JP2013174826A Expired - Fee Related JP6238640B2 (ja) 2013-08-26 2013-08-26 画像形成装置、情報処理方法及びプログラム

Country Status (3)

Country Link
US (1) US20150055162A1 (ja)
JP (1) JP6238640B2 (ja)
CN (1) CN104423906B (ja)

Families Citing this family (6)

* Cited by examiner, † Cited by third party
Publication number Priority date Publication date Assignee Title
JP6206435B2 (ja) * 2015-03-25 2017-10-04 コニカミノルタ株式会社 印刷管理装置、印刷管理プログラム、印刷管理システム、および画像形成装置
JP6623873B2 (ja) * 2016-03-18 2019-12-25 株式会社リコー 画像形成システム、画像形成方法、画像形成装置、およびプログラム
JP6486303B2 (ja) * 2016-09-21 2019-03-20 キヤノン株式会社 画像処理装置、制御方法、プログラム
JP7246857B2 (ja) * 2018-02-23 2023-03-28 キヤノン株式会社 情報処理装置、情報処理装置の制御方法およびプログラム
JP7187845B2 (ja) * 2018-07-03 2022-12-13 株式会社リコー 印刷サーバ、画像形成装置、プログラム、印刷システム
JP2023140132A (ja) * 2022-03-22 2023-10-04 富士フイルムビジネスイノベーション株式会社 画像処理装置、画像処理システム、及び画像処理プログラム

Family Cites Families (19)

* Cited by examiner, † Cited by third party
Publication number Priority date Publication date Assignee Title
JP2005328322A (ja) * 2004-05-14 2005-11-24 Ricoh Co Ltd 画像出力装置
JP3982520B2 (ja) * 2004-06-02 2007-09-26 コニカミノルタビジネステクノロジーズ株式会社 アクセス管理システムおよび方法、画像形成装置、およびコンピュータプログラム
JP4227565B2 (ja) * 2004-06-11 2009-02-18 キヤノン株式会社 印刷システム、管理サーバ装置、それらの制御方法、プログラム及び記憶媒体
JP4817220B2 (ja) * 2004-10-14 2011-11-16 コニカミノルタビジネステクノロジーズ株式会社 ジョブ実行装置
JP2006260023A (ja) * 2005-03-16 2006-09-28 Fuji Xerox Co Ltd 印刷システムおよび印刷制御方法
JP4402022B2 (ja) * 2005-08-09 2010-01-20 キヤノン株式会社 情報処理装置及び集計方法及びコンピュータプログラム
JP4572805B2 (ja) * 2005-10-27 2010-11-04 コニカミノルタビジネステクノロジーズ株式会社 画像処理装置、画像処理装置の管理装置、画像処理装置の管理方法、プログラム及び記録媒体
JP4386289B2 (ja) * 2006-03-13 2009-12-16 キヤノンマーケティングジャパン株式会社 コンピュータプログラム、画像形成装置、画像形成装置の制御方法
JP4823992B2 (ja) * 2007-09-21 2011-11-24 キヤノンソフトウェア株式会社 印刷制御システム、印刷装置、印刷管理サーバ、印刷制御方法及びプログラム
JP2010026904A (ja) * 2008-07-23 2010-02-04 Canon Inc 画像形成装置、画像形成システム、画像形成装置の制御方法、記憶媒体及びプログラム
US20110069339A1 (en) * 2009-09-21 2011-03-24 Canon Kabushiki Kaisha Network printing communication method and apparatus
JP2011090478A (ja) * 2009-10-22 2011-05-06 Sharp Corp ネットワーク画像形成システム、そのシステムに用いられるサーバコンピュータおよび画像形成装置
JP5708197B2 (ja) * 2011-04-21 2015-04-30 富士ゼロックス株式会社 情報処理装置およびプログラム
JP2013003943A (ja) * 2011-06-20 2013-01-07 Konica Minolta Business Technologies Inc 印刷システム、印刷ジョブデータ配信サーバー、印刷ジョブ再実行方法、およびコンピュータープログラム
JP5828693B2 (ja) * 2011-07-12 2015-12-09 キヤノン株式会社 印刷装置、印刷装置の制御方法、及びプログラム
JP5862181B2 (ja) * 2011-10-12 2016-02-16 コニカミノルタ株式会社 画像形成装置
JP5939847B2 (ja) * 2012-03-13 2016-06-22 キヤノン株式会社 情報処理装置、情報処理システム、制御方法およびコンピュータプログラム
JP6065462B2 (ja) * 2012-08-27 2017-01-25 株式会社リコー 出力制御装置、システム及びプログラム
US8867080B2 (en) * 2013-03-06 2014-10-21 Ricoh Company, Ltd. Metadata support in a distributed scan system

Also Published As

Publication number Publication date
JP2015042476A (ja) 2015-03-05
CN104423906B (zh) 2019-05-28
US20150055162A1 (en) 2015-02-26
CN104423906A (zh) 2015-03-18

Similar Documents

Publication Publication Date Title
JP4530793B2 (ja) 画像形成装置、情報処理装置、情報処理システム、認証方法、認証プログラム及び記録媒体
JP5614017B2 (ja) 画像形成装置、印刷ジョブ実行方法、プログラム、記憶媒体
JP5677173B2 (ja) 画像形成装置、ネットワークシステム、画像形成装置の制御方法、及びプログラム
JP6238640B2 (ja) 画像形成装置、情報処理方法及びプログラム
JP5025342B2 (ja) 画像処理装置、画像処理システム、画像処理装置の制御方法及びプログラム
JP6257170B2 (ja) 画像形成システム、並びに画像形成装置及びその制御方法
JP4317162B2 (ja) プリントサーバおよび印刷管理サーバおよび印刷装置およびプリントシステムおよび印刷データ蓄積方法および印刷管理方法および印刷方法およびプログラム
JP5668622B2 (ja) 印刷システム、画像処理装置、制御方法、およびそのプログラム
JP6174896B2 (ja) 印刷システム、サーバ、情報処理装置、画像処理装置、印刷制御方法およびプログラム
JP2020199691A (ja) 画像形成装置及びその制御方法、プログラム
JP2011065287A (ja) 情報処理装置、画像形成装置、印刷システム、印刷方法、プログラム、記録媒体
JP4977113B2 (ja) 印刷システム、書誌情報サーバ、印刷装置、方法及びプログラム
JP2011180989A (ja) プリントサーバー装置、印刷制御方法及びプログラム
JP2018163384A (ja) 情報処理装置、情報処理方法及びプログラム
JP4929070B2 (ja) 画像形成装置、画像形成装置の制御方法、制御プログラム及び記録媒体
JP4822273B2 (ja) 画像処理装置および画像処理装置の制御方法およびプログラム
JP7433856B2 (ja) サーバシステム
JP4697713B2 (ja) プリントシステムおよび印刷管理サーバおよび印刷方法および印刷管理方法およびプログラム
JP5664037B2 (ja) 印刷システム、画像処理装置、制御方法、およびそのプログラム
JP4425238B2 (ja) プリントシステムおよび印刷管理サーバおよび印刷装置およびプリントシステムの制御方法および印刷管理サーバの制御方法および印刷装置の制御方法およびプログラム
JP4669036B2 (ja) 画像処理装置、制御方法、画像処理システム、及びプログラム
JP4480037B2 (ja) 印刷管理サーバおよび印刷装置および印刷管理方法および印刷方法およびプログラムおよび記録媒体
JP4895800B2 (ja) プリントシステムおよび印刷管理サーバおよび印刷装置およびプリントシステムの制御方法および印刷管理サーバの制御方法および印刷装置の制御方法およびプログラム
JP6825502B2 (ja) 利用上限管理装置、利用上限管理システムおよび利用上限管理プログラム
JP2016021247A (ja) 情報処理装置、情報処理システム、情報処理方法、及びプログラム

Legal Events

Date Code Title Description
A621 Written request for application examination

Free format text: JAPANESE INTERMEDIATE CODE: A621

Effective date: 20160825

A977 Report on retrieval

Free format text: JAPANESE INTERMEDIATE CODE: A971007

Effective date: 20170523

A131 Notification of reasons for refusal

Free format text: JAPANESE INTERMEDIATE CODE: A131

Effective date: 20170613

A521 Request for written amendment filed

Free format text: JAPANESE INTERMEDIATE CODE: A523

Effective date: 20170809

TRDD Decision of grant or rejection written
A01 Written decision to grant a patent or to grant a registration (utility model)

Free format text: JAPANESE INTERMEDIATE CODE: A01

Effective date: 20171003

A61 First payment of annual fees (during grant procedure)

Free format text: JAPANESE INTERMEDIATE CODE: A61

Effective date: 20171031

R151 Written notification of patent or utility model registration

Ref document number: 6238640

Country of ref document: JP

Free format text: JAPANESE INTERMEDIATE CODE: R151

LAPS Cancellation because of no payment of annual fees