JP6151306B2 - 消音装置およびガス消火設備 - Google Patents
消音装置およびガス消火設備 Download PDFInfo
- Publication number
- JP6151306B2 JP6151306B2 JP2015116170A JP2015116170A JP6151306B2 JP 6151306 B2 JP6151306 B2 JP 6151306B2 JP 2015116170 A JP2015116170 A JP 2015116170A JP 2015116170 A JP2015116170 A JP 2015116170A JP 6151306 B2 JP6151306 B2 JP 6151306B2
- Authority
- JP
- Japan
- Prior art keywords
- fire extinguishing
- silencer
- peripheral wall
- extinguishing gas
- gas
- Prior art date
- Legal status (The legal status is an assumption and is not a legal conclusion. Google has not performed a legal analysis and makes no representation as to the accuracy of the status listed.)
- Active
Links
- 230000003584 silencer Effects 0.000 title claims description 137
- 230000002093 peripheral effect Effects 0.000 claims description 189
- 239000002184 metal Substances 0.000 claims description 20
- 238000004080 punching Methods 0.000 claims description 8
- 230000002238 attenuated effect Effects 0.000 claims description 6
- 238000011144 upstream manufacturing Methods 0.000 claims description 2
- 239000007789 gas Substances 0.000 description 220
- 239000011358 absorbing material Substances 0.000 description 107
- 238000002347 injection Methods 0.000 description 62
- 239000007924 injection Substances 0.000 description 62
- 230000004888 barrier function Effects 0.000 description 35
- 230000030279 gene silencing Effects 0.000 description 14
- 230000000149 penetrating effect Effects 0.000 description 10
- 238000009423 ventilation Methods 0.000 description 7
- 239000000463 material Substances 0.000 description 6
- 238000004519 manufacturing process Methods 0.000 description 5
- 125000006850 spacer group Chemical group 0.000 description 5
- 230000006837 decompression Effects 0.000 description 4
- 230000035939 shock Effects 0.000 description 4
- 239000003795 chemical substances by application Substances 0.000 description 3
- 230000000694 effects Effects 0.000 description 3
- 150000004820 halides Chemical class 0.000 description 3
- 230000001743 silencing effect Effects 0.000 description 3
- BZHJMEDXRYGGRV-UHFFFAOYSA-N Vinyl chloride Chemical compound ClC=C BZHJMEDXRYGGRV-UHFFFAOYSA-N 0.000 description 2
- 238000006073 displacement reaction Methods 0.000 description 2
- 239000011261 inert gas Substances 0.000 description 2
- 238000010030 laminating Methods 0.000 description 2
- 239000006096 absorbing agent Substances 0.000 description 1
- 238000007796 conventional method Methods 0.000 description 1
- 238000007599 discharging Methods 0.000 description 1
- 238000003780 insertion Methods 0.000 description 1
- 230000037431 insertion Effects 0.000 description 1
- 238000009434 installation Methods 0.000 description 1
- 238000010943 off-gassing Methods 0.000 description 1
- 238000003825 pressing Methods 0.000 description 1
Images
Landscapes
- Fire-Extinguishing By Fire Departments, And Fire-Extinguishing Equipment And Control Thereof (AREA)
- Soundproofing, Sound Blocking, And Sound Damping (AREA)
- Exhaust Silencers (AREA)
- Nozzles (AREA)
Description
前記消音装置は、前記導管から供給され、前記消火対象区画内の空間に噴射されるまでの消火ガスの流路中に配置され、前記流路の上流側で消火ガスが流過する複数の孔を有する第1の孔部分と、前記流路の下流側で消火ガスが流過する第2の孔部分であって、前記第1の孔部分の孔径よりも小さい孔径を有する第2の孔部分と、前記第1の孔部分と前記第2の孔部分との間に設けられる円筒状の周壁とを含み、前記第1の孔部分は、前記周壁の軸線上に設けられ、前記第1の孔部分の前記複数の孔は、前記軸線に直交する軸線上に設けられ、前記第1の孔部分を流過してから前記第2の孔部分までの消火ガスを膨張させることによって流速を減衰させることを特徴とする消音装置である。
前記第1の孔部分は、前記周壁の軸線上に設けられることを特徴とする。
前記消音装置に取り付けられる噴射ヘッドと、を備えることを特徴とするガス消火設備である。
て建物内の空間に向けて噴射される。このような噴射ヘッドには消音装置が設けられ、噴射ヘッドのノズル部から高速で噴射される消火ガスの噴射流に起因する大きな噴射音の発生を防止することができる。
などの活性ガスによって実現され、このような消火ガスを消火剤として放出することによって、消火対象区画内のO2濃度を低下させて消火することができる。
に形成され、枝管19から供給される消火ガスの流量を絞る。端壁65には、複数の透孔67が該端壁65の厚み方向に貫通して形成される。複数の透孔67は、周壁61の軸線を中心として該端壁65の中央部69を除く残余の周辺部70に形成される。端壁64,65は、たとえばパンチングメタルによって構成される。
音装置17dは、円筒状の周壁81と、周壁81の軸線方向一端部に該周壁81の軸線に垂直に形成される端壁82と、噴射ヘッド13に着脱可能に形成される取付け部83を有し、周壁81の軸線方向他端部に該周壁81の軸線に垂直に形成される端壁84と、端壁82と端壁84との間に、周壁81の軸線に垂直に形成される障壁85と、噴射ヘッド13から噴射される消火ガスを、周壁81、端壁82および障壁85によって規定される内部空間である消音室86に導く円筒状の導通管87と、周壁81、端壁84および障壁85によって規定される内部空間である消音室88内の消火ガスを消音装置17dの外部に導く円筒状の通気管89とを含む。
(dB)であり、横軸がノズル部12からの距離(m)である。グラフ91が消音装置を用いない場合のグラフであり、グラフ92が実施例1の場合のグラフであり、グラフ93が実施例2の場合のグラフである。
周面に沿って装着されて収容される。
(1)高圧の消火ガスを空間に向けて噴射するノズル部を有する噴射ヘッドと、
噴射ヘッドが接続され、噴射ヘッドに高圧の消火ガスを導く導管と、
導管に高圧の消火ガスを供給する消火ガス供給源と、
噴射ヘッドに設けられ、ノズル部からの消火ガスの放出による音響を減衰させる消音装置とを含むことを特徴とするガス消火設備。
周壁には、複数の通気孔が該周壁の厚み方向に貫通して形成されることを特徴とする。
端壁には、複数の通気孔が該端壁の厚み方向に貫通して形成されることを特徴とする。
ッドに着脱可能に取付けられる。噴射ヘッドのノズル部から高速で噴射された消火ガスは、周壁内の空間を経て端壁に衝突した後、この端板に形成される複数の透孔から外部へ放出される。このような消音装置の構成によってもまた、消火ガス噴射時に大きな噴射音が発生することが防がれる。
端壁には、その厚み方向に貫通するガス放出孔が形成され、
内筒体は、複数の透孔が形成される筒状部と、筒状部の軸線方向一端部に、該筒状部の軸線に垂直に形成される端板とを有することを特徴とする。
噴射ヘッドが接続され、噴射ヘッドに高圧の消火ガスを導く導管と、
導管に高圧の消火ガスを供給する消火ガス供給源とを含み、
噴射ヘッドのノズル部には、前記導管の内周面に滑らかに連なる内周面を有するノズル孔が形成されることを特徴とするガス消火設備である。
噴射ヘッドが接続され、噴射ヘッドに高圧の消火ガスを導く導管と、
導管に高圧の消火ガスを供給する消火ガス供給源と、
噴射ヘッドと導管との間に設けられ、ノズル部からの消火ガスの放出による音響を減衰させる消音装置とを含むことを特徴とするガス消火設備である。
に周壁の軸線に垂直に形成される第2の端壁とを含み、
第1の端壁には、周壁の軸線を中心として該第1の端壁の中央部に、少なくとも1つの透孔が該第1の端壁の厚み方向に貫通して形成され、
第2の端壁には、複数の透孔が該第2の端壁の厚み方向に貫通して形成されることを特徴とする。
第1の端壁には、導管から供給される高圧の消火ガスを、周壁、第1の端壁および第2の端壁によって規定される内部空間に噴出する複数のノズル孔を有する案内部が、周壁の軸線上に該内部空間に臨んで形成され、該複数のノズル孔は、周壁の軸線に直交する軸線上に周壁の軸線に関して周方向に等角度で間隔をあけて形成され、
第2の端壁には、複数の透孔が該第2の端壁の厚み方向に貫通して形成されることを特徴とする。
障壁には、複数の透孔が該障壁の厚み方向に貫通して形成され、
導通管には、導通管の軸線方向一端部に噴射ヘッドに着脱可能に連結される連結部が形成され、導通管の軸線方向他端部に端板が形成され、導通管の周壁のうち第1の消音室に突き出された部分には、複数の透孔が該導通管の周壁の厚み方向に貫通して形成され、
通気管は、障壁および第1の端壁を貫通して配置されることを特徴とする。
を含み、取付け部によって噴射ヘッドに着脱可能に取付けられる。連結部によって噴射ヘッドに連結される導通管に形成される複数の透孔から第1の消音室に高速で噴射された消火ガスは、障壁に形成される複数の透孔から第2の消音室に放出される。第2の消音室に放出された消火ガスは、通気管を介して消音装置の外部へ放出される。消音装置は、導通管に形成される複数の透孔から高速で噴射された消火ガスを第1の消音室内の空間および第2の消音室内の空間で膨張させることによって、通気管での流速を下げるので、通気管からの消火ガス放出による音響の発生が抑制される。
障壁には、複数の透孔が該障壁の厚み方向に貫通して形成され、
導通管には、導通管の軸線方向一端部に噴射ヘッドに着脱可能に連結される連結部が形成され、導通管の軸線方向他端部に端板が形成され、導通管の周壁のうち第1の消音室に突き出された部分には、複数の透孔が該導通管の周壁の厚み方向に貫通して形成され、
複数の通気管は、周壁の軸線に直交する軸線上に、周壁の軸線に関して周方向に等角度で間隔をあけて配置され、それぞれ周壁を貫通して形成されることを特徴とする。
ことができる。
12 ノズル部
13,50,50a 噴射ヘッド
14 導管
15 消火ガス供給源
16,71 ノズル孔
17,17a〜17h,60,60a 消音装置
18 分岐管
19 枝管
20 基台
21 ブラケット
22 締結具
23 主管
25,35,41,61,81 周壁
26,36,42,64,64a,65,82,84 端壁
27,37,43,62,63,83,123 取付け部
28 噴射方向下流側に臨む部分
29 内筒体
30,66,67,851,874 透孔
31 円筒部
32,872 端板
33 吸音材
34 ガス放出孔
38,44 通気孔
39,45 内部空間
40,46 吸音材
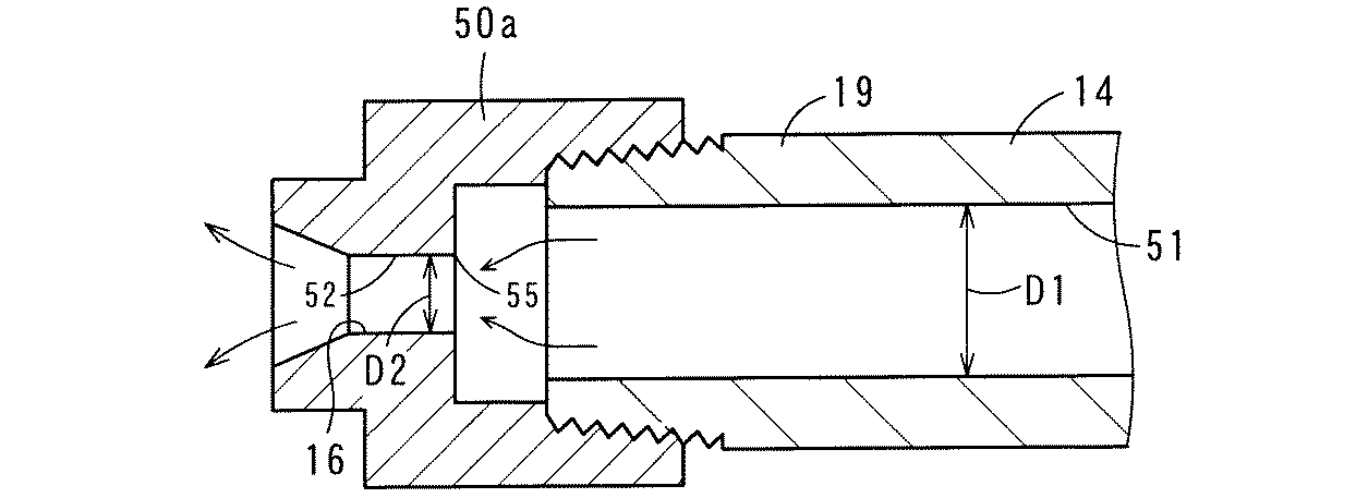
51,52 内周面
55 エッジ部
72 案内部
85 障壁
86,88 消音室
87 導通管
89,89a 通気管
125 吸音材
134 第1吸音材
135 第2吸音材
136 第3吸音材
871 連結部
891 金網
892,892a 消火ガス噴射口
D1,D2 内径
Claims (3)
- 消火ガス供給源から導管によって導かれた高圧の消火ガスを噴射ヘッドから建物内の消火対象区画内の空間に向けて噴射するガス消火設備で用いられる消音装置であって、
前記消音装置は、前記導管から供給され、前記消火対象区画内の空間に噴射されるまでの消火ガスの流路中に配置され、前記流路の上流側で消火ガスが流過する複数の孔を有する第1の孔部分と、前記流路の下流側で消火ガスが流過する第2の孔部分であって、前記第1の孔部分の孔径よりも小さい孔径を有する第2の孔部分と、前記第1の孔部分と前記第2の孔部分との間に設けられる円筒状の周壁とを含み、前記第1の孔部分は、前記周壁の軸線上に設けられ、前記第1の孔部分の前記複数の孔は、前記軸線に直交する軸線上に設けられ、前記第1の孔部分を流過してから前記第2の孔部分までの消火ガスを膨張させることによって流速を減衰させることを特徴とする消音装置。 - 前記第2の孔部分は、パンチングメタルで構成されることを特徴とする請求項1記載の消音装置。
- 請求項1または2記載の消音装置と、
前記消音装置に取り付けられる噴射ヘッドと、を備えることを特徴とするガス消火設備。
Priority Applications (1)
| Application Number | Priority Date | Filing Date | Title |
|---|---|---|---|
| JP2015116170A JP6151306B2 (ja) | 2009-10-23 | 2015-06-08 | 消音装置およびガス消火設備 |
Applications Claiming Priority (7)
| Application Number | Priority Date | Filing Date | Title |
|---|---|---|---|
| JP2009244986 | 2009-10-23 | ||
| JP2009244986 | 2009-10-23 | ||
| JP2010023575 | 2010-02-04 | ||
| JP2010023575 | 2010-02-04 | ||
| JP2010086586 | 2010-04-02 | ||
| JP2010086586 | 2010-04-02 | ||
| JP2015116170A JP6151306B2 (ja) | 2009-10-23 | 2015-06-08 | 消音装置およびガス消火設備 |
Related Parent Applications (1)
| Application Number | Title | Priority Date | Filing Date |
|---|---|---|---|
| JP2014105467A Division JP2014144383A (ja) | 2009-10-23 | 2014-05-21 | 設備室、ガス消火方法およびガス消火設備 |
Publications (3)
| Publication Number | Publication Date |
|---|---|
| JP2015211850A JP2015211850A (ja) | 2015-11-26 |
| JP2015211850A5 JP2015211850A5 (ja) | 2016-01-14 |
| JP6151306B2 true JP6151306B2 (ja) | 2017-06-21 |
Family
ID=45040465
Family Applications (28)
| Application Number | Title | Priority Date | Filing Date |
|---|---|---|---|
| JP2011153352A Active JP4988945B2 (ja) | 2009-10-23 | 2011-07-11 | ガス消火設備 |
| JP2011267400A Active JP5576846B2 (ja) | 2009-10-23 | 2011-12-06 | ガス消火設備 |
| JP2011267401A Active JP5576847B2 (ja) | 2009-10-23 | 2011-12-06 | ガス消火設備 |
| JP2011267402A Pending JP2012055713A (ja) | 2009-10-23 | 2011-12-06 | ガス消火設備 |
| JP2012082679A Pending JP2012157705A (ja) | 2009-10-23 | 2012-03-30 | ガス消火設備および消音装置 |
| JP2012174430A Withdrawn JP2012210500A (ja) | 2009-10-23 | 2012-08-06 | ガス消火設備 |
| JP2013052442A Active JP5589111B2 (ja) | 2009-10-23 | 2013-03-14 | ガス消火設備 |
| JP2013210605A Pending JP2014012226A (ja) | 2009-10-23 | 2013-10-07 | ガス消火設備 |
| JP2014035424A Active JP5749363B2 (ja) | 2009-10-23 | 2014-02-26 | 消火ガス噴射装置 |
| JP2014035425A Active JP5864640B2 (ja) | 2009-10-23 | 2014-02-26 | 消火ガス噴射装置 |
| JP2014105467A Pending JP2014144383A (ja) | 2009-10-23 | 2014-05-21 | 設備室、ガス消火方法およびガス消火設備 |
| JP2014125349A Active JP5922712B2 (ja) | 2009-10-23 | 2014-06-18 | 消火ガス噴射装置 |
| JP2014125348A Active JP5922711B2 (ja) | 2009-10-23 | 2014-06-18 | 消火ガス噴射装置 |
| JP2015099483A Active JP6329511B2 (ja) | 2009-10-23 | 2015-05-14 | ガス消火設備 |
| JP2015116171A Active JP6329514B2 (ja) | 2009-10-23 | 2015-06-08 | ガス消火設備 |
| JP2015116170A Active JP6151306B2 (ja) | 2009-10-23 | 2015-06-08 | 消音装置およびガス消火設備 |
| JP2015136075A Active JP6324351B2 (ja) | 2009-10-23 | 2015-07-07 | 消火ガス噴射装置およびガス消火設備 |
| JP2016086327A Active JP6193437B2 (ja) | 2009-10-23 | 2016-04-22 | 消火ガス噴射装置の施工方法 |
| JP2016247195A Active JP6383398B2 (ja) | 2009-10-23 | 2016-12-20 | ガス消火設備 |
| JP2017152528A Active JP6334788B2 (ja) | 2009-10-23 | 2017-08-07 | 消火ガス噴射装置 |
| JP2017207888A Active JP6595557B2 (ja) | 2009-10-23 | 2017-10-27 | 消火ガス噴射装置およびガス消火設備 |
| JP2018120929A Active JP6535794B2 (ja) | 2009-10-23 | 2018-06-26 | 消火ガス噴射装置およびガス消火設備 |
| JP2019118921A Active JP6974393B2 (ja) | 2009-10-23 | 2019-06-26 | 消火ガス噴射装置およびそれを用いたガス消火設備ならびに消火ガス噴射装置の施工方法 |
| JP2020187220A Active JP6862600B2 (ja) | 2009-10-23 | 2020-11-10 | 噴射ヘッドおよびその噴射ヘッドの消火対象区画内での施工方法 |
| JP2021055195A Active JP7344240B2 (ja) | 2009-10-23 | 2021-03-29 | 消音装置およびガス消火設備 |
| JP2022126965A Active JP7591009B2 (ja) | 2009-10-23 | 2022-08-09 | ガス消火設備 |
| JP2023175242A Active JP7644192B2 (ja) | 2009-10-23 | 2023-10-10 | ガス消火設備 |
| JP2025028758A Pending JP2025071321A (ja) | 2009-10-23 | 2025-02-26 | O2濃度を低下させる消火方法 |
Family Applications Before (15)
| Application Number | Title | Priority Date | Filing Date |
|---|---|---|---|
| JP2011153352A Active JP4988945B2 (ja) | 2009-10-23 | 2011-07-11 | ガス消火設備 |
| JP2011267400A Active JP5576846B2 (ja) | 2009-10-23 | 2011-12-06 | ガス消火設備 |
| JP2011267401A Active JP5576847B2 (ja) | 2009-10-23 | 2011-12-06 | ガス消火設備 |
| JP2011267402A Pending JP2012055713A (ja) | 2009-10-23 | 2011-12-06 | ガス消火設備 |
| JP2012082679A Pending JP2012157705A (ja) | 2009-10-23 | 2012-03-30 | ガス消火設備および消音装置 |
| JP2012174430A Withdrawn JP2012210500A (ja) | 2009-10-23 | 2012-08-06 | ガス消火設備 |
| JP2013052442A Active JP5589111B2 (ja) | 2009-10-23 | 2013-03-14 | ガス消火設備 |
| JP2013210605A Pending JP2014012226A (ja) | 2009-10-23 | 2013-10-07 | ガス消火設備 |
| JP2014035424A Active JP5749363B2 (ja) | 2009-10-23 | 2014-02-26 | 消火ガス噴射装置 |
| JP2014035425A Active JP5864640B2 (ja) | 2009-10-23 | 2014-02-26 | 消火ガス噴射装置 |
| JP2014105467A Pending JP2014144383A (ja) | 2009-10-23 | 2014-05-21 | 設備室、ガス消火方法およびガス消火設備 |
| JP2014125349A Active JP5922712B2 (ja) | 2009-10-23 | 2014-06-18 | 消火ガス噴射装置 |
| JP2014125348A Active JP5922711B2 (ja) | 2009-10-23 | 2014-06-18 | 消火ガス噴射装置 |
| JP2015099483A Active JP6329511B2 (ja) | 2009-10-23 | 2015-05-14 | ガス消火設備 |
| JP2015116171A Active JP6329514B2 (ja) | 2009-10-23 | 2015-06-08 | ガス消火設備 |
Family Applications After (12)
| Application Number | Title | Priority Date | Filing Date |
|---|---|---|---|
| JP2015136075A Active JP6324351B2 (ja) | 2009-10-23 | 2015-07-07 | 消火ガス噴射装置およびガス消火設備 |
| JP2016086327A Active JP6193437B2 (ja) | 2009-10-23 | 2016-04-22 | 消火ガス噴射装置の施工方法 |
| JP2016247195A Active JP6383398B2 (ja) | 2009-10-23 | 2016-12-20 | ガス消火設備 |
| JP2017152528A Active JP6334788B2 (ja) | 2009-10-23 | 2017-08-07 | 消火ガス噴射装置 |
| JP2017207888A Active JP6595557B2 (ja) | 2009-10-23 | 2017-10-27 | 消火ガス噴射装置およびガス消火設備 |
| JP2018120929A Active JP6535794B2 (ja) | 2009-10-23 | 2018-06-26 | 消火ガス噴射装置およびガス消火設備 |
| JP2019118921A Active JP6974393B2 (ja) | 2009-10-23 | 2019-06-26 | 消火ガス噴射装置およびそれを用いたガス消火設備ならびに消火ガス噴射装置の施工方法 |
| JP2020187220A Active JP6862600B2 (ja) | 2009-10-23 | 2020-11-10 | 噴射ヘッドおよびその噴射ヘッドの消火対象区画内での施工方法 |
| JP2021055195A Active JP7344240B2 (ja) | 2009-10-23 | 2021-03-29 | 消音装置およびガス消火設備 |
| JP2022126965A Active JP7591009B2 (ja) | 2009-10-23 | 2022-08-09 | ガス消火設備 |
| JP2023175242A Active JP7644192B2 (ja) | 2009-10-23 | 2023-10-10 | ガス消火設備 |
| JP2025028758A Pending JP2025071321A (ja) | 2009-10-23 | 2025-02-26 | O2濃度を低下させる消火方法 |
Country Status (1)
| Country | Link |
|---|---|
| JP (28) | JP4988945B2 (ja) |
Families Citing this family (15)
| Publication number | Priority date | Publication date | Assignee | Title |
|---|---|---|---|---|
| JP6033600B2 (ja) * | 2012-07-31 | 2016-11-30 | 日本ドライケミカル株式会社 | 消音機能を有する噴射ヘッド |
| CN103089373A (zh) * | 2013-01-23 | 2013-05-08 | 张晓荣 | 一种兼具火星熄灭功能的消声装置 |
| JP6196955B2 (ja) * | 2013-10-02 | 2017-09-13 | エア・ウォーター防災株式会社 | 消火ガス噴射装置およびそれを備えたガス消火装置 |
| KR102108374B1 (ko) | 2013-10-25 | 2020-05-08 | 삼성전자주식회사 | 스토리지 시스템 및 그것의 비신호 분석 방법 |
| JP6612173B2 (ja) * | 2015-04-30 | 2019-11-27 | 株式会社コーアツ | 消火器 |
| FR3038961B1 (fr) * | 2015-07-16 | 2018-06-15 | Sncf Mobilites | Dispositif d'attenuation acoustique et organe de connexion pour sortie d'air sous pression d'un vehicule ferroviaire |
| KR101710685B1 (ko) * | 2015-10-19 | 2017-02-27 | 한국수력원자력 주식회사 | 원자력발전소 주 제어실에서 유해 가스를 차단하는 유해가스 시스템 및 차단 방법 |
| KR102444177B1 (ko) * | 2015-12-28 | 2022-09-19 | 삼성디스플레이 주식회사 | 유기 발광 표시 장치 및 이의 제조 방법 |
| JP6182632B1 (ja) * | 2016-03-09 | 2017-08-16 | ヤマトプロテック株式会社 | ガス系消火設備用の消音機能を有する噴射ヘッド |
| EP3470119A4 (en) * | 2016-06-13 | 2020-01-29 | Koatsu Co., Ltd. | EXTINGUISHERS |
| LU100679B1 (en) * | 2018-01-21 | 2019-07-22 | Luxembourg Patent Co | Silenced head for fire extinguishing gas discharge |
| KR102041950B1 (ko) * | 2019-03-14 | 2019-11-07 | 주식회사 진화이앤씨 | 소화시스템용 저충격 분사노즐 |
| JP2020093108A (ja) * | 2020-02-14 | 2020-06-18 | 日本特殊陶業株式会社 | 酸素濃縮装置 |
| KR102299223B1 (ko) * | 2020-10-22 | 2021-09-08 | 한국건설기술연구원 | 저충격 소화노즐 |
| KR102299222B1 (ko) * | 2020-10-22 | 2021-09-08 | 한국건설기술연구원 | 저충격 소화노즐 |
Family Cites Families (43)
| Publication number | Priority date | Publication date | Assignee | Title |
|---|---|---|---|---|
| US2600236A (en) * | 1948-11-16 | 1952-06-10 | Esther Larsen | Muffler with a plurality of passages |
| US3339668A (en) * | 1965-03-18 | 1967-09-05 | C W Morris Company | Air exhaust noise attenuator |
| US3672465A (en) * | 1970-10-15 | 1972-06-27 | Blatt Leland F | Gas exhaust silencer |
| JPS515799U (ja) * | 1974-06-29 | 1976-01-16 | ||
| US3949828A (en) * | 1974-08-30 | 1976-04-13 | Barry Wright Corporation | Fluid exhaust silencer |
| JPS5512824Y2 (ja) * | 1975-08-05 | 1980-03-22 | ||
| JPS6033544B2 (ja) * | 1977-03-17 | 1985-08-03 | 株式会社豊田中央研究所 | 低騒音用圧力流体放出装置 |
| JPS5827049Y2 (ja) * | 1978-11-29 | 1983-06-11 | カルソニックカンセイ株式会社 | 凝結水分離装置 |
| JPS56161110U (ja) * | 1980-04-30 | 1981-12-01 | ||
| JPS58103100U (ja) * | 1982-01-06 | 1983-07-13 | 横河電機株式会社 | 空気パ−ジ用消音器 |
| JPS5933450U (ja) * | 1982-08-25 | 1984-03-01 | ニツタン株式会社 | ガス系消火設備の試験用ガス排出管の消音器 |
| JPH0240246Y2 (ja) * | 1985-03-22 | 1990-10-26 | ||
| JPH0332736Y2 (ja) * | 1985-03-22 | 1991-07-11 | ||
| JPS6210201U (ja) * | 1985-07-05 | 1987-01-22 | ||
| JPS6345019U (ja) * | 1986-09-09 | 1988-03-26 | ||
| JPH0640896Y2 (ja) * | 1987-11-13 | 1994-10-26 | 日酸運輸株式会社 | サイレンサー |
| JPH0627789Y2 (ja) * | 1988-08-05 | 1994-07-27 | 株式会社ナブコ | サイレンサ |
| JPH0549051U (ja) * | 1991-07-03 | 1993-06-29 | 雅巳 永田 | 空気噴射ノズル |
| JPH0742849B2 (ja) * | 1992-06-30 | 1995-05-15 | 三和産業株式会社 | コンクリートモルタル吹付機の排気用消音装置 |
| JPH0626322A (ja) * | 1992-07-08 | 1994-02-01 | Suzuki Sogyo Co Ltd | 消音器 |
| JPH0653713U (ja) * | 1993-01-04 | 1994-07-22 | 三菱重工業株式会社 | エンジンのマフラ |
| JPH0714117U (ja) * | 1993-08-06 | 1995-03-10 | 株式会社クボタ | エンジンの排気マフラ |
| NL9401480A (nl) * | 1994-09-09 | 1996-04-01 | Tech Inspectie En Adviesbureau | Werkwijze voor het blussen van een brand. |
| JPH08173565A (ja) * | 1994-12-22 | 1996-07-09 | Koatsu:Kk | 不活性ガス消火設備における消火方法及びその設備 |
| JPH09124302A (ja) * | 1995-10-30 | 1997-05-13 | Masayuki Imai | 酸素濃縮器 |
| JPH09324617A (ja) * | 1996-06-04 | 1997-12-16 | Ndc Co Ltd | 消音器 |
| JP3037617B2 (ja) * | 1996-07-15 | 2000-04-24 | シーケーディ株式会社 | 消音器及びその製造方法 |
| DE19719535A1 (de) * | 1996-10-16 | 1998-04-23 | Gerd Schwertfeger | Vorrichtung zur Schalldämpfung |
| JPH11325655A (ja) * | 1998-05-14 | 1999-11-26 | Matsushita Seiko Co Ltd | 消音器および空気調和機 |
| JP4261711B2 (ja) * | 1999-12-09 | 2009-04-30 | 株式会社小松製作所 | 排気消音装置 |
| JP2001280114A (ja) * | 2000-03-30 | 2001-10-10 | Chuo Motor Wheel Co Ltd | 消音器 |
| AU2001277654B2 (en) * | 2000-04-17 | 2006-09-07 | Igor K. Kotliar | Hypoxic fire prevention and fire suppression systems and breathable fire extinguishing compositions |
| IT1317475B1 (it) * | 2000-05-05 | 2003-07-09 | Vesta S R L | Ugello silenziato per la scarica di gas estinguenti. |
| JP4196181B2 (ja) * | 2003-04-25 | 2008-12-17 | 英雄 中嶋 | 吸音材料 |
| JP2005002873A (ja) * | 2003-06-11 | 2005-01-06 | Aisin Seiki Co Ltd | 消音器 |
| JP4613619B2 (ja) * | 2005-01-13 | 2011-01-19 | Smc株式会社 | サイレンサ |
| JP2006296491A (ja) * | 2005-04-15 | 2006-11-02 | Air Water Safety Service Inc | 液体噴射用発泡ノズル |
| JP2006307719A (ja) * | 2005-04-27 | 2006-11-09 | Calsonic Kansei Corp | 車両用消音器 |
| JP4664867B2 (ja) * | 2006-06-05 | 2011-04-06 | ナブテスコオートモーティブ株式会社 | サイレンサ |
| KR100755722B1 (ko) * | 2007-03-08 | 2007-09-05 | 한국뉴매틱(주) | 공압장치용 사일렌서 |
| JP4553320B2 (ja) * | 2007-04-27 | 2010-09-29 | 藤壺技研工業株式会社 | 自動車用消音器 |
| JP5276630B2 (ja) * | 2009-10-23 | 2013-08-28 | エア・ウォーター防災株式会社 | ガス消火設備 |
| JP5972518B2 (ja) * | 2009-11-02 | 2016-08-17 | 株式会社コーアツ | ガス系消火設備用の消音機能を有する噴射ヘッド |
-
2011
- 2011-07-11 JP JP2011153352A patent/JP4988945B2/ja active Active
- 2011-12-06 JP JP2011267400A patent/JP5576846B2/ja active Active
- 2011-12-06 JP JP2011267401A patent/JP5576847B2/ja active Active
- 2011-12-06 JP JP2011267402A patent/JP2012055713A/ja active Pending
-
2012
- 2012-03-30 JP JP2012082679A patent/JP2012157705A/ja active Pending
- 2012-08-06 JP JP2012174430A patent/JP2012210500A/ja not_active Withdrawn
-
2013
- 2013-03-14 JP JP2013052442A patent/JP5589111B2/ja active Active
- 2013-10-07 JP JP2013210605A patent/JP2014012226A/ja active Pending
-
2014
- 2014-02-26 JP JP2014035424A patent/JP5749363B2/ja active Active
- 2014-02-26 JP JP2014035425A patent/JP5864640B2/ja active Active
- 2014-05-21 JP JP2014105467A patent/JP2014144383A/ja active Pending
- 2014-06-18 JP JP2014125349A patent/JP5922712B2/ja active Active
- 2014-06-18 JP JP2014125348A patent/JP5922711B2/ja active Active
-
2015
- 2015-05-14 JP JP2015099483A patent/JP6329511B2/ja active Active
- 2015-06-08 JP JP2015116171A patent/JP6329514B2/ja active Active
- 2015-06-08 JP JP2015116170A patent/JP6151306B2/ja active Active
- 2015-07-07 JP JP2015136075A patent/JP6324351B2/ja active Active
-
2016
- 2016-04-22 JP JP2016086327A patent/JP6193437B2/ja active Active
- 2016-12-20 JP JP2016247195A patent/JP6383398B2/ja active Active
-
2017
- 2017-08-07 JP JP2017152528A patent/JP6334788B2/ja active Active
- 2017-10-27 JP JP2017207888A patent/JP6595557B2/ja active Active
-
2018
- 2018-06-26 JP JP2018120929A patent/JP6535794B2/ja active Active
-
2019
- 2019-06-26 JP JP2019118921A patent/JP6974393B2/ja active Active
-
2020
- 2020-11-10 JP JP2020187220A patent/JP6862600B2/ja active Active
-
2021
- 2021-03-29 JP JP2021055195A patent/JP7344240B2/ja active Active
-
2022
- 2022-08-09 JP JP2022126965A patent/JP7591009B2/ja active Active
-
2023
- 2023-10-10 JP JP2023175242A patent/JP7644192B2/ja active Active
-
2025
- 2025-02-26 JP JP2025028758A patent/JP2025071321A/ja active Pending
Also Published As
Similar Documents
| Publication | Publication Date | Title |
|---|---|---|
| JP5276630B2 (ja) | ガス消火設備 | |
| JP6151306B2 (ja) | 消音装置およびガス消火設備 |
Legal Events
| Date | Code | Title | Description |
|---|---|---|---|
| A521 | Request for written amendment filed |
Free format text: JAPANESE INTERMEDIATE CODE: A523 Effective date: 20151109 |
|
| A977 | Report on retrieval |
Free format text: JAPANESE INTERMEDIATE CODE: A971007 Effective date: 20160419 |
|
| A131 | Notification of reasons for refusal |
Free format text: JAPANESE INTERMEDIATE CODE: A131 Effective date: 20160524 |
|
| A521 | Request for written amendment filed |
Free format text: JAPANESE INTERMEDIATE CODE: A523 Effective date: 20160725 |
|
| A02 | Decision of refusal |
Free format text: JAPANESE INTERMEDIATE CODE: A02 Effective date: 20161129 |
|
| A521 | Request for written amendment filed |
Free format text: JAPANESE INTERMEDIATE CODE: A523 Effective date: 20170228 |
|
| A911 | Transfer to examiner for re-examination before appeal (zenchi) |
Free format text: JAPANESE INTERMEDIATE CODE: A911 Effective date: 20170310 |
|
| TRDD | Decision of grant or rejection written | ||
| A01 | Written decision to grant a patent or to grant a registration (utility model) |
Free format text: JAPANESE INTERMEDIATE CODE: A01 Effective date: 20170509 |
|
| A61 | First payment of annual fees (during grant procedure) |
Free format text: JAPANESE INTERMEDIATE CODE: A61 Effective date: 20170524 |
|
| R150 | Certificate of patent or registration of utility model |
Ref document number: 6151306 Country of ref document: JP Free format text: JAPANESE INTERMEDIATE CODE: R150 |
|
| R250 | Receipt of annual fees |
Free format text: JAPANESE INTERMEDIATE CODE: R250 |
|
| R250 | Receipt of annual fees |
Free format text: JAPANESE INTERMEDIATE CODE: R250 |
