JP6139535B2 - 放電ランプ - Google Patents

放電ランプ Download PDF

Info

Publication number
JP6139535B2
JP6139535B2 JP2014532515A JP2014532515A JP6139535B2 JP 6139535 B2 JP6139535 B2 JP 6139535B2 JP 2014532515 A JP2014532515 A JP 2014532515A JP 2014532515 A JP2014532515 A JP 2014532515A JP 6139535 B2 JP6139535 B2 JP 6139535B2
Authority
JP
Japan
Prior art keywords
electrode
zone
structured zone
discharge lamp
structured
Prior art date
Legal status (The legal status is an assumption and is not a legal conclusion. Google has not performed a legal analysis and makes no representation as to the accuracy of the status listed.)
Active
Application number
JP2014532515A
Other languages
English (en)
Other versions
JP2014534556A (ja
Inventor
バーバラ ロスヴィータ ムエルデルス
バーバラ ロスヴィータ ムエルデルス
Current Assignee (The listed assignees may be inaccurate. Google has not performed a legal analysis and makes no representation or warranty as to the accuracy of the list.)
Koninklijke Philips NV
Original Assignee
Koninklijke Philips NV
Priority date (The priority date is an assumption and is not a legal conclusion. Google has not performed a legal analysis and makes no representation as to the accuracy of the date listed.)
Filing date
Publication date
Application filed by Koninklijke Philips NV filed Critical Koninklijke Philips NV
Publication of JP2014534556A publication Critical patent/JP2014534556A/ja
Application granted granted Critical
Publication of JP6139535B2 publication Critical patent/JP6139535B2/ja
Active legal-status Critical Current
Anticipated expiration legal-status Critical

Links

Images

Classifications

    • HELECTRICITY
    • H01ELECTRIC ELEMENTS
    • H01JELECTRIC DISCHARGE TUBES OR DISCHARGE LAMPS
    • H01J61/00Gas-discharge or vapour-discharge lamps
    • H01J61/02Details
    • H01J61/04Electrodes; Screens; Shields
    • H01J61/06Main electrodes
    • HELECTRICITY
    • H01ELECTRIC ELEMENTS
    • H01JELECTRIC DISCHARGE TUBES OR DISCHARGE LAMPS
    • H01J61/00Gas-discharge or vapour-discharge lamps
    • H01J61/02Details
    • H01J61/04Electrodes; Screens; Shields
    • H01J61/06Main electrodes
    • H01J61/073Main electrodes for high-pressure discharge lamps
    • H01J61/0732Main electrodes for high-pressure discharge lamps characterised by the construction of the electrode
    • HELECTRICITY
    • H01ELECTRIC ELEMENTS
    • H01JELECTRIC DISCHARGE TUBES OR DISCHARGE LAMPS
    • H01J61/00Gas-discharge or vapour-discharge lamps
    • H01J61/02Details
    • H01J61/36Seals between parts of vessels; Seals for leading-in conductors; Leading-in conductors
    • H01J61/366Seals for leading-in conductors
    • H01J61/368Pinched seals or analogous seals
    • HELECTRICITY
    • H01ELECTRIC ELEMENTS
    • H01JELECTRIC DISCHARGE TUBES OR DISCHARGE LAMPS
    • H01J9/00Apparatus or processes specially adapted for the manufacture, installation, removal, maintenance of electric discharge tubes, discharge lamps, or parts thereof; Recovery of material from discharge tubes or lamps
    • H01J9/02Manufacture of electrodes or electrode systems

Landscapes

  • Engineering & Computer Science (AREA)
  • Manufacturing & Machinery (AREA)
  • Vessels And Coating Films For Discharge Lamps (AREA)
  • Manufacture Of Electron Tubes, Discharge Lamp Vessels, Lead-In Wires, And The Like (AREA)

Description

本発明は、放電ランプ、そのようなランプ用の電極、及びそのようなランプ用の電極を製造する方法について説明する。
高輝度放電ランプといったガス放電ランプの動作時、ピンチ領域内に埋め込まれた電極が高温になると、これに対応して、石英ガラス並びに(通常、タングステンで作られる)電極の様々な膨張率及び収縮率に因る応力のレベルが高くなる。これらの応力は、亀裂を発生させるが、亀裂には、幾つか異なる種類がある。例えば亀裂は、放電チャンバに近い領域において、電極とピンチ内に埋め込まれたモリブデンフォイルとの間の領域において、又は、ランプの本体が、最終製造段階において担体である石英本体から分離される位置におけるピンチのカットエンド(「カットエッジ亀裂」と呼ぶ)の付近等で生じる。亀裂はランプの故障につながる可能性があるので、多くの努力が、亀裂の発生を最小限にしようとするランプデザインに注がれている。例えば、あるデザインでは、ピンチ内に封入された領域内の電極の外面に沿って長手方向の溝を含む。これらの溝は、電極の温度が最も高くなる放電チャンバ付近における亀裂の発生を阻止するはずである。他のデザインでは、電極が自由に膨張及び収縮できるように石英と電極本体との間に間隙を意図的に残している。或いは、幾つかのデザインでは、電極の放電端付近の高温に対抗し、また、ランプの故障につながる半径方向に延在する亀裂(radially extending crack:RAC)の発生を抑制するために、放電チャンバの付近の電極の領域に「ヘアブラシ」構造を使用する。しかし、電極の表面上に実施されるあらゆる構造は、その機械的柔軟性及び変形可能性を妥協することになり、また、過剰な構造は、翻って、電極の故障につながる。
別の種類の亀裂が、電極の端付近で発生し、「電極端亀裂」(end-of-electrode crack:EEC)と呼ばれる。EECは、通常、電極の基部又は外側端面付近の位置から、電極が導電性フォイルに接合される領域を通り、ピンチの外側端に向かって軸方向に走る。EECは、通常、フラットパラボラのように湾曲形状を有する。このようなEECの現象は、まだ完全には解明されてはいない。このような亀裂を発生させる原因は様々である。ランプの動作時のピンチ内の応力、特に不均一な応力分布が、主な要因で、EECの成長を促進又は加速させると考えられている。不均一な応力分布は、物質相互作用における変動の結果と考えられる。いずれにせよ、ある種の核(nucleus)がEECを成長させるものと推定される。このような「核」は、様々なメカニズムによって生成される。核は、例えば導電性フォイルの周りの領域における石英ガラス内に不純物によって、又は、熱的に誘導された引張又は圧縮応力の望ましくない分布の結果、当該領域に生じる「極小亀裂」によって、化学的又は機械的に誘導される。或いは、カットエッジ亀裂が、電極端亀裂を引き起こす核として作用することもある。EECは、その発生メカニズムに関わらず、一度出現すると、ランプが故障する時期が近付いていることになる。したがって、そもそも、その発生を抑止することが特に重要である。
したがって、本発明は、電極端亀裂の発生を回避する改良された電極デザインを提供することを目的とする。
本発明の目的は、請求項1の放電ランプによって、請求項12の電極によって、また、請求項13に記載のそのような電極を製造する方法によって達成される。
本発明によれば、放電ランプは、石英ガラスエンベロープと、放電チャンバと、1対の電極とを含み、電極の外側端部分は、石英ガラスエンベロープのピンチ内に埋め込まれた導電性フォイルと重なり、電極は、導電性フォイルと放電チャンバとの間の電極の内側又は中間部分に内側構造化ゾーンを、電極の外側端部分上に外側構造化ゾーンを含み、外側構造化ゾーンと内側構造化ゾーンとは、互いに、物理的に及び/又は空間的に別個かつ異なる。導入部において説明された通り、軸方向又は電極端亀裂は、電極の内側部分から半径方向外側に走るRECとは対照的に、電極の外側端からピンチの外側端へと走る。外側構造化ゾーンは、電極の外側端の付近に形成される。これは、導入部において説明された通り、EECは、通常、当該領域から発生してピンチの外側先端又は外側端に向かって延在するからである。内側又は中間構造化ゾーンは、電極の中央の周りに左右対称に形成されても、電極の中央に対して変位されていてもよく、当該位置で、内側又は中間構造化ゾーンは、例えばRECの発生を抑止又は阻止するように働く。
本発明による放電ランプの利点は、石英ガラスピンチの特定の領域において小さい「解放」亀裂、即ち、「極小亀裂」を意図的に開始することによって、外側構造化ゾーンが、ピンチ内の応力レベルを効果的に減少させる点である。これらの極小亀裂は、電極の材料と石英ガラスとの熱膨張係数の差が、外側構造化ゾーンの効果と組み合わされる結果、例えばピンチを形成する工程時に意図的に発生が促進される。外側構造化ゾーンがなければ、即ち、従来技術のランプでは、ピンチの領域における任意の不純物又は過剰な緊張が、そこからEECが発生しうる核として作用してしまう。外側構造化ゾーンは、特定領域に微視的に小さい亀裂を意図的に成長させるように働き、当該領域において、これらの亀裂は、ランプの後続のスイッチングサイクルの間に、電極と石英とがそれらの異なる率で膨張及び収縮できるように働く。したがって、ピンチの当該臨界領域における応力レベルは、非常に効果的に減少されるので、EECが発生する危険性も事実上取り除かれる。
外側構造化ゾーンと内側構造化ゾーンとは、空間的及び/又は物理的に別個である。例えば外側構造化ゾーン及び内側構造化ゾーンは、様々な効果のために様々に形成されることが可能であるため、内側構造化ゾーンは、RECの発生を抑止する働きをする一方で、外側構造化ゾーンは、EECの発生を抑止する働きをしてもよい。このようにして、様々な問題、即ち、様々な種類の亀裂の発生が最適に解決される。
本発明によれば、放電ランプに使用するための電極は、電極の内側部分における内側構造化ゾーンであって、内側部分は、放電ランプの導電性フォイルと放電チャンバとの間の放電ランプのピンチ内に埋め込まれる、当該内側構造化ゾーンと、ピンチ内に埋め込まれる場合に導電性フォイルと重なる電極の外側端部分上に形成される外側構造化ゾーンと、を含み、外側構造化ゾーンは、内側構造化ゾーンとは別個である、即ち、空間的及び/又は物理的に異なる。
本発明による電極の利点は、電極の機械的柔軟性及び変形可能性が、外側構造化ゾーンによって著しい程度までには影響を受けず、その程度は、電極の全長のほんの一部に制限されるため、外側構造化ゾーンは、ランプの動作時、電極の性能に著しい悪影響を及ぼすことがない点である。当該電極の別の利点は、当該電極がなければEECの問題が放電ランプの寿命を短命化させてしまう任意の放電ランプに使用できる点である。電極の外側構造化ゾーンは、主に、導電性フォイルと重なる領域内にあるので、電極の他の領域上の任意の他の構造は、通常通りに動作することができるため、当該電極は多種多様の放電ランプに使用できる一方で、別個でかつ異なる内側及び外側構造化ゾーンが、当該ゾーンから発生する可能性のある様々な種類の亀裂を抑止する働きをする。
本発明によれば、放電ランプに使用するための電極を製造する方法は、放電ランプの導電性フォイルと放電チャンバとの間の放電ランプのピンチ内に埋め込まれる電極の内側部分に、内側構造化ゾーンを形成するステップと、電極の外側端部分上に外側構造化ゾーンを形成するステップと、を含み、外側端部分は、外側構造化ゾーンが内側構造化ゾーンとは別個でかつ異なるように、ピンチ内に埋め込まれる場合に導電性フォイルと重なる。
本発明による方法の利点は、外側構造化ゾーンを形成するステップは、以下において明らかとなるように、行うことが簡単であり、また、任意の複雑なステップが伴わない点である。更に、本発明による方法は、電極の他の領域を処理するための他の処理ステップと併せて又はそれとは独立して実行されることが可能である。
従属請求項及び以下の説明は、本発明の特に有利な実施形態及び特徴を開示する。実施形態の特徴は適宜組み合わされる。1つの請求項のカテゴリの文脈において説明された特徴は、別の請求項のカテゴリにも等しく適用される。
以下において、簡潔さのために、しかし、本発明をいかようにも制限することなく、電極の材料は、タングステンであり、ピンチに埋め込まれる電極本体の部分は、基本的にロッド形状であると仮定する。更に、ここでも本発明をいかようにも制限することなく、導電性フォイルは、モリブデンフォイル(通常、単に「Moフォイル」と呼ぶ)を含むものと仮定する。整合性のために、電極の「先端」とは、そこから放電アークが延在する電極の端であり、その一方で、「外側端」とは、ピンチ内でMoフォイルに接合、そうでなければ接続される端である。本明細書において説明される種類のHID放電ランプは、大抵の場合、自動車用途に使用されるので、以下において、ここでも本発明をいかようにも制限することなく、放電ランプは、D4ランプといった自動車HIDランプを含むものと仮定する。
本発明によるランプ及び電極は、HIDランプにおけるEECの発生の特性に関して観察を行った結果、開発された。最新の診断技術を用いて、発明者は、EECは、電極の基部付近の臨界領域、例えばMoフォイルと電極の外側端との間の接合の周りの領域において極小亀裂が制御されない様式で発生し、当該領域において蓄積した応力が、当該制御されていない極小亀裂を通り「負荷が解放される」及び当該亀裂を通り抜けるため、発生する可能性が高いという結論に至った。本発明によるランプでは、極小亀裂は、電極の外側端の周りの特定の画定された領域内で意図的に「成長され(farmed)」、当該領域において、これらの成長極小亀裂は、石英ガラスマトリクス内の応力を減少させることによって、好ましい影響を及ぼす。即ち、本発明によるランプ内の電極の周りに発生する、成長極小亀裂は、実際に、EECの発生を減少させる又は阻止する働きをする。これは、極小亀裂が、ランプの臨界又は脆弱領域における応力の危険な蓄積を効果的に阻止するからである。
本発明によるランプでは、電極の外側構造化ゾーンは、電極の金属と石英ガラスとの間の密着を中断する働きをする。更に、電極の外側構造化ゾーンは、当該領域における引張及び圧縮応力の分布を変更する。外側構造化ゾーンのEECの発生抑制という有効性は、外側構造化ゾーンの結果生じる引張及び圧縮応力の特定の分布による表面密着の局所的な中断との組み合わせにある。したがって、本発明によるランプは、外側構造化ゾーンにおける電極の表面とピンチの石英ガラスとの間に人工弾性界面を含むことが好適である。当該人工弾性界面は、幾つかの、好適には多数の意図的に成長させられた、即ち、「成長された」極小亀裂を含む。電極の外側端の周りでのこれらの成長極小亀裂の形成は、電極をピンチ内に埋め込むために石英ガラスが(したがって、金属である電極も)高温に加熱されるピンチ加工時に誘発される。この人工弾性界面又は人工「接合コート」は、ランプの後続の動作時の熱的に誘導された膨張及び収縮時に電極が比較的に自由に動けるようにする。結果として、EECが発生する可能性が低くなる。
電極の金属と石英との相互作用に影響を及ぼす構造化ゾーンは、幾つかの方法で形成される。例えば、タングステン/石英接合点において所望の相互作用を得るために、電極の外面にコーティングが施されてもよい。これに代えて又はこれに加えて、構造化ゾーンを得るために、電極の本体の周りに、細いワイヤ又はコイルを巻き付けてもよいし、又は、小さい粒子を電極の表面上に堆積させてもよい。発明者は、変形可能性といった所望の因子に最小限の影響を及ぼす最適な種類を決定するために様々な種類の構造を試験し、本発明の好適な実施形態では、構造化ゾーンは、電極の表面に形成される幾つかの凹部を含むという結論に至った。EECを抑止するための外側構造化ゾーンの場合、当該凹部は、当該領域における石英ガラスと電極の金属との間の表面密着を十分な範囲まで中断させ、また、電極の機械的安定性を損なうほど深くない。
上述の通り、ビーズ割れ又はRECといった他の種類の亀裂の発生を回避するために電極を処理する方法は、様々ある。これらの亀裂は、ピンチの内側領域、即ち、放電チャンバとMoフォイルとの間の領域における電極の本体の周りの熱に関連する高いレベルの応力によって発生する可能性が高い。したがって、本発明によるランプの特定の実施形態では、内側構造化ゾーンは、導電性フォイルと放電チャンバとの間の電極の領域上に形成され、当該内側構造化ゾーンは、石英ガラスエンベロープにおいて半径方向に延在する亀裂の発生を抑止するために実現される。例えば内側又は中心の構造化ゾーンは、電極の本体の周りにより深いチャネルが形成された「ヘアブラシ」領域を含み、当該領域は、石英ガラスマトリクス内に延在する電極材料の追加の突起、スパイク、即ち「タフト(tufts)」を有しても有さなくてもよい。このような電極を有するランプは、国際特許公開公報WO2011/073862A1において説明され、本明細書に、参照することによって組み込まれる。好適には、このような内側構造化ゾーンは、電極の中央の周りに、即ち、電極に沿って「中間点」の両側に配置される2つの別個のヘアブラシゾーンを含む。
中間構造化ゾーンと外側構造化ゾーンとは、互いに直接隣接して、即ち、任意の有意な介在空間なく、形成されても、電極の構造化されていない又は本質的に変更されていない部分によって分離されていてもよい。
上述の通り、電極のどの構造も、動作時に電極が変形できる能力を妥協しない又は損なわせないことが重要である。様々な実験において、発明者は、様々な凹部深度を使用して様々な種類の外側構造化ゾーンの効果を分析した。発明者は、外側構造化ゾーンにおける凹部の深度は、外側構造化領域における電極の直径の最大で2.0%、より好適には最大で0.8%、最も好適には0.25%を含むことが好適であると結論付けた。外側構造化ゾーンにおけるこれらの凹部は浅いので、「極小ヘアブラシゾーン」と呼んでもよい。
凹部は、電極の本体内へと延在する電極の表面における任意の種類の凹み又は窪みであると理解されるべきである。本発明の特に好適な実施形態では、構造化ゾーンにおける凹部は、電極の本体に形成されるチャネル又は溝を含む。本発明の開発時に行われた実験において、極小亀裂の発生は、ある程度までは、電極の表面に形成されるそのようなチャネル又は溝の向きにも依存することが観察された。更に好適な実施形態では、外側構造化ゾーンにおける凹部は、電極の周りに形成される半径方向のチャネルを含む。「半径方向」との用語は、「半径に沿って移動する」又は「電極の長手軸の周りに均一に発生する」との文脈において解釈されるべきである。このような配置は、非常に効果的であることが示され、基準のランプに比べてEECの発生が大幅に減少された。このようなチャネルは、形成ツールを電極に向ける一方で、同時に電極をその長手軸の周りに回転させることによって比較的容易に形成される。幾つかの基本的に平行なチャネルが、所望幅の未処理領域又は帯で分離されてこのように形成される。本発明の特に好適な実施形態では、半径方向のチャネルは、電極の本体の周りに形成されたらせん状チャネルを含み、これにより、構造化ゾーンは、単一ステップで形成される。このようならせん状チャネルは、形成ツールを電極に向ける一方で、同時に電極をその長手軸の周りに回転させるだけでなく、電極を当該軸に沿って変位させることによって達成される。
外側構造化ゾーンは、EECの抑制又は回避において有効性が証明されている。EECは、主に、ピンチの外側端において発生するため、外側構造化ゾーンは、電極の外側端、即ち、Moフォイルの領域における電極の端の範囲内に留められることが好適である。したがって、本発明の更に好適な実施形態では、外側構造化ゾーンの長さは、好適には、電極の埋め込まれた全長の最大で20%、より好適には最大で10%、最も好適には最大で5%を含む。外側構造化ゾーンは、電極の埋め込まれた全長の小さい一部分上に形成されれば十分である。
チャネル又は溝は、任意の適切な技術を使用して形成される。本発明の特に好適な実施形態では、外側構造化ゾーンを形成するステップは、電極の本体の周りに幾つかの浅いチャネルを形成するように電極の本体から材料を除去するステップを含む。例えばチャネルは、電極の本体の周りから浅い材料層を除去可能な適切なミーリングツールを使用して切削されてもよい。しかし、電極の材料は一般にかなり脆いため、このような機械的アプローチは、電極を弱体化させてしまう可能性があり、また、必然的に力の使用が伴う。したがって、本発明の更なる実施形態では、チャネルは、電極の材料を除去するために電極の表面にレーザビームを向けることによって形成されることが好適である。レービームは、チャネルの所望の深度までしか材料を除去しないように生成されることが好適である。好適には、電極は、レーザビームが電極に向けられている間に回転させられ、これにより、電極の本体の周りの一部又は全体にチャネルが形成される。電極及び/又はレーザは、電極の表面にらせん状のチャネルが形成されるように横方向に同時に動かされる。チャネルの形成にレーザビームを使用することは、幾つかの利点がある。例えばレーザは、好都合に浅いチャネルが容易に形成されるように非常に厳密に構成される。
外側構造化ゾーンの範囲は、電極の直径、ピンチの厚さ、電極の長さ、及び内側構造化ゾーンの形状等といった様々な要因に依存する。比較的厚い電極を有するランプ又はピンチ加工時にピンチ温度が2000℃を超えるランプは、特に、EECの影響を受けやすい。したがって、本発明の更に好適な実施形態では、外側構造化ゾーンは、重なり領域を越えて延在する。例えば外側構造化ゾーンは、Moフォイルを越えて、即ち、電極の内側端の方向に、埋め込まれた全長の数パーセントの長さに延在する。他の電極及び/又はランプの種類では、外側構造化ゾーンは、基本的に外側端領域内、即ち、電極が導電性フォイルと重なる重なり領域内に含まれる。外側構造化ゾーンは、電極の最も外側の端まで、即ち、電極の基部まで延在してもよい。しかし、本発明の更に好適な実施形態では、電極は、その基部(即ち、電極の外側端面)と外側構造化部分との間に処理されていない部分を含む。例えば長さが8.0mmである電極の場合、電極の導電性フォイルと重なる外側端部分は、1.0mmを含む。この例では、外側構造化ゾーンは、電極の外側端から0.3mmのところから始まり、放電容器の方向に1.3mmの範囲に延在する。
同様に、本発明によるランプは、2つ以上の外側構造化ゾーンを有する電極を含む。即ち、1つの外側構造化ゾーンは重なり領域内に完全に含まれ、もう1つの外側構造化ゾーンも重なり領域内に完全に含まれてもよいが放電容器の方向に重なり領域を越えて延在してもよい。
幾つかの種類の電極は、それらが組み込まれたランプ内でEECを発生させ易い場合がある。このような電極が、外側構造化領域を含むように処理されると、EECが発生する可能性は、大幅に減少されるか、更には無くなる。例えば、亀裂の発生を誘発するように意図的に選択された増幅条件下での試験では、2つのバッチの同じランプの種類が試験された。第1のバッチは、本発明によるランプ、即ち、外側構造化ゾーンを有する電極を含むランプを含み、第2のバッチは、基準ランプ、即ち、そのような外側構造化ゾーンを有さない従来技術のランプを含む。本発明によるランプを含む第1のバッチでは、EECは全く観察されなかった。第2のバッチでは、電極端亀裂の発生により、2%を超えるランプが故障した。したがって、本発明によるランプは、信頼の高い状態で寿命が長いことが非常に望まれる自動車前方照明用途におけるHIDランプとしての使用に特に適している。
本発明の他の目的及び特徴は、添付図面と共に考慮された場合に以下の詳細な説明からより明らかとなろう。しかし、図面は、説明のためだけにデザインされたものであり、本発明の限定の定義としてデザインされたものではないことは理解されるものとする。
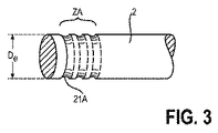
図1は、従来技術のガス放電ランプの概略図を示す。 図2は、本発明の第1の実施形態によるHIDランプの概略図を示す。 図3は、本発明の第1の実施形態による電極の外側端の詳細を示す。 図4は、本発明の第2の実施形態によるHIDランプの詳細を示す。 図5は、本発明の第3の実施形態によるHIDランプの詳細を示す。 図6は、外側構造化ゾーンの有益な効果を概略的に説明する図2のランプの詳細を示す。
図中、同じ参照符号が、全体に亘って同じ要素を指している。図中の要素は必ずしも縮尺通りではない。
図1は、自動車用HIDランプといった従来技術のガス放電ランプ8の簡易化された概略図を示し、亀裂REC、EECの発生を示している。ランプ8は、石英ガラスエンベロープ10と、放電容器11内に延在する1対の電極80とを含む。各電極80は、ピンチ12内に埋め込まれ、その外側端においてMoフォイル81に接合され、Moフォイル81は、次に、外側リード線82に接合される。ランプの動作時、電極80は非常に熱くなり膨張する。石英ガラスもその結果加熱され、膨張する。ランプ8が再び消灯されると、電極80は冷却され収縮し、石英ガラスも同様である。熱膨張率及び熱収縮率は、電極80(通常タングステン)と石英ガラスとでは大きく異なり、石英ガラスエンベロープマトリクスにおける引張及び圧縮応力につながる。時間の経過に伴い、石英ガラスに繰り返し応力がかかる結果、フォイル81と放電容器11との間の電極の一部の周りの石英ガラス内に、半径方向に延在する亀裂(radially extending crack:RAC)が形成される。これは、当該一部が、埋め込まれた電極80の最も熱い部分だからである。電極80の外側端では、電極端亀裂(end-of-electrode crack:EEC)が形成され、通常、電極80の基部からピンチ12の外側端に向かって延在する平らな湾曲形状を有する。これらの亀裂EEC、RECは、自然発生的に形成し、ランプの故障につながる。
国際特許公開公報WO2011/073862A1のランプデザインは、RECの成長に効果的に対抗するか又はその成長を効果的に抑止するものの、内側構造領域、即ち、「ヘアブラシ領域」は、電極の外側端における様々な応力分布に起因して、EECの発生を阻止することができない。
図2は、本発明によるHIDランプ1の簡易化された概略図を示す。その構造は、図1に示される上記従来技術のランプ8とほぼ同じである。即ち、ランプ1は、放電容器11を囲む石英ガラス本体10と、短い間隙を隔てて放電容器11内で互いに面するように配置された1対の電極2とを含む。電極2は、幾つかの領域、即ち、外側端部分2A、内側部分2B、及び残りの先端部分に実質的に分割される。各電極2の大部分2A、2Bが、ピンチ12内に埋め込まれる。各電極2の外側端部分2Aが、導電性フォイル3に接合され、導電性フォイル3は、次に、外側リード線4に接合される。本発明によれば、外側構造化ゾーンZAが、電極の外側端2Aの少なくとも一部分上に形成される。内側構造化ゾーンZBは、電極2の中間領域の表面の周りにらせん状に形成されるチャネル21Bのようなヘアブラシ構造を含み、これにより、半径方向に延在する亀裂を防ぐというこれらのチャネル21Bの有効性は、石英ガラスマトリクス内に延在する突起によって増大される。外側構造化ゾーンZAは、浅いチャネル21A、即ち、図3に示されるように電極本体の外周の周りに配置された内側構造化ゾーンZBのチャネル21Bに比べて浅いチャネル21Aを含む。図3は、本発明の第1の実施形態による電極2の外側端2Aの詳細を示す。図3は、電極2の外側エッジに近い外側構造化ゾーンZAを示す。外側構造化ゾーンZAは、電極2の本体の周りに少なくとも部分的に形成された幾つかの浅いチャネル、凹部、又は、溝21Aを含む。例えばチャネル21Aは、電極2の本体の周り全体に延在しても、導電性フォイルに溶接されていない電極2の表面上だけに形成されてもよい。外側構造化ゾーンZAは、複数の別個のチャネル21Aを含んでも、電極2の本体上にらせん状に形成される単一のチャネル21Aを含んでもよい。チャネル21Aの深さは、ここでは、説明のために、誇張されている。実際には、チャネル21Aは非常に浅く、導電性フォイルに溶接又は接合される位置において、電極2の本体内にほんの小さい程度で、例えば電極の直径Dの0.5%だけ延在する。
図4は、本発明の第2の実施形態によるHIDランプ1の詳細を示す。ここでは、外側構造化ゾーンZAは、放電容器の方向に外側端部2Aを越えて延在するように電極2の本体上に形成される。ここでは、チャネル21の傾斜された向きが、これらのチャネルがらせん状に形成され、これにより外側構造化ゾーンZAが電極2の本体の周りに数回延在する単一のらせんチャネル21Aを事実上含むことを示す。
図5は、本発明の第3の実施形態によるHIDランプ1の詳細を示す。ここでは、2つの外側構造化ゾーンZAが、電極2が導電性フォイル3に重なる重なり領域内で電極2の本体上に形成されている。
図6は、図2のランプの詳細を示し、外側構造化ゾーンZAの有益な効果を概略的に説明する。製造過程において、ピンチを形成する石英ガラスは、外側リード線、Moフォイル及び電極が気密シール内に埋め込まれるように、ガラスを変形可能とするために、非常に高温に加熱されなければならない。ピンチが形成されると、石英ガラス及び電極は、再び冷却される。電極の外側端の周りの石英ガラスマトリクスにおける応力の分布は、外側構造化ゾーンZAと連動して、電極2の端の周りに微視的に小さい亀裂MCを形成させる。この極小亀裂(micro-crack:MC)は、外側構造化ゾーンZAの浅いチャネル21Aによって引き起こされる、石英ガラスと電極2との間の表面接触の中断によって発生が促進される。明瞭とするために、この平面図では、極小亀裂は、電極2の外側エッジに沿ってしか示されていないが、極小亀裂MCは、外側構造化ゾーンZAの周りの石英ガラスマトリクス内に基本的に均等に分布することは理解されよう。図面では破線で示される、この「成長された(farmed)」極小亀裂の層は、電極の外側端の表面とピンチの石英ガラスとの間に人工又は仮想弾性界面5を、事実上提供し、ピンチ12のこの領域における応力の減少に直接関係し、これにより、電極端亀裂が生じる可能性ははるかに少なくなる。つまり、石英ガラスマトリクスの任意のEECによって決定的な影響を受ける部分に、他の極小亀裂をランダムに形成させるのではなく、これらの極小亀裂MCは、電極の外側端2Aの周りに意図的に「成長され」、ここでは、極小亀裂は、電極表面と石英ガラスとの間の人工的な接合コートとして機能する。後に、ランプが、その通常の寿命の間に、動作サイクルが繰り返されるときに、この人工弾性界面によって、石英ガラスマトリクスの当該領域における引張及び圧縮応力の望ましくない分布の蓄積を阻止し、これにより、EECの発生が事実上抑止又は阻止される。
本発明は、本発明の好適な実施形態及びその変形態様の形で開示されたが、本発明の範囲から逸脱することなく、本発明に多数の追加の変更及び変形を行ってもよいことは理解されよう。
明瞭とするために、本願における「a」又は「an」の使用は、複数形を排除するものではなく、また、「含む」も他のステップ又は要素を排除するものではないことは理解されるべきである。

Claims (14)

  1. 石英ガラスエンベロープと、放電チャンバと、1対の電極とを含む放電ランプであって、
    電極の外側端部分は、前記石英ガラスエンベロープのピンチ内に埋め込まれた導電性フォイルと重なり、かつ、
    前記電極は
    前記導電性フォイルと前記放電チャンバとの間の前記電極の内側部分に内側構造化ゾーンと
    前記電極の前記外側端部分上に外側構造化ゾーンとを含み
    前記内側構造化ゾーンと前記外側構造化ゾーンの構造は、前記電極の表面に凹部を形成することによって構成され、
    前記外側構造化ゾーンと前記内側構造化ゾーンとは、前記外側構造化ゾーンにおける凹部が前記内側構造化ゾーンにおける凹部よりも浅いことにおいて、互いに異なる、
    放電ランプ。
  2. 前記外側構造化ゾーンにおける凹部の深度は、前記電極の直径の最大で2.0%を含む、請求項1に記載の放電ランプ。
  3. 前記外側構造化ゾーンにおける凹部は、前記電極の本質的に変更されていない表面領域によって境界付けられる、請求項1又は2に記載の放電ランプ。
  4. 前記内側構造化ゾーンまたは前記外側構造化ゾーンは、前記電極の周りに形成される半径方向のチャネルを含む、請求項1乃至の何れか一項に記載の放電ランプ。
  5. 前記半径方向のチャネルは、前記電極の本体の周りに形成されるらせん状チャネルを含む、請求項に記載の放電ランプ。
  6. 前記外側構造化ゾーンは、前記外側端部分を越えて延在する、請求項1乃至の何れか一項に記載の放電ランプ。
  7. 前記外側構造化ゾーンの長さは、前記電極の埋め込まれた全長の最大で20%を含む、請求項1乃至の何れか一項に記載の放電ランプ。
  8. 前記外側構造化ゾーンと前記内側構造化ゾーンとの間に処理されていない電極領域を含む、請求項1乃至の何れか一項に記載の放電ランプ。
  9. 前記外側構造化ゾーンと前記電極の基部との間に処理されていない電極領域を含む、請求項1乃至の何れか一項に記載の放電ランプ。
  10. 前記石英ガラスエンベロープの前記ピンチにおける前記外側構造化ゾーンについて微視的に小さい亀裂を含む、請求項1乃至の何れか一項に記載の放電ランプ。
  11. 放電ランプに使用するための電極であって
    前記電極の内側部分における内側構造化ゾーンであって、前記内側部分は、前記放電ランプの導電性フォイルと放電チャンバとの間の前記放電ランプのピンチ内に埋め込まれる、前記内側構造化ゾーンと、
    前記ピンチ内に埋め込まれる場合に前記導電性フォイルと重なる前記電極の外側端部分上に形成される外側構造化ゾーンと、
    を含み、
    前記内側構造化ゾーンと前記外側構造化ゾーンの構造は、前記電極の表面に凹部を形成することによって構成され、
    前記外側構造化ゾーン前記内側構造化ゾーンとは、前記外側構造化ゾーンにおける凹部が前記内側構造化ゾーンにおける凹部よりも浅いことにおいて、異なる
    電極。
  12. 放電ランプに使用するための電極を製造する方法であって、
    前記放電ランプの導電性フォイルと放電チャンバとの間の前記放電ランプのピンチ内に埋め込まれる前記電極の内側部分に、内側構造化ゾーンを形成するステップと、
    前記電極の外側端部分上に外側構造化ゾーンを形成するステップであり、外側端部分は、前記ピンチ内に埋め込まれる場合に前記導電性フォイルと重なる、ステップと、
    を含み、
    前記内側構造化ゾーンと前記外側構造化ゾーンの構造は、前記電極の表面に凹部を形成することによって構成され、
    前記外側構造化ゾーンと前記内側構造化ゾーンとは、前記外側構造化ゾーンにおける凹部が前記内側構造化ゾーンにおける凹部よりも浅いことにおいて、異なる
    方法。
  13. 前記内側構造化ゾーンまたは前記外側構造化ゾーンを形成する前記ステップは、前記電極の本体に前記凹部を形成するように、前記電極の本体から材料を除去するステップを含む、請求項12に記載の方法。
  14. 前記凹部は、前記電極の材料を除去するように前記電極の表面にレーザビームを向けることによって形成される、請求項13に記載の方法。
JP2014532515A 2011-09-30 2012-09-14 放電ランプ Active JP6139535B2 (ja)

Applications Claiming Priority (3)

Application Number Priority Date Filing Date Title
US201161541419P 2011-09-30 2011-09-30
US61/541,419 2011-09-30
PCT/IB2012/054787 WO2013046085A1 (en) 2011-09-30 2012-09-14 Discharge lamp

Publications (2)

Publication Number Publication Date
JP2014534556A JP2014534556A (ja) 2014-12-18
JP6139535B2 true JP6139535B2 (ja) 2017-05-31

Family

ID=46981018

Family Applications (1)

Application Number Title Priority Date Filing Date
JP2014532515A Active JP6139535B2 (ja) 2011-09-30 2012-09-14 放電ランプ

Country Status (5)

Country Link
US (1) US9093256B2 (ja)
EP (1) EP2777063B1 (ja)
JP (1) JP6139535B2 (ja)
CN (1) CN103828015B (ja)
WO (1) WO2013046085A1 (ja)

Families Citing this family (1)

* Cited by examiner, † Cited by third party
Publication number Priority date Publication date Assignee Title
EP2513943B1 (en) * 2009-12-18 2016-11-30 Koninklijke Philips N.V. An electrode for use in a lamp

Family Cites Families (22)

* Cited by examiner, † Cited by third party
Publication number Priority date Publication date Assignee Title
JP2000164172A (ja) * 1998-11-30 2000-06-16 Hamamatsu Photonics Kk 放電管
JP3665510B2 (ja) * 1999-06-28 2005-06-29 株式会社小糸製作所 放電ランプ装置用アークチューブ
EP1271595B1 (en) 2001-06-13 2013-06-05 Ushiodenki Kabushiki Kaisha Super-high pressure discharge lamp of the short arc type
JP3518533B2 (ja) * 2001-10-19 2004-04-12 ウシオ電機株式会社 ショートアーク型超高圧放電ランプ
DE102004012242A1 (de) * 2004-02-23 2005-09-01 Patent-Treuhand-Gesellschaft für elektrische Glühlampen mbH Elektrodensystem für eine Hochdruckentladungslampe
JP2008529252A (ja) 2005-02-04 2008-07-31 コーニンクレッカ フィリップス エレクトロニクス エヌ ヴィ 長手方向の溝を有する電極を備えた電気ランプ
DE102005013759A1 (de) * 2005-03-22 2006-09-28 Patent-Treuhand-Gesellschaft für elektrische Glühlampen mbH Lampe mit Stromzuführung und Elektrode
US20080203920A1 (en) * 2005-05-19 2008-08-28 Koninklijke Philips Electronics, N.V. Lamp Having Molybdenum Alloy Lamp Components
US7952283B2 (en) 2005-11-09 2011-05-31 General Electric Company High intensity discharge lamp with improved crack control and method of manufacture
DE202006002833U1 (de) * 2006-02-22 2006-05-04 Patent-Treuhand-Gesellschaft für elektrische Glühlampen mbH Hochdruckentladungslampe mit keramischem Entladungsgefäß
KR20090015914A (ko) * 2006-04-05 2009-02-12 코닌클리즈케 필립스 일렉트로닉스 엔.브이. 고압력 가스 방전 램프 및 그 제조 방법
WO2008119375A1 (de) 2007-03-29 2008-10-09 Patent-Treuhand-Gesellschaft für elektrische Glühlampen mbH Entladungslampe, insbesondere hochdruckentladungslampe
JP4972172B2 (ja) * 2007-12-12 2012-07-11 ハリソン東芝ライティング株式会社 放電ランプ
US20090295290A1 (en) * 2008-06-02 2009-12-03 General Electric Company Metal lead-through structure and lamp with metal lead-through
JP2010272307A (ja) * 2009-05-20 2010-12-02 Koito Mfg Co Ltd 車輌用放電灯
JP2010272308A (ja) * 2009-05-20 2010-12-02 Koito Mfg Co Ltd 車輌用放電灯
JP4924664B2 (ja) 2009-06-10 2012-04-25 ウシオ電機株式会社 高圧放電ランプ
JP2011034758A (ja) * 2009-07-31 2011-02-17 Ushio Inc 高圧放電ランプ
JP4868036B2 (ja) 2009-07-31 2012-02-01 ウシオ電機株式会社 高圧放電ランプ
JP4868039B2 (ja) * 2009-08-20 2012-02-01 ウシオ電機株式会社 高圧放電ランプ
EP2513943B1 (en) 2009-12-18 2016-11-30 Koninklijke Philips N.V. An electrode for use in a lamp
JP2011146204A (ja) * 2010-01-13 2011-07-28 Ushio Inc 高圧放電ランプ

Also Published As

Publication number Publication date
WO2013046085A1 (en) 2013-04-04
US9093256B2 (en) 2015-07-28
EP2777063A1 (en) 2014-09-17
US20140232260A1 (en) 2014-08-21
JP2014534556A (ja) 2014-12-18
CN103828015B (zh) 2016-08-17
EP2777063B1 (en) 2017-03-08
CN103828015A (zh) 2014-05-28

Similar Documents

Publication Publication Date Title
JP5798283B2 (ja) 軸対称及び均一熱プロファイルの真空チャック型ヒーター
CN110050326B (zh) 包括SiC蒸镀层的半导体制造用部件及其制造方法
JP6139535B2 (ja) 放電ランプ
KR102740388B1 (ko) 공간적 멀티-웨이퍼 프로세싱 툴을 위한 페데스탈 히터
JP2018505561A (ja) 静電チャック表面の半径方向外側パッド設計
JP2010539696A (ja) 層転写により構造を製造する方法
EP2105948B1 (en) Filament lamp
KR20210089779A (ko) 정전 척
TWI764211B (zh) 包括隔離組件的半導體處理腔室、隔離組件及用於清潔該處理腔室的方法
KR101281551B1 (ko) 건식식각장치의 포커스링 제조방법
US9653280B2 (en) Electrode for use in a lamp
JP6069654B2 (ja) 被処理基板のプラズマ処理用載置台及びこれを用いたプラズマ処理装置
JP7741824B2 (ja) フラットボトムシャドーリング
JP2011512628A (ja) 保持円板を有する誘電体バリア放電ランプ
JP4454557B2 (ja) 縦型ウェーハボート
JP4671047B2 (ja) ガラス穿孔用ドリル
JP4918688B2 (ja) 電極および該電極を備えた放電ランプの製造方法
JP5126618B2 (ja) 高圧放電ランプ
KR102437076B1 (ko) 온도 편차 특성이 개선된 기판 가열 장치
CN101552180A (zh) 灯丝灯
US20120025702A1 (en) Electrical lamp having seal and method for production
JP5495381B2 (ja) 放電バルブ用アークチューブ
WO2024230850A1 (zh) 一种线锯、分段错位式线锯和多基线线锯及其加工方法
CN103548112A (zh) 气体放电灯和用于气体放电灯的电极
KR20240170404A (ko) 세라믹스 히터

Legal Events

Date Code Title Description
RD03 Notification of appointment of power of attorney

Free format text: JAPANESE INTERMEDIATE CODE: A7423

Effective date: 20150519

A621 Written request for application examination

Free format text: JAPANESE INTERMEDIATE CODE: A621

Effective date: 20150911

A977 Report on retrieval

Free format text: JAPANESE INTERMEDIATE CODE: A971007

Effective date: 20160719

A131 Notification of reasons for refusal

Free format text: JAPANESE INTERMEDIATE CODE: A131

Effective date: 20160726

A521 Request for written amendment filed

Free format text: JAPANESE INTERMEDIATE CODE: A523

Effective date: 20161024

TRDD Decision of grant or rejection written
A01 Written decision to grant a patent or to grant a registration (utility model)

Free format text: JAPANESE INTERMEDIATE CODE: A01

Effective date: 20170404

A61 First payment of annual fees (during grant procedure)

Free format text: JAPANESE INTERMEDIATE CODE: A61

Effective date: 20170427

R150 Certificate of patent or registration of utility model

Ref document number: 6139535

Country of ref document: JP

Free format text: JAPANESE INTERMEDIATE CODE: R150

S111 Request for change of ownership or part of ownership

Free format text: JAPANESE INTERMEDIATE CODE: R313113

R350 Written notification of registration of transfer

Free format text: JAPANESE INTERMEDIATE CODE: R350

R250 Receipt of annual fees

Free format text: JAPANESE INTERMEDIATE CODE: R250

R250 Receipt of annual fees

Free format text: JAPANESE INTERMEDIATE CODE: R250

R250 Receipt of annual fees

Free format text: JAPANESE INTERMEDIATE CODE: R250

R250 Receipt of annual fees

Free format text: JAPANESE INTERMEDIATE CODE: R250

R250 Receipt of annual fees

Free format text: JAPANESE INTERMEDIATE CODE: R250

R250 Receipt of annual fees

Free format text: JAPANESE INTERMEDIATE CODE: R250