JP6036734B2 - ターボ過給機付エンジンの故障検出装置 - Google Patents
ターボ過給機付エンジンの故障検出装置 Download PDFInfo
- Publication number
- JP6036734B2 JP6036734B2 JP2014056831A JP2014056831A JP6036734B2 JP 6036734 B2 JP6036734 B2 JP 6036734B2 JP 2014056831 A JP2014056831 A JP 2014056831A JP 2014056831 A JP2014056831 A JP 2014056831A JP 6036734 B2 JP6036734 B2 JP 6036734B2
- Authority
- JP
- Japan
- Prior art keywords
- valve
- exhaust
- engine
- state
- cut valve
- Prior art date
- Legal status (The legal status is an assumption and is not a legal conclusion. Google has not performed a legal analysis and makes no representation as to the accuracy of the status listed.)
- Expired - Fee Related
Links
- 238000001514 detection method Methods 0.000 title claims description 35
- 230000002159 abnormal effect Effects 0.000 claims description 44
- 230000007704 transition Effects 0.000 claims description 26
- 239000002699 waste material Substances 0.000 claims description 16
- 238000000034 method Methods 0.000 description 32
- 230000008569 process Effects 0.000 description 30
- 230000007246 mechanism Effects 0.000 description 12
- 238000011144 upstream manufacturing Methods 0.000 description 11
- 238000002485 combustion reaction Methods 0.000 description 10
- 238000010586 diagram Methods 0.000 description 4
- 239000000446 fuel Substances 0.000 description 4
- BASFCYQUMIYNBI-UHFFFAOYSA-N platinum Chemical compound [Pt] BASFCYQUMIYNBI-UHFFFAOYSA-N 0.000 description 4
- 238000009423 ventilation Methods 0.000 description 4
- 239000003054 catalyst Substances 0.000 description 3
- 230000007423 decrease Effects 0.000 description 3
- 238000000746 purification Methods 0.000 description 3
- KDLHZDBZIXYQEI-UHFFFAOYSA-N Palladium Chemical compound [Pd] KDLHZDBZIXYQEI-UHFFFAOYSA-N 0.000 description 2
- 230000000694 effects Effects 0.000 description 2
- 238000002347 injection Methods 0.000 description 2
- 239000007924 injection Substances 0.000 description 2
- 230000007257 malfunction Effects 0.000 description 2
- 229910052697 platinum Inorganic materials 0.000 description 2
- 230000008859 change Effects 0.000 description 1
- 230000006835 compression Effects 0.000 description 1
- 238000007906 compression Methods 0.000 description 1
- 238000001816 cooling Methods 0.000 description 1
- 230000003247 decreasing effect Effects 0.000 description 1
- 238000007599 discharging Methods 0.000 description 1
- 230000006870 function Effects 0.000 description 1
- 238000012986 modification Methods 0.000 description 1
- 230000004048 modification Effects 0.000 description 1
- 230000003647 oxidation Effects 0.000 description 1
- 238000007254 oxidation reaction Methods 0.000 description 1
- 229910052763 palladium Inorganic materials 0.000 description 1
Images
Classifications
-
- F—MECHANICAL ENGINEERING; LIGHTING; HEATING; WEAPONS; BLASTING
- F02—COMBUSTION ENGINES; HOT-GAS OR COMBUSTION-PRODUCT ENGINE PLANTS
- F02B—INTERNAL-COMBUSTION PISTON ENGINES; COMBUSTION ENGINES IN GENERAL
- F02B39/00—Component parts, details, or accessories relating to, driven charging or scavenging pumps, not provided for in groups F02B33/00 - F02B37/00
- F02B39/16—Other safety measures for, or other control of, pumps
-
- F—MECHANICAL ENGINEERING; LIGHTING; HEATING; WEAPONS; BLASTING
- F02—COMBUSTION ENGINES; HOT-GAS OR COMBUSTION-PRODUCT ENGINE PLANTS
- F02B—INTERNAL-COMBUSTION PISTON ENGINES; COMBUSTION ENGINES IN GENERAL
- F02B37/00—Engines characterised by provision of pumps driven at least for part of the time by exhaust
- F02B37/12—Control of the pumps
-
- F—MECHANICAL ENGINEERING; LIGHTING; HEATING; WEAPONS; BLASTING
- F02—COMBUSTION ENGINES; HOT-GAS OR COMBUSTION-PRODUCT ENGINE PLANTS
- F02B—INTERNAL-COMBUSTION PISTON ENGINES; COMBUSTION ENGINES IN GENERAL
- F02B37/00—Engines characterised by provision of pumps driven at least for part of the time by exhaust
- F02B37/12—Control of the pumps
- F02B37/16—Control of the pumps by bypassing charging air
-
- F—MECHANICAL ENGINEERING; LIGHTING; HEATING; WEAPONS; BLASTING
- F02—COMBUSTION ENGINES; HOT-GAS OR COMBUSTION-PRODUCT ENGINE PLANTS
- F02B—INTERNAL-COMBUSTION PISTON ENGINES; COMBUSTION ENGINES IN GENERAL
- F02B37/00—Engines characterised by provision of pumps driven at least for part of the time by exhaust
- F02B37/12—Control of the pumps
- F02B37/18—Control of the pumps by bypassing exhaust from the inlet to the outlet of turbine or to the atmosphere
-
- F—MECHANICAL ENGINEERING; LIGHTING; HEATING; WEAPONS; BLASTING
- F02—COMBUSTION ENGINES; HOT-GAS OR COMBUSTION-PRODUCT ENGINE PLANTS
- F02B—INTERNAL-COMBUSTION PISTON ENGINES; COMBUSTION ENGINES IN GENERAL
- F02B37/00—Engines characterised by provision of pumps driven at least for part of the time by exhaust
- F02B37/12—Control of the pumps
- F02B37/18—Control of the pumps by bypassing exhaust from the inlet to the outlet of turbine or to the atmosphere
- F02B37/183—Arrangements of bypass valves or actuators therefor
- F02B37/186—Arrangements of actuators or linkage for bypass valves
-
- F—MECHANICAL ENGINEERING; LIGHTING; HEATING; WEAPONS; BLASTING
- F02—COMBUSTION ENGINES; HOT-GAS OR COMBUSTION-PRODUCT ENGINE PLANTS
- F02D—CONTROLLING COMBUSTION ENGINES
- F02D41/00—Electrical control of supply of combustible mixture or its constituents
- F02D41/0002—Controlling intake air
- F02D41/0007—Controlling intake air for control of turbo-charged or super-charged engines
-
- F—MECHANICAL ENGINEERING; LIGHTING; HEATING; WEAPONS; BLASTING
- F02—COMBUSTION ENGINES; HOT-GAS OR COMBUSTION-PRODUCT ENGINE PLANTS
- F02D—CONTROLLING COMBUSTION ENGINES
- F02D41/00—Electrical control of supply of combustible mixture or its constituents
- F02D41/22—Safety or indicating devices for abnormal conditions
- F02D41/221—Safety or indicating devices for abnormal conditions relating to the failure of actuators or electrically driven elements
-
- F—MECHANICAL ENGINEERING; LIGHTING; HEATING; WEAPONS; BLASTING
- F02—COMBUSTION ENGINES; HOT-GAS OR COMBUSTION-PRODUCT ENGINE PLANTS
- F02D—CONTROLLING COMBUSTION ENGINES
- F02D9/00—Controlling engines by throttling air or fuel-and-air induction conduits or exhaust conduits
- F02D9/04—Controlling engines by throttling air or fuel-and-air induction conduits or exhaust conduits concerning exhaust conduits
-
- Y—GENERAL TAGGING OF NEW TECHNOLOGICAL DEVELOPMENTS; GENERAL TAGGING OF CROSS-SECTIONAL TECHNOLOGIES SPANNING OVER SEVERAL SECTIONS OF THE IPC; TECHNICAL SUBJECTS COVERED BY FORMER USPC CROSS-REFERENCE ART COLLECTIONS [XRACs] AND DIGESTS
- Y02—TECHNOLOGIES OR APPLICATIONS FOR MITIGATION OR ADAPTATION AGAINST CLIMATE CHANGE
- Y02T—CLIMATE CHANGE MITIGATION TECHNOLOGIES RELATED TO TRANSPORTATION
- Y02T10/00—Road transport of goods or passengers
- Y02T10/10—Internal combustion engine [ICE] based vehicles
- Y02T10/12—Improving ICE efficiencies
-
- Y—GENERAL TAGGING OF NEW TECHNOLOGICAL DEVELOPMENTS; GENERAL TAGGING OF CROSS-SECTIONAL TECHNOLOGIES SPANNING OVER SEVERAL SECTIONS OF THE IPC; TECHNICAL SUBJECTS COVERED BY FORMER USPC CROSS-REFERENCE ART COLLECTIONS [XRACs] AND DIGESTS
- Y02—TECHNOLOGIES OR APPLICATIONS FOR MITIGATION OR ADAPTATION AGAINST CLIMATE CHANGE
- Y02T—CLIMATE CHANGE MITIGATION TECHNOLOGIES RELATED TO TRANSPORTATION
- Y02T10/00—Road transport of goods or passengers
- Y02T10/10—Internal combustion engine [ICE] based vehicles
- Y02T10/40—Engine management systems
Landscapes
- Engineering & Computer Science (AREA)
- Chemical & Material Sciences (AREA)
- Combustion & Propulsion (AREA)
- Mechanical Engineering (AREA)
- General Engineering & Computer Science (AREA)
- Supercharger (AREA)
Description
本発明は、排気通路におけるターボ過給機のタービンの手前でエンジンの排気ガスの流速を大小2段階に切り換えるべく開状態と閉状態とに切り換え可能な排気カット弁を備えた、ターボ過給機付エンジンの故障検出装置する技術分野に属する。
従来より、例えば特許文献1に示されているように、タービンに排気ガスを供給する排気通路を2つの独立した通路に分割し、そのうちの1つの通路に、該通路を開通、遮断する排気カット弁を設け、この排気カット弁を開状態と閉状態とに切り換えることで、排気通路における上記タービンの手前で排気ガスの流速を大小2段階に切り換えるようにしたものが知られている。すなわち、排気ガス量の少ないエンジンの運転領域では、排気カット弁を閉状態にして1つの通路のみからタービンに排気ガスを供給することにより、排気ガスの流速を、通路分割前の排気通路の排気ガスの流速よりも大きくして所要の過給効果を確保し、排気ガス量の多い運転領域では、排気カット弁を開いて全ての通路から排気ガスをタービンに供給することにより、排圧の上昇によるエンジン出力の低下を防止するようにしている。
また、特許文献1では、排気ガスを、上記タービンをバイパスして流すための排気バイパス通路と、該排気バイパス通路に設けられた排気バイパス弁(ウエストゲート弁)とを更に備え、排気カット弁が開状態となる開運転領域及び閉状態となる閉運転領域のそれぞれで、実過給圧が、エンジンの運転状態に応じて予め設定した目標過給圧になるように、上記排気バイパス弁の開度をフィードバック制御するようにしている。
上記のようなターボ過給機付エンジンでは、排気カット弁の開閉機能に故障が発生した場合、上述のようなフィードバック制御ができなくなる。そこで、特許文献1では、上記閉運転領域で過給圧が第1設定過給圧値以下であるときには、排気カット弁が開状態で固着している故障であると判定する一方、上記開運転領域で過給圧が第2設定過給圧値以下であるときには、排気カット弁が閉状態で固着している故障であると判定するようにしている。
ところで、上記排気カット弁には、その開状態及び閉状態を検出するためのセンサが設けられないか、又は、そのようなセンサが設けられたとしても、通路に対して進退する弁本体の状態を直接検出するのではなくて、弁の駆動源の制御のために該駆動源に近い部分に設けられる場合がある。この場合、弁駆動機構の一部で故障する等して排気カット弁が開状態又は閉状態で固着したとすると、そのようなセンサで排気カット弁の故障を検出することは困難である。
そこで、上記特許文献1のような判定方法により排気カット弁の故障を検出するようにすることが考えられる。しかし、特許文献1の判定方法では、排気カット弁の故障を正確に判定することは困難である。すなわち、ウエストゲート弁を閉じる側のフィードバック量が少ない状態では、開運転領域であっても閉運転領域であっても、過給圧が上昇しない場合があり、この場合には、排気カット弁の故障であるとは必ずしも言えない。また、上記特許文献1では、開運転領域と閉運転領域とのそれぞれ単独の領域で排気カット弁の故障を判定するため、必ずしも正確に排気カット弁の故障を判定できるとは限らない。
本発明は、斯かる点に鑑みてなされたものであり、その目的とするところは、エンジンの運転領域に応じて排気カット弁を開状態又は閉状態に切り換えるとともに、該排気カット弁が開状態となる開運転領域及び閉状態となる閉運転領域のそれぞれで、実過給圧が目標過給圧になるように、ウエストゲート弁の開度をフィードバック制御する場合に、排気カット弁の故障を正確に判定できるようにすることにある。
上記の目的を達成するために、本発明では、エンジンの排気通路に配設されたタービンと吸気通路に配設されたコンプレッサとを有するターボ過給機と、上記排気通路における上記タービンの手前で上記エンジンの排気ガスの流速を大小2段階に切り換えるべく開状態と閉状態とに切り換え可能な排気カット弁と、上記排気ガスを、上記タービンをバイパスして流すための排気バイパス通路と、該排気バイパス通路に設けられたウエストゲート弁と、上記コンプレッサにより過給された吸入空気の過給圧を検出する過給圧検出手段と、上記エンジンの運転領域に応じて上記排気カット弁を開状態又は閉状態に切り換えるとともに、該排気カット弁が開状態となる開運転領域及び閉状態となる閉運転領域のそれぞれで、上記過給圧検出手段により検出される実過給圧が、上記エンジンの運転状態に応じて予め設定した目標過給圧になるように、上記ウエストゲート弁の開度をフィードバック制御する弁制御手段とを備えた、ターボ過給機付エンジンの故障検出装置を対象として、上記弁制御手段は、上記閉運転領域及び上記開運転領域のそれぞれにおいて、上記ウエストゲート弁を閉じる側のフィードバック量が所定量以上であって上記実過給圧が上記目標過給圧よりも低くかつ該実過給圧と該目標過給圧との偏差が所定値以上となる異常状態が生じているか否かを判定するとともに、上記両運転領域での該判定結果に基づいて、上記排気カット弁の正常/故障を判定するように構成されている、という構成とした。
上記の構成により、各運転領域で、ウエストゲート弁を閉じる側のフィードバック量を考慮して、そのフィードバック量が大きいにも拘わらず実過給圧が目標過給圧に収束しない場合に異常状態であると判定するので、異常状態が生じているか否かを正確に判定することができる。また、両運転領域での、異常状態が生じているか否かの判定結果に基づいて、排気カット弁の正常/故障を判定するので、排気カット弁の正常/故障を正確に判定することができるようになる。
上記ターボ過給機付エンジンの故障検出装置の一実施形態では、上記弁制御手段は、上記両運転領域のうち上記閉運転領域のみで上記異常状態が生じていると判定したときには、上記排気カット弁が開状態で固着していると判定するように構成されている。
このことにより、排気カット弁が開状態で固着しているという故障を正確に判定することができる。
上記ターボ過給機付エンジンの故障検出装置の他の実施形態では、上記弁制御手段は、上記両運転領域のうち上記開運転領域のみで上記異常状態が生じていると判定したときには、上記排気カット弁が閉状態で固着していると判定するように構成されている。
このことにより、排気カット弁が閉状態で固着しているという故障を正確に判定することができる。
上記ターボ過給機付エンジンの故障検出装置において、上記弁制御手段は、上記開運転領域又は上記閉運転領域への上記運転領域の移行から第1所定時間が経過するまでは、上記異常状態が生じているか否かの判定を行わないように構成されている、ことが好ましい。
すなわち、運転領域の移行から第1所定時間(排気カット弁の開状態又は閉状態への移行が完了するまでの時間と略同じ時間であって、例えば5秒)が経過するまでは、過給圧が安定しないため、異常状態が生じているか否かの判定を正確に行うことは困難である。したがって、運転領域の移行から第1所定時間の経過後に、異常状態が生じているか否かの判定を行うことで、その判定を正確に行うことができるようになる。
上記の場合、上記弁制御手段は、上記運転領域の移行から上記第1所定時間の経過後において、該第1所定時間の経過時から第2所定時間以内のみでかつ上記両運転領域のうち上記閉運転領域のみで上記異常状態が生じていると判定したときには、上記排気カット弁の開状態から閉状態への作動遅れ故障であると判定し、上記第1所定時間の経過時から上記第2所定時間以内のみでかつ上記両運転領域のうち上記開運転領域のみで上記異常状態が生じていると判定したときには、上記排気カット弁の閉状態から開状態への作動遅れ故障であると判定し、上記第1所定時間の経過時から第2所定時間以内のみでかつ上記両運転領域で上記異常状態が生じていると判定したときには、上記排気カット弁の開状態から閉状態への作動遅れ故障及び閉状態から開状態への作動遅れ故障の両方の故障であると判定するように構成されていてもよい。
このことにより、運転領域移行後の初期に排気カット弁が遅れて正常になる場合があり、このような排気カット弁の作動遅れも検出することができるようになる。
上記ターボ過給機付エンジンの故障検出装置の更に他の実施形態では、上記弁制御手段は、上記両運転領域で上記異常状態が生じていると判定したときには、上記排気カット弁が開状態と閉状態との間の状態で固着しているか、又は、該排気カット弁以外の、上記ウエストゲート弁の開度のフィードバック制御系の故障であると判定するように構成されている。
こうすることで、排気カット弁の開状態及び閉状態の固着以外の故障(開状態と閉状態との間で固着する故障)や、排気カット弁以外の、ウエストゲート弁の開度のフィードバック制御系の故障(ウエストゲート弁自体の故障等)を検出することができる。
以上説明したように、本発明のターボ過給機付エンジンの故障検出装置によると、開運転領域及び閉運転領域のそれぞれにおいて、ウエストゲート弁を閉じる側のフィードバック量が所定量以上であって実過給圧が目標過給圧よりも低くかつ該実過給圧と該目標過給圧との偏差が所定値以上となる異常状態が生じているか否かを判定するとともに、上記両運転領域での該判定結果に基づいて、排気カット弁の正常/故障を判定するようにしたことにより、排気カット弁の正常/故障を正確に判定することができるとともに、排気カット弁の開状態及び閉状態の固着以外の故障や、排気カット弁以外の、ウエストゲート弁の開度のフィードバック制御系の故障を検出することができる。
以下、本発明の実施形態を図面に基づいて詳細に説明する。
図1は、本発明の実施形態に係る故障検出装置が適用されたターボ過給機付エンジン1(以下、単にエンジン1という)の概略構成を示す。このエンジン1は、車両に搭載されたガソリンエンジンであって、複数の気筒2(図1では、1つのみ示す)が設けられたシリンダブロック3と、このシリンダブロック3上に配設されたシリンダヘッド4とを有している。このエンジン1の各気筒2内には、シリンダヘッド4との間に燃焼室6を区画するピストン5が往復動可能にそれぞれ嵌挿されている。このピストン5は、コンロッド7を介して不図示のクランク軸と連結されている。このクランク軸には、該クランク軸の回転角度位置を検出するための検出板8が一体回転するように固定され、この検出板8の回転角度位置を検出することでエンジン1の回転数を検出するエンジン回転数センサ9が設けられている。上記クランク軸は、シリンダブロック3の下側に設けられたクランクケース25内に配設され、クランクケース25の下側には、オイルパン26が配設されている。
上記シリンダヘッド4には、各気筒2毎に吸気ポート12及び排気ポート13が形成されているとともに、これら吸気ポート12及び排気ポート13の燃焼室6側の開口を開閉する吸気弁14及び排気弁15がそれぞれ配設されている。吸気弁14は不図示の吸気弁駆動機構により、排気弁15は不図示の排気弁駆動機構により、それぞれ駆動される。吸気弁14及び排気弁15は、それぞれ吸気弁駆動機構及び排気弁駆動機構により所定のタイミングで往復動して、それぞれ吸気ポート12及び排気ポート13を開閉し、気筒2内のガス交換を行う。吸気弁駆動機構及び排気弁駆動機構は、それぞれ、クランクシャフトに駆動連結された吸気カムシャフト及び排気カムシャフトを有し、これらのカムシャフトはクランクシャフトの回転と同期して回転する。また、少なくとも吸気弁駆動機構は、吸気カムシャフトの位相を所定の角度範囲内で連続的に変更可能な、液圧式又は機械式の位相可変機構(Variable Valve Timing:VVT)を含んで構成されている。
また、シリンダヘッド4における各気筒2の中心軸上には、燃料を噴射するインジェクタ17が設けられている。このインジェクタ17は、その燃料噴射口が燃焼室6の天井面から該燃焼室6に臨むように配設されていて、圧縮行程上死点付近で燃焼室6に燃料を直接噴射供給するようになっている。
さらに、シリンダヘッド4には、図示を省略する点火プラグが配設されている。この点火プラグの先端部(電極)は、燃焼室6の天井部におけるインジェクタ17の燃料噴射口の側方近傍に臨んでいる。そして、上記点火プラグは、所望の点火タイミングで火花を発生するようになされている。
上記エンジン1の一側の面には、各気筒2の吸気ポート12に連通するように吸気通路30が接続されている。この吸気通路30の上流端部には、吸入空気を濾過するエアクリーナ31が配設されており、このエアクリーナ31で濾過した吸入空気が吸気通路30及び吸気ポート12を介して各気筒2の燃焼室6に供給される。
上記吸気通路30におけるエアクリーナ31の下流側近傍には、吸気通路30に吸入された吸入空気の流量を検出するエアフローセンサ32が配設されている。また、吸気通路30における下流端近傍には、サージタンク34が配設されている。このサージタンク34よりも下流側の吸気通路30は、各気筒2毎に分岐する独立通路とされ、これら各独立通路の下流端が各気筒2の吸気ポート12にそれぞれ接続されている。
さらに、上記吸気通路30におけるエアフローセンサ32とサージタンク34との間には、ターボ過給機20のコンプレッサ20aが配設されている。このコンプレッサ20aの作動により吸入空気の過給を行う。
さらにまた、上記吸気通路30におけるターボ過給機20のコンプレッサ20aとサージタンク34との間には、上流側から順に、上記コンプレッサ20aにより圧縮された空気を冷却するインタークーラ35と、コンプレッサ20aによる吸入空気の過給圧を検出する過給圧検出センサ36(過給圧検出手段)と、スロットル弁37とが配設されている。このスロットル弁37は、該スロットル弁37の配設部分における吸気通路30の断面積を変更することによって、上記各気筒2の燃焼室6への吸入空気量を調節する。
また、本実施形態では、吸気通路30には、コンプレッサ20aをバイパスする吸気バイパス通路38が設けられ、この吸気バイパス通路38には、エアバイパス弁39が設けられている。このエアバイパス弁39は、通常、全閉状態にあるが、例えばスロットル弁37が急激に閉じられたときに、吸気通路30におけるスロットル弁37よりも上流側で圧力の急上昇及びサージングが生じてコンプレッサ20aの回転が乱れることにより大きな音が発生するので、それを防止するためにエアバイパス弁39が開けられる。
上記エンジン1の他側の面には、各気筒2の燃焼室6からの排気ガスを排出する排気通路40が接続されている。この排気通路40の上流側の部分は、各気筒2毎に分岐して排気ポート13の外側端に接続された独立通路と該各独立通路が集合する集合部とを有する排気マニホールドによって構成されている。この排気マニホールドよりも下流側の排気通路40に、上記ターボ過給機20のタービン20bが配設されている。このタービン20bが排気ガス流により回転し、このタービン20bの回転により、該タービン20bと連結された上記コンプレッサ20aが作動する。
上記排気マニホールドよりも下流側でかつタービン20bよりも上流側の排気通路40は、第1通路41と、第1通路41よりも断面積が小さい第2通路42とに分割された分割部40aとされている。第1通路41の断面積と第2通路42の断面積との和は、排気マニホールドよりも下流側でかつ分割部40aよりも上流側部分の排気通路40の断面積と略同じである。
上記第1通路41には、排気カット弁43が設けられている。この排気カット弁43は、排気カット弁モータ43aの駆動によって、上記第1通路41を完全に閉じる閉状態と、完全に開く開状態とに切り換え可能に構成されている。これにより、排気通路40における分割部40a(つまりタービン20bの手前)でエンジン1の排気ガスの流速を大小2段階に切り換えることができる。すなわち、排気カット弁43の開状態では、分割部40aでの排気ガスの流速は、排気マニホールドよりも下流側でかつ分割部40aよりも上流側部分の排気通路40での排気ガスの流速と略同じであるが、閉状態では、分割部40a(第2通路42)での排気ガスの流速は、開状態のときよりも大きく(速く)なる。
上記排気カット弁43の構成については、図示を省略するが、排気カット弁駆動モータ43aにより直接駆動されてスライド移動するスライド部材と、このスライド部材のスライド移動に連動して第1通路41に対して進退する弁本体と、上記スライド部材と上記弁本体とを連結するリンク機構と、上記スライド部材のスライド位置を検出する排気カット弁ポジションセンサ43bとを有している。そして、後述のコントロールユニット100が、上記排気カット弁ポジションセンサ43bからの位置情報に基づいて排気カット弁駆動モータ43aを制御して、排気カット弁43を開状態又は閉状態にする。このような構成では、排気カット弁43を、開状態と閉状態との間の状態(中間の開度)にすることが可能であるが、本実施形態では、開状態又は閉状態にしかしない(但し、中間の開度で固着するという故障は生じ得る)。尚、本実施形態では、排気カット弁43を、排気カット弁駆動モータ43aにより駆動されるものとしたが、これに限るものではなく、例えばソレノイド弁としてもよい。この場合、排気カット弁ポジションセンサ43bをなくすことができる。
上記排気通路40には、エンジン1の排気ガス(本実施形態では、排気カット弁43により流速が大又は小に切り換えられた排気ガス)を、タービン20bをバイパスして流すための排気バイパス通路46が設けられている。この排気バイパス通路46の排気ガス流入側の端部(上流側の端部)は、排気通路40における分割部40aとタービン20bとの間の部分に接続され、排気ガス流出側の端部(下流側の端部)は、排気通路40におけるタービン20bの下流側であって後述の排気浄化装置51の上流側に接続されている。尚、排気バイパス通路46は、分割部40a及びタービン20bの両方をバイパスする(排気バイパス通路46の上流側の端部が、排気通路40における分割部40aの上流側の部分に接続される)ようにしてもよい。
排気バイパス通路46の排気ガス流入側の端部には、ウエストゲート弁47が設けられている。このウエストゲート弁47の開度が0%(全閉)であるときには、排気カット弁43により流速が切り換えられた排気ガスの全量がタービン20bへと流れ、それ以外の開度であるときには、その開度に応じて、排気バイパス通路46に流れる流量(つまりタービン20bへ流れる流量)が変化する。すなわち、ウエストゲート弁47の開度が大きいほど、排気バイパス通路46に流れる流量が多くなり、タービン20bへ流れる流量が少なくなる。尚、ウエストゲート弁47は、排気バイパス通路46の長さ方向のどこに設けられていてもよい。
ウエストゲート弁47も、排気カット弁43と同様の構成であり、ウエストゲート弁駆動モータ47aと、該ウエストゲート弁駆動モータ47aにより直接駆動されてスライド移動するスライド部材と、このスライド部材のスライド移動に連動して排気バイパス通路46の排気ガス流入側の端部に対して進退する弁本体と、上記スライド部材と上記弁本体とを連結するリンク機構と、上記スライド部材のスライド位置を検出するウエストゲート弁開度センサ47b(ポジションセンサで構成される)とを有している。
排気通路40におけるタービン20bよりも下流側(排気バイパス通路46の下流側の端部が接続される部分よりも下流側)には、排気ガス中の有害成分を浄化する排気浄化装置51が配設されている。この排気浄化装置51は、白金又は白金にパラジウムを加えたもの等を担持して排気ガス中のCO及びHCを酸化する酸化触媒52と、排気ガス中のNOxを処理(トラップ)して、NOxが大気に排出されるのを抑制するリーンNOx触媒53とを有している。リーンNOx触媒53は、酸化触媒52に対して下流側に離れて配設されている。
上記エンジン1は、その排気ガスの一部が排気通路40から吸気通路30に還流されるように、EGR通路60を備えている。このEGR通路60は、排気通路40における分割部40aの第1通路41と、吸気通路30におけるサージタンク34よりも下流側の各独立通路とを接続する。EGR通路60には、内部を通過する排気ガスを冷却するためのEGRクーラ61と、EGR通路60の断面積を変更するEGR弁62とが配設されている。このEGR弁62により、EGR通路60による排気ガスの還流量が調節される。
また、エンジン1は、燃焼室6から漏れ出たブローバイガスを吸気通路30に戻すための第1及び第2ベンチレーションホース65,66を備えている。第1ベンチレーションホース65は、シリンダブロック2の下側のクランクケース25とサージタンク34とを接続し、第2ベンチレーションホース66は、シリンダヘッド4の上部と吸気通路30におけるエアクリーナ31とコンプレッサ20aとの間の部分とを接続している。第1ベンチレーションホース65のクランクケース25側の端部には、ブローバイガスをサージタンク34側にしか流さないようにするためのチェックバルブ(図示せず)が設けられている。
図2に示すように、本実施形態では、排気カット弁43(排気カット弁駆動モータ43a)及びウエストゲート弁47(ウエストゲート弁動モータ47a)を制御する弁制御手段としてのコントロールユニット100が設けられている。このコントロールユニット100は、本実施形態では、エンジン1の作動全体を制御するものであるが、図2では、排気カット弁43及びウエストゲート弁47の制御系のみを記載している。
コントロールユニット100は、周知のマイクロコンピュータをベースとするコントローラであって、プログラムを実行する中央演算処理装置(CPU)と、例えばRAMやROMにより構成されてプログラム及びデータを格納するメモリと、電気信号の入出力をする入出力(I/O)バスと、を備えている。
そして、コントロールユニット100は、上記エンジン回転数センサ9、上記エアフローセンサ32、上記過給圧検出センサ36、上記排気カット弁ポジションセンサ43b、ウエストゲート弁開度センサ47b、及び、アクセル開度を検出するアクセル開度センサ71からのセンサ値の信号を入力して、これら入力信号に基づいて、後述の如く、排気カット弁43及びウエストゲート弁47を制御する。
コントロールユニット100は、エンジン1の運転領域に応じて排気カット弁43を開状態又は閉状態に切り換える。具体的には、本実施形態では、図3に示すように、エンジン回転数が所定回転数N1(例えば2000rpm)よりも大きい開運転領域では、排気カット弁43を開状態にし、所定回転数N1以下の閉運転領域では、排気カット弁43を閉状態にする。すなわち、排気ガス量の少ない閉運転領域(N1以下の低回転領域)では、第2通路42のみからタービン20bに排気ガスを供給することにより、分割部40a(第2通路42)での排気ガスの流速を速くして所要の過給効果を確保し、排気ガス量の多い開運転領域(N1よりも高回転領域)では、第1及び第2通路41,42からタービン20bに排気ガスを供給することにより、排圧の上昇によるエンジン出力の低下を防止するようにしている。
また、コントロールユニット100は、排気カット弁43が開状態となる開運転領域及び閉状態となる閉運転領域のそれぞれで、過給圧検出センサ36により検出される実過給圧が、エンジン1の運転状態に応じて予め設定した目標過給圧になるように、ウエストゲート弁47の開度をフィードバック制御する。したがって、コントロールユニット100は、本発明の弁制御手段を構成することになる。
上記目標過給圧は、エンジン1の運転状態であるエンジン回転数及びエンジン負荷から、コントロールユニット100の上記メモリに予め記憶しておいた第1マップに基づいて設定する。エンジン負荷は、エアフローセンサ32等からの入力信号により求めることができる。尚、上記メモリには、上記第1マップとは別に、エンジン1の運転状態であるエンジン回転数及びエンジン負荷からウエストゲート弁47の基本開度を設定するための第2マップが予め記憶されている。
図4は、コントロールユニット100によるウエストゲート弁47の開度の制御の構成を示すブロック図である。
エンジン回転数とエンジン負荷とから、上記第1マップに基づいて目標過給圧を設定するとともに、上記第2マップに基づいてウエストゲート弁47の基本開度を設定する。そして、上記目標過給圧から、過給圧検出センサ36により検出された実過給圧を引いた圧力値よりフィードバック量(開度)を求める。上記目標過給圧から上記実過給圧を引いた圧力値が正の値であれば、上記フィードバック量は負の値とし、該圧力値が大きいほどフィードバック量の絶対値が大きくなる。但し、そのフィードバック量の絶対値は、予め設定された閉じ側の最大フィードバック量で制限される。また、上記圧力値が負の値であれば、上記フィードバック量は正の値とし、該圧力値の絶対値が大きいほどフィードバック量が大きくなる。但し、そのフィードバック量は、予め設定された開き側の最大フィードバック量(本実施形態では、上記閉じ側の最大フィードバック量と同じであるが、異なっていてもよい)で制限される。
続いて、上記フィードバック量でもって上記基本開度を補正して、ウエストゲート弁47の目標開度を設定する。すなわち、上記基本開度に上記フィードバック量を加えて、目標開度を設定する。上記フィードバック量が正の値であるときには、ウエストゲート弁47を開き側に補正し、負の値であるときには、閉じ側に補正することになる。
次いで、上記設定した目標開度から、ウエストゲート弁駆動モータ47aに印加する電圧のデューティ比(駆動デューティ比)を演算し、その駆動デューティ比でもってウエストゲート弁駆動モータ47aを駆動する。このとき、ウエストゲート弁開度センサ47bにより検出された実開度に応じて、上記駆動デューティ比を調整し、その実開度と上記目標開度との偏差が小さくなるほど、上記駆動デューティ比は小さくなり、実開度が目標開度に一致すれば、駆動デューティ比は0になり、ウエストゲート弁駆動モータ47aは停止することになる。
ここで、コントロールユニット100による排気カット弁43及びウエストゲート弁47の制御動作について、図5のフローチャートにより説明する。
すなわち、最初のステップS1で、エンジン回転数センサ9、エアフローセンサ32、過給圧検出センサ36、排気カット弁ポジションセンサ43b、ウエストゲート弁開度センサ47b、及び、アクセル開度センサ71からのセンサ値を読み込む。
次のステップS2では、エアフローセンサ32による吸入空気流量等よりエンジン負荷を求めて、エンジン回転数センサ9によるエンジン回転数と、上記求めたエンジン負荷とから目標過給圧を設定する。また、それらエンジン回転数とエンジン負荷とからウエストゲート弁47の基本開度を設定する。
次のステップS3では、エンジン回転数の所定回転数N1に対する大小に応じて、排気カット弁43を開状態又は閉状態に制御する。すなわち、開運転領域では排気カット弁43を開状態にし、閉運転領域では排気カット弁43を閉状態にする。
次のステップS4では、上記目標過給圧から、過給圧検出センサ36により検出された実過給圧を引いた圧力値よりフィードバック量(開度)を算出する。
次のステップS5では、その算出したフィードバック量に基づいて上記基本開度を補正して、ウエストゲート弁47の目標開度を設定する。
次のステップS6では、上記設定した目標開度から、ウエストゲート弁駆動モータ47aへの駆動デューティ比を演算する。このとき、ウエストゲート弁開度センサ47bにより検出された実開度に応じて、上記駆動デューティ比を調整する。
次のステップS7で、その調整した駆動デューティ比でもってウエストゲート弁駆動モータ47aを駆動し、しかる後、リターンする。
本実施形態では、上記コントロールユニット100は、排気カット弁43の正常/故障を判定するようになっている。その場合、排気カット弁ポジションセンサ43bのセンサ値を用いない。これは、上記のように排気カット弁ポジションセンサ43bが、排気カット弁駆動モータ43aにより直接駆動されるスライド部材のスライド位置を検出するものであり、例えばスライド部材と弁本体とを連結するリンク機構が破損した場合、排気カット弁ポジションセンサ43bにより排気カット弁43の故障を検出することは困難であるからである。
具体的に、コントロールユニット100は、上記開運転領域及び上記閉運転領域のそれぞれにおいて、ウエストゲート弁47を閉じる側のフィードバック量(本実施形態では、負の値であるので、その絶対値とする(以下、同じ))が所定量以上であって上記実過給圧が上記目標過給圧よりも低くかつ該実過給圧と該目標過給圧との偏差が所定値以上となる(つまり、フィードバック量が大きいにも拘わらず実過給圧が低いままで目標過給圧に収束しない)異常状態が生じているか否かを判定する。尚、以下、ウエストゲート弁47を閉じる側のフィードバック量が上記所定量以上であるときの実過給圧と目標過給圧との偏差(実過給圧が目標過給圧よりも低い)を、単に偏差という。
上記所定量は、フィードバック量が負の値となる場合の上記閉じ側の最大フィードバック量に近い量であって、排気カット弁43が正常であれば、上記偏差が上記所定値よりも小さくなるような量である。尚、上記所定量を、上記閉じ側の最大フィードバック量としてもよい。上記所定量を上記閉じ側の最大フィードバック量とした場合、ウエストゲート弁47を閉じる側のフィードバック量が上記所定量以上であるとは、該フィードバック量が上記閉じ側の最大フィードバック量であることを意味する。
また、コントロールユニット100は、上記両運転領域での上記判定結果に基づいて、表1のケース1〜7の「判定」の欄に示すように、排気カット弁43の正常/故障を判定する。
表1では、上記偏差が上記所定量以上であることを「偏差大」と記載し、上記偏差が上記所定量よりも小さいことを「偏差小」と記載している。
ケース1は、開運転領域及び閉運転領域の両運転領域において、上記偏差が上記所定値よりも小さくなる場合である。この場合には、上記フィードバック制御により実過給圧が目標過給圧に制御されていることになり、ケース1では、コントロールユニット100は、排気カット弁43が正常であると判定する。また、コントロールユニット100は、上記両運転領域において、上記フィードバック量が上記所定量よりも小さい場合も、排気カット弁43が正常であると判定する。このように、表1で、「偏差小」と記載している箇所は、「偏差小」又は「上記フィードバック量が上記所定量よりも小さい」としてもよい。
ケース2は、開運転領域では上記偏差が上記所定値よりも小さくなる(又は、上記フィードバック量が上記所定量よりも小さくなる)が、閉運転領域では上記偏差が上記所定値以上となる場合である。この場合、開運転領域では排気カット弁43が開状態にあることで、上記フィードバック制御により実過給圧が目標過給圧に制御されるが、閉運転領域でも排気カット弁43が開状態にあるために、上記フィードバック量が上記所定量以上であるにも拘わらず上記偏差が上記所定値以上となる異常状態となる。したがって、ケース2では、コントロールユニット100は、排気カット弁43が開状態で固着していると判定する。すなわち、コントロールユニット100は、上記両運転領域のうち上記閉運転領域のみで上記異常状態が生じていると判定したときには、排気カット弁43が開状態で固着していると判定する。
ケース3は、閉運転領域では上記偏差が上記所定値よりも小さくなる(又は、上記フィードバック量が上記所定量よりも小さくなる)が、開運転領域では上記偏差が上記所定値以上となる場合である。この場合、閉運転領域では排気カット弁43が閉状態にあることで、上記フィードバック制御により実過給圧が目標過給圧に制御されるが、開運転領域でも排気カット弁43が閉状態にあるために、上記フィードバック量が上記所定量以上であるにも拘わらず上記偏差が上記所定値以上となる異常状態となる。したがって、ケース3では、コントロールユニット100は、排気カット弁43が閉状態で固着していると判定する。すなわち、コントロールユニット100は、上記両運転領域のうち上記開運転領域のみで上記異常状態が生じていると判定したときには、排気カット弁43が閉状態で固着していると判定する。
ここで、本実施形態では、コントロールユニット100は、上記開運転領域又は上記閉運転領域への上記運転領域の移行から第1所定時間t1(排気カット弁43の開状態又は閉状態への移行が完了するまでの時間と略同じ時間であって、例えば5秒)が経過するまでは、上記異常状態が生じているか否かの判定を行わない。すなわち、上記運転領域の移行から第1所定時間t1が経過するまでは、過給圧が安定しないため、異常状態が生じているか否かの判定を正確に行うことが困難であるので、過給圧が安定するような第1所定時間t1の経過を待つ。
ケース4は、開運転領域への移行から上記第1所定時間t1の経過後において、その開運転領域では、上記偏差が上記所定値よりも小さくなる(又は、上記フィードバック量が上記所定量よりも小さくなる)が、閉運転領域への移行から上記第1所定時間t1の経過後においては、その閉運転領域で、上記第1所定時間t1の経過時から上記第2所定時間t2(例えば15秒〜20秒)以内のみ(閉運転領域への移行後の初期のみ)で上記偏差が上記所定値以上となる異常状態となる(上記第1所定時間t1の経過時から上記第2所定時間t2経過後は、上記フィードバック量が上記所定値よりも小さくなるか又は上記所定値以上であっても上記偏差が上記所定値よりも小さくなる正常状態となる)場合である。すなわち、開運転領域から閉運転領域への移行の際、排気カット弁43が第1所定時間t1よりも長い時間かかって開状態から閉状態に移行する(但し、第1所定時間t1の経過時から上記第2所定時間t2以内に移行が完了する)場合である。この場合、閉運転領域への移行後の初期のみで異常状態になることから、コントロールユニット100は、排気カット弁43の開状態から閉状態への作動遅れ故障であると判定する。すなわち、コントロールユニット100は、上記運転領域の移行から第1所定時間t1の経過後において、該第1所定時間t1の経過時から第2所定時間t2以内のみでかつ上記両運転領域のうち上記閉運転領域のみで上記異常状態が生じていると判定したときには、排気カット弁43の開状態から閉状態への作動遅れ故障であると判定する。
ケース5は、閉運転領域への移行から上記第1所定時間t1の経過後において、その閉運転領域では、上記偏差が上記所定値よりも小さくなる(又は、上記フィードバック量が上記所定量よりも小さくなる)が、開運転領域への移行から上記第1所定時間t1の経過後においては、その開運転領域で、上記第1所定時間t1の経過時から上記第2所定時間t2以内のみ(開運転領域への移行後の初期のみ)で上記偏差が上記所定値以上となる異常状態となる(つまり、上記第1所定時間t1の経過時から上記第2所定時間t2経過後は、上記フィードバック量が上記所定値よりも小さくなるか又は上記所定値以上であっても上記偏差が上記所定値よりも小さくなる正常状態となる)場合である。すなわち、閉運転領域から開運転領域への移行の際、排気カット弁43が第1所定時間t1よりも長い時間かかって閉状態から開状態に移行する(但し、第1所定時間t1の経過時から上記第2所定時間t2以内に移行が完了する)場合である。この場合、開運転領域への移行後の初期のみで異常状態になることから、コントロールユニット100は、排気カット弁43の閉状態から開状態への作動遅れ故障であると判定する。すなわち、コントロールユニット100は、上記運転領域の移行から第1所定時間t1の経過後において、該第1所定時間t1の経過時から上記第2所定時間以内のみでかつ上記両運転領域のうち上記開運転領域のみで上記異常状態が生じていると判定したときには、排気カット弁43の閉状態から開状態への作動遅れ故障であると判定する。
ケース6は、閉運転領域への移行から上記第1所定時間t1の経過後において、その閉運転領域で、上記第1所定時間t1の経過時から上記第2所定時間t2以内のみ(閉運転領域への移行後の初期のみ)で上記偏差が上記所定値以上となる異常状態となるとともに、開運転領域への移行から上記第1所定時間t1の経過後において、その開運転領域で、上記第1所定時間t1の経過時から上記第2所定時間t2以内のみ(開運転領域への移行後の初期のみ)で上記偏差が上記所定値以上となる異常状態となる場合である。この場合、コントロールユニット100は、排気カット弁43の開状態から閉状態への作動遅れ故障及び閉状態から開状態への作動遅れ故障の両方の故障であると判定する。すなわち、コントロールユニット100は、上記運転領域の移行から上記第1所定時間の経過後において、該第1所定時間t1の経過時から第2所定時間t2以内のみでかつ上記両運転領域で上記異常状態が生じていると判定したときには、排気カット弁43の開状態から閉状態への作動遅れ故障及び閉状態から開状態への作動遅れ故障の両方の故障であると判定する。
ケース7は、上記両運転領域で上記偏差が上記所定値以上となる場合である。この場合、コントロールユニット100は、排気カット弁43が開状態と閉状態との間の状態で固着しているか、又は、排気カット弁43以外の、ウエストゲート弁47の開度のフィードバック制御系の故障(例えば、ウエストゲート弁47自体の故障、ウエストゲート弁開度センサ47bの故障等)であると判定する。すなわち、コントロールユニット100は、上記両運転領域で上記異常状態が生じていると判定したときには、排気カット弁43が開状態と閉状態との間の状態(中間の開度)で固着しているか、又は、排気カット弁43以外の、ウエストゲート弁47の開度のフィードバック制御系の故障であると判定する。
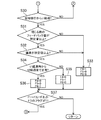
次に、上記コントロールユニット100による排気カット弁43の正常/故障の判定の制御動作について、図6及び図7のフローチャートにより説明する。
最初のステップS21で、エンジン1の運転領域が開運転領域であるか否かを判定し、このステップS21の判定がYESであるときには、ステップS22に進む一方、ステップS21の判定がNOであるときには、ステップS30に進む。
上記ステップS22では、開運転領域への領域移行から上記第1所定時間t1が経過しているか否かを判定する。このステップS22の判定がNOであるときには、上記ステップS21に戻る一方、ステップS22の判定がYESであるときには、ステップS23に進む。
上記ステップS23では、ウエストゲート弁47を閉じる側のフィードバック量が上記所定量以上であるか否かを判定する。このステップS23の判定がYESであるときには、ステップS24に進む一方、ステップS23の判定がNOであるときには、ステップS25に進む。
上記ステップS24では、上記偏差が上記所定値以上であるか否かを判定する。このステップS24の判定がNOであるときには、ステップS25に進む一方、ステップS24の判定がYESであるときには、ステップS26に進む。
上記ステップS25では、第1フラグF1を1にセットするとともに、第2及び第3フラグF2,F3を0にセットして、しかる後にステップS29に進む。
上記ステップS26では、上記第1所定時間t1の経過時から第2所定時間t2が経過した後では異常状態でない(上記フィードバック量が上記所定値よりも小さくなるか又は上記所定値以上であっても上記偏差が上記所定値よりも小さくなる正常状態である)か否かを判定する。このステップS26の判定がNOであるときには、ステップS27に進んで、第1及び第3フラグF1,F3を0にセットするとともに、第2フラグF2を1にセットして、しかる後にステップS29に進む。一方、ステップS26の判定がYESであるときには、ステップS28に進んで、第1及び第2フラグF1,F2を0にセットするとともに、第3フラグF3を1にセットして、しかる後にステップS29に進む。
上記ステップS29では、第4〜第6フラグのいずれか1つのフラグが1であるか否かを判定する。このステップS29の判定がNOであるときには、そのままリターンする一方、ステップS29の判定がYESであるときには、ステップS38に進む。
上記ステップS21の判定がNOであるときに進むステップS30では、閉運転領域への領域移行から上記第1所定時間t1が経過しているか否かを判定する。このステップS30の判定がNOであるときには、上記ステップS21に戻る一方、ステップS30の判定がYESであるときには、ステップS31に進む。
上記ステップS31では、ウエストゲート弁47を閉じる側のフィードバック量が上記所定量以上であるか否かを判定する。このステップS31の判定がYESであるときには、ステップS32に進む一方、ステップS31の判定がNOであるときには、ステップS33に進む。
上記ステップS32では、上記偏差が上記所定値以上であるか否かを判定する。このステップS32の判定がNOであるときには、ステップS33に進む一方、ステップS32の判定がYESであるときには、ステップS34に進む。
上記ステップS33では、第4フラグF1を1にセットするとともに、第5及び第6フラグF5,F6を0にセットして、しかる後にステップS37に進む。
上記ステップS34では、上記第1所定時間t1の経過時から第2所定時間t2が経過した後では異常状態でない(上記フィードバック量が上記所定値よりも小さくなるか又は上記所定値以上であっても上記偏差が上記所定値よりも小さくなる正常状態である)か否かを判定する。このステップS34の判定がNOであるときには、ステップS35に進んで、第4及び第6フラグF4,F6を0にセットするとともに、第5フラグF5を1にセットして、しかる後にステップS37に進む。一方、ステップS34の判定がYESであるときには、ステップS36に進んで、第4及び第5フラグF4,F5を0にセットするとともに、第6フラグF6を1にセットして、しかる後にステップS37に進む。
上記ステップS37では、第1〜第3フラグのいずれか1つのフラグが1であるか否かを判定する。このステップS37の判定がNOであるときには、そのままリターンする一方、ステップS37の判定がYESであるときには、ステップS38に進む。
上記ステップS38では、1であるフラグに対応して、排気カット弁43の正常/故障を判定する。
すなわち、第1フラグF1及び第4フラグF4が1である場合(つまり上記ケース1の場合)には、正常と判定する。
第1フラグF1及び第5フラグF5が1である場合(つまり上記ケース2の場合)には、排気カット弁43が開状態で固着していると判定する。
第2フラグF2及び第4フラグF4が1である場合(つまり上記ケース3の場合)には、排気カット弁43が閉状態で固着していると判定する。
第1フラグF1及び第6フラグF6が1である場合(つまり上記ケース4の場合)には、排気カット弁43の開状態から閉状態への作動遅れ故障であると判定する。
第3フラグF3及び第4フラグF4が1である場合(つまり上記ケース5の場合)には、排気カット弁43の閉状態から開状態への作動遅れ故障であると判定する。
第3フラグF3及び第6フラグF6が1である場合(つまり上記ケース6の場合)には、排気カット弁43の開状態から閉状態への作動遅れ故障及び閉状態から開状態への作動遅れ故障の両方の故障であると判定する。
第2フラグF2及び第5フラグF5が1である場合(つまり上記ケース7の場合)には、排気カット弁43が開状態と閉状態との間の状態(中間の開度)で固着しているか、又は、排気カット弁43以外の、ウエストゲート弁47の開度のフィードバック制御系の故障であると判定する。
尚、第2フラグF2が1である場合には、第5フラグF5が1でないとすると、排気カット弁43が閉状態で固着していることになるので、第6フラグF6が1(排気カット弁43の開状態から閉状態への作動遅れ故障)になることはない。同様に、第5フラグF5が1である場合には、第3フラグF3が1になることはない。
次のステップS39では、第1〜第6フラグF1〜F6を0にセットし、しかる後にリターンする。尚、上記第1〜第6フラグF1〜F6は、エンジン1の始動時にも0にセットされる。
コントロールユニット100は、排気カット弁43の故障を判定したときには、例えば、いずれの故障であっても、開運転領域及び閉運転領域の両運転領域で、上記フィードバック制御を中止してウエストゲート弁47を全開状態に保持する。或いは、排気カット弁43が開状態で固着していると判定したときには、開運転領域のみで上記フィードバック制御を行い、排気カット弁43が閉状態で固着していると判定したときには、閉運転領域のみで上記フィードバック制御を行うようにしてもよい。或いは、排気カット弁43の開状態から閉状態への作動遅れ故障であると判定したときには、排気カット弁43が閉状態になるまでは、上記フィードバック制御を中止してウエストゲート弁47を全開状態に保持し、排気カット弁43が閉状態になった後は、上記フィードバック制御を行い、排気カット弁43の閉状態から開状態への作動遅れ故障であると判定したときには、排気カット弁43が開状態になるまでは、上記フィードバック制御を中止してウエストゲート弁47を全開状態に保持し、排気カット弁43が開状態になった後は、上記フィードバック制御を行うようにしてもよい。
コントロールユニット100は、上記排気カット弁43の故障を判定したときの上記制御を、例えば、エンジン1を停止するまで継続し、その間、上記排気カット弁43の正常/故障の判定は行わない。この正常/故障の判定は、再度エンジン1を始動したときに行う。そのときに正常であると判定されれば、故障を判定するまで、上記正常/故障の判定を繰り返す。
したがって、本実施形態では、開運転領域及び閉運転領域のそれぞれにおいて、ウエストゲート弁47を閉じる側のフィードバック量が上記所定量以上であって実過給圧が目標過給圧よりも低くかつ該実過給圧と該目標過給圧との偏差が所定値以上となる異常状態が生じているか否かを判定するとともに、上記両運転領域での該判定結果に基づいて、排気カット弁43の正常/故障を判定するようにしたので、各運転領域で、ウエストゲート弁47を閉じる側のフィードバック量を考慮して、そのフィードバック量が大きいにも拘わらず実過給圧が目標過給圧に収束しない場合に異常状態であると判定するので、異常状態が生じているか否かを正確に判定することができ、また、両運転領域での、異常状態が生じているか否かの判定結果に基づいて、排気カット弁43の正常/故障を判定するので、排気カット弁43の正常/故障を正確に判定することができるようになる。
本発明は、上記実施形態に限られるものではなく、請求の範囲の主旨を逸脱しない範囲で代用が可能である。
上述の実施形態は単なる例示に過ぎず、本発明の範囲を限定的に解釈してはならない。本発明の範囲は請求の範囲によって定義され、請求の範囲の均等範囲に属する変形や変更は、全て本発明の範囲内のものである。
本発明は、エンジンの運転領域に応じて排気カット弁を開状態又は閉状態に切り換えるとともに、該排気カット弁が開状態となる開運転領域及び閉状態となる閉運転領域のそれぞれで、過給圧検出手段により検出される実過給圧が、上記エンジンの運転状態に応じて予め設定した目標過給圧になるように、ウエストゲート弁の開度をフィードバック制御する弁制御手段を備えた、ターボ過給機付エンジンの故障検出装置に有用である。
1 ターボ過給機付エンジン
20 ターボ過給機
20a コンプレッサ
20b タービン
36 過給圧検出センサ(過給圧検出手段)
43 排気カット弁
46 排気バイパス通路
47 ウエストゲート弁
100 コントロールユニット(弁制御手段)
20 ターボ過給機
20a コンプレッサ
20b タービン
36 過給圧検出センサ(過給圧検出手段)
43 排気カット弁
46 排気バイパス通路
47 ウエストゲート弁
100 コントロールユニット(弁制御手段)
Claims (6)
- エンジンの排気通路に配設されたタービンと吸気通路に配設されたコンプレッサとを有するターボ過給機と、上記排気通路における上記タービンの手前で上記エンジンの排気ガスの流速を大小2段階に切り換えるべく開状態と閉状態とに切り換え可能な排気カット弁と、上記排気ガスを、上記タービンをバイパスして流すための排気バイパス通路と、該排気バイパス通路に設けられたウエストゲート弁と、上記コンプレッサにより過給された吸入空気の過給圧を検出する過給圧検出手段と、上記エンジンの運転領域に応じて上記排気カット弁を開状態又は閉状態に切り換えるとともに、該排気カット弁が開状態となる開運転領域及び閉状態となる閉運転領域のそれぞれで、上記過給圧検出手段により検出される実過給圧が、上記エンジンの運転状態に応じて予め設定した目標過給圧になるように、上記ウエストゲート弁の開度をフィードバック制御する弁制御手段とを備えた、ターボ過給機付エンジンの故障検出装置であって、
上記弁制御手段は、上記閉運転領域及び上記開運転領域のそれぞれにおいて、上記ウエストゲート弁を閉じる側のフィードバック量が所定量以上であって上記実過給圧が上記目標過給圧よりも低くかつ該実過給圧と該目標過給圧との偏差が所定値以上となる異常状態が生じているか否かを判定するとともに、上記両運転領域での該判定結果に基づいて、上記排気カット弁の正常/故障を判定するように構成されていることを特徴とするターボ過給機付エンジンの故障検出装置。 - 請求項1記載のターボ過給機付エンジンの故障検出装置において、
上記弁制御手段は、上記両運転領域のうち上記閉運転領域のみで上記異常状態が生じていると判定したときには、上記排気カット弁が開状態で固着していると判定するように構成されていることを特徴とするターボ過給機付エンジンの故障検出装置。 - 請求項1記載のターボ過給機付エンジンの故障検出装置において、
上記弁制御手段は、上記両運転領域のうち上記開運転領域のみで上記異常状態が生じていると判定したときには、上記排気カット弁が閉状態で固着していると判定するように構成されていることを特徴とするターボ過給機付エンジンの故障検出装置。 - 請求項1〜3のいずれか1つに記載のターボ過給機付エンジンの故障検出装置において、
上記弁制御手段は、上記開運転領域又は上記閉運転領域への上記運転領域の移行から第1所定時間が経過するまでは、上記異常状態が生じているか否かの判定を行わないように構成されていることを特徴とするターボ過給機付エンジンの故障検出装置。 - 請求項4記載のターボ過給機付エンジンの故障検出装置において、
上記弁制御手段は、上記運転領域の移行から上記第1所定時間の経過後において、該第1所定時間の経過時から第2所定時間以内のみでかつ上記両運転領域のうち上記閉運転領域のみで上記異常状態が生じていると判定したときには、上記排気カット弁の開状態から閉状態への作動遅れ故障であると判定し、上記第1所定時間の経過時から上記第2所定時間以内のみでかつ上記両運転領域のうち上記開運転領域のみで上記異常状態が生じていると判定したときには、上記排気カット弁の閉状態から開状態への作動遅れ故障であると判定し、上記第1所定時間の経過時から第2所定時間以内のみでかつ上記両運転領域で上記異常状態が生じていると判定したときには、上記排気カット弁の開状態から閉状態への作動遅れ故障及び閉状態から開状態への作動遅れ故障の両方の故障であると判定するように構成されていることを特徴とするターボ過給機付エンジンの故障検出装置。 - 請求項1記載のターボ過給機付エンジンの故障検出装置において、
上記弁制御手段は、上記両運転領域で上記異常状態が生じていると判定したときには、上記排気カット弁が開状態と閉状態との間の状態で固着しているか、又は、該排気カット弁以外の、上記ウエストゲート弁の開度のフィードバック制御系の故障であると判定するように構成されていることを特徴とするターボ過給機付エンジンの故障検出装置。
Priority Applications (5)
| Application Number | Priority Date | Filing Date | Title |
|---|---|---|---|
| JP2014056831A JP6036734B2 (ja) | 2014-03-19 | 2014-03-19 | ターボ過給機付エンジンの故障検出装置 |
| DE112015001334.2T DE112015001334T5 (de) | 2014-03-19 | 2015-02-18 | Fehlerdetektor im Turbomotor |
| US15/126,975 US9777623B2 (en) | 2014-03-19 | 2015-02-18 | Failure detector of turbocharged engine |
| PCT/JP2015/000767 WO2015141130A1 (ja) | 2014-03-19 | 2015-02-18 | ターボ過給機付エンジンの故障検出装置 |
| CN201580003324.3A CN105814294B (zh) | 2014-03-19 | 2015-02-18 | 带有涡轮增压器的发动机的故障检测装置 |
Applications Claiming Priority (1)
| Application Number | Priority Date | Filing Date | Title |
|---|---|---|---|
| JP2014056831A JP6036734B2 (ja) | 2014-03-19 | 2014-03-19 | ターボ過給機付エンジンの故障検出装置 |
Publications (2)
| Publication Number | Publication Date |
|---|---|
| JP2015178810A JP2015178810A (ja) | 2015-10-08 |
| JP6036734B2 true JP6036734B2 (ja) | 2016-11-30 |
Family
ID=54144122
Family Applications (1)
| Application Number | Title | Priority Date | Filing Date |
|---|---|---|---|
| JP2014056831A Expired - Fee Related JP6036734B2 (ja) | 2014-03-19 | 2014-03-19 | ターボ過給機付エンジンの故障検出装置 |
Country Status (5)
| Country | Link |
|---|---|
| US (1) | US9777623B2 (ja) |
| JP (1) | JP6036734B2 (ja) |
| CN (1) | CN105814294B (ja) |
| DE (1) | DE112015001334T5 (ja) |
| WO (1) | WO2015141130A1 (ja) |
Families Citing this family (13)
| Publication number | Priority date | Publication date | Assignee | Title |
|---|---|---|---|---|
| JP2017201145A (ja) * | 2016-05-02 | 2017-11-09 | トヨタ自動車株式会社 | 内燃機関 |
| JP2018009474A (ja) * | 2016-07-12 | 2018-01-18 | ヤンマー株式会社 | エンジン |
| JP6393298B2 (ja) * | 2016-09-09 | 2018-09-19 | 株式会社Subaru | エンジンのブローバイガス供給装置 |
| CN108590868B (zh) * | 2017-12-22 | 2021-01-12 | 中国第一汽车股份有限公司 | 一种天然气发动机增压器控制系统的诊断方法和系统 |
| CN110284961A (zh) * | 2019-07-09 | 2019-09-27 | 西安爱生技术集团公司 | 用于航空活塞发动机增压的控制系统及控制方法 |
| CN110261127B (zh) * | 2019-07-11 | 2020-04-21 | 西南交通大学 | 发动机变截面涡轮增压器积碳卡死在线检测方法 |
| CN112943465B (zh) * | 2019-12-11 | 2023-01-06 | 联合汽车电子有限公司 | 用于废气涡轮增压器的故障诊断方法及装置 |
| JP7409145B2 (ja) * | 2020-02-21 | 2024-01-09 | 京セラドキュメントソリューションズ株式会社 | パスワード認証装置、画像処理装置、パスワード認証方法 |
| JP7310660B2 (ja) * | 2020-03-12 | 2023-07-19 | トヨタ自動車株式会社 | エンジン装置 |
| CN112943428B (zh) * | 2021-02-05 | 2022-04-19 | 广西玉柴机器股份有限公司 | 一种准确度高的发动机后处理hc喷射系统诊断方法 |
| CN113586239B (zh) * | 2021-08-27 | 2022-09-16 | 一汽解放汽车有限公司 | 发动机故障诊断方法、装置、控制器和存储介质 |
| JP7683550B2 (ja) | 2022-06-17 | 2025-05-27 | トヨタ自動車株式会社 | 車両 |
| CN118705052B (zh) * | 2024-08-27 | 2024-12-17 | 潍柴动力股份有限公司 | 卡滞故障检测方法、卡滞故障处理方法及相关装置 |
Family Cites Families (21)
| Publication number | Priority date | Publication date | Assignee | Title |
|---|---|---|---|---|
| US4774812A (en) * | 1985-04-08 | 1988-10-04 | Mazda Motor Corporation | Turbocharged engine |
| US4982567A (en) * | 1988-01-29 | 1991-01-08 | Mazda Motor Corporation | Air supply control systems for turbocharged internal combustion engines |
| JP2533630B2 (ja) * | 1989-01-20 | 1996-09-11 | マツダ株式会社 | 過給機付エンジンの制御装置 |
| JPH0772496B2 (ja) * | 1989-08-31 | 1995-08-02 | マツダ株式会社 | ターボ過給機付エンジンの排気制御装置 |
| JPH081133B2 (ja) * | 1989-09-01 | 1996-01-10 | マツダ株式会社 | ターボ過給機付エンジンの過給圧制御装置 |
| JP2815213B2 (ja) * | 1990-02-05 | 1998-10-27 | マツダ株式会社 | エンジンの燃料制御装置 |
| JPH03271523A (ja) * | 1990-03-20 | 1991-12-03 | Mazda Motor Corp | 自動変速機を備えた過給機付エンジンの制御装置 |
| JPH03271029A (ja) * | 1990-03-20 | 1991-12-03 | Mazda Motor Corp | 自動変速機を備えた過給機付エンジンの制御装置 |
| SE467634B (sv) * | 1990-05-15 | 1992-08-17 | Volvo Ab | Anordning vid turboreglering |
| JP3738604B2 (ja) * | 1999-05-31 | 2006-01-25 | いすゞ自動車株式会社 | ターボチャージャ付きエンジンの制御方法 |
| JP2003328765A (ja) * | 2002-05-10 | 2003-11-19 | Fuji Heavy Ind Ltd | ターボ過給機付エンジン |
| JP4263472B2 (ja) * | 2002-12-24 | 2009-05-13 | 富士重工業株式会社 | ターボ過給機付エンジンの制御装置 |
| JP4311021B2 (ja) * | 2003-01-16 | 2009-08-12 | 日産自動車株式会社 | 過給機付エンジンの排気制御装置 |
| US7654086B2 (en) * | 2005-06-30 | 2010-02-02 | Caterpillar Inc. | Air induction system having bypass flow control |
| US7426831B2 (en) * | 2005-10-06 | 2008-09-23 | Borgwarner Inc. | Turbo charging system |
| JP2010133303A (ja) * | 2008-12-03 | 2010-06-17 | Toyota Motor Corp | 過給機付内燃機関 |
| JP5353505B2 (ja) * | 2009-07-14 | 2013-11-27 | いすゞ自動車株式会社 | 多段過給装置 |
| JP5282695B2 (ja) * | 2009-07-28 | 2013-09-04 | 日産自動車株式会社 | 過給機付き内燃機関の制御装置 |
| AT510236B1 (de) * | 2010-07-26 | 2015-12-15 | MAN Truck & Bus Österreich AG | Verfahren zur motorbremsung |
| JP5874161B2 (ja) * | 2010-10-28 | 2016-03-02 | いすゞ自動車株式会社 | ターボ過給システム |
| EP2489851B1 (en) * | 2011-02-21 | 2016-08-17 | Ford Global Technologies, LLC | Method for operating a turbocharger arrangement and control unit for a turbocharger arrangement |
-
2014
- 2014-03-19 JP JP2014056831A patent/JP6036734B2/ja not_active Expired - Fee Related
-
2015
- 2015-02-18 WO PCT/JP2015/000767 patent/WO2015141130A1/ja not_active Ceased
- 2015-02-18 CN CN201580003324.3A patent/CN105814294B/zh not_active Expired - Fee Related
- 2015-02-18 US US15/126,975 patent/US9777623B2/en not_active Expired - Fee Related
- 2015-02-18 DE DE112015001334.2T patent/DE112015001334T5/de not_active Withdrawn
Also Published As
| Publication number | Publication date |
|---|---|
| WO2015141130A1 (ja) | 2015-09-24 |
| DE112015001334T5 (de) | 2016-12-01 |
| CN105814294B (zh) | 2018-06-29 |
| US9777623B2 (en) | 2017-10-03 |
| JP2015178810A (ja) | 2015-10-08 |
| CN105814294A (zh) | 2016-07-27 |
| US20170122194A1 (en) | 2017-05-04 |
Similar Documents
| Publication | Publication Date | Title |
|---|---|---|
| JP6036734B2 (ja) | ターボ過給機付エンジンの故障検出装置 | |
| JP4623064B2 (ja) | 過給機付き内燃機関の制御装置 | |
| JP4790244B2 (ja) | エンジンシリンダの温度制御 | |
| US10190485B2 (en) | Control apparatus for engine | |
| JP4816811B2 (ja) | 内燃機関の制御装置 | |
| CN102971512B (zh) | 引擎控制装置 | |
| JP6090215B2 (ja) | ターボ過給機付エンジンの故障検出装置 | |
| CN103547781B (zh) | 内燃机的控制装置 | |
| US20180266365A1 (en) | Exhaust gas control apparatus of internal combustion engine | |
| JP2009264335A (ja) | 内燃機関用多段過給システム | |
| JP2009216059A (ja) | 内燃機関の制御装置 | |
| JP6044572B2 (ja) | ターボ過給機付エンジンの制御装置 | |
| JP2009299623A (ja) | 内燃機関の制御装置 | |
| JP6107678B2 (ja) | 可変バルブ機構の異常診断装置 | |
| JP6154232B2 (ja) | 過給機付きエンジンの制御装置 | |
| WO2014208360A1 (ja) | エンジンの制御装置 | |
| JP2013170457A (ja) | エンジンの排気還流装置 | |
| JP2009209780A (ja) | 内燃機関の制御装置 | |
| WO2014208359A1 (ja) | エンジンの制御装置 | |
| JP2004076672A (ja) | 内燃機関の出力制御装置 |
Legal Events
| Date | Code | Title | Description |
|---|---|---|---|
| A621 | Written request for application examination |
Free format text: JAPANESE INTERMEDIATE CODE: A621 Effective date: 20160225 |
|
| TRDD | Decision of grant or rejection written | ||
| A01 | Written decision to grant a patent or to grant a registration (utility model) |
Free format text: JAPANESE INTERMEDIATE CODE: A01 Effective date: 20161004 |
|
| A61 | First payment of annual fees (during grant procedure) |
Free format text: JAPANESE INTERMEDIATE CODE: A61 Effective date: 20161017 |
|
| R150 | Certificate of patent or registration of utility model |
Ref document number: 6036734 Country of ref document: JP Free format text: JAPANESE INTERMEDIATE CODE: R150 |
|
| LAPS | Cancellation because of no payment of annual fees |
