JP5950488B1 - 半導体モジュール - Google Patents

半導体モジュール Download PDF

Info

Publication number
JP5950488B1
JP5950488B1 JP2015522811A JP2015522811A JP5950488B1 JP 5950488 B1 JP5950488 B1 JP 5950488B1 JP 2015522811 A JP2015522811 A JP 2015522811A JP 2015522811 A JP2015522811 A JP 2015522811A JP 5950488 B1 JP5950488 B1 JP 5950488B1
Authority
JP
Japan
Prior art keywords
circuit board
semiconductor element
semiconductor
rectangular parallelepiped
connector
Prior art date
Legal status (The legal status is an assumption and is not a legal conclusion. Google has not performed a legal analysis and makes no representation as to the accuracy of the status listed.)
Active
Application number
JP2015522811A
Other languages
English (en)
Other versions
JPWO2016059702A1 (ja
Inventor
康亮 池田
康亮 池田
雄司 森永
雄司 森永
理 松嵜
理 松嵜
Current Assignee (The listed assignees may be inaccurate. Google has not performed a legal analysis and makes no representation or warranty as to the accuracy of the list.)
Shindengen Electric Manufacturing Co Ltd
Original Assignee
Shindengen Electric Manufacturing Co Ltd
Priority date (The priority date is an assumption and is not a legal conclusion. Google has not performed a legal analysis and makes no representation as to the accuracy of the date listed.)
Filing date
Publication date
Application filed by Shindengen Electric Manufacturing Co Ltd filed Critical Shindengen Electric Manufacturing Co Ltd
Application granted granted Critical
Publication of JP5950488B1 publication Critical patent/JP5950488B1/ja
Publication of JPWO2016059702A1 publication Critical patent/JPWO2016059702A1/ja
Active legal-status Critical Current
Anticipated expiration legal-status Critical

Links

Images

Classifications

    • HELECTRICITY
    • H01ELECTRIC ELEMENTS
    • H01LSEMICONDUCTOR DEVICES NOT COVERED BY CLASS H10
    • H01L25/00Assemblies consisting of a plurality of semiconductor or other solid state devices
    • H01L25/03Assemblies consisting of a plurality of semiconductor or other solid state devices all the devices being of a type provided for in a single subclass of subclasses H10B, H10D, H10F, H10H, H10K or H10N, e.g. assemblies of rectifier diodes
    • H01L25/04Assemblies consisting of a plurality of semiconductor or other solid state devices all the devices being of a type provided for in a single subclass of subclasses H10B, H10D, H10F, H10H, H10K or H10N, e.g. assemblies of rectifier diodes the devices not having separate containers
    • H01L25/065Assemblies consisting of a plurality of semiconductor or other solid state devices all the devices being of a type provided for in a single subclass of subclasses H10B, H10D, H10F, H10H, H10K or H10N, e.g. assemblies of rectifier diodes the devices not having separate containers the devices being of a type provided for in group H10D89/00
    • H01L25/0657Stacked arrangements of devices
    • HELECTRICITY
    • H01ELECTRIC ELEMENTS
    • H01LSEMICONDUCTOR DEVICES NOT COVERED BY CLASS H10
    • H01L23/00Details of semiconductor or other solid state devices
    • H01L23/34Arrangements for cooling, heating, ventilating or temperature compensation ; Temperature sensing arrangements
    • H01L23/36Selection of materials, or shaping, to facilitate cooling or heating, e.g. heatsinks
    • H01L23/367Cooling facilitated by shape of device
    • HELECTRICITY
    • H01ELECTRIC ELEMENTS
    • H01LSEMICONDUCTOR DEVICES NOT COVERED BY CLASS H10
    • H01L23/00Details of semiconductor or other solid state devices
    • H01L23/34Arrangements for cooling, heating, ventilating or temperature compensation ; Temperature sensing arrangements
    • H01L23/36Selection of materials, or shaping, to facilitate cooling or heating, e.g. heatsinks
    • H01L23/367Cooling facilitated by shape of device
    • H01L23/3677Wire-like or pin-like cooling fins or heat sinks
    • HELECTRICITY
    • H01ELECTRIC ELEMENTS
    • H01LSEMICONDUCTOR DEVICES NOT COVERED BY CLASS H10
    • H01L23/00Details of semiconductor or other solid state devices
    • H01L23/34Arrangements for cooling, heating, ventilating or temperature compensation ; Temperature sensing arrangements
    • H01L23/36Selection of materials, or shaping, to facilitate cooling or heating, e.g. heatsinks
    • H01L23/373Cooling facilitated by selection of materials for the device or materials for thermal expansion adaptation, e.g. carbon
    • H01L23/3735Laminates or multilayers, e.g. direct bond copper ceramic substrates
    • HELECTRICITY
    • H01ELECTRIC ELEMENTS
    • H01LSEMICONDUCTOR DEVICES NOT COVERED BY CLASS H10
    • H01L23/00Details of semiconductor or other solid state devices
    • H01L23/48Arrangements for conducting electric current to or from the solid state body in operation, e.g. leads, terminal arrangements ; Selection of materials therefor
    • H01L23/488Arrangements for conducting electric current to or from the solid state body in operation, e.g. leads, terminal arrangements ; Selection of materials therefor consisting of soldered or bonded constructions
    • H01L23/492Bases or plates or solder therefor
    • HELECTRICITY
    • H01ELECTRIC ELEMENTS
    • H01LSEMICONDUCTOR DEVICES NOT COVERED BY CLASS H10
    • H01L23/00Details of semiconductor or other solid state devices
    • H01L23/48Arrangements for conducting electric current to or from the solid state body in operation, e.g. leads, terminal arrangements ; Selection of materials therefor
    • H01L23/488Arrangements for conducting electric current to or from the solid state body in operation, e.g. leads, terminal arrangements ; Selection of materials therefor consisting of soldered or bonded constructions
    • H01L23/495Lead-frames or other flat leads
    • H01L23/49517Additional leads
    • H01L23/49531Additional leads the additional leads being a wiring board
    • HELECTRICITY
    • H01ELECTRIC ELEMENTS
    • H01LSEMICONDUCTOR DEVICES NOT COVERED BY CLASS H10
    • H01L23/00Details of semiconductor or other solid state devices
    • H01L23/48Arrangements for conducting electric current to or from the solid state body in operation, e.g. leads, terminal arrangements ; Selection of materials therefor
    • H01L23/488Arrangements for conducting electric current to or from the solid state body in operation, e.g. leads, terminal arrangements ; Selection of materials therefor consisting of soldered or bonded constructions
    • H01L23/498Leads, i.e. metallisations or lead-frames on insulating substrates, e.g. chip carriers
    • H01L23/49833Leads, i.e. metallisations or lead-frames on insulating substrates, e.g. chip carriers the chip support structure consisting of a plurality of insulating substrates
    • HELECTRICITY
    • H01ELECTRIC ELEMENTS
    • H01LSEMICONDUCTOR DEVICES NOT COVERED BY CLASS H10
    • H01L24/00Arrangements for connecting or disconnecting semiconductor or solid-state bodies; Methods or apparatus related thereto
    • H01L24/01Means for bonding being attached to, or being formed on, the surface to be connected, e.g. chip-to-package, die-attach, "first-level" interconnects; Manufacturing methods related thereto
    • H01L24/34Strap connectors, e.g. copper straps for grounding power devices; Manufacturing methods related thereto
    • H01L24/36Structure, shape, material or disposition of the strap connectors prior to the connecting process
    • H01L24/37Structure, shape, material or disposition of the strap connectors prior to the connecting process of an individual strap connector
    • HELECTRICITY
    • H01ELECTRIC ELEMENTS
    • H01LSEMICONDUCTOR DEVICES NOT COVERED BY CLASS H10
    • H01L24/00Arrangements for connecting or disconnecting semiconductor or solid-state bodies; Methods or apparatus related thereto
    • H01L24/01Means for bonding being attached to, or being formed on, the surface to be connected, e.g. chip-to-package, die-attach, "first-level" interconnects; Manufacturing methods related thereto
    • H01L24/34Strap connectors, e.g. copper straps for grounding power devices; Manufacturing methods related thereto
    • H01L24/39Structure, shape, material or disposition of the strap connectors after the connecting process
    • H01L24/40Structure, shape, material or disposition of the strap connectors after the connecting process of an individual strap connector
    • HELECTRICITY
    • H01ELECTRIC ELEMENTS
    • H01LSEMICONDUCTOR DEVICES NOT COVERED BY CLASS H10
    • H01L25/00Assemblies consisting of a plurality of semiconductor or other solid state devices
    • H01L25/03Assemblies consisting of a plurality of semiconductor or other solid state devices all the devices being of a type provided for in a single subclass of subclasses H10B, H10D, H10F, H10H, H10K or H10N, e.g. assemblies of rectifier diodes
    • H01L25/04Assemblies consisting of a plurality of semiconductor or other solid state devices all the devices being of a type provided for in a single subclass of subclasses H10B, H10D, H10F, H10H, H10K or H10N, e.g. assemblies of rectifier diodes the devices not having separate containers
    • H01L25/065Assemblies consisting of a plurality of semiconductor or other solid state devices all the devices being of a type provided for in a single subclass of subclasses H10B, H10D, H10F, H10H, H10K or H10N, e.g. assemblies of rectifier diodes the devices not having separate containers the devices being of a type provided for in group H10D89/00
    • HELECTRICITY
    • H01ELECTRIC ELEMENTS
    • H01LSEMICONDUCTOR DEVICES NOT COVERED BY CLASS H10
    • H01L25/00Assemblies consisting of a plurality of semiconductor or other solid state devices
    • H01L25/03Assemblies consisting of a plurality of semiconductor or other solid state devices all the devices being of a type provided for in a single subclass of subclasses H10B, H10D, H10F, H10H, H10K or H10N, e.g. assemblies of rectifier diodes
    • H01L25/04Assemblies consisting of a plurality of semiconductor or other solid state devices all the devices being of a type provided for in a single subclass of subclasses H10B, H10D, H10F, H10H, H10K or H10N, e.g. assemblies of rectifier diodes the devices not having separate containers
    • H01L25/07Assemblies consisting of a plurality of semiconductor or other solid state devices all the devices being of a type provided for in a single subclass of subclasses H10B, H10D, H10F, H10H, H10K or H10N, e.g. assemblies of rectifier diodes the devices not having separate containers the devices being of a type provided for in group subclass H10D
    • H01L25/074Stacked arrangements of non-apertured devices
    • HELECTRICITY
    • H01ELECTRIC ELEMENTS
    • H01LSEMICONDUCTOR DEVICES NOT COVERED BY CLASS H10
    • H01L2224/00Indexing scheme for arrangements for connecting or disconnecting semiconductor or solid-state bodies and methods related thereto as covered by H01L24/00
    • H01L2224/01Means for bonding being attached to, or being formed on, the surface to be connected, e.g. chip-to-package, die-attach, "first-level" interconnects; Manufacturing methods related thereto
    • H01L2224/26Layer connectors, e.g. plate connectors, solder or adhesive layers; Manufacturing methods related thereto
    • H01L2224/31Structure, shape, material or disposition of the layer connectors after the connecting process
    • H01L2224/32Structure, shape, material or disposition of the layer connectors after the connecting process of an individual layer connector
    • H01L2224/321Disposition
    • H01L2224/32135Disposition the layer connector connecting between different semiconductor or solid-state bodies, i.e. chip-to-chip
    • HELECTRICITY
    • H01ELECTRIC ELEMENTS
    • H01LSEMICONDUCTOR DEVICES NOT COVERED BY CLASS H10
    • H01L2224/00Indexing scheme for arrangements for connecting or disconnecting semiconductor or solid-state bodies and methods related thereto as covered by H01L24/00
    • H01L2224/01Means for bonding being attached to, or being formed on, the surface to be connected, e.g. chip-to-package, die-attach, "first-level" interconnects; Manufacturing methods related thereto
    • H01L2224/26Layer connectors, e.g. plate connectors, solder or adhesive layers; Manufacturing methods related thereto
    • H01L2224/31Structure, shape, material or disposition of the layer connectors after the connecting process
    • H01L2224/32Structure, shape, material or disposition of the layer connectors after the connecting process of an individual layer connector
    • H01L2224/321Disposition
    • H01L2224/32135Disposition the layer connector connecting between different semiconductor or solid-state bodies, i.e. chip-to-chip
    • H01L2224/32141Disposition the layer connector connecting between different semiconductor or solid-state bodies, i.e. chip-to-chip the bodies being arranged on opposite sides of a substrate, e.g. mirror arrangements
    • HELECTRICITY
    • H01ELECTRIC ELEMENTS
    • H01LSEMICONDUCTOR DEVICES NOT COVERED BY CLASS H10
    • H01L2224/00Indexing scheme for arrangements for connecting or disconnecting semiconductor or solid-state bodies and methods related thereto as covered by H01L24/00
    • H01L2224/01Means for bonding being attached to, or being formed on, the surface to be connected, e.g. chip-to-package, die-attach, "first-level" interconnects; Manufacturing methods related thereto
    • H01L2224/26Layer connectors, e.g. plate connectors, solder or adhesive layers; Manufacturing methods related thereto
    • H01L2224/31Structure, shape, material or disposition of the layer connectors after the connecting process
    • H01L2224/32Structure, shape, material or disposition of the layer connectors after the connecting process of an individual layer connector
    • H01L2224/321Disposition
    • H01L2224/32135Disposition the layer connector connecting between different semiconductor or solid-state bodies, i.e. chip-to-chip
    • H01L2224/32145Disposition the layer connector connecting between different semiconductor or solid-state bodies, i.e. chip-to-chip the bodies being stacked
    • HELECTRICITY
    • H01ELECTRIC ELEMENTS
    • H01LSEMICONDUCTOR DEVICES NOT COVERED BY CLASS H10
    • H01L2224/00Indexing scheme for arrangements for connecting or disconnecting semiconductor or solid-state bodies and methods related thereto as covered by H01L24/00
    • H01L2224/01Means for bonding being attached to, or being formed on, the surface to be connected, e.g. chip-to-package, die-attach, "first-level" interconnects; Manufacturing methods related thereto
    • H01L2224/26Layer connectors, e.g. plate connectors, solder or adhesive layers; Manufacturing methods related thereto
    • H01L2224/31Structure, shape, material or disposition of the layer connectors after the connecting process
    • H01L2224/32Structure, shape, material or disposition of the layer connectors after the connecting process of an individual layer connector
    • H01L2224/321Disposition
    • H01L2224/32151Disposition the layer connector connecting between a semiconductor or solid-state body and an item not being a semiconductor or solid-state body, e.g. chip-to-substrate, chip-to-passive
    • HELECTRICITY
    • H01ELECTRIC ELEMENTS
    • H01LSEMICONDUCTOR DEVICES NOT COVERED BY CLASS H10
    • H01L2224/00Indexing scheme for arrangements for connecting or disconnecting semiconductor or solid-state bodies and methods related thereto as covered by H01L24/00
    • H01L2224/01Means for bonding being attached to, or being formed on, the surface to be connected, e.g. chip-to-package, die-attach, "first-level" interconnects; Manufacturing methods related thereto
    • H01L2224/34Strap connectors, e.g. copper straps for grounding power devices; Manufacturing methods related thereto
    • H01L2224/36Structure, shape, material or disposition of the strap connectors prior to the connecting process
    • H01L2224/37Structure, shape, material or disposition of the strap connectors prior to the connecting process of an individual strap connector
    • H01L2224/37001Core members of the connector
    • H01L2224/37099Material
    • H01L2224/371Material with a principal constituent of the material being a metal or a metalloid, e.g. boron [B], silicon [Si], germanium [Ge], arsenic [As], antimony [Sb], tellurium [Te] and polonium [Po], and alloys thereof
    • H01L2224/37138Material with a principal constituent of the material being a metal or a metalloid, e.g. boron [B], silicon [Si], germanium [Ge], arsenic [As], antimony [Sb], tellurium [Te] and polonium [Po], and alloys thereof the principal constituent melting at a temperature of greater than or equal to 950°C and less than 1550°C
    • H01L2224/37147Copper [Cu] as principal constituent
    • HELECTRICITY
    • H01ELECTRIC ELEMENTS
    • H01LSEMICONDUCTOR DEVICES NOT COVERED BY CLASS H10
    • H01L2224/00Indexing scheme for arrangements for connecting or disconnecting semiconductor or solid-state bodies and methods related thereto as covered by H01L24/00
    • H01L2224/01Means for bonding being attached to, or being formed on, the surface to be connected, e.g. chip-to-package, die-attach, "first-level" interconnects; Manufacturing methods related thereto
    • H01L2224/34Strap connectors, e.g. copper straps for grounding power devices; Manufacturing methods related thereto
    • H01L2224/36Structure, shape, material or disposition of the strap connectors prior to the connecting process
    • H01L2224/37Structure, shape, material or disposition of the strap connectors prior to the connecting process of an individual strap connector
    • H01L2224/3754Coating
    • H01L2224/37599Material
    • HELECTRICITY
    • H01ELECTRIC ELEMENTS
    • H01LSEMICONDUCTOR DEVICES NOT COVERED BY CLASS H10
    • H01L2224/00Indexing scheme for arrangements for connecting or disconnecting semiconductor or solid-state bodies and methods related thereto as covered by H01L24/00
    • H01L2224/80Methods for connecting semiconductor or other solid state bodies using means for bonding being attached to, or being formed on, the surface to be connected
    • H01L2224/83Methods for connecting semiconductor or other solid state bodies using means for bonding being attached to, or being formed on, the surface to be connected using a layer connector
    • H01L2224/838Bonding techniques
    • H01L2224/83801Soldering or alloying
    • HELECTRICITY
    • H01ELECTRIC ELEMENTS
    • H01LSEMICONDUCTOR DEVICES NOT COVERED BY CLASS H10
    • H01L2224/00Indexing scheme for arrangements for connecting or disconnecting semiconductor or solid-state bodies and methods related thereto as covered by H01L24/00
    • H01L2224/80Methods for connecting semiconductor or other solid state bodies using means for bonding being attached to, or being formed on, the surface to be connected
    • H01L2224/83Methods for connecting semiconductor or other solid state bodies using means for bonding being attached to, or being formed on, the surface to be connected using a layer connector
    • H01L2224/838Bonding techniques
    • H01L2224/8385Bonding techniques using a polymer adhesive, e.g. an adhesive based on silicone, epoxy, polyimide, polyester
    • HELECTRICITY
    • H01ELECTRIC ELEMENTS
    • H01LSEMICONDUCTOR DEVICES NOT COVERED BY CLASS H10
    • H01L2224/00Indexing scheme for arrangements for connecting or disconnecting semiconductor or solid-state bodies and methods related thereto as covered by H01L24/00
    • H01L2224/80Methods for connecting semiconductor or other solid state bodies using means for bonding being attached to, or being formed on, the surface to be connected
    • H01L2224/84Methods for connecting semiconductor or other solid state bodies using means for bonding being attached to, or being formed on, the surface to be connected using a strap connector
    • H01L2224/848Bonding techniques
    • H01L2224/84801Soldering or alloying
    • HELECTRICITY
    • H01ELECTRIC ELEMENTS
    • H01LSEMICONDUCTOR DEVICES NOT COVERED BY CLASS H10
    • H01L2224/00Indexing scheme for arrangements for connecting or disconnecting semiconductor or solid-state bodies and methods related thereto as covered by H01L24/00
    • H01L2224/80Methods for connecting semiconductor or other solid state bodies using means for bonding being attached to, or being formed on, the surface to be connected
    • H01L2224/84Methods for connecting semiconductor or other solid state bodies using means for bonding being attached to, or being formed on, the surface to be connected using a strap connector
    • H01L2224/848Bonding techniques
    • H01L2224/8485Bonding techniques using a polymer adhesive, e.g. an adhesive based on silicone, epoxy, polyimide, polyester
    • HELECTRICITY
    • H01ELECTRIC ELEMENTS
    • H01LSEMICONDUCTOR DEVICES NOT COVERED BY CLASS H10
    • H01L2225/00Details relating to assemblies covered by the group H01L25/00 but not provided for in its subgroups
    • H01L2225/03All the devices being of a type provided for in the same main group of the same subclass of class H10, e.g. assemblies of rectifier diodes
    • H01L2225/04All the devices being of a type provided for in the same main group of the same subclass of class H10, e.g. assemblies of rectifier diodes the devices not having separate containers
    • H01L2225/065All the devices being of a type provided for in the same main group of the same subclass of class H10
    • H01L2225/06503Stacked arrangements of devices
    • H01L2225/06506Wire or wire-like electrical connections between devices
    • HELECTRICITY
    • H01ELECTRIC ELEMENTS
    • H01LSEMICONDUCTOR DEVICES NOT COVERED BY CLASS H10
    • H01L2225/00Details relating to assemblies covered by the group H01L25/00 but not provided for in its subgroups
    • H01L2225/03All the devices being of a type provided for in the same main group of the same subclass of class H10, e.g. assemblies of rectifier diodes
    • H01L2225/04All the devices being of a type provided for in the same main group of the same subclass of class H10, e.g. assemblies of rectifier diodes the devices not having separate containers
    • H01L2225/065All the devices being of a type provided for in the same main group of the same subclass of class H10
    • H01L2225/06503Stacked arrangements of devices
    • H01L2225/06555Geometry of the stack, e.g. form of the devices, geometry to facilitate stacking
    • H01L2225/06562Geometry of the stack, e.g. form of the devices, geometry to facilitate stacking at least one device in the stack being rotated or offset
    • HELECTRICITY
    • H01ELECTRIC ELEMENTS
    • H01LSEMICONDUCTOR DEVICES NOT COVERED BY CLASS H10
    • H01L2225/00Details relating to assemblies covered by the group H01L25/00 but not provided for in its subgroups
    • H01L2225/03All the devices being of a type provided for in the same main group of the same subclass of class H10, e.g. assemblies of rectifier diodes
    • H01L2225/04All the devices being of a type provided for in the same main group of the same subclass of class H10, e.g. assemblies of rectifier diodes the devices not having separate containers
    • H01L2225/065All the devices being of a type provided for in the same main group of the same subclass of class H10
    • H01L2225/06503Stacked arrangements of devices
    • H01L2225/06572Auxiliary carrier between devices, the carrier having an electrical connection structure
    • HELECTRICITY
    • H01ELECTRIC ELEMENTS
    • H01LSEMICONDUCTOR DEVICES NOT COVERED BY CLASS H10
    • H01L2225/00Details relating to assemblies covered by the group H01L25/00 but not provided for in its subgroups
    • H01L2225/03All the devices being of a type provided for in the same main group of the same subclass of class H10, e.g. assemblies of rectifier diodes
    • H01L2225/04All the devices being of a type provided for in the same main group of the same subclass of class H10, e.g. assemblies of rectifier diodes the devices not having separate containers
    • H01L2225/065All the devices being of a type provided for in the same main group of the same subclass of class H10
    • H01L2225/06503Stacked arrangements of devices
    • H01L2225/06589Thermal management, e.g. cooling

Landscapes

  • Engineering & Computer Science (AREA)
  • Microelectronics & Electronic Packaging (AREA)
  • Power Engineering (AREA)
  • Computer Hardware Design (AREA)
  • Physics & Mathematics (AREA)
  • Condensed Matter Physics & Semiconductors (AREA)
  • General Physics & Mathematics (AREA)
  • Chemical & Material Sciences (AREA)
  • Materials Engineering (AREA)
  • Ceramic Engineering (AREA)
  • Combinations Of Printed Boards (AREA)
  • Cooling Or The Like Of Semiconductors Or Solid State Devices (AREA)

Abstract

熱伝導性を有する第一の回路基板と、第一の回路基板と対向配置された熱伝導性を有する第二の回路基板と、第二の回路基板と対向する第一の回路基板の対向面に接合された第一の半導体素子と、第一の回路基板と対向する第二の回路基板の対向面に接合された第二の半導体素子と、第一の半導体素子と第二の半導体素子とを電気接続する接続子と、を含み、接続子は、第二の半導体素子を介さずに第一の半導体素子と第二の回路基板との間に挟み込まれて第一の半導体素子と第二の回路基板とに接する部分を有する。

Description

この発明は、半導体モジュールに関する。
半導体モジュールとして、複数の半導体素子を備えたものが知られている(例えば特許文献1〜4)。
特開2011−23570号公報 特開2013−110181号公報 特開2001−156225号公報 特開2012−28398号公報
半導体モジュールにおいては、複数の半導体素子を高密度に集積することが求められている。高密度集積を可能とする技術として、複数の半導体素子を接続子を介して積層する構造が考えられている。しかし、この構造では、複数の半導体素子が接続子を介して積層方向に隣接して配置されるため、それぞれの半導体素子から放出された熱の一部が、接続子を介して、隣接する他の半導体素子に流入する。そのため、それぞれの半導体素子が、他の半導体素子から放出された熱によって加熱されてしまい、放熱性の点で課題がある。
そこで、本発明は、半導体素子の熱を効率よく放熱させることができる半導体モジュールを提供することを目的とする。
上記目的を達成するため、本発明に係る半導体モジュールは、熱伝導性を有する第一の回路基板と、前記第一の回路基板と対向配置された熱伝導性を有する第二の回路基板と、前記第二の回路基板と対向する前記第一の回路基板の対向面に接合された第一の半導体素子と、前記第一の回路基板と対向する前記第二の回路基板の対向面に接合された第二の半導体素子と、前記第一の半導体素子と前記第二の半導体素子とを電気接続する接続子と、を含み、前記接続子は、前記第二の半導体素子を介さずに前記第一の半導体素子と前記第二の回路基板との間に挟み込まれて前記第一の半導体素子と前記第二の回路基板とに接するが、前記第一の回路基板には接しない第一の素子接合部であって、前記第一の半導体素子によって前記第一の回路基板から空間的に分離されている第一の素子接合部、を有する。
本発明の半導体モジュールによれば、接続子が、第二の半導体素子を介さずに第一の半導体素子と第二の回路基板との間に挟み込まれる部分を有する。そのため、少なくとも第一の半導体素子の熱の一部が第二の半導体素子を介さずに直接第二の回路基板に伝わる。これにより、第一の半導体素子の熱が第一の回路基板と第二の回路基板との双方から効率よく放熱することができる。また、第一の半導体素子から第二の半導体素子に流入する熱が少なくなるため、第二の半導体素子が第一の半導体素子から放出された熱によって加熱されることを抑制できる。
したがって、本発明によれば、放熱性の高い半導体モジュールを提供することができる。
本発明の第一の実施形態による半導体モジュールの一例を示す図である。 図1Aの接続子を回路基板直交方向の第一の回路基板側から見た図である。 本発明の第一の実施形態による半導体モジュールの接続子が外部接続リードに接合される場合の形態を示す図である。 本発明の第二の実施形態による半導体モジュールの一例を示す図である。 図3Aの接続子を回路基板直交方向の第一の回路基板側から見た図である。 本発明の実施形態による半導体モジュールの変形例を示す図である。 図4Aの接続子を回路基板直交方向の第一の回路基板側から見た図である。 本発明の第一の実施形態による半導体モジュールの変形例を示す図である。 本発明の第二の実施形態による半導体モジュールの変形例を示す図である。
(第一の実施形態)
以下、本発明の第一の実施形態による半導体モジュールについて、図1A、図1Bおよび図2に基づいて説明する。
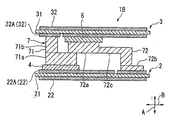
図1Aおよび図1Bに示すように、第一の実施形態による半導体モジュール1Aは、第一の回路基板2と、第一の回路基板2に対向配置された第二の回路基板3と、第一の回路基板2に接合された第一の半導体素子4と、第二の回路基板3に接合された第二の半導体素子5と、第一の半導体素子4および第二の半導体素子5を相互に電気接続する接続子6と、を備えている。
本実施形態の第一の回路基板2および第二の回路基板3は、例えば、それぞれ熱伝導性を有するセラミック基板であり、絶縁性を有する板状のセラミック板21,31と、セラミック板21,31の主面に設けられた導電層22,32と、を有している。本実施形態において、第一の回路基板2および第二の回路基板3は、セラミック板21,31の両主面に導電層22,32が設けられている。導電層22,32は、導電性を有していればよいが、例えば銅などのように電気伝導率の高い材料からなることが好ましい。
第一の回路基板2および第二の回路基板3は、これらの一方の導電層22A,32A(以下、第一の導電層22A,32Aと呼ぶ)が相互に対向するように、セラミック板21,31の厚さ方向に間隔をあけて配されている。第一の回路基板2および第二の回路基板3の第一の導電層22A,32Aは、第一の半導体素子4、第二の半導体素子5および接続子6とともに半導体モジュール1Aの回路を構成する配線パターンとして形成されている。
第一の回路基板2の第一の導電層22Aには、第一の半導体素子4が接合され、第二の回路基板3の第一の導電層32Aには、第二の半導体素子5が接合されている。
具体的には、第一の半導体素子4の一方の主面が、はんだ等の導電性接着剤(不図示)によって第一の回路基板2の第一の導電層22Aに接合され、第二の半導体素子5の一方の主面が、はんだ等の導電性接着剤(不図示)によって第二の回路基板3の第一の導電層32Aに接合されている。これにより、第一の半導体素子4が第一の回路基板2の第一の導電層22Aに電気接続され、第二の半導体素子5が第二の回路基板3の第一の導電層32Aに電気接続されている。
本実施形態では、第一の回路基板2に接合されている第一の半導体素子4の電極と、第二の回路基板3に接合されている第二の半導体素子5の電極とが互いに異なるように構成されている。
上記のように接合された第一の半導体素子4および第二の半導体素子5は、第二の回路基板3と対向する第一の回路基板2の対向面に直交する方向(図1A)において矢印Aの方向、以下、回路基板直交方向Aとする)から見て、互いに重畳しない位置に配置されている。
ここで、回路基板直交方向Aに直交する方向で、第一の半導体素子4および第二の半導体素子5が配列されている方向(図1Aにおいて矢印Bの方向)を第一の回路基板面方向Bとし、回路基板直交方向Aおよび第一の回路基板面方向Bに直交する方向(図1Bにおいて矢印Cの方向)を第二の回路基板面方向Cとして以下説明する。
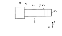
接続子6は、例えば、銅などの導電性材料から構成され、第一の半導体素子4と第二の半導体素子5とを電気接続する役割を果たす。接続子6は、第一の半導体素子4および第二の半導体素子5に接合されており、また、第一の回路基板2および第二の回路基板3の第一の導電層22A,32Aにも接合されている。
本実施形態の接続子6は、第一の半導体素子4と接合されている第一の素子接合部61と、第二の半導体素子5と接合されている第二の素子接合部62と、第一の素子接合部61と第二の素子接合部62とを接続する接続部63と、を有している。これらは、第一の素子接合部61、接続部63、第二の素子接合部62の順に第一の回路基板面方向Bの一方側から他方側に配列され、一体に形成されている。
第一の素子接合部61は、その面が回路基板直交方向A、第一の回路基板面方向Bおよび第二の回路基板面方向Cを向く略直方体状に形成されている。第一の素子接合部61は、第一の半導体素子4とは回路基板直交方向Aに重畳し、第二の半導体素子5とは重畳しないように配置されている。
第一の素子接合部61のうち、第一の半導体素子4側の端面は、はんだ等の導電性接着剤(不図示)によって第一の半導体素子4の主面に接合され、第二の回路基板3側の端面は、はんだ等の導電性接着剤(不図示)によって第二の回路基板3の第一の導電層32Aに接合されている。すなわち、第一の素子接合部61は、第二の半導体素子5を介さずに、第一の半導体素子4と第二の回路基板3との間に挟み込まれている。
接続子6の第一の素子接合部61および第二の半導体素子5は、ともに第二の回路基板3の第一の導電層32Aに接合されているが、第二の回路基板3の第一の導電層32Aにおいて、接続子6の第一の素子接合部61が接合される領域と、第二の半導体素子5が接合される領域とは、電気的に独立している。
第二の素子接合部62は、その面が回路基板直交方向A、第一の回路基板面方向Bおよび第二の回路基板面方向Cを向く略直方体状にそれぞれ形成された第一の直方体部62aおよび第二の直方体部62bと、第一の直方体部62aと第二の直方体部62bとを連結する連結部62cと、を有している。これらは、第一の直方体部62a、連結部62c、第二の直方体部62bの順に第一の回路基板面方向Bの一方側から他方側に配列され、一体に形成されている。また、第一の直方体部62a、第二の直方体部62bおよび連結部62cは、第二の回路基板面方向Cの寸法が略同じ寸法となるように形成されていて、この寸法は、第一の素子接合部61の第二の回路基板面方向Cの寸法よりも小さく設定されている。
そして、第一の直方体部62aの連結部62c側の端面と連結部62cの第一の直方体部62a側の端面とが連結されていて、連結部62cの第一の回路基板2側の端面と第二の直方体部62bの第二の回路基板3側の端面の一部とが連結されている。回路基板直交方向Aから見て、連結部62cは、第二の直方体部62bよりも第一の回路基板面方向Bの寸法が小さく形成されている。
第二の素子接合部62は、第二の半導体素子5とは回路基板直交方向Aに重畳し、第一の半導体素子4とは重畳しないように配置されている。
第一の直方体部62aのうち、第二の半導体素子5側の端面は、はんだ等の導電性接着剤(不図示)によって第二の半導体素子5の主面に接合され、第一の回路基板2側の端面は、第一の回路基板2と離間している。
第二の直方体部62bのうち、第一の回路基板2側の端面は、はんだ等の導電性接着剤(不図示)によって第一の回路基板2の第一の導電層22Aに接合され、第二の回路基板3側の端面は、第二の回路基板3と離間している。
連結部62cは、接合第一の回路基板2、第二の回路基板3、第一の半導体素子4、および第二の半導体素子5に接合されていない。
このような、第一の直方体部62a、第二の直方体部62bおよび連結部62cを有する第二の素子接合部62は、第一の半導体素子4を介さずに、第二の半導体素子5と第一の回路基板2との間に挟み込まれている。
接続子6の第二の素子接合部62および第一の半導体素子4は、ともに第一の回路基板2の第一の導電層22Aに接合されているが、第一の回路基板2の第一の導電層22Aにおいて、接続子6の第二の素子接合部62が接合される領域と、第一の半導体素子4が接合される領域とは、電気的に独立している。
接続部63は、その面が回路基板直交方向A、第一の回路基板面方向Bおよび第二の回路基板面方向Cを向く略直方体状に形成され、第一の素子接合部61および第二の素子接合部62の第一の直方体部62aとの間に配置され、第一の素子接合部61および第二の素子接合部62を接続している。なお、接続部63は、第一の回路基板2、第二の回路基板3、第一の半導体素子4、および第二の半導体素子5に接合されていない。
なお、接続子6は、外部接続リード(不図示)に接合されていてもよい。例えば、図2に示すように、接続子6に外部接続リードと接合される外部接続部64が設けられていてもよい。図2に示す外部接続部64は、第一の素子接合部61から第一の回路基板面方向Bの接続部63と離間する方向に延びる形状に形成されている。
本実施形態の半導体モジュール1Aは、例えば、半導体モジュール1Aの回路を外部に接続するための接続端子(不図示)を備えてもよい。この場合、接続端子は、例えば第一の半導体素子4、第二の半導体素子5や第一の導電層22A,32Aに接合されればよい。
以上のように構成される本実施形態の半導体モジュール1Aでは、通電により第一の半導体素子4において発生した熱が、第一の回路基板2に伝わるとともに、接続子6の第一の素子接合部61を介して第二の回路基板3に伝わる。また、第二の半導体素子5において発生した熱が、第二の回路基板3に伝わるとともに、接続子6の第二の素子接合部62を介して第一の回路基板2に伝わる。
そして、第一の回路基板2および第二の回路基板3に伝わった第一の半導体素子4および第二の半導体素子5の熱は、半導体モジュール1Aの外部に放出することが可能である。例えば、第一の回路基板2や第二の回路基板3において第一の導電層22A,32Aと反対側に位置する他方の導電層22,32にヒートシンクを接触させることで、上記した熱を半導体モジュール1Aの外部に効率よく放出することができる。
次に、上述した第一の実施形態による半導体モジュール1Aの作用・効果について図面を用いて説明する。
第一の実施形態による半導体モジュール1Aでは、第一の半導体素子4と第二の半導体素子5とが回路基板直交方向Aに互いに重畳しない位置に配置されていて、接続子6が第二の半導体素子5を介さずに第一の半導体素子4と第二の回路基板3との間に挟み込まれた第一の素子接合部61を有する。これにより、第一の半導体素子4の熱を第二の半導体素子5を介さずに直接第二の回路基板3に伝えることができる。
また、接続子6が第一の半導体素子4を介さずに第二の半導体素子5と第一の回路基板2との間に挟み込まれた第二の素子接合部62を有することにより、第二の半導体素子5の熱を第一の半導体素子4を介さずに直接第一の回路基板2に伝えることができる。
このため、第一の半導体素子4および第二の半導体素子5の熱を、第一の回路基板2と第二の回路基板3との双方から効率よく放熱させることができる。
また、第一の半導体素子4から放出された熱は第二の半導体素子5にほとんど流入しないため、第一の半導体素子4から放出された熱によって第二の半導体素子5が加熱されることを抑制できる。また、同様にして、第二の半導体素子5から放出された熱は第一の半導体素子4にほとんど流入しないため、第二の半導体素子5から放出された熱によって第一の半導体素子4が加熱されることを抑制できる。
以上のことから、放熱性の高い半導体モジュール1Aを提供することができる。
(第二の実施形態)
次に、第二の実施形態について、添付図面に基づいて説明するが、上述の第一の実施形態と同一又は同様な部材、部分には同一の符号を用いて説明を省略し、第一の実施形態と異なる構成について説明する。
図3Aおよび図3Bに示すように、第二の実施形態による半導体モジュール1Bは、第一の半導体素子4の一部と第二の半導体素子5の一部とが、回路基板直交方向Aに重畳するように配置されている。回路基板直交方向Aから見て第一の半導体素子4と第二の半導体素子5とが重畳する面積は、例えば、第一の半導体素子4の面積の1/3〜1/2であるとよい。
本実施形態では、接続子7が、第一の半導体素子4と接合されている第一の素子接合部71と、第二の半導体素子5と接合されている第二の素子接合部72と、を有している。第一の素子接合部71および第二の素子接合部72は、一体に形成されている。
第一の素子接合部71は、その面が回路基板直交方向A、第一の回路基板面方向Bおよび第二の回路基板面方向Cを向く略直方体状にそれぞれ形成された第一の直方体部71aおよび第二の直方体部71bを有している。これらは、第一の直方体部71a、第二の直方体部71bの順に、回路基板直交方向Aの第一の回路基板2側から第二の回路基板3側に配列され、一体に形成されている。また、第一の直方体部71aおよび第二の直方体部71bは、第二の回路基板面方向Cの寸法が略同じ寸法となるように形成されている。
そして、第一の直方体部71aの第二の回路基板3側の端面の一部と、第二の直方体部71bの第一の回路基板2側の端面とが連結されている。回路基板直交方向Aから見て、第一の直方体部71aは、第二の直方体部71bよりも第一の回路基板面方向Bの寸法が大きく形成されている。
第一の直方体部71aのうち、第一の半導体素子4側の端面は、はんだ等の導電性接着剤(不図示)によって第一の半導体素子4の主面に接合され、第二の回路基板3側の端面は、一部が第二の直方体部71bと接合され、他の一部が第二の素子接合部72と接合され、これら以外の部分は、何も接合されておらず、第二の回路基板3および第二の半導体素子5と離間している。
第二の直方体部71bのうち、第二の回路基板3側の端面は、はんだ等の導電性接着剤(不図示)によって第二の回路基板3の第一の導電層32Aに接合され、第一の回路基板2側の端面は、第一の直方体部71aに接合されている。
このような、第一の直方体部71a、第二の直方体部71bを有する第一の素子接合部71は、第二の半導体素子5を介さずに、第一の半導体素子4と第二の回路基板3との間に挟み込まれている。
接続子7の第一の素子接合部71および第二の半導体素子5は、ともに第二の回路基板3の第一の導電層32Aに接合されているが、第二の回路基板3の第一の導電層32Aにおいて、接続子7の第一の素子接合部71が接合される領域と、第二の半導体素子5が接合される領域とは、電気的に独立している。
第二の素子接合部72は、その面が回路基板直交方向A、第一の回路基板面方向Bおよび第二の回路基板面方向Cを向く略直方体状にそれぞれ形成された第一の直方体部72aおよび第二の直方体部72bと、第一の直方体部72aと第二の直方体部72bとを連結する連結部72cと、を有している。これらは、第一の直方体部72a、連結部72c、第二の直方体部72bの順に第一の回路基板面方向Bの一方側から他方側に配列され、一体に形成されている。また、第一の直方体部72a、第二の直方体部72bおよび連結部72cは、第二の回路基板面方向Cの寸法が略同じ寸法となるように形成されている。この寸法は、第一の素子接合部61の第二の回路基板面方向Cの寸法よりも小さく設定されている。
そして、第一の直方体部72aの連結部72c側の端面と連結部72cの第一の直方体部72a側の端面とが連結されていて、連結部72cの第一の回路基板2側の端面と第二の直方体部72bの第二の回路基板3側の端面の一部とが連結されている。回路基板直交方向Aから見て、連結部72cは、第二の直方体部72bよりも第一の回路基板面方向Bの寸法が小さく形成されている。
第一の直方体部72aのうち、第二の半導体素子5側の端面は、はんだ等の導電性接着剤(不図示)によって第二の半導体素子5の主面に接合され、第一の回路基板2側の端面は、第一の回路基板2と離間している。
第二の直方体部72bのうち、第一の回路基板2側の端面は、はんだ等の導電性接着剤(不図示)によって第一の回路基板2の第一の導電層22Aに接合され、第二の回路基板3側の端面は、第二の回路基板3と離間している。
連結部72cは、第一の回路基板2、第二の回路基板3、第一の半導体素子4、および第二の半導体素子5に接合されていない。
このような、第一の直方体部72a、第二の直方体部72bおよび連結部72cを有する第二の素子接合部72は、第一の半導体素子4を介さずに、第二の半導体素子5と第一の回路基板2との間に挟み込まれている。
接続子7の第二の素子接合部72および第一の半導体素子4は、ともに第一の回路基板2の第一の導電層22Aに接合されているが、第一の回路基板2の第一の導電層22Aにおいて、接続子7の第二の素子接合部72が接合される領域と、第一の半導体素子4が接合される領域とは、電気的に独立している。
このような接続子7は、第一の半導体素子4と第二の半導体素子5とが回路基板直交方向Aに重畳する部分において、第一の素子接合部71の第一の直方体部71aと第二の素子接合部72の第一の直方体部72aとが接続されている。
以上のように構成される本実施形態の半導体モジュール1Bでは、第一の実施形態の場合と同様に、第一の半導体素子4において発生した熱が、第一の回路基板2に伝わるとともに、接続子7の第一の素子接合部71を介して第二の回路基板3に伝わる。また、第二の半導体素子5において発生した熱が、第二の回路基板3に伝わるとともに、接続子7の第二の素子接合部72を介して第一の回路基板2に伝わる。
そして、第一の回路基板2および第二の回路基板3に伝わった第一の半導体素子4および第二の半導体素子5の熱は、半導体モジュール1Bの外部に放出することが可能である。
第二の実施形態による半導体モジュール1Bによれば、第一の実施形態と同様の効果を奏する。
また、本実施形態の半導体モジュール1Bによれば、第一の半導体素子4の一部と第二の半導体素子5の一部とが、回路基板直交方向Aに重畳するように配置されていることにより、第一の実施形態の半導体モジュール1Aと比較して、回路基板直交方向Aから見た大きさを小さくすることができる。すなわち、半導体モジュール1Bの小型化を図ることができる。
以上、本発明による半導体モジュールの実施形態について説明したが、本発明は上記の実施形態に限定されるものではなく、その趣旨を逸脱しない範囲で適宜変更可能である。
例えば、上記の実施形態では、第一の回路基板2および第二の回路基板3の導電層は、セラミック板21,31の両主面に設けられているが、セラミック板21,31の一方の主面のみに設けられてもよい。
また、第一の回路基板2と第二の回路基板3との間には、例えば第一の半導体素子4、第二の半導体素子5および接続子6,7を封止する封止樹脂が設けられてもよい。
また、第一の回路基板2および第二の回路基板3は、少なくとも熱伝導性を有するとともに、第一の半導体素子4や第二の半導体素子5と電気接続するための導電性を有していればよい。したがって、第一の回路基板2および第二の回路基板3は、セラミック基板に限らず、例えばアルミ基板であってもよい。
また、上記の第二の実施形態では、第一の半導体素子4と第二の半導体素子5とが、それぞれの一部どうしが回路基板直交方向Aに重畳するように配置されているが、例えば、図4Aおよび図5Bに示す半導体モジュール1Cのように、回路基板直交方向Aから見て、第一の半導体素子4が第二の半導体素子5よりも大きく形成されていて、第一の半導体素子4の一部と第二の半導体素子5の全体あるいは略全体とが回路基板直交方向Aに重畳するように配置されてもよい。この構成であっても、第一の半導体素子4と第二の半導体素子5とを電気接続する接続子8は、少なくとも第二の半導体素子5を介さずに第一の半導体素子4と第二の回路基板3との間に挟み込まれて第一の半導体素子4と第二の回路基板3とに接する部分を有していればよい。
また、上記の第一の実施形態では、第二の素子接合部62は、第一の直方体部62a、第二の直方体部62bおよび連結部62cを有している。これに対し、図5に示す半導体モジュール1Dように、第二の素子接合部62Dが第二の直方体部62bおよび連結部62cを有さず、第一の直方体部62aを有する形態で、第一の直方体部62aのうちの第二の半導体素子5側の端面がはんだ等の導電性接着剤(不図示)によって第二の半導体素子5の主面に接合され、第一の回路基板2側の端面がはんだ等の導電性接着剤(不図示)によって第一の回路基板2の第一の導電層22Aに接合されていてもよい。
このような場合にも、第二の半導体素子5において発生した熱を、第二の回路基板3だけではく、接続子6の第二の素子接合部62Dを介して第一の回路基板2にも伝えることができる。
また、上記の第二の実施形態では、第二の素子接合部72は、第一の直方体部72a、第二の直方体部72bおよび連結部72cを有している。これに対し、図6に示す半導体モジュール1Eように、ように、第二の素子接合部72Eが連結部72cを有さず、第一の直方体部72aおよび第二の直方体部72bを備えた形態で、第一の直方体部72aのうちの第二の半導体素子5側の端面がはんだ等の導電性接着剤(不図示)によって第二の半導体素子5の主面に接合され、第一の回路基板2側の端面の一部が第二の直方体部72bの第二の回路基板3側の端面の一部と接合され、第二の直方体部72bのうちの第一の回路基板2側の端面がはんだ等の導電性接着剤(不図示)によって第一の回路基板2の第一の導電層22Aに接合されていてもよい。
このような場合にも、第二の半導体素子5において発生した熱を、第二の回路基板3だけではく、接続子7の第二の素子接合部72Eを介して第一の回路基板2にも伝えることができる。
また、上記の実施形態では、接続子6,7,8は、略直方体状の部材が組み合わさった形状に形成されているが、略円柱状や断面形状が略Z字型状、棒状や板状などの部材が組み合わさった形状など適宜好ましい形状に形成されてよい。
1A〜1E 半導体モジュール
2 第一の回路基板
3 第二の回路基板
4 第一の半導体素子
5 第二の半導体素子
6,7,8 接続子
A 回路基板直交方向

Claims (5)

  1. 熱伝導性を有する第一の回路基板と、
    前記第一の回路基板と対向配置された熱伝導性を有する第二の回路基板と、
    前記第二の回路基板と対向する前記第一の回路基板の対向面に接合された第一の半導体素子と、
    前記第一の回路基板と対向する前記第二の回路基板の対向面に接合された第二の半導体素子と、
    熱伝導性を有し、前記第一の半導体素子と前記第二の半導体素子とを電気接続する接続子と、を含み、
    前記接続子は、前記第二の半導体素子を介さずに前記第一の半導体素子と前記第二の回路基板との間に挟み込まれて前記第一の半導体素子と前記第二の回路基板とに接するが、前記第一の回路基板には接しない第一の素子接合部であって、前記第一の半導体素子によって前記第一の回路基板から空間的に分離されている第一の素子接合部、を有する半導体モジュール。
  2. 前記接続子は、前記第一の半導体素子を介さずに前記第二の半導体素子と前記第一の回路基板との間に挟み込まれて前記第二の半導体素子と前記第一の回路基板とに接するが、前記第二の回路基板には接しない第二の素子接合部であって、前記第二の半導体素子によって前記第二の回路基板から空間的に分離されている第二の素子接合部、を有する請求項1に記載の半導体モジュール。
  3. 前記第一の半導体素子と前記第二の半導体素子は、前記第一の回路基板の対向面と直交する方向から見て、互いに重畳しない位置に配置されている請求項2に記載の半導体モジュール。
  4. 前記第一の半導体素子において発生した熱は、第一の回路基板に伝わるとともに、接続子の第一の素子接合部を介して第二の回路基板に伝わる請求項1に記載の半導体モジュール。
  5. 前記第二の半導体素子において発生した熱は、第二の回路基板に伝わるとともに、接続子の第二の素子接合部を介して第一の回路基板に伝わる請求項2に記載の半導体モジュール。
JP2015522811A 2014-10-16 2014-10-16 半導体モジュール Active JP5950488B1 (ja)

Applications Claiming Priority (1)

Application Number Priority Date Filing Date Title
PCT/JP2014/077545 WO2016059702A1 (ja) 2014-10-16 2014-10-16 半導体モジュール

Publications (2)

Publication Number Publication Date
JP5950488B1 true JP5950488B1 (ja) 2016-07-13
JPWO2016059702A1 JPWO2016059702A1 (ja) 2017-04-27

Family

ID=55746272

Family Applications (1)

Application Number Title Priority Date Filing Date
JP2015522811A Active JP5950488B1 (ja) 2014-10-16 2014-10-16 半導体モジュール

Country Status (5)

Country Link
US (1) US9704828B2 (ja)
EP (1) EP3208838B1 (ja)
JP (1) JP5950488B1 (ja)
CN (1) CN105723508B (ja)
WO (1) WO2016059702A1 (ja)

Families Citing this family (8)

* Cited by examiner, † Cited by third party
Publication number Priority date Publication date Assignee Title
JPWO2018047485A1 (ja) * 2016-09-06 2019-06-24 ローム株式会社 パワーモジュールおよびインバータ装置
JP6509429B2 (ja) * 2017-05-19 2019-05-08 新電元工業株式会社 電子モジュール
CN110612604A (zh) * 2017-05-19 2019-12-24 新电元工业株式会社 电子模块
JP6602981B2 (ja) * 2017-08-24 2019-11-06 新電元工業株式会社 半導体装置
WO2019053840A1 (ja) * 2017-09-14 2019-03-21 新電元工業株式会社 電子モジュール及び電子モジュールの製造方法
KR102729116B1 (ko) * 2018-01-11 2024-11-13 주식회사 아모센스 전력 반도체 모듈
JP7025948B2 (ja) * 2018-02-13 2022-02-25 ローム株式会社 半導体装置および半導体装置の製造方法
US11776937B2 (en) 2018-07-04 2023-10-03 Shindengen Electric Manufacturing Co., Ltd. Electronic module

Citations (6)

* Cited by examiner, † Cited by third party
Publication number Priority date Publication date Assignee Title
US20080303138A1 (en) * 2007-06-08 2008-12-11 Continental Automotive Systems Us, Inc. Insulated gate bipolar transistor
US20100301496A1 (en) * 2009-05-28 2010-12-02 Texas Instruments Incorporated Structure and Method for Power Field Effect Transistor
WO2011064841A1 (ja) * 2009-11-25 2011-06-03 トヨタ自動車株式会社 半導体装置の冷却構造
JP2011114176A (ja) * 2009-11-27 2011-06-09 Mitsubishi Electric Corp パワー半導体装置
JP2012248658A (ja) * 2011-05-27 2012-12-13 Aisin Seiki Co Ltd 半導体装置
JP2014127538A (ja) * 2012-12-26 2014-07-07 Meidensha Corp 半導体モジュール

Family Cites Families (11)

* Cited by examiner, † Cited by third party
Publication number Priority date Publication date Assignee Title
JP3525832B2 (ja) 1999-11-24 2004-05-10 株式会社デンソー 半導体装置
US7345885B2 (en) * 2004-12-22 2008-03-18 Hewlett-Packard Development Company, L.P. Heat spreader with multiple stacked printed circuit boards
US7615854B2 (en) * 2005-11-03 2009-11-10 International Rectifier Corporation Semiconductor package that includes stacked semiconductor die
US7592688B2 (en) * 2006-01-13 2009-09-22 International Rectifier Corporation Semiconductor package
TWI457068B (zh) * 2006-06-05 2014-10-11 Corsair Memory 記憶體系統及熱強化記憶體模組之方法
US7606034B2 (en) * 2006-06-05 2009-10-20 Corsair Memory Thermally enhanced memory module
JP5293473B2 (ja) 2009-07-16 2013-09-18 富士電機株式会社 半導体パワーモジュール
JP2012028398A (ja) 2010-07-20 2012-02-09 Denso Corp 半導体装置
KR101321170B1 (ko) * 2010-12-21 2013-10-23 삼성전기주식회사 패키지 및 이의 제조 방법
JP5484429B2 (ja) 2011-11-18 2014-05-07 三菱電機株式会社 電力変換装置
US9059009B2 (en) * 2012-02-09 2015-06-16 Fuji Electric Co., Ltd. Semiconductor device

Patent Citations (6)

* Cited by examiner, † Cited by third party
Publication number Priority date Publication date Assignee Title
US20080303138A1 (en) * 2007-06-08 2008-12-11 Continental Automotive Systems Us, Inc. Insulated gate bipolar transistor
US20100301496A1 (en) * 2009-05-28 2010-12-02 Texas Instruments Incorporated Structure and Method for Power Field Effect Transistor
WO2011064841A1 (ja) * 2009-11-25 2011-06-03 トヨタ自動車株式会社 半導体装置の冷却構造
JP2011114176A (ja) * 2009-11-27 2011-06-09 Mitsubishi Electric Corp パワー半導体装置
JP2012248658A (ja) * 2011-05-27 2012-12-13 Aisin Seiki Co Ltd 半導体装置
JP2014127538A (ja) * 2012-12-26 2014-07-07 Meidensha Corp 半導体モジュール

Also Published As

Publication number Publication date
EP3208838A1 (en) 2017-08-23
US20160254250A1 (en) 2016-09-01
EP3208838A4 (en) 2018-05-30
EP3208838B1 (en) 2021-11-24
WO2016059702A1 (ja) 2016-04-21
CN105723508A (zh) 2016-06-29
US9704828B2 (en) 2017-07-11
JPWO2016059702A1 (ja) 2017-04-27
CN105723508B (zh) 2018-06-12

Similar Documents

Publication Publication Date Title
JP5950488B1 (ja) 半導体モジュール
US10159166B2 (en) Heat dissipating structure
JP2013540371A5 (ja)
CN101047172B (zh) 具有连接装置的紧凑型功率半导体模块
WO2016079921A1 (ja) 半導体装置およびそれを用いた電子部品
US10187970B2 (en) Multilayer substrate
CN106796843A (zh) 具有能够导热的连接元件的电容的器件
CN106165134A (zh) 热电转换模块
JP2007165620A (ja) 半導体冷却構造
JP7124795B2 (ja) 電子部品モジュール、電子部品ユニット、および、電子部品モジュールの製造方法
WO2016157387A1 (ja) 半導体装置
JP6452482B2 (ja) 電子モジュール
CN104854965A (zh) 器件载体和器件载体装置
JP6069945B2 (ja) 熱電ユニット
US10251256B2 (en) Heat dissipating structure
JP5793295B2 (ja) 半導体装置
JP2015069982A (ja) パワーモジュール
JP2003318455A (ja) ペルチェ素子とその製造方法
JP6336106B2 (ja) 放熱構造
JP2016111141A (ja) 半導体装置
WO2016067390A1 (ja) 放熱構造
WO2015098498A1 (ja) 電子機器
JP2019003971A (ja) 半導体装置
JP6007506B2 (ja) 圧電トランス装置
TWI534982B (zh) Chip Stacking Structure Using Bond Sheet Adhesive Technology

Legal Events

Date Code Title Description
A529 Written submission of copy of amendment under article 34 pct

Free format text: JAPANESE INTERMEDIATE CODE: A5211

Effective date: 20150430

A621 Written request for application examination

Free format text: JAPANESE INTERMEDIATE CODE: A621

Effective date: 20150430

TRDD Decision of grant or rejection written
A01 Written decision to grant a patent or to grant a registration (utility model)

Free format text: JAPANESE INTERMEDIATE CODE: A01

Effective date: 20160510

A61 First payment of annual fees (during grant procedure)

Free format text: JAPANESE INTERMEDIATE CODE: A61

Effective date: 20160606

R150 Certificate of patent or registration of utility model

Ref document number: 5950488

Country of ref document: JP

Free format text: JAPANESE INTERMEDIATE CODE: R150