JP5748552B2 - エアバッグ - Google Patents

エアバッグ Download PDF

Info

Publication number
JP5748552B2
JP5748552B2 JP2011106344A JP2011106344A JP5748552B2 JP 5748552 B2 JP5748552 B2 JP 5748552B2 JP 2011106344 A JP2011106344 A JP 2011106344A JP 2011106344 A JP2011106344 A JP 2011106344A JP 5748552 B2 JP5748552 B2 JP 5748552B2
Authority
JP
Japan
Prior art keywords
airbag
passage portion
communication port
main body
longitudinal direction
Prior art date
Legal status (The legal status is an assumption and is not a legal conclusion. Google has not performed a legal analysis and makes no representation as to the accuracy of the status listed.)
Active
Application number
JP2011106344A
Other languages
English (en)
Other versions
JP2012236491A (ja
Inventor
吉田 光宏
光宏 吉田
琢己 谷地
琢己 谷地
Current Assignee (The listed assignees may be inaccurate. Google has not performed a legal analysis and makes no representation or warranty as to the accuracy of the list.)
Nihon Plast Co Ltd
Original Assignee
Nihon Plast Co Ltd
Priority date (The priority date is an assumption and is not a legal conclusion. Google has not performed a legal analysis and makes no representation as to the accuracy of the date listed.)
Filing date
Publication date
Application filed by Nihon Plast Co Ltd filed Critical Nihon Plast Co Ltd
Priority to JP2011106344A priority Critical patent/JP5748552B2/ja
Publication of JP2012236491A publication Critical patent/JP2012236491A/ja
Application granted granted Critical
Publication of JP5748552B2 publication Critical patent/JP5748552B2/ja
Active legal-status Critical Current
Anticipated expiration legal-status Critical

Links

Images

Landscapes

  • Air Bags (AREA)

Description

本発明は、車室の所定面を覆い前記車室の乗員に対向して面状に展開可能なエアバッグに関する。
従来、膨張ガスを導入して膨張展開するエアバッグを備えたエアバッグ装置について、自動車の車内側のドアなどの開口を覆って前後方向にエアバッグを展開する、いわゆるカーテンエアバッグ装置が知られている。このようなエアバッグは、長手状に形成された袋状のエアバッグ本体部と、このエアバッグ本体部内に一部が配設されて膨張ガスをエアバッグ本体部内に案内するガス供給部であるインナチューブとを備えている。
そして、エアバッグ本体部は、通常時、細長く折り畳まれるように圧縮された状態で、車内側開口の上縁部の周縁に沿って収納されている。そして、側面衝突や横転(ロールオーバー)などの衝撃を受けた際に、インフレータからインナチューブを介して膨張ガスが供給されてエアバッグ本体部が下方に向かって膨張展開して車内側開口を覆うことで、乗員を拘束してその頭部などを保護するように構成されている。
このようなエアバッグとして、エアバッグ本体部内に、インナチューブの軸方向に沿って複数の膨張部を備え、これら膨張部と対向する位置においてインナチューブに流入口を開口させた構成が知られている。そして、エアバッグ本体部を長手方向に沿って均一に展開させるために、インナチューブをエアバッグ本体部の長手方向に沿って長手状に形成するとともに、エアバッグ本体部の膨張ガスを流したい箇所に対応して流入口の位置を設定している(例えば、特許文献1参照。)。
特開2002−331899号公報 (第3−6頁、図1−4)
しかしながら、上述のエアバッグでは、インナチューブの流入口からは、エアバッグ本体部の長手方向に対して交差(直交)する短手方向へと膨張ガスが高圧で吹き出される。そのため、膨張ガスからエアバッグ本体部を保護するように、インナチューブの流入口の開口寸法を小さくすることが考えられるものの、流入口の開口寸法を小さくして開口の数を増加させるなどの調整が必要となるので、製造時の管理が煩雑となり、製造コストの削減を図ることが容易でない。
また、インナチューブに複数の流入口を設けるので、インナチューブの長手方向の両端への膨張ガスの流れが低下し、膨張ガスがインナチューブの両端に到達するまでに時間を要する。そのため、長尺なエアバッグ本体部を長手方向に膨張させ、下方の所定の位置に円滑に展開させることが容易でない。
本発明は、このような点に鑑みなされたもので、エアバッグ本体部を所定の位置に円滑に展開させることができるとともに、膨張ガスの圧力からエアバッグ本体部を保護できるエアバッグを提供することを目的とする。
請求項1記載のエアバッグは、膨張ガスの導入により膨張する膨張部を備え、長手状に設けられ、車室の所定面を覆い前記車室の乗員に対向して展開可能な袋状のエアバッグ本体部と、このエアバッグ本体部とは別個に設けられ、このエアバッグ本体部の内部にこのエアバッグ本体部の展開用の膨張ガスを供給するガス供給部とを具備し、前記ガス供給部は、膨張ガスが導入される導入口と、この導入口から導入された膨張ガスを前記エアバッグ本体部の長手方向に沿って導いてこのエアバッグ本体部内に供給する通路部と、この通路部に前記エアバッグ本体部の長手方向と交差する方向に向けて設けられた連通口と、この連通口に少なくとも一部が対向し、この連通口を介して前記エアバッグ本体部内に供給される膨張ガスの一部の流れ方向を規制して膨張ガスの前記エアバッグ本体部の長手方向と交差する方向への流れを低減する方向規制部とを備え、前記方向規制部の下方に前記膨張部が位置しているものである。
請求項2記載のエアバッグは、請求項1記載のエアバッグにおいて、方向規制部は、少なくとも一部が連通口に対向して通路部の外部に位置し、前記連通口から前記通路部の外部に出た膨張ガスをエアバッグ本体部の長手方向に導く外側通路部であるものである。
請求項3記載のエアバッグは、請求項1記載のエアバッグにおいて、方向規制部は、少なくとも一部が連通口に対向して通路部の外部に位置し、前記連通口から前記通路部の外部に出た膨張ガスをエアバッグ本体部の長手方向に導く第1外側通路部と、この第1外側通路部の一部を覆い、この第1外側通路部の外部に出た膨張ガスの少なくとも一部を前記エアバッグ本体部の長手方向に導く第2外側通路部とを備えているものである。
請求項4記載のエアバッグは、請求項1記載のエアバッグにおいて、方向規制部は、エアバッグ本体部の長手方向に沿って通路部の一部を導入口と連通口との間で仕切り、前記導入口から前記通路部に導入された膨張ガスの一部の前記連通口への流れを迂回させる仕切り部であるものである。
請求項1記載のエアバッグによれば、エアバッグ本体部とは別個に設けたガス供給部の通路部によってエアバッグ本体部の長手方向に膨張ガスを導いてエアバッグ本体部の膨張部内に供給することにより、エアバッグ本体部の長手方向両端に膨張ガスを確実に供給して、エアバッグ本体部を所定の位置に円滑に展開させることができるとともに、この通路部にエアバッグ本体部の長手方向と交差する方向に向けて連通口を設け、この連通口に少なくとも一部が対向する方向規制部によって膨張ガスの一部の流れ方向を規制することで連通口を介してエアバッグ本体部内に供給される膨張ガスのエアバッグ本体部の長手方向と交差する方向への流れを低減することにより、膨張ガスの圧力からエアバッグ本体部を保護できる。
請求項2記載のエアバッグによれば、請求項1記載のエアバッグの効果に加え、外側通路部の少なくとも一部を連通口に対向させて通路部の外部に配置して、連通口から通路部の外部に出た膨張ガスをエアバッグ本体部の長手方向に導くことにより、通路部と外側通路部との二層構造によって、連通口から通路部の外部に出た膨張ガスのエアバッグ本体部の長手方向と交差する方向への流れをより確実に低減できる。
請求項3記載のエアバッグによれば、請求項1記載のエアバッグの効果に加え、第1外側通路部の少なくとも一部を連通口に対向させて通路部の外部に配置して、連通口から通路部の外部に出た膨張ガスをエアバッグ本体部の長手方向に導くとともに、この第1外側通路部から出た膨張ガスの少なくとも一部を、第1外側通路部の一部を覆う第2外側通路部によってエアバッグ本体部の長手方向にさらに導くことにより、通路部、第1外側通路部及び第2外側通路部の三層構造によって、連通口から通路部の外部に出た膨張ガスのエアバッグ本体部の長手方向と交差する方向への流れをより確実に低減できる。
請求項4記載のエアバッグによれば、請求項1記載のエアバッグの効果に加え、仕切り部によって、エアバッグ本体部の長手方向に沿って通路部の一部を導入口と連通口との間で仕切り、導入口から通路部に導入された膨張ガスの一部の連通口への流れを迂回させることにより、連通口を介してエアバッグ本体部内に供給される膨張ガスのエアバッグ本体部の長手方向と交差する方向への流れをより確実に低減できるとともに、他の部材などを別途用いることなく、エアバッグ本体部の長手方向と交差する方向への流れを低減させる構成を容易に形成できる。
本発明のエアバッグの第1の実施の形態のガス供給部を示す説明図である。 (a)は同上ガス供給部の一部を示す説明図、(b)は同上ガス供給部の他の一部を示す説明図である。 同上ガス供給部の製造方法を示す説明図である。 同上ガス供給部の製造方法の図3に続く状態を示す説明図である。 同上エアバッグを示す説明図である。 図5のA−A相当位置の断面図である。 同上エアバッグを車両に配置した状態及び展開した状態を示す説明図である。 同上エアバッグの展開動作を(a)(b)の順に模式的に示す説明図である。 本発明のエアバッグの第2の実施の形態のガス供給部を示す説明図である。 同上ガス供給部の製造方法を(a)ないし(c)の順に示す説明図である。 本発明のエアバッグの第3の実施の形態のガス供給部を示す説明図である。 本発明のエアバッグの第4の実施の形態のガス供給部を示す説明図である。 本発明のエアバッグの第5の実施の形態のガス供給部を示す説明図である。 本発明のエアバッグの第6の実施の形態のガス供給部を示す説明図である。 本発明のエアバッグの第7の実施の形態のガス供給部を示す説明図である。 本発明のエアバッグの第8の実施の形態のガス供給部を示す説明図である。
以下、本発明のエアバッグの第1の実施の形態を図面を参照して説明する。
図5ないし図7において、10はエアバッグで、このエアバッグ10を備えたエアバッグ装置は、カーテンエアバッグ装置とも呼ばれるもので、車両である自動車の車体13の車室の収納位置としてのルーフサイド部15に配置されている。そして、このエアバッグ10は、カーテンエアバッグ、側突用エアバッグ、インフレータブルカーテン、あるいは頭部保護用エアバッグなどとも呼ばれるもので、側面衝突の衝撃を受けた際や横転(ロールオーバー)の際などに、被保護物としての乗員の側方にほぼ面状に展開し、乗員の頭部などを保護するようになっている。
なお、以下、前後方向、車幅方向である両側方向、上下方向などの方向は、車両の直進方向を基準とし、前後方向(図7に示す矢印F,R方向)、上下方向(図7に示す矢印U,D方向)、車室の外方(図6に示す矢印W方向)、車室の内方(図6に示す矢印C方向)などを説明する。
そして、この自動車の車体13は、車室内に乗員が着座可能な前席及び後席を備え、これら前席及び後席に対応して、それぞれ上部に開口可能な開口部としての窓部(サイドウィンドウ)18を備えた図示しないドアが設けられている。また、車室の両側には、前側から順に、Aピラーとも呼ばれるフロントピラー21、Bピラーとも呼ばれるセンターピラー22、Cピラーとも呼ばれるリアピラー23が設けられている。そして、これら窓部18、ドア及び各ピラー21,22,23により、車室の両側部に所定面24が構成されている。また、これらピラー21,22,23の上側、すなわち窓部18の一縁部である上縁部に、ルーフサイドレールなどとも呼ばれる被取付部材を構成する車体パネルが設けられ、この車体パネルを介して天井部としての天井パネルが支持されている。また、両側のフロントピラー21の前側にはフロントガラス(フロントウインドシールド)が設けられ、両側のリアピラー23の後側にはリアガラスが設けられている。そして、収納位置としてのルーフサイド部15は、天井パネルの両側の縁部の部分から、この縁部の部分といわば交差する方向に伸びるフロントピラー21及びリアピラー23のほぼ全長にかかる部分にまで設定され、これら天井パネルの縁部の部分とフロントピラー21及びリアピラー23とで仮想的に構成される弧の内側に、エアバッグ10が展開する所定面24が設定される。
なお、ここで、センターピラー22とは、前後の端部のピラーではなく、展開したエアバッグ10に覆われるピラーを示す。また、車両の種類によっては、片側に例えば4本以上のピラーを備える場合があるが、前から3本目以後のピラーは、リアピラー23として説明する。
そして、エアバッグ装置は、前後の座席の乗員を保護可能な、いわゆる前後席用エアバッグであり、車体パネルとヘッドライニングとなどに囲まれたルーフサイド部15すなわち車体13のドア開口部の上縁に沿って細長く折り畳んで収納されたエアバッグ10と、後席の後方あるいは上方に収納されこのエアバッグ10にガスを供給するガス発生器である図示しないインフレータとなどを備えている。また、このエアバッグ装置は、必要に応じて、エアバッグ10を車体パネルに取り付ける金属板をプレス加工などして形成された取付ブラケット、折り畳んだエアバッグ10に沿って取り付けられて展開時にエアバッグ10を保護する樹脂製のプロテクタ、及び折り畳んだエアバッグ10の形状を保持する破断可能な筒状あるいは紐状の形状保持部材としてのスリーブ、エアバッグ10の前端部に連結された図示しないテザーベルトなどが備えられている。
そして、エアバッグ10は、単数あるいは複数の基布を組み合わせ、例えば1枚の基布を下端で折り返し、あるいは2枚の基布を重ねて接合して、扁平な袋状に形成されたエアバッグ本体部31と、このエアバッグ本体部31の内部に一部が配置されたガス供給部32とを備え、図示しない取付部を介して上縁部の複数箇所が車体13側に取り付けられて、例えば図8(a)に示すように細長く折り畳んだ状態で図7に示すルーフサイド部15に収納される。
図5に示すエアバッグ本体部31は、車室の内側に配置される内側の基布部と車体側である外側に配置される外側の基布部とが重ねられてエアバッグ接合部で接合されて構成され、流入した膨張ガスGにより膨張展開するように形成されている。このエアバッグ本体部31は、中空部である気室であり、ガス供給部32が配置されるガス案内部35と、このガス案内部35に対して連通する膨張部36とを備えている。
ガス案内部35は、エアバッグ本体部31の上縁部に沿って前後方向を長手方向として直線状に設けられ、すなわち前後方向を長手方向である軸方向として略水平な柱状に展開する。このガス案内部35は、エアバッグ本体部31の前端部から後端部に亘って形成されている。
また、膨張部36は、内部に形成された複数の線状の規制部である内側接合部38により接合されて複数に区画され、展開時の幅寸法などが規制されるとともに、ガス案内部35の前側に連通し展開時に前席の乗員の側方に対向して展開する前席保護部41、及びガス案内部35の後側に連通し展開時に後席の乗員の側方に対向して展開する後席保護部42などが形成されている。
また、エアバッグ接合部は、例えば縫製、接着、あるいは縫製とシール手段との併用などにより略気密あるいは高度な気密に構成され、膨張部36の外周を接合する図示しない外側接合部、及び上記内側接合部38などを備えている。
また、取付部は、例えば車体取付用の取付片であり、エアバッグ本体部31の上縁部の所定位置に複数形成されている。そして、取付部は、エアバッグ本体部31を構成する基布部と一体に形成され、例えば、内側の基布部と外側の基布部とを重ね縫着して形成されている。
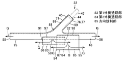
一方、図1及び図5に示すガス供給部32は、インナチューブなどとも呼ばれ、インフレータの接続管43が挿入接続される導入口44を一端に有するガス導入部としての管状の接続部45と、この接続部45に連通する管状の通路部である内側通路部46と、この内側通路部46の外部に位置する方向規制部である外側通路部47とを備えており、内側通路部46と外側通路部47とにより上下に二層の構造となっている。そして、このガス供給部32は、接続部45及び外側通路部47を形成する第1基布51と内側通路部46を形成する第2基布52とにより構成され、これら第1及び第2基布51,52が重ねられて基布接合部53により接合されて構成されている。
接続部45は、前端部が内側通路部46と連通しており、後端部が内側通路部46と連通している。
また、内側通路部46は、導入口44から導入された膨張ガスGをエアバッグ本体部31の長手方向に沿って導くもので、エアバッグ本体部31の長手方向である前後方向に沿って長手状に形成されている。また、この内側通路部46は、前後両端部に一方及び他方の通気口55,56を有し、エアバッグ本体部31のガス案内部35内に収容されている。これら一方及び他方の通気口55,56は、ガス案内部35の前方及び後方に向けて延びており、ガス案内部35を介して膨張部36の前席保護部41及び後席保護部42と連通している。また、この内側通路部46の長手方向の中央部の下部には、外側通路部47と連通する連通口58が前後方向に沿って長孔状に開口されている。この連通口58は、導入口44から導入された膨張ガスGを外側通路部47へと出すもので、上下方向、すなわちエアバッグ本体部31の長手方向に交差(直交)する方向であるエアバッグ本体部31の短手方向に向けて開口している。
また、外側通路部47は、連通口58から内側通路部46の外部に出た膨張ガスGの流れを規制してエアバッグ本体部31の長手方向に沿って導くもので、前後方向、すなわちエアバッグ本体部31の長手方向に沿って長手状に形成されており、前後両端部に一方及び他方の外側通気口61,62を有し、内側通路部46とともにエアバッグ本体部31のガス案内部35内に収容されている。また、この外側通路部47は、本実施の形態において、内側通路部46よりも長手寸法が小さく設定されている。さらに、この外側通路部47は、連通口58に対向する位置において内側通路部46の外部に形成されている。したがって、この外側通路部47は、内側通路部46の長手方向の中央部を含む下部を覆って形成されている。
また、第1基布51は、図2(a)に示すように、外側通路部47を形成する四角形状の基布本体部64と、この基布本体部64の両側から傾斜状に突出し接続部45(図1)を形成する一方及び他方の接続部形成部65,66とを一体に備えている。
また、第2基布52は、図2(b)に示すように、第1基布51の基布本体部64よりも前後寸法すなわち長手寸法が大きい長方形状に形成されており、中央部に連通口58が長孔状に開口されている。
さらに、図1に示すように、基布接合部53は、例えば縫製、接着、あるいは縫製とシール手段との併用などにより構成され、第1基布51の基布本体部64の両側と第2基布52の両側とを接合する一方及び他方の第1接合部68、及び第1基布51の一方及び他方の接続部形成部65,66ないし第2基布52を接合する線状の第2接合部69を備えている。
そして、ガス供給部32を形成する際には、まず、図3に示すように、予め形成した第2基布52に対して、予め形成した第1基布51の基布本体部64を重ね、この基布本体部64の一側と第2基布52の一側とを一方の第1接合部68により接合する。
次いで、図4に示すように、基布本体部64の他側と第2基布52の他側とを他方の第1接合部68により接合する。この状態で、第1基布51の基布本体部64と第2基布52との中央部がほぼ一致した状態となり、かつ、第1基布51の中央部が第2基布52に対して離間された状態となる。
そして、図1に示すように、第1基布51を第2基布52とともに折り曲げて一側と他側とを重ねるとともに一方及び他方の接続部形成部65,66を重ね、互いに重なり合った一方及び他方の接続部形成部65,66の前後の縁部から第2基布52の上側の縁部に亘ってそれぞれ第2接合部69により接合することで、ガス供給部32を完成する。
また、エアバッグ10は、内側の基布部及び外側の基布部を重ねて平面状に広げた状態から、上記形成したガス供給部32を挟み込みつつエアバッグ本体部31を所定の細長い形状に折り畳み、エアバッグ接合部によって接合することで組み立てる。
このエアバッグ10の折畳方法は、種々の方法を採ることができるが、例えば下側部をロール状に折り畳むとともに、上側部をパラソル状に折り畳む。
そして、このエアバッグ装置(カーテンエアバッグモジュール)を車室内に持ち込み、ヘッドライニング及びピラーガーニッシュなどの内装部材が取り付けられる前に車体13への取付作業を行う。この取付作業は、エアバッグ10の複数の取付部、テザーベルト、インフレータに設けたインフレータ取付部、及び、取付ブラケットをそれぞれボルトなどの固定具で車体に固定することにより行われる。また、インフレータから導出されたハーネスを車体13に備えた制御装置に接続する。次いで、車体13の天井パネルにヘッドライニングを取り付け、各ピラー21,22,23にピラーガーニッシュを取り付けてエアバッグ装置を覆うことにより、エアバッグ装置の車体13への取付作業、すなわち、折り畳んだエアバッグ10を所定面24の上縁部に沿った収納位置であるルーフサイド部15に配置する作業が完了する。
次に、エアバッグ10の展開動作を説明する。
車両の側面衝突あるいは横転などの際には、制御装置によりインフレータが作動し、このインフレータから噴射される膨張ガスGが接続管43を介し導入口44からガス供給部32内へと導入される。
この導入された膨張ガスGは、接続部45を通過して内側通路部46内へと流入し、この内側通路部46に沿って一部が前方及び後方へとガイドされるとともに、残りの他部が連通口58から内側通路部46の下方へと出る。
内側通路部46に沿って前方及び後方へとガイドされた膨張ガスGは、内側通路部46の一方及び他方の通気口55,56からエアバッグ本体部31の長手方向に沿ってガス案内部35へと出る。この結果、ガス案内部35が長手方向全体、すなわち前端部から後端部に亘って均一、あるいは略均一に迅速に膨張展開して、ヘッドライニング及び前後のピラーガーニッシュを押しのける。
一方、連通口58から内側通路部46の下方へと出た膨張ガスGは、外側通路部47内へと下方に向けて流入し、この外側通路部47を構成する第1基布51に衝突することで、この外側通路部47に沿って前方及び後方へとガイドされ、一方及び他方の外側通気口61,62からエアバッグ本体部31の長手方向に沿ってガス案内部35へと出て、膨張部36(前席保護部41及び後席保護部42)に導入される。この結果、膨張部36が車室の側部内面である所定面24をこすりながら巻き戻されるように所定面24に沿った所定方向である略下方に迅速にカーテン状に膨張展開して(図8(b))、図7に示す窓部18及びセンターピラー22などを覆う。この状態で、エアバッグ10は側方に投げ出されてくる乗員を拘束してその頭部などを保護する。
このように、本実施の形態によれば、内側通路部46によってエアバッグ本体部31の長手方向に膨張ガスGを導くことにより、エアバッグ本体部31の長手方向両端に膨張ガスGを確実に供給して、長尺なエアバッグ本体部31を瞬時に所定の位置に円滑に展開させることができるとともに、ガス供給部32の内側通路部46にエアバッグ本体部31の長手方向と交差(直交)する方向に向けて連通口58を設け、連通口58に対向する外側通路部47によって膨張ガスGの一部の流れ方向を規制することで連通口58を介してエアバッグ本体部31内に供給される膨張ガスGのエアバッグ本体部31の長手方向と交差(直交)する方向への流れを低減することにより、膨張ガスGの圧力がエアバッグ本体部31の膨張部36に対してこのエアバッグ本体部31の長手方向と交差(直交)する短手方向に直接作用することがなく、エアバッグ本体部31、すなわちエアバッグ本体部31を構成する基布部を保護できる。
また、外側通路部47の少なくとも一部を連通口58に対向させて内側通路部46の外部に配置して、連通口58から内側通路部46の外部に出た膨張ガスGをエアバッグ本体部31の長手方向に導くことにより、内側通路部46と外側通路部47との二層構造によって、連通口58から出た膨張ガスGが直接エアバッグ本体部31に晒されることがなく、連通口58から内側通路部46の外部に出た膨張ガスGのエアバッグ本体部の長手方向と交差(直交)する短手方向への流れをより確実に低減できる。
そして、エアバッグ本体部31の外郭を構成する基布と同一、あるいは同等の2枚の基布を用い、第2基布52の連通口58を覆って第1基布51を縫着する簡単な構成によりガス供給部32を製造できるので、製造コストを低減できる。
次に、第2の実施の形態を図9及び図10を参照して説明する。なお、上記第1の実施の形態と同様の構成及び作用については、同一符号を付してその説明を省略する。
この第2の実施の形態は、上記第1の実施の形態のガス供給部32が、接続部45及び内側通路部46を形成する第1基布71と外側通路部47を形成する第2基布72とにより構成され、これら第1及び第2基布71,72が重ねられて基布接合部73により接合されて構成されているものである。
すなわち、第1基布71は、図10に示すように、前後方向に長手状で内側通路部46(図9)を形成する長方形状の内側通路部形成部75と、この内側通路部形成部75から突出し接続部45(図9)を形成する一方及び他方の接続部形成部76,77とを一体に備えている。そして、内側通路部形成部75には、連通口58が形成されている。
また、第2基布72は、前後方向に長手状の四角形状に形成されている。この第2基布72は、第1基布71に対して前後方向の寸法が小さく設定されている。
さらに、図9に示すように、基布接合部73は、例えば縫製、接着、あるいは縫製とシール手段との併用などにより構成され、第1基布71の内側通路部形成部75と第2基布72とを接合する線状の第1接合部78、及び第1基布71の接続部形成部76,77ないし内側通路部形成部75を接合する線状の第2接合部79を備えている。
そして、ガス供給部32を形成する際には、まず、図10(a)に示すように、予め形成した第1基布71の内側通路部形成部75の連通口58を覆うように第2基布72を重ねる。次いで、図10(b)に示すように、第1基布71の内側通路部形成部75の一側及び他側と第2基布72の一側及び他側とを、それぞれ第1接合部78により接合する。さらに、図10(c)に示すように、第1基布71を第2基布72とともに折り曲げて一側と他側とを重ね、互いに重なり合った一方及び他方の接続部形成部76,77の前後の縁部から内側通路部形成部75の上側の縁部に亘ってそれぞれ第2接合部79により接合することで、ガス供給部32を完成する。
このように構成したガス供給部32を備えるエアバッグ10は、上記第1の実施の形態と同様に、インフレータからの膨張ガスGが接続管43を介し導入口44からガス供給部32内へと導入されると、この導入された膨張ガスGが、接続部45を通過して内側通路部46内へと流入し、この内側通路部46に沿って一部が前方及び後方へとガイドされて一方及び他方の通気口55,56からエアバッグ本体部31の長手方向に沿ってガス案内部35へと出て、ガス案内部35を長手方向全体、すなわち前端部から後端部に亘って均一、あるいは略均一に迅速に膨張展開させる。また、残りの膨張ガスGは、連通口58から内側通路部46の下方へと出て外側通路部47内に流入し、この外側通路部47を構成する第2基布72に衝突することで、この外側通路部47に沿って前方及び後方へとガイドされ、一方及び他方の外側通気口61,62からエアバッグ本体部31の長手方向に沿ってガス案内部35へと出て、膨張部36(前席保護部41及び後席保護部42)を所定面24に沿った下方に迅速にカーテン状に膨張展開させる。
このように上記第2の実施の形態によれば、内側通路部46によってエアバッグ本体部31の長手方向に膨張ガスGを導くことにより、エアバッグ本体部31の長手方向両端に膨張ガスGを確実に供給して、長尺なエアバッグ本体部31を瞬時に所定の位置に円滑に展開させることができるとともに、ガス供給部32の内側通路部46にエアバッグ本体部31の長手方向と交差(直交)する方向に向けて連通口58を設け、連通口58に対向する外側通路部47によって膨張ガスGの一部の流れ方向を規制することで連通口58を介してエアバッグ本体部31内に供給される膨張ガスGのエアバッグ本体部31の長手方向と交差(直交)する方向への流れを低減することにより、膨張ガスGの圧力がエアバッグ本体部31の膨張部36に対してこのエアバッグ本体部31の長手方向と交差(直交)する短手方向に直接作用することがなく、エアバッグ本体部31、すなわちエアバッグ本体部31を構成する基布部を保護できるなど、上記第1の実施の形態と同様の作用効果を奏することができる。
なお、上記第2の実施の形態において、図11に示す第3の実施の形態のように、ガス供給部32に連通口58を複数設け、これら連通口58のそれぞれに外側通路部47を形成してもよい。この場合には、各連通口58から出る膨張ガスGの流れをより確実に分散してエアバッグ本体部31内に供給でき、エアバッグ本体部31、すなわちエアバッグ本体部31を構成する基布部をより確実に保護できる。
次に、第4の実施の形態を図12を参照して説明する。なお、上記各実施の形態と同様の構成及び作用については、同一符号を付してその説明を省略する。
この第4の実施の形態のエアバッグ10は、上記第2の実施の形態のガス供給部32の第2基布72が、第1基布71よりも前後方向、すなわちエアバッグ本体部31の長手方向の寸法が大きいものである。
すなわち、第2基布72は、第1基布71の内側通路部形成部75よりも前後方向への長手寸法が大きい長方形状に形成されている。
そして、第1基布71と第2基布72とを接合する基布接合部73は、第1基布71の内側通路部形成部75と第2基布72とを接合する第1接合部78の他に、第1基布71の接続部形成部76,77と第2基布72とを接合する線状の第2接合部81を備えている。
ガス供給部32を形成する際には、まず、予め形成した第2基布72に対して、予め形成した第1基布71の内側通路部形成部75を、第2基布72の中央部に連通口58が位置するように重ね、第1基布71の内側通路部形成部75の一側及び他側と第2基布72の一側及び他側とを、それぞれ第1接合部78により接合し、さらに、第1基布71と第2基布72とをともに折り曲げて一側と他側とを重ね、互いに重なり合った一方及び他方の接続部形成部76,77の前後の縁部から第2基布72の上側の縁部に亘ってそれぞれ第2接合部81により接合することで、ガス供給部32を完成する。
そして、このように構成したガス供給部32を備えるエアバッグ10は、インフレータからの膨張ガスGが接続管43を介し導入口44からガス供給部32内へと導入されると、この導入された膨張ガスGが、接続部45を通過して内側通路部46内へと流入し、この内側通路部46に沿って一部が前方及び後方へとガイドされるとともに、残りの他部が連通口58から内側通路部46の下方へと出る。そして、この連通口58から内側通路部46の下方へと出た膨張ガスGは、外側通路部47内へと下方に向けて流入し、この外側通路部47を構成する第2基布72に衝突することで、この外側通路部47に沿って前方及び後方へとガイドされる。したがって、エアバッグ本体部31は、内側通路部46に沿って前方及び後方へとガイドされて一方及び他方の通気口55,56から内側通路部46の外部に出た膨張ガスGと、連通口58から内側通路部46の外部に出た膨張ガスGとが、それぞれ外側通路部47に沿ってガイドされて一方及び他方の外側通気口61,62からエアバッグ本体部31の長手方向に沿ってガス案内部35に出ることにより、ガス案内部35が長手方向全体、すなわち前端部から後端部に亘って均一、あるいは略均一に迅速に膨張展開する。この後、ガス案内部35から膨張ガスGが導入された膨張部36(前席保護部41及び後席保護部42)が所定面24に沿った下方に迅速にカーテン状に膨張展開する。
このように、上記第4の実施の形態によれば、内側通路部46によってエアバッグ本体部31の長手方向に膨張ガスGを導くことにより、外側通路部47を介してエアバッグ本体部31の長手方向両端に膨張ガスGを確実に供給して、長尺なエアバッグ本体部31を瞬時に所定の位置に円滑に展開させることができるとともに、ガス供給部32の内側通路部46にエアバッグ本体部31の長手方向と交差(直交)する方向に向けて連通口58を設け、連通口58に対向する外側通路部47によって膨張ガスGの一部の流れ方向を規制することで連通口58を介してエアバッグ本体部31内に供給される膨張ガスGのエアバッグ本体部31の長手方向と交差(直交)する方向への流れを低減することにより、膨張ガスGの圧力がエアバッグ本体部31の膨張部36に対してこのエアバッグ本体部31の長手方向と交差(直交)する短手方向に直接作用することがなく、エアバッグ本体部31、すなわちエアバッグ本体部31を構成する基布部を保護できるなど、上記各実施の形態と同様の作用効果を奏することができる。
次に、第5の実施の形態を図13を参照して説明する。なお、上記各実施の形態と同様の構成及び作用については、同一符号を付してその説明を省略する。
この第5の実施の形態のエアバッグ10は、上記各実施の形態の外側通路部47に代えて、ガス供給部32が第1外側通路部83と第2外側通路部84とを有する方向規制部85を備えているものである。そして、このガス供給部32は、第1基布71と、第1外側通路部83を形成する第2基布86と、第2外側通路部84を形成する第3基布87とを備え、これら基布71,86,87が基布接合部88により接合されて構成されている。
第1外側通路部83は、連通口58から出た膨張ガスGの流れを規制してエアバッグ本体部31の長手方向に沿って導くもので、前後方向、すなわちエアバッグ本体部31の長手方向に沿って長手状に形成されており、前後両端部に一方及び他方の第1外側通気口91,92を有し、内側通路部46とともにエアバッグ本体部31のガス案内部35内に収容されている。また、この第1外側通路部83は、本実施の形態において、内側通路部46よりも長手寸法が小さく設定されている。さらに、この第1外側通路部83は、連通口58に対向する位置において内側通路部46の外部に形成されている。したがって、この第1外側通路部83は、内側通路部46の長手方向の中央部を含む下部を覆って形成されている。
また、第2外側通路部84は、第1外側通路部83の長手方向の一端部、本実施の形態では後端部の他方の第1外側通気口92から第1外側通路部83の外部に出た膨張ガスGの流れを規制してエアバッグ本体部31の長手方向に沿ってさらに導くもので、前後方向、すなわちエアバッグ本体部31の長手方向に沿って長手状に形成されており、前後両端部に一方及び他方の第2外側通気口94,95を有し、内側通路部46及び第1外側通路部83とともにエアバッグ本体部31のガス案内部35内に収容されている。また、この第2外側通路部84は、本実施の形態において、内側通路部46よりも長手寸法が小さく設定されている。さらに、この第2外側通路部84は、第1外側通路部83の外部に形成されており、この第1の外側通路部83の後端部よりも前方に一方の第2外側通気口94が位置し、第1の外側通路部83の後端部よりも後方に他方の第2外側通気口95が位置している。すなわち、この第2外側通路部84は、第1外側通路部83の後端部の下方に沿って前端側の一部が位置している。換言すれば、本実施の形態のガス供給部32は、内側通路部46と、第1外側通路部83と第2外側通路部84とにより、上下に三層構造となっている。
また、第2及び第3の基布86,87は、それぞれ前後方向に長手状の四角形状に形成されている。これら第2及び第3の基布86,87は、第1基布71に対してそれぞれ前後方向の寸法が小さく設定されている。
また、基布接合部88は、例えば縫製、接着、あるいは縫製とシール手段との併用などにより構成され、第1基布71の内側通路部形成部75と第2基布86とを接合する線状の第1接合部97、第1基布71の内側通路部形成部75と第3基布87とを接合する線状の第2接合部98、及び第1基布71の接続部形成部76,77ないし内側通路部形成部75を接合する線状の第3接合部99を備えている。
そして、ガス供給部32を形成する際には、まず、予め形成した第1基布71の内側通路部形成部75の連通口58を覆うように第2基布86を重ね、第1基布71の内側通路部形成部75の一側及び他側と第2基布72の一側及び他側とを、それぞれ第1接合部97により接合し、さらに、第2基布86の長手方向の一端側、本実施の形態では後側を覆って、第1基布71の内側通路部形成部75の一側及び他側と第3基布87の一側及び他側とを第2接合部98により接合し、かつ、第1、第2及び第3基布71,86,87をともに折り曲げて一側と他側とを重ね、互いに重なり合った一方及び他方の接続部形成部76,77の前後の縁部から内側通路部形成部75の上側の縁部に亘ってそれぞれ第3接合部99により接合することで、ガス供給部32を完成する。
このように構成したガス供給部32を備えるエアバッグ10は、インフレータからの膨張ガスGが接続管43を介し導入口44からガス供給部32内へと導入されると、この導入された膨張ガスGが、接続部45を通過して内側通路部46内へと流入し、この内側通路部46に沿って一部が前方及び後方へとガイドされて一方及び他方の通気口55,56からエアバッグ本体部31の長手方向に沿ってガス案内部35へと出て、ガス案内部35を長手方向全体、すなわち前端部から後端部に亘って均一、あるいは略均一に迅速に膨張展開させる。また、残りの膨張ガスGは、連通口58から内側通路部46の下方へと出て第1外側通路部83内に流入し、この第1外側通路部83を構成する第2基布86に衝突することで、この第1外側通路部83に沿って前方及び後方へとガイドされ、前方へとガイドされた膨張ガスGが第1外側通路部83の前端部に位置する一方の第1外側通気口91から長手方向に沿ってガス案内部35へと出る。さらに、第1外側通路部83に沿って後方へとガイドされた膨張ガスGは、第1外側通路部83の後端部に位置する他方の第1外側通気口92から第2外側通路部84内に流入し、第2外側通路部84に沿って前方及び後方へとガイドされ、一方及び他方の第2外側通気口94,95からエアバッグ本体部31の長手方向に沿ってガス案内部35へと出る。この結果、第1外側通路部83によりガイドされ一方の第1外側通気口91からエアバッグ本体部31の長手方向に沿って前方に出た膨張ガスGと、第2外側通路部84によりガイドされ一方及び他方の第2外側通気口94,95からエアバッグ本体部31の長手方向に沿って前後方向に出た膨張ガスGとが、膨張部36(前席保護部41及び後席保護部42)を車室の所定面24に沿った下方に迅速にカーテン状に膨張展開させる。
このように、上記第5の実施の形態によれば、第1外側通路部83の少なくとも一部を連通口58に対向させて内側通路部46の外部に配置して、連通口58から内側通路部46の外部に出た膨張ガスGをエアバッグ本体部31の長手方向に導くとともに、この第1外側通路部83から出た膨張ガスGの少なくとも一部を、第1外側通路部83の一部を覆う第2外側通路部84によってエアバッグ本体部31の長手方向にさらに導くことにより、内側通路部46、第1外側通路部83及び第2外側通路部84の三層構造によって、連通口58から内側通路部46の外部に出た膨張ガスGのエアバッグ本体部31の長手方向と交差(直交)する短手方向への流れをより確実に低減できる。
なお、上記第5の実施の形態において、例えば上記第3の実施の形態のように、内側通路部46に複数の連通口58を備える場合には、それぞれの連通口58に対応して第1外側通路部83と第2外側通路部84とを設けることにより、同様の作用効果を奏することができる。
次に、第6の実施の形態を図14を参照して説明する。なお、上記各実施の形態と同様の構成及び作用については、同一符号を付してその説明を省略する。
この第6の実施の形態は、上記各実施の形態の外側通路部47に代えて、内側通路部46の内部に、連通口遮蔽部としての方向規制部である仕切り部101を備えるものである。
仕切り部101は、導入口44から内側通路部46へと導入された膨張ガスGの一部の連通口58への流れを迂回させるものであり、例えば上記第2の実施の形態の第1基布71の内部の連通口58に間隙を介して対向する位置で、かつ、この連通口58の上方に、エアバッグ本体部31の長手方向に沿って線状に設けられている。すなわち、この仕切り部101は、導入口44と連通口58との間に位置しており、エアバッグ本体部31の長手方向に沿って内側通路部46の一部を導入口44と連通口58との間で仕切っている。換言すれば、内側通路部46は、仕切り部101によって、上下方向に簡易的な二層構造に区画されている。さらに、この仕切り部101は、例えば縫製、接着、あるいは縫製とシール手段との併用などにより構成されている。
そして、ガス供給部32を形成する際には、まず、予め形成した第1基布71を折り曲げて一側と他側とを重ね、互いに重なり合った一方及び他方の接続部形成部76,77の前後の縁部から内側通路部形成部75の上側の縁部に亘ってそれぞれ第2接合部79により接合し、この第1基布71の連通口58の上方の位置を、仕切り部101によって接合することで、ガス供給部32を完成する。
このように構成したガス供給部32を備えるエアバッグ10は、インフレータからの膨張ガスGが接続管43を介し導入口44からガス供給部32内へと導入されると、この導入された膨張ガスGが、接続部45を通過して内側通路部46内へと流入し、仕切り部101に衝突してこの仕切り部101に沿ってガイドされる。このガイドされた膨張ガスGは、一部が内側通路部46に沿って前方及び後方へとガイドされて一方及び他方の通気口55,56からエアバッグ本体部31の長手方向に沿ってガス案内部35へと出て、ガス案内部35を長手方向全体、すなわち前端部から後端部に亘って均一、あるいは略均一に迅速に膨張展開させる。また、残りの膨張ガスGは、仕切り部101を迂回して流れが低減された状態で連通口58から内側通路部46の下方へと出て、膨張部36(前席保護部41及び後席保護部42)を所定面24に沿った下方に迅速にカーテン状に膨張展開させる。
このように、上記第6の実施の形態によれば、仕切り部101によって、エアバッグ本体部31の長手方向に沿って内側通路部46の一部を導入口44と連通口58との間で仕切り、導入口44から内側通路部46に導入された膨張ガスGの一部の連通口58への流れを迂回させることにより、連通口58を介してエアバッグ本体部31内に供給される膨張ガスGのエアバッグ本体部31の長手方向と交差(直交)する短手方向への流れをより確実に低減できるとともに、他の部材(基布)などを別途用いることなく、エアバッグ本体部31の長手方向と交差(直交)する短手方向への流れを低減させる構成を容易に形成でき、部品点数を最小限に抑制してエアバッグ10の製造コストを低減できる。
なお、上記第6の実施の形態において、例えば上記第3の実施の形態のように、内側通路部46に複数の連通口58を備える場合には、それぞれの連通口58に対応して仕切り部101を設けることにより、同様の作用効果を奏することができる。
次に、第7の実施の形態を図15を参照して説明する。なお、上記各実施の形態と同様の構成及び作用については、同一符号を付してその説明を省略する。
この第7の実施の形態は、ガス供給部32に代えて、エアバッグ本体部31の後部に位置するガス供給部103を備えるものである。
このガス供給部103は、インナチューブなどとも呼ばれ、インフレータの接続管43が挿入接続される導入口105を一端部である後端部に有するガス導入部としての管状の通路部である内側通路部106と、この内側通路部106の外部に位置する方向規制部である外側通路部107とを備えており、内側通路部106と外側通路部107とにより上下に二層の構造となっている。そして、このガス供給部103は、内側通路部106を形成する第1基布108と、外側通路部107を形成する第2基布109とが重ねられて基布接合部110により接合されて構成されている。
内側通路部106は、導入口105から導入された膨張ガスGをエアバッグ本体部31の長手方向に沿って導くもので、エアバッグ本体部31の長手方向である前後方向に沿って長手状に形成されており、他端部である前端部に通気口112を有し、エアバッグ本体部31のガス案内部35内に収容されている。この通気口112は、ガス案内部35の前方に向けて延びており、ガス案内部35を介して膨張部36の前席保護部41及び後席保護部42と連通している。また、この内側通路部106は、後端部がエアバッグ本体部31の後端部の上部から後方へと突出している。さらに、この内側通路部106の長手方向の中央部の下部には、外側通路部107と連通する連通口113が前後方向に沿って長孔状に開口されている。この連通口113は、導入口105から導入された膨張ガスGを外側通路部107へと出すもので、上下方向、すなわちエアバッグ本体部31の長手方向に交差(直交)する方向であるエアバッグ本体部31の短手方向に向けて開口している。
また、外側通路部107は、連通口113から内側通路部106の外部に出た膨張ガスGの流れを規制してエアバッグ本体部31の長手方向に沿って導くもので、前後方向、すなわちエアバッグ本体部31の長手方向に沿って長手状に形成されており、前後両端部に一方及び他方の外側通気口115,116を有し、内側通路部106とともにエアバッグ本体部31のガス案内部35内に収容されている。また、この外側通路部107は、本実施の形態において、内側通路部106よりも長手寸法が小さく設定されている。さらに、この外側通路部107は、連通口113に対向する位置において内側通路部106の外部に形成されている。したがって、この外側通路部107は、内側通路部106の長手方向の中央部を含む下部を覆って形成されている。
そして、第1基布108及び第2基布109は、それぞれ前後方向に長手状の長方形状に形成されている。また、第2基布109は、第1基布108よりも長手寸法が短く、第1基布108の長手方向の中央部に位置している。
さらに、図15に示すように、基布接合部110は、例えば縫製、接着、あるいは縫製とシール手段との併用などにより構成され、第1基布108と第2基布109とを接合する線状の第1接合部118、及び第1基布108の上縁部を接合する線状の第2接合部119を備えている。
そして、ガス供給部103を形成する際には、まず、予め形成した第1基布108の連通口113を覆うように第2基布109を重ね、第1基布108の一側及び他側と第2基布109の一側及び他側とを、それぞれ第1接合部118により接合し、第1基布108を第2基布109とともに折り曲げて一側と他側とを重ね、互いに重なり合った第1基布108の上側の縁部に亘ってそれぞれ第2接合部119により接合することで、ガス供給部103を完成する。
このように構成したガス供給部103を備えるエアバッグ10は、上記第1の実施の形態と同様に、インフレータからの膨張ガスGが接続管43を介し導入口105からガス供給部103内の内側通路部106内へと導入されると、この内側通路部106に沿って一部が前方へとガイドされて通気口112からエアバッグ本体部31の長手方向に沿ってガス案内部35へと出て、ガス案内部35を長手方向全体、すなわち前端部から後端部に亘って均一、あるいは略均一に迅速に膨張展開させる。また、残りの膨張ガスGは、連通口113から内側通路部106の下方へと出て外側通路部107に流入し、この外側通路部107を構成する第2基布109に衝突することで、この外側通路部107に沿って前方及び後方へとガイドされ、膨張部36(前席保護部41及び後席保護部42)を所定面24に沿った下方に迅速にカーテン状に膨張展開させる。
このように、上記第7の実施の形態によれば、内側通路部106によってエアバッグ本体部31の長手方向に膨張ガスGを導くことにより、エアバッグ本体部31の長手方向両端に膨張ガスGを確実に供給して、長尺なエアバッグ本体部31を瞬時に所定の位置に円滑に展開させることができるとともに、ガス供給部103の内側通路部106にエアバッグ本体部31の長手方向と交差(直交)する方向に向けて連通口113を設け、連通口113に対向する外側通路部107によって膨張ガスGの一部の流れ方向を規制することで連通口113を介してエアバッグ本体部31内に供給される膨張ガスGのエアバッグ本体部31の長手方向と交差(直交)する方向への流れを低減することにより、膨張ガスGの圧力がエアバッグ本体部31の膨張部36に対してこのエアバッグ本体部31の長手方向と交差(直交)する短手方向に直接作用することがなく、エアバッグ本体部31、すなわちエアバッグ本体部31を構成する基布部を保護できるなど、上記各実施の形態と同様の作用効果を奏することができるとともに、エアバッグ10の後方からインフレータにより膨張ガスGを供給する構成にも対応できる。
次に、第8の実施の形態を図16を参照して説明する。なお、上記各実施の形態と同様の構成及び作用については、同一符号を付してその説明を省略する。
この第8の実施の形態は、上記第7の実施の形態の外側通路部107に代えて、連通口遮蔽部としての方向規制部である仕切り部121を備えるものである。
この仕切り部121は、導入口105から内側通路部106に導入された膨張ガスGの一部の連通口113への流れを迂回させるものであり、例えば上記第7の実施の形態の第1基布108の内部の連通口113に間隙を介して対向する位置で、かつ、この連通口113の上方に、エアバッグ本体部31の長手方向に沿って線状に設けられている。また、この仕切り部121は、一端側である後端側、すなわち導入口105側が内側通路部106の下端近傍に位置しているとともに、この後端側から、他端側である前端側、すなわち通気口112側へと、徐々に上方に傾斜するように湾曲して形成されている。すなわち、この仕切り部121は、導入口105と連通口113との間に位置しており、エアバッグ本体部31の長手方向に沿って内側通路部106の一部を導入口105と連通口113との間で仕切っている。換言すれば、内側通路部106は、仕切り部121によって、上下方向に簡易的な二層構造に区画されている。さらに、この仕切り部121は、例えば縫製、接着、あるいは縫製とシール手段との併用などにより構成されている。
そして、ガス供給部103を形成する際には、まず、予め形成した第1基布108を折り曲げて一側と他側とを重ね、互いに重なり合った上側の縁部に亘ってそれぞれ第2接合部119により接合し、この第1基布108の連通口113の上方の位置を、仕切り部121によって接合することで、ガス供給部103を完成する。
このように構成したガス供給部103を備えるエアバッグ10は、インフレータからの膨張ガスGが接続管43を介し導入口105からガス供給部103内の内側通路部106内へと導入されると、この内側通路部106に沿って前方へとガイドされ、一部が通気口112からガス案内部35へと出て、ガス案内部35を長手方向全体、すなわち前端部から後端部に亘って均一、あるいは略均一に迅速に膨張展開させる。また、残りの膨張ガスGは、仕切り部121に衝突してこの仕切り部121を迂回して流れが低減された状態で連通口113から内側通路部106の下方へと出て、膨張部36(前席保護部41及び後席保護部42)を所定面24に沿った下方に迅速にカーテン状に膨張展開させる。
このように、上記第8の実施の形態によれば、仕切り部121によって、エアバッグ本体部31の長手方向に沿って内側通路部106の一部を導入口105と連通口113との間で仕切り、導入口105から内側通路部106に導入された膨張ガスGの一部の連通口113への流れを迂回させることにより、連通口113を介してエアバッグ本体部31内に供給される膨張ガスGのエアバッグ本体部31の長手方向と交差(直交)する短手方向への流れをより確実に低減できるとともに、他の部材(基布)などを別途用いることなく、エアバッグ本体部31の長手方向と交差(直交)する短手方向への流れを低減させる構成を容易に形成でき、部品点数を最小限に抑制してエアバッグ10の製造コストを低減できる。
なお、上記第7及び第8の実施の形態において、内側通路部106は、例えば複数枚の基布などによって形成することもできる。
また、上記の各実施の形態において、膨張部36の内部は、エアバッグ接合部の内側接合部38によって任意の形状に区画できる。
また、エアバッグ10は、上側から下側に向かって展開して自動車の側方の窓部18を覆う構成に限られず、例えばドアの上部から上側に向かって展開する、いわゆるドアマウントエアバッグ、あるいは、シートの背部の側部から前側に向かって展開する、いわゆるサイドエアバッグなど、所定面に沿って面状に膨張展開する必要がある適宜のエアバッグ装置に適用できる。
本発明は、例えば自動車の側部の窓部に沿って取り付けられ展開することで乗員を保護するエアバッグに適用できる。
10 エアバッグ
24 所定面
31 エアバッグ本体部
32,103 ガス供給部
36 膨張部
44,105 導入口
46,106 通路部である内側通路部
47,107 方向規制部である外側通路部
58,113 連通口
83 第1外側通路部
84 第2外側通路部
85 方向規制部
101,121 方向規制部である仕切り部
G 膨張ガス

Claims (4)

  1. 膨張ガスの導入により膨張する膨張部を備え、長手状に設けられ、車室の所定面を覆い前記車室の乗員に対向して展開可能な袋状のエアバッグ本体部と、
    このエアバッグ本体部とは別個に設けられ、このエアバッグ本体部の内部にこのエアバッグ本体部の展開用の膨張ガスを供給するガス供給部とを具備し、
    前記ガス供給部は、
    膨張ガスが導入される導入口と、
    この導入口から導入された膨張ガスを前記エアバッグ本体部の長手方向に沿って導いてこのエアバッグ本体部内に供給する通路部と、
    この通路部に前記エアバッグ本体部の長手方向と交差する方向に向けて設けられた連通口と、
    この連通口に少なくとも一部が対向し、この連通口を介して前記エアバッグ本体部内に供給される膨張ガスの一部の流れ方向を規制して膨張ガスの前記エアバッグ本体部の長手方向と交差する方向への流れを低減する方向規制部とを備え
    前記方向規制部の下方に前記膨張部が位置している
    ことを特徴とするエアバッグ。
  2. 方向規制部は、少なくとも一部が連通口に対向して通路部の外部に位置し、前記連通口から前記通路部の外部に出た膨張ガスをエアバッグ本体部の長手方向に導く外側通路部である
    ことを特徴とする請求項1記載のエアバッグ。
  3. 方向規制部は、
    少なくとも一部が連通口に対向して通路部の外部に位置し、前記連通口から前記通路部の外部に出た膨張ガスをエアバッグ本体部の長手方向に導く第1外側通路部と、
    この第1外側通路部の一部を覆い、この第1外側通路部の外部に出た膨張ガスの少なくとも一部を前記エアバッグ本体部の長手方向に導く第2外側通路部とを備えている
    ことを特徴とする請求項1記載のエアバッグ。
  4. 方向規制部は、エアバッグ本体部の長手方向に沿って通路部の一部を導入口と連通口との間で仕切り、前記導入口から前記通路部に導入された膨張ガスの一部の前記連通口への流れを迂回させる仕切り部である
    ことを特徴とする請求項1記載のエアバッグ。
JP2011106344A 2011-05-11 2011-05-11 エアバッグ Active JP5748552B2 (ja)

Priority Applications (1)

Application Number Priority Date Filing Date Title
JP2011106344A JP5748552B2 (ja) 2011-05-11 2011-05-11 エアバッグ

Applications Claiming Priority (1)

Application Number Priority Date Filing Date Title
JP2011106344A JP5748552B2 (ja) 2011-05-11 2011-05-11 エアバッグ

Publications (2)

Publication Number Publication Date
JP2012236491A JP2012236491A (ja) 2012-12-06
JP5748552B2 true JP5748552B2 (ja) 2015-07-15

Family

ID=47459816

Family Applications (1)

Application Number Title Priority Date Filing Date
JP2011106344A Active JP5748552B2 (ja) 2011-05-11 2011-05-11 エアバッグ

Country Status (1)

Country Link
JP (1) JP5748552B2 (ja)

Families Citing this family (3)

* Cited by examiner, † Cited by third party
Publication number Priority date Publication date Assignee Title
JP6111073B2 (ja) * 2013-01-10 2017-04-05 セーレン株式会社 カーテンエアバッグ
JP6947127B2 (ja) * 2018-06-25 2021-10-13 豊田合成株式会社 頭部保護エアバッグ
JP7384776B2 (ja) * 2020-10-22 2023-11-21 トヨタ自動車株式会社 車両用サイドエアバッグ

Family Cites Families (5)

* Cited by examiner, † Cited by third party
Publication number Priority date Publication date Assignee Title
US6073961A (en) * 1998-02-20 2000-06-13 Breed Automotive Technology, Inc. Inflatable side airbag curtain module
US6450529B1 (en) * 2000-06-23 2002-09-17 Breed Automotive Technologies, Inc. Inflatable side air bag curtain module with chamber separators
DE10321066B4 (de) * 2003-05-10 2008-07-31 Autoliv Development Ab Airbaganordnung für Kraftfahrzeuge
JP5117933B2 (ja) * 2008-06-06 2013-01-16 芦森工業株式会社 エアバッグ装置
JP5029575B2 (ja) * 2008-11-12 2012-09-19 豊田合成株式会社 頭部保護エアバッグ

Also Published As

Publication number Publication date
JP2012236491A (ja) 2012-12-06

Similar Documents

Publication Publication Date Title
US7163233B2 (en) Head-protecting airbag
JP4947773B2 (ja) エアバッグ、エアバッグ装置及びエアバッグの折畳方法
JP4432932B2 (ja) 車両用ニーエアバッグ装置及び車両用ニーエアバッグの展開方法
JP5366774B2 (ja) エアバッグ及びエアバッグの折畳方法
JP5748552B2 (ja) エアバッグ
JP5478219B2 (ja) エアバッグ
JP5429974B2 (ja) エアバッグ及びエアバッグ装置
JP6872373B2 (ja) エアバッグ
JP5550382B2 (ja) エアバッグ
JP2010052513A (ja) エアバッグ及びエアバッグ装置
JP5435913B2 (ja) エアバッグ装置
JP2011057028A (ja) エアバッグ
JP2016124497A (ja) エアバッグ
JP4490031B2 (ja) エアバッグ
JP6004577B2 (ja) エアバッグ
JP2010083240A (ja) エアバッグ及びエアバッグ装置
JP4089550B2 (ja) 頭部保護エアバッグ装置
JP4019919B2 (ja) 頭部保護エアバッグ装置のエアバッグ
JP4919476B2 (ja) エアバッグ及びエアバッグ装置
JP5131982B2 (ja) エアバッグ及びエアバッグ装置
JP2013203171A (ja) エアバッグ
JP5414089B2 (ja) エアバッグ装置
JP2008007065A (ja) エアバッグ及びエアバッグ装置
JP5191045B2 (ja) エアバッグ装置
JP5627398B2 (ja) カーテンエアバッグ

Legal Events

Date Code Title Description
A621 Written request for application examination

Free format text: JAPANESE INTERMEDIATE CODE: A621

Effective date: 20140509

A977 Report on retrieval

Free format text: JAPANESE INTERMEDIATE CODE: A971007

Effective date: 20150205

A131 Notification of reasons for refusal

Free format text: JAPANESE INTERMEDIATE CODE: A131

Effective date: 20150225

A521 Request for written amendment filed

Free format text: JAPANESE INTERMEDIATE CODE: A523

Effective date: 20150409

TRDD Decision of grant or rejection written
A01 Written decision to grant a patent or to grant a registration (utility model)

Free format text: JAPANESE INTERMEDIATE CODE: A01

Effective date: 20150507

A61 First payment of annual fees (during grant procedure)

Free format text: JAPANESE INTERMEDIATE CODE: A61

Effective date: 20150512

R150 Certificate of patent or registration of utility model

Ref document number: 5748552

Country of ref document: JP

Free format text: JAPANESE INTERMEDIATE CODE: R150

R250 Receipt of annual fees

Free format text: JAPANESE INTERMEDIATE CODE: R250

R250 Receipt of annual fees

Free format text: JAPANESE INTERMEDIATE CODE: R250

R250 Receipt of annual fees

Free format text: JAPANESE INTERMEDIATE CODE: R250

R250 Receipt of annual fees

Free format text: JAPANESE INTERMEDIATE CODE: R250

R250 Receipt of annual fees

Free format text: JAPANESE INTERMEDIATE CODE: R250

R250 Receipt of annual fees

Free format text: JAPANESE INTERMEDIATE CODE: R250

R250 Receipt of annual fees

Free format text: JAPANESE INTERMEDIATE CODE: R250

R250 Receipt of annual fees

Free format text: JAPANESE INTERMEDIATE CODE: R250

R250 Receipt of annual fees

Free format text: JAPANESE INTERMEDIATE CODE: R250