JP5651925B2 - 繊維強化複合材料成形品とその製造方法 - Google Patents

繊維強化複合材料成形品とその製造方法 Download PDF

Info

Publication number
JP5651925B2
JP5651925B2 JP2009106620A JP2009106620A JP5651925B2 JP 5651925 B2 JP5651925 B2 JP 5651925B2 JP 2009106620 A JP2009106620 A JP 2009106620A JP 2009106620 A JP2009106620 A JP 2009106620A JP 5651925 B2 JP5651925 B2 JP 5651925B2
Authority
JP
Japan
Prior art keywords
fiber
resin
composite material
reinforced composite
thermoplastic resin
Prior art date
Legal status (The legal status is an assumption and is not a legal conclusion. Google has not performed a legal analysis and makes no representation as to the accuracy of the status listed.)
Active
Application number
JP2009106620A
Other languages
English (en)
Other versions
JP2010253802A (ja
Inventor
敦 野原
敦 野原
金子 学
学 金子
Current Assignee (The listed assignees may be inaccurate. Google has not performed a legal analysis and makes no representation or warranty as to the accuracy of the list.)
Mitsubishi Chemical Corp
Original Assignee
Mitsubishi Chemical Corp
Mitsubishi Rayon Co Ltd
Priority date (The priority date is an assumption and is not a legal conclusion. Google has not performed a legal analysis and makes no representation as to the accuracy of the date listed.)
Filing date
Publication date
Application filed by Mitsubishi Chemical Corp, Mitsubishi Rayon Co Ltd filed Critical Mitsubishi Chemical Corp
Priority to JP2009106620A priority Critical patent/JP5651925B2/ja
Publication of JP2010253802A publication Critical patent/JP2010253802A/ja
Application granted granted Critical
Publication of JP5651925B2 publication Critical patent/JP5651925B2/ja
Active legal-status Critical Current
Anticipated expiration legal-status Critical

Links

Images

Landscapes

  • Injection Moulding Of Plastics Or The Like (AREA)

Description

本発明は、繊維強化複合材料成形品とその製造方法に関する。
繊維強化複合材料(以下、「FRP」という。)は、軽量で且つ高強度である特徴から、航空機、自動車、スポーツ、レジャー、その他各種工業用途に利用されている。また、FRPは、それを構成する繊維集束体の配向性によって特徴ある異方性光沢を有し、さらに表面に塗装等の処理を施すことによって、深みのある重厚な外観を与える等の特徴を有する。
近年、これらの特徴に加え、難燃性を付与したFRPも数多く検討され、各種電気・電子機器筐体から航空機内装品、自動車内装品などへの用途が拡がっている。これら電気・電子機器筐体、航空機内装品、自動車内装品に用いる場合には、外板を形成するFRP板の一方の面に同種のFRPや熱可塑性樹脂、金属材料などを接合一体化した三次元形状の部材を用いる場合が多い。
例えば、特許文献1には、可撓性を有する炭素繊維複合材料板の表面に、熱可塑性樹脂を射出成形して結合一体化せしめた炭素繊維複合成形品が開示されている。
特許第3035409号公報
しかしながら、特許文献1に記載のように、外板を形成するFRP板の一方の面の全体に、熱可塑性樹脂や金属材料を射出成形して接合すると、FRP板と熱可塑性樹脂や金属材料とでは熱膨張率が異なるため、冷却した際に熱可塑性樹脂や金属材料が収縮し、その反動でFRP板が反る場合があった。FRP板が反ると、電気・電子機器筐体、航空機内装品、自動車内装品や、各種工業品として用いるには不適となる。
本発明は上記事情に鑑みてなされたもので、熱可塑性樹脂を射出成形しても繊維強化複合材料が反りにくい繊維強化複合材料成形品とその製造方法の提供を課題とする。
本発明の繊維強化複合材料成形品は、強化繊維にマトリックス樹脂が含浸した繊維強化複合材料の一方の面の全体に、格子状となるように熱可塑性樹脂を射出成形して接合一体化した繊維強化複合材料成形品であって、格子を形成する熱可塑性樹脂のリブを繊維強化複合材料上に投影したときのリブの占有面積が、全体の1/20〜1/2であることを特徴とする。
また、前記強化繊維が、炭素繊維であることが好ましい。
さらに、前記マトリックス樹脂が、リンを含有するエポキシ樹脂であることが好ましい。
また、前記熱可塑性樹脂が、アクリロニトリル−ブタジエン−スチレン樹脂、またはポリカーボネート樹脂とアクリロニトリル−ブタジエン−スチレン樹脂とのアロイ樹脂であることが好ましい。
さらに、前記接合一体化は、インジェクションプレスによりなされることが好ましい。
また、本発明の繊維強化複合材料成形品の製造方法は、強化繊維にマトリックス樹脂が含浸した繊維強化複合材料の一方の面の全体に、格子状となるように熱可塑性樹脂を射出成形して接合一体化する繊維強化複合材料成形品の製造方法であって、格子を形成する熱可塑性樹脂のリブを繊維強化複合材料上に投影したときのリブの占有面積が、全体の1/20〜1/2となるように熱可塑性樹脂を射出成形することを特徴とする。
さらに、インジェクションプレスにより、前記熱可塑性樹脂を射出成形することが好ましい。
本発明の繊維強化複合材料成形品は、熱可塑性樹脂を射出成形しても繊維強化複合材料が反りにくい。
また、本発明の繊維強化複合材料成形品の製造方法によれば、熱可塑性樹脂を射出成形しても繊維強化複合材料が反りにくい繊維強化複合材料成形品が得られる。
本発明の繊維強化複合材料成形品の一例を示す斜視図である。 図1に示す形状の格子を形成するリブを繊維強化複合材料上に投影した図である。 格子の形状の他の例を示す平面図である。 リブの断面形状の一例を示す断面図である。 リブの断面形状の他の例を示す断面図である。 リブの断面形状の他の例を示す断面図である。 金型の一例を示す断面図である。 金型の他の例を示す断面図である。 比較例1により得られた繊維強化複合材料成形品を示す斜視図である。
以下、本発明について、図面を用いて詳細に説明する。
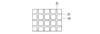
図1は、本発明の繊維強化複合材料成形品の一例を示す斜視図である。この例の繊維強化複合材料成形品1は、繊維強化複合材料(以下、「FRP」という。)10の一方の面に、格子状となるように射出成形された熱可塑性樹脂20が接合一体化されている。
なお、図2〜8において、図1と同じ構成要素には同じ符号を付して説明を省略する。
<繊維強化複合材料>
本発明に用いるFRP10としては、強化繊維にマトリックス樹脂が含浸したプリプレグを、必要に応じて複数積層し、高温高圧下で成形したものが挙げられる。
強化繊維としては、炭素繊維、アラミド繊維、ナイロン繊維、高強度ポリエステル繊維、ガラス繊維、ボロン繊維、アルミナ繊維、窒化珪素繊維などの各種の無機繊維または有機繊維を用いることができる。これらの中でも難燃性の観点から炭素繊維、アラミド繊維、ガラス繊維、ボロン繊維、アルミナ繊維、窒化珪素繊維が好ましく、さらに比強度および比弾性に優れる点で炭素繊維が特に好ましい。
強化繊維の形態としては、一方向に引き揃えてもよく、織物、またノンクリンプファブリックでもよい。
マトリックス樹脂としては、公知の熱硬化性樹脂または熱可塑性樹脂が挙げられる。
熱硬化性樹脂としては、例えばエポキシ樹脂、フェノール樹脂、ビニルエステル樹脂、ビスマレイミド樹脂、メラミン樹脂、不飽和ポリエステル樹脂等が挙げられる。
熱可塑性樹脂としては、例えばポリアミド(PA)樹脂、アクリロニトリル−ブタジエン−スチレン(ABS)樹脂、アクリロニトリル−エチレン−スチレン(AES)樹脂、アクリロニトリル−スチレン−アクリレート(ASA)樹脂、ポリエチレンテレフタレート(PET)樹脂、ポリカーボネート(PC)樹脂、ポリメチルメタクリレート(PMMA)樹脂、ポリブチレンテレフタレート(PBT)樹脂、ポリエーテルスルフォン(PES)樹脂、ポリフェニレンエーテル(PPE)樹脂、ポリフェニレンスルフィド(PPS)樹脂、ポリエーテルエーテルケトン(PEEK)樹脂、ポリエーテルケトンケトン(PEKK)樹脂、ポリイミド(PI)樹脂、ポリテトラフルオロエチレン(PTFE)樹脂、ポリエーテル樹脂、ポリオレフィン(PO)樹脂、液晶ポリマー樹脂、ポリアリレート樹脂、ポリスルフォン樹脂、ポリアクリロニトリルスチレン(PAS)樹脂、ポリスチレン(PS)樹脂、ポリアクリロニトリル(PAN)樹脂、ポリ塩化ビニル(PVC)樹脂等が挙げられる。
これらの中でも靭性、耐衝撃性に優れる点で熱硬化性樹脂、特にエポキシ樹脂が好ましい。さらに電気・電子機器筐体や航空機・自動車内装品、各種工業品に用いることを考慮すると、難燃性を有する点で、リンを含有するエポキシ樹脂が特に好ましい。
<熱可塑性樹脂>
FRP10の表面に射出成形する熱可塑性樹脂20としては、例えばマトリックス樹脂の説明において先に例示した熱可塑性樹脂や、ポリビニルフォルマール(PVF)、あるいはこれらの樹脂を組み合わせてなるアロイ樹脂等、射出成形できる樹脂であればよく、FRPとの接着性を考慮して適宜選定して使用することができる。これらの中でも、靭性・汎用性に優れる点で、ABS樹脂、AES樹脂、ASA樹脂、ポリアミド樹脂、PC樹脂とABS樹脂とのアロイ樹脂、PC樹脂とAES樹脂とのアロイ樹脂、PC樹脂とASA樹脂とのアロイ樹脂が好適であり、特にABS樹脂、PC樹脂とABS樹脂とのアロイ樹脂が適している。
また、FRP10の表面に射出成形する熱可塑性樹脂20には、強化繊維、強化充填材、難燃剤、着色剤、安定剤等の添加剤を適宜配合してもよい。
本発明の繊維強化複合材料成形品1は、熱可塑性樹脂20がFRP10の一方の面に格子状に射出成形され接合一体化してなる。熱可塑性樹脂を格子状に射出成形することで、従来のようにFRPの一方の面の全体に、熱可塑性樹脂を厚さが均一になるように射出成形する場合に比べて、FRPに対する熱可塑性樹脂の割合が少なくなる。従って、FRPと熱可塑性樹脂との熱膨張率差が軽減され、FRPが反るのを抑制できる。
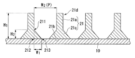
図1に示すように、格子は熱可塑性樹脂20のリブ21により形成される。格子の高さHは3〜20mmが好ましい。格子の高さHが3mm以上であれば、補強部材として充分な剛性が得られる。一方、格子の高さHが20mm以下であれば、FRPと熱可塑性樹脂との熱膨張率差によるFRPの反りを抑制しやすくなる。
また、例えば図2に示すように、格子を形成するリブをFRP10上に投影したときのリブ21の占有面積は、全体の1/20〜1/2であることが好ましい。リブ21の占有面積が全体の1/20以上であれば、FRPの補強効果を充分に高めることができる。一方、リブ21の占有面積が全体の1/2以下であれば、熱可塑性樹脂を射出成形した後のFRPの反りを抑制しやすくなると共に、得られる繊維強化複合材料成形品の軽量化や、熱可塑性樹脂の使用量の削減につながる。
なお、図2は図1に示す形状の格子を形成するリブ21をFRP上に投影したときの状態を表す図である。
格子の形状としては特に制限されず、リブの占有面積が上述した範囲内となるような形状が好ましい。例えば図1に示すような四角状の他、図3(a)に示すような筋状、図3(b)に示すようなハニカム状、図3(c)に示すような円状などが挙げられる。これらの中でも補強効果と金型作製の容易さを考慮すると、図1に示すような四角状の格子が好ましい。
格子の形状が図1に示すような四角状の場合、格子のピッチPは10〜100mmが好ましい。格子のピッチPが10mm以上であれば、熱可塑性樹脂を射出成形した後のFRPの反りを抑制しやすくなると共に、得られる繊維強化複合材料成形品の軽量化や、熱可塑性樹脂の使用量の削減につながる。一方、格子のピッチPが100mm以下であれば、FRPの補強効果を充分に高めることができる。
格子の形状が四角状の場合、縦方向と横方向のピッチが等しい正方形が最適であるが、長方形であってもよい。
格子を形成するリブ21の断面形状としては、図4に示すような長方形の他、図5に示すように長方形の柱状部21aと、FRP10との接合面21bに向かって末広な底部21cとからなる形状、図6に示すように長方形の柱状部21aと、FRP10との接合面21bに向かって末広な底部21cとからなり、かつ隣り合うリブ21の接合面21bが連結している形状などが挙げられる。特に図5、6に示すような断面形状であれば、FRP10とリブ21との接着性がより向上する。
また、リブ21の先端21dは、図4〜6に示すような非テーパー状に限定されず、テーパー状であってもよいし、逆釣鐘状であってもよい。
なお、リブ21の断面形状が図5に示す形状の場合、底部21cの高さHは、リブ21の高さ(すなわち、格子の高さH)の1/10〜8/10倍が好ましい。また、底部21cの起点211を通る線が接合面21bと直交する点212から、底部21cの終点213までの距離をW、隣り合うリブ21の距離をWとしたときに、距離Wは距離Wの1/50〜1/2倍が好ましい。なお、距離Wは、格子のピッチPに相当する。
また、リブ21の断面形状が図6に示す形状の場合、底部21cの高さHは、リブ21の高さ(すなわち、格子の高さH)の1/10〜8/10倍が好ましい。また、隣り合うリブ21の連結点214から接合面21bまでの距離Hは、底部21cの高さHの1/10〜8/10倍が好ましい。さらに、底部21cの起点211を通る線と、連結点214を通る線が直交する点215から連結点214までの距離Wは、隣り合うリブ21の距離Wの1/50〜1/2倍が好ましい。
<繊維強化複合材料成形品の製造方法>
本発明の繊維強化複合材料成形品は、以下のようにして製造できる。
すなわち、所望の格子状に熱可塑性樹脂を射出成形できる金型にFRPを入れ、熱可塑性樹脂を射出成形し、FRPと熱可塑性樹脂が接合一体化した繊維強化複合材料形成品を得る。
射出条件としては特に制限されず、用いるFRPや熱可塑性樹脂の種類や、金型の形状に合わせて適宜設定すればよい。
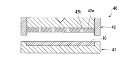
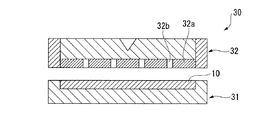
金型としては特に制限されず、例えば図4に示す断面形状のリブ21により格子を形成する場合は、図7に示すようなFRP10を設置する下型31と、凸部32aおよび凹部32bを有する上型32からなる金型30を用いればよい。また、リブの接合面が連結している断面形状のリブにより格子を形成する場合は、例えば図8に示すようなFRP10を設置する下型41と、凸部42aおよび凹部42bを有する上型42からなり、下型41と上型42が合わさったときに、FRP10と凸部42aの間に空隙が形成される金型40を用いればよい。
本発明の繊維強化複合材料成形品は、既存の射出成形機を用いて製造できるが、大型成形品の成形が可能であり、FRPと熱可塑性樹脂との接着性がより強固となる点で、インジェクションプレスを用いることが好ましい。
以上説明したように、本発明によれば、FRPの一方の面に、熱可塑性樹脂を格子状に射出成形することで、従来のようにFRPの一方の面の全体に、熱可塑性樹脂を厚さが均一になるように射出成形する場合に比べて、FRPに対する熱可塑性樹脂の割合が少なくなる。従って、FRPと熱可塑性樹脂との熱膨張率差が軽減され、FRPが反るのを抑制できる。
また、本発明により得られる繊維強化複合材料成形品は、FRP本来の特性、すなわち軽量で、優れた強度、剛性、寸法安定性、耐久性、衝撃吸収性を発現できると共に、FRP特有の深みのある重厚な外観を有する。
以下、本発明について実施例を挙げて具体的に説明する。ただし、本発明はこれらに限定されるものではない。
[実施例1]
<FRPの作製>
プリプレグ(三菱レイヨン株式会社製のパイロフィルプリプレグ、「品番:TR380G200S」、繊維目付200g/m、樹脂含有率33質量%)を300mm×300mmに切断し、炭素繊維が0°/90°/90°/0°の向きになるよう4枚積み重ね、130℃×90分、昇温速度2℃/分、圧力0.6MPaの条件でオートクレーブにて硬化し、厚さ0.8mmのFRPを得た。
<繊維強化複合材料成形品の製造>
得られたFRPを280mm×220mmに切断して金型底部にセットし、熱可塑性樹脂(UMGABS株式会社製の難燃性PC樹脂とABS樹脂のアロイ樹脂、「品番:CX55A」)を、シリンダー温度230℃、金型温度60℃の条件で、図1に示すように、格子の高さHが5mm、格子のピッチPが50mm、格子を形成するリブをFRP上に投影したときのリブの占有面積が全体の8%になるように、FRPの一方の面に四角格子状に射出成形して、FRP10(厚さT:0.8mm)と熱可塑性樹脂20とが接合一体化した繊維強化複合材料成形品1を得た。
得られた繊維強化複合材料成形品は冷却した後もFRPが反ることはなかった。また、熱可塑性樹脂側を下向きにして置き、上部よりFRPの中心部に50Nの荷重を加えても撓むことがなかった。
また、外観はFRP特有の高級重厚感を有し、電気・電子機器筐体や航空機・自動車内装品をはじめ各種工業用品へ有効に利用できるものであった。
[実施例2]
図5に示す断面形状のリブになるように、熱可塑性樹脂を格子状に射出成形した以外は、実施例1と同様にしてFRPと熱可塑性樹脂とが接合一体化した繊維強化複合材料成形品を得た。なお、形成されたリブは、格子の高さHが5mm、格子のピッチP(隣り合うリブ21の距離W)が50mm、底部21cの高さHが2mm、距離Wが4mm、リブをFRP上に投影したときのリブの占有面積が全体の36%であった。
得られた繊維強化複合材料成形品は、実施例1と同様に冷却した後もFRPが反ることはなかった。また、熱可塑性樹脂側を下向きにして置き、上部よりFRPの中心部に50Nの荷重を加えても撓むことがなかった。
また、外観はFRP特有の高級重厚感を有し、電気・電子機器筐体や航空機・自動車内装品をはじめ各種工業用品へ有効に利用できるものであった。
[実施例3]
FRP用のプリプレグとして、一方向に引き揃えた炭素繊維(三菱レイヨン株式会社製、「品番:TR50S15L」)にリンを含有するエポキシ樹脂が含浸したプリプレグ(繊維目付225g/m、樹脂含有率30質量%)4枚を用いた以外は、実施例1と同様にしてFRPを作製し、該FRPと熱可塑性樹脂とが接合一体化した繊維強化複合材料成形品を得た。
得られた繊維強化複合材料成形品は、実施例1と同様に冷却した後もFRPが反ることはなかった。また、熱可塑性樹脂側を下向きにして置き、上部よりFRPの中心部に50Nの荷重を加えても撓むことがなかった。
また、外観はFRP特有の高級重厚感を有し、電気・電子機器筐体や航空機・自動車内装品をはじめ各種工業用品へ有効に利用できるものであった。
[実施例4]
熱可塑性樹脂として、炭素繊維強化ASA樹脂とPC樹脂とのアロイ樹脂(UMGABS株式会社製、「品番:FA−420CA」)を用いた以外は、実施例1と同様にしてFRPと熱可塑性樹脂とが接合一体化した繊維強化複合材料成形品を得た。
得られた繊維強化複合材料成形品は、実施例1と同様に冷却した後もFRPが反ることはなかった。また、熱可塑性樹脂側を下向きにして置き、上部よりFRPの中心部に50Nの荷重を加えても撓むことがなかった。
また、外観はFRP特有の高級重厚感を有し、電気・電子機器筐体や航空機・自動車内装品をはじめ各種工業用品へ有効に利用できるものであった。
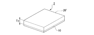
[比較例1]
図9に示すように、熱可塑性樹脂の厚さTが5mmになるように、FRPの一方の面の全体に熱可塑性樹脂を均一に射出成形して、FRP10と熱可塑性樹脂20’とが接合一体化した繊維強化複合材料成形品2を得た。
得られた繊維強化複合材料成形品を室温まで冷却したところ、熱可塑性樹脂がより強く収縮してFRPが大きく反り、繊維強化複合材料成形品全体としても大きく反ってしまった。
1:繊維強化複合材料成形品、
10:繊維強化複合材料、
20:熱可塑性樹脂、
21:リブ。

Claims (8)

  1. 強化繊維にマトリックス樹脂が含浸した繊維強化複合材料の一方の面の全体に、格子状となるように熱可塑性樹脂を射出成形して接合一体化した繊維強化複合材料成形品であって、
    格子を形成する熱可塑性樹脂のリブを繊維強化複合材料上に投影したときのリブの占有面積が、全体の1/20〜1/2である、繊維強化複合材料成形品。
  2. 前記強化繊維が、炭素繊維である、請求項1に記載の繊維強化複合材料成形品。
  3. 前記マトリックス樹脂が、リンを含有するエポキシ樹脂である、請求項1または2に記載の繊維強化複合材料成形品。
  4. 前記熱可塑性樹脂が、アクリロニトリル−ブタジエン−スチレン樹脂である、請求項1〜3のいずれかに記載の繊維強化複合材料成形品。
  5. 前記熱可塑性樹脂が、ポリカーボネート樹脂とアクリロニトリル−ブタジエン−スチレン樹脂とのアロイ樹脂である、請求項1〜3のいずれかに記載の繊維強化複合材料成形品。
  6. 前記接合一体化は、インジェクションプレスによりなされる、請求項1〜5のいずれかに記載の繊維強化複合材料成形品。
  7. 強化繊維にマトリックス樹脂が含浸した繊維強化複合材料の一方の面の全体に、格子状となるように熱可塑性樹脂を射出成形して接合一体化する繊維強化複合材料成形品の製造方法であって、
    格子を形成する熱可塑性樹脂のリブを繊維強化複合材料上に投影したときのリブの占有面積が、全体の1/20〜1/2となるように熱可塑性樹脂を射出成形する、繊維強化複合材料成形品の製造方法。
  8. インジェクションプレスにより、前記熱可塑性樹脂を射出成形する、請求項7に記載の繊維強化複合材料成形品の製造方法。
JP2009106620A 2009-04-24 2009-04-24 繊維強化複合材料成形品とその製造方法 Active JP5651925B2 (ja)

Priority Applications (1)

Application Number Priority Date Filing Date Title
JP2009106620A JP5651925B2 (ja) 2009-04-24 2009-04-24 繊維強化複合材料成形品とその製造方法

Applications Claiming Priority (1)

Application Number Priority Date Filing Date Title
JP2009106620A JP5651925B2 (ja) 2009-04-24 2009-04-24 繊維強化複合材料成形品とその製造方法

Publications (2)

Publication Number Publication Date
JP2010253802A JP2010253802A (ja) 2010-11-11
JP5651925B2 true JP5651925B2 (ja) 2015-01-14

Family

ID=43315296

Family Applications (1)

Application Number Title Priority Date Filing Date
JP2009106620A Active JP5651925B2 (ja) 2009-04-24 2009-04-24 繊維強化複合材料成形品とその製造方法

Country Status (1)

Country Link
JP (1) JP5651925B2 (ja)

Cited By (2)

* Cited by examiner, † Cited by third party
Publication number Priority date Publication date Assignee Title
JP2703664B2 (ja) 1993-09-30 1998-01-26 コンパニー ゼネラール デ エタブリッスマン ミシュラン−ミシュラン エ コムパニー ラジアルカーカス補強材を備えたタイヤ
CN107405808A (zh) * 2015-03-30 2017-11-28 三菱化学株式会社 成型体及其制造方法

Families Citing this family (5)

* Cited by examiner, † Cited by third party
Publication number Priority date Publication date Assignee Title
EP2669076A1 (de) * 2012-05-31 2013-12-04 Basf Se Verfahren zum Verbinden zweier Kunststoffteile zur Bildung einer einzigen Komponente
US9302434B2 (en) * 2013-12-03 2016-04-05 The Boeing Company Thermoplastic composite support structures with integral fittings and method
JP6357833B2 (ja) * 2014-03-31 2018-07-18 東レ株式会社 複合成形品の製造方法
JP6212764B1 (ja) * 2016-05-16 2017-10-18 石川県 繊維強化樹脂製サンドイッチ構造体及び繊維強化樹脂製サンドイッチ構造体の製造方法
JPWO2023182258A1 (ja) 2022-03-25 2023-09-28

Family Cites Families (15)

* Cited by examiner, † Cited by third party
Publication number Priority date Publication date Assignee Title
JPS56151550A (en) * 1980-04-25 1981-11-24 Toyota Motor Co Ltd Automobile shell-plate panel in synthetic resin and its manufacture
JPH0592441A (ja) * 1991-10-02 1993-04-16 Sumitomo Rubber Ind Ltd 遮音板
JP3035409B2 (ja) * 1992-06-30 2000-04-24 三菱レイヨン株式会社 炭素繊維複合成形品の製法
JPH1134105A (ja) * 1997-07-24 1999-02-09 Mitsubishi Rayon Co Ltd 繊維強化中空成形品とその製造方法
JP4628582B2 (ja) * 2001-04-26 2011-02-09 パナソニック株式会社 電子機器筐体およびこれを用いた電子機器
JP2004042554A (ja) * 2002-07-15 2004-02-12 Asahi Kasei Chemicals Corp 筐体部品とその射出成形方法
JP3963268B2 (ja) * 2002-12-03 2007-08-22 河西工業株式会社 自動車用内装部品の製造方法
JP2007110138A (ja) * 2002-12-27 2007-04-26 Toray Ind Inc 電磁波シールド成形品、および、その製造方法
JP2005239939A (ja) * 2004-02-27 2005-09-08 Toray Ind Inc 繊維強化樹脂複合材料
US8021752B2 (en) * 2004-02-27 2011-09-20 Toray Industries, Inc. Epoxy resin composition for carbon-fiber-reinforced composite material, prepreg, integrated molding, fiber-reinforced composite sheet, and casing for electrical/electronic equipment
JP2007290323A (ja) * 2006-04-27 2007-11-08 Japan Polypropylene Corp 射出成形体
JP4789256B2 (ja) * 2006-07-04 2011-10-12 大成プラス株式会社 繊維強化プラスチックと熱可塑性樹脂成形品の樹脂製一体化物とその製造方法
JP4762072B2 (ja) * 2006-07-21 2011-08-31 株式会社仲田コーティング 畦ブロックの製造方法
CN101193506B (zh) * 2006-11-22 2011-03-30 深圳富泰宏精密工业有限公司 电子装置机壳及其制造方法
JP2008238624A (ja) * 2007-03-28 2008-10-09 Toray Ind Inc ポリアミド樹脂製構造物、およびその製造方法

Cited By (2)

* Cited by examiner, † Cited by third party
Publication number Priority date Publication date Assignee Title
JP2703664B2 (ja) 1993-09-30 1998-01-26 コンパニー ゼネラール デ エタブリッスマン ミシュラン−ミシュラン エ コムパニー ラジアルカーカス補強材を備えたタイヤ
CN107405808A (zh) * 2015-03-30 2017-11-28 三菱化学株式会社 成型体及其制造方法

Also Published As

Publication number Publication date
JP2010253802A (ja) 2010-11-11

Similar Documents

Publication Publication Date Title
JP5651925B2 (ja) 繊維強化複合材料成形品とその製造方法
JP5917411B2 (ja) コアを有するシート・モールディング・コンパウンド
JP5934802B2 (ja) 航空機エンジン用の耐荷重構造およびそのプロセス
JP7249404B2 (ja) 複合材料製パネル構造体およびその製造方法
EP3147108B1 (en) Carbon fiber composite material
JP2014125532A5 (ja)
CN102785627A (zh) 一种具有面板复合的层结构复合材料保险杠及其制备方法
KR20120081976A (ko) 수지 적층판
JP2015178241A (ja) 繊維強化樹脂材の製造方法
WO2022260186A1 (ja) プレス用積層体及びプレス済積層体
KR101932635B1 (ko) 복합소재 성형품 제작 방법
JP6229197B2 (ja) 成型品およびその製造方法
JPWO2017222024A1 (ja) シート
JP2006213059A (ja) Frp複合物を製造する方法
JP5648270B2 (ja) 繊維強化複合材料成形品とその製造方法
CN106687271B (zh) 制备具有集成增强结构的多壳复合材料构件的方法以及由其制得的多壳复合材料构件
JP2021112849A (ja) 積層体及び積層体の製造方法
KR101237614B1 (ko) 복합재료 성형용 지퍼 락 형태의 실리콘 백
US11453446B2 (en) Fiber-reinforced plastics component with plastics foam structure
JP2014162858A (ja) プリプレグおよびその製造方法、ならびに繊維強化複合材料
WO2022209455A1 (ja) 扁平軽量部材およびその製造方法
JP2007131697A (ja) 繊維強化熱可塑性樹脂スタンパブルシート及び繊維強化熱可塑性樹脂成型物
JP5179952B2 (ja) 中空成形品および中空成形品の製造方法
JP2006218782A (ja) 発泡体コアを有するfrp製成形品の成形方法
JP6596895B2 (ja) 複合材料成形体

Legal Events

Date Code Title Description
A621 Written request for application examination

Free format text: JAPANESE INTERMEDIATE CODE: A621

Effective date: 20120330

A977 Report on retrieval

Free format text: JAPANESE INTERMEDIATE CODE: A971007

Effective date: 20130806

A131 Notification of reasons for refusal

Free format text: JAPANESE INTERMEDIATE CODE: A131

Effective date: 20130813

A02 Decision of refusal

Free format text: JAPANESE INTERMEDIATE CODE: A02

Effective date: 20140610

A521 Written amendment

Free format text: JAPANESE INTERMEDIATE CODE: A523

Effective date: 20140903

A911 Transfer to examiner for re-examination before appeal (zenchi)

Free format text: JAPANESE INTERMEDIATE CODE: A911

Effective date: 20140911

TRDD Decision of grant or rejection written
A01 Written decision to grant a patent or to grant a registration (utility model)

Free format text: JAPANESE INTERMEDIATE CODE: A01

Effective date: 20141021

A61 First payment of annual fees (during grant procedure)

Free format text: JAPANESE INTERMEDIATE CODE: A61

Effective date: 20141103

R151 Written notification of patent or utility model registration

Ref document number: 5651925

Country of ref document: JP

Free format text: JAPANESE INTERMEDIATE CODE: R151

S533 Written request for registration of change of name

Free format text: JAPANESE INTERMEDIATE CODE: R313533

R350 Written notification of registration of transfer

Free format text: JAPANESE INTERMEDIATE CODE: R350

R250 Receipt of annual fees

Free format text: JAPANESE INTERMEDIATE CODE: R250

R250 Receipt of annual fees

Free format text: JAPANESE INTERMEDIATE CODE: R250

R250 Receipt of annual fees

Free format text: JAPANESE INTERMEDIATE CODE: R250