JP5433010B2 - 端子金具及びこの端子金具の組み立て方法 - Google Patents

端子金具及びこの端子金具の組み立て方法 Download PDF

Info

Publication number
JP5433010B2
JP5433010B2 JP2011530816A JP2011530816A JP5433010B2 JP 5433010 B2 JP5433010 B2 JP 5433010B2 JP 2011530816 A JP2011530816 A JP 2011530816A JP 2011530816 A JP2011530816 A JP 2011530816A JP 5433010 B2 JP5433010 B2 JP 5433010B2
Authority
JP
Japan
Prior art keywords
electrical contact
contact portion
wall
bottom wall
fitting
Prior art date
Legal status (The legal status is an assumption and is not a legal conclusion. Google has not performed a legal analysis and makes no representation as to the accuracy of the status listed.)
Expired - Fee Related
Application number
JP2011530816A
Other languages
English (en)
Other versions
JPWO2011030712A1 (ja
Inventor
境 八木
伸晃 吉岡
郁夫 森田
Current Assignee (The listed assignees may be inaccurate. Google has not performed a legal analysis and makes no representation or warranty as to the accuracy of the list.)
Yazaki Corp
Original Assignee
Yazaki Corp
Priority date (The priority date is an assumption and is not a legal conclusion. Google has not performed a legal analysis and makes no representation as to the accuracy of the date listed.)
Filing date
Publication date
Application filed by Yazaki Corp filed Critical Yazaki Corp
Priority to JP2011530816A priority Critical patent/JP5433010B2/ja
Publication of JPWO2011030712A1 publication Critical patent/JPWO2011030712A1/ja
Application granted granted Critical
Publication of JP5433010B2 publication Critical patent/JP5433010B2/ja
Expired - Fee Related legal-status Critical Current
Anticipated expiration legal-status Critical

Links

Images

Classifications

    • HELECTRICITY
    • H01ELECTRIC ELEMENTS
    • H01RELECTRICALLY-CONDUCTIVE CONNECTIONS; STRUCTURAL ASSOCIATIONS OF A PLURALITY OF MUTUALLY-INSULATED ELECTRICAL CONNECTING ELEMENTS; COUPLING DEVICES; CURRENT COLLECTORS
    • H01R43/00Apparatus or processes specially adapted for manufacturing, assembling, maintaining, or repairing of line connectors or current collectors or for joining electric conductors
    • H01R43/16Apparatus or processes specially adapted for manufacturing, assembling, maintaining, or repairing of line connectors or current collectors or for joining electric conductors for manufacturing contact members, e.g. by punching and by bending
    • HELECTRICITY
    • H01ELECTRIC ELEMENTS
    • H01RELECTRICALLY-CONDUCTIVE CONNECTIONS; STRUCTURAL ASSOCIATIONS OF A PLURALITY OF MUTUALLY-INSULATED ELECTRICAL CONNECTING ELEMENTS; COUPLING DEVICES; CURRENT COLLECTORS
    • H01R13/00Details of coupling devices of the kinds covered by groups H01R12/70 or H01R24/00 - H01R33/00
    • H01R13/02Contact members
    • H01R13/04Pins or blades for co-operation with sockets
    • HELECTRICITY
    • H01ELECTRIC ELEMENTS
    • H01RELECTRICALLY-CONDUCTIVE CONNECTIONS; STRUCTURAL ASSOCIATIONS OF A PLURALITY OF MUTUALLY-INSULATED ELECTRICAL CONNECTING ELEMENTS; COUPLING DEVICES; CURRENT COLLECTORS
    • H01R13/00Details of coupling devices of the kinds covered by groups H01R12/70 or H01R24/00 - H01R33/00
    • H01R13/44Means for preventing access to live contacts
    • YGENERAL TAGGING OF NEW TECHNOLOGICAL DEVELOPMENTS; GENERAL TAGGING OF CROSS-SECTIONAL TECHNOLOGIES SPANNING OVER SEVERAL SECTIONS OF THE IPC; TECHNICAL SUBJECTS COVERED BY FORMER USPC CROSS-REFERENCE ART COLLECTIONS [XRACs] AND DIGESTS
    • Y10TECHNICAL SUBJECTS COVERED BY FORMER USPC
    • Y10TTECHNICAL SUBJECTS COVERED BY FORMER US CLASSIFICATION
    • Y10T29/00Metal working
    • Y10T29/49Method of mechanical manufacture
    • Y10T29/49002Electrical device making
    • Y10T29/49117Conductor or circuit manufacturing
    • Y10T29/49174Assembling terminal to elongated conductor
    • Y10T29/49181Assembling terminal to elongated conductor by deforming
    • Y10T29/49185Assembling terminal to elongated conductor by deforming of terminal

Landscapes

  • Engineering & Computer Science (AREA)
  • Manufacturing & Machinery (AREA)
  • Connector Housings Or Holding Contact Members (AREA)
  • Details Of Connecting Devices For Male And Female Coupling (AREA)
  • Manufacturing Of Electrical Connectors (AREA)

Description

本発明は、相手方の端子金具の電気接触部内に挿入されて、当該相手方の端子金具と接続される端子金具及びこの端子金具の組み立て方法に関する。
相手方の端子金具と接続するために、従来から種々の端子金具(例えば、特許文献1及び特許文献2参照)が用いられている。これらの特許文献に示された端子金具は、筒状に形成されかつ相手方の端子金具の電気接触部内に挿入される電気接触部と、当該電気接触部に連なりかつ電線が接続される電線接続部と、前記電気接触部に取り付けられる絶縁部材と、を備えている。
絶縁部材は、絶縁性の合成樹脂などの絶縁材料で構成され、前記電気接触部内に挿入される被収容部と、前記被収容部が前記電気接触部内に挿入されると当該電気接触部の先端面上に露出する露出部とを一体に備えている。被収容部の外周面には、前記電気接触部の内面に設けられた凹みに係止する係止アームなどが設けられている。露出部は、前記電気接触部の先端面上に重なりかつ当該電気接触部から離れるのにしたがって徐々に先細に形成されている。
前述した特許文献に示された従来の端子金具は、絶縁部材が電気接触部の先端面の全体を覆う露出部を備えていることで、大電流の通電時に先端部に接触しても、感電することを防止できるようにしている。
特開2000−150040号公報 特開2000−3750号公報
前述した特許文献1及び特許文献2などに示された従来の端子金具は、筒状に形成された電気接触部内に、当該電気接触部の軸芯に沿って被収容部を圧入して、係止アームが電気接触部の内面に設けられた凹みに係止することで、絶縁部材を取り付けている。このように、絶縁部材の被収容部には、弾性変形自在な係止アームを設ける必要があった。このため、筒状の電気接触部内に被収容部を圧入する際に、係止アームが弾性変形して、当該係止アームが破損することがあり、絶縁部材を取り付けることができない場合があった。
また、筒状の電気接触部の内面に凹みを切削加工などにより設ける必要があり、加工にかかる工数が増加して、コストが高騰する傾向であった。
したがって、本発明の目的は、絶縁部材を確実に取り付けることができる端子金具及びこの端子金具の組み立て方法を提供することにある。
前記課題を解決し目的を達成するために、請求項1に記載の本発明の端子金具は、筒状に形成されかつ相手方の端子金具内に挿入されて当該相手方の端子金具と接続する電気接触部と、絶縁材料で構成されかつ前記電気接触部内に収容される被収容部と前記電気接触部の先端面から露出する露出部とを備えた絶縁部材と、前記電気接触部と前記絶縁部材とのうち一方に設けられかつ他方に嵌合する嵌合固定部と、を備えた端子金具において、前記電気接触部が、前記絶縁部材の前記被収容部を表面上に位置付ける底壁と、この底壁との間に前記被収容部を位置付ける天井壁と、前記底壁と前記天井壁とに連なる連結壁とを備え、前記嵌合固定部は、前記天井壁から前記底壁に向かって延在して前記被収容部に設けられた切欠き内に嵌合するように折り曲げられた嵌合片であることを特徴としている。
請求項に記載の本発明の端子金具は、請求項に記載の端子金具において、前記嵌合固定部は、前記電気接触部の前記相手方の端子金具への挿入方向の中央部に設けられていることを特徴としている。
請求項に記載の本発明の端子金具の組み立て方法は、請求項1又は請求項2記載の端子金具の組み立て方法であって、前記電気接触部の底壁とこの底壁に連なる連結壁と当該連結壁に連なる天井壁とが同一平面状に位置した状態で、前記底壁上に前記絶縁部材の被収容部を位置付けて、前記連結壁が前記被収容部の外面に重なりかつ前記天井壁が前記底壁との間に前記被収容部を位置付け、前記嵌合片が前記切欠き内に嵌合するように折り曲げて前記嵌合片を前記切欠きに嵌合させることを特徴としている。
請求項に記載の本発明の端子金具は、筒状に形成されかつ相手方の端子金具内に挿入されて当該相手方の端子金具と接続する電気接触部と、絶縁材料で構成されかつ前記電気接触部内に収容される被収容部と前記電気接触部の先端面から露出する露出部とを備えた絶縁部材と、前記電気接触部と前記絶縁部材とのうち一方に設けられかつ他方に嵌合する嵌合固定部と、を備えた端子金具において、前記電気接触部が、前記絶縁部材の前記被収容部を表面上に位置付ける底壁と、この底壁との間に前記被収容部を位置付ける天井壁と、前記底壁と前記天井壁とに連なる連結壁とを備え、前記嵌合固定部は、前記天井壁から前記底壁に向かって凸でかつ前記被収容部に設けられた凹み内に嵌合するインデントであることを特徴としている。
請求項に記載の本発明の端子金具の組み立て方法は、請求項4記載の端子金具の組み立て方法であって、前記電気接触部の底壁とこの底壁に連なる連結壁と当該連結壁に連なる天井壁とが同一平面状に位置した状態で、既に前記インデントは形成され、前記底壁上に前記絶縁部材の被収容部を位置付けて、前記連結壁が前記被収容部の外面に重なりかつ前記天井壁が前記底壁との間に前記被収容部を位置付けるように折り曲げて、前記インデントを前記凹み内に嵌合させることを特徴としている。
請求項1に記載した本発明の端子金具によれば、電気接触部が底壁と天井壁と連結壁とを備えているので、これらの壁が同一平面上に位置した状態からこれらの壁を被収容部の回りに巻くように、これらの壁間で折り曲げることにより、電気接触部に被収容部を取り付けることができる。
また、電気接触部が底壁と天井壁と連結壁とを備えているので、これらの壁が同一平面上に位置した状態からこれらの壁を被収容部の回りに巻くように、これらの壁間で折り曲げることにより、電気接触部に被収容部を取り付けることができる。
また、嵌合固定部を天井壁に設けているので、この嵌合固定部が嵌合する凹みを天井壁などの電気接触部に設ける必要が無い。また、嵌合固定部が天井壁から底壁に向かって延在した嵌合片であるので、電気接触部に切削加工などを施すことなく、当該嵌合固定部としての嵌合片を形成することができる。
請求項に記載した本発明の端子金具によれば、嵌合固定部を電気接触部の中央部に設けているので、当該電気接触部を相手方の端子金具に挿入する際に、嵌合固定部が当該相手方の端子金具の内面に引っ掛かることなどを防止できる。
請求項3に記載した本発明の端子金具の組み立て方法によれば、電気接触部の底壁上に絶縁部材の被収容部を重ねて、当該電気接触部の連結壁を被収容部の外面に重ねかつ天井壁を底壁に重なるように折り曲げて、嵌合固定部を被収容部に嵌合させて、当該嵌合固定部で絶縁部材を固定することができる。
請求項に記載した本発明の端子金具によれば、嵌合固定部が天井壁から底壁に向かって凸のインデントであるので、電気接触部に切削加工などを施すことなくプレス加工を施すことにより、当該嵌合固定部としてのインデントを形成することができる。
以上説明したように、請求項1に記載の本発明によれば、底壁と連結壁と天井壁を被収容部の回りに巻くように、これらの壁間で折り曲げて、電気接触部に被収容部を取り付けることができるので、筒状の電気接触部内に絶縁部材の被収容部を圧入する必要が生じない。このために、弾性変形自在で破損しやすい係止アームなどを被収容部に設けても、当該係止アームなどを破損させることなく、絶縁部材を電気接触部内に固定することができる。よって、絶縁部材を破損させることなく、当該絶縁部材を電気接触部即ち端子金具に確実に取り付けることができる。また、電気接触部に切削加工などを施すことなく、当該嵌合固定部としての嵌合片を形成することができる。よって、加工にかかる工数が増大することを防止でき、安価な端子金具を確実に得ることができる。
また、嵌合固定部が嵌合する凹みを天井壁などの電気接触部に設ける必要がないので、請求項1の効果に加え、電気接触部に切削加工などを施す必要が生じない。よって、加工にかかる工数が増大することを防止でき、安価な端子金具を得ることができる。
請求項に記載の本発明によれば、電気接触部を相手方の端子金具に挿入する際に、嵌合固定部が当該相手方の端子金具の内面に引っ掛かることなどを防止できる。よって、相手方の端子金具と確実に接続することができる。また、請求項3に記載の本発明によれば、壁間で折り曲げて、嵌合固定部を被収容部に嵌合させるので、筒状の電気接触部内に絶縁部材の被収容部を圧入する必要が生じない。このために、弾性変形自在で破損しやすい係止アームなどを被収容部に設けても、当該係止アームなどを破損させることなく、絶縁部材を電気接触部内に固定することができる。よって、絶縁部材を破損させることなく、当該絶縁部材を電気接触部即ち端子金具に確実に取り付けることができる。
請求項4記載の本発明によれば、電気接触部に切削加工などを施すことなく、当該嵌合固定部としての嵌合片を形成することができる。よって、加工にかかる工数が増大することを防止でき、安価な端子金具を確実に得ることができる。
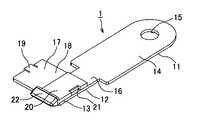
本発明の第1の実施形態にかかる雄端子を示す斜視図である。 図1中のII−II線に沿った断面図である。 図1中のIII−III線に沿った断面図である。 図1に示された雄端子の絶縁部材の斜視図である。 図4中のV−V線に沿った断面図である。 図4中のVI−VI線に沿った断面図である。 図1の雄端子の端子台接続部と底壁と連結壁と天井壁と嵌合片が同一平面上に位置付けられた状態を示す斜視図である。 図7に示された雄端子の底壁に絶縁部材の被収容部が重ねられた状態を示す斜視図である。 図8に示された雄端子が、天井壁が底壁との間に被収容部を位置付け嵌合片が被収容部に嵌合するように折り曲げられた状態を示す斜視図である。 図1に示された雄端子が雌端子と説臆した状態を示す斜視図である。 図10中のXI−XI線に沿った断面図である。 本発明の第2の実施形態にかかる雄端子の要部の斜視図である。 図12中のXIII−XIII線に沿った断面図である。 図12中のXIV−XIV線に沿った断面図である。 本発明の第3の実施形態にかかる雄端子の要部の斜視図である。 図15中のXVI−XVI線に沿った断面図である。
以下、本発明の第1の実施形態にかかる端子金具としての雄型の端子金具(以下雄端子と呼ぶ)1を、図1ないし図11を参照して説明する。
図1などに示す雄端子1は、相手方の端子金具としての雌型の端子金具(以下雌端子と呼ぶ)2(図10に示す)と接続する。
雌端子2は、導電性を有する板金などからなり、図10及び図11に示すように、電線接続部3と、電気接触部4とを備えている。電線接続部3は、表面上に電線を位置付ける底壁5と、この底壁の幅方向の両端から立設した一対のかしめ片6とを一体に備えている。かしめ片6は、底壁5に近づく方向に曲げられて、当該底壁5との間に電線の芯線を挟みこんで、当該電線の芯線をかしめる。電線接続部3は、かしめ片6が電線の芯線をかしめることで、当該電線と電気的に接続するとともに該電線と固定される。
電気接触部4は、図11に示すように、前記電線接続部3の底壁5と連なる筒状の接触部本体7と、この接触部本体7内に収容されるバネ片部8とを備えている。接触部本体7は、一つの壁が底壁5と連なった四角筒状に形成されている。バネ片部8は、互いの間に雄端子1の後述する電気接触部12を挟みこむ複数対のバネ片9と、当該バネ片9同士を連結する連結板部10とを一体に備えている。
各対のバネ片9は、勿論、互いの間に雄端子1の電気接触部12を挟みこむ位置に設けられている。複数対のバネ片9は、雌端子2の電気接触部4へ雄端子1の電気接触部12が挿入される方向S(以下、挿入方向と呼び、図中に矢印で示す)に沿って互いに間隔をあけて配置されている。各対のバネ片9は、電気接触部4内に雄端子1の電気接触部12が挿入されると、当該電気接触部12により互いに離れる方向に押圧されて、この電気接触部2を前記電気接触部4の中央に向かって押圧する弾性復元力を生じる。電気接触部4は、バネ片9が雄端子1の電気接触部12を当該電気接触部4の中央に向かって押圧する弾性復元力を生じた状態で、当該雄端子1の電気接触部12に接触することで、雄端子1の電気接触部12と電気的及び機械的に接続する。
雄端子1は、図1に示すように、端子台接続部11と、電気接触部12と、絶縁部材13と、嵌合固定部としての嵌合片19(図3に示す)を備えている。
端子台接続部11と電気接触部12と嵌合片19は、一枚の導電性の板金に打ち抜き加工やまげ加工が施されて得られるように、一体に構成されている。即ち、端子台接続部11と電気接触部12と嵌合片19は、導電性を有している。
端子台接続部11は、平板状の接続部本体14と、この接続部本体14に設けられた貫通孔15とを備えている。貫通孔15の平面形状は、丸形に形成されている。端子台接続部11は、接続部本体14が図示しない端子台上に載置され、貫通孔15内に通されたボルトが端子台に埋設されたナットにねじ込まれて、接続部本体14が端子台とボルトの頭との間に挟まれることで、当該端子台に取り付けられる。
電気接触部12は、前述した雌端子2の電気接触部4の厚みよりも遥かに厚みが薄くかつ幅が雌端子2の電気接触部4の幅よりも狭い扁平な筒状に形成されている。電気接触部12は、図2及び図3に示すように、端子台接続部11の接続部本体14と連なった底壁16と、この底壁16と間隔をあけて相対しかつ当該底壁16と平行な天井壁17と、連結壁18(図3に示す)とを一体に備え、更に嵌合片19が一体に設けられている。連結壁18は、底壁16の幅方向の一方の縁と天井壁17の幅方向の一方の縁とを互いに連結している。このため、天井壁17は、連結壁18を介して底壁16と連なり、連結壁18は底壁16と天井壁17とに連なっている。
嵌合片19は、天井壁17の幅方向の他方の縁に設けられている。嵌合片19は、天井壁17の前述した他方の縁の挿入方向Sの中央部に設けられている。嵌合片19は、天井壁17の他方の縁から底壁16の幅方向の他方の縁に向かって延在して、絶縁部材13に設けられた後述する切欠き21内即ち被収容部20に嵌合するとともに、その先端面が底壁16の他方の縁上に重ねられている。
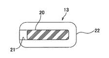
絶縁部材13は、絶縁性の合成樹脂などの絶縁材料(絶縁体)で構成されている。絶縁部材13は、図4に示すように、扁平な平板状の被収容部20と、切欠き21と、露出部22とを一体に備えている。被収容部20は、底壁16と連結壁18と天井壁17とで囲まれて形成される空間と略大きさが等しく形成されている。被収容部20は、前述した空間内に位置付けられて、底壁16と天井壁17との間に位置付けられる。即ち、被収容部20は、底壁16の表面上に位置付けられる。
切欠き21は、図4及び図5に示すように、被収容部20の底壁16と天井壁17の双方の前述した他方の縁間に位置付けられる一方の縁の中央部から凹に形成されている。切欠き21には、前述した嵌合片19が侵入して、当該嵌合片19が嵌合する。
露出部22は、被収容部20の雌端子2寄りの先端に連なっているとともに、図6に示すように、被収容部20の前述した切欠き21が設けられた一方の縁以外の縁から外周方向に突出している。露出部22は、被収容部20が底壁16と天井壁17との間に位置付けられると、電気接触部12の先端面上に全周に亘って重なるとともに、電気接触部12から離れるのにしたがって即ち雌端子2に近づくのにしたがって、徐々に先細に形成されている。露出部22は、被収容部20が底壁16と天井壁17との間に位置付けられて電気接触部12内に収容されると、電気接触部12の先端面から露出する。
前述した絶縁部材13は、電気接触部12の先端面の全体を覆う露出部22を備えていることで、大電流の通電時に先端部に作業員などの人などが接触しても、当該作業員などが感電することを防止できるようにしている。
前述した構成の雄端子1は、以下に示すように、組み立てられる。まず、導電性の板金に打ち抜き加工などが施されることにより、図7に示すように、端子台接続部11と電気接触部12の底壁16と連結壁18と天井壁17と嵌合片19が同一平面上に連なった状態に形成される。なお、このとき、複数の雄端子1が図示しない帯状の連鎖により連鎖状に連なっていてもよい。
そして、図8に示すように、底壁16上に絶縁部材13の被収容部20を位置付け(重ね)る。このとき、前述した底壁16の他方の縁に被収容部20の切欠き21が設けられた一方の縁を重ね、露出部22を底壁16の先端面上に重ねておく。その後、底壁16から連結壁18が立設して被収容部20の外面に重なりかつ天井壁17が底壁16と平行になるように重なるとともに、嵌合片19が切欠き21内に嵌合するように、曲げ加工を施す。即ち、雄端子1を、連結壁18が被収容部20の外面に重なりかつ天井壁17が底壁16との間に被収容部20を位置付けるように折り曲げて、嵌合片19が切欠き21即ち被収容部20に嵌合させる。こうして、図9に示すように、雄端子1が組み立てられる。こうして、組み立てられた雄端子1は、端子台接続部11が端子台に取り付けられ、電気接触部12が雌端子2の電気接触部4内に挿入されて、図10及び図11に示すように、雌端子2と接続される。なお、本実施形態では、底壁16と被収容部20と天井壁17とは、図3に示すように、互いに密に重なっている。
本実施形態によれば、電気接触部12が底壁16と天井壁18と連結壁17とを備えているので、これらの壁16,17,18が同一平面上に位置した状態からこれらの壁16,17,18を被収容部20の回りに巻くように、これらの壁16,17,18間で折り曲げることにより、電気接触部12に被収容部20を取り付けることができる。このために、筒状の電気接触部12内に絶縁部材13の被収容部を圧入する必要が生じないので、弾性変形自在で破損しやすい係止アームなどを被収容部20に設けることがないとともに、かりに設けても当該係止アームなどを破損させることなく、絶縁部材13を電気接触部12内に固定することができる。よって、絶縁部材13を破損させることなく、当該絶縁部材13を電気接触部12に確実に取り付けることができる。
また、絶縁部材13の被収容部20に嵌合する嵌合片19を当該天井壁17に設けているので、この嵌合片19が嵌合する凹みなどを天井壁17即ち電気接触部12に設ける必要がない。このために、電気接触部12に切削加工などを施す必要が生じない。よって、加工にかかる工数が増大することを防止でき、安価な雄端子1を得ることができる。
嵌合片19を電気接触部12の中央部に設けているので、当該電気接触部12を雌端子2の電気接触部4に挿入する際に、嵌合片19が天井壁17などによって覆われて、当該雌端子2の電気接触部4の内面に引っ掛かることなどを防止できる。よって、雄端子1を雌端子2と確実に接続することができる。
嵌合片19が天井壁17から底壁16に向かって延在しているので、電気接触部12に切削加工などを施すことなく、当該嵌合片19を形成することができる。よって、加工にかかる工数が増大することを防止でき、安価な雄端子1を確実に得ることができる。
次に、本発明の第2の実施形態にかかる端子金具としての雄端子1を、図12乃至図14を参照して説明する。なお、前述した第1の実施形態と同一部分には、同一符号を付して説明を省略する。
本実施形態では、雄端子1は、図12に示すように、嵌合固定部としてインデント23を備えている。インデント23は、図13及び図14に示すように、電気接触部12の天井壁17から当該天井壁17の一部が底壁16に向かって凸に湾曲されて構成されている。インデント23は、電気接触部12の端子台接続部11寄り即ち挿入方向Sの後方寄りの端部に設けられている。インデント23は、電気接触部12の長手方向に対して直交する方向に直線状に延在している。インデント23は、絶縁部材13の被収容部20の天井壁17に相対する表面から凹の凹み24(図13及び図14に示す)内に嵌合する。
本実施形態の雄端子1も、前述した第1の実施形態と同様に組み立てられる。なお、本実施形態では、端子台接続部11と電気接触部12の底壁16と連結壁18と天井壁17と嵌合片19が同一平面上に連なった状態で、既に、インデント23が形成されている。
本実施形態によれば、前述した第1の実施形態と同様に、電気接触部12が底壁16と天井壁18と連結壁17とを備えているので、これらの壁16,17,18が同一平面上に位置した状態からこれらの壁16,17,18を被収容部20の回りに巻くように、これらの壁16,17,18間で折り曲げることにより、電気接触部12に被収容部20を取り付けることができる。このために、筒状の電気接触部12内に絶縁部材13の被収容部を圧入する必要が生じないので、弾性変形自在で破損しやすい係止アームなどを被収容部20に設けることがないとともに、かりに設けても当該係止アームなどを破損させることなく、絶縁部材13を電気接触部12内に固定することができる。よって、絶縁部材13を破損させることなく、当該絶縁部材13を電気接触部12に確実に取り付けることができる。
また、絶縁部材13の被収容部20に嵌合するインデント23を当該天井壁17に設けているので、この嵌合片19が嵌合する凹みなどを天井壁17即ち電気接触部12に設ける必要がない。このために、電気接触部12に切削加工などを施す必要が生じない。よって、加工にかかる工数が増大することを防止でき、安価な雄端子1を得ることができる。
次に、本発明の第3の実施形態にかかる端子金具としての雄端子1を、図15及び図16を参照して説明する。なお、前述した第1の実施形態及び第2の実施形態と同一部分には、同一符号を付して説明を省略する。
本実施形態では、雄端子1は、図15に示すように、嵌合固定部としてロックアーム25を備えている。ロックアーム25は、図16に示すように、絶縁部材13の被収容部20の挿入方向Sの後端に設けられている。ロックアーム25は、入方向S即ち電気接触部12の長手方向と平行な直線状に延在しているとともに、その先端に挿入方向Sの最も後方寄りの端に天井壁17の挿入方向Sの後端に嵌合する爪部26を備えている。本実施形態の雄端子1も、前述した第1の実施形態と同様に組み立てられる。
本実施形態によれば、前述した第1の実施形態と同様に、電気接触部12が底壁16と天井壁18と連結壁17とを備えているので、これらの壁16,17,18が同一平面上に位置した状態からこれらの壁16,17,18を被収容部20の回りに巻くように、これらの壁16,17,18間で折り曲げることにより、電気接触部12に被収容部20を取り付けることができる。このために、筒状の電気接触部12内に絶縁部材13の被収容部を圧入する必要が生じないので、弾性変形自在で破損しやすい係止アームなどを被収容部20に設けることがないとともに、かりに設けても当該係止アームなどを破損させることなく、絶縁部材13を電気接触部12内に固定することができる。よって、絶縁部材13を破損させることなく、当該絶縁部材13を電気接触部12に確実に取り付けることができる。
また、電気接触部12の天井壁17の後端に嵌合するロックアーム25を絶縁部材13の被収容部20に設けているので、このロックアーム25が嵌合する凹みなどを天井壁17即ち電気接触部12に設ける必要がない。このために、電気接触部12に切削加工などを施す必要が生じない。よって、加工にかかる工数が増大することを防止でき、安価な雄端子1を得ることができる。
前述した実施形態では、雄端子1は、端子台接続部11を備えている。しかしながら、本発明の端子金具は、端子台接続部11の代わりに、電線と圧着又は圧接又は溶接される電線接続部などを備えていてもよいことは勿論である。また、本発明では、底壁16と被収容部20と天井壁17とが互いに密に重ならずに、互いに間隔をあけて配置されていてもよい。
なお、前述した実施形態は本発明の代表的な形態を示したに過ぎず、本発明は、実施形態に限定されるものではない。則ち、本発明の骨子を逸脱しない範囲で種々変形して実施することができる。
1 雄端子(端子金具)
2 雌端子(相手方の端子金具)
12 電気接触部
13 絶縁部材
16 底壁
17 天井壁
19 嵌合片(嵌合固定部)
20 被収容部
21 切欠き
22 露出部
23 インデント(嵌合固定部)
24 凹み
25 ロックアーム(嵌合固定部)
S 挿入方向

Claims (5)

  1. 筒状に形成されかつ相手方の端子金具内に挿入されて当該相手方の端子金具と接続する電気接触部と、
    絶縁材料で構成されかつ前記電気接触部内に収容される被収容部と前記電気接触部の先端面から露出する露出部とを備えた絶縁部材と、
    前記電気接触部と前記絶縁部材とのうち一方に設けられかつ他方に嵌合する嵌合固定部と、を備えた端子金具において、
    前記電気接触部が、前記絶縁部材の前記被収容部を表面上に位置付ける底壁と、この底壁との間に前記被収容部を位置付ける天井壁と、前記底壁と前記天井壁とに連なる連結壁とを備え
    前記嵌合固定部は、前記天井壁から前記底壁に向かって延在して前記被収容部に設けられた切欠き内に嵌合するように折り曲げられた嵌合片であることを特徴とする端子金具。
  2. 前記嵌合固定部は、前記電気接触部の前記相手方の端子金具への挿入方向の中央部に設けられていることを特徴とする請求項記載の端子金具。
  3. 請求項1又は請求項2記載の端子金具の組み立て方法であって、
    前記電気接触部の底壁とこの底壁に連なる連結壁と当該連結壁に連なる天井壁とが同一平面状に位置した状態で、前記底壁上に前記絶縁部材の被収容部を位置付けて、前記連結壁が前記被収容部の外面に重なりかつ前記天井壁が前記底壁との間に前記被収容部を位置付け、前記嵌合片が前記切欠き内に嵌合するように折り曲げて前記嵌合片を前記切欠きに嵌合させることを特徴とする端子金具の組み立て方法。
  4. 筒状に形成されかつ相手方の端子金具内に挿入されて当該相手方の端子金具と接続する電気接触部と、
    絶縁材料で構成されかつ前記電気接触部内に収容される被収容部と前記電気接触部の先端面から露出する露出部とを備えた絶縁部材と、
    前記電気接触部と前記絶縁部材とのうち一方に設けられかつ他方に嵌合する嵌合固定部と、を備えた端子金具において、
    前記電気接触部が、前記絶縁部材の前記被収容部を表面上に位置付ける底壁と、この底壁との間に前記被収容部を位置付ける天井壁と、前記底壁と前記天井壁とに連なる連結壁とを備え
    前記嵌合固定部は、前記天井壁から前記底壁に向かって凸でかつ前記被収容部に設けられた凹み内に嵌合するインデントであることを特徴とする端子金具。
  5. 請求項4記載の端子金具の組み立て方法であって、
    前記電気接触部の底壁とこの底壁に連なる連結壁と当該連結壁に連なる天井壁とが同一平面状に位置した状態で、既に前記インデントは形成され、
    前記底壁上に前記絶縁部材の被収容部を位置付けて、前記連結壁が前記被収容部の外面に重なりかつ前記天井壁が前記底壁との間に前記被収容部を位置付けるように折り曲げて、前記インデントを前記凹み内に嵌合させることを特徴とする端子金具の組み立て方法。
JP2011530816A 2009-09-08 2010-09-02 端子金具及びこの端子金具の組み立て方法 Expired - Fee Related JP5433010B2 (ja)

Priority Applications (1)

Application Number Priority Date Filing Date Title
JP2011530816A JP5433010B2 (ja) 2009-09-08 2010-09-02 端子金具及びこの端子金具の組み立て方法

Applications Claiming Priority (4)

Application Number Priority Date Filing Date Title
JP2009207426 2009-09-08
JP2009207426 2009-09-08
PCT/JP2010/064996 WO2011030712A1 (ja) 2009-09-08 2010-09-02 端子金具及びこの端子金具の組み立て方法
JP2011530816A JP5433010B2 (ja) 2009-09-08 2010-09-02 端子金具及びこの端子金具の組み立て方法

Publications (2)

Publication Number Publication Date
JPWO2011030712A1 JPWO2011030712A1 (ja) 2013-02-07
JP5433010B2 true JP5433010B2 (ja) 2014-03-05

Family

ID=43732385

Family Applications (1)

Application Number Title Priority Date Filing Date
JP2011530816A Expired - Fee Related JP5433010B2 (ja) 2009-09-08 2010-09-02 端子金具及びこの端子金具の組み立て方法

Country Status (5)

Country Link
US (1) US8398442B2 (ja)
EP (2) EP2477276A4 (ja)
JP (1) JP5433010B2 (ja)
CN (1) CN102405561B (ja)
WO (1) WO2011030712A1 (ja)

Families Citing this family (24)

* Cited by examiner, † Cited by third party
Publication number Priority date Publication date Assignee Title
EP2477276A4 (en) * 2009-09-08 2013-03-27 Yazaki Corp CONNECTING PIECE AND METHOD FOR MOUNTING THIS CONNECTOR
JP5755506B2 (ja) * 2011-06-02 2015-07-29 矢崎総業株式会社 端子金具
US8951051B2 (en) * 2011-10-10 2015-02-10 Lear Corporation Connector having optimized tip
DE102011089548A1 (de) * 2011-12-22 2013-03-07 Conti Temic Microelectronic Gmbh Berührschutzanordnung
JP5965265B2 (ja) 2012-09-24 2016-08-03 矢崎総業株式会社 端子
DE102013209690B4 (de) * 2013-05-24 2023-08-03 Te Connectivity Germany Gmbh HV-Fingerschutz
US9166326B1 (en) 2013-11-08 2015-10-20 Rockwell Automation Technologies, Inc. Electrical connector with contact guard
JP5826895B2 (ja) 2013-11-27 2015-12-02 日本航空電子工業株式会社 コネクタ
JP6181581B2 (ja) * 2014-03-10 2017-08-16 トヨタ自動車株式会社 端子接続構造、半導体装置
JP6666211B2 (ja) 2016-07-19 2020-03-13 タイコエレクトロニクスジャパン合同会社 コンタクト
US10020613B2 (en) * 2016-08-01 2018-07-10 Te Connectivity Corporation Power terminal for arcless power connector
JP6913278B2 (ja) * 2017-02-10 2021-08-04 株式会社オートネットワーク技術研究所 板状導電部材の接続構造及び板状導電路
JP6534421B2 (ja) * 2017-06-12 2019-06-26 矢崎総業株式会社 コネクタ
US10355389B2 (en) * 2017-08-01 2019-07-16 Delphi Technologies, Llc High-current electrical terminal
US11387589B2 (en) 2018-06-25 2022-07-12 Autonetworks Technologies, Ltd. Terminal
EP3588679B1 (en) * 2018-06-29 2023-09-27 TE Connectivity Germany GmbH Crimp and method for producing a crimp
DE102018117899A1 (de) * 2018-07-24 2020-01-30 Intercable Gmbh Steckerbuchse, Steckerpin und Stecker
FR3095086B1 (fr) * 2019-04-12 2021-04-16 Aptiv Tech Ltd Procédé de fabrication d’un contact de puissance mâle et contact de puissance mâle
JP7302382B2 (ja) * 2019-08-26 2023-07-04 株式会社オートネットワーク技術研究所 端子台
US11548052B2 (en) * 2020-03-26 2023-01-10 Te Connectivity Solutions Gmbh Self-lubricating connector
KR20220046883A (ko) * 2020-10-08 2022-04-15 삼성전자주식회사 호스트 커넥터와 메모리 장치를 포함하는 전자 장치
JP7412681B2 (ja) * 2020-11-17 2024-01-15 株式会社オートネットワーク技術研究所 シールドコネクタ
DE102021003221A1 (de) * 2021-06-22 2022-12-22 Kostal Kontakt Systeme Gmbh Elektrisches Kontaktelement für einen Steckverbinder und Steckverbinderanordnung mit einem elektrischen Kontaktelement
USD1108377S1 (en) * 2024-07-29 2026-01-06 Yazaki Corporation Terminal fitting for electric connector

Citations (3)

* Cited by examiner, † Cited by third party
Publication number Priority date Publication date Assignee Title
JP2000003750A (ja) * 1998-04-15 2000-01-07 Sumitomo Wiring Syst Ltd 電気接続用コネクタのプラグ
JP2000150040A (ja) * 1998-11-09 2000-05-30 Yazaki Corp 端 子
JP2008153074A (ja) * 2006-12-18 2008-07-03 Sumitomo Wiring Syst Ltd 端子金具及びコネクタ

Family Cites Families (8)

* Cited by examiner, † Cited by third party
Publication number Priority date Publication date Assignee Title
US2537370A (en) * 1948-10-12 1951-01-09 Abraham D Parnes Male safety plug member
JP3802742B2 (ja) * 2000-10-06 2006-07-26 矢崎総業株式会社 シールドコネクタ
US6537091B2 (en) * 2000-11-28 2003-03-25 Autonetworks Technologies, Ltd. Arc discharge suppressive terminal, method for producing such terminal, and arc discharge suppressive connector
JP3864752B2 (ja) * 2001-10-23 2007-01-10 住友電装株式会社 端子金具及びコネクタ
DE10317330B4 (de) * 2002-04-15 2013-12-24 Autonetworks Technologies, Ltd. Lichtbogenbeständiger Anschluss, Verwendung davon für ein lichtbogenbeständiges Anschlusspaar, für einen Verbinder, für einen Anschlusskasten, für eine Unterbrechervorrichtung oder dgl. und für ein Kraftfahrzeug und einen Motor
JP3980463B2 (ja) * 2002-11-05 2007-09-26 株式会社オートネットワーク技術研究所 耐アーク性端子及び耐アーク性端子対並びに自動車用コネクタ類
JP5308935B2 (ja) * 2009-06-30 2013-10-09 矢崎総業株式会社 コネクタの一体成形方法
EP2477276A4 (en) * 2009-09-08 2013-03-27 Yazaki Corp CONNECTING PIECE AND METHOD FOR MOUNTING THIS CONNECTOR

Patent Citations (3)

* Cited by examiner, † Cited by third party
Publication number Priority date Publication date Assignee Title
JP2000003750A (ja) * 1998-04-15 2000-01-07 Sumitomo Wiring Syst Ltd 電気接続用コネクタのプラグ
JP2000150040A (ja) * 1998-11-09 2000-05-30 Yazaki Corp 端 子
JP2008153074A (ja) * 2006-12-18 2008-07-03 Sumitomo Wiring Syst Ltd 端子金具及びコネクタ

Also Published As

Publication number Publication date
EP2916398A1 (en) 2015-09-09
US8398442B2 (en) 2013-03-19
EP2477276A1 (en) 2012-07-18
US20120009828A1 (en) 2012-01-12
CN102405561A (zh) 2012-04-04
JPWO2011030712A1 (ja) 2013-02-07
EP2477276A4 (en) 2013-03-27
CN102405561B (zh) 2014-04-30
WO2011030712A1 (ja) 2011-03-17

Similar Documents

Publication Publication Date Title
JP5433010B2 (ja) 端子金具及びこの端子金具の組み立て方法
JP5285985B2 (ja) 雌型端子金具
JP6885295B2 (ja) コネクタ端子およびコネクタ
JP7001961B2 (ja) 雌端子
JP5754533B1 (ja) コネクタ端子およびコネクタ
WO2015152313A1 (ja) 圧着端子と電線の接続構造
CN104067446B (zh) 端子接头
JP7232416B2 (ja) 雌端子
CN105580213A (zh) 端子配件
JP2015056209A (ja) 電気コネクタ用端子及び電気コネクタ
JP4440160B2 (ja) コネクタ
JP4132618B2 (ja) 端子金具のタブ
CN111801850A (zh) 阴端子
KR101381518B1 (ko) 수형 전기 단자
WO2020121926A1 (ja) ハーネス部品
JP2006179209A (ja) 雌端子及びコネクタ
WO2021215159A1 (ja) 金属板付導電性シート
JP5483273B2 (ja) オス端子への電線接続構造
JP5900544B2 (ja) コネクタ端子
US20250202136A1 (en) Insulation displacement connector having a sleeve
JP6013123B2 (ja) コネクタハウジング内における雌端子金具の位置決め構造
JP7360310B2 (ja) コンタクトおよびコネクタ
JP5564277B2 (ja) 雌型端子金具
JPH1055837A (ja) 雌側端子金具
JP2002134179A (ja) 圧接端子

Legal Events

Date Code Title Description
A131 Notification of reasons for refusal

Free format text: JAPANESE INTERMEDIATE CODE: A131

Effective date: 20130212

A521 Request for written amendment filed

Free format text: JAPANESE INTERMEDIATE CODE: A523

Effective date: 20130408

A131 Notification of reasons for refusal

Free format text: JAPANESE INTERMEDIATE CODE: A131

Effective date: 20130716

A521 Request for written amendment filed

Free format text: JAPANESE INTERMEDIATE CODE: A523

Effective date: 20130913

TRDD Decision of grant or rejection written
A01 Written decision to grant a patent or to grant a registration (utility model)

Free format text: JAPANESE INTERMEDIATE CODE: A01

Effective date: 20131112

A61 First payment of annual fees (during grant procedure)

Free format text: JAPANESE INTERMEDIATE CODE: A61

Effective date: 20131206

R150 Certificate of patent or registration of utility model

Ref document number: 5433010

Country of ref document: JP

Free format text: JAPANESE INTERMEDIATE CODE: R150

Free format text: JAPANESE INTERMEDIATE CODE: R150

R250 Receipt of annual fees

Free format text: JAPANESE INTERMEDIATE CODE: R250

R250 Receipt of annual fees

Free format text: JAPANESE INTERMEDIATE CODE: R250

R250 Receipt of annual fees

Free format text: JAPANESE INTERMEDIATE CODE: R250

R250 Receipt of annual fees

Free format text: JAPANESE INTERMEDIATE CODE: R250

R250 Receipt of annual fees

Free format text: JAPANESE INTERMEDIATE CODE: R250

R250 Receipt of annual fees

Free format text: JAPANESE INTERMEDIATE CODE: R250

LAPS Cancellation because of no payment of annual fees