JP5422425B2 - 歯車形削り盤 - Google Patents

歯車形削り盤 Download PDF

Info

Publication number
JP5422425B2
JP5422425B2 JP2010023746A JP2010023746A JP5422425B2 JP 5422425 B2 JP5422425 B2 JP 5422425B2 JP 2010023746 A JP2010023746 A JP 2010023746A JP 2010023746 A JP2010023746 A JP 2010023746A JP 5422425 B2 JP5422425 B2 JP 5422425B2
Authority
JP
Japan
Prior art keywords
workpiece
pinion cutter
cutter
main shaft
end side
Prior art date
Legal status (The legal status is an assumption and is not a legal conclusion. Google has not performed a legal analysis and makes no representation as to the accuracy of the status listed.)
Expired - Fee Related
Application number
JP2010023746A
Other languages
English (en)
Other versions
JP2011161525A (ja
Inventor
和孝 丸山
Current Assignee (The listed assignees may be inaccurate. Google has not performed a legal analysis and makes no representation or warranty as to the accuracy of the list.)
Mitsubishi Heavy Industries Ltd
Original Assignee
Mitsubishi Heavy Industries Ltd
Priority date (The priority date is an assumption and is not a legal conclusion. Google has not performed a legal analysis and makes no representation as to the accuracy of the date listed.)
Filing date
Publication date
Priority to JP2010023746A priority Critical patent/JP5422425B2/ja
Application filed by Mitsubishi Heavy Industries Ltd filed Critical Mitsubishi Heavy Industries Ltd
Priority to EP10845236A priority patent/EP2532463A1/en
Priority to US13/504,849 priority patent/US9108257B2/en
Priority to BR112012010095A priority patent/BR112012010095A2/pt
Priority to PCT/JP2010/065463 priority patent/WO2011096104A1/ja
Priority to CN2010800492646A priority patent/CN102596471A/zh
Priority to TW099131454A priority patent/TWI421139B/zh
Publication of JP2011161525A publication Critical patent/JP2011161525A/ja
Application granted granted Critical
Publication of JP5422425B2 publication Critical patent/JP5422425B2/ja
Expired - Fee Related legal-status Critical Current
Anticipated expiration legal-status Critical

Links

Images

Classifications

    • BPERFORMING OPERATIONS; TRANSPORTING
    • B23MACHINE TOOLS; METAL-WORKING NOT OTHERWISE PROVIDED FOR
    • B23FMAKING GEARS OR TOOTHED RACKS
    • B23F1/00Making gear teeth by tools of which the profile matches the profile of the required surface
    • B23F1/04Making gear teeth by tools of which the profile matches the profile of the required surface by planing or slotting
    • BPERFORMING OPERATIONS; TRANSPORTING
    • B23MACHINE TOOLS; METAL-WORKING NOT OTHERWISE PROVIDED FOR
    • B23FMAKING GEARS OR TOOTHED RACKS
    • B23F5/00Making straight gear teeth involving moving a tool relatively to a workpiece with a rolling-off or an enveloping motion with respect to the gear teeth to be made
    • B23F5/12Making straight gear teeth involving moving a tool relatively to a workpiece with a rolling-off or an enveloping motion with respect to the gear teeth to be made by planing or slotting
    • B23F5/16Making straight gear teeth involving moving a tool relatively to a workpiece with a rolling-off or an enveloping motion with respect to the gear teeth to be made by planing or slotting the tool having a shape similar to that of a spur wheel or part thereof
    • YGENERAL TAGGING OF NEW TECHNOLOGICAL DEVELOPMENTS; GENERAL TAGGING OF CROSS-SECTIONAL TECHNOLOGIES SPANNING OVER SEVERAL SECTIONS OF THE IPC; TECHNICAL SUBJECTS COVERED BY FORMER USPC CROSS-REFERENCE ART COLLECTIONS [XRACs] AND DIGESTS
    • Y10TECHNICAL SUBJECTS COVERED BY FORMER USPC
    • Y10TTECHNICAL SUBJECTS COVERED BY FORMER US CLASSIFICATION
    • Y10T409/00Gear cutting, milling, or planing
    • Y10T409/10Gear cutting
    • Y10T409/101431Gear tooth shape generating
    • Y10T409/105883Using rotary cutter

Landscapes

  • Engineering & Computer Science (AREA)
  • Mechanical Engineering (AREA)
  • Gear Processing (AREA)

Description

本発明は、ピニオンカッタを用いてワークに外歯や内歯を創成歯切りすることにより歯車を作製する歯車形削り盤に関し、特に、大型のワークに対して創成歯切りすることにより大型の外歯歯車や内歯歯車を作製する機種に適用すると、極めて有効なものである。
ピニオンカッタを用いて大型のワークに外歯や内歯を創成歯切りすることにより大型の外歯歯車や内歯歯車を作成する従来の歯車形削り盤(ギアシェーパ)の一例の要部の概略構成を図7に示す。
図7に示すように、ハウジング11の内部には、カッタヘッド12が配設されており、当該カッタヘッド12は、先端側を揺動できるように基端側が回動可能に支持されている。このカッタヘッド12には、主軸13が先端側を突出させるように内部を貫通して配設されており、当該主軸13は、当該カッタヘッド12に対して軸方向への摺動移動、すなわち、昇降移動を可能としつつ周方向へ回転可能に支持されている。この主軸13は、先端側が前記ハウジング11の内部から突出すると共に、その先端にピニオンカッタ14が同軸をなして取り付けられている。
前記主軸13の外面には、環状をなす外歯歯車(図示省略)の内側が当該主軸13に対して周方向への回転を規制されつつ軸方向へ移動できるように同軸上にスプライン連結されている。この外歯歯車の外歯は、図示しない回転用駆動源の駆動軸に同軸をなして連結された駆動歯車(図示省略)に対して直接的又は間接的に噛み合っている。
つまり、前記回転用駆動源の駆動軸を回転させると、前記主軸13は、前記駆動歯車や前記外歯歯車等を介して、周方向へ回転しながら前記カッタヘッド12に対して昇降移動することができるようになっているのである。
前記主軸13の基端側には、ロッド15の先端側が自在継手(図示省略)を介して連結されている。このロッド15の基端側は、クランク16の先端側に回動可能に連結されている。このクランク16の基端側は、図示しない昇降用駆動源の駆動軸へ連結されている。
つまり、前記昇降用駆動源の駆動軸を回転させると、前記クランク16が基端側を中心に回転して先端側を旋回し、前記ロッド15及び前記自在継手を介することにより、前記主軸13は、前記カッタヘッド12に対して昇降移動しながら周方向へ回転することができるようになっているのである。
前記カッタヘッド12の先端側には、ロッド17の先端側が当該カッタヘッド12の揺動軸回りと同じ方向で回動できるように連結されている。このロッド17の基端側は、リンク18の先端側に回動可能に連結されている。このリンク18の基端側は、回動可能に支持された支持軸19に対して図示しないクランプ機構を介して連結されており、当該リンク18は、当該クランプ機構を閉鎖することにより、当該支持軸19と一体的に回動できるようになる一方、当該クランプ機構を開放することにより、当該支持軸19に対して自由に回動することができるようになっている。
上記支持軸19には、てこ20の基端側が一体的に連結されている。このてこ20の先端側には、図示しない退避用駆動源の駆動軸へ連結されたカム21が配設されており、当該てこ20は、その先端側が、当該カム21のカム面に常に当接するように付勢手段(図示省略)で付勢されている。
つまり、前記クランプ機構を閉鎖すると共に前記退避用駆動源の駆動軸を回転させると、前記てこ20が前記カム21の所定のプロファイルのカム面に対応して前記支持軸19を回動して前記リンク18の先端側を揺動させ、前記ロッド17を介して前記カッタヘッド12の先端側を揺動させることにより、前記主軸13の先端側の位置、すなわち、ピニオンカッタ14の位置を、ワークに接触する加工側位置とワークから離れた退避側位置とに揺動移動させて切り換えることができるようになっているのである。
このようにして構成されている従来の歯車形削り盤10の作動を図8,9に基づいて次に説明する。
図8に示すように、円盤状のワーク1Aに対して外歯を創成する場合には、まず、前記クランプ機構を開放して、前記リンク18の先端側を上方側の外歯加工位置へ位置させるように当該リンク18を前記支持軸19に対して回動させた後、当該クランプ機構を閉鎖して、当該リンク18を当該支持軸19に対して一体的に固定する。
続いて、前記回転用駆動源、前記昇降用駆動源、前記退避用駆動源をそれぞれ作動させて各駆動軸を回転させると共に、前記ワーク1Aを支持する図示しないテーブルを回転させると、前記回転用駆動源の作動に伴って、前記歯車及び前記主軸13を介して前記ピニオンカッタ14が回転すると共に、前記昇降用駆動源の作動に伴って、前記クランク16、前記ロッド15、前記自在継手、前記主軸13を介して前記ピニオンカッタ14が当該ワーク1Aの軸心に対して平行に下降移動することにより、当該ワーク1Aの外面の周方向の一部に外歯が創成される(図8A−C)。
そして、前記ピニオンカッタ14が最下端位置にまで下降すると、前記退避用駆動源の作動による前記カム21の回転に伴って、前記てこ20の先端側が押し下げられて前記支持軸19が回動して、前記リンク18の先端側が前記ワーク1Aの径方向外側へ向かう方向(図8中、反時計回り方向)へ揺動し、前記ロッド17を介して前記カッタヘッド12の先端側が前記ワーク1Aの外面から離反する方向(図8中、左側)へ移動することにより、前記主軸13を介して前記ピニオンカッタ14が径方向他方側(図8中、左側)の退避側位置へ位置するように前記ワーク1Aの外面から離反すると共に円弧的な軌跡を描きながら上昇移動する(リリービング:図8D)。
そして、前記ピニオンカッタ14が最上端位置にまで上昇すると、前記カム21の回転に伴う前記付勢手段の付勢力によって、前記てこ20の先端側が当初の位置に戻り、前記支持軸19を介して前記リンク18の先端側が前記ワーク1Aの径方向内側へ向かう方向(図8中、時計回り方向)へ揺動し、前記ロッド17を介して前記カッタヘッド12の先端側が前記ワーク1Aの外面に接近する方向(図8中、右側)へ移動することにより、前記主軸13を介して前記ピニオンカッタ14が径方向一方側(図8中、右側)の加工側位置へ位置するように前記ワーク1Aの外面に接近すると共に、当該ピニオンカッタ14が再び当該ワーク1Aの軸心に対して平行に下降移動する。これと併せて前記テーブルが回転することにより、ワーク1Aの外面に先に創成された外歯に隣接して外歯が引き続いて創成される(図8A−C)。
以下、上述した作動を繰り返すことにより、ワーク1Aの外面の周方向全長にわたって外歯を創成することができる。
他方、図9に示すように、円環状のワーク1Bに対して内歯を創成する場合には、まず、前記クランプ機構を開放して、前記リンク18の先端側を下方側の内歯加工位置へ位置させるように当該リンク18を前記支持軸19に対して回動させた後、当該クランプ機構を閉鎖して、当該リンク18を当該支持軸19に対して一体的に固定する。
続いて、外歯加工の場合と同様に、前記回転用駆動源、前記昇降用駆動源、前記退避用駆動源をそれぞれ作動させて各駆動軸を回転させると共に、前記ワーク1Bを支持する図示しないテーブルを回転させると、前記回転用駆動源の作動に伴って、前記歯車及び前記主軸13を介して前記ピニオンカッタ14が回転すると共に、前記昇降用駆動源の作動に伴って、前記クランク16、前記ロッド15、前記自在継手、前記主軸13を介して前記ピニオンカッタ14が当該ワーク1Bの軸心に対して平行に下降移動することにより、当該ワーク1Bの内面の周方向の一部に内歯が創成される(図9A−C)。
そして、前記ピニオンカッタ14が最下端位置にまで下降すると、前記退避用駆動源の作動による前記カム21の回転に伴って、前記てこ20の先端側が押し下げられて前記支持軸19が回動して、前記リンク18の先端側が前記ワーク1Bの径方向内側へ向かう方向(図9中、反時計回り方向)へ揺動し、前記ロッド17を介して前記カッタヘッド12の先端側が前記ワーク1Bの内面から離反する方向(図9中、右側)へ移動することにより、前記主軸13を介して前記ピニオンカッタ14が径方向一方側(図9中、右側)の退避側位置へ位置するように前記ワーク1Bの内面から離反すると共に円弧的な軌跡を描きながら上昇移動する(リリービング:図9D)。
そして、前記ピニオンカッタ14が最上端位置にまで上昇すると、前記カム21の回転に伴う前記付勢手段の付勢力によって、前記てこ20の先端側が当初の位置に戻り、前記支持軸19を介して前記リンク18の先端側が前記ワーク1Bの径方向側へ向かう方向(図9中、時計回り方向)へ揺動し、前記ロッド17を介して前記カッタヘッド12の先端側が前記ワーク1Bの内面に接近する方向(図9中、左側)へ移動することにより、前記主軸13を介して前記ピニオンカッタ14が径方向他方側(図9中、左側)の加工側位置へ位置するように前記ワーク1Bの内面に接近すると共に、当該ピニオンカッタ14が再び当該ワーク1Bの軸心に対して平行に下降移動する。これと併せて前記テーブルが回転することにより、ワーク1Bの内面に先に創成された内歯に隣接して内歯が引き続いて創成される(図9A−C)。
以下、上述した作動を繰り返すことにより、ワーク1Bの内面の周方向全長にわたって内歯を創成することができる。
したがって、上記歯車形削り盤10においては、円盤状のワーク1Aに対して外歯を創成できると共に円環状のワーク1Bに対して内歯を創成することができるのはもちろんのこと、前記リンク18の先端側を上方側の外歯加工位置又は下方側の内歯加工位置に位置させるように当該リンク18を回動させることにより、前記ピニオンカッタ14の径方向一方側と他方側との加工側位置と退避側位置とを外歯創成の場合(図8中、ピニオンカッタ14の右側が加工側位置)と内歯創成の場合(図9中、ピニオンカッタ14の左側が加工側位置)とで切り換えることができるので、主軸13に対する外歯創成の場合のワーク1Aの位置と内歯創成の場合のワーク1Bの位置とを大きく異ならせることがなく、大きなワーク1A,1B(例えば、直径数m)であっても、主軸13等を大きくオーバハングさせておかなくても外歯創成と内歯創成との両者を同一の機種で行うことができる。
実開昭50−015888号公報 特開2004−154921号公報
ところで、前述したような従来の歯車形削り盤10においては、先に説明したように、前記リンク18の先端側を上方側の外歯加工位置と下方側の内歯加工位置とに切り換えるように当該リンク18を回動させることにより、ピニオンカッタ14の径方向一方側と他方側との加工側位置と退避側位置とを外歯創成の場合と内歯創成の場合とで切り換えるようにしていることから、図10に示すように、その切り換え途中において、前記カッタヘッド12の先端側が大きく揺動してしまう。
このため、上記切り換えの際の前記カッタヘッド12の揺動を許容できるようにするためだけの空間を前記ハウジング11の内部に確保しておかなければならず、ハウジング11が大きくなってしまっていた。
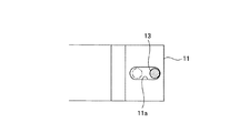
さらに、前記ハウジング11の内部から突出する前記主軸13も大きく揺動してしまうため、図11に示すように、前記切り換えの際の当該主軸13の揺動を可能にするための大きな開口部11aを前記ハウジング11に形成しなければならないことから、切削油や切粉等の異物の侵入を防止する各種手段を設けなければならず、コストアップの要因の一つとなっていた。
このようなことから、本発明は、外歯創成と内歯創成とを切り換えるときのカッタヘッドの揺動幅を小さく抑えることができる歯車形削り盤を提供することを目的とする。
前述した課題を解決するための、第一番目の発明に係る歯車形削り盤は、ピニオンカッタを用いてワークに外歯及び内歯を創成歯切りすることにより歯車を作製する歯車形削り盤であって、先端に前記ピニオンカッタを取り付けられる主軸と、先端側から前記主軸の先端側を突出させるように当該主軸を回転可能及び昇降移動可能に支持すると共に、基端側を回動可能に支持されたカッタヘッドと、前記主軸を回転駆動させる回転駆動手段と、前記主軸を昇降移動させる昇降移動手段と、前記主軸が下降移動するときに、前記ワークに接触する加工側位置に前記ピニオンカッタを位置させるように前記カッタヘッドの先端側を揺動移動させると共に当該ピニオンカッタを直線的に下降移動させる一方、前記主軸が上昇移動するときに、前記ワークから離れた退避側位置に前記ピニオンカッタを位置させるように前記カッタヘッドの先端側を揺動移動させると共に当該ピニオンカッタを直線的に上昇移動させるリリービング手段とを備え、前記リリービング手段が、回転可能に設けられて所定のプロファイルのカム面を有するカムと、一方側が揺動できると共に他方側が前記カムのカム面に常に当接するように回動可能に支持されたレバーと、一方側が前記カッタヘッドに回動可能に連結されて回動方向一方側と他方側との二位置に位置決め固定できると共に他方側が前記レバーの一方側に対して回動可能に連結された揺動具とを備えることにより、前記リリービング手段が、前記ワークに外歯を創成歯切りするときに、前記ピニオンカッタの径方向一方側に前記加工側位置を位置させると共に当該ピニオンカッタを前記ワークの軸心に対して平行に下降移動させる一方、前記ワークに内歯を創成歯切りするときに、前記ピニオンカッタの径方向他方側に前記加工側位置を位置させると共に当該ピニオンカッタを前記ワークの軸心に対して平行に下降移動させるように、前記ピニオンカッタの昇降移動サイクル及び前記ワークの軸心に対する当該ピニオンカッタの移動軌跡の傾斜角度を切り換えるものであることを特徴とする。
番目の発明に係る歯車形削り盤は、第番目の発明において、前記揺動具が、前記カッタヘッドに一方側を回動可能に連結されて回動方向一方側と他方側との二位置に他方側を位置決め固定可能なアームと、前記アームの他方側に一方側を回動可能に連結されると共に前記レバーの一方側に他方側を回動可能に連結されたロッドとを備えていることを特徴とする。
本発明に係る歯車形削り盤によれば、ピニオンカッタの加工側位置及び退避側位置に対応させて、ピニオンカッタをワークの軸心に対して平行に下降移動させると共にワークに干渉させることなく上昇移動させるように、ピニオンカッタの昇降移動サイクル及びワークの軸心に対する当該ピニオンカッタの移動軌跡の傾斜角度を切り換えることができるので、外歯創成と内歯創成とを切り換えるときのカッタヘッドの揺動幅を小さく抑えることができる。
本発明に係る歯車形削り盤の主な実施形態の要部の概略構成図である。 図1の歯車形削り盤の外歯創成の際の作動説明図である。 図1の歯車形削り盤の内歯創成の際の作動説明図である。 図1の歯車形削り盤のピニオンカッタの加工位置の切り換えの際の作動説明図である。 図4のV−V線矢視図である。 AIが、図1の歯車形削り盤の外歯創成時のピニオンカッタ移動軌跡説明図、AIIが、図1の歯車形削り盤の内歯創成時のピニオンカッタ移動軌跡説明図、BIが、従来の歯車形削り盤の一例の外歯創成時のピニオンカッタ移動軌跡説明図、BIIが、従来の歯車形削り盤の一例の内歯創成時のピニオンカッタ移動軌跡説明図である。 従来の歯車形削り盤の一例の要部の概略構成図である。 図7の歯車形削り盤の外歯創成の際の作動説明図である。 図7の歯車形削り盤の内歯創成の際の作動説明図である。 図7の歯車形削り盤のピニオンカッタの加工位置の切り換えの際の作動説明図である。 図10のXI−XI線矢視図である。
本発明に係る歯車形削り盤の実施形態を図面に基づいて以下に説明するが、本発明は図面に基づいて説明する以下の実施形態のみに限定されるものではない。
[主な実施形態]
本発明に係る歯車形削り盤の主な実施形態を図1〜6に基づいて説明する。
図1に示すように、ハウジング111の内部には、カッタヘッド112が配設されており、当該カッタヘッド112は、先端側を揺動できるように基端側が回動可能に支持されている。このカッタヘッド112には、主軸113が先端側を突出させるように内部を貫通して配設されており、当該主軸113は、当該カッタヘッド112に対して軸方向への摺動移動、すなわち、昇降移動を可能としつつ周方向へ回転可能に支持されている。この主軸113は、先端側が前記ハウジング111の内部から突出すると共に、その先端にピニオンカッタ114が同軸をなして取り付けられている。
前記主軸113の外面には、環状をなす外歯歯車(図示省略)の内側が当該主軸113に対して周方向への回転を規制されつつ軸方向へ移動できるように同軸上にスプライン連結されている。この外歯歯車の外歯は、図示しない回転用駆動源の駆動軸に同軸をなして連結された駆動歯車(図示省略)に対して直接的又は間接的に噛み合っている。
つまり、前記回転用駆動源の駆動軸を回転させると、前記主軸113は、前記駆動歯車や前記外歯歯車等を介して、周方向へ回転しながら前記カッタヘッド112に対して昇降移動することができるようになっているのである。このような前記外歯歯車、前記駆動歯車、前記回転用駆動源等により、本実施形態においては回転駆動手段を構成している。
前記主軸113の基端側には、ロッド115の先端側が自在継手(図示省略)を介して連結されている。このロッド115の基端側は、クランク116の先端側に回動可能に連結されている。このクランク116の基端側は、図示しない昇降用駆動源の駆動軸へ連結されている。
つまり、前記昇降用駆動源の駆動軸を回転させると、前記クランク116が基端側を中心に回転して先端側を旋回し、前記ロッド115及び前記自在継手を介することにより、前記主軸113は、前記カッタヘッド112に対して昇降移動しながら周方向へ回転することができるようになっているのである。このような前記自在継手、前記ロッド115、前記クランク116、前記昇降用駆動源等により、本実施形態においては昇降移動手段を構成している。
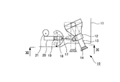
前記カッタヘッド112の先端側には、アーム118の基端側(一方側)が当該カッタヘッド112の揺動軸回りと同じ方向で回動できるように連結されており、当該アーム118は、その先端側(他方側)を回動方向一方側(図1中、右側)の外歯加工位置と他方側(図1中、左側)の内歯加工位置との二位置のみに切り換え固定できるように、その基端側(一方側)が当該カッタヘッド112に対して位置決め固定可能となっている。このアーム118の先端側(他方側)には、ロッド117の先端側(一方側)が回動可能に連結されている。
前記ロッド117の基端側(他方側)は、L字形をなすように曲折する曲折部分を回動可能に支持されたレバー120の先端側(一方側)に回動可能に連結されている。このレバー120の基端側(他方側)には、図示しない退避用駆動源の駆動軸へ連結されたカム121が配設されており、当該レバー120は、その基端側(他方側)が、当該カム121のカム面に常に当接するように付勢手段(図示省略)で付勢されている。
つまり、前記退避用駆動源の駆動軸を回転させると、前記レバー120が前記カム121の所定のプロファイルのカム面に対応して揺動し、前記ロッド117及び前記アーム118を介して、前記カッタヘッド112の先端側を揺動させて、前記主軸113の先端側の位置、すなわち、ピニオンカッタ114の位置を、ワークに接触する加工側位置とワークから離れた退避側位置とに揺動移動させて切り換えることができるようになっているのである。
このような本実施形態においては、前記ロッド117、前記アーム118等により揺動具を構成し、当該揺動具、前記レバー120、前記カム121、前記付勢手段、前記退避用駆動源等によりリリービング手段を構成している。
このようにして構成された本実施形態に係る歯車形削り盤100の作動を図2,3に基づいて次に説明する。
図2に示すように、円盤状のワーク1Aに対して外歯を創成する場合には、まず、前記アーム118の先端側を外歯加工位置(図2中、右側)へ位置させるように当該アーム118を図2中、時計回り方向へ揺動させて位置決め固定すると共に、前記カム121を外歯加工用の昇降移動サイクルで回転させるように当該カム121の回転位相を設定する。
続いて、前記回転用駆動源、前記昇降用駆動源、前記退避用駆動源をそれぞれ作動させて各駆動軸を回転させると共に、前記ワーク1Aを支持する図示しないテーブルを回転させると、前記回転用駆動源の作動に伴って、前記歯車及び前記主軸113を介して前記ピニオンカッタ114が回転すると共に、前記昇降用駆動源の作動に伴って、前記クランク116、前記ロッド115、前記自在継手、前記主軸113を介して前記ピニオンカッタ114が当該ワーク1Aの軸心に対して平行に下降移動することにより、当該ワーク1Aの外面の周方向の一部に外歯が創成される(図2A,B)。
そして、前記ピニオンカッタ114が最下端位置にまで下降すると、前記退避用駆動源の作動による前記カム121の回転に伴って、前記レバー120の基端側が押し下げられて先端側が前記ワーク1Aの径方向外側へ向かう方向(図2中、反時計回り方向)へ揺動し、前記ロッド117及び前記アーム118を介して前記カッタヘッド112の先端側が前記ワーク1Aの外面から離反する方向(図2中、左側)へ移動することにより、前記主軸113を介して前記ピニオンカッタ114が径方向他方側(図2中、左側)の退避側位置へ位置するように前記ワーク1Aの外面から離反すると共に直線的な軌跡を描きながら上昇移動する(リリービング:図2C,D)。
そして、前記ピニオンカッタ114が最上端位置にまで上昇すると、前記カム121の回転に伴う前記付勢手段の付勢力によって、前記レバー120の基端側が当初の位置に戻り、当該レバー120の先端側が前記ワーク1Aの径方向内側へ向かう方向(図2中、時計回り方向)へ揺動し、前記ロッド117及び前記アーム118を介して前記カッタヘッド112の先端側が前記ワーク1Aの外面に接近する方向(図2中、右側)へ移動することにより、前記主軸113を介して前記ピニオンカッタ114が径方向一方側(図2中、右側)の加工側位置へ位置するように前記ワーク1Aの外面に接近すると共に、当該ピニオンカッタ114が再び当該ワーク1Aの軸心に対して平行に下降移動する。これと併せて前記テーブルが回転することにより、ワーク1Aの外面に先に創成された外歯に隣接して外歯が引き続いて創成される(図2A,B)。
以下、上述した作動を繰り返すことにより、ワーク1Aの外面の周方向全長にわたって外歯を創成することができる。
他方、図3に示すように、円環状のワーク1Bに対して内歯を創成する場合には、まず、前記アーム118の先端側を内歯加工位置(図2中、左側)へ位置させるように当該アーム118を図2中、反時計回り方向へ揺動させて位置決め固定すると共に、前記カム121を内歯加工用の昇降移動サイクル、すなわち、外歯加工用の回転位相と180度ずらして回転させるように当該カム121の回転位相を設定する。
続いて、外歯加工の場合と同様に、前記回転用駆動源、前記昇降用駆動源、前記退避用駆動源をそれぞれ作動させて各駆動軸を回転させると共に、前記ワーク1Bを支持する図示しないテーブルを回転させると、前記回転用駆動源の作動に伴って、前記歯車及び前記主軸113を介して前記ピニオンカッタ114が回転すると共に、前記昇降用駆動源の作動に伴って、前記クランク116、前記ロッド115、前記自在継手、前記主軸113を介して前記ピニオンカッタ114が当該ワーク1Bの軸心に対して平行に下降移動することにより、当該ワーク1Bの内面の周方向の一部に内歯が創成される(図3A,B)。
そして、前記ピニオンカッタ114が最下端位置にまで下降すると、前記カム121の回転に伴う前記付勢手段の付勢力によって、前記レバー120の基端側が持ち上げられて先端側が前記ワーク1Bの径方向内側へ向かう方向(図3中、時計回り方向)へ揺動し、前記ロッド117及び前記アーム118を介して前記カッタヘッド112の先端側が前記ワーク1Bの内面から離反する方向(図3中、右側)へ移動することにより、前記主軸113を介して前記ピニオンカッタ114が径方向一方側(図3中、右側)の退避側位置へ位置するように前記ワーク1Bの内面から離反すると共に直線的な軌跡を描きながら上昇移動する(リリービング:図3C,D)。
そして、前記ピニオンカッタ114が最上端位置にまで上昇すると、前記退避用駆動源の作動による前記カム121の回転に伴って、前記レバー120の基端側が押し下げられて当初の位置に戻り、当該レバー120の先端側が前記ワーク1Bの径方向外側へ向かう方向(図3中、反時計回り方向)へ揺動し、前記ロッド117及び前記アーム118を介して前記カッタヘッド112の先端側が前記ワーク1Bの内面に接近する方向(図3中、左側)へ移動することにより、前記主軸113を介して前記ピニオンカッタ114が径方向他方側(図3中、左側)の加工側位置へ位置するように前記ワーク1Bの内面に接近すると共に、当該ピニオンカッタ114が再び当該ワーク1Bの軸心に対して平行に下降移動する。これと併せて前記テーブルが回転することにより、ワーク1Bの内面に先に創成された内歯に隣接して内歯が引き続いて創成される(図3A,B)。
以下、上述した作動を繰り返すことにより、ワーク1Bの内面の周方向全長にわたって内歯を創成することができる。
つまり、従来の歯車形削り盤10においては、図6BI及び図6BIIに示すように、ピニオンカッタ14の前記加工側位置(図6BI中、右側/図6BII中、左側)及び前記退避側位置(図6BI中、左側/図6BII中、右側)に対応させて、当該ピニオンカッタ14をワーク1A,1Bの軸心に対して平行に下降移動させると共に当該ワーク1A,1Bに干渉させることなく上昇移動させるように、下降移動用の直線プロファイルと上昇移動用の円弧プロファイルとを組み合わせた前記カム21のカム面の所定のプロファイルによる当該ピニオンカッタ14の移動軌跡を反転させることにより切り換えるようにしていたが、本実施形態に係る歯車形削り盤100においては、図6AI及び図6AIIに示すように、ピニオンカッタ114の前記加工側位置(図6AI中、右側/図6AII中、左側)及び前記退避側位置(図6AI中、左側/図6AII中、右側)に対応させて、当該ピニオンカッタ114をワーク1A,1Bの軸心に対して平行に下降移動させると共に当該ワーク1A,1Bに干渉させることなく上昇移動させるように、下降移動及び上昇移動の両方に利用できる直線プロファイルを2つ組み合わせた前記カム121のカム面の所定のプロファイルによる当該ワーク1A,1Bの軸心に対する当該ピニオンカッタ114の移動軌跡の傾斜角度を変更すると共に、当該カム121の回転位相を180度ずらして当該ピニオンカッタ114の昇降移動サイクルを逆転させることにより切り換えるようにしたのである。
このため、従来の歯車形削り盤10においては、ピニオンカッタ14の移動軌跡を反転させるように、前記リンク18を上下方向に大きく回動させることから、外歯創成と内歯創成とを切り換えるときのカッタヘッド12の揺動幅が大きくなってしまうものの、本実施形態に係る歯車形削り盤100においては、ピニオンカッタ114の昇降移動サイクルを切り換えるように、前記カム121を180度回転させると共に、前記ワーク1A,1Bの軸心に対するピニオンカッタ114の移動軌跡の傾斜角度を切り換えるように、前記アーム118の先端側を左右方向にわずかに揺動移動させる、すなわち、ピニオンカッタ114の加工側位置と退避側位置との間の移動量(リリービング量)と同等のカッタヘッド112の揺動移動量だけで済むことから、図4に示すように、外歯創成と内歯創成とを切り換えるときのカッタヘッド112の揺動幅を非常に小さくすることができる。
したがって、本実施形態に係る歯車形削り盤100によれば、上記切り換えの際の前記カッタヘッド112の揺動を許容できるようにするためだけのハウジング111内の空間を非常に小さくすることができるので、ハウジング111の小型化を図ることができると共に、主軸113の揺動幅も非常に小さくすることができ、図5に示すように、ハウジング111の内部から主軸113を突出させるための開口部111aを必要最小限の大きさで済ますことができるので、切削油や切粉等の異物の侵入を防止する各種手段を非常に簡単にすることができ、コストダウンを図ることができる。
本発明に係る歯車形削り盤は、外歯創成と内歯創成とを切り換えるときのカッタヘッドの揺動幅を小さく抑えることができるため、ハウジングの小型化を図ることができると共に、ハウジングの内部から主軸を突出させるための開口部を必要最小限の大きさで済ますことができ、切削油や切粉等の異物の侵入を防止する各種手段を非常に簡単にして、コストダウンを図ることができることから、産業上、極めて有益に利用することができる。
1A ワーク(円盤状)
1B ワーク(円環状)
100 歯車形削り盤
111 ハウジング
111a 開口部
112 カッタヘッド
113 主軸
114 ピニオンカッタ
115 ロッド
116 クランク
117 ロッド
118 アーム
120 レバー
121 カム

Claims (2)

  1. ピニオンカッタを用いてワークに外歯及び内歯を創成歯切りすることにより歯車を作製する歯車形削り盤であって、
    先端に前記ピニオンカッタを取り付けられる主軸と、
    先端側から前記主軸の先端側を突出させるように当該主軸を回転可能及び昇降移動可能に支持すると共に、基端側を回動可能に支持されたカッタヘッドと、
    前記主軸を回転駆動させる回転駆動手段と、
    前記主軸を昇降移動させる昇降移動手段と、
    前記主軸が下降移動するときに、前記ワークに接触する加工側位置に前記ピニオンカッタを位置させるように前記カッタヘッドの先端側を揺動移動させると共に当該ピニオンカッタを直線的に下降移動させる一方、前記主軸が上昇移動するときに、前記ワークから離れた退避側位置に前記ピニオンカッタを位置させるように前記カッタヘッドの先端側を揺動移動させると共に当該ピニオンカッタを直線的に上昇移動させるリリービング手段と
    を備え、
    前記リリービング手段が、
    回転可能に設けられて所定のプロファイルのカム面を有するカムと、
    一方側が揺動できると共に他方側が前記カムのカム面に常に当接するように回動可能に支持されたレバーと、
    一方側が前記カッタヘッドに回動可能に連結されて回動方向一方側と他方側との二位置に位置決め固定できると共に他方側が前記レバーの一方側に対して回動可能に連結された揺動具と
    を備えることにより、
    前記リリービング手段が、前記ワークに外歯を創成歯切りするときに、前記ピニオンカッタの径方向一方側に前記加工側位置を位置させると共に当該ピニオンカッタを前記ワークの軸心に対して平行に下降移動させる一方、前記ワークに内歯を創成歯切りするときに、前記ピニオンカッタの径方向他方側に前記加工側位置を位置させると共に当該ピニオンカッタを前記ワークの軸心に対して平行に下降移動させるように、前記ピニオンカッタの昇降移動サイクル及び前記ワークの軸心に対する当該ピニオンカッタの移動軌跡の傾斜角度を切り換えるものである
    ことを特徴とする歯車形削り盤。
  2. 請求項に記載の歯車形削り盤において、
    前記揺動具が、
    前記カッタヘッドに一方側を回動可能に連結されて回動方向一方側と他方側との二位置に他方側を位置決め固定可能なアームと、
    前記アームの他方側に一方側を回動可能に連結されると共に前記レバーの一方側に他方側を回動可能に連結されたロッドと
    を備えていることを特徴とする歯車形削り盤。
JP2010023746A 2010-02-05 2010-02-05 歯車形削り盤 Expired - Fee Related JP5422425B2 (ja)

Priority Applications (7)

Application Number Priority Date Filing Date Title
JP2010023746A JP5422425B2 (ja) 2010-02-05 2010-02-05 歯車形削り盤
US13/504,849 US9108257B2 (en) 2010-02-05 2010-09-09 Gear shaping machine
BR112012010095A BR112012010095A2 (pt) 2010-02-05 2010-09-09 máquina de conformação de engrenagem
PCT/JP2010/065463 WO2011096104A1 (ja) 2010-02-05 2010-09-09 歯車形削り盤
EP10845236A EP2532463A1 (en) 2010-02-05 2010-09-09 Gear shaping machine
CN2010800492646A CN102596471A (zh) 2010-02-05 2010-09-09 插齿机
TW099131454A TWI421139B (zh) 2010-02-05 2010-09-16 Gear planer

Applications Claiming Priority (1)

Application Number Priority Date Filing Date Title
JP2010023746A JP5422425B2 (ja) 2010-02-05 2010-02-05 歯車形削り盤

Publications (2)

Publication Number Publication Date
JP2011161525A JP2011161525A (ja) 2011-08-25
JP5422425B2 true JP5422425B2 (ja) 2014-02-19

Family

ID=44355126

Family Applications (1)

Application Number Title Priority Date Filing Date
JP2010023746A Expired - Fee Related JP5422425B2 (ja) 2010-02-05 2010-02-05 歯車形削り盤

Country Status (7)

Country Link
US (1) US9108257B2 (ja)
EP (1) EP2532463A1 (ja)
JP (1) JP5422425B2 (ja)
CN (1) CN102596471A (ja)
BR (1) BR112012010095A2 (ja)
TW (1) TWI421139B (ja)
WO (1) WO2011096104A1 (ja)

Families Citing this family (9)

* Cited by examiner, † Cited by third party
Publication number Priority date Publication date Assignee Title
JP5693685B2 (ja) * 2013-09-06 2015-04-01 三菱重工業株式会社 歯車加工機械
JP2016034686A (ja) * 2014-08-04 2016-03-17 株式会社 神崎高級工機製作所 削り盤
CN104841997B (zh) * 2015-05-20 2017-05-10 重庆富川古圣机电有限公司 插床进让刀机构
CN105728859B (zh) * 2016-04-11 2017-09-22 宜昌长机科技有限责任公司 一种插齿机刀架体前后摆动导向机构
CN108311761B (zh) * 2018-03-26 2023-07-11 宜昌长机科技有限责任公司 插齿机让刀系统及方法
CN109648720B (zh) * 2018-12-19 2021-04-13 廊坊市鼎鑫联拓工贸有限公司 基于保证同一个pdc钻头中所有刀翼加工成型精度的方法
US12350749B2 (en) * 2020-04-23 2025-07-08 Jtekt Corporation Gear machining apparatus
DE102021002058A1 (de) * 2021-04-19 2022-10-20 Gleason-Pfauter Maschinenfabrik Gmbh Verfahren zum Wälzstoßen einer periodischen Struktur, insbesondere einer Verzahnung, und Abhebenocken
CN114226877B (zh) * 2021-12-27 2023-06-30 机械科学研究总院青岛分院有限公司 一种防伤表面的齿轮加工用插齿机床辅助机构

Family Cites Families (12)

* Cited by examiner, † Cited by third party
Publication number Priority date Publication date Assignee Title
DE1627370A1 (de) * 1966-03-18 1971-07-08 Tos Czelakovice N P Anordnung zum Zufuehren und Entfernen eines Werkzeuges gegenueber dem Werkstueck an Abwaelzstossmaschinen
DE2148801C3 (de) 1971-09-30 1974-08-29 Maschinenfabrik Lorenz Ag, 7505 Ettlingen Abhebeeinrichtung für das Schneidrad einer Zahnradwälzstoßmaschine
JPS502298A (ja) 1973-05-15 1975-01-10
JPS5015888A (ja) 1973-06-11 1975-02-19
CH629133A5 (de) * 1978-06-02 1982-04-15 Maag Zahnraeder & Maschinen Ag Vorrichtung zum innenverzahnen grosser werkstuecke an einer zahnradstossmaschine.
DE3623125A1 (de) * 1985-08-13 1987-02-26 Mitsubishi Heavy Ind Ltd Fuehrungsvorrichtung fuer eine hobel- und stossmaschine zur fertigung von insbesondere schraegverzahnten zahnraedern
CH673800A5 (ja) 1988-03-08 1990-04-12 Maag Zahnraeder & Maschinen Ag
DE10209971A1 (de) * 2002-03-07 2003-10-02 Liebherr Verzahntech Gmbh Wälzstoßmaschine und Verfahren zum Betrieb einer Wälzstoßmaschine
JP2004154921A (ja) * 2002-11-08 2004-06-03 Mitsubishi Heavy Ind Ltd 工作機械
CN2757980Y (zh) * 2004-12-07 2006-02-15 宜昌长机科技有限责任公司 插齿机的曲柄滑动复合运动装置
JP4247760B2 (ja) * 2005-11-09 2009-04-02 株式会社ニイガタマシンテクノ マシニングセンタによる歯車の加工方法
DE102006052474A1 (de) * 2006-11-07 2008-05-08 Liebherr-Verzahntechnik Gmbh Wälzstoßmaschine

Also Published As

Publication number Publication date
US20120301241A1 (en) 2012-11-29
WO2011096104A1 (ja) 2011-08-11
BR112012010095A2 (pt) 2016-05-31
EP2532463A1 (en) 2012-12-12
TWI421139B (zh) 2014-01-01
JP2011161525A (ja) 2011-08-25
TW201134585A (en) 2011-10-16
US9108257B2 (en) 2015-08-18
CN102596471A (zh) 2012-07-18

Similar Documents

Publication Publication Date Title
JP5422425B2 (ja) 歯車形削り盤
JP5529125B2 (ja) 工作機械用の工具交換装置
TWI661896B (zh) 工具刀庫之換刀裝置
TWI454328B (zh) Tool machine control method and tool machine
US9254543B2 (en) Machine tool
JP2009125852A (ja) 工作機械、およびセンサモジュール
JP2018103330A (ja) 工作機械
JP5774740B2 (ja) ツール修整機能を含んだ歯車研削装置
JP2007062052A5 (ja)
JP2006062073A5 (ja)
WO2011067949A1 (ja) 歯車加工機械
CN101637833B (zh) 斜断锯
JP2011189352A (ja) 溶接装置
CN110549017A (zh) 一种内置式管道切割机的调节装置
JP5709624B2 (ja) 歯車形削盤
CN101642829B (zh) 斜断锯
JP2019123028A (ja) ワーク加工装置
JPH01301039A (ja) 工作機械
JP5244108B2 (ja) 管切断機械用の回転式スイベル
CN216030207U (zh) 一种基于数控机床水切割用的角度调整装置
TWM617577U (zh) 具換向結構之動力工具
JP2008173679A (ja) 溶接トーチの移動装置
CN111451712B (zh) 一种叶片用超声波加工设备
CN101648297B (zh) 往复切割工具
JP5288319B2 (ja) 電動工具

Legal Events

Date Code Title Description
A621 Written request for application examination

Free format text: JAPANESE INTERMEDIATE CODE: A621

Effective date: 20120220

A131 Notification of reasons for refusal

Free format text: JAPANESE INTERMEDIATE CODE: A131

Effective date: 20130528

A521 Request for written amendment filed

Free format text: JAPANESE INTERMEDIATE CODE: A523

Effective date: 20130710

TRDD Decision of grant or rejection written
A01 Written decision to grant a patent or to grant a registration (utility model)

Free format text: JAPANESE INTERMEDIATE CODE: A01

Effective date: 20131029

A61 First payment of annual fees (during grant procedure)

Free format text: JAPANESE INTERMEDIATE CODE: A61

Effective date: 20131125

R151 Written notification of patent or utility model registration

Ref document number: 5422425

Country of ref document: JP

Free format text: JAPANESE INTERMEDIATE CODE: R151

S111 Request for change of ownership or part of ownership

Free format text: JAPANESE INTERMEDIATE CODE: R313111

R350 Written notification of registration of transfer

Free format text: JAPANESE INTERMEDIATE CODE: R350

R250 Receipt of annual fees

Free format text: JAPANESE INTERMEDIATE CODE: R250

LAPS Cancellation because of no payment of annual fees