JP5259139B2 - 有機電界発光素子用組成物、有機電界発光素子および有機電界発光素子の製造方法 - Google Patents
有機電界発光素子用組成物、有機電界発光素子および有機電界発光素子の製造方法 Download PDFInfo
- Publication number
- JP5259139B2 JP5259139B2 JP2007225170A JP2007225170A JP5259139B2 JP 5259139 B2 JP5259139 B2 JP 5259139B2 JP 2007225170 A JP2007225170 A JP 2007225170A JP 2007225170 A JP2007225170 A JP 2007225170A JP 5259139 B2 JP5259139 B2 JP 5259139B2
- Authority
- JP
- Japan
- Prior art keywords
- group
- ring
- organic electroluminescent
- composition
- organic
- Prior art date
- Legal status (The legal status is an assumption and is not a legal conclusion. Google has not performed a legal analysis and makes no representation as to the accuracy of the status listed.)
- Active
Links
- 239000000203 mixture Substances 0.000 title claims description 68
- 238000004519 manufacturing process Methods 0.000 title claims description 18
- 238000000034 method Methods 0.000 claims description 85
- 238000002347 injection Methods 0.000 claims description 84
- 239000007924 injection Substances 0.000 claims description 84
- 239000000463 material Substances 0.000 claims description 80
- 239000000758 substrate Substances 0.000 claims description 55
- 238000000576 coating method Methods 0.000 claims description 53
- 239000011248 coating agent Substances 0.000 claims description 49
- 239000012044 organic layer Substances 0.000 claims description 33
- 229920000642 polymer Polymers 0.000 claims description 30
- 239000011521 glass Substances 0.000 claims description 27
- 239000003960 organic solvent Substances 0.000 claims description 24
- USIUVYZYUHIAEV-UHFFFAOYSA-N diphenyl ether Chemical compound C=1C=CC=CC=1OC1=CC=CC=C1 USIUVYZYUHIAEV-UHFFFAOYSA-N 0.000 claims description 22
- MTZQAGJQAFMTAQ-UHFFFAOYSA-N ethyl benzoate Chemical compound CCOC(=O)C1=CC=CC=C1 MTZQAGJQAFMTAQ-UHFFFAOYSA-N 0.000 claims description 22
- 230000005525 hole transport Effects 0.000 claims description 20
- 238000005401 electroluminescence Methods 0.000 claims description 9
- 239000010410 layer Substances 0.000 description 211
- 150000001875 compounds Chemical class 0.000 description 100
- 239000010408 film Substances 0.000 description 65
- 125000001424 substituent group Chemical group 0.000 description 63
- -1 aliphatic ethers Chemical class 0.000 description 62
- 239000002904 solvent Substances 0.000 description 52
- 229910052751 metal Inorganic materials 0.000 description 36
- 239000002184 metal Substances 0.000 description 36
- 230000015572 biosynthetic process Effects 0.000 description 32
- 125000006615 aromatic heterocyclic group Chemical group 0.000 description 28
- 230000000694 effects Effects 0.000 description 26
- 239000007787 solid Substances 0.000 description 26
- 230000001771 impaired effect Effects 0.000 description 25
- 230000032258 transport Effects 0.000 description 25
- 125000002029 aromatic hydrocarbon group Chemical group 0.000 description 23
- 229910052799 carbon Inorganic materials 0.000 description 23
- 238000009835 boiling Methods 0.000 description 21
- 230000000903 blocking effect Effects 0.000 description 20
- OKTJSMMVPCPJKN-UHFFFAOYSA-N Carbon Chemical compound [C] OKTJSMMVPCPJKN-UHFFFAOYSA-N 0.000 description 17
- 230000000737 periodic effect Effects 0.000 description 15
- 125000000217 alkyl group Chemical group 0.000 description 14
- 238000001035 drying Methods 0.000 description 13
- 125000003342 alkenyl group Chemical group 0.000 description 12
- BASFCYQUMIYNBI-UHFFFAOYSA-N platinum Chemical compound [Pt] BASFCYQUMIYNBI-UHFFFAOYSA-N 0.000 description 12
- 239000008199 coating composition Substances 0.000 description 11
- 125000001153 fluoro group Chemical group F* 0.000 description 11
- 150000002500 ions Chemical class 0.000 description 11
- 125000001997 phenyl group Chemical group [H]C1=C([H])C([H])=C(*)C([H])=C1[H] 0.000 description 11
- KDLHZDBZIXYQEI-UHFFFAOYSA-N Palladium Chemical compound [Pd] KDLHZDBZIXYQEI-UHFFFAOYSA-N 0.000 description 10
- 125000004432 carbon atom Chemical group C* 0.000 description 10
- 239000007850 fluorescent dye Substances 0.000 description 10
- 125000001624 naphthyl group Chemical group 0.000 description 10
- 125000003545 alkoxy group Chemical group 0.000 description 9
- 125000003785 benzimidazolyl group Chemical group N1=C(NC2=C1C=CC=C2)* 0.000 description 9
- 125000004093 cyano group Chemical group *C#N 0.000 description 9
- 125000005843 halogen group Chemical group 0.000 description 9
- 239000003446 ligand Substances 0.000 description 9
- 239000011344 liquid material Substances 0.000 description 9
- 125000000304 alkynyl group Chemical group 0.000 description 8
- XAGFODPZIPBFFR-UHFFFAOYSA-N aluminium Chemical compound [Al] XAGFODPZIPBFFR-UHFFFAOYSA-N 0.000 description 8
- 125000003118 aryl group Chemical group 0.000 description 8
- 125000000609 carbazolyl group Chemical group C1(=CC=CC=2C3=CC=CC=C3NC12)* 0.000 description 8
- 229910052731 fluorine Inorganic materials 0.000 description 8
- 238000005259 measurement Methods 0.000 description 8
- 125000002950 monocyclic group Chemical group 0.000 description 8
- 125000000962 organic group Chemical group 0.000 description 8
- JUJWROOIHBZHMG-UHFFFAOYSA-N Pyridine Chemical group C1=CC=NC=C1 JUJWROOIHBZHMG-UHFFFAOYSA-N 0.000 description 7
- BQCADISMDOOEFD-UHFFFAOYSA-N Silver Chemical compound [Ag] BQCADISMDOOEFD-UHFFFAOYSA-N 0.000 description 7
- 125000002252 acyl group Chemical group 0.000 description 7
- 125000004453 alkoxycarbonyl group Chemical group 0.000 description 7
- 229910052782 aluminium Inorganic materials 0.000 description 7
- 150000001450 anions Chemical class 0.000 description 7
- 125000004104 aryloxy group Chemical group 0.000 description 7
- 125000001188 haloalkyl group Chemical group 0.000 description 7
- 150000008040 ionic compounds Chemical class 0.000 description 7
- YNPNZTXNASCQKK-UHFFFAOYSA-N phenanthrene Chemical group C1=CC=C2C3=CC=CC=C3C=CC2=C1 YNPNZTXNASCQKK-UHFFFAOYSA-N 0.000 description 7
- 229910052709 silver Inorganic materials 0.000 description 7
- 239000004332 silver Substances 0.000 description 7
- 150000001721 carbon Chemical group 0.000 description 6
- 229910052801 chlorine Inorganic materials 0.000 description 6
- 125000001309 chloro group Chemical group Cl* 0.000 description 6
- 125000001495 ethyl group Chemical group [H]C([H])([H])C([H])([H])* 0.000 description 6
- 230000000670 limiting effect Effects 0.000 description 6
- 150000002739 metals Chemical class 0.000 description 6
- 125000002524 organometallic group Chemical group 0.000 description 6
- 229910052697 platinum Inorganic materials 0.000 description 6
- 125000000714 pyrimidinyl group Chemical group 0.000 description 6
- 125000001567 quinoxalinyl group Chemical group N1=C(C=NC2=CC=CC=C12)* 0.000 description 6
- 239000000126 substance Substances 0.000 description 6
- JYEUMXHLPRZUAT-UHFFFAOYSA-N 1,2,3-triazine Chemical group C1=CN=NN=C1 JYEUMXHLPRZUAT-UHFFFAOYSA-N 0.000 description 5
- YTPLMLYBLZKORZ-UHFFFAOYSA-N Thiophene Chemical group C=1C=CSC=1 YTPLMLYBLZKORZ-UHFFFAOYSA-N 0.000 description 5
- 150000004945 aromatic hydrocarbons Chemical group 0.000 description 5
- 125000004986 diarylamino group Chemical group 0.000 description 5
- 238000011156 evaluation Methods 0.000 description 5
- PCHJSUWPFVWCPO-UHFFFAOYSA-N gold Chemical compound [Au] PCHJSUWPFVWCPO-UHFFFAOYSA-N 0.000 description 5
- 229910052737 gold Inorganic materials 0.000 description 5
- 239000010931 gold Substances 0.000 description 5
- 125000002183 isoquinolinyl group Chemical group C1(=NC=CC2=CC=CC=C12)* 0.000 description 5
- 125000002496 methyl group Chemical group [H]C([H])([H])* 0.000 description 5
- 229910052757 nitrogen Chemical group 0.000 description 5
- QJGQUHMNIGDVPM-UHFFFAOYSA-N nitrogen group Chemical group [N] QJGQUHMNIGDVPM-UHFFFAOYSA-N 0.000 description 5
- 229910052763 palladium Inorganic materials 0.000 description 5
- 238000000746 purification Methods 0.000 description 5
- 125000003373 pyrazinyl group Chemical group 0.000 description 5
- PBMFSQRYOILNGV-UHFFFAOYSA-N pyridazine Chemical group C1=CC=NN=C1 PBMFSQRYOILNGV-UHFFFAOYSA-N 0.000 description 5
- 239000011347 resin Substances 0.000 description 5
- 229920005989 resin Polymers 0.000 description 5
- CSNIZNHTOVFARY-UHFFFAOYSA-N 1,2-benzothiazole Chemical group C1=CC=C2C=NSC2=C1 CSNIZNHTOVFARY-UHFFFAOYSA-N 0.000 description 4
- KTZQTRPPVKQPFO-UHFFFAOYSA-N 1,2-benzoxazole Chemical group C1=CC=C2C=NOC2=C1 KTZQTRPPVKQPFO-UHFFFAOYSA-N 0.000 description 4
- AVRPFRMDMNDIDH-UHFFFAOYSA-N 1h-quinazolin-2-one Chemical group C1=CC=CC2=NC(O)=NC=C21 AVRPFRMDMNDIDH-UHFFFAOYSA-N 0.000 description 4
- WHFKYDMBUMLWDA-UHFFFAOYSA-N 2-phenoxyethyl acetate Chemical compound CC(=O)OCCOC1=CC=CC=C1 WHFKYDMBUMLWDA-UHFFFAOYSA-N 0.000 description 4
- KWOLFJPFCHCOCG-UHFFFAOYSA-N Acetophenone Chemical compound CC(=O)C1=CC=CC=C1 KWOLFJPFCHCOCG-UHFFFAOYSA-N 0.000 description 4
- WKBOTKDWSSQWDR-UHFFFAOYSA-N Bromine atom Chemical compound [Br] WKBOTKDWSSQWDR-UHFFFAOYSA-N 0.000 description 4
- PXHVJJICTQNCMI-UHFFFAOYSA-N Nickel Chemical compound [Ni] PXHVJJICTQNCMI-UHFFFAOYSA-N 0.000 description 4
- CBENFWSGALASAD-UHFFFAOYSA-N Ozone Chemical compound [O-][O+]=O CBENFWSGALASAD-UHFFFAOYSA-N 0.000 description 4
- 125000002777 acetyl group Chemical group [H]C([H])([H])C(*)=O 0.000 description 4
- 125000005577 anthracene group Chemical group 0.000 description 4
- 230000004888 barrier function Effects 0.000 description 4
- 229920001940 conductive polymer Polymers 0.000 description 4
- 239000000470 constituent Substances 0.000 description 4
- 230000007547 defect Effects 0.000 description 4
- CZZYITDELCSZES-UHFFFAOYSA-N diphenylmethane Chemical compound C=1C=CC=CC=1CC1=CC=CC=C1 CZZYITDELCSZES-UHFFFAOYSA-N 0.000 description 4
- 125000001301 ethoxy group Chemical group [H]C([H])([H])C([H])([H])O* 0.000 description 4
- 239000007789 gas Substances 0.000 description 4
- 238000010438 heat treatment Methods 0.000 description 4
- 238000004770 highest occupied molecular orbital Methods 0.000 description 4
- 125000002883 imidazolyl group Chemical group 0.000 description 4
- 125000001041 indolyl group Chemical group 0.000 description 4
- 238000010030 laminating Methods 0.000 description 4
- 125000001160 methoxycarbonyl group Chemical group [H]C([H])([H])OC(*)=O 0.000 description 4
- 125000004433 nitrogen atom Chemical group N* 0.000 description 4
- 230000003287 optical effect Effects 0.000 description 4
- WCPAKWJPBJAGKN-UHFFFAOYSA-N oxadiazole Chemical group C1=CON=N1 WCPAKWJPBJAGKN-UHFFFAOYSA-N 0.000 description 4
- 230000036961 partial effect Effects 0.000 description 4
- 125000005327 perimidinyl group Chemical group N1C(=NC2=CC=CC3=CC=CC1=C23)* 0.000 description 4
- 125000002080 perylenyl group Chemical group C1(=CC=C2C=CC=C3C4=CC=CC5=CC=CC(C1=C23)=C45)* 0.000 description 4
- RDOWQLZANAYVLL-UHFFFAOYSA-N phenanthridine Chemical group C1=CC=C2C3=CC=CC=C3C=NC2=C1 RDOWQLZANAYVLL-UHFFFAOYSA-N 0.000 description 4
- 125000003226 pyrazolyl group Chemical group 0.000 description 4
- MHOZZUICEDXVGD-UHFFFAOYSA-N pyrrolo[2,3-d]imidazole Chemical group C1=NC2=CC=NC2=N1 MHOZZUICEDXVGD-UHFFFAOYSA-N 0.000 description 4
- RQGPLDBZHMVWCH-UHFFFAOYSA-N pyrrolo[3,2-b]pyrrole Chemical group C1=NC2=CC=NC2=C1 RQGPLDBZHMVWCH-UHFFFAOYSA-N 0.000 description 4
- GZTPJDLYPMPRDF-UHFFFAOYSA-N pyrrolo[3,2-c]pyrazole Chemical group N1=NC2=CC=NC2=C1 GZTPJDLYPMPRDF-UHFFFAOYSA-N 0.000 description 4
- 125000000168 pyrrolyl group Chemical group 0.000 description 4
- 125000002943 quinolinyl group Chemical group N1=C(C=CC2=CC=CC=C12)* 0.000 description 4
- 150000003839 salts Chemical group 0.000 description 4
- 239000000243 solution Substances 0.000 description 4
- 238000004528 spin coating Methods 0.000 description 4
- 238000003786 synthesis reaction Methods 0.000 description 4
- 229920003002 synthetic resin Polymers 0.000 description 4
- 239000000057 synthetic resin Substances 0.000 description 4
- ONCNIMLKGZSAJT-UHFFFAOYSA-N thieno[3,2-b]furan Chemical group S1C=CC2=C1C=CO2 ONCNIMLKGZSAJT-UHFFFAOYSA-N 0.000 description 4
- 125000002023 trifluoromethyl group Chemical group FC(F)(F)* 0.000 description 4
- ODHXBMXNKOYIBV-UHFFFAOYSA-N triphenylamine Chemical compound C1=CC=CC=C1N(C=1C=CC=CC=1)C1=CC=CC=C1 ODHXBMXNKOYIBV-UHFFFAOYSA-N 0.000 description 4
- 125000000391 vinyl group Chemical group [H]C([*])=C([H])[H] 0.000 description 4
- IANQTJSKSUMEQM-UHFFFAOYSA-N 1-benzofuran Chemical group C1=CC=C2OC=CC2=C1 IANQTJSKSUMEQM-UHFFFAOYSA-N 0.000 description 3
- STTGYIUESPWXOW-UHFFFAOYSA-N 2,9-dimethyl-4,7-diphenyl-1,10-phenanthroline Chemical compound C=12C=CC3=C(C=4C=CC=CC=4)C=C(C)N=C3C2=NC(C)=CC=1C1=CC=CC=C1 STTGYIUESPWXOW-UHFFFAOYSA-N 0.000 description 3
- DHDHJYNTEFLIHY-UHFFFAOYSA-N 4,7-diphenyl-1,10-phenanthroline Chemical compound C1=CC=CC=C1C1=CC=NC2=C1C=CC1=C(C=3C=CC=CC=3)C=CN=C21 DHDHJYNTEFLIHY-UHFFFAOYSA-N 0.000 description 3
- ZCYVEMRRCGMTRW-UHFFFAOYSA-N 7553-56-2 Chemical compound [I] ZCYVEMRRCGMTRW-UHFFFAOYSA-N 0.000 description 3
- XEKOWRVHYACXOJ-UHFFFAOYSA-N Ethyl acetate Chemical compound CCOC(C)=O XEKOWRVHYACXOJ-UHFFFAOYSA-N 0.000 description 3
- YLQBMQCUIZJEEH-UHFFFAOYSA-N Furan Chemical group C=1C=COC=1 YLQBMQCUIZJEEH-UHFFFAOYSA-N 0.000 description 3
- 241000282320 Panthera leo Species 0.000 description 3
- KJTLSVCANCCWHF-UHFFFAOYSA-N Ruthenium Chemical compound [Ru] KJTLSVCANCCWHF-UHFFFAOYSA-N 0.000 description 3
- YXFVVABEGXRONW-UHFFFAOYSA-N Toluene Chemical compound CC1=CC=CC=C1 YXFVVABEGXRONW-UHFFFAOYSA-N 0.000 description 3
- 125000004062 acenaphthenyl group Chemical group C1(CC2=CC=CC3=CC=CC1=C23)* 0.000 description 3
- 125000003828 azulenyl group Chemical group 0.000 description 3
- TXVHTIQJNYSSKO-UHFFFAOYSA-N benzo[e]pyrene Chemical group C1=CC=C2C3=CC=CC=C3C3=CC=CC4=CC=C1C2=C34 TXVHTIQJNYSSKO-UHFFFAOYSA-N 0.000 description 3
- WPYMKLBDIGXBTP-UHFFFAOYSA-N benzoic acid Chemical compound OC(=O)C1=CC=CC=C1 WPYMKLBDIGXBTP-UHFFFAOYSA-N 0.000 description 3
- IOJUPLGTWVMSFF-UHFFFAOYSA-N benzothiazole Chemical group C1=CC=C2SC=NC2=C1 IOJUPLGTWVMSFF-UHFFFAOYSA-N 0.000 description 3
- 125000005578 chrysene group Chemical group 0.000 description 3
- 238000004140 cleaning Methods 0.000 description 3
- 239000012459 cleaning agent Substances 0.000 description 3
- 230000000052 comparative effect Effects 0.000 description 3
- 125000004663 dialkyl amino group Chemical group 0.000 description 3
- 125000001664 diethylamino group Chemical group [H]C([H])([H])C([H])([H])N(*)C([H])([H])C([H])([H])[H] 0.000 description 3
- 125000002147 dimethylamino group Chemical group [H]C([H])([H])N(*)C([H])([H])[H] 0.000 description 3
- 125000003754 ethoxycarbonyl group Chemical group C(=O)(OCC)* 0.000 description 3
- 125000003983 fluorenyl group Chemical group C1(=CC=CC=2C3=CC=CC=C3CC12)* 0.000 description 3
- ZTYYDUBWJTUMHW-UHFFFAOYSA-N furo[3,2-b]furan Chemical group O1C=CC2=C1C=CO2 ZTYYDUBWJTUMHW-UHFFFAOYSA-N 0.000 description 3
- 125000004435 hydrogen atom Chemical group [H]* 0.000 description 3
- 229910052740 iodine Inorganic materials 0.000 description 3
- 229910052741 iridium Inorganic materials 0.000 description 3
- GKOZUEZYRPOHIO-UHFFFAOYSA-N iridium atom Chemical compound [Ir] GKOZUEZYRPOHIO-UHFFFAOYSA-N 0.000 description 3
- 125000005647 linker group Chemical group 0.000 description 3
- 239000007788 liquid Substances 0.000 description 3
- QSHDDOUJBYECFT-UHFFFAOYSA-N mercury Chemical compound [Hg] QSHDDOUJBYECFT-UHFFFAOYSA-N 0.000 description 3
- 229910052753 mercury Inorganic materials 0.000 description 3
- 125000000956 methoxy group Chemical group [H]C([H])([H])O* 0.000 description 3
- 229910052762 osmium Inorganic materials 0.000 description 3
- SYQBFIAQOQZEGI-UHFFFAOYSA-N osmium atom Chemical compound [Os] SYQBFIAQOQZEGI-UHFFFAOYSA-N 0.000 description 3
- 125000000951 phenoxy group Chemical group [H]C1=C([H])C([H])=C(O*)C([H])=C1[H] 0.000 description 3
- 125000004437 phosphorous atom Chemical group 0.000 description 3
- 230000000704 physical effect Effects 0.000 description 3
- 239000002861 polymer material Substances 0.000 description 3
- 230000008569 process Effects 0.000 description 3
- 125000005581 pyrene group Chemical group 0.000 description 3
- 125000004076 pyridyl group Chemical group 0.000 description 3
- 125000002294 quinazolinyl group Chemical group N1=C(N=CC2=CC=CC=C12)* 0.000 description 3
- 230000002829 reductive effect Effects 0.000 description 3
- 229910052702 rhenium Inorganic materials 0.000 description 3
- WUAPFZMCVAUBPE-UHFFFAOYSA-N rhenium atom Chemical compound [Re] WUAPFZMCVAUBPE-UHFFFAOYSA-N 0.000 description 3
- 229910052703 rhodium Inorganic materials 0.000 description 3
- 239000010948 rhodium Substances 0.000 description 3
- MHOVAHRLVXNVSD-UHFFFAOYSA-N rhodium atom Chemical compound [Rh] MHOVAHRLVXNVSD-UHFFFAOYSA-N 0.000 description 3
- 229910052707 ruthenium Inorganic materials 0.000 description 3
- VYPSYNLAJGMNEJ-UHFFFAOYSA-N silicon dioxide Inorganic materials O=[Si]=O VYPSYNLAJGMNEJ-UHFFFAOYSA-N 0.000 description 3
- 125000003808 silyl group Chemical group [H][Si]([H])([H])[*] 0.000 description 3
- 238000001228 spectrum Methods 0.000 description 3
- 125000005579 tetracene group Chemical group 0.000 description 3
- VJYJJHQEVLEOFL-UHFFFAOYSA-N thieno[3,2-b]thiophene Chemical group S1C=CC2=C1C=CS2 VJYJJHQEVLEOFL-UHFFFAOYSA-N 0.000 description 3
- 239000010409 thin film Substances 0.000 description 3
- 125000005580 triphenylene group Chemical group 0.000 description 3
- 238000001771 vacuum deposition Methods 0.000 description 3
- 238000007740 vapor deposition Methods 0.000 description 3
- DPZNOMCNRMUKPS-UHFFFAOYSA-N 1,3-Dimethoxybenzene Chemical compound COC1=CC=CC(OC)=C1 DPZNOMCNRMUKPS-UHFFFAOYSA-N 0.000 description 2
- ZMLPKJYZRQZLDA-UHFFFAOYSA-N 1-(2-phenylethenyl)-4-[4-(2-phenylethenyl)phenyl]benzene Chemical group C=1C=CC=CC=1C=CC(C=C1)=CC=C1C(C=C1)=CC=C1C=CC1=CC=CC=C1 ZMLPKJYZRQZLDA-UHFFFAOYSA-N 0.000 description 2
- CHLICZRVGGXEOD-UHFFFAOYSA-N 1-Methoxy-4-methylbenzene Chemical compound COC1=CC=C(C)C=C1 CHLICZRVGGXEOD-UHFFFAOYSA-N 0.000 description 2
- FCEHBMOGCRZNNI-UHFFFAOYSA-N 1-benzothiophene Chemical group C1=CC=C2SC=CC2=C1 FCEHBMOGCRZNNI-UHFFFAOYSA-N 0.000 description 2
- QPUYECUOLPXSFR-UHFFFAOYSA-N 1-methylnaphthalene Chemical compound C1=CC=C2C(C)=CC=CC2=C1 QPUYECUOLPXSFR-UHFFFAOYSA-N 0.000 description 2
- IXQGCWUGDFDQMF-UHFFFAOYSA-N 2-Ethylphenol Chemical compound CCC1=CC=CC=C1O IXQGCWUGDFDQMF-UHFFFAOYSA-N 0.000 description 2
- HMNKTRSOROOSPP-UHFFFAOYSA-N 3-Ethylphenol Chemical compound CCC1=CC=CC(O)=C1 HMNKTRSOROOSPP-UHFFFAOYSA-N 0.000 description 2
- QENGPZGAWFQWCZ-UHFFFAOYSA-N 3-Methylthiophene Chemical compound CC=1C=CSC=1 QENGPZGAWFQWCZ-UHFFFAOYSA-N 0.000 description 2
- 239000005725 8-Hydroxyquinoline Substances 0.000 description 2
- QTBSBXVTEAMEQO-UHFFFAOYSA-M Acetate Chemical compound CC([O-])=O QTBSBXVTEAMEQO-UHFFFAOYSA-M 0.000 description 2
- XKRFYHLGVUSROY-UHFFFAOYSA-N Argon Chemical compound [Ar] XKRFYHLGVUSROY-UHFFFAOYSA-N 0.000 description 2
- ZOXJGFHDIHLPTG-UHFFFAOYSA-N Boron Chemical group [B] ZOXJGFHDIHLPTG-UHFFFAOYSA-N 0.000 description 2
- OYPRJOBELJOOCE-UHFFFAOYSA-N Calcium Chemical compound [Ca] OYPRJOBELJOOCE-UHFFFAOYSA-N 0.000 description 2
- XTHFKEDIFFGKHM-UHFFFAOYSA-N Dimethoxyethane Chemical compound COCCOC XTHFKEDIFFGKHM-UHFFFAOYSA-N 0.000 description 2
- DGAQECJNVWCQMB-PUAWFVPOSA-M Ilexoside XXIX Chemical compound C[C@@H]1CC[C@@]2(CC[C@@]3(C(=CC[C@H]4[C@]3(CC[C@@H]5[C@@]4(CC[C@@H](C5(C)C)OS(=O)(=O)[O-])C)C)[C@@H]2[C@]1(C)O)C)C(=O)O[C@H]6[C@@H]([C@H]([C@@H]([C@H](O6)CO)O)O)O.[Na+] DGAQECJNVWCQMB-PUAWFVPOSA-M 0.000 description 2
- SMWDFEZZVXVKRB-UHFFFAOYSA-N Quinoline Chemical compound N1=CC=CC2=CC=CC=C21 SMWDFEZZVXVKRB-UHFFFAOYSA-N 0.000 description 2
- BUGBHKTXTAQXES-UHFFFAOYSA-N Selenium Chemical compound [Se] BUGBHKTXTAQXES-UHFFFAOYSA-N 0.000 description 2
- PPBRXRYQALVLMV-UHFFFAOYSA-N Styrene Chemical compound C=CC1=CC=CC=C1 PPBRXRYQALVLMV-UHFFFAOYSA-N 0.000 description 2
- NINIDFKCEFEMDL-UHFFFAOYSA-N Sulfur Chemical compound [S] NINIDFKCEFEMDL-UHFFFAOYSA-N 0.000 description 2
- 239000004809 Teflon Substances 0.000 description 2
- 229920006362 Teflon® Polymers 0.000 description 2
- ATJFFYVFTNAWJD-UHFFFAOYSA-N Tin Chemical compound [Sn] ATJFFYVFTNAWJD-UHFFFAOYSA-N 0.000 description 2
- 239000007983 Tris buffer Substances 0.000 description 2
- 235000010724 Wisteria floribunda Nutrition 0.000 description 2
- HCHKCACWOHOZIP-UHFFFAOYSA-N Zinc Chemical compound [Zn] HCHKCACWOHOZIP-UHFFFAOYSA-N 0.000 description 2
- 125000001931 aliphatic group Chemical group 0.000 description 2
- 229910052783 alkali metal Inorganic materials 0.000 description 2
- 150000001340 alkali metals Chemical class 0.000 description 2
- 125000003282 alkyl amino group Chemical group 0.000 description 2
- 125000004390 alkyl sulfonyl group Chemical group 0.000 description 2
- 125000004414 alkyl thio group Chemical group 0.000 description 2
- 229910045601 alloy Inorganic materials 0.000 description 2
- 239000000956 alloy Substances 0.000 description 2
- AZDRQVAHHNSJOQ-UHFFFAOYSA-N alumane Chemical class [AlH3] AZDRQVAHHNSJOQ-UHFFFAOYSA-N 0.000 description 2
- 125000003277 amino group Chemical group 0.000 description 2
- RDOXTESZEPMUJZ-UHFFFAOYSA-N anisole Chemical compound COC1=CC=CC=C1 RDOXTESZEPMUJZ-UHFFFAOYSA-N 0.000 description 2
- MWPLVEDNUUSJAV-UHFFFAOYSA-N anthracene Chemical compound C1=CC=CC2=CC3=CC=CC=C3C=C21 MWPLVEDNUUSJAV-UHFFFAOYSA-N 0.000 description 2
- 229910052787 antimony Inorganic materials 0.000 description 2
- WATWJIUSRGPENY-UHFFFAOYSA-N antimony atom Chemical compound [Sb] WATWJIUSRGPENY-UHFFFAOYSA-N 0.000 description 2
- 150000008365 aromatic ketones Chemical class 0.000 description 2
- 229910052785 arsenic Inorganic materials 0.000 description 2
- RQNWIZPPADIBDY-UHFFFAOYSA-N arsenic atom Chemical compound [As] RQNWIZPPADIBDY-UHFFFAOYSA-N 0.000 description 2
- 125000001691 aryl alkyl amino group Chemical group 0.000 description 2
- 125000005161 aryl oxy carbonyl group Chemical group 0.000 description 2
- 125000004391 aryl sulfonyl group Chemical group 0.000 description 2
- 125000005110 aryl thio group Chemical group 0.000 description 2
- 125000004429 atom Chemical group 0.000 description 2
- 230000008901 benefit Effects 0.000 description 2
- 125000003236 benzoyl group Chemical group [H]C1=C([H])C([H])=C(C([H])=C1[H])C(*)=O 0.000 description 2
- 125000000051 benzyloxy group Chemical group [H]C1=C([H])C([H])=C(C([H])=C1[H])C([H])([H])O* 0.000 description 2
- 239000011230 binding agent Substances 0.000 description 2
- 229910052796 boron Inorganic materials 0.000 description 2
- DKPFZGUDAPQIHT-UHFFFAOYSA-N butyl acetate Chemical compound CCCCOC(C)=O DKPFZGUDAPQIHT-UHFFFAOYSA-N 0.000 description 2
- XSIFPSYPOVKYCO-UHFFFAOYSA-N butyl benzoate Chemical compound CCCCOC(=O)C1=CC=CC=C1 XSIFPSYPOVKYCO-UHFFFAOYSA-N 0.000 description 2
- 229910052792 caesium Inorganic materials 0.000 description 2
- TVFDJXOCXUVLDH-UHFFFAOYSA-N caesium atom Chemical compound [Cs] TVFDJXOCXUVLDH-UHFFFAOYSA-N 0.000 description 2
- FJDQFPXHSGXQBY-UHFFFAOYSA-L caesium carbonate Chemical compound [Cs+].[Cs+].[O-]C([O-])=O FJDQFPXHSGXQBY-UHFFFAOYSA-L 0.000 description 2
- 239000011575 calcium Substances 0.000 description 2
- 229910052791 calcium Inorganic materials 0.000 description 2
- 239000006229 carbon black Substances 0.000 description 2
- GBRBMTNGQBKBQE-UHFFFAOYSA-L copper;diiodide Chemical compound I[Cu]I GBRBMTNGQBKBQE-UHFFFAOYSA-L 0.000 description 2
- 125000006165 cyclic alkyl group Chemical group 0.000 description 2
- MHDVGSVTJDSBDK-UHFFFAOYSA-N dibenzyl ether Chemical compound C=1C=CC=CC=1COCC1=CC=CC=C1 MHDVGSVTJDSBDK-UHFFFAOYSA-N 0.000 description 2
- FLKPEMZONWLCSK-UHFFFAOYSA-N diethyl phthalate Chemical compound CCOC(=O)C1=CC=CC=C1C(=O)OCC FLKPEMZONWLCSK-UHFFFAOYSA-N 0.000 description 2
- 238000003618 dip coating Methods 0.000 description 2
- 238000007599 discharging Methods 0.000 description 2
- GNTDGMZSJNCJKK-UHFFFAOYSA-N divanadium pentaoxide Chemical compound O=[V](=O)O[V](=O)=O GNTDGMZSJNCJKK-UHFFFAOYSA-N 0.000 description 2
- 230000005684 electric field Effects 0.000 description 2
- 125000006575 electron-withdrawing group Chemical group 0.000 description 2
- LZCLXQDLBQLTDK-UHFFFAOYSA-N ethyl 2-hydroxypropanoate Chemical compound CCOC(=O)C(C)O LZCLXQDLBQLTDK-UHFFFAOYSA-N 0.000 description 2
- 125000002534 ethynyl group Chemical group [H]C#C* 0.000 description 2
- 239000010419 fine particle Substances 0.000 description 2
- HVQAJTFOCKOKIN-UHFFFAOYSA-N flavonol Chemical compound O1C2=CC=CC=C2C(=O)C(O)=C1C1=CC=CC=C1 HVQAJTFOCKOKIN-UHFFFAOYSA-N 0.000 description 2
- 125000003914 fluoranthenyl group Chemical group C1(=CC=C2C=CC=C3C4=CC=CC=C4C1=C23)* 0.000 description 2
- IFYYFLINQYPWGJ-UHFFFAOYSA-N gamma-decalactone Chemical compound CCCCCCC1CCC(=O)O1 IFYYFLINQYPWGJ-UHFFFAOYSA-N 0.000 description 2
- 125000002887 hydroxy group Chemical group [H]O* 0.000 description 2
- 229910052738 indium Inorganic materials 0.000 description 2
- APFVFJFRJDLVQX-UHFFFAOYSA-N indium atom Chemical compound [In] APFVFJFRJDLVQX-UHFFFAOYSA-N 0.000 description 2
- 150000002484 inorganic compounds Chemical class 0.000 description 2
- 229910010272 inorganic material Inorganic materials 0.000 description 2
- 125000005956 isoquinolyl group Chemical group 0.000 description 2
- 239000004973 liquid crystal related substance Substances 0.000 description 2
- 238000004768 lowest unoccupied molecular orbital Methods 0.000 description 2
- 238000004020 luminiscence type Methods 0.000 description 2
- RLSSMJSEOOYNOY-UHFFFAOYSA-N m-cresol Chemical compound CC1=CC=CC(O)=C1 RLSSMJSEOOYNOY-UHFFFAOYSA-N 0.000 description 2
- 230000000873 masking effect Effects 0.000 description 2
- 229910044991 metal oxide Inorganic materials 0.000 description 2
- 150000004706 metal oxides Chemical class 0.000 description 2
- QPJVMBTYPHYUOC-UHFFFAOYSA-N methyl benzoate Chemical compound COC(=O)C1=CC=CC=C1 QPJVMBTYPHYUOC-UHFFFAOYSA-N 0.000 description 2
- UQDUPQYQJKYHQI-UHFFFAOYSA-N methyl laurate Chemical compound CCCCCCCCCCCC(=O)OC UQDUPQYQJKYHQI-UHFFFAOYSA-N 0.000 description 2
- 239000012046 mixed solvent Substances 0.000 description 2
- 229910052759 nickel Inorganic materials 0.000 description 2
- 125000000449 nitro group Chemical group [O-][N+](*)=O 0.000 description 2
- 150000002894 organic compounds Chemical class 0.000 description 2
- 230000001590 oxidative effect Effects 0.000 description 2
- 229960003540 oxyquinoline Drugs 0.000 description 2
- ZRSNZINYAWTAHE-UHFFFAOYSA-N p-methoxybenzaldehyde Chemical compound COC1=CC=C(C=O)C=C1 ZRSNZINYAWTAHE-UHFFFAOYSA-N 0.000 description 2
- 150000002989 phenols Chemical class 0.000 description 2
- 229910052698 phosphorus Inorganic materials 0.000 description 2
- 229920002492 poly(sulfone) Polymers 0.000 description 2
- 238000007639 printing Methods 0.000 description 2
- BBEAQIROQSPTKN-UHFFFAOYSA-N pyrene Chemical compound C1=CC=C2C=CC3=CC=CC4=CC=C1C2=C43 BBEAQIROQSPTKN-UHFFFAOYSA-N 0.000 description 2
- MCJGNVYPOGVAJF-UHFFFAOYSA-N quinolin-8-ol Chemical compound C1=CN=C2C(O)=CC=CC2=C1 MCJGNVYPOGVAJF-UHFFFAOYSA-N 0.000 description 2
- 125000005493 quinolyl group Chemical group 0.000 description 2
- 238000005215 recombination Methods 0.000 description 2
- 230000006798 recombination Effects 0.000 description 2
- 239000005871 repellent Substances 0.000 description 2
- 229910052711 selenium Inorganic materials 0.000 description 2
- 125000004469 siloxy group Chemical group [SiH3]O* 0.000 description 2
- 229910052708 sodium Inorganic materials 0.000 description 2
- 239000011734 sodium Substances 0.000 description 2
- 238000005507 spraying Methods 0.000 description 2
- 238000003756 stirring Methods 0.000 description 2
- 229910052717 sulfur Inorganic materials 0.000 description 2
- 239000011593 sulfur Substances 0.000 description 2
- ZUHZGEOKBKGPSW-UHFFFAOYSA-N tetraglyme Chemical compound COCCOCCOCCOCCOC ZUHZGEOKBKGPSW-UHFFFAOYSA-N 0.000 description 2
- 125000001544 thienyl group Chemical group 0.000 description 2
- 125000005031 thiocyano group Chemical group S(C#N)* 0.000 description 2
- 229910052718 tin Inorganic materials 0.000 description 2
- 125000002088 tosyl group Chemical group [H]C1=C([H])C(=C([H])C([H])=C1C([H])([H])[H])S(*)(=O)=O 0.000 description 2
- 238000002834 transmittance Methods 0.000 description 2
- URAYPUMNDPQOKB-UHFFFAOYSA-N triacetin Chemical compound CC(=O)OCC(OC(C)=O)COC(C)=O URAYPUMNDPQOKB-UHFFFAOYSA-N 0.000 description 2
- 238000011077 uniformity evaluation Methods 0.000 description 2
- ABDKAPXRBAPSQN-UHFFFAOYSA-N veratrole Chemical compound COC1=CC=CC=C1OC ABDKAPXRBAPSQN-UHFFFAOYSA-N 0.000 description 2
- XLYOFNOQVPJJNP-UHFFFAOYSA-N water Substances O XLYOFNOQVPJJNP-UHFFFAOYSA-N 0.000 description 2
- 229910052725 zinc Inorganic materials 0.000 description 2
- 239000011701 zinc Substances 0.000 description 2
- LWNGJAHMBMVCJR-UHFFFAOYSA-N (2,3,4,5,6-pentafluorophenoxy)boronic acid Chemical compound OB(O)OC1=C(F)C(F)=C(F)C(F)=C1F LWNGJAHMBMVCJR-UHFFFAOYSA-N 0.000 description 1
- ZRQUIRABLIQJRI-UHFFFAOYSA-N 1,2,3,4,5-pentafluoro-6-methoxybenzene Chemical compound COC1=C(F)C(F)=C(F)C(F)=C1F ZRQUIRABLIQJRI-UHFFFAOYSA-N 0.000 description 1
- LZDKZFUFMNSQCJ-UHFFFAOYSA-N 1,2-diethoxyethane Chemical compound CCOCCOCC LZDKZFUFMNSQCJ-UHFFFAOYSA-N 0.000 description 1
- PZWLRLIAVLSBQU-UHFFFAOYSA-N 1,2-dioctyl-9h-fluorene Chemical compound C1=CC=C2C3=CC=C(CCCCCCCC)C(CCCCCCCC)=C3CC2=C1 PZWLRLIAVLSBQU-UHFFFAOYSA-N 0.000 description 1
- VUMCUSHVMYIRMB-UHFFFAOYSA-N 1,3,5-tri(propan-2-yl)benzene Chemical compound CC(C)C1=CC(C(C)C)=CC(C(C)C)=C1 VUMCUSHVMYIRMB-UHFFFAOYSA-N 0.000 description 1
- BCMCBBGGLRIHSE-UHFFFAOYSA-N 1,3-benzoxazole Chemical compound C1=CC=C2OC=NC2=C1 BCMCBBGGLRIHSE-UHFFFAOYSA-N 0.000 description 1
- 125000000355 1,3-benzoxazolyl group Chemical group O1C(=NC2=C1C=CC=C2)* 0.000 description 1
- NKEWBOPVULFSFJ-UHFFFAOYSA-N 1,3-dihydroperimidin-2-one Chemical class C1=CC(NC(O)=N2)=C3C2=CC=CC3=C1 NKEWBOPVULFSFJ-UHFFFAOYSA-N 0.000 description 1
- IJAAWBHHXIWAHM-UHFFFAOYSA-N 1,4-bis(2-phenylethenyl)benzene Chemical compound C=1C=CC=CC=1C=CC(C=C1)=CC=C1C=CC1=CC=CC=C1 IJAAWBHHXIWAHM-UHFFFAOYSA-N 0.000 description 1
- OSIGJGFTADMDOB-UHFFFAOYSA-N 1-Methoxy-3-methylbenzene Chemical compound COC1=CC=CC(C)=C1 OSIGJGFTADMDOB-UHFFFAOYSA-N 0.000 description 1
- KZVBBTZJMSWGTK-UHFFFAOYSA-N 1-[2-(2-butoxyethoxy)ethoxy]butane Chemical compound CCCCOCCOCCOCCCC KZVBBTZJMSWGTK-UHFFFAOYSA-N 0.000 description 1
- 125000004973 1-butenyl group Chemical group C(=CCC)* 0.000 description 1
- BLMBNEVGYRXFNA-UHFFFAOYSA-N 1-methoxy-2,3-dimethylbenzene Chemical compound COC1=CC=CC(C)=C1C BLMBNEVGYRXFNA-UHFFFAOYSA-N 0.000 description 1
- TUXDRFWDZPJPPD-UHFFFAOYSA-N 1-methoxy-2-(trifluoromethoxy)benzene Chemical compound COC1=CC=CC=C1OC(F)(F)F TUXDRFWDZPJPPD-UHFFFAOYSA-N 0.000 description 1
- XHONYVFDZSPELQ-UHFFFAOYSA-N 1-methoxy-3-(trifluoromethyl)benzene Chemical compound COC1=CC=CC(C(F)(F)F)=C1 XHONYVFDZSPELQ-UHFFFAOYSA-N 0.000 description 1
- ARXJGSRGQADJSQ-UHFFFAOYSA-N 1-methoxypropan-2-ol Chemical compound COCC(C)O ARXJGSRGQADJSQ-UHFFFAOYSA-N 0.000 description 1
- QQLIGMASAVJVON-UHFFFAOYSA-N 1-naphthalen-1-ylethanone Chemical compound C1=CC=C2C(C(=O)C)=CC=CC2=C1 QQLIGMASAVJVON-UHFFFAOYSA-N 0.000 description 1
- ZVFJWYZMQAEBMO-UHFFFAOYSA-N 1h-benzo[h]quinolin-10-one Chemical compound C1=CNC2=C3C(=O)C=CC=C3C=CC2=C1 ZVFJWYZMQAEBMO-UHFFFAOYSA-N 0.000 description 1
- UJCFZCTTZWHRNL-UHFFFAOYSA-N 2,4-Dimethylanisole Chemical compound COC1=CC=C(C)C=C1C UJCFZCTTZWHRNL-UHFFFAOYSA-N 0.000 description 1
- KUFFULVDNCHOFZ-UHFFFAOYSA-N 2,4-xylenol Chemical compound CC1=CC=C(O)C(C)=C1 KUFFULVDNCHOFZ-UHFFFAOYSA-N 0.000 description 1
- MUNFOTHAFHGRIM-UHFFFAOYSA-N 2,5-dinaphthalen-1-yl-1,3,4-oxadiazole Chemical compound C1=CC=C2C(C3=NN=C(O3)C=3C4=CC=CC=C4C=CC=3)=CC=CC2=C1 MUNFOTHAFHGRIM-UHFFFAOYSA-N 0.000 description 1
- YLYPIBBGWLKELC-RMKNXTFCSA-N 2-[2-[(e)-2-[4-(dimethylamino)phenyl]ethenyl]-6-methylpyran-4-ylidene]propanedinitrile Chemical class C1=CC(N(C)C)=CC=C1\C=C\C1=CC(=C(C#N)C#N)C=C(C)O1 YLYPIBBGWLKELC-RMKNXTFCSA-N 0.000 description 1
- NSMJMUQZRGZMQC-UHFFFAOYSA-N 2-naphthalen-1-yl-1H-imidazo[4,5-f][1,10]phenanthroline Chemical compound C12=CC=CN=C2C2=NC=CC=C2C2=C1NC(C=1C3=CC=CC=C3C=CC=1)=N2 NSMJMUQZRGZMQC-UHFFFAOYSA-N 0.000 description 1
- 125000003903 2-propenyl group Chemical group [H]C([*])([H])C([H])=C([H])[H] 0.000 description 1
- 125000001494 2-propynyl group Chemical group [H]C#CC([H])([H])* 0.000 description 1
- GOLORTLGFDVFDW-UHFFFAOYSA-N 3-(1h-benzimidazol-2-yl)-7-(diethylamino)chromen-2-one Chemical compound C1=CC=C2NC(C3=CC4=CC=C(C=C4OC3=O)N(CC)CC)=NC2=C1 GOLORTLGFDVFDW-UHFFFAOYSA-N 0.000 description 1
- ZVFQEOPUXVPSLB-UHFFFAOYSA-N 3-(4-tert-butylphenyl)-4-phenyl-5-(4-phenylphenyl)-1,2,4-triazole Chemical compound C1=CC(C(C)(C)C)=CC=C1C(N1C=2C=CC=CC=2)=NN=C1C1=CC=C(C=2C=CC=CC=2)C=C1 ZVFQEOPUXVPSLB-UHFFFAOYSA-N 0.000 description 1
- KLSLBUSXWBJMEC-UHFFFAOYSA-N 4-Propylphenol Chemical compound CCCC1=CC=C(O)C=C1 KLSLBUSXWBJMEC-UHFFFAOYSA-N 0.000 description 1
- MNVMYTVDDOXZLS-UHFFFAOYSA-N 4-methoxyguaiacol Natural products COC1=CC=C(O)C(OC)=C1 MNVMYTVDDOXZLS-UHFFFAOYSA-N 0.000 description 1
- IYBLVRRCNVHZQJ-UHFFFAOYSA-N 5-Hydroxyflavone Chemical compound C=1C(=O)C=2C(O)=CC=CC=2OC=1C1=CC=CC=C1 IYBLVRRCNVHZQJ-UHFFFAOYSA-N 0.000 description 1
- NIXOWILDQLNWCW-UHFFFAOYSA-M Acrylate Chemical compound [O-]C(=O)C=C NIXOWILDQLNWCW-UHFFFAOYSA-M 0.000 description 1
- 239000004925 Acrylic resin Substances 0.000 description 1
- 229920000178 Acrylic resin Polymers 0.000 description 1
- 229910001316 Ag alloy Inorganic materials 0.000 description 1
- 229910001148 Al-Li alloy Inorganic materials 0.000 description 1
- 239000005711 Benzoic acid Substances 0.000 description 1
- BTBUEUYNUDRHOZ-UHFFFAOYSA-N Borate Chemical compound [O-]B([O-])[O-] BTBUEUYNUDRHOZ-UHFFFAOYSA-N 0.000 description 1
- CPELXLSAUQHCOX-UHFFFAOYSA-M Bromide Chemical compound [Br-] CPELXLSAUQHCOX-UHFFFAOYSA-M 0.000 description 1
- MRABAEUHTLLEML-UHFFFAOYSA-N Butyl lactate Chemical compound CCCCOC(=O)C(C)O MRABAEUHTLLEML-UHFFFAOYSA-N 0.000 description 1
- 0 C*(/C(/C(*)=C1*=*)=I(/*)\C2=C(*)C(*)=C3I(C*)=C(C(*)=C4*=C)*5=C4I(C)(*)=C4*6*5C[C@]23)=C1/I(/*)=C6/C(*)=C4[N+]([O-])=O Chemical compound C*(/C(/C(*)=C1*=*)=I(/*)\C2=C(*)C(*)=C3I(C*)=C(C(*)=C4*=C)*5=C4I(C)(*)=C4*6*5C[C@]23)=C1/I(/*)=C6/C(*)=C4[N+]([O-])=O 0.000 description 1
- XMWRBQBLMFGWIX-UHFFFAOYSA-N C60 fullerene Chemical class C12=C3C(C4=C56)=C7C8=C5C5=C9C%10=C6C6=C4C1=C1C4=C6C6=C%10C%10=C9C9=C%11C5=C8C5=C8C7=C3C3=C7C2=C1C1=C2C4=C6C4=C%10C6=C9C9=C%11C5=C5C8=C3C3=C7C1=C1C2=C4C6=C2C9=C5C3=C12 XMWRBQBLMFGWIX-UHFFFAOYSA-N 0.000 description 1
- XTEGARKTQYYJKE-UHFFFAOYSA-M Chlorate Chemical compound [O-]Cl(=O)=O XTEGARKTQYYJKE-UHFFFAOYSA-M 0.000 description 1
- VEXZGXHMUGYJMC-UHFFFAOYSA-M Chloride anion Chemical compound [Cl-] VEXZGXHMUGYJMC-UHFFFAOYSA-M 0.000 description 1
- ZAMOUSCENKQFHK-UHFFFAOYSA-N Chlorine atom Chemical compound [Cl] ZAMOUSCENKQFHK-UHFFFAOYSA-N 0.000 description 1
- VYZAMTAEIAYCRO-UHFFFAOYSA-N Chromium Chemical compound [Cr] VYZAMTAEIAYCRO-UHFFFAOYSA-N 0.000 description 1
- 241000284156 Clerodendrum quadriloculare Species 0.000 description 1
- RYGMFSIKBFXOCR-UHFFFAOYSA-N Copper Chemical compound [Cu] RYGMFSIKBFXOCR-UHFFFAOYSA-N 0.000 description 1
- XFXPMWWXUTWYJX-UHFFFAOYSA-N Cyanide Chemical compound N#[C-] XFXPMWWXUTWYJX-UHFFFAOYSA-N 0.000 description 1
- 239000004129 EU approved improving agent Substances 0.000 description 1
- 229910001111 Fine metal Inorganic materials 0.000 description 1
- KRHYYFGTRYWZRS-UHFFFAOYSA-M Fluoride anion Chemical compound [F-] KRHYYFGTRYWZRS-UHFFFAOYSA-M 0.000 description 1
- GYHNNYVSQQEPJS-UHFFFAOYSA-N Gallium Chemical group [Ga] GYHNNYVSQQEPJS-UHFFFAOYSA-N 0.000 description 1
- 102000004878 Gelsolin Human genes 0.000 description 1
- 108090001064 Gelsolin Proteins 0.000 description 1
- 108010043121 Green Fluorescent Proteins Proteins 0.000 description 1
- UFHFLCQGNIYNRP-UHFFFAOYSA-N Hydrogen Chemical compound [H][H] UFHFLCQGNIYNRP-UHFFFAOYSA-N 0.000 description 1
- 229910000846 In alloy Inorganic materials 0.000 description 1
- 244000017020 Ipomoea batatas Species 0.000 description 1
- 235000002678 Ipomoea batatas Nutrition 0.000 description 1
- FEXQDZTYJVXMOS-UHFFFAOYSA-N Isopropyl benzoate Chemical compound CC(C)OC(=O)C1=CC=CC=C1 FEXQDZTYJVXMOS-UHFFFAOYSA-N 0.000 description 1
- WHXSMMKQMYFTQS-UHFFFAOYSA-N Lithium Chemical compound [Li] WHXSMMKQMYFTQS-UHFFFAOYSA-N 0.000 description 1
- FYYHWMGAXLPEAU-UHFFFAOYSA-N Magnesium Chemical compound [Mg] FYYHWMGAXLPEAU-UHFFFAOYSA-N 0.000 description 1
- NHNBFGGVMKEFGY-UHFFFAOYSA-N Nitrate Chemical compound [O-][N+]([O-])=O NHNBFGGVMKEFGY-UHFFFAOYSA-N 0.000 description 1
- IOVCWXUNBOPUCH-UHFFFAOYSA-M Nitrite anion Chemical compound [O-]N=O IOVCWXUNBOPUCH-UHFFFAOYSA-M 0.000 description 1
- 239000004695 Polyether sulfone Substances 0.000 description 1
- 239000004697 Polyetherimide Substances 0.000 description 1
- 239000004793 Polystyrene Substances 0.000 description 1
- ZLMJMSJWJFRBEC-UHFFFAOYSA-N Potassium Chemical compound [K] ZLMJMSJWJFRBEC-UHFFFAOYSA-N 0.000 description 1
- ISZWRZGKEWQACU-UHFFFAOYSA-N Primuletin Natural products OC1=CC=CC(C=2OC3=CC=CC=C3C(=O)C=2)=C1 ISZWRZGKEWQACU-UHFFFAOYSA-N 0.000 description 1
- NRCMAYZCPIVABH-UHFFFAOYSA-N Quinacridone Chemical class N1C2=CC=CC=C2C(=O)C2=C1C=C1C(=O)C3=CC=CC=C3NC1=C2 NRCMAYZCPIVABH-UHFFFAOYSA-N 0.000 description 1
- CDBYLPFSWZWCQE-UHFFFAOYSA-L Sodium Carbonate Chemical compound [Na+].[Na+].[O-]C([O-])=O CDBYLPFSWZWCQE-UHFFFAOYSA-L 0.000 description 1
- QAOWNCQODCNURD-UHFFFAOYSA-L Sulfate Chemical compound [O-]S([O-])(=O)=O QAOWNCQODCNURD-UHFFFAOYSA-L 0.000 description 1
- LSNNMFCWUKXFEE-UHFFFAOYSA-N Sulfurous acid Chemical compound OS(O)=O LSNNMFCWUKXFEE-UHFFFAOYSA-N 0.000 description 1
- 239000005083 Zinc sulfide Substances 0.000 description 1
- JFBZPFYRPYOZCQ-UHFFFAOYSA-N [Li].[Al] Chemical compound [Li].[Al] JFBZPFYRPYOZCQ-UHFFFAOYSA-N 0.000 description 1
- JHYLKGDXMUDNEO-UHFFFAOYSA-N [Mg].[In] Chemical compound [Mg].[In] JHYLKGDXMUDNEO-UHFFFAOYSA-N 0.000 description 1
- IPBVNPXQWQGGJP-UHFFFAOYSA-N acetic acid phenyl ester Natural products CC(=O)OC1=CC=CC=C1 IPBVNPXQWQGGJP-UHFFFAOYSA-N 0.000 description 1
- 125000004442 acylamino group Chemical group 0.000 description 1
- 229910052784 alkaline earth metal Inorganic materials 0.000 description 1
- 150000001342 alkaline earth metals Chemical class 0.000 description 1
- 125000005196 alkyl carbonyloxy group Chemical group 0.000 description 1
- 125000004397 aminosulfonyl group Chemical group NS(=O)(=O)* 0.000 description 1
- ROOXNKNUYICQNP-UHFFFAOYSA-N ammonium persulfate Chemical compound [NH4+].[NH4+].[O-]S(=O)(=O)OOS([O-])(=O)=O ROOXNKNUYICQNP-UHFFFAOYSA-N 0.000 description 1
- 239000012935 ammoniumperoxodisulfate Substances 0.000 description 1
- 229910021417 amorphous silicon Inorganic materials 0.000 description 1
- 125000005428 anthryl group Chemical group [H]C1=C([H])C([H])=C2C([H])=C3C(*)=C([H])C([H])=C([H])C3=C([H])C2=C1[H] 0.000 description 1
- 229940054058 antipsychotic thioxanthene derivative Drugs 0.000 description 1
- 229910052786 argon Inorganic materials 0.000 description 1
- 125000003710 aryl alkyl group Chemical group 0.000 description 1
- 125000001769 aryl amino group Chemical group 0.000 description 1
- 150000008378 aryl ethers Chemical class 0.000 description 1
- 239000012298 atmosphere Substances 0.000 description 1
- QVGXLLKOCUKJST-UHFFFAOYSA-N atomic oxygen Chemical compound [O] QVGXLLKOCUKJST-UHFFFAOYSA-N 0.000 description 1
- 238000007611 bar coating method Methods 0.000 description 1
- 229910052788 barium Inorganic materials 0.000 description 1
- DSAJWYNOEDNPEQ-UHFFFAOYSA-N barium atom Chemical compound [Ba] DSAJWYNOEDNPEQ-UHFFFAOYSA-N 0.000 description 1
- 238000005452 bending Methods 0.000 description 1
- WZJYKHNJTSNBHV-UHFFFAOYSA-N benzo[h]quinoline Chemical group C1=CN=C2C3=CC=CC=C3C=CC2=C1 WZJYKHNJTSNBHV-UHFFFAOYSA-N 0.000 description 1
- 125000004618 benzofuryl group Chemical group O1C(=CC2=C1C=CC=C2)* 0.000 description 1
- 235000010233 benzoic acid Nutrition 0.000 description 1
- 150000001558 benzoic acid derivatives Chemical class 0.000 description 1
- UDEWPOVQBGFNGE-UHFFFAOYSA-N benzoic acid n-propyl ester Natural products CCCOC(=O)C1=CC=CC=C1 UDEWPOVQBGFNGE-UHFFFAOYSA-N 0.000 description 1
- 150000001562 benzopyrans Chemical class 0.000 description 1
- 125000004196 benzothienyl group Chemical group S1C(=CC2=C1C=CC=C2)* 0.000 description 1
- 239000004305 biphenyl Substances 0.000 description 1
- 125000006267 biphenyl group Chemical group 0.000 description 1
- 125000002529 biphenylenyl group Chemical group C1(=CC=CC=2C3=CC=CC=C3C12)* 0.000 description 1
- 229920000402 bisphenol A polycarbonate polymer Polymers 0.000 description 1
- UORVGPXVDQYIDP-BJUDXGSMSA-N borane Chemical compound [10BH3] UORVGPXVDQYIDP-BJUDXGSMSA-N 0.000 description 1
- 229910000085 borane Inorganic materials 0.000 description 1
- 229940063013 borate ion Drugs 0.000 description 1
- 239000005388 borosilicate glass Substances 0.000 description 1
- 229940006460 bromide ion Drugs 0.000 description 1
- GDTBXPJZTBHREO-UHFFFAOYSA-N bromine Substances BrBr GDTBXPJZTBHREO-UHFFFAOYSA-N 0.000 description 1
- 229910052794 bromium Inorganic materials 0.000 description 1
- 239000000872 buffer Substances 0.000 description 1
- XZCJVWCMJYNSQO-UHFFFAOYSA-N butyl pbd Chemical compound C1=CC(C(C)(C)C)=CC=C1C1=NN=C(C=2C=CC(=CC=2)C=2C=CC=CC=2)O1 XZCJVWCMJYNSQO-UHFFFAOYSA-N 0.000 description 1
- 229910000024 caesium carbonate Inorganic materials 0.000 description 1
- 125000002915 carbonyl group Chemical group [*:2]C([*:1])=O 0.000 description 1
- 125000003178 carboxy group Chemical group [H]OC(*)=O 0.000 description 1
- 230000008859 change Effects 0.000 description 1
- 239000003795 chemical substances by application Substances 0.000 description 1
- 229940005989 chlorate ion Drugs 0.000 description 1
- 239000000460 chlorine Substances 0.000 description 1
- QBWCMBCROVPCKQ-UHFFFAOYSA-M chlorite Chemical compound [O-]Cl=O QBWCMBCROVPCKQ-UHFFFAOYSA-M 0.000 description 1
- 229940005993 chlorite ion Drugs 0.000 description 1
- 229910052804 chromium Inorganic materials 0.000 description 1
- 239000011651 chromium Substances 0.000 description 1
- 238000004891 communication Methods 0.000 description 1
- 239000004020 conductor Substances 0.000 description 1
- 238000012790 confirmation Methods 0.000 description 1
- 150000004696 coordination complex Chemical class 0.000 description 1
- 229920001577 copolymer Polymers 0.000 description 1
- 229910052802 copper Inorganic materials 0.000 description 1
- 239000010949 copper Substances 0.000 description 1
- 150000004775 coumarins Chemical class 0.000 description 1
- 239000005331 crown glasses (windows) Substances 0.000 description 1
- 125000000113 cyclohexyl group Chemical group [H]C1([H])C([H])([H])C([H])([H])C([H])(*)C([H])([H])C1([H])[H] 0.000 description 1
- HHNHBFLGXIUXCM-GFCCVEGCSA-N cyclohexylbenzene Chemical compound [CH]1CCCC[C@@H]1C1=CC=CC=C1 HHNHBFLGXIUXCM-GFCCVEGCSA-N 0.000 description 1
- 230000003247 decreasing effect Effects 0.000 description 1
- 238000013461 design Methods 0.000 description 1
- 238000007607 die coating method Methods 0.000 description 1
- XUCJHNOBJLKZNU-UHFFFAOYSA-M dilithium;hydroxide Chemical compound [Li+].[Li+].[OH-] XUCJHNOBJLKZNU-UHFFFAOYSA-M 0.000 description 1
- 239000006185 dispersion Substances 0.000 description 1
- 238000004090 dissolution Methods 0.000 description 1
- 239000003822 epoxy resin Substances 0.000 description 1
- RTZKZFJDLAIYFH-UHFFFAOYSA-N ether Substances CCOCC RTZKZFJDLAIYFH-UHFFFAOYSA-N 0.000 description 1
- 229940116333 ethyl lactate Drugs 0.000 description 1
- 230000002349 favourable effect Effects 0.000 description 1
- 239000007888 film coating Substances 0.000 description 1
- 238000009501 film coating Methods 0.000 description 1
- GVEPBJHOBDJJJI-UHFFFAOYSA-N fluoranthrene Natural products C1=CC(C2=CC=CC=C22)=C3C2=CC=CC3=C1 GVEPBJHOBDJJJI-UHFFFAOYSA-N 0.000 description 1
- 239000011888 foil Substances 0.000 description 1
- 125000002485 formyl group Chemical group [H]C(*)=O 0.000 description 1
- 125000002541 furyl group Chemical group 0.000 description 1
- 229910052733 gallium Inorganic materials 0.000 description 1
- 239000001087 glyceryl triacetate Substances 0.000 description 1
- 235000013773 glyceryl triacetate Nutrition 0.000 description 1
- 238000007646 gravure printing Methods 0.000 description 1
- 238000009499 grossing Methods 0.000 description 1
- LNEPOXFFQSENCJ-UHFFFAOYSA-N haloperidol Chemical compound C1CC(O)(C=2C=CC(Cl)=CC=2)CCN1CCCC(=O)C1=CC=C(F)C=C1 LNEPOXFFQSENCJ-UHFFFAOYSA-N 0.000 description 1
- 150000002430 hydrocarbons Chemical group 0.000 description 1
- 239000001257 hydrogen Substances 0.000 description 1
- 229910052739 hydrogen Inorganic materials 0.000 description 1
- RWSOTUBLDIXVET-UHFFFAOYSA-M hydrosulfide Chemical compound [SH-] RWSOTUBLDIXVET-UHFFFAOYSA-M 0.000 description 1
- XLYOFNOQVPJJNP-UHFFFAOYSA-M hydroxide Chemical compound [OH-] XLYOFNOQVPJJNP-UHFFFAOYSA-M 0.000 description 1
- GQZXNSPRSGFJLY-UHFFFAOYSA-N hydroxyphosphanone Chemical compound OP=O GQZXNSPRSGFJLY-UHFFFAOYSA-N 0.000 description 1
- WQYVRQLZKVEZGA-UHFFFAOYSA-N hypochlorite Chemical compound Cl[O-] WQYVRQLZKVEZGA-UHFFFAOYSA-N 0.000 description 1
- 229940005631 hypophosphite ion Drugs 0.000 description 1
- 230000006872 improvement Effects 0.000 description 1
- 239000012535 impurity Substances 0.000 description 1
- XMBWDFGMSWQBCA-UHFFFAOYSA-M iodide Chemical compound [I-] XMBWDFGMSWQBCA-UHFFFAOYSA-M 0.000 description 1
- 229940006461 iodide ion Drugs 0.000 description 1
- PNDPGZBMCMUPRI-UHFFFAOYSA-N iodine Chemical compound II PNDPGZBMCMUPRI-UHFFFAOYSA-N 0.000 description 1
- 239000011630 iodine Substances 0.000 description 1
- 230000001678 irradiating effect Effects 0.000 description 1
- 125000000959 isobutyl group Chemical group [H]C([H])([H])C([H])(C([H])([H])[H])C([H])([H])* 0.000 description 1
- 239000012948 isocyanate Substances 0.000 description 1
- 125000001972 isopentyl group Chemical group [H]C([H])([H])C([H])(C([H])([H])[H])C([H])([H])C([H])([H])* 0.000 description 1
- 125000001449 isopropyl group Chemical group [H]C([H])([H])C([H])(*)C([H])([H])[H] 0.000 description 1
- 229910052744 lithium Inorganic materials 0.000 description 1
- 239000001989 lithium alloy Substances 0.000 description 1
- PQXKHYXIUOZZFA-UHFFFAOYSA-M lithium fluoride Chemical compound [Li+].[F-] PQXKHYXIUOZZFA-UHFFFAOYSA-M 0.000 description 1
- 239000011777 magnesium Substances 0.000 description 1
- 229910052749 magnesium Inorganic materials 0.000 description 1
- ORUIBWPALBXDOA-UHFFFAOYSA-L magnesium fluoride Chemical compound [F-].[F-].[Mg+2] ORUIBWPALBXDOA-UHFFFAOYSA-L 0.000 description 1
- SJCKRGFTWFGHGZ-UHFFFAOYSA-N magnesium silver Chemical compound [Mg].[Ag] SJCKRGFTWFGHGZ-UHFFFAOYSA-N 0.000 description 1
- 239000011159 matrix material Substances 0.000 description 1
- 229910001507 metal halide Inorganic materials 0.000 description 1
- 150000005309 metal halides Chemical class 0.000 description 1
- 239000002923 metal particle Substances 0.000 description 1
- UZKWTJUDCOPSNM-UHFFFAOYSA-N methoxybenzene Substances CCCCOC=C UZKWTJUDCOPSNM-UHFFFAOYSA-N 0.000 description 1
- 229940095102 methyl benzoate Drugs 0.000 description 1
- OLXYLDUSSBULGU-UHFFFAOYSA-N methyl pyridine-4-carboxylate Chemical compound COC(=O)C1=CC=NC=C1 OLXYLDUSSBULGU-UHFFFAOYSA-N 0.000 description 1
- 125000004170 methylsulfonyl group Chemical group [H]C([H])([H])S(*)(=O)=O 0.000 description 1
- 230000005012 migration Effects 0.000 description 1
- 238000013508 migration Methods 0.000 description 1
- 238000002156 mixing Methods 0.000 description 1
- DCZNSJVFOQPSRV-UHFFFAOYSA-N n,n-diphenyl-4-[4-(n-phenylanilino)phenyl]aniline Chemical compound C1=CC=CC=C1N(C=1C=CC(=CC=1)C=1C=CC(=CC=1)N(C=1C=CC=CC=1)C=1C=CC=CC=1)C1=CC=CC=C1 DCZNSJVFOQPSRV-UHFFFAOYSA-N 0.000 description 1
- 125000004108 n-butyl group Chemical group [H]C([H])([H])C([H])([H])C([H])([H])C([H])([H])* 0.000 description 1
- 229940017144 n-butyl lactate Drugs 0.000 description 1
- 125000004123 n-propyl group Chemical group [H]C([H])([H])C([H])([H])C([H])([H])* 0.000 description 1
- 125000004957 naphthylene group Chemical group 0.000 description 1
- 125000005029 naphthylthio group Chemical group C1(=CC=CC2=CC=CC=C12)S* 0.000 description 1
- CMWTZPSULFXXJA-VIFPVBQESA-N naproxen Chemical group C1=C([C@H](C)C(O)=O)C=CC2=CC(OC)=CC=C21 CMWTZPSULFXXJA-VIFPVBQESA-N 0.000 description 1
- 229940005654 nitrite ion Drugs 0.000 description 1
- 239000012788 optical film Substances 0.000 description 1
- 150000004866 oxadiazoles Chemical class 0.000 description 1
- 230000003647 oxidation Effects 0.000 description 1
- 238000007254 oxidation reaction Methods 0.000 description 1
- 229910052760 oxygen Inorganic materials 0.000 description 1
- 239000001301 oxygen Substances 0.000 description 1
- NFHFRUOZVGFOOS-UHFFFAOYSA-N palladium;triphenylphosphane Chemical compound [Pd].C1=CC=CC=C1P(C=1C=CC=CC=1)C1=CC=CC=C1.C1=CC=CC=C1P(C=1C=CC=CC=1)C1=CC=CC=C1.C1=CC=CC=C1P(C=1C=CC=CC=1)C1=CC=CC=C1.C1=CC=CC=C1P(C=1C=CC=CC=1)C1=CC=CC=C1 NFHFRUOZVGFOOS-UHFFFAOYSA-N 0.000 description 1
- 238000000059 patterning Methods 0.000 description 1
- 125000006340 pentafluoro ethyl group Chemical group FC(F)(F)C(F)(F)* 0.000 description 1
- YZERDTREOUSUHF-UHFFFAOYSA-N pentafluorobenzoic acid Chemical compound OC(=O)C1=C(F)C(F)=C(F)C(F)=C1F YZERDTREOUSUHF-UHFFFAOYSA-N 0.000 description 1
- 125000000538 pentafluorophenyl group Chemical group FC1=C(F)C(F)=C(*)C(F)=C1F 0.000 description 1
- QKNZNUNCDJZTCH-UHFFFAOYSA-N pentyl benzoate Chemical compound CCCCCOC(=O)C1=CC=CC=C1 QKNZNUNCDJZTCH-UHFFFAOYSA-N 0.000 description 1
- LLYCMZGLHLKPPU-UHFFFAOYSA-M perbromate Chemical compound [O-]Br(=O)(=O)=O LLYCMZGLHLKPPU-UHFFFAOYSA-M 0.000 description 1
- VLTRZXGMWDSKGL-UHFFFAOYSA-M perchlorate Chemical compound [O-]Cl(=O)(=O)=O VLTRZXGMWDSKGL-UHFFFAOYSA-M 0.000 description 1
- KHIWWQKSHDUIBK-UHFFFAOYSA-M periodate Chemical compound [O-]I(=O)(=O)=O KHIWWQKSHDUIBK-UHFFFAOYSA-M 0.000 description 1
- 230000002093 peripheral effect Effects 0.000 description 1
- CSHWQDPOILHKBI-UHFFFAOYSA-N peryrene Natural products C1=CC(C2=CC=CC=3C2=C2C=CC=3)=C3C2=CC=CC3=C1 CSHWQDPOILHKBI-UHFFFAOYSA-N 0.000 description 1
- 150000005041 phenanthrolines Chemical class 0.000 description 1
- DLRJIFUOBPOJNS-UHFFFAOYSA-N phenetole Chemical compound CCOC1=CC=CC=C1 DLRJIFUOBPOJNS-UHFFFAOYSA-N 0.000 description 1
- 125000006678 phenoxycarbonyl group Chemical group 0.000 description 1
- DYUMLJSJISTVPV-UHFFFAOYSA-N phenyl propanoate Chemical compound CCC(=O)OC1=CC=CC=C1 DYUMLJSJISTVPV-UHFFFAOYSA-N 0.000 description 1
- 229940049953 phenylacetate Drugs 0.000 description 1
- WLJVXDMOQOGPHL-UHFFFAOYSA-N phenylacetic acid Chemical compound OC(=O)CC1=CC=CC=C1 WLJVXDMOQOGPHL-UHFFFAOYSA-N 0.000 description 1
- 125000000843 phenylene group Chemical group C1(=C(C=CC=C1)*)* 0.000 description 1
- NBIIXXVUZAFLBC-UHFFFAOYSA-K phosphate Chemical compound [O-]P([O-])([O-])=O NBIIXXVUZAFLBC-UHFFFAOYSA-K 0.000 description 1
- 229940085991 phosphate ion Drugs 0.000 description 1
- AQSJGOWTSHOLKH-UHFFFAOYSA-N phosphite(3-) Chemical compound [O-]P([O-])[O-] AQSJGOWTSHOLKH-UHFFFAOYSA-N 0.000 description 1
- IEQIEDJGQAUEQZ-UHFFFAOYSA-N phthalocyanine Chemical class N1C(N=C2C3=CC=CC=C3C(N=C3C4=CC=CC=C4C(=N4)N3)=N2)=C(C=CC=C2)C2=C1N=C1C2=CC=CC=C2C4=N1 IEQIEDJGQAUEQZ-UHFFFAOYSA-N 0.000 description 1
- 239000002985 plastic film Substances 0.000 description 1
- 229920006255 plastic film Polymers 0.000 description 1
- 229920003227 poly(N-vinyl carbazole) Polymers 0.000 description 1
- 229920003229 poly(methyl methacrylate) Polymers 0.000 description 1
- 229920003050 poly-cycloolefin Polymers 0.000 description 1
- 229920000767 polyaniline Polymers 0.000 description 1
- 229920000412 polyarylene Polymers 0.000 description 1
- 239000004417 polycarbonate Substances 0.000 description 1
- 229920000515 polycarbonate Polymers 0.000 description 1
- 229920005668 polycarbonate resin Polymers 0.000 description 1
- 239000004431 polycarbonate resin Substances 0.000 description 1
- 229910021420 polycrystalline silicon Inorganic materials 0.000 description 1
- 229920000647 polyepoxide Polymers 0.000 description 1
- 229920000728 polyester Polymers 0.000 description 1
- 229920001225 polyester resin Polymers 0.000 description 1
- 239000004645 polyester resin Substances 0.000 description 1
- 229920006393 polyether sulfone Polymers 0.000 description 1
- 229920001601 polyetherimide Polymers 0.000 description 1
- 229920000139 polyethylene terephthalate Polymers 0.000 description 1
- 239000005020 polyethylene terephthalate Substances 0.000 description 1
- 238000006116 polymerization reaction Methods 0.000 description 1
- 229920000193 polymethacrylate Polymers 0.000 description 1
- 239000004926 polymethyl methacrylate Substances 0.000 description 1
- 229920005672 polyolefin resin Polymers 0.000 description 1
- 229920000128 polypyrrole Polymers 0.000 description 1
- 229920005591 polysilicon Polymers 0.000 description 1
- 229920002223 polystyrene Polymers 0.000 description 1
- 150000004033 porphyrin derivatives Chemical class 0.000 description 1
- 229910052700 potassium Inorganic materials 0.000 description 1
- 239000011591 potassium Substances 0.000 description 1
- 239000000843 powder Substances 0.000 description 1
- 238000001556 precipitation Methods 0.000 description 1
- 238000002360 preparation method Methods 0.000 description 1
- 230000002265 prevention Effects 0.000 description 1
- 125000005412 pyrazyl group Chemical group 0.000 description 1
- 125000005554 pyridyloxy group Chemical group 0.000 description 1
- 125000005030 pyridylthio group Chemical group N1=C(C=CC=C1)S* 0.000 description 1
- 239000010453 quartz Substances 0.000 description 1
- 230000002940 repellent Effects 0.000 description 1
- 230000003252 repetitive effect Effects 0.000 description 1
- 230000002441 reversible effect Effects 0.000 description 1
- PYWVYCXTNDRMGF-UHFFFAOYSA-N rhodamine B Chemical class [Cl-].C=12C=CC(=[N+](CC)CC)C=C2OC2=CC(N(CC)CC)=CC=C2C=1C1=CC=CC=C1C(O)=O PYWVYCXTNDRMGF-UHFFFAOYSA-N 0.000 description 1
- 229910052701 rubidium Inorganic materials 0.000 description 1
- IGLNJRXAVVLDKE-UHFFFAOYSA-N rubidium atom Chemical compound [Rb] IGLNJRXAVVLDKE-UHFFFAOYSA-N 0.000 description 1
- YYMBJDOZVAITBP-UHFFFAOYSA-N rubrene Chemical compound C1=CC=CC=C1C(C1=C(C=2C=CC=CC=2)C2=CC=CC=C2C(C=2C=CC=CC=2)=C11)=C(C=CC=C2)C2=C1C1=CC=CC=C1 YYMBJDOZVAITBP-UHFFFAOYSA-N 0.000 description 1
- 229910052594 sapphire Inorganic materials 0.000 description 1
- 239000010980 sapphire Substances 0.000 description 1
- 229920006395 saturated elastomer Polymers 0.000 description 1
- 238000007650 screen-printing Methods 0.000 description 1
- 239000011669 selenium Substances 0.000 description 1
- 239000004065 semiconductor Substances 0.000 description 1
- HBMJWWWQQXIZIP-UHFFFAOYSA-N silicon carbide Chemical compound [Si+]#[C-] HBMJWWWQQXIZIP-UHFFFAOYSA-N 0.000 description 1
- 229910052814 silicon oxide Inorganic materials 0.000 description 1
- 150000003967 siloles Chemical class 0.000 description 1
- 239000002356 single layer Substances 0.000 description 1
- 238000007764 slot die coating Methods 0.000 description 1
- 150000003384 small molecules Chemical class 0.000 description 1
- 150000003413 spiro compounds Chemical class 0.000 description 1
- 230000007480 spreading Effects 0.000 description 1
- 238000003892 spreading Methods 0.000 description 1
- 238000004544 sputter deposition Methods 0.000 description 1
- 125000005504 styryl group Chemical group 0.000 description 1
- 238000000859 sublimation Methods 0.000 description 1
- 230000008022 sublimation Effects 0.000 description 1
- 125000000472 sulfonyl group Chemical group *S(*)(=O)=O 0.000 description 1
- 238000004381 surface treatment Methods 0.000 description 1
- 229940042055 systemic antimycotics triazole derivative Drugs 0.000 description 1
- 229910052714 tellurium Inorganic materials 0.000 description 1
- PORWMNRCUJJQNO-UHFFFAOYSA-N tellurium atom Chemical compound [Te] PORWMNRCUJJQNO-UHFFFAOYSA-N 0.000 description 1
- 125000000999 tert-butyl group Chemical group [H]C([H])([H])C(*)(C([H])([H])[H])C([H])([H])[H] 0.000 description 1
- 150000003512 tertiary amines Chemical class 0.000 description 1
- NLDYACGHTUPAQU-UHFFFAOYSA-N tetracyanoethylene Chemical group N#CC(C#N)=C(C#N)C#N NLDYACGHTUPAQU-UHFFFAOYSA-N 0.000 description 1
- 125000003396 thiol group Chemical group [H]S* 0.000 description 1
- 150000005075 thioxanthenes Chemical class 0.000 description 1
- 230000001988 toxicity Effects 0.000 description 1
- 231100000419 toxicity Toxicity 0.000 description 1
- 229960002622 triacetin Drugs 0.000 description 1
- 150000003852 triazoles Chemical group 0.000 description 1
- UORVGPXVDQYIDP-UHFFFAOYSA-N trihydridoboron Substances B UORVGPXVDQYIDP-UHFFFAOYSA-N 0.000 description 1
- 229920002554 vinyl polymer Polymers 0.000 description 1
- 238000005406 washing Methods 0.000 description 1
- 229910052984 zinc sulfide Inorganic materials 0.000 description 1
- DRDVZXDWVBGGMH-UHFFFAOYSA-N zinc;sulfide Chemical compound [S-2].[Zn+2] DRDVZXDWVBGGMH-UHFFFAOYSA-N 0.000 description 1
Images
Landscapes
- Electroluminescent Light Sources (AREA)
- Polyethers (AREA)
Description
近年、湿式成膜法、特にインクジェット法による有機電界発光素子の製造方法が、製造コストを低減する観点から注目されている。その中でも、特に正孔注入層や正孔輸送層に関しては、発光層の形成を真空蒸着法とする場合においても、その下地層として好適な性能を有するため、湿式成膜法による形成が望ましいとされている。
すなわち、本発明は、2種類以上の有機溶媒を含有する、有機電界発光素子の有機層を形成するための組成物であって、該有機溶媒のうちの少なくとも2種は、その沸点が互いに20℃以上の差を有する有機溶媒であり、ガラス基材への接触角が5度以上10度以下であることを特徴とする有機電界発光素子用組成物、該組成物により形成された有機層を有する有機電界発光素子、及びインクジェット法で有機層を形成する有機電界発光素子の製造方法において、該組成物をベタ塗布して有機層を形成することを特徴とする、有機電界発光素子の製造方法に存する。
1.有機電界発光素子用組成物
本発明は、2種類以上の有機溶媒を含有する、有機電界発光素子の有機層を形成するための組成物であって、該有機溶媒のうちの少なくとも2種は、その沸点が互いに20℃以上の差を有する有機溶媒であり、ガラス基材への接触角が5度以上10度以下であることを特徴とする有機電界発光素子用組成物に関する。
<有機溶媒>
本発明の有機電界発光素子用組成物は、2種類以上の有機溶媒を含有し、有機溶媒のうち少なくとも2種は、その沸点が互いに20℃以上の差を有することを特徴とする。少なくとも2種の有機溶媒は、好ましくは30℃以上の差を有することが好ましく、通常、40℃以上の差を有する。その沸点が互いに20℃以上の差を有することにより、ノズルの乾燥防止と塗布膜の均一乾燥を両立させる効果が得られる。尚、有機溶媒が3種類以上含有される場合は、少なくとも2種の沸点が互いに20℃以上の差であればよく、他の2種同士は20℃以上の差がなくてもよい。
また、有機電界発光素子用組成物に含有される有機溶媒の含有比は、有機溶媒が2種類含まれる場合は、沸点が低い溶媒/沸点が高い溶媒=3/17〜17/3の範囲が好ましい。有機溶媒が3種類以上含まれる場合は、最も沸点が低い溶媒/最も沸点が高い溶媒の比率が上記範囲であることが好ましい。
例えば、エチレングリコールジメチルエーテル、エチレングリコールジエチルエーテル、プロピレングリコール−1−モノメチルエーテルアセタート(PGMEA)等の脂肪族エーテル; 1,2−ジメトキシベンゼン、1,3−ジメトキシベンゼン、アニソール、フェネトール、2−メトキシトルエン、3−メトキシトルエン、4−メトキシトルエン、2 , 3− ジメチルアニソール、2,4−ジメチルアニソール、トリフルオロメトキシアニソール、ペンタフルオロメトキシベンゼン、3−( トリフルオロメチル) アニソール等の芳香族エーテル;酢酸エチル、酢酸n−ブチル、乳酸エチル、乳酸n−ブチル等の脂肪族エステル; 酢酸フェニル、プロピオン酸フェニル、安息香酸メチル、安息香酸エチル、安息香酸イソプロピル、エチル( ペンタフルオロベンゾエート)等の芳香族エステル;アセトフェノン等の芳香族ケトン;2,4−ジメチルフェノール、2−エチルフェノール、3−エチルフェノール、3−ヒドロキシトルエン等のフェノール類、等の溶媒が挙げられる。これらは、沸点が230℃未満の有機溶媒である。中でも、安息香酸エチル、アセトフェノンが好ましい。
中でも、本発明の有機電界発光素子用組成物は、沸点230℃以上の有機溶媒を含有することが吐出安定性の確保のため好ましい。沸点は、240℃以上がより好ましく、さらに好ましくは250℃以上、通常300℃以下である。
さらに、沸点230℃以上の有機溶媒は、下記詳述する溶質を2重量%以上溶解することが好ましく、4重量%以上溶解することがさらに好ましい。溶質を2重量%以上溶解することで、乾燥時の溶媒組成変化での析出を防ぎ、ベタ塗布面の均一性を得ることができる。
尚、ここでいう溶解とは、温度23℃、湿度50%、1気圧において溶解する量を意味する。
本発明の有機電界発光素子用組成物は、さらに溶質を含有することが好ましい。溶質は、有機電界発光素子の有機層を形成する化合物であって、従来公知の有機電界発光素子の有機層に用いられる化合物を使用できる。
中でも、本発明の有機電界発光素子用組成物は、溶質として正孔注入材料または正孔輸送材料を含有することが好ましい。ここで、正孔注入材料および正孔輸送材料としては、下記正孔注入層や正孔輸送層に用いられる材料が挙げられる。
ここで、溶質としては、下記式(1)で表される繰り返し単位からなるポリマーが好ましい。
上記式(1)で表される繰り返し単位からなるポリマーは、本発明の有機電界発光素子用組成物において、好ましくは0.1重量%以上、さらに好ましくは0.5重量%以上、好ましくは10重量%以下、さらに好ましくは5重量%以下含有される。
下記正孔注入層で詳細に説明するが、さらに溶質としては、以下のイオン化合物を含有することが好ましい。
また、本発明の有機電界発光素子用組成物は、上記式(1)で表される繰り返し単位からなるポリマーと該イオン化合物を含有することが好ましく、特に該ポリマー/該イオン化合物=10/1〜1/1であることが好ましい。
本発明の有機電界発光素子用組成物は、上記の他にも種々の化合物が含まれていてよいが、上述の通り、通常、有機電界発光素子の有機層を形成する化合物が含まれる。
本発明の有機電界発光素子用組成物は、ガラス基材に対して5〜10度の接触角を有することを特徴とする。好ましくは7度以上、8度以下である。溶媒を2種以上含み、かつ、接触角を該範囲にすることにより、ノズルの乾き防止による吐出安定性と、適度な基材への濡れ性によるベタ塗布面の均一性とを両立することが出来る。
このように、有機電界発光素子用組成物の接触角を5〜10度とする方法は以下の通りである。接触角は液の物性値では一意的には決まらないが、通常は表面張力や粘度を高くすることで、接触角を高くすることが出来る。またガラス基材への親和性が高い溶媒の含有量を増やすと、接触角を低くすることが出来る。
本発明の有機電界発光素子用組成物は、さらに、インクジェット法で、20plの液滴サイズでガラス基材に着滴させたとき、着滴後1分経過後の液滴径が100〜400μmであることが好ましく、さらに好ましくは150μm以上、300μm以下である。これにより、膜厚ムラやピンホールの発生を防止し、かつ端部の直線性を確保することができる。
インクジェット法による着滴径は濡れ拡がり性(接触角)と強い相関が見られるが、通常は粘度や表面張力を低くすることで、液滴径を大きくすることが出来る。またガラス基材への親和性が高い溶媒の含有量を増やすと、液滴径を大きくすることが出来る。
本発明は、また、インクジェット法で有機層を形成する有機電界発光素子の製造方法において、上記本発明の有機電界発光素子用組成物をベタ塗布して有機層を形成する有機電界発光素子の製造方法に関する。
また、本発明の製造方法によれば、ベタ塗布して得られた塗布面の端部の直線性が、該端部長さ10mmに対する真直度で500μm以内とすることが好ましい。これにより、パネルの周辺部での発光特性のばらつきが低減し、高性能な有機電界発光素子が得られる。
また、本発明の製造方法によれば、ベタ塗布面の端部の膜厚均一性が、該端部から1mmの部分の膜厚が、ベタ塗布面の平均膜厚の80%以上120%以下であり、かつ該端部から1mm以内のうち最も厚い部分の膜厚がベタ塗布面の平均膜厚の400%以下とすることが好ましい。
本発明の有機電界発光素子は、上記本発明の有機電界発光素子用組成物を用いて形成された有機層を有することを特徴とする。
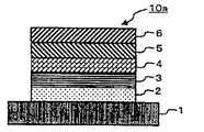
ここで、本発明の有機電界発光素子(以下、有機EL素子と呼ぶ場合がある)は、通常、基板を備え、当該基板上に第1の電極が形成され、その上に上述の各層が積層された積層型の構成を有するものである。ここで、第1の電極及び第2の電極は、何れかが陽極であり、他方が陰極である。以下、第1の電極が陽極、第2の電極が陰極である場合について、基板側から積層される順に説明する。
基板1は有機EL素子10aの支持体となるものであり、石英やガラスの板、金属板や金属箔、プラスチックフィルムやシート等が用いられる。特にガラス板や、ポリエステル、ポリメタクリレート、ポリカーボネート、ポリスルホン等の透明な合成樹脂の板等、汎用材料からなる透明基板を用いることが好ましい。
各種ショットガラス、合成フェーズドシリカガラス、光学クラウンガラス、低膨張ボロシリケートガラス、サファイヤガラス、ソーダガラス、無アルカリガラスなどのガラス、TFTが形成されたガラス、高分子材料としては、ポリメチルメタクリレートや架橋アクリレートなどのアクリル樹脂、ピスフェノールAポリカーボネートなどの芳香族ポリカーボネート樹脂、ポリエチレンテレフタレートなどのポリエステル樹脂、ポリシクロオレフィンなどの非晶性ポリオレフィン樹脂、エポキシ樹脂、ポリスチレンなどのスチレン樹脂、ポリエーテルスルホンなどのポリスルホン樹脂、ポリエーテルイミド樹脂などの合成樹脂、等が挙げられる。また、これらのうち2種以上の積層体であってもよい。目的と用途に応じて、これらの基板の上に反射防止フィルム、円偏光フィルム、位相差フィルムなどの光学フィルムを形成、若しくは張り合わせてもよい。
基板1上には、例えば陽極2が設けられる。陽極2は、発光層4側の層(正孔注入層3または発光層4等)への正孔注入の役割を果たすものである。
この陽極2は、通常、アルミニウム、金、銀、ニッケル、パラジウム、白金等の金属;インジウム及び/またはスズの酸化物等の金属酸化物;ヨウ化銅等のハロゲン化金属;カーボンブラック、或いは、ポリ(3−メチルチオフェン)、ポリピロール、ポリアニリン等の導電性高分子等により構成される。なお、陽極2の材料は、1種のみを用いてもよく、2種以上を任意の組み合わせ及び比率で併用してもよい。
陽極2の厚みは、必要とする透明性により異なる。透明性が必要とされる場合は、可視
光の透過率を、通常60%以上、中でも80%以上とすることが好ましく、この場合、陽極2の厚みは、通常5nm以上、中でも10nm以上が好ましく、また、通常1000nm以下、中でも500nm以下が好ましい。一方、陽極2が不透明でよい場合、陽極2の厚みは任意であり、陽極2は基板1と同一でもよい。さらに、上記の陽極2の上に異なる導電材料を積層することも可能である。
さらに、正孔注入の効率を更に向上させ、かつ、有機層全体の陽極への付着力を改善させる目的で、正孔注入層3と陽極2との間に公知の陽極バッファ層を挿入してもよい。
<3.正孔注入層>
正孔注入層3は、陽極2から発光層4へ正孔を輸送する層である。以下、まず正孔注入
層3に含有される成分を説明し、次に正孔注入層3の形成方法について説明する。
正孔注入層の材料(正孔注入材料)は、正孔注入層3に含有されるものである。また、正孔注入層3を湿式成膜法で形成する場合は、正孔注入層用の塗布用組成物(本発明の有機電界発光素子用組成物)にも、正孔注入層の材料が含有される。この正孔注入層の材料は、正孔注入層3を形成しうるものであれば特に制限は無い。ただし、通常は、正孔注入層の材料として、高分子化合物(以下、適宜ポリマーともいう)及び電子受容性化合物を用いる。さらに、正孔注入層の材料として、それ以外の成分を用いてもよい。以下、これらの正孔注入層の材料について説明する。
正孔注入層の材料として用いられるポリマーの種類は、本発明の効果を著しく損なわない限り任意である。ただし、その中でも、正孔輸送性を有するポリマー(高分子量の正孔輸送性化合物(以下適宜、「正孔輸送性ポリマー」という。)が好ましく、この観点から、4.5eV〜5.5eVのイオン化ポテンシャルを有する化合物であることが好ましい。なお、イオン化ポテンシャルは物質のHOMO(最高被占分子軌道)レベルにある電子を真空準位に放出するのに必要なエネルギーで定義され、光電子分光法で直接測定されるか、電気化学的に測定した参加電位を基準電極に対して補正して求められる。後者の方法の場合は、例えば、飽和甘コウ電極(SCE)を基準電極として用いたとき、下記式で表される(“Molecular Semiconductors”, Springer−Verlag, 1985年, pp.98)。
前記正孔輸送性ポリマーの例としては、芳香族アミン化合物、フタロシアニン誘導体、ポルフィリン誘導体、オリゴチオフェン誘導体等が挙げられる。中でも、非晶質性、溶媒への溶解度、可視光の透過率の点から、芳香族アミン化合物が好ましい。
芳香族アミン化合物の中でも、特に芳香族三級アミン化合物が好ましい。なお、ここでいう芳香族三級アミン化合物とは、芳香族三級アミン構造を有する化合物であって、芳香族三級アミン由来の基を有する化合物も含む。
芳香族三級アミン高分子化合物の好ましい例として、下記式(I)で表わされる繰り返し単位を有する高分子化合物が挙げられる。
基を表わす。)
・連結基群X1:
前記式(I)において、Ar1〜Ar5及びAr11〜Ar28としては、任意の芳香族炭化水素環又は芳香族複素環由来の、1価又は2価の基が適用可能である。即ち、Ar1、A r2、Ar16、Ar21及びAr26は、それぞれ1価の基が適用可能であり、Ar3〜Ar5 、Ar11〜Ar15、Ar17〜Ar20、Ar22〜Ar25、Ar27及びAr28は、それぞれ2価の基が適用可能である。これらは各々同一であっても、互いに異なっていてもよい。また、任意の置換基を有していてもよい。
前記の芳香族複素環としては、例えば、5又は6員環の単環又は2〜4縮合環が挙げられる。その具体例としては、フラン環、ベンゾフラン環、チオフェン環、ベンゾチオフェン環、ピロール環、ピラゾール環、イミダゾール環、オキサジアゾール環、インドール環、カルバゾール環、ピロロイミダゾール環、ピロロピラゾール環、ピロロピロール環、チエノピロール環、チエノチオフェン環、フロピロール環、フロフラン環、チエノフラン環、ベンゾイソオキサゾール環、ベンゾイソチアゾール環、ベンゾイミダゾール環、ピリジン環、ピラジン環、ピリダジン環、ピリミジン環、トリアジン環、キノリン環、イソキノリン環、シノリン環、キノキサリン環、フェナントリジン環、ベンゾイミダゾール環、ペリミジン環、キナゾリン環、キナゾリノン環、アズレン環などが挙げられる。
さらに、Ar1〜Ar5及びAr11〜Ar28の芳香族炭化水素環及び/又は芳香族複素環由来の基は、本発明の趣旨に反しない限りにおいて、更に置換基を有していてもよい。置換基の分子量としては、通常400以下、中でも250以下程度が好ましい。置換基の種類は特に制限されないが、例としては、下記の置換基群Wから選ばれる1種又は2種以上が挙げられる。なお、置換基は、1個が単独で置換していてもよく、2個以上が任意の組
み合わせ及び比率で置換していてもよい。
メチル基、エチル基等の、炭素数が通常1以上、通常10以下、好ましくは8以下のアルキル基;ビニル基等の、炭素数が通常2以上、通常11以下、好ましくは5以下のアルケニル基;エチニル基等の、炭素数が通常2以上、通常11以下、好ましくは5以下のアルキニル基;メトキシ基、エトキシ基等の、炭素数が通常1以上、通常10以下、好ましくは6以下のアルコキシ基;フェノキシ基、ナフトキシ基、ピリジルオキシ基等の、炭素数が通常4以上、好ましくは5以上、通常25以下、好ましくは14以下のアリールオキシ基;メトキシカルボニル基、エトキシカルボニル基等の、炭素数が通常2以上、通常11以下、好ましくは7以下のアルコキシカルボニル基;ジメチルアミノ基、ジエチルアミノ基等の、炭素数が通常2以上、通常20以下、好ましくは12以下のジアルキルアミノ基;ジフェニルアミノ基、ジトリルアミノ基、N−カルバゾリル基等の、炭素数が通常10以上、好ましくは12以上、通常30以下、好ましくは22以下のジアリールアミノ基;フェニルメチルアミノ基等の、炭素数が通常6以上、好ましくは7以上、通常25以下、好ましくは17以下のアリールアルキルアミノ基;アセチル基、ベンゾイル基等の、炭素数が通常2以上、通常10以下、好ましくは7以下のアシル基;フッ素原子、塩素原子等のハロゲン原子;トリフルオロメチル基等の、炭素数が通常1以上、通常8以下、好ましくは4以下のハロアルキル基;メチルチオ基、エチルチオ基等の、炭素数が通常1以上、通常10以下、好ましくは6以下のアルキルチオ基;フェニルチオ基、ナフチルチオ基、ピリジルチオ基等の、炭素数が通常4以上、好ましくは5以上、通常25以下、好ましくは14以下のアリールチオ基;トリメチルシリル基、トリフェニルシリル基等の、炭素数が通常2以上、好ましくは3以上、通常33以下、好ましくは26以下のシリル基;トリメチルシロキシ基、トリフェニルシロキシ基等の、炭素数が通常2以上、好ましくは3以上、通常33以下、好ましくは26以下のシロキシ基;シアノ基;フェニル基、ナフチル基等の、炭素数が通常6以上、通常30以下、好ましくは18以下の芳香族炭化水素環基;チエニル基、ピリジル基等の、炭素数が通常3以上、好ましくは4以上、通常28以下、好ましくは17以下の芳香族複素環基。
また、上述したものの中でも、Ar3〜Ar5としては、耐熱性、酸化還元電位を含めた正孔注入・輸送性の点から、ベンゼン環、ナフタレン環、アントラセン環、フェナントレ
ン環由来の2価の基が好ましく、フェニレン基、ビフェニレン基、ナフチレン基が更に好ましい。
正孔注入層の材料として用いられる正孔輸送性ポリマーの重量平均分子量は本発明の効果を著しく損なわない限り任意であるが、通常1000以上、好ましくは2000以上、より好ましくは3000以上、また、通常50万以下、好ましくは20万以下、より好ま
しくは10万以下である。
正孔注入層の材料として用いられる電子受容性化合物の種類は、本発明の効果を著しく損なわない限り任意である。その例としては、4−イソプロピル−4’−メチルジフェニルヨードニウムテトラキス(ペンタフルオロフェニル)ボラート、トリフェニルスルホニウムテトラフルオロボラート等の有機基の置換したオニウム塩;塩化鉄(III)(特開平 11−251067号公報)、ペルオキソ二硫酸アンモニウム等の高原子価の無機化合物;テトラシアノエチレン等のシアノ化合物、トリス(ペンダフルオロフェニル)ボラン(特開2003−31365号公報)等の芳香族ホウ素化合物;フラーレン誘導体;ヨウ素等が挙げられる。上記の化合物のうち、強い酸化力を有する点で、有機基の置換したオニウム塩、高原子価の無機化合物が好ましく、種々の溶媒に可溶である点で、有機基の置換したオニウム塩、シアノ化合物、芳香族ホウ素化合物が好ましい。さらに、強い酸化力と高い溶解性とを両立する点から、有機基の置換したオニウム塩が最も好ましく、下記式(II−1)〜(II−3)で表わされる化合物であることが特に好ましい。
上記式(II−1)〜(II−3)中、R11、R21及びR31は、各々独立に、A1〜A3と炭素原子で結合する有機基を表わす。したがって、R11、R21及びR31としては、A1〜A3との結合部分に炭素原子を有する有機基であれば、本発明の趣旨に反しない限り、その種類は特に制限されない。
R11、R21及びR31の好ましい例としては、正電荷を非局在化させる点から、アルキル基、アルケニル基、アルキニル基、芳香族炭化水素基、芳香族複素環基が挙げられる。中でも、正電荷を非局在化させるとともに熱的に安定であることから、芳香族炭化水素基又は芳香族複素環基が好ましい。
アルケニル基としては、例えば、炭素数が通常2以上、通常12以下、好ましくは6以下のものが挙げられる。具体例としては、ビニル基、アリル基、1−ブテニル基等が挙げられる。
芳香族炭化水素基としては、例えば、5又は6員環の単環又は2〜5縮合環由来の1価の基であり、正電荷を当該基上により非局在化させられる基が挙げられる。その具体例としては、ベンゼン環、ナフタレン環、アントラセン環、フェナントレン環、ペリレン環、テトラセン環、ピレン環、ベンズピレン環、クリセン環、トリフェニレン環、アセナフテン環、フルオレン環等の由来の一価の基が挙げられる。
R12、R22、R23及びR32〜R34の分子量は、それぞれ、その置換基を含めた値で、通常1000以下、好ましくは500以下の範囲である。
以上、R11、R21、R31、R12、R22、R23、及びR32〜R34として例示した基は、本発明の趣旨に反しない限りにおいて、更に他の置換基によって置換されていてもよい。置換基の種類は特に制限されないが、例としては、上記R11、R21、R31、R12、R22、R23、及びR32〜R34としてそれぞれ例示した基の他、ハロゲン原子、シアノ基、チオシアノ基、ニトロ基等が挙げられる。中でも、耐熱性及び電子受容性の妨げにならない観点から、アルキル基、アルケニル基、アルキニル基、アルコキシ基、アリールオキシ基、芳香族炭化水素基、芳香族複素環基が好ましい。なお、前記の更に置換する置換基は、1個のみで置換していてもよく、2個以上が任意の組み合わせ及び比率で置換していてもよい。
式(II−1)〜(II−3)中、A1〜A3は、何れも周期表第3周期以降(第3〜第6周期)の元素であって、A1は、長周期型周期表の第17族に属する元素を表わし、A2は、第16族に属する元素を表わし、A3は、第15族に属する元素を表わす。
特に、電子受容性、化合物の安定性の面から、式(II−1)におけるA1が臭素原子又 はヨウ素原子である化合物、又は、式(II−2)におけるA2がセレン原子又は硫黄原子 である化合物が好ましく、中でも、式(II−1)におけるA1がヨウ素原子である化合物 が特に好ましい。
式(II−1)〜(II−3)中、n1〜n3は、各々独立に、対アニオンZ1 n1-〜Z3 n3-のイオン価に相当する任意の正の整数である。n1〜n3の値は特に制限されないが、何れも1又は2であることが好ましく、1であることが特に好ましい。
オン、亜硫酸イオン、過塩素酸イオン、過臭素酸イオン、過ヨウ素酸イオン、塩素酸イオン、亜塩素酸イオン、次亜塩素酸イオン、リン酸イオン、亜リン酸イオン、次亜リン酸イオン、ホウ酸イオン、イソシアン酸イオン、水硫化物イオン、テトラフルオロホウ酸イオン、ヘキサフルオロリン酸イオン、ヘキサクロロアンチモン酸イオン;酢酸イオン、トリフルオロ酢酸イオン、安息香酸イオン等のカルボン酸イオン;メタンスルホン酸イオン、トリフルオロメタンスルホン酸イオン等のスルホン酸イオン;メトキシイオン、t−ブトキシイオン等のアルコキシイオンなどが挙げられる。
式(II−5)中、E2は、長周期型周期表の第15族に属する元素を表わす。中でもリ ン原子、ヒ素原子、アンチモン原子が好ましく、化合物の安定性、合成及び精製のし易さ、毒性の点から、リン原子が好ましい。
式(II−6)中、Ar61〜Ar64は、各々独立に、芳香族炭化水素基又は芳香族複素環基を表わす。芳香族炭化水素基、芳香族複素環基の例示としては、R11、R21及びR31について先に例示したものと同様の、5又は6員環の単環又は2〜4縮合環由来の1価の基が挙げられる。中でも、化合物の安定性、耐熱性の点から、ベンゼン環、ナフタレン環、ピリジン環、ピラジン環、ピリダジン環、ピリミジン環、トリアジン環、キノリン環、イソキノリン環由来の1価の基が好ましい。
い。
Ar61〜Ar64が有してもよい置換基として好ましい電子吸引性の基を例示するならば、フッ素原子、塩素原子、臭素原子等のハロゲン原子;シアノ基;チオシアノ基;ニトロ基;メシル基等のアルキルスルホニル基;トシル基等のアリールスルホニル基;ホルミル基、アセチル基、ベンゾイル基等の、炭素数が通常1以上、通常12以下、好ましくは6以下のアシル基;メトキシカルボニル基、エトキシカルボニル基等の、炭素数が通常2以上、通常10以下、好ましくは7以下のアルコキシカルボニル基;フェノキシカルボニル基、ピリジルオキシカルボニル基等の、炭素数が通常3以上、好ましくは4以上、通常25以下、好ましくは15以下の芳香族炭化水素基又は芳香族複素環基を有するアリールオキシカルボニル基;アミノカルボニル基;アミノスルホニル基;トリフルオロメチル基、ペンタフルオロエチル基等の、炭素数が通常1以上、通常10以下、好ましくは6以下の直鎖状、分岐鎖状又は環状のアルキル基にフッ素原子、塩素原子などのハロゲン原子が置換したハロアルキル基、などが挙げられる。
なお、前記の置換基は、1個のみが置換していてもよく、2個以上が任意の組み合わせ及び比率で置換していてもよい。
正孔注入層の材料としては、必要に応じて低分子量の正孔輸送性化合物を用いることが好ましい。
低分子量の正孔輸送性化合物は、従来、有機EL素子における正孔注入・輸送性の薄膜精製材料として利用されてきた各種の化合物の中から、適宜選択することが可能である。中でも、溶媒溶解性の高いものが好ましい。
低分子量の正孔輸送性化合物の好ましい例としては、芳香族アミン化合物が挙げられる。中でも、芳香族三級アミン化合物が特に好ましい。
なお、低分子量の正孔輸送性化合物は、1種のみを用いてもよく、2種以上を任意の組み合わせ及び比率で併用してもよい。
正孔注入層に含まれる材料としては、本発明の効果を著しく損なわない限り、上述したポリマー、電子受容性化合物及び正孔輸送性化合物に加えて、さらに、その他の成分を含有させても良い。その他の成分の例としては、各種の発光材料、電子輸送性化合物、バインダ樹脂、塗布性改良剤などが挙げられる。なお、その他の成分は、1種のみを用いてもよく、2種以上を任意の組み合わせ及び比率で併用してもよい。
正孔注入層の形成方法は特に限定されるものではなく、上述の材料に応じて適宜選択することができる。例えば湿式成膜法により正孔注入層3を形成する場合は、上述の材料を
適切な溶媒に溶解させて塗布用組成物(本発明の有機電界発光素子用組成物)を調製し、それを塗布及び乾燥することにより形成することができる。
塗布用組成物に含有させる正孔注入層用溶媒としては、正孔注入層3の形成が可能である限り任意のものを用いることができる。特に、本発明の有機電界発光素子用組成物に含まれる溶媒として記載のものが好ましい。
なお、乾燥の手法は例えば、プレート(ホットプレート)上に基材を搭載しそのプレートを介して塗布膜を加熱させるホットプレート方式、前記基材の上面側及び/又は下面側にヒーターを配置し、ヒーターから電磁波(例えば赤外線)を照射して、薄膜を加熱する
方式、等を用いることができる。加熱手段は1つでもよく、また2つ以上を任意の組み合わせ及び比率で用いてもよい。
なお、正孔注入層3の膜厚は本発明の効果を著しく損なわない限り任意であるが、通常5nm以上、好ましくは10nm以上、また、通常1000nm以下、好ましくは500nm以下の範囲である。
正孔注入層3の上には本発明に係る有機層として発光層4が設けられる。発光層4は、電界を与えられた電極間において、陽極2から正孔注入層3を通じて注入された正孔と、陰極6から電子輸送層5を通じて注入された電子との再結合により励起されて、主たる発光源となる層である。
発光層4は、その構成材料として、少なくとも、発光の性質を有する材料(発光材料)を含有するとともに、好ましくは、正孔輸送の性質を有する化合物(正孔輸送性化合物)、あるいは、電子輸送の性質を有する化合物(電子輸送性化合物)を含有する。発光物質については特に限定はなく、所望の発光波長で発光し、発光効率が良好である物質を用いればよい。また、電荷輸送性化合物を2成分以上含有していることが好ましい。更に、発光層4は、本発明の効果を著しく損なわない範囲で、その他の成分を含有していてもよい。なお、本発明においては、何れも低分子化合物を使用することが好ましい。なお、低分子化合物とは、重量平均分子量が、通常6000以下、好ましくは5000以下、より好ましくは1500以下の化合物をいう。
発光材料としては、任意の公知の材料を適用可能である。例えば、蛍光発光材料であってもよく、燐光発光材料であってもよいが、内部量子効率の観点から、好ましくは燐光発光材料である。
なお、溶媒への溶解性を向上させる目的で、発光材料の分子の対称性や剛性を低下させたり、或いはアルキル基などの親油性置換基を導入したりすることが好ましい。
青色発光を与える蛍光色素(青色蛍光色素)としては、例えば、ペリレン、ピレン、アントラセン、クマリン、p−ビス(2−フェニルエテニル)ベンゼン及びそれらの誘導体等が挙げられる。
黄色発光を与える蛍光色素(黄色蛍光色素)としては、例えば、ルブレン、ペリミドン誘導体等が挙げられる。
赤色発光を与える蛍光色素(赤色蛍光色素)としては、例えば、DCM(4−(dicyanomethylene)−2−methyl−6−(p−dimethylaminostyryl)−4H−pyran)系化合物、ベンゾピラン誘導体、ローダミン誘導体、ベンゾチオキサンテン誘導体、アザベンゾチオキサンテン等が挙げられる。
燐光性有機金属錯体に含まれる、周期表第7〜11族から選ばれる金属として、好ましいもの例を挙げると、ルテニウム、ロジウム、パラジウム、銀、レニウム、オスミウム、イリジウム、白金、金等が挙げられる。これらの有機金属錯体として、好ましくは下記式
(V)又は式(VI)で表わされる化合物が挙げられる。
{式(V)中、Mは金属を表わし、qは上記金属の価数を表わす。また、L及びL’は二座配位子を表わす。jは0、1又は2の数を表わす。}
以下、まず、式(V)で表わされる化合物について説明する。
式(V)中、Mは任意の金属を表わし、好ましいものの具体例としては、周期表第7〜11族から選ばれる金属として前述した金属が挙げられる。
また、式(V)中、二座配位子Lは、以下の部分構造を有する配位子を示す。
環A1”を構成する芳香族炭化水素基としては、例えば、5又は6員環の単環又は2〜5縮合環が挙げられる。その具体例としては、ベンゼン環、ナフタレン環、アントラセン環、フェナントレン環、ペリレン環、テトラセン環、ピレン環、ベンズピレン環、クリセン環、トリフェニレン環、アセナフテン環、フルオランテン環、フルオレン環由来の1価の基などが挙げられる。
また、上記Lの部分構造において、環A2は、置換基を有していてもよい、含窒素芳香族複素環基を表わす。
のハロアルキル基;シアノ基;フェニル基、ナフチル基、フェナンチル基等の芳香族炭化水素基等が挙げられる。
また、式(V)中、二座配位子L’は、以下の部分構造のうちの少なくともいずれかを有する配位子を示す。但し、以下の式において、「Ph」はフェニル基を表わす。
上記式(Va)、(Vb)及び(Vc)において、環A1”及び環A1’の好ましい例としては、フェニル基、ビフェニル基、ナフチル基、アントリル基、チエニル基、フリル基、ベンゾチエニル基、ベンゾフリル基、ピリジル基、キノリル基、イソキノリル基、カルバゾリル基等が挙げられる。
しては、ピリジル基、ピリミジル基、ピラジル基、トリアジル基、ベンゾチアゾール基、ベンゾオキサゾール基、ベンゾイミダゾール基、キノリル基、イソキノリル基、キノキサリル基、フェナントリジル基等が挙げられる。
と環A2’が有する置換基とが結合するかして、一つの縮合環を形成してもよい。このような縮合環としては、例えば7,8−ベンゾキノリン基等が挙げられる。
上述した置換基の中でも、環A1”、環A1’、環A2及び環A2’の置換基として、より好ましくは、アルキル基、アルコキシ基、芳香族炭化水素基、シアノ基、ハロゲン原子、ハロアルキル基、ジアリールアミノ基、カルバゾリル基が挙げられる。なお、環A1”、環A1’、環A2及び環A2’の置換基は、1個のみが置換していてもよく、2個以上が任意の組み合わせ及び比率で置換していてもよい。
上記式(V)、(Va)、(Vb)及び(Vc)のいずれかで示される有機金属錯体の具体例を以下に示す。但し、下記の化合物に限定されるものではない。
また、国際特許公開第2005/019373号明細書に記載の化合物も、発光材料として使用することが可能である。
式(VI)中、M7は金属を表わす。具体例としては、周期表第7〜11族から選ばれる 金属として前述した金属が挙げられる。中でも好ましくは、ルテニウム、ロジウム、パラジウム、銀、レニウム、オスミウム、イリジウム、白金又は金が挙げられ、特に好ましく
は、白金、パラジウム等の2価の金属が挙げられる。
また、式(VI)においてR92〜R95は、更に置換基を有していてもよい。置換基を有する場合、その種類に特に制限はなく、任意の基を置換基とすることができる。また、その置換基は、1個のみが置換していてもよく、2個以上が任意の組み合わせ及び比率で置換していてもよい。
式(VI)で表わされる有機金属錯体の具体例(T−1〜T−7)を以下に示す。但し、下記の例示物に限定されるものではない。また、以下の化学式において、Meはメチル基を表わし、Etはエチル基を表わす。
合わせ及び比率で併用してもよい。
発光層4における発光材料の割合は、本発明の効果を著しく損なわない限り任意であるが、通常0.05重量%以上、好ましくは0.3重量%以上、より好ましくは0.5重量%以上、また、通常35重量%以下、好ましくは25重量%以下、更に好ましくは20重量%以下である。発光材料が少なすぎると発光ムラを生じる可能性があり、多すぎると発光効率が低下する可能性がある。なお、2種以上の発光材料を併用する場合には、これらの合計の含有量が上記範囲に含まれるようにする。
また、発光層4には、構成材料として、正孔輸送性化合物を含有させてもよい。ここで、正孔輸送性化合物のうち、低分子量の正孔輸送性化合物の例としては、前述の〔2−3−1−3.低分子量の正孔輸送性化合物〕の欄で例示した各種の化合物のほか、例えば、4,4’−ビス[N−(1−ナフチル)−N−フェニルアミノ]ビフェニルに代表される、2個以上の3級アミンを含み2個以上の縮合芳香族環が窒素原子に置換した芳香族ジアミン(特開平5−234681号公報)、4,4’,4”−トリス(1−ナフチルフェニルアミノ)トリフェニルアミン等のスターバースト構造を有する芳香族アミン化合物(Journal of Luminescence, 1997年, Vol.72−74, pp.985)、トリフェニルアミンの四量体から成る芳香族アミン化合物(Chemical Communications, 1996年, pp.2175)、2,2’,7,7’−テトラキス−(ジフェニルアミノ)−9,9’−スピロビフルオレン等のスピロ化合物(Synthetic Metals, 1997年, Vol.91,pp.209)等が挙げられる。なお、発光層4において、正孔輸送性化合物は、1種のみを用いてもよく、2種以上を任意の組み合わせ及び比率で併用してもよい。
発光層4には、構成材料として、電子輸送性化合物を含有させてもよい。ここで、電子輸送性化合物のうち、低分子量の電子輸送性化合物の例としては、2,5−ビス(1−ナフチル)−1,3,4−オキサジアゾール(BND)や、2,5−ビス(6’−(2’,2”−ビピリジル))−1,1−ジメチル−3,4−ジフェニルシロール(PyPySPyPy)や、バソフェナントロリン(BPhen)や、2,9−ジメチル−4,7−ジフェニル−1,10−フェナントロリン(BCP、バソクプロイン)、2−(4−ビフェニリル)−5−(p−ターシャルブチルフェニル)−1,3,4−オキサジアゾール(tBu−PBD)や、4,4’−ビス(9−カルバゾール)−ビフェニル(CBP)等が挙げられる。なお、発光層4において、電子輸送性化合物は、1種のみを用いてもよく、2種以上を任意の組み合わせ及び比率で併用してもよい。
上記発光層は湿式成膜法により形成される。以下発光層の形成方法について説明する。発光層を製造するための塗布用組成物に含有させる発光層用溶媒としては、発光層の形成が可能である限り任意のものを用いることができる。ただし、前述の発光材料、正孔輸送性化合物、及び、電子輸送性化合物を溶解することが可能なものが好ましい。具体的な溶解性としては、常温・常圧下で、発光材料、正孔輸送性化合物、あるいは電子輸送性化合物を、通常0.01重量%以上、中でも0.05重量%以上、特には0.1重量%以上溶解することが好ましい。発光層用溶媒の好適な例は、上述した〔3−2.正孔注入層の形成〕の欄で説明した溶媒と同様である。
なお、乾燥の手法についても、〔3−2.正孔注入層の形成〕の欄で説明した手法と同様とすることができ、他に制限はない。
発光層4の膜厚は本発明の効果を著しく損なわない限り任意であるが、通常3nm以上、好ましくは5nm以上、また、通常200nm以下、好ましくは100nm以下の範囲である。発光層4の膜厚が、薄すぎると発光層に欠陥が生じる可能性があり、厚すぎると有機EL素子の駆動電圧が上昇する可能性がある。
電子輸送層5は、素子の発光効率を更に向上させることを目的として設けられるもので、電界を与えられた電極間において陰極6から注入された電子を効率よく発光層4の方向に輸送することができる化合物より形成される。
電子輸送層5の膜厚は、本発明の効果を著しく損なわない限り任意であるが、通常1nm以上、好ましくは5nm以上、また、通常300nm以下、好ましくは100nm以下の範囲である。
陰極6は、発光層4側の層(電子輸送層5又は発光層4など)に電子を注入する役割を果たすものである。
陰極6の材料としては、前記の陽極2に使用される材料を用いることが可能であるが、効率良く電子注入を行なうには、仕事関数の低い金属が好ましく、例えば、スズ、マグネシウム、インジウム、カルシウム、アルミニウム、銀等の適当な金属又はそれらの合金が用いられる。具体例としては、マグネシウム−銀合金、マグネシウム−インジウム合金、アルミニウム−リチウム合金等の低仕事関数合金電極が挙げられる。なお、陰極6の材料は、1種のみを用いてもよく、2種以上を任意の組み合わせ及び比率で併用してもよい。
さらに、低仕事関数金属から成る陰極6を保護する目的で、この上に更に、仕事関数が高く大気に対して安定な金属層を積層すると、素子の安定性が増すので好ましい。この目的のために、例えば、アルミニウム、銀、銅、ニッケル、クロム、金、白金等の金属が使われる。なお、これらの材料は、1種のみで用いてもよく、2種以上を任意の組み合わせ及び比率で併用してもよい。
以上、図1に示す層構成の有機EL素子を中心に説明してきたが、本発明に係る有機EL素子は、その趣旨を逸脱しない範囲において、別の構成を有していてもよい。例えば、上記図1においては正孔注入層3及び正孔注入層5が有機層として用いられているが、有機層の種類に制限はなく、後述するいずれの層を有機層として用いてもよい。またさらにその性能を損なわない限り、陽極2と陰極6との間に、上記説明にある層の他に任意の層を有していてもよく、また、任意の層が省略されていてもよい。
正孔注入層3と発光層4との間に正孔輸送層7を有していてもよい。
正孔輸送層7を形成する材料としては、上記正孔注入層3に混合して用いてもよい正孔輸送化合物として例示した化合物と同様なものが挙げられる。また、例えば、ポリビニルカルバゾール、ポリビニルトリフェニルアミン、テトラフェニルベンジジンを含有するポリアリーレンエーテルサルホン等の高分子材料も用いることができる。なお、正孔輸送層7の材料は、1種のみを用いてもよく、2種以上を任意の組み合わせ及び比率で併用してもよい。
る。以下、特に湿式成膜法について説明する。
正孔輸送層を製造するための塗布用組成物に含有させる正孔輸送層用溶媒としては、正孔注入層の形成が可能である限り任意のものを用いることができる。ただし、前述の正孔輸送性化合物や高分子材料を溶解することが可能なものが好ましい。
正孔輸送層を製造するための塗布用組成物の塗布・成膜後、得られた塗膜を乾燥し、正孔輸送層用溶媒を除去することにより、正孔輸送層が形成される。湿式成膜の方式は、本発明の効果を著しく損なわない限り限定されず、〔3−2.正孔注入層の形成〕の欄で説明した、いかなる方式も用いることができる。
なお、正孔輸送層7の膜厚は、本発明の効果を著しく損なわない限り任意であるが、通常10nm以上、好ましくは30nm以上、また、通常300nm以下、好ましくは100nm以下である。
正孔注入層3と発光層4との間に電子阻止層8を有していてもよい。
電子阻止層8は、発光層4から移動してくる電子が正孔注入層3に到達するのを阻止することで、発光層4内で正孔と電子との再結合確率を上げ、生成した励起子を発光層4内に閉じこめる役割と、正孔注入層3から注入された正孔を効率よく発光層4の方向に輸送する役割とがある。特に、発光材料として燐光材料を用いたり、青色発光材料を用いたりする場合は効果的である。
電子阻止層8の形成方法に制限はない。従って、上述の材料を上述の〔3−2.正孔注入層の形成〕の欄で説明した方法や、その他の方法で正孔注入層3上に積層することにより形成することができる。
電子輸送層5上に電子注入層9aおよび後述する正孔阻止層9bを有していてもよい。電子注入層9aは、陰極6から注入された電子を効率良く発光層4へ注入する役割を果たす。電子注入を効率よく行なうには、電子注入層9aを形成する材料は、仕事関数の低い金属が好ましい。例としては、ナトリウムやセシウム等のアルカリ金属、バリウムやカルシウムなどのアルカリ土類金属等が用いられる。その膜厚は通常0.1nm以上、5nm以下が好ましい。
電子注入層の形成方法に制限はない。従って、上述の材料を上述の〔3−2.正孔注入層の形成〕の欄で説明した湿式成膜法や、その他の方法で発光層4上に積層することにより形成することができる。
また、例えば、発光層4と電子輸送層5との間に、正孔阻止層9bを設けてもよい。正孔阻止層9bは、発光層4の上に、発光層4の陰極6側の界面に接するように積層される層である。この正孔阻止層9bは、陽極2から移動してくる正孔を陰極6に到達するのを阻止する役割と、陰極6から注入された電子を効率よく発光層4の方向に輸送する役割とを有する。
正孔阻止層9bの膜厚は、本発明の効果を著しく損なわない限り任意であるが、通常0.3nm以上、好ましくは0.5nm以上、また、通常100nm以下、好ましくは50nm以下である。
陰極6と発光層4又は電子輸送層5との界面に、例えばフッ化リチウム(LiF)、フッ化マグネシウム(MgF2)、酸化リチウム(Li2O)、炭酸セシウム(II)(CsCO3)等で形成された極薄絶縁膜(0.1〜5nm)を挿入することも、素子の効率を向上させる有効な方法である(Applied Physics Letters, 1997年, Vol.70, pp.152;特開平10−74586号公報;IEEE Transactions on Electron Devices, 1997年,Vol.44, pp.1245;SID 04 Digest, pp.154等参照)。
更には、少なくとも一方が透明性を有する2枚の基板の間に、基板以外の構成要素を積層することにより、本発明の有機EL素子を構成することも可能である。
また、上述した各層には、本発明の効果を著しく損なわない限り、材料として説明した以外の成分が含まれていてもよい。
ディスプレイ用ガラス基板(旭ガラス社製「AN100」)の研磨面を洗浄剤(ライオン社製「サンウォッシュTL−100」)によって洗浄後、UVオゾン処理(低圧水銀灯にて1000mj/cm2)することで光洗浄を施したガラス基板上に、ピエゾ方式のインクジェットプリンタヘッド(富士フィルムダイマティクス社製、商品名Spectra
SE128)に充填した塗布液材料(有機電界発光素子用組成物)を、平均液滴サイズ20plにて100μm間隔で5mm×20mmのエリアに吐出した後に温度23℃湿度50%の環境にて10分間乾燥させ、さらに230℃のオーブン中で10分間のベーク処理を行った。以上の様にして形成されたベタ膜端部の直線性を顕微鏡にて観察し、また膜厚の測定を触針式段差計(テンコール社製P−16+)にて実施した。
液滴の吐出間隔を1mmとした以外は、上記(ベタ塗布膜の作製法および均一性評価方法)と同様の方法で塗布液材料(有機電界発光素子用組成物)をガラス基板上に吐出した後に、温度23℃、湿度50%の環境にて一分間放置した後の液滴を光学顕微鏡にて観察し、液滴径の測定を行った。
(吐出安定性の評価方法)
上記ディスプレイ用ガラス基板に、撥液処理剤(例:(株)フロロテクノロジー社製 商品名FG5010S135−0.1)をスピンコーター(例:ミカサ(株)製 商品名1H−D7)にて毎分500回転にて5秒間、引き続き毎分1500回転にて20秒間スピンコートした後に、80℃のホットプレート上で10分間乾燥することで、吐出安定性評価用の基板とした。ピエゾ方式のインクジェットプリンタヘッド(富士フィルムダイマティクス社製、商品名Spectra SE128)に充填した塗布液材料(有機電界発光素子用組成物)を、平均液滴サイズ20plにて各ノズルから2500発吐出させた後、温度23℃湿度50%の環境で10分間放置し、再び吐出を開始した際の不吐出および飛翔曲がりの状況を、ノズル50本に対する発生頻度で評価した。
○:発生頻度10%未満
△:発生頻度10〜30%未満
×:発生頻度30%以上
(参考例1)
300mlの三角フラスコに、溶媒として安息香酸エチル(沸点:213℃)100重量%に対して、下記式(1)で表される繰り返し単位からなるポリマー(以下、式(1)で表されるポリマーという場合がある)5重量%を入れ、マグネチックスターラーにて1時間攪拌を行った。攪拌後の溶液を目視にて観察したところ不溶物は確認されなかった。
溶媒をジフェニルエーテル(沸点:259℃)に変更した以外は、参考例1と同様にして行ったところ、不溶物は確認されなかった。
(参考例3)
溶媒をジフェニルメタン(沸点:265℃)に変更した以外は、参考例1と同様にして行ったところ、不溶物は確認されなかった。
溶媒を酢酸2−フェノキシエチル(沸点:260℃)に変更した以外は、参考例1と同様にして行い、攪拌後の溶液を目視にて観察したところ、液中および三角フラスコ内壁に不溶物が観察された。
(参考例5)
溶媒を安息香酸エチル75重量%と酢酸2−フェノキシエチル25重量%との混合溶媒に変更した以外は、参考例1と同様にして行ったところ、不溶物は確認されなかった。
(実施例1)
溶質として、上記式(1)で表されるポリマー5重量%および下記式(2)で表されるイオン化合物1重量%を、溶媒として安息香酸エチル50重量%とジフェニルエーテル50重量%の混合溶媒に溶解して有機電界発光素子用組成物とした。この組成物の接触角を測定した結果を表2に示す。接触角の測定は、市販の接触角測定装置(例:協和界面科学社製「CA−DT」)を使用し、温度23℃湿度50%の環境にて25Gのテフロン(登録商標)被覆ステンレス針にて作成した300nlの液滴を上記光洗浄を施したガラス基材上に着滴させた後、10秒経過時の接触角を測定した。
組成物中の溶媒を、安息香酸エチル50重量%とジフェニルメタン50重量%とした以外は、実施例1と同様にして有機電界発光素子用組成物を調製し、接触角の測定、ベタ膜端部の直線性の観察、膜厚の測定、着滴径の測定および吐出安定性の評価を実施した。結果を表2に示す。
組成物中の溶媒を、安息香酸エチル75重量%とジフェニルエーテル25重量%とした以外は、実施例1と同様にして有機電界発光素子用組成物を調製し、接触角の測定、ベタ膜端部の直線性の観察、膜厚の測定、着滴径の測定および吐出安定性の評価を実施した。結果を表2に示す。
組成物中の溶媒を、安息香酸エチルのみの単独溶媒とした以外は、実施例1と同様にして有機電界発光素子用組成物を調製し、接触角の測定、ベタ膜端部の直線性の観察、膜厚の測定、着滴径の測定および吐出安定性の評価を実施した。結果を表2に示す。
(比較例2)
組成物中の溶質を上記式(1)で表されるポリマー4重量%および上記式(2)で表されるイオン化合物0.8重量%とし、溶媒をジフェニルエーテルのみの単独溶媒とした以外は、実施例1と同様にして有機電界発光素子用組成物を調製し、接触角の測定、ベタ膜端部の直線性の観察、膜厚の測定、着滴径の測定および吐出安定性の評価を実施した。結果を表2に示す。
組成物中の溶媒を、安息香酸エチル75重量%と酢酸2−フェノキシエチル25重量%とした以外は、実施例1と同様にして有機電界発光素子用組成物を調製し、接触角の測定、ベタ膜端部の直線性の観察、膜厚の測定、着滴径の測定および吐出安定性の評価を実施した。結果を表2に示す。
2 陽極
3 正孔注入層
4 発光層
5 電子輸送層
6 陰極
10a 有機電界発光素子
Claims (10)
- 2種類以上の有機溶媒を含有する、有機電界発光素子の有機層を形成するための組成物であって、
該有機溶媒のうちの少なくとも2種は、安息香酸エチル及びジフェニルエーテルであり
、ガラス基材への接触角が5度以上10度以下であることを特徴とする、
有機電界発光素子用組成物。 - ジフェニルエーテルを15〜85重量%含有することを特徴とする、請求項1に記載の
有機電界発光素子用組成物。 - ジフェニルエーテルと溶質とを含有し、該ジフェニルエーテルが、該溶質を2重量%以
上溶解することを特徴とする、請求項1または2に記載の有機電界発光素子用組成物。 - インクジェット法で、20plの液滴サイズでガラス基材に着滴させたとき、着滴後1
分経過後の液滴径が100〜400μmであることを特徴とする、請求項1乃至3の何れか一項に記載の有機電界発光素子用組成物。 - 溶質を含有し、該溶質が正孔注入材料または正孔輸送材料であることを特徴とする、請
求項1乃至4の何れか一項に記載の有機電界発光素子用組成物。 - 請求項1乃至6の何れか一項に記載の有機電界発光素子用組成物を用いて形成された有機層を有する、有機電界発光素子。
- インクジェット法で有機層を形成する有機電界発光素子の製造方法において、請求項1乃至6の何れか一項に記載の有機電界発光素子用組成物を塗布して有機層を形成することを特徴とする、有機電界発光素子の製造方法。
- 塗布面の端部の直線性が、該端部長さ10mmに対する真直度で500μm以内であることを特徴とする、請求項8に記載の有機電界発光素子の製造方法。
- 塗布面の端部の膜厚均一性が、該端部から1mmの部分の膜厚が、塗布面の平均膜厚の80%以上120%以下であり、かつ該端部から1mm以内のうち最も厚い部分の膜厚が塗布面の平均膜厚の400%以下であることを特徴とする、請求項8または9に記載の有機電界発光素子の製造方法。
Priority Applications (1)
| Application Number | Priority Date | Filing Date | Title |
|---|---|---|---|
| JP2007225170A JP5259139B2 (ja) | 2007-08-31 | 2007-08-31 | 有機電界発光素子用組成物、有機電界発光素子および有機電界発光素子の製造方法 |
Applications Claiming Priority (1)
| Application Number | Priority Date | Filing Date | Title |
|---|---|---|---|
| JP2007225170A JP5259139B2 (ja) | 2007-08-31 | 2007-08-31 | 有機電界発光素子用組成物、有機電界発光素子および有機電界発光素子の製造方法 |
Publications (2)
| Publication Number | Publication Date |
|---|---|
| JP2009059846A JP2009059846A (ja) | 2009-03-19 |
| JP5259139B2 true JP5259139B2 (ja) | 2013-08-07 |
Family
ID=40555339
Family Applications (1)
| Application Number | Title | Priority Date | Filing Date |
|---|---|---|---|
| JP2007225170A Active JP5259139B2 (ja) | 2007-08-31 | 2007-08-31 | 有機電界発光素子用組成物、有機電界発光素子および有機電界発光素子の製造方法 |
Country Status (1)
| Country | Link |
|---|---|
| JP (1) | JP5259139B2 (ja) |
Families Citing this family (11)
| Publication number | Priority date | Publication date | Assignee | Title |
|---|---|---|---|---|
| JP5703859B2 (ja) * | 2011-03-09 | 2015-04-22 | 三菱化学株式会社 | 有機電界発光素子用組成物及び有機電界発光素子の製造方法 |
| WO2012147208A1 (ja) * | 2011-04-28 | 2012-11-01 | パイオニア株式会社 | 有機電界発光素子用金属錯体組成物 |
| JP6015073B2 (ja) * | 2012-04-02 | 2016-10-26 | セイコーエプソン株式会社 | 機能層形成用インク、発光素子の製造方法 |
| JP6079118B2 (ja) * | 2012-10-10 | 2017-02-15 | コニカミノルタ株式会社 | 発光層形成用インク組成物、発光素子の作製方法及びエレクトロルミネッセンスデバイス |
| EP3492509A1 (en) * | 2014-02-14 | 2019-06-05 | Hitachi Chemical Company, Ltd. | Polymer or oligomer, hole transport material composition, and organic electronic element using same |
| JP6550830B2 (ja) * | 2015-03-25 | 2019-07-31 | セイコーエプソン株式会社 | 機能層形成用組成物、機能層形成用組成物の製造方法、有機el素子の製造方法、有機el装置、電子機器 |
| WO2018230548A1 (ja) * | 2017-06-15 | 2018-12-20 | Dic株式会社 | 機能層形成用インク |
| JP2019214659A (ja) * | 2018-06-12 | 2019-12-19 | Dic株式会社 | 機能層形成用インク |
| KR102217266B1 (ko) * | 2018-09-28 | 2021-02-17 | 주식회사 엘지화학 | 유기 발광 소자용 잉크 조성물 |
| WO2023038493A1 (ko) * | 2021-09-13 | 2023-03-16 | 주식회사 엘지화학 | 화합물, 이를 포함하는 코팅 조성물, 이를 이용한 유기 발광 소자 및 이의 제조방법 |
| JP2025511529A (ja) * | 2022-11-04 | 2025-04-16 | エルジー・ケム・リミテッド | インク組成物、これを含む有機物層、およびこれを含む有機発光素子 |
Family Cites Families (3)
| Publication number | Priority date | Publication date | Assignee | Title |
|---|---|---|---|---|
| JP3254570B2 (ja) * | 1993-11-26 | 2002-02-12 | 大日本印刷株式会社 | 有機薄膜el素子 |
| CN100573965C (zh) * | 2005-02-15 | 2009-12-23 | 三菱化学株式会社 | 成膜用组合物和有机电致发光元件 |
| JP4682701B2 (ja) * | 2005-05-27 | 2011-05-11 | 凸版印刷株式会社 | 有機el素子用インキおよび有機el素子の製造方法 |
-
2007
- 2007-08-31 JP JP2007225170A patent/JP5259139B2/ja active Active
Also Published As
| Publication number | Publication date |
|---|---|
| JP2009059846A (ja) | 2009-03-19 |
Similar Documents
| Publication | Publication Date | Title |
|---|---|---|
| JP5259139B2 (ja) | 有機電界発光素子用組成物、有機電界発光素子および有機電界発光素子の製造方法 | |
| CN100573965C (zh) | 成膜用组合物和有机电致发光元件 | |
| JP5088097B2 (ja) | 有機電界蛍光発光素子用材料、有機電界蛍光発光素子用組成物、有機電界蛍光発光素子、有機elディスプレイ及びカラーディスプレイ表示装置 | |
| JP5577685B2 (ja) | 有機電界発光素子の製造方法、有機電界発光素子、有機el表示装置及び有機el照明 | |
| JP4893173B2 (ja) | 有機電界発光素子用組成物及び有機電界発光素子 | |
| JP6035706B2 (ja) | 有機電界素子用組成物の製造方法、有機電界素子用組成物、有機電界発光素子の製造方法、有機電界発光素子、有機el表示装置および有機el照明 | |
| JP5206900B1 (ja) | 有機電界発光素子、有機電界発光素子用組成物、及び有機電界発光装置 | |
| JP2012109286A (ja) | 有機電界発光素子用組成物、有機電界発光素子、有機elディスプレイ及び有機el照明 | |
| JP4910741B2 (ja) | 有機電界発光素子の製造方法 | |
| JP5555972B2 (ja) | 有機電界発光素子 | |
| JP5157593B2 (ja) | 有機電界発光素子、及びその製造方法、並びに有機エレクトロルミネッセンスディスプレイ | |
| JP2012074707A (ja) | 有機電界発光素子用組成物及び有機電界発光素子 | |
| JP2010225653A (ja) | 電荷輸送膜用組成物、有機電界発光素子、有機elディスプレイ及び有機el照明 | |
| JP5540600B2 (ja) | 電子デバイス、有機電界発光素子、有機el表示装置および有機el照明 | |
| JP4952326B2 (ja) | 有機薄膜の形成方法及び有機電界発光素子の製造方法 | |
| JP2008192433A (ja) | 有機電界発光素子の製造方法 | |
| JP5402703B2 (ja) | 有機電界発光素子、有機elディスプレイ、有機el照明及び有機el信号装置 | |
| JP4967864B2 (ja) | 有機電界発光素子 | |
| JP2009146691A (ja) | 有機電界発光素子の製造方法、及び有機エレクトロルミネッセンスディスプレイ | |
| JP2010192121A (ja) | 有機電界発光素子用組成物、有機電界発光素子、有機elディスプレイ及び有機el照明 | |
| JP2011256129A (ja) | 有機金属錯体材料、有機電界発光素子用組成物、有機電界発光素子、有機el表示装置及び有機el照明 | |
| JP2008294401A (ja) | 有機電界発光素子用組成物、有機電界発光素子および有機電界発光素子の製造方法 | |
| JP2008218363A (ja) | 有機電界発光素子の製造方法 | |
| JP5141229B2 (ja) | 外縁規定膜形成用組成物、機能膜の製造方法、有機電界発光素子及びその製造方法、並びに画像表示デバイス | |
| JP2014058457A (ja) | イリジウム錯体化合物、有機電界発光素子、表示装置ならびに照明装置 |
Legal Events
| Date | Code | Title | Description |
|---|---|---|---|
| RD05 | Notification of revocation of power of attorney |
Free format text: JAPANESE INTERMEDIATE CODE: A7425 Effective date: 20090715 |
|
| A621 | Written request for application examination |
Free format text: JAPANESE INTERMEDIATE CODE: A621 Effective date: 20100409 |
|
| A131 | Notification of reasons for refusal |
Free format text: JAPANESE INTERMEDIATE CODE: A131 Effective date: 20120214 |
|
| A521 | Request for written amendment filed |
Free format text: JAPANESE INTERMEDIATE CODE: A523 Effective date: 20120416 |
|
| A02 | Decision of refusal |
Free format text: JAPANESE INTERMEDIATE CODE: A02 Effective date: 20120515 |
|
| A61 | First payment of annual fees (during grant procedure) |
Free format text: JAPANESE INTERMEDIATE CODE: A61 Effective date: 20130424 |
|
| FPAY | Renewal fee payment (event date is renewal date of database) |
Free format text: PAYMENT UNTIL: 20160502 Year of fee payment: 3 |
|
| R150 | Certificate of patent or registration of utility model |
Ref document number: 5259139 Country of ref document: JP Free format text: JAPANESE INTERMEDIATE CODE: R150 Free format text: JAPANESE INTERMEDIATE CODE: R150 |
|
| S111 | Request for change of ownership or part of ownership |
Free format text: JAPANESE INTERMEDIATE CODE: R313111 |
|
| R350 | Written notification of registration of transfer |
Free format text: JAPANESE INTERMEDIATE CODE: R350 |
