JP4954875B2 - ポリ塩化ビニリデン被覆、被覆の製造方法およびその使用 - Google Patents
ポリ塩化ビニリデン被覆、被覆の製造方法およびその使用 Download PDFInfo
- Publication number
- JP4954875B2 JP4954875B2 JP2007517177A JP2007517177A JP4954875B2 JP 4954875 B2 JP4954875 B2 JP 4954875B2 JP 2007517177 A JP2007517177 A JP 2007517177A JP 2007517177 A JP2007517177 A JP 2007517177A JP 4954875 B2 JP4954875 B2 JP 4954875B2
- Authority
- JP
- Japan
- Prior art keywords
- pvdc
- coating
- particles
- dispersion
- film
- Prior art date
- Legal status (The legal status is an assumption and is not a legal conclusion. Google has not performed a legal analysis and makes no representation as to the accuracy of the status listed.)
- Expired - Lifetime
Links
Images
Classifications
-
- C—CHEMISTRY; METALLURGY
- C08—ORGANIC MACROMOLECULAR COMPOUNDS; THEIR PREPARATION OR CHEMICAL WORKING-UP; COMPOSITIONS BASED THEREON
- C08L—COMPOSITIONS OF MACROMOLECULAR COMPOUNDS
- C08L27/00—Compositions of homopolymers or copolymers of compounds having one or more unsaturated aliphatic radicals, each having only one carbon-to-carbon double bond, and at least one being terminated by a halogen; Compositions of derivatives of such polymers
- C08L27/02—Compositions of homopolymers or copolymers of compounds having one or more unsaturated aliphatic radicals, each having only one carbon-to-carbon double bond, and at least one being terminated by a halogen; Compositions of derivatives of such polymers not modified by chemical after-treatment
- C08L27/04—Compositions of homopolymers or copolymers of compounds having one or more unsaturated aliphatic radicals, each having only one carbon-to-carbon double bond, and at least one being terminated by a halogen; Compositions of derivatives of such polymers not modified by chemical after-treatment containing chlorine atoms
- C08L27/08—Homopolymers or copolymers of vinylidene chloride
-
- C—CHEMISTRY; METALLURGY
- C08—ORGANIC MACROMOLECULAR COMPOUNDS; THEIR PREPARATION OR CHEMICAL WORKING-UP; COMPOSITIONS BASED THEREON
- C08J—WORKING-UP; GENERAL PROCESSES OF COMPOUNDING; AFTER-TREATMENT NOT COVERED BY SUBCLASSES C08B, C08C, C08F, C08G or C08H
- C08J7/00—Chemical treatment or coating of shaped articles made of macromolecular substances
- C08J7/04—Coating
- C08J7/0427—Coating with only one layer of a composition containing a polymer binder
-
- C—CHEMISTRY; METALLURGY
- C08—ORGANIC MACROMOLECULAR COMPOUNDS; THEIR PREPARATION OR CHEMICAL WORKING-UP; COMPOSITIONS BASED THEREON
- C08J—WORKING-UP; GENERAL PROCESSES OF COMPOUNDING; AFTER-TREATMENT NOT COVERED BY SUBCLASSES C08B, C08C, C08F, C08G or C08H
- C08J7/00—Chemical treatment or coating of shaped articles made of macromolecular substances
- C08J7/04—Coating
- C08J7/043—Improving the adhesiveness of the coatings per se, e.g. forming primers
-
- C—CHEMISTRY; METALLURGY
- C09—DYES; PAINTS; POLISHES; NATURAL RESINS; ADHESIVES; COMPOSITIONS NOT OTHERWISE PROVIDED FOR; APPLICATIONS OF MATERIALS NOT OTHERWISE PROVIDED FOR
- C09D—COATING COMPOSITIONS, e.g. PAINTS, VARNISHES OR LACQUERS; FILLING PASTES; CHEMICAL PAINT OR INK REMOVERS; INKS; CORRECTING FLUIDS; WOODSTAINS; PASTES OR SOLIDS FOR COLOURING OR PRINTING; USE OF MATERIALS THEREFOR
- C09D127/00—Coating compositions based on homopolymers or copolymers of compounds having one or more unsaturated aliphatic radicals, each having only one carbon-to-carbon double bond, and at least one being terminated by a halogen; Coating compositions based on derivatives of such polymers
- C09D127/02—Coating compositions based on homopolymers or copolymers of compounds having one or more unsaturated aliphatic radicals, each having only one carbon-to-carbon double bond, and at least one being terminated by a halogen; Coating compositions based on derivatives of such polymers not modified by chemical after-treatment
- C09D127/04—Coating compositions based on homopolymers or copolymers of compounds having one or more unsaturated aliphatic radicals, each having only one carbon-to-carbon double bond, and at least one being terminated by a halogen; Coating compositions based on derivatives of such polymers not modified by chemical after-treatment containing chlorine atoms
- C09D127/08—Homopolymers or copolymers of vinylidene chloride
-
- B—PERFORMING OPERATIONS; TRANSPORTING
- B29—WORKING OF PLASTICS; WORKING OF SUBSTANCES IN A PLASTIC STATE IN GENERAL
- B29K—INDEXING SCHEME ASSOCIATED WITH SUBCLASSES B29B, B29C OR B29D, RELATING TO MOULDING MATERIALS OR TO MATERIALS FOR MOULDS, REINFORCEMENTS, FILLERS OR PREFORMED PARTS, e.g. INSERTS
- B29K2027/00—Use of polyvinylhalogenides or derivatives thereof as moulding material
- B29K2027/08—PVDC, i.e. polyvinylidene chloride
-
- C—CHEMISTRY; METALLURGY
- C08—ORGANIC MACROMOLECULAR COMPOUNDS; THEIR PREPARATION OR CHEMICAL WORKING-UP; COMPOSITIONS BASED THEREON
- C08J—WORKING-UP; GENERAL PROCESSES OF COMPOUNDING; AFTER-TREATMENT NOT COVERED BY SUBCLASSES C08B, C08C, C08F, C08G or C08H
- C08J2327/00—Characterised by the use of homopolymers or copolymers of compounds having one or more unsaturated aliphatic radicals, each having only one carbon-to-carbon double bond, and at least one being terminated by a halogen; Derivatives of such polymers
- C08J2327/02—Characterised by the use of homopolymers or copolymers of compounds having one or more unsaturated aliphatic radicals, each having only one carbon-to-carbon double bond, and at least one being terminated by a halogen; Derivatives of such polymers not modified by chemical after-treatment
- C08J2327/04—Characterised by the use of homopolymers or copolymers of compounds having one or more unsaturated aliphatic radicals, each having only one carbon-to-carbon double bond, and at least one being terminated by a halogen; Derivatives of such polymers not modified by chemical after-treatment containing chlorine atoms
-
- C—CHEMISTRY; METALLURGY
- C08—ORGANIC MACROMOLECULAR COMPOUNDS; THEIR PREPARATION OR CHEMICAL WORKING-UP; COMPOSITIONS BASED THEREON
- C08J—WORKING-UP; GENERAL PROCESSES OF COMPOUNDING; AFTER-TREATMENT NOT COVERED BY SUBCLASSES C08B, C08C, C08F, C08G or C08H
- C08J2427/00—Characterised by the use of homopolymers or copolymers of compounds having one or more unsaturated aliphatic radicals, each having only one carbon-to-carbon double bond, and at least one being terminated by a halogen; Derivatives of such polymers
-
- Y—GENERAL TAGGING OF NEW TECHNOLOGICAL DEVELOPMENTS; GENERAL TAGGING OF CROSS-SECTIONAL TECHNOLOGIES SPANNING OVER SEVERAL SECTIONS OF THE IPC; TECHNICAL SUBJECTS COVERED BY FORMER USPC CROSS-REFERENCE ART COLLECTIONS [XRACs] AND DIGESTS
- Y10—TECHNICAL SUBJECTS COVERED BY FORMER USPC
- Y10T—TECHNICAL SUBJECTS COVERED BY FORMER US CLASSIFICATION
- Y10T428/00—Stock material or miscellaneous articles
- Y10T428/25—Web or sheet containing structurally defined element or component and including a second component containing structurally defined particles
-
- Y—GENERAL TAGGING OF NEW TECHNOLOGICAL DEVELOPMENTS; GENERAL TAGGING OF CROSS-SECTIONAL TECHNOLOGIES SPANNING OVER SEVERAL SECTIONS OF THE IPC; TECHNICAL SUBJECTS COVERED BY FORMER USPC CROSS-REFERENCE ART COLLECTIONS [XRACs] AND DIGESTS
- Y10—TECHNICAL SUBJECTS COVERED BY FORMER USPC
- Y10T—TECHNICAL SUBJECTS COVERED BY FORMER US CLASSIFICATION
- Y10T428/00—Stock material or miscellaneous articles
- Y10T428/31504—Composite [nonstructural laminate]
- Y10T428/31678—Of metal
- Y10T428/31692—Next to addition polymer from unsaturated monomers
-
- Y—GENERAL TAGGING OF NEW TECHNOLOGICAL DEVELOPMENTS; GENERAL TAGGING OF CROSS-SECTIONAL TECHNOLOGIES SPANNING OVER SEVERAL SECTIONS OF THE IPC; TECHNICAL SUBJECTS COVERED BY FORMER USPC CROSS-REFERENCE ART COLLECTIONS [XRACs] AND DIGESTS
- Y10—TECHNICAL SUBJECTS COVERED BY FORMER USPC
- Y10T—TECHNICAL SUBJECTS COVERED BY FORMER US CLASSIFICATION
- Y10T428/00—Stock material or miscellaneous articles
- Y10T428/31504—Composite [nonstructural laminate]
- Y10T428/31855—Of addition polymer from unsaturated monomers
-
- Y—GENERAL TAGGING OF NEW TECHNOLOGICAL DEVELOPMENTS; GENERAL TAGGING OF CROSS-SECTIONAL TECHNOLOGIES SPANNING OVER SEVERAL SECTIONS OF THE IPC; TECHNICAL SUBJECTS COVERED BY FORMER USPC CROSS-REFERENCE ART COLLECTIONS [XRACs] AND DIGESTS
- Y10—TECHNICAL SUBJECTS COVERED BY FORMER USPC
- Y10T—TECHNICAL SUBJECTS COVERED BY FORMER US CLASSIFICATION
- Y10T428/00—Stock material or miscellaneous articles
- Y10T428/31504—Composite [nonstructural laminate]
- Y10T428/31855—Of addition polymer from unsaturated monomers
- Y10T428/31909—Next to second addition polymer from unsaturated monomers
- Y10T428/31913—Monoolefin polymer
- Y10T428/3192—Next to vinyl or vinylidene chloride polymer
-
- Y—GENERAL TAGGING OF NEW TECHNOLOGICAL DEVELOPMENTS; GENERAL TAGGING OF CROSS-SECTIONAL TECHNOLOGIES SPANNING OVER SEVERAL SECTIONS OF THE IPC; TECHNICAL SUBJECTS COVERED BY FORMER USPC CROSS-REFERENCE ART COLLECTIONS [XRACs] AND DIGESTS
- Y10—TECHNICAL SUBJECTS COVERED BY FORMER USPC
- Y10T—TECHNICAL SUBJECTS COVERED BY FORMER US CLASSIFICATION
- Y10T428/00—Stock material or miscellaneous articles
- Y10T428/31504—Composite [nonstructural laminate]
- Y10T428/31855—Of addition polymer from unsaturated monomers
- Y10T428/31909—Next to second addition polymer from unsaturated monomers
- Y10T428/31924—Including polyene monomers
Landscapes
- Chemical & Material Sciences (AREA)
- Organic Chemistry (AREA)
- Health & Medical Sciences (AREA)
- Chemical Kinetics & Catalysis (AREA)
- Medicinal Chemistry (AREA)
- Polymers & Plastics (AREA)
- Life Sciences & Earth Sciences (AREA)
- Engineering & Computer Science (AREA)
- Materials Engineering (AREA)
- Wood Science & Technology (AREA)
- Laminated Bodies (AREA)
- Paints Or Removers (AREA)
- Coating Of Shaped Articles Made Of Macromolecular Substances (AREA)
- Application Of Or Painting With Fluid Materials (AREA)
Description
1.被覆された材料表面の静止摩擦および滑り摩擦は、特に新しく被覆された状態で、未変性PVDC被覆よりもかなり少ない。
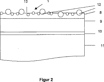
2.新しく被覆された材料のブロッキング傾向は、PVDC表面が構造化されていないが、明らかに低下している。これに関して、「構造化されていない」とは、表面から粒子が突き出ているが、その表面は、波の谷や山を形成しないことを意味する。
3.フィルムロール上で隣接するフィルムラップの裏側における痕跡により引き起こされるブロック点形成が大幅に低下するか、または完全に無くなる。
4.表面構造化が無いにも関わらず、粒子のスペーサー効果により、空気がフィルムまたは材料のリールから逃げることができる。空気が取り込まれると、フィルムまたは材料の変形を引き起こし、新しいPVDCのブロッキング傾向のために、フィルムの不規則なつや消し表面を生じることがある。
5.PVDC表面の静止摩擦が低下するために、新しく被覆されたロール材料の弛緩移動により引き起こされる、材料表面に対して平行に作用するせん断力を、隣接するフィルムラップに面したPVDC表面の滑りにより、より効果的に減少させることができる。これによって、PVDC層とベースキャリヤーとの間のせん断力により、滑りの悪いPVDC表面に対してもたらされる材料の破壊が防止される。
6.平らなフィルムからブリスターを製造するのに使用される熱成形機械の機械部品に対する、PVDC被覆された平らなフィルムの摩擦抵抗が低下する。これにより、過剰のシート張力により引き起こされるフィルムの圧搾が低下するか、または完全に排除される。
7.錠剤またはカプセル形態にある包装製品の充填は、静止摩擦および滑り摩擦係数が大きく低下しているので、錠剤やカプセルがブリスターキャビティ中に、より効率的に滑り込むことができるので、大幅に改善される。特に、ゼラチンカプセルは、未変性PVDCを使用した場合、キャビティ中に滑り込まず、キャビティ中で直立するか、またはキャビティから飛び出す傾向さえある。このために、充填区域のすぐ下流にある密封区域で、潰れた包装製品が粘着し、その結果、長い清掃手順が必要になる。
8.さらに、機械の末端で、表面を構造化するための追加の装置および特殊な作業工程の必要がないことは有利である。表面特徴は、組成にのみ依存するので、安全に適用でき、容易に再現することができる。
9.この被覆により、構造化された表面よりも美観的に、より魅力的な、平滑で、平坦な表面が得られる。
10.平坦な表面により、構造化された表面よりも、最上部PVDC層の層体積をより大きく設定することができるが、これは、構造化された層で乾燥可能な最大層厚は、構造の最高点、すなわち波頭のピークにより予め決定されるのに対し、平らな表面では、乾燥可能な層厚は、構造化可能な層の乾燥可能な層厚と等しく大きいが、これと対照的に、波の谷部分が無く、均質に一定した層厚を有するためである。
以下に記載する例の目的は、本発明をより詳細に説明するためであり、請求項に規定する本発明の保護範囲を制限するものではない。それぞれの場合、PVDC分散液からなる塗料1000リットルを、市販の、または新しく調製したHDPE分散液と混合する。PVDC分散液は、PVDC分散液の総重量に対してPVDC55重量%の比率を有し、密度が1.29g/cm3である。HDPE分散液では、HDPE部分が、HDPE分散液の総重量に対して65重量%であり、密度が0.96g/cm3である。
HDPE分散液の部分は、被覆の総体積(リットル)の2体積%であった。
試験プローブ速度 5mm/分
試験プローブの質量 200g
材料 アルミニウム、陽極酸化
試験プローブ上の被覆 硬質ゼラチン
空気湿度 50%RH
方法 ASTMD1894に類似
3種類のフィルムの
PVDC被覆の製造後日数 10日
処理の際、粒子を含まないPVDC被覆と比較して、下記の利点が達成された。
1.PVDC被覆を含むPVDC被覆された複合フィルムを外側から加工した時、ブリスターを深絞りからより容易に取り出せる。
2.機械部品に対する摩擦抵抗が低いために、フィルムシートの圧搾が少ない。
3.複合フィルムから製造されたブリスターパック(PVDC側を充填製品に向けた)中へのゼラチンカプセルの充填特性が優れている。
4.複合フィルムが高温機械部品に急速に粘着する傾向が少ない。
Claims (22)
- 重合体から製造された粒子を含有する、ポリ塩化ビニリデン単独重合体(PVDC)を基剤とする被覆物であって、
前記粒子の一部が被覆物から突出してスペーサーを形成し、かつ、その粒子の密度が0.1〜2.0g/cm3であり、平均粒子径が1μm〜100μmであり、最大粒子直径が、前記被覆物の厚さ以上である、ことを特徴とする、被覆物。 - 前記粒子の密度が1.30g/cm3以下である、請求項1に記載の被覆物。
- 前記粒子が、HDPE、LDPE、LLDPE、ポリプロピレン、PVC、PVDC、ポリアミド、ポリウレタン、ポリアクリレート、ポリスチレン、ポリアクリロニトリル、アクリロニトリルブタジエンスチレン重合物(ABS)、ポリテトラフルオロエチレン(PTFE)、合成樹脂、硬質ワックス、ならびにそれらの混合物および共重合体を含んでなる群から選択される、請求項1に記載の被覆物。
- 前記粒子が、HDPE、LDPE、LLDPE、ポリプロピレン、PVC、PVDC、ポリアミド、ポリウレタン、ポリアクリレート、ポリスチレン、ポリアクリロニトリル、アクリロニトリルブタジエンスチレン重合物(ABS)、ポリテトラフルオロエチレン(PTFE)、合成樹脂、硬質ワックス、ならびにそれらの混合物および共重合体の群の重合体の一種から製造された表面被覆を有する、請求項3に記載の被覆物。
- 前記粒子が、PVDC乾燥重量基準において0.1〜10重量%の乾燥部分を有する、請求項4に記載の被覆物。
- 前記粒子が、PVDC乾燥重量基準において0.3〜8重量%の乾燥部分を有する、請求項5に記載の被覆物。
- 前記粒子が、PVDC乾燥重量基準において0.2〜2重量%の乾燥部分を有する、請求項6に記載の被覆物。
- 粉末形態にある前記粒子が前記PVDCに加えられる、請求項1に記載の被覆物。
- 液体であり、陰イオン系PVDC分散液、および微粒化された粒子から製造された陰イオン系分散液の混合物からなる、請求項1に記載の被覆物。
- 前記陰イオン系分散液が、微粒化された粒子、1または数種類の乳化剤、陰イオン系界面活性剤、顔料分散剤および分散添加剤からなる、請求項9に記載の被覆物。
- 前記粒子がHDPEからなる、請求項3に記載の被覆物。
- シート状に形成された材料用の、ポリ塩化ビニリデン単独重合体(PVDC)を基剤とする被覆物の製造方法であって、PVDC分散液を準備し、前記PVDC分散液中に重合体から製造された粒子を直接供給するか、または前記PVDC分散液の中に粒子分散液を攪拌しながら供給し、前記PVDCおよび粒子分散液からなる混合物を、シート状に形成された材料の上に最上層として塗布して乾燥させ、粒子の密度に応じて、被覆物中で、粒子を表面または表面以外に移行させることからなり、前記粒子の一部が被覆物から突出してスペーサーを形成し、かつ、その粒子の密度が0.1〜2.0g/cm3であり、平均粒子径が1μm〜100μmであり、最大粒子直径が、前記被覆物の厚さ以上である、ことを特徴とする、方法。
- 1または数種類の乳化剤を含む、または含まない水中に、攪拌しながら粒子粉末を加えることにより、前記粒子分散液を調製する、請求項12に記載の方法。
- 前記粒子分散液が、顔料分散剤または他の分散促進性添加剤を有する、請求項12に記載の方法。
- PVDC5〜80重量%を含むPVDC分散液と、粒子10〜95重量%を含む粒子分散液とを混合する、請求項12に記載の方法。
- PVDC30〜70重量%を含むPVDC分散液と、粒子40〜70重量%を含む粒子分散液とを混合する、請求項15に記載の方法。
- PVDC分散液80〜99重量%と、粒子分散液1〜20重量%とを混合する、請求項15に記載の方法。
- 前記粒子分散液が、PVDC−HDPEの混合分散液であって、その分散液中に0.50〜3.0重量%HDPEの乾燥部分が含まれる、請求項16に記載の方法。
- 請求項1〜11のいずれか一項に記載の被覆物の、プラスチックフィルム、紙シート、および金属ホイルを被覆するための使用。
- 請求項1〜11のいずれか一項に記載の被覆物の、PVC−PE複合フィルムおよび1層の金属ホイルから製造された多層複合材料を被覆するための使用。
- 請求項1〜11のいずれか一項に記載の被覆物の、
PVDCフィルム、密着性促進剤、およびキャリヤーフィルムからなる多層複合材料、
PVDCフィルム、密着性促進剤、ポリエチレンフィルム、密着性促進剤、およびキャリヤーフィルムからなる多層複合材料、
PVDCフィルム、密着性促進剤、シクロオレフィン共重合体(COC)、密着性促進剤、およびPVCからなる多層複合材料、または
PVDCフィルム、密着性促進剤、PE、密着性促進剤、およびPVCからなる多層複合材料、
を被覆するための使用。 - 請求項1〜11のいずれか一項に記載の被覆物の、(PVC/PE/PVDC/PVDC+HDPE/PE/PVC)または(PVC/PVDC/PVDC+HDPE/PE)からなる多層複合材料におけるPVDCフィルムを被覆するための使用。
Applications Claiming Priority (3)
| Application Number | Priority Date | Filing Date | Title |
|---|---|---|---|
| DE200410030981 DE102004030981A1 (de) | 2004-06-26 | 2004-06-26 | Beschichtung auf Basis von Polyvinylidenchlorid, Verfahren zur Herstellung einer Beschichtung und ihre Verwendung |
| DE102004030981.7 | 2004-06-26 | ||
| PCT/EP2005/006665 WO2006000375A1 (de) | 2004-06-26 | 2005-06-21 | Beschichtung auf basis von polyvinylidenchlorid, verfahren zur herstellung einer beschichtung und ihre verwendung |
Publications (2)
| Publication Number | Publication Date |
|---|---|
| JP2008504380A JP2008504380A (ja) | 2008-02-14 |
| JP4954875B2 true JP4954875B2 (ja) | 2012-06-20 |
Family
ID=34981929
Family Applications (1)
| Application Number | Title | Priority Date | Filing Date |
|---|---|---|---|
| JP2007517177A Expired - Lifetime JP4954875B2 (ja) | 2004-06-26 | 2005-06-21 | ポリ塩化ビニリデン被覆、被覆の製造方法およびその使用 |
Country Status (10)
| Country | Link |
|---|---|
| US (1) | US8986826B2 (ja) |
| EP (1) | EP1763564B1 (ja) |
| JP (1) | JP4954875B2 (ja) |
| CN (1) | CN1977009B (ja) |
| BR (1) | BRPI0511198B1 (ja) |
| CA (1) | CA2569673C (ja) |
| DE (1) | DE102004030981A1 (ja) |
| ES (1) | ES2558866T3 (ja) |
| PL (1) | PL1763564T3 (ja) |
| WO (1) | WO2006000375A1 (ja) |
Families Citing this family (18)
| Publication number | Priority date | Publication date | Assignee | Title |
|---|---|---|---|---|
| JP4091963B1 (ja) * | 2007-01-12 | 2008-05-28 | 古河スカイ株式会社 | アルミニウム電解コンデンサケース用樹脂被覆アルミニウム合金板材及びアルミニウム電解コンデンサケース、アルミニウム電解コンデンサ |
| US20140203027A1 (en) * | 2011-05-12 | 2014-07-24 | Macro Engineering & Technology Inc. | Multilayer plastic tube |
| JP6168291B2 (ja) * | 2013-07-04 | 2017-07-26 | パナソニックIpマネジメント株式会社 | 光学部材、照明装置、および光学部材の製造方法 |
| CN103992699A (zh) * | 2014-05-19 | 2014-08-20 | 安徽嘉木橡塑工业有限公司 | 一种白色氟碳涂料 |
| JP6534736B2 (ja) * | 2015-04-30 | 2019-06-26 | 株式会社クレハ | 塩化ビニリデン系樹脂延伸フィルム |
| RU2018109384A (ru) * | 2015-08-31 | 2019-09-16 | Дау Глоубл Текнолоджиз Ллк | Способы получения композиций полимера винилиденхлорида |
| KR101740356B1 (ko) * | 2015-10-16 | 2017-05-26 | 연세대학교 산학협력단 | 마이크로 볼을 이용한 마모 저감용 기능성 코팅 구조 및 코팅 방법 |
| CN108884210B (zh) * | 2016-03-10 | 2021-11-02 | 莫门蒂夫性能材料股份有限公司 | 得自聚碳酸酯二醇的湿气固化性的甲硅烷基化树脂及含其的涂料、密封剂和胶粘剂组合物 |
| JP2019526476A (ja) | 2016-08-15 | 2019-09-19 | クロックナー、ペンタプラスト、オブ、アメリカ、インコーポレイテッドKlockner Pentaplast Of America, Inc. | 熱充填積層体 |
| CN106147085A (zh) * | 2016-08-24 | 2016-11-23 | 安徽顺彤包装材料有限公司 | 一种保温隔热包装材料及其制备方法 |
| DE102018112817A1 (de) | 2018-05-29 | 2019-12-05 | Klöckner Pentaplast Gmbh | Transparente Polymerfolie mit Verfärbungskompensation |
| CN108822816A (zh) * | 2018-06-25 | 2018-11-16 | 中国石油集团渤海钻探工程有限公司 | 一种疏松砂岩用可酸溶凝胶堵漏剂及其制备方法 |
| KR101968044B1 (ko) * | 2018-07-09 | 2019-06-19 | 한솔제지 주식회사 | 수분 및 가스 차단성 종이의 제조방법 |
| US20230044427A1 (en) * | 2020-01-20 | 2023-02-09 | Basf Se | Evaporation retardant membrane for odorant compositions |
| CN111471358A (zh) * | 2020-05-15 | 2020-07-31 | 丁彪 | 一种耐磨防腐铝合金模板用粉末涂料及其制备工艺 |
| EP4247881B1 (en) | 2020-11-18 | 2025-01-29 | Klöckner Pentaplast of America, Inc. | Thermoformed packaging and methods of forming the same |
| JP2022117395A (ja) * | 2021-01-29 | 2022-08-10 | 三菱ケミカル株式会社 | 医薬品包装用シート、プレススルーパッケージ包装用底材、プレススルーパッケージ包装材、及びシート |
| WO2024187026A2 (en) * | 2023-03-07 | 2024-09-12 | DetraPel, Inc. | Polymer composition and method of making |
Family Cites Families (27)
| Publication number | Priority date | Publication date | Assignee | Title |
|---|---|---|---|---|
| US3014004A (en) * | 1957-02-15 | 1961-12-19 | Du Pont | Aqueous coating composition comprised of polyvinylchloride and vinylidene chloride copolymer, process for coating, and coated product |
| NL274526A (ja) * | 1961-02-08 | 1900-01-01 | ||
| DE1519433C3 (de) | 1964-12-15 | 1978-03-02 | Wolff Walsrode Ag, 3030 Walsrode | Wäßrig dispergiertes Überzugsmittel für Cellulosehydratfolien auf Basis von Polyvinylidenchlorid-Dispersionen, Wachsen und Gleitmitteln |
| DE2012349A1 (de) * | 1970-03-16 | 1971-10-14 | Kalle AG, 6202 Wiesbaden Biebnch | Beschichtungsdispersion und deren Verwendung |
| US3755238A (en) * | 1970-12-28 | 1973-08-28 | R Wiita | High gloss and low block coating composition containing plasticized vinyl resin latex and finely divided polyolefin particles |
| US3891598A (en) | 1973-01-12 | 1975-06-24 | Dow Chemical Co | Bubble-free, high barrier vinylidene chloride polymer films and process of preparation |
| US3876578A (en) * | 1973-02-08 | 1975-04-08 | Kureha Chemical Ind Co Ltd | Polymer emulsion/dispersion blend compositions for coatings |
| US4151149A (en) * | 1976-09-27 | 1979-04-24 | Union Oil Company Of California | Vinylidene chloride polymer latices |
| JPS53141381A (en) * | 1977-05-17 | 1978-12-09 | Daicel Chem Ind Ltd | Manufacture of coated polyolefin film |
| JPS587664B2 (ja) | 1979-10-12 | 1983-02-10 | 呉羽化学工業株式会社 | 塩化ビニリデン系ラテツクスの製造方法 |
| JPS5712031A (en) * | 1980-06-25 | 1982-01-21 | Daicel Chem Ind Ltd | Production of coating film having good printability |
| JPS5759757A (en) | 1980-09-29 | 1982-04-10 | Kureha Chemical Ind Co Ltd | Composite packing material |
| JPS5759756A (en) | 1980-09-29 | 1982-04-10 | Kureha Chemical Ind Co Ltd | Composite packing material |
| JPS59215325A (ja) * | 1983-05-21 | 1984-12-05 | Kureha Chem Ind Co Ltd | ガスバリヤ−性容器の製造法 |
| US4795665A (en) * | 1983-09-12 | 1989-01-03 | The Dow Chemical Company | Containers having internal barrier layers |
| KR0140708B1 (ko) | 1988-03-07 | 1998-07-01 | 리차드 지. 위터맨 | 압출 배합 충전물과 혼합된 비닐리덴 클로라이드 인터폴리머를 포함하는 중합체 조성물 |
| JP2700406B2 (ja) * | 1988-11-01 | 1998-01-21 | 株式会社興人 | ガスバリヤー性フィルム |
| JP2843057B2 (ja) * | 1989-06-29 | 1999-01-06 | 三菱化学ビーエーエスエフ株式会社 | 塩化ビニリデン系樹脂水性エマルジョン組成物 |
| US5002989A (en) | 1989-09-01 | 1991-03-26 | The Dow Chemical Company | Formulation for extrudable vinylidene chloride copolymers having high barrier properties |
| DE4316025A1 (de) | 1992-06-23 | 1994-01-05 | Basf Ag | Die Verwendung von mikronisiertem Polyethylenwachs als Trennmittel für klebrige Granulate |
| US5427863A (en) * | 1992-09-23 | 1995-06-27 | Henkel Corporation | Polymer blends for autodeposited coating |
| ATE179736T1 (de) | 1993-12-22 | 1999-05-15 | Ciba Geigy Ag | Verfahren zur stabilisierung von pvdc enthaltenden polyolefinmischungen und stabilisierte pvdc enthaltende polyolefinmischungen |
| US6706389B1 (en) * | 1997-06-30 | 2004-03-16 | Cryovac, Inc. | Fog-resistant packaging film |
| EP0906731B1 (en) * | 1997-10-01 | 2003-08-06 | Ansell Shah Alam Sdn. Bhd. | Powder-free medical glove and manufacture thereof |
| DE19832500A1 (de) | 1998-07-20 | 2000-01-27 | Ticona Gmbh | Thermoformbare Verbundfolie |
| DE10064800A1 (de) | 2000-12-22 | 2002-06-27 | Basf Ag | Mikronisierte Polyethylenwachse und ihre Verwendung für kosmetische Präparate und als Abrasivum für Zahnpasta |
| US20060068183A1 (en) * | 2004-09-29 | 2006-03-30 | Curwood, Inc. | Packaging laminates containing anti-block particles |
-
2004
- 2004-06-26 DE DE200410030981 patent/DE102004030981A1/de not_active Withdrawn
-
2005
- 2005-06-21 WO PCT/EP2005/006665 patent/WO2006000375A1/de not_active Ceased
- 2005-06-21 CA CA 2569673 patent/CA2569673C/en not_active Expired - Fee Related
- 2005-06-21 BR BRPI0511198-6A patent/BRPI0511198B1/pt not_active IP Right Cessation
- 2005-06-21 EP EP05758906.1A patent/EP1763564B1/de not_active Expired - Lifetime
- 2005-06-21 PL PL05758906T patent/PL1763564T3/pl unknown
- 2005-06-21 US US11/630,061 patent/US8986826B2/en active Active
- 2005-06-21 CN CN2005800212822A patent/CN1977009B/zh not_active Expired - Fee Related
- 2005-06-21 JP JP2007517177A patent/JP4954875B2/ja not_active Expired - Lifetime
- 2005-06-21 ES ES05758906.1T patent/ES2558866T3/es not_active Expired - Lifetime
Also Published As
| Publication number | Publication date |
|---|---|
| BRPI0511198B1 (pt) | 2019-07-16 |
| WO2006000375A1 (de) | 2006-01-05 |
| CA2569673A1 (en) | 2006-01-05 |
| CN1977009B (zh) | 2012-04-18 |
| US8986826B2 (en) | 2015-03-24 |
| CN1977009A (zh) | 2007-06-06 |
| EP1763564B1 (de) | 2015-11-11 |
| EP1763564A1 (de) | 2007-03-21 |
| JP2008504380A (ja) | 2008-02-14 |
| BRPI0511198A (pt) | 2007-12-04 |
| HK1105990A1 (en) | 2008-02-29 |
| ES2558866T3 (es) | 2016-02-09 |
| US20080090090A1 (en) | 2008-04-17 |
| DE102004030981A1 (de) | 2006-01-12 |
| CA2569673C (en) | 2013-10-08 |
| WO2006000375B1 (de) | 2006-02-23 |
| PL1763564T3 (pl) | 2016-05-31 |
Similar Documents
| Publication | Publication Date | Title |
|---|---|---|
| JP4954875B2 (ja) | ポリ塩化ビニリデン被覆、被覆の製造方法およびその使用 | |
| EP2966140B1 (fr) | Auto-adhésifs thermofusibles extrudables pour emballage refermable à propriétés organoleptiques améliorées | |
| US9561886B2 (en) | Barrier lidding structure based on polypropylene film | |
| CN1646305A (zh) | 用于泡罩包装的纸板基材 | |
| EP0483315A1 (en) | Packaging materials | |
| WO2018003978A1 (ja) | 包装シート及び包装体 | |
| WO2012137014A1 (en) | Biodegradable film | |
| JP2003508272A (ja) | シール性シートに適する多層シート | |
| EP2408854A1 (en) | Loaded polymer | |
| JP4214307B2 (ja) | シーラントフィルム、ラミネートフィルム及び包装袋 | |
| FR3022915A1 (fr) | Composition adhesive de scellage | |
| WO1989008680A1 (en) | Extrusion formulation package for thermally sensitive resins and polymeric composition containing said package | |
| HK1105990B (en) | Polyvinylidene chloride coating, process for producing a coating and use thereof | |
| JP4366941B2 (ja) | ラミネート用シーラントフィルム | |
| JP2022172473A (ja) | Ptpブリスター包装材、これを含むptpブリスター包装体及びこれの製造方法 | |
| JP7715244B2 (ja) | ポリエチレン系樹脂フィルム | |
| JPH0441238A (ja) | 熱可塑性樹脂の押出ラミネート方法 | |
| KR101740193B1 (ko) | 이지필 필름용 수지 조성물 및 이를 이용한 이지필 필름 | |
| US20150329266A1 (en) | Methods of making oxygen scavenging articles containing moisture | |
| JP2019196213A (ja) | 包装体 | |
| JPH0262589B2 (ja) | ||
| JPH11506060A (ja) | 熱シール性フィルム | |
| JP2022117395A (ja) | 医薬品包装用シート、プレススルーパッケージ包装用底材、プレススルーパッケージ包装材、及びシート | |
| JPH1148421A (ja) | 包装用フィルム | |
| JP2018043507A (ja) | Ptp用多層シート、及びそれを用いたptp |
Legal Events
| Date | Code | Title | Description |
|---|---|---|---|
| A621 | Written request for application examination |
Free format text: JAPANESE INTERMEDIATE CODE: A621 Effective date: 20080227 |
|
| A977 | Report on retrieval |
Free format text: JAPANESE INTERMEDIATE CODE: A971007 Effective date: 20110302 |
|
| A131 | Notification of reasons for refusal |
Free format text: JAPANESE INTERMEDIATE CODE: A131 Effective date: 20110401 |
|
| A521 | Request for written amendment filed |
Free format text: JAPANESE INTERMEDIATE CODE: A523 Effective date: 20110627 |
|
| A02 | Decision of refusal |
Free format text: JAPANESE INTERMEDIATE CODE: A02 Effective date: 20110726 |
|
| A521 | Request for written amendment filed |
Free format text: JAPANESE INTERMEDIATE CODE: A523 Effective date: 20111128 |
|
| A911 | Transfer to examiner for re-examination before appeal (zenchi) |
Free format text: JAPANESE INTERMEDIATE CODE: A911 Effective date: 20120119 |
|
| TRDD | Decision of grant or rejection written | ||
| A01 | Written decision to grant a patent or to grant a registration (utility model) |
Free format text: JAPANESE INTERMEDIATE CODE: A01 Effective date: 20120217 |
|
| A01 | Written decision to grant a patent or to grant a registration (utility model) |
Free format text: JAPANESE INTERMEDIATE CODE: A01 |
|
| A61 | First payment of annual fees (during grant procedure) |
Free format text: JAPANESE INTERMEDIATE CODE: A61 Effective date: 20120314 |
|
| R150 | Certificate of patent or registration of utility model |
Ref document number: 4954875 Country of ref document: JP Free format text: JAPANESE INTERMEDIATE CODE: R150 Free format text: JAPANESE INTERMEDIATE CODE: R150 |
|
| FPAY | Renewal fee payment (event date is renewal date of database) |
Free format text: PAYMENT UNTIL: 20150323 Year of fee payment: 3 |
|
| R250 | Receipt of annual fees |
Free format text: JAPANESE INTERMEDIATE CODE: R250 |
|
| R250 | Receipt of annual fees |
Free format text: JAPANESE INTERMEDIATE CODE: R250 |
|
| R250 | Receipt of annual fees |
Free format text: JAPANESE INTERMEDIATE CODE: R250 |
|
| R250 | Receipt of annual fees |
Free format text: JAPANESE INTERMEDIATE CODE: R250 |
|
| R250 | Receipt of annual fees |
Free format text: JAPANESE INTERMEDIATE CODE: R250 |
|
| R250 | Receipt of annual fees |
Free format text: JAPANESE INTERMEDIATE CODE: R250 |
|
| R250 | Receipt of annual fees |
Free format text: JAPANESE INTERMEDIATE CODE: R250 |
|
| R250 | Receipt of annual fees |
Free format text: JAPANESE INTERMEDIATE CODE: R250 |
|
| R250 | Receipt of annual fees |
Free format text: JAPANESE INTERMEDIATE CODE: R250 |
|
| R250 | Receipt of annual fees |
Free format text: JAPANESE INTERMEDIATE CODE: R250 |
|
| R250 | Receipt of annual fees |
Free format text: JAPANESE INTERMEDIATE CODE: R250 |
|
| EXPY | Cancellation because of completion of term |
