JP4934945B2 - 炭酸固化体の製造方法 - Google Patents

炭酸固化体の製造方法 Download PDF

Info

Publication number
JP4934945B2
JP4934945B2 JP2004055589A JP2004055589A JP4934945B2 JP 4934945 B2 JP4934945 B2 JP 4934945B2 JP 2004055589 A JP2004055589 A JP 2004055589A JP 2004055589 A JP2004055589 A JP 2004055589A JP 4934945 B2 JP4934945 B2 JP 4934945B2
Authority
JP
Japan
Prior art keywords
raw material
uncarbonated
fine powder
carbon dioxide
slag
Prior art date
Legal status (The legal status is an assumption and is not a legal conclusion. Google has not performed a legal analysis and makes no representation as to the accuracy of the status listed.)
Expired - Fee Related
Application number
JP2004055589A
Other languages
English (en)
Other versions
JP2005239527A (ja
Inventor
圭児 渡辺
康人 宮田
典男 磯尾
達人 高橋
Current Assignee (The listed assignees may be inaccurate. Google has not performed a legal analysis and makes no representation or warranty as to the accuracy of the list.)
JFE Steel Corp
Original Assignee
JFE Steel Corp
Priority date (The priority date is an assumption and is not a legal conclusion. Google has not performed a legal analysis and makes no representation as to the accuracy of the date listed.)
Filing date
Publication date
Application filed by JFE Steel Corp filed Critical JFE Steel Corp
Priority to JP2004055589A priority Critical patent/JP4934945B2/ja
Publication of JP2005239527A publication Critical patent/JP2005239527A/ja
Application granted granted Critical
Publication of JP4934945B2 publication Critical patent/JP4934945B2/ja
Anticipated expiration legal-status Critical
Expired - Fee Related legal-status Critical Current

Links

Images

Classifications

    • YGENERAL TAGGING OF NEW TECHNOLOGICAL DEVELOPMENTS; GENERAL TAGGING OF CROSS-SECTIONAL TECHNOLOGIES SPANNING OVER SEVERAL SECTIONS OF THE IPC; TECHNICAL SUBJECTS COVERED BY FORMER USPC CROSS-REFERENCE ART COLLECTIONS [XRACs] AND DIGESTS
    • Y02TECHNOLOGIES OR APPLICATIONS FOR MITIGATION OR ADAPTATION AGAINST CLIMATE CHANGE
    • Y02WCLIMATE CHANGE MITIGATION TECHNOLOGIES RELATED TO WASTEWATER TREATMENT OR WASTE MANAGEMENT
    • Y02W30/00Technologies for solid waste management
    • Y02W30/50Reuse, recycling or recovery technologies
    • Y02W30/91Use of waste materials as fillers for mortars or concrete

Landscapes

  • Curing Cements, Concrete, And Artificial Stone (AREA)

Description

本発明は、CaO含有廃材(例えば、コンクリート廃材)や鉄鋼製造プロセスで発生したスラグなどのような、粉粒状の未炭酸化Ca含有原料を主体とする原料を炭酸ガスと接触させ、炭酸化反応によって生成した炭酸カルシウムをバインダーとして固結させることにより炭酸固化体を製造する方法に関するものである。
鉄鋼製造プロセスで発生するスラグの利材化方法の一つとして、粉粒状のスラグをこれに含まれる未炭酸化Ca(CaO及び/又はCa(OH))を利用して炭酸固化させることにより、ブロック化された炭酸固化体を得る方法が知られている(例えば、特許文献1)。この方法では、例えば、水分を添加した粉粒状のスラグを型枠に充填し、このスラグ充填層に炭酸ガスを吹き込むことによってスラグに含まれる未炭酸化Caに炭酸化反応を生じさせ、この炭酸化反応で生成した炭酸カルシウムを主たるバインダーとしてスラグ充填層を固結させ、ブロック化された炭酸固化体を得るものである。
特開平11−71160号公報
このような炭酸固化体の製造技術は、スラグやその他のCaO含有廃材を原料として利用できるため、資源のリサイクル化という観点から非常に有用なものである。また、製造された炭酸固化体は旧来のコンクリート製品に代わる製品として、路面敷設用や建築用などの土木・建築材料、藻礁用や魚礁用などの水中沈設用材料をはじめとする様々な用途への利用が期待でき、特に藻礁用や魚礁用などの水中沈設用材料としては、海藻類の生育や水中生物の棲息に好ましい環境を提供するという面で、コンクリート製品に較べて優れた性能を有することが判っている。
しかし、上述のようにして製造される炭酸固化体は、炭酸化反応によって生成した炭酸カルシウムをバインダーとして原料粒子を固結させた多孔質体であるため、コンクリート製品などに較べて強度(圧縮強度)を出しにくい難点があり、このため搬送中や使用中に亀裂を生じるなどの問題を生じることがある。
したがって本発明の目的は、このような従来技術の課題を解決し、高い強度を有する炭酸固化体を安定して製造することができる炭酸固化体の製造方法を提供することにある。
スラグなどの粉粒状の未炭酸化Ca含有原料(以下、“スラグ”を例に説明する)の充填層を炭酸ガス(CO)と接触させ、炭酸化反応によって生成した炭酸カルシウム(CaCO)を主たるバインダーとして固結させることにより炭酸固化体を製造する場合において、スラグ中の未炭酸化CaとCOとの反応は、各スラグ粒子の周囲に存在する水を介して進行するものと考えられている。すなわち、スラグ粒子の表面に存在する水(表面付着水)にスラグ粒子間を流れるCOが溶解するとともに、スラグ側からはCaイオンが溶出し、この水に溶解・溶出したCOとCaイオンとが反応(炭酸化反応)することにより、スラグ粒子表面にCaCOが析出するものと考えられる。そして、このスラグ粒子表面に析出したCaCOがスラグ粒子どうしを結合する主たるバインダーとなってスラグ充填層の全体が固結(炭酸固化)するものである。
本発明者らは、このような原理でスラグ充填層の炭酸固化が生じることを前提に、炭酸化反応により生成するCaCOをバインダーとしてスラグ粒子どうしを強固に固結させるための方策について検討を行った。その結果、微粉分を含んだ粉粒状の未炭酸化Ca含有原料に対して適量の未炭酸化Caを含有しない微粉原料を混合することにより、製造される炭酸固化体の強度を飛躍的に高めることができることを見出した。同時に、製造中における原料層の膨張が抑制され、寸法精度が高い炭酸固化体が得られることも判明した。
本発明はこのような知見に基づきなされたもので、その特徴は以下の通りである。
[1] 未炭酸化Ca含有原料を主体とする原料を、水分を含んだ状態で炭酸ガスと接触させて炭酸化反応で固結させることにより、炭酸固化体を製造する方法であって、
粒径が10mm以下であり、且つ粒径1.18mm以上の割合が10質量%以上であり、粒径100μm以下の微粉分の割合が2〜30質量%である粉粒状の未炭酸化Ca含有原料に、石灰石微粉末、アルミナ微粉末、製鋼ダスト、珪石粉の中から選ばれる1種以上からなる、粒径100μm以下の未炭酸化Caを含有しない微粉原料を、混合原料中での当該微粉原料の配合割合が1〜10質量%となるように混合するとともに、混合原料中での未炭酸化Ca含有原料の割合を50質量%以上とし、該混合原料を炭酸化反応により固結させることを特徴とする炭酸固化体の製造方法。
[2]上記[1]の製造方法において、混合原料の充填層を形成し、該原料充填層に炭酸ガス又は炭酸ガス含有ガスを吹き込むことを特徴とする炭酸固化体の製造方法。
本発明法によれば、炭酸化反応によって生成するCaCOによる原料粒子間の結合が強化されることにより、高い強度を有する炭酸固化体を安定して製造することができる。また、製造される炭酸固化体の寸法精度を高めることができる。
本発明の炭酸固化体の製造方法では、微粉分を含む粉粒状の未炭酸化Ca含有原料に対して未炭酸化Caを含有しない微粉原料を混合し、この混合原料を炭酸ガス存在下で炭酸化反応により固化(固結)させ、炭酸固化体を製造する。なお、本発明において微粉原料が未炭酸化Caを含有しないとは、不可避的成分として含まれ或いは混入する以外の未炭酸化Ca(下記のようなCaO、Ca(OH))を含まないという意味である。
本発明で使用する粉粒状の未炭酸化Ca含有原料の種類に特別な制限はないが、例えば、コンクリートや鉄鋼製造プロセスで発生したスラグなどが挙げられる。
未炭酸化Ca含有原料中に含まれる未炭酸化Ca、すなわちCaO及び/又はCa(OH)は、少なくとも固体粒子の組成の一部として含まれるものであればよく、したがって、鉱物としてのCaO、Ca(OH)の他に、2CaO・SiO、3CaO・SiO、ガラスなどのように組成の一部として固体粒子中に存在するものも含まれる。
なお、使用可能な未炭酸化Ca含有原料の種類などについては、後に詳述する。
粉粒状の未炭酸化Ca含有原料の粒度には特別な制限はないが、COとの接触面積を確保して反応性を高めるためには、全体としての粒度はある程度細かい方が好ましい。また、未炭酸化Ca含有原料の粒度が大き過ぎると、原料粒子内部に炭酸化しきれないCaが残存するため、製造された炭酸固化体中の原料粒子が膨張崩壊し、亀裂などの原因となる場合もある。以上の観点から、未炭酸化Ca含有原料は実質的に(すなわち、不可避的に含まれる粒度の大きい固体粒子を除き)10mm以下、より望ましくは5mm以下、特に望ましくは3mm以下の粒度のものが好ましい。一方、未炭酸化Ca含有原料全体としての粒度が小さ過ぎると原料充填時の気孔率が高くなりすぎるため、製品の強度が低下する。このため未炭酸化Ca含有原料は、粒径1.18mm以上の割合が10質量%以上、望ましくは15質量%以上であることが好ましい。
また、粉粒状の未炭酸化Ca含有原料は、以下のような理由から或る程度の微粉分(微粉状の原料粒子)を含んでいることが必要である。粉粒状の未炭酸化Ca含有原料の炭酸化反応機構は以下のようなものである。
(1) スラグ粒子の表面付着水中にスラグ粒子からCaイオンが溶解
(2) スラグ粒子間を流れるガスから表面付着水中にCOイオンが溶解
(3) 反応開始:炭酸カルシウムのスラグ粒子表面への付着(析出)
(4) 反応終了:スラグ粒子表面に炭酸カルシウム皮膜が形成されることで、スラグ粒子から表面付着水へのCaイオンの供給(溶解)が停止
ここで、粉粒状の未炭酸化Ca含有原料に含まれる微粉分は比表面積が大きいためCaイオンの溶解特性が高く、反応後の微粉部分は生成した炭酸カルシウムとSiOを中心とした残部が複雑に入り混じった組織となる。そして、この部分が炭酸固化体内部での原料粒子の結合性を大きく支配しており、この部分の体積が大きいほど炭酸固化体の強度が高くなるものと考えられる。したがって、製造される炭酸固化体の強度を確保するには、粉粒状の未炭酸化Ca含有原料は、或る程度の量の微粉分を含んでいることが必要である。
上記の観点からだけで言うと、充填密度が低下しない範囲で未炭酸化Ca含有原料中の微粉分を多くすれば、それだけ炭酸固化体の強度が向上するということになる。しかし、上述した炭酸化反応は活性(=Caイオンの溶解特性が高い)な微粉分が多すぎても有効に機能しないことが判った。これは、活性な微粉分が多すぎると炭酸化反応の反応速度が速すぎるため、炭酸カルシウム皮膜が原料粒子を被覆した時点で、未反応の微粉分を残したまま炭酸化反応が終了してしまうためである。すなわち、活性微粉分が多量に存在すると、その活性微粉分から水へのCaイオンの溶解が急速に進んで速い速度で炭酸化反応が進行し、活性微粉が多量に存在する部分の周囲部が反応(炭酸化反応)してしまうと、その時点で炭酸化反応が終了してしまう。その結果、炭酸カルシウムが生成した周囲部の内側には未反応の微粉分が残されることになり、得られる炭酸固化体は却って強度的に不十分・不安定なものとなってしまう。したがって、未炭酸化Ca含有原料の微粉分は適度な活性を持つこと(つまり、過剰な活性を持たないこと)が望ましい。
そこで、本発明では活性な微粉分を含む未炭酸化Ca含有原料に対して、不活性な微粉原料、すなわち未炭酸化Ca(先に述べたようなCaO、Ca(OH))を含有しない微粉原料を混合し、混合原料中の微粉分(活性微粉+不活性微粉)に適度な活性を持たせることにより、微粉分の機能を有効に発揮させるようするものである。すなわち、混合原料中の微粉分(活性微粉+不活性微粉)が適度な活性を有することにより、微粉分から水へのCaイオンの溶解速度とこれに伴う炭酸化反応の反応速度が適度に抑えられ、このため未炭酸化Caを含有する微粉分全体が適切に反応できるようになる。この結果、上述したような微粉分による原料粒子の結合作用が効果的に得られ、炭酸固化体の強度を高めることが可能になる。
また、従来製法では、製造(炭酸化処理)中に原料層が膨張して、製品を寸法精度の許容範囲に収めることが難しくなるケースがあるが、未炭酸化Ca含有原料に微粉原料を混合する本発明製法では、そのような原料層の膨張が適切に抑制され、寸法精度が高い炭酸固化体が得られることも判明した。この理由は必ずしも明確ではないが、未炭酸化Caを含有しない微粉原料を添加することにより、原料粒子間の空隙を埋める方向でCaCO層が生成するためであると考えられる。
未炭酸化Ca含有原料に混合される未炭酸化Caを含有しない微粉原料(以下、「不活性微粉原料」という)の粒度は特に限定されないが、上述したような効果を適切に得るには、粒径100μm以下、好ましくは75μm以下の原料であることが好ましい。
不活性微粉原料の種類としては、疎水性を有しない材料、すなわち水に対する適度な濡れ性を示す材料であれば特に制限はない。例えば、石灰石微粉末、アルミナ微粉末や製鋼ダストなどのような金属酸化物微粉末などが例示でき、これらの中から選ばれる1種以上を用いることができるが、これらに限定されものではない。
未炭酸化Ca含有原料に対する不活性微粉原料の配合割合は、少なすぎると配合による効果が十分に得られず、一方、過剰に配合すると原料充填時の気孔率が高くなりすぎるため、製品の強度が低下する。以上の観点から、混合原料中での不活性微粉原料の配合割合は1〜10質量%、好ましくは3〜7質量%とすることが望ましい。
なお、不活性微粉原料を未炭酸化Ca含有原料に添加・混合するに当たっては、微粉原料そのもの(すなわち、100%微粉原料)を未炭酸化Ca含有原料に添加・混合する以外に、微粉分を含む原料を未炭酸化Ca含有原料に添加・混合してもよく、この場合には、当該微粉分が不活性微粉原料として機能することになる。
先に述べたように粉粒状の未炭酸化Ca含有原料に含まれる微粉分は炭酸固化体の強度の向上に寄与するが、微粉分の含有量が過剰であると、不活性微粉原料を添加したとしても、先に述べたような理由により炭酸固化体の強度の向上にマイナスとなるおそれがある。このため未炭酸化Ca含有原料中の粒径100μm以下の微粉分の割合は2〜30質量%程度とすることが好ましい。粒径100μm以下の微粉分の割合が2質量%未満では、活性微粉による炭酸固化体の強度向上が十分でなく、一方、粒径100μm以下の微粉分の割合が30質量%を超えると、未反応の微粉分が生じて炭酸固化体の強度向上にマイナスとなるおそれがある。
混合原料中での未炭酸化Ca含有原料の割合は、50質量%以上であることが好ましい。混合原料中での未炭酸化Ca含有原料の割合が50質量%未満では、炭酸化反応時の析出CaCO量が不足するため、製品の強度が低下する。
不活性微粉原料は未炭酸化Ca含有原料に均一に混合されることが好ましく、このため不活性微粉原料を未炭酸化Ca含有原料に配合した後、撹拌機等でよく混合することが好ましい。
混合原料を炭酸化処理する方法に特別な制限はないが、一般には、型枠などの容器に混合原料を装入して原料充填層を形成し、この原料充填層に炭酸ガスを吹き込むことにより原料充填層を固化させる方法が簡便である。
既に述べたように、未炭酸化Ca含有原料を炭酸ガス存在下で炭酸化反応により固化させるには原料が適量の水分を含んでいること、より具体的には原料粒子の表面に表面付着水が存在することが必要である。このため、未炭酸化Ca含有原料と不活性微粉原料の混合原料には、必要に応じて水分が添加される。なお、この水分添加を未炭酸化Ca含有原料に対して行い、しかる後、この水分添加された未炭酸化Ca含有原料に不活性微粉原料を添加・混合するようにしてもよい。
以下、本発明の具体的な実施形態について説明する。
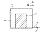
図1は本発明の一実施形態を示すもので、型枠1に原料を充填して原料充填層Aを形成し、この原料充填層A内に炭酸ガスを吹き込むようにしたものである。図1は、原料充填層Aを形成する型枠1を縦断面した状態を示している。
前記型枠1は実質的に気密又は半気密にすることが可能な型枠であって、本実施形態では、容器状の本体100とその上部を閉塞する蓋体101とから構成されている。前記本体100の底部にはガス給気部2(ガス給気用空間)が設けられるとともに、このガス給気部2と本体100との間の隔壁には多数のガス通孔20が形成されている。前記ガス給気部2にはガス供給管3が接続され、このガス供給管3を通じてガス給気部2内に炭酸ガス又は炭酸ガス含有ガス(以下、総称して“炭酸ガス”という)が供給される。また、型枠1の上部には型枠内に供給されたガスの排気を行うための排気管4が接続されている。その他図面において、5,6は各配管系に設けられた開閉弁である。
未炭酸化Ca含有原料に不活性微粉原料を配合し、これを均一に混合した混合原料が型枠1内に装入され、原料充填層Aが形成される。原料が炭酸ガスと接触して炭酸化反応により固結するには、先に述べたように水分(原料粒子の表面付着水)が必要であり、このため必要に応じて混合原料に水分を添加する。この水分添加は型枠1に装入する前に行ってもよいし、装入後に行ってもよい。また、型枠装入後に行う場合には、型枠1の上部を開放した状態で、型枠1ごと水槽内の水に浸漬してもよいし、原材料充填層Aの上部から十分な量の水を散水してもよい。また、未炭酸化Ca含有原料に水分添加を行い、しかる後、不活性微粉原料を添加して十分に混合するようにしてもよい。通常、原料充填層Aの含水率は3〜12%、好ましくは5〜10%程度とするのが適当である。
上記のように水分を含んだ原料充填層Aを形成した後、型枠1内に吹き込まれる炭酸ガスが原料充填層全体に良く浸透するようにするため型枠に蓋体101を装着し、型枠1を気密又は半気密状態にする。この状態で型枠1内に炭酸ガスの供給を行って、混合原料に炭酸化反応を生じさせる。図1の場合には、ガス供給管3を通じて供給された炭酸ガスは、ガス給気部2に導入された後、ガス通孔20から上方の原料充填層A内に吹き込まれる。原料充填層A内を通過する炭酸ガスの一部は、原料粒子からその表面付着水に溶出したCaイオンと反応し、原料粒子の表面にCaCOが析出し、これがバインダーとなって原料充填層Aの固結が進行する。炭酸ガスの残りは原料充填層Aを通過して排気管4から型枠1外に排出される。また、場合によっては、排気管4の開閉弁6を閉じた状態で原料充填層A内に炭酸ガスを供給するようにしてもよいが、その場合には、時々開閉弁6を開にして型枠1内に溜まったガスを放出し、型枠1内の炭酸ガス濃度が所定レベル以上に維持されるようにすることが好ましい。
以上のような炭酸ガスの供給を所定時間行った後、固結した原料充填層Aを脱型し、製品である炭酸固化体を取り出す。
図1に示した実施形態は型枠1内に原料充填層Aを形成し、この原料充填層内に炭酸ガスを吹き込むようにしたものであるが、本発明法は、混合原料を炭酸ガス雰囲気内に置き、炭酸ガスを原料内部に浸透させるような実施形態を採ることもできる。この場合には、混合原料を圧縮成形などによって予成形し、この予成形されたものを炭酸ガス雰囲気内に置いて炭酸固化させる。図2は、その一実施形態を示すもので、処理容器を縦断面した状態で示している。
処理容器1aは実質的に気密にすることが可能な容器であって、その側部には原料出し入れ部102が設けられている。この処理容器1aにはガス供給管3aが接続され、このガス供給管3を通じて処理容器1a内に炭酸ガスが供給される。また、処理容器1aの上部には処理容器内に供給されたガスの排気を行うための排気管4aが接続されている。その他図面において、5a,6aは各配管系に設けられた開閉弁である。
未炭酸化Ca含有原料と不活性微粉原料との混合原料には、先に述べたような理由から予め所定の水分が添加されるとともに、圧縮成形などの方法により任意の形状に予成形される。なお、混合原料を予成形するに当たっては、予成形体内の貫通気孔が過剰に塞がれないことを限度として、セメントなどのポラゾン反応物質、糖蜜、デンプンなどのバインダーを混合原料に配合してもよい。混合原料の予成形体Bは、処理容器1a内に装入(収納)され、処理容器1a内は気密にされる。この状態で、ガス供給管3aを通じて処理容器1a内に所定時間炭酸ガスの供給を行う。供給された炭酸ガスの一部は予成形体Bの表面から内部に浸透し、原料に炭酸化反応を生じさせる。炭酸ガスの残りは排気管4aから処理容器1a外に排出される。また、場合によっては、図2の実施形態と同様に、排気管4aの開閉弁6aを閉じた状態で処理容器1a内に炭酸ガスを供給するようにしてもよい。
以上のような炭酸化処理を所定時間行った後、製品である固結した予成形体B(炭酸固化体)を処理容器1aから取り出す。
本発明により製造される炭酸固化体の形状は任意であり、例えば断面形状が円形、楕円形、三角形、四角形以上の多角形、星形など、或いは全体形状が球形状、楕球形、四面体以上の多面体形、円錐体形、柱状形、テトラポット形など、任意の形状とすることができる。
また、本発明により製造される炭酸固化体は、漁礁・藻礁造成用石材、築磯用石材、水質浄化用石材、通水性舗装用石材、通水性被覆ブロック、埋設排水溝用ブロック、水耕栽培用ベース材、浄水用フィルター、給水用容器をはじめとする種々の用途に使用することができる。
以下、本発明の製造方法における好ましい製造条件について説明する。
未炭酸化Ca含有原料としては、少なくとも組成の一部として未炭酸化Caを含むものであれば特に制限はないが、未炭酸化Caの含有率が高く、しかも資源のリサイクルを図ることができるという点で、鉄鋼製造プロセスで発生するスラグ、コンクリート(例えば、廃コンクリート)などが特に好ましい。一般に、鉄鋼製造プロセスで発生するスラグのCaO濃度は約13〜55mass%、また、コンクリート(例えば、廃コンクリート)のCaO濃度は約5〜15mass%(セメント中のCaO濃度:50〜60mass%)であり、また、これらは入手も容易であるため、未炭酸化Ca含有原料として極めて好適な素材であるといえる。したがって、未炭酸化Ca含有原料の少なくとも一部が、また特に望ましくは主たる原料がスラグ及び/又はコンクリートであることが好ましい。
鉄鋼製造プロセスで発生するスラグとしては、高炉徐冷スラグ、高炉水砕スラグなどの高炉系スラグ、予備処理、転炉、鋳造などの工程で発生する脱炭スラグ、脱燐スラグ、脱硫スラグ、脱珪スラグ、鋳造スラグなどの製鋼系スラグ、鉱石還元スラグ、電気炉スラグなどを挙げることができるが、これらに限定されるものではなく、また、2種以上のスラグを混合して用いることもできる。
また、鉄鋼製造プロセスで発生するスラグには相当量の鉄分(粒鉄などの鉄分)が含まれており、このようなスラグをそのまま使用すると、この鉄分の分だけ原料中でのCaO濃度が低下するため、スラグとしては地金(鉄分)回収処理を経たスラグを用いることが好ましい。
また、コンクリートとしては、例えば、建築物や土木構造物の取壊しなどにより生じた廃コンクリートなどを用いることができる。
また、未炭酸化Ca含有材としては、上記のスラグやコンクリート以外に、モルタル、ガラス、アルミナセメント、CaO含有耐火物などが挙げられ、これらの1種以上を単独でまたは混合して、或いはスラグ及び/又はコンクリートと混合して使用することもできる。
これらの材料は必要に応じて細粒状に破砕処理され、原料として用いられる。
未炭酸化Ca含有原料は、その全量が未炭酸化Caを含む固体粒子である必要はない。すなわち、未炭酸化Ca含有原料に含まれる未炭酸化Caの炭酸化によって炭酸固化体のバインダーとして十分な量のCaCOが生成されるのであれば、未炭酸化Ca含有原料に未炭酸化Caを含まない固体粒子が含まれていてもよい。このような固体粒子としては、例えば、天然石、砂、可溶性シリカ、金属(例えば、金属鉄、酸化鉄)などが挙げられる。
また、これらのうち金属鉄、酸化鉄、可溶性シリカなどは、本発明法により製造された炭酸固化体が水中沈設用材料として用いられる場合に、水中の硫黄や燐の固定剤、海藻類などの水生植物の栄養源などとして有効に作用する。また、これら以外にも任意の成分(粒子)を適量、すなわち炭酸固化体の強度低下などを招かない限度で含むことができる。
混合原料に炭酸化反応を生じさせるために使用される炭酸ガス又は炭酸ガス含有ガスとしては、例えば、一貫製鉄所内で排出される石灰焼成工場排ガス(通常、CO:25%前後)や加熱炉排ガス(通常、CO:6.5%前後)などが好適であるが、これらに限定されるものではない。また、ガス中のCO濃度が低すぎると処理効率が低下するという問題を生じるが、それ以外の問題は格別ない。したがって、CO濃度は特に限定しないが、効率的な処理を行うには3%以上のCO濃度とすることが好ましい。
また、炭酸ガスの供給量にも特別な制限はないが、一般的な目安としては0.004〜0.5m/min・t(原料ton)程度のガス供給量が確保できればよい。また、ガス供給時間(炭酸化処理時間)にも特別な制約はないが、目安としては炭酸ガスの供給量が未炭酸化Ca含有原料の重量の3%以上となる時点、すなわち、ガス量に換算すると原料1t当たり15m以上、好ましくは200m以上の炭酸ガスが供給されるまでガス供給を行うことが好ましい。
供給される炭酸ガス又は炭酸ガス含有ガスは常温でよいが、ガスが常温よりも高温であればそれだけ反応性が高まるため有利である。但し、ガスの温度が過剰に高いと混合原料の水分を乾燥させたり、或いはCaCOがCaOとCOに分解してしまうため、高温ガスを用いる場合でもこのような分解を生じない程度の温度のガスを用いる必要がある。
また、炭酸ガス又は炭酸ガス含有ガスは原料の乾燥を防ぐために加湿した状態で混合原料に供給されることが好ましい。このため混合原料にガスを供給するに当たっては、炭酸ガス又は炭酸ガス含有ガスを一旦水中に吹き込んでHOを飽和させた後、原料に供給することが好ましく、これにより混合原料の乾燥を防止して炭酸化反応を促進させることができる。
微粉分を含む粉粒状の未炭酸化Ca含有原料として所定の粒度分布を有する製鋼スラグ(粒径3mm以下で且つ粒径1.18mm以上の割合が約21質量%、粒径100以下の微粉の割合が10質量%の製鋼スラグ)を用いた。この製鋼スラグ:95質量部と、不活性微粉原料である珪石粉(粒径100μm以下):5質量部を混合した含水率:8%の混合原料を、図1に示すような構造の1m×1m×1mの型枠に装入し、加圧振動成形機で加振して高さ約0.5mの原料充填層を形成した。炭酸ガス含有ガス(CO:25%)を100L/分の供給量で48時間かけて型枠の底部から前記原料充填層内に吹き込み、原料を炭酸固化させた。
比較例として、全量が製鋼スラグ(粒径3mm以下で、且つ粒径1.18mm以上の割合が約21質量%、粒径100μm以下の微粉の割合が10質量%の製鋼スラグ)からなる原料を、同様に型枠に装入・加振して高さ約0.5mの原料充填層を形成し、炭酸ガス含有ガス(CO:25%)を100L/分の供給量で48時間かけて型枠の底部から前記原料充填層内に吹き込み、原料を炭酸固化させた。
以上のようにして製造された炭酸固化体から100mmφ×200mm高さの試験体(コア)を採取し、その圧縮強度(10本の平均値)を測定した結果を以下に示す。
本発明例:115kgf/cm
比較例 :80kgf/cm
本発明の一実施形態を、型枠を縦断面した状態で示す説明図 本発明の他の実施形態を、処理容器を縦断面した状態で示す説明図
符号の説明
1 型枠
1a 処理容器
2 ガス給気部
3,3a ガス供給管
4,4a 排気管
5,5a,6,6a 開閉弁
20 ガス通孔
100 本体
101 蓋体
102 原料出し入れ部
A 原料充填層
B 予成形体

Claims (2)

  1. 未炭酸化Ca含有原料を主体とする原料を、水分を含んだ状態で炭酸ガスと接触させて炭酸化反応で固結させることにより、炭酸固化体を製造する方法であって、
    粒径が10mm以下であり、且つ粒径1.18mm以上の割合が10質量%以上であり、粒径100μm以下の微粉分の割合が2〜30質量%である粉粒状の未炭酸化Ca含有原料に、石灰石微粉末、アルミナ微粉末、製鋼ダスト、珪石粉の中から選ばれる1種以上からなる、粒径100μm以下の未炭酸化Caを含有しない微粉原料を、混合原料中での当該微粉原料の配合割合が1〜10質量%となるように混合するとともに、混合原料中での未炭酸化Ca含有原料の割合を50質量%以上とし、該混合原料を炭酸化反応により固結させることを特徴とする炭酸固化体の製造方法。
  2. 混合原料の充填層を形成し、該原料充填層に炭酸ガス又は炭酸ガス含有ガスを吹き込むことを特徴とする請求項1に記載の炭酸固化体の製造方法。
JP2004055589A 2004-02-27 2004-02-27 炭酸固化体の製造方法 Expired - Fee Related JP4934945B2 (ja)

Priority Applications (1)

Application Number Priority Date Filing Date Title
JP2004055589A JP4934945B2 (ja) 2004-02-27 2004-02-27 炭酸固化体の製造方法

Applications Claiming Priority (1)

Application Number Priority Date Filing Date Title
JP2004055589A JP4934945B2 (ja) 2004-02-27 2004-02-27 炭酸固化体の製造方法

Publications (2)

Publication Number Publication Date
JP2005239527A JP2005239527A (ja) 2005-09-08
JP4934945B2 true JP4934945B2 (ja) 2012-05-23

Family

ID=35021659

Family Applications (1)

Application Number Title Priority Date Filing Date
JP2004055589A Expired - Fee Related JP4934945B2 (ja) 2004-02-27 2004-02-27 炭酸固化体の製造方法

Country Status (1)

Country Link
JP (1) JP4934945B2 (ja)

Families Citing this family (2)

* Cited by examiner, † Cited by third party
Publication number Priority date Publication date Assignee Title
JP7378213B2 (ja) * 2018-07-11 2023-11-13 太平洋セメント株式会社 二酸化炭素の固定化方法
JP2023114666A (ja) * 2022-02-07 2023-08-18 株式会社フジタ コンクリート製品の製造方法

Family Cites Families (13)

* Cited by examiner, † Cited by third party
Publication number Priority date Publication date Assignee Title
JPS54131624A (en) * 1978-04-03 1979-10-12 Mitsubishi Heavy Ind Ltd Production of artificial aggregates
JPS57100969A (en) * 1980-12-16 1982-06-23 Denki Kagaku Kogyo Kk Formed body strength increasing method
JPS57191265A (en) * 1981-05-22 1982-11-25 Ibigawa Electric Ind Co Ltd Slag inorganic hardened body
JPS5874559A (ja) * 1981-10-27 1983-05-06 日本鋼管株式会社 硬化体の製造方法
JPS623051A (ja) * 1985-06-27 1987-01-09 新日本製鐵株式会社 路盤材の製造方法
JP3175694B2 (ja) * 1997-05-08 2001-06-11 日本鋼管株式会社 海中沈設用石材及びその製造方法
JP3175710B2 (ja) * 1997-09-29 2001-06-11 日本鋼管株式会社 河川等の淡水系水域沈設用石材及びその製造方法
JP3714043B2 (ja) * 1998-10-14 2005-11-09 Jfeスチール株式会社 製鋼スラグの塊成方法
JP3968898B2 (ja) * 1998-11-08 2007-08-29 Jfeスチール株式会社 スラグを主原料とする人工石材およびその製造方法
JP4013368B2 (ja) * 1998-11-08 2007-11-28 Jfeスチール株式会社 水中沈設用石材およびその製造方法
JP2000350977A (ja) * 1999-06-11 2000-12-19 Kawasaki Steel Corp 粉粒状製鋼スラグの固化方法
JP2003253642A (ja) * 2001-09-10 2003-09-10 Jfe Steel Kk 水中構造体の設置方法及び水中構造体用ブロック
JP4474906B2 (ja) * 2003-11-21 2010-06-09 Jfeスチール株式会社 炭酸固化体の製造方法

Also Published As

Publication number Publication date
JP2005239527A (ja) 2005-09-08

Similar Documents

Publication Publication Date Title
JP4240638B2 (ja) 人工石材の製造方法
JP5567778B2 (ja) 水硬性結合剤に基づく水性懸濁液およびその製造方法
JP3828897B2 (ja) 製鋼スラグの安定化処理方法および安定化製鋼スラグ
JP5263190B2 (ja) 炭酸固化体の製造方法
JP2002012480A (ja) 炭酸固化体の製造方法
JP5531555B2 (ja) 水中沈設用石材
JP3175694B2 (ja) 海中沈設用石材及びその製造方法
JP4507298B2 (ja) スラグ成分の溶出制御方法
JP4506236B2 (ja) 炭酸固化体の製造方法
JP2000139268A (ja) 藻場増殖促進型漁礁
JP4474906B2 (ja) 炭酸固化体の製造方法
JP4934945B2 (ja) 炭酸固化体の製造方法
JP2001253785A (ja) 多孔質炭酸固化体の製造方法
JP4474907B2 (ja) 炭酸固化体の製造方法
JP4539121B2 (ja) 炭酸固化体の製造方法
JP4474690B2 (ja) 水質浄化用多孔質石材及び水質浄化方法
JP2002003921A (ja) 炭酸固化体の製造方法
JP3714229B2 (ja) 硫黄含有スラグを原料とする成形体の製造方法
JP3198279B2 (ja) スラグ等を主原料とする石材の製造方法
JPH1121153A (ja) 路盤材及びその製造方法
JP2000143304A (ja) スラグを主原料とする人工石材およびその製造方法
JP2006255705A (ja) 炭酸固化体の製造方法
JP4645195B2 (ja) 炭酸固化体の製造方法
JP2003137543A (ja) 炭酸化処理方法及び炭酸化によるco2吸収方法
JP2004209378A (ja) 石炭灰の処理方法

Legal Events

Date Code Title Description
A621 Written request for application examination

Free format text: JAPANESE INTERMEDIATE CODE: A621

Effective date: 20061222

A977 Report on retrieval

Free format text: JAPANESE INTERMEDIATE CODE: A971007

Effective date: 20090415

A131 Notification of reasons for refusal

Free format text: JAPANESE INTERMEDIATE CODE: A131

Effective date: 20091222

A521 Written amendment

Free format text: JAPANESE INTERMEDIATE CODE: A523

Effective date: 20100220

A131 Notification of reasons for refusal

Free format text: JAPANESE INTERMEDIATE CODE: A131

Effective date: 20110222

A521 Written amendment

Free format text: JAPANESE INTERMEDIATE CODE: A523

Effective date: 20110420

TRDD Decision of grant or rejection written
A01 Written decision to grant a patent or to grant a registration (utility model)

Free format text: JAPANESE INTERMEDIATE CODE: A01

Effective date: 20120124

A01 Written decision to grant a patent or to grant a registration (utility model)

Free format text: JAPANESE INTERMEDIATE CODE: A01

A61 First payment of annual fees (during grant procedure)

Free format text: JAPANESE INTERMEDIATE CODE: A61

Effective date: 20120206

FPAY Renewal fee payment (event date is renewal date of database)

Free format text: PAYMENT UNTIL: 20150302

Year of fee payment: 3

R150 Certificate of patent or registration of utility model

Free format text: JAPANESE INTERMEDIATE CODE: R150

LAPS Cancellation because of no payment of annual fees