JP4920249B2 - Iii族窒化物系化合物半導体発光素子 - Google Patents

Iii族窒化物系化合物半導体発光素子 Download PDF

Info

Publication number
JP4920249B2
JP4920249B2 JP2005352722A JP2005352722A JP4920249B2 JP 4920249 B2 JP4920249 B2 JP 4920249B2 JP 2005352722 A JP2005352722 A JP 2005352722A JP 2005352722 A JP2005352722 A JP 2005352722A JP 4920249 B2 JP4920249 B2 JP 4920249B2
Authority
JP
Japan
Prior art keywords
layer
electrode
compound semiconductor
group iii
nitride compound
Prior art date
Legal status (The legal status is an assumption and is not a legal conclusion. Google has not performed a legal analysis and makes no representation as to the accuracy of the status listed.)
Expired - Fee Related
Application number
JP2005352722A
Other languages
English (en)
Other versions
JP2007158128A (ja
Inventor
俊也 上村
茂美 堀内
隆弘 小澤
Current Assignee (The listed assignees may be inaccurate. Google has not performed a legal analysis and makes no representation or warranty as to the accuracy of the list.)
Toyoda Gosei Co Ltd
Toyota Central R&D Labs Inc
Original Assignee
Toyoda Gosei Co Ltd
Toyota Central R&D Labs Inc
Priority date (The priority date is an assumption and is not a legal conclusion. Google has not performed a legal analysis and makes no representation as to the accuracy of the date listed.)
Filing date
Publication date
Application filed by Toyoda Gosei Co Ltd, Toyota Central R&D Labs Inc filed Critical Toyoda Gosei Co Ltd
Priority to JP2005352722A priority Critical patent/JP4920249B2/ja
Publication of JP2007158128A publication Critical patent/JP2007158128A/ja
Application granted granted Critical
Publication of JP4920249B2 publication Critical patent/JP4920249B2/ja
Anticipated expiration legal-status Critical
Expired - Fee Related legal-status Critical Current

Links

Images

Landscapes

  • Led Devices (AREA)

Description

本発明はIII族窒化物系化合物半導体光素子に関する。尚、本明細書で半導体光素子とは、発光素子、受光素子、その他光エネルギーと電気エネルギーとの一方から他方への変換素子その他任意の光機能を有する半導体素子を言うものとする。
緑色、青色乃至紫外光を発する発光素子として、III族窒化物系化合物半導体発光素子が登場してから久しいが、依然サファイア基板等の、異種且つ絶縁性基板上に発光素子をエピタキシャル成長するものが主流である。異種の導電性基板を用いる場合であっても、エピタキシャル成長中のいわゆる転位が十分に低減できないことや、エピタキシャル成長後常温に戻すまでに、熱膨張係数の差によるIII族窒化物系化合物半導体層におけるクラックの発生を十分には抑制できないことが依然として問題である。
ところで、エピタキシャル成長を行う基板と、素子として用いる際の支持基板とを異なるものとする、即ちエピタキシャル成長後に他の基板にIII族窒化物系化合物半導体層やIII族窒化物系化合物半導体素子を移し替る技術がある(特許文献1乃至4、非特許文献1)。
特許3418150 特表2001−501778 特表2005−522873 USP6071795 Kellyら、「Optical process for liftoff of group III−nitride films」、Physica Status Solidi(a) vol.159、1997年、R3〜R4頁
本発明者らは、上記技術をIII族窒化物系化合物半導体光素子に適用する際の手法として、支持基板を導電性基板とし、支持基板に接するp層側の電極構成に高反射性金属を用い、且つ反対側、即ちあらわになったn層側の電極を窓枠状に形成することを検討中である。これにより、例えばIII族窒化物系化合物半導体発光素子として、n層側の窓枠状の電極が形成されていない領域(窓)から光取り出しを効率よく行うことができると考えられる。
この場合、窓枠状のn層側の電極形状と、p層側の電極形状について次のような構成をとることで、発光領域又は受光領域の全体を有効に活用できることを見出した。即ち、本発明の目的は、III族窒化物系化合物半導体光素子の発光領域又は受光領域の全体を有効活用させるための、当該発光領域又は受光領域を挟んで上下に形成されるp層側の電極形状と、n層側の電極形状を最適化することである。
請求項1に係る発明は、成長基板の上に、III族窒化物系化合物半導体から成り、少なくともn層と、発光層と、最上層のp層とを成長させ、n層に対する電極とp層に対する電極とが平面状の発光領域を挟んで上側及び下側に位置するIII族窒化物系化合物半導体発光素子において、p層の上全面に形成された透光性電極と、透光性電極の上全面に形成され、透光性電極に至る複数の孔を有した誘電体層と、孔の周囲の誘電体層と接合し、孔に充填されて、透光性電極と接合した金属から成る接続部と、接続部の誘電体層上に形成された部分の上及び誘電体層上の全面に形成された光反射性金属層と、光反射性金属層上に一様に形成された接合層と、接合層を介して光反射性金属層と接合する支持基板と、成長基板が剥離されて露出したn層の表面上に形成されたn電極と、を有し、n層側から光を出力し、接続部と、n電極とは、発光層の発光領域の平面への正射影が互いに重ならない形状に形成されていることを特徴とするIII族窒化物系化合物半導体発光素子である
尚、ここで「発光領域」とは、pn接合界面、単一又は多重量子井戸構造その他の発光層を全て含むものである。「平面状」とは、界面でない、単層又は多重層の発光層であっても、素子全体から見れば十分に薄いことから「平面状」と呼ぶものであり、当該「平面状の発光領域」に電極の正射影を投影する場合に、「発光領域付近に」平面を想定できることから「発光領域の平面への正射影」と表現したものである。
請求項2に係る発明は、接合層は多層金属膜であることを特徴とする請求項1に記載のIII族窒化物系化合物半導体発光素子である。
また、請求項3に係る発明は、透光性電極は酸化インジウムスズ(ITO)から成ることを特徴とする請求項1又は請求項2に記載のIII族窒化物系化合物半導体発光素子である
また、請求項4に係る発明は、光反射性金属層はアルミニウム(Al)から成ることを特徴とする請求項1乃至請求項3の何れか1項に記載のIII族窒化物系化合物半導体発光素子である。
III族窒化物系化合物半導体は、n型層は十分に抵抗の低い層が容易に得られるが、p型層は抵抗の低い層を容易に得ることはできない。この点において、例えばGaAs系等の、n型層、p型層共に十分に抵抗の低い層が容易に得られる材料とは、素子構成の設計において大きく異なる。例えば、GaAs系半導体層を積層した発光素子において、p層及びn層に接合する正及び負の電極が、発光領域を挟んで上側及び下側に位置し、且つ正及び負の電極の、発光領域の平面への正射影が互いに重ならない位置に形成すると、p層全体から発光領域及びn層全体に向かって電流が生じる。これは、p層、n層共に抵抗、特に横方向のシート抵抗が小さいため、電極が接続された位置から、p/nコンタクト層全体に横方向へ電流が生じた後、電流が発光領域全体を通って対極に向かうからである。しかし、上述の通り、III族窒化物系化合物半導体はn型層とp型層で抵抗が大きく異なるので、このような構成をIII族窒化物系化合物半導体素子に適用しても、電流が発光領域全体を通ることにはならない。即ち、III族窒化物系化合物半導体のp型層は横方向のシート抵抗が大きく、電流はp電極が形成された領域の幅程度の発光領域を通って対極に向かうからである。
そこでIII族窒化物系化合物半導体の少なくともp型層全面に薄膜電極を形成することで、p電極が形成された領域からp型層全体に電流を生じさせることが可能となる。但し、薄膜電極の厚さが薄いと、その薄膜電極に電流を注入する接続部と、n電極との正射影が重なる場合は、やはりそれらを直接結ぶ領域内に電流が集中し、発光領域等の全体を電流が通ることにはならない。そこで、請求項1、2のように、III族窒化物系化合物半導体に接合する透光性電極と、当該透光性電極に電気的に接続された接続部とから構成される電極を用いる場合で、接続部と他方の電極、又は正及び負の電極の各々の接続部とが、発光領域又は受光領域の平面への正射影が互いに重ならない形状に形成されている電極の場合は、発光領域又は受光領域全体を有効に活用できることとなる。
本発明は、任意のIII族窒化物系化合物半導体光素子に適用でき、特に光取り出し領域を有する発光素子、光取込み領域を有する受光素子に適用できる。支持基板を有した素子は、当該基板と接していない側のIII族窒化物系化合物半導体層に窓枠状等の電極を、直接又は透光性電極を介して形成すると良い。本発明は正負の電極が発光領域の上下にそれぞれ位置するので、支持基板としては導電性基板を用いることが望ましく、絶縁性基板を用いる場合は他の導電性基板等に光素子構造を移し替ることが望ましい。
レーザ照射により例えばGaNの薄膜部を溶融、分解してエピタキシャル成長基板と分離させる場合は、365nmより短波長のレーザが適しており、波長365nm、266nmのYAGレーザ、波長308nmのXeClレーザ、波長155nmのArFレーザ、波長248nmのKrFが好適に用いられる。レーザ照射を、任意個数のチップサイズとすること、例えば500μm毎にウエハに配置されたチップならば4個×4個の2mm角のレーザ照射、或いは6個×6個の3mm角のレーザ照射とすると、各チップを「レーザ照射済み」「未照射」の境界が横切ることが無く、好適である。
III族窒化物系化合物半導体積層構造は、エピタキシャル成長により形成することが望ましい。但しエピタキシャル成長に先立って形成されるバッファ層は、エピタキシャル成長によらず、例えばスパッタリングその他の方法により形成されるものでも構わない。エピタキシャル成長方法、エピタキシャル成長基板、各層の構成、発光層等の機能層の構造その他の構成方法及び素子分割後の取扱い方法等は、以下の実施例では細部を全く述べないこともあるが、これは本願出願時における、任意の公知の構成を用いること、或いは複数の技術構成を任意に組み合わせて所望の光素子を形成することが、本発明に包含されうることを意味するものである。
III族窒化物系化合物は、狭義にはAlGaInN系の任意組成の2元系及び3元系を包含する4元系の半導体自体と、それらに導電性を付与するためのドナー又はアクセプタ不純物を添加したものを意味するが、一般的に、他のIII族及びV族を追加的或いは一部置換して用いる半導体、或いは他の機能を付与するために任意の元素を添加された半導体を排除するものではない。
III族窒化物系化合物層に直接接合させる電極や、当該電極に接続される単層又は多層の電極は、任意の導電性材料を用いることができる。高反射性金属としてはIII族窒化物系化合物層に直接接合させる場合はイリジウム(Ir)、白金(Pt)、ロジウム(Rh)、銀(Ag)、アルミニウム(Al)が好適である。透光性電極を形成することも可能であり、酸化インジウムスズ、酸化インジウムチタンその他の酸化物電極を用いることができる。エピタキシャル成長ウエハと支持基板とを接合させるのにははんだを好適に用いることができ、はんだの成分によって、支持基板やエピタキシャル成長ウエハの接合側面に必要に応じて多層金属膜を形成すると良い。また、2つの層例えば酸化物層と金属層とを直接接触させないために誘電体層をそれらの間に形成する場合、任意の誘電体材料を用い、当該誘電体層に孔部を設けて電気的接続部材を充填するなどの手法が有る。
本発明は電極構成に特徴を有するものであり、繰り返し述べるように、他の構成は任意の公知構成、公知技術の組み合わせを用いることができる。
図1.A乃至図1.Kは、本発明の具体的な一実施例に係るIII族窒化物系化合物半導体発光素子1000の製造方法を示す工程図(断面図)である。尚、図1.K及び図2では、実質的に1チップのIII族窒化物系化合物半導体発光素子1000に対応する図を示しており、図1.A乃至図1.Jにおいても1チップ分の断面図に対応する図面を示している。しかし、図1.A乃至図1.Jは1枚のウエハ等の「一部」を拡大して表現したものであり、図1.Kも、ダイシング等によりチップ化する前の状態である1枚のウエハ等の「一部」を拡大した断面図をも意味するものである。
まず、サファイア基板100を用意し、通常のエピタキシャル成長によりIII族窒化物系化合物半導体層を形成する(図1.A)。図1.Aでは単純化して、n型層11とp型層12と発光領域Lとして積層されたIII族窒化物系化合物半導体層を示した。図1.A乃至図1.Kにおいて、n型層11とp型層12とは、破線で示した発光領域Lで接する2つの層の如く記載しているが、これらは細部の積層構造の記載を省略したものである。実際、サファイア基板100に例えばバッファ層、シリコンをドープしたGaNから成る高濃度n+層、GaNから成る低濃度n層、n−AlGaNクラッド層を構成するものであっても、図1.A乃至図1.Kにおいてはn型層11として代表させている。同様に、マグネシウムをドープしたp−AlGaNクラッド層、GaNから成る低濃度p層、GaNから成る高濃度p+層を構成するものであっても、図1.A乃至図1.Kにおいてはp型層12として代表させている。また、発光領域Lは、pn接合の場合の接合面と、例えば多重量子井戸構造の発光層(通常、井戸層はアンドープ層)の両方を代表して破線で示したものであり、単に「n型層11とp型層12との界面」を意味するものではない。但し、「発光領域の平面」は発光領域Lで示した破線付近に存在する、平面である。尚、p型層12は、下記の「窒素(N2)雰囲気下の熱処理」前においては、「p型不純物を含む層ではあるが、低抵抗化していない」ものであり、当該「窒素(N2)雰囲気下の熱処理」後においては、通常の意味の低抵抗のp型層である。
次に、電子ビーム蒸着により、p型層12の全面に厚さ300nmの酸化インジウムスズ(ITO)から成る透光性電極121−tを形成する。この後、N2雰囲気下、700℃で、5分間加熱処理してp型層12を低抵抗化すると共に、p型層12とITO電極121−tとの間のコンタクト抵抗を低抵抗化する。次に、ITO電極121−tの全面に、厚さ100nmの窒化ケイ素(SiNx)から成る誘電体層150を形成する(図1.B)。
次に、図示しないレジスト膜を用いたフォトリソグラフにより、ドライエッチングでSiNxから成る誘電体層150に孔部Hを形成する。後述するように、孔部Hの形状と位置、即ちニッケル(Ni)から成る接続部121−cの形状と位置は、のちに形成する多層金属膜から成るn電極130の形状と位置との関係において、「発光領域Lの平面」に投影した両者の正射影が重ならないようにする。本実施例においては、孔部Hは、一辺400乃至500μmの正方形状のIII族窒化物系化合物半導体発光素子1000に対して幅約20μm、孔部Hの間隔80乃至100μmのストライプ状とした。この後レジスト膜を除去する(図1.C)。
次に、孔部Hにニッケル(Ni)から成る接続部121−cを形成するため、図示しないレジスト膜を形成する。このレジスト膜には、SiNxから成る誘電体層150の孔部H上部に、当該孔部よりも大きい孔部を形成する。こうして、SiNxから成る誘電体層150の孔部Hと、その上に形成されたレジスト膜の孔部とにニッケル(Ni)を抵抗加熱蒸着により形成する。この際、ニッケル(Ni)はSiNxから成る誘電体層150の孔部Hを充填し、且つ誘電体層150上部に20nm厚の庇状部が形成されるまで蒸着した。こうして、レジスト膜を除去し、SiNxから成る誘電体層150の孔部Hを充填する、ニッケル(Ni)から成る接続部121−cを形成した(図1.D)。
次に、ニッケル(Ni)から成る接続部121−cを孔部Hに有するSiNxから成る誘電体層150の上に、厚さ300nmのアルミニウム(Al)から成る高反射性金属層121−rを蒸着により形成する(図1.E)。こうして、ITOから成る透光性電極121−t、ニッケル(Ni)から成る接続部121−c、アルミニウム(Al)から成る高反射性金属層121−rとにより、III族窒化物系化合物半導体層との密着性が高く、光を吸収せず高反射する、多重p電極が形成される。尚、ニッケル(Ni)から成る接続部121−cを孔部Hに有するSiNxから成る誘電体層150の役割は、アルミニウム(Al)とITOを直接接触させないことで、アルミニウム(Al)の酸化による電極特性の劣化を防止することである。
次に、多層金属膜を次の順に蒸着により形成する。厚さ50nmのチタン(Ti)層122、厚さ500nmのニッケル(Ni)層123、厚さ50nmの金(Au)層124。こうして図1.Fの層構成となる。チタン(Ti)層122、ニッケル(Ni)層123、金(Au)層124の機能は、次の通りである。スズ20%の金スズはんだ(Au−20Sn)51を設けるにあたって、当該金スズはんだ(Au−20Sn)51と合金化する層として金(Au)層124を、スズ(Sn)のアルミニウム(Al)から成る高反射性金属層121−rへの拡散を防ぐ層としてニッケル(Ni)層123を、ニッケル(Ni)層123とアルミニウム(Al)から成る高反射性金属層121−rとの密着性を向上させるためにチタン(Ti)層122を各々設けるものである。
次に金(Au)層124の上に、スズ20%の金スズはんだ(Au−20Sn)51を厚さ1500nm形成する(1.G)。
次にn型シリコン基板200を用意し、両面に導電性多層膜を次の順に蒸着等により形成する。表面側の層を符号221乃至224で、裏面側の層を符号231乃至244で示す。厚さ50nmの窒化チタン(TiN)層221及び231、厚さ100nmのチタン(Ti)層222及び232、厚さ500nmのニッケル(Ni)層223及び233、厚さ50nmの金(Au)層224及び234。窒化チタン(TiN)層221及び231は、n型シリコン基板200とのコンタクト抵抗が低い点から選択された層であり、チタン(Ti)層222及び232、ニッケル(Ni)層223及び233、金(Au)層224及び234の機能は、上述のチタン(Ti)層122、ニッケル(Ni)層123、金(Au)層124の機能と全く同様である。このn型シリコン基板200に形成した表面側の導電性多層膜の最上層である金(Au)層224の上にスズ20%の金スズはんだ(Au−20Sn)52を厚さ1500nm形成し、上述の図1.Gのスズ20%の金スズはんだ(Au−20Sn)51を厚さ1500nm形成したIII族窒化物系化合物半導体発光素子ウエハと、金スズはんだ(Au−20Sn)を形成した面同士を貼り合わせる(図1.H)。こうして、300℃、30kg重/cm2(2.94MPa)で熱プレスして、2つのウエハを合体させる。以下、金スズはんだ(Au−20Sn)は一体化した層50として示す(図1.I)。
このような一体化されたウエハの、サファイア基板100側から、248nmのKrF高出力パルスレーザを照射する。照射条件は、0.7J/cm2以上、パルス幅25ns(ナノ秒)、照射領域2mm角又は3mm角で、各照射ごとに、レーザ照射領域外周が、「1チップ」を横切らないようにすると良い。このレーザ照射により、サファイア基板100に最も近いn型層11(GaN層)の界面11fが薄膜状に溶融し、ガリウム(Ga)液滴と窒素(N2)とに分解する。こののち、サファイア基板100を一体化ウエハからリフトオフにより除去する(図1.J)。この後、露出したn型層11表面を希塩酸により洗浄し、表面に付着しているガリウム(Ga)液滴を除去する。
次に、図示しないレジスト膜を形成し、レジスト膜の孔部に多層金属膜から成るn電極130を次の順に蒸着により形成する。レジスト膜の孔部は、後述する通り、ニッケル(Ni)からなる接続部121−cの形状と正射影が互いに重ならないように「窓枠状」に形成した。次にn型層11の上(レジスト膜の孔部)に順に、厚さ15nmのバナジウム(V)層、厚さ150nmのアルミニウム(Al)層、厚さ30nmのチタン(Ti)層、厚さ500nmのニッケル(Ni)層、厚さ500nmの金(Au)層。この後にレジストをリフトオフして除去することで、レジスト膜の孔部の多層金属膜から成るn電極130が残り、他の領域の金属膜はレジストと共に除去される。こうして、両面に導電性多層膜を形成したn型シリコン基板200を支持基板とし、p側にITOから成る透光性電極121−t、ニッケル(Ni)から成る接続部121−c、アルミニウム(Al)から成る高反射性金属層121−rとを形成され、多層金属膜を介して金スズはんだ(Au−20Sn)50でn型シリコン基板200と電気的に接続された、III族窒化物系化合物半導体発光素子1000が形成された(図1.K)。III族窒化物系化合物半導体発光素子1000は、「窓枠状」に形成された多層金属膜から成るn電極130の形成されていない領域が光取り出し領域である発光素子である。
この後、任意の方法で分割して個々の素子とする。例えばダイシングブレードによりハーフカットを行い、ブレーキングして分割する。ハーフカットは、シリコン基板200の裏面200Bからはシリコン基板200をある程度切削するようにする。一方、エピタキシャル層であるn型層11及びp型層12側は、少なくとも当該エピタキシャル層であるn型層11及びp型層12側が分割線付近で完全に切削されて分離されれば良く、必ずしもシリコン基板200の表面200Fにまで切削が達する必要は無い。
〔n電極130と、接続部121−cの充填された誘電体層150の孔部Hの平面形状について〕
n電極130と、接続部121−cの充填された誘電体層150の孔部Hの平面形状、即ち発光領域Lの平面への正射影は、重ならないことが望ましく、またそれらの正射影はいずれの位置においても一定の距離以下とならないことが好ましい。この場合の「一定の距離」とは、例えばn型層11とp型層12の総膜厚程度の距離、或いはその数倍を設定すると良い。例えばn型層11とp型層12の総膜厚が5μmであるならば、2つの正射影はいずれの位置においても5μm以上離れていることが望ましく、10μm以上離れていることがより望ましく、20μm以上離れていることが更に望ましい。
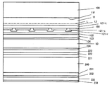
図2.Aは、例えば一辺が500μmのチップにおいて、n電極130を4つの窓の窓枠状に形成する例である。4つの窓wの幅を100μm、その窓枠であるストライプ状部分fの幅を20μmとする(右下がりのハッチング)。尚、図2.Aでは、n電極130のボンディング領域bとして、140μm角の正方形の領域を2箇所設ける例である。また、接続部121−cの充填された誘電体層150の孔部Hの平面形状は、n電極130の形成されていない4つの窓wの中心線に沿って、幅20μmのストライプ状に設ける(右上がりのハッチング)。こうして、n電極130と、接続部121−cの充填された誘電体層150の孔部Hの平面形状、即ち発光領域Lの平面への正射影は、重ならず、且ついずれの位置においても互いに20μm以上の間隔を有して離れている。このようにして、光取り出し領域(図2.Aで窓w)を確保しつつ、発光領域Lの全体を電流が通るようにできる。
図2.Aにおいて、接続部121−cの充填された誘電体層150の孔部Hの平面形状は、n電極130の形成されていない4つの窓wの中心線に沿って、幅20μmのストライプ状に設けたが、図2.Bのように、4つの窓wの中心線に沿って中心を有する、直径20μmの複数個の円状としても良い。或いは、n電極130(右下がりのハッチング)と接続部121−cの充填された誘電体層150の孔部H(右上がりのハッチング)の平面形状は、図2.C、図2.D、図2.Eのように様々に変形例を考案することができる。
上記実施例において、n電極130を直接n型層11に形成するのでなく、例えば透光性電極を形成したのちに更に窓枠状のn電極を形成しても良い。
III族窒化物系化合物半導体発光素子1000の製造方法の1工程を示す段面図。 III族窒化物系化合物半導体発光素子1000の製造方法の1工程を示す段面図。 III族窒化物系化合物半導体発光素子1000の製造方法の1工程を示す段面図。 III族窒化物系化合物半導体発光素子1000の製造方法の1工程を示す段面図。 III族窒化物系化合物半導体発光素子1000の製造方法の1工程を示す段面図。 III族窒化物系化合物半導体発光素子1000の製造方法の1工程を示す段面図。 III族窒化物系化合物半導体発光素子1000の製造方法の1工程を示す段面図。 III族窒化物系化合物半導体発光素子1000の製造方法の1工程を示す段面図。 III族窒化物系化合物半導体発光素子1000の製造方法の1工程を示す段面図。 III族窒化物系化合物半導体発光素子1000の製造方法の1工程を示す段面図。 III族窒化物系化合物半導体発光素子1000の製造方法の1工程を示す段面図。 n電極130と接続部121−cの充填された誘電体層150の孔部Hの形状を、発光領域Lの平面に投影した5例の正射影として示す平面図。
1000:III族窒化物系化合物半導体発光素子
100:サファイア基板(エピタキシャル成長基板)
11:n型III族窒化物系化合物半導体層
12:p型III族窒化物系化合物半導体層
L:発光領域
121−t:ITOから成る透光性電極
121−c:Niから成る接続部
121−r:Alから成る高反射性金属層
200:シリコン基板(支持基板)
221、231:TiN層
122、222、232:Ti層
123、223、233:Ni層
124、224、234:Au層
130:多層金属膜から成るn電極
50、51、52:Au−20Snはんだ層
150:SiNxから成る誘電体層
H:誘電体層の孔部

Claims (4)

  1. 成長基板の上に、III族窒化物系化合物半導体から成り、少なくともn層と、発光層と、最上層のp層とを成長させ、前記n層に対する電極と前記p層に対する電極とが平面状の発光領域を挟んで上側及び下側に位置するIII族窒化物系化合物半導体発光素子において、
    前記p層の上全面に形成された透光性電極と、
    前記透光性電極の上全面に形成され、前記透光性電極に至る複数の孔を有した誘電体層と、
    前記孔の周囲の誘電体層と接合し、前記孔に充填されて、前記透光性電極と接合した金属から成る接続部と、
    前記接続部の前記誘電体層上に形成された部分の上及び前記誘電体層上の全面に形成された光反射性金属層と、
    前記光反射性金属層上に一様に形成された接合層と、
    前記接合層を介して前記光反射性金属層と接合する支持基板と、
    前記成長基板が剥離されて露出した前記n層の表面上に形成されたn電極と、
    を有し、
    前記n層側から光を出力し、前記接続部と、前記n電極とは、前記発光層の発光領域の平面への正射影が互いに重ならない形状に形成されている
    ことを特徴とするIII族窒化物系化合物半導体発光素子
  2. 前記接合層は多層金属膜であることを特徴とする請求項1に記載のIII族窒化物系化合物半導体発光素子。
  3. 前記透光性電極は酸化インジウムスズ(ITO)から成ることを特徴とする請求項1又は請求項2に記載のIII族窒化物系化合物半導体発光素子。
  4. 前記光反射性金属層はアルミニウム(Al)から成ることを特徴とする請求項1乃至請求項3の何れか1項に記載のIII族窒化物系化合物半導体発光素子。
JP2005352722A 2005-12-06 2005-12-06 Iii族窒化物系化合物半導体発光素子 Expired - Fee Related JP4920249B2 (ja)

Priority Applications (1)

Application Number Priority Date Filing Date Title
JP2005352722A JP4920249B2 (ja) 2005-12-06 2005-12-06 Iii族窒化物系化合物半導体発光素子

Applications Claiming Priority (1)

Application Number Priority Date Filing Date Title
JP2005352722A JP4920249B2 (ja) 2005-12-06 2005-12-06 Iii族窒化物系化合物半導体発光素子

Publications (2)

Publication Number Publication Date
JP2007158128A JP2007158128A (ja) 2007-06-21
JP4920249B2 true JP4920249B2 (ja) 2012-04-18

Family

ID=38242065

Family Applications (1)

Application Number Title Priority Date Filing Date
JP2005352722A Expired - Fee Related JP4920249B2 (ja) 2005-12-06 2005-12-06 Iii族窒化物系化合物半導体発光素子

Country Status (1)

Country Link
JP (1) JP4920249B2 (ja)

Families Citing this family (12)

* Cited by examiner, † Cited by third party
Publication number Priority date Publication date Assignee Title
JP2009231549A (ja) * 2008-03-24 2009-10-08 Toyoda Gosei Co Ltd 窒化物系半導体発光素子
KR101007099B1 (ko) 2008-04-21 2011-01-10 엘지이노텍 주식회사 반도체 발광소자 및 그 제조방법
JP2010171376A (ja) 2008-12-26 2010-08-05 Toyoda Gosei Co Ltd Iii族窒化物系化合物半導体発光素子
JP5136398B2 (ja) * 2008-12-26 2013-02-06 豊田合成株式会社 Iii族窒化物系化合物半導体発光素子
TW201104913A (en) * 2009-07-31 2011-02-01 Tekcore Co Ltd Vertical light-emitting diode and manufacture method thereof
JP2012175040A (ja) 2011-02-24 2012-09-10 Toshiba Corp 半導体発光素子及び発光装置
JP5949294B2 (ja) * 2011-08-31 2016-07-06 日亜化学工業株式会社 半導体発光素子
JP2012142630A (ja) * 2012-04-27 2012-07-26 Hitachi Cable Ltd 発光装置
JP2012178610A (ja) * 2012-06-06 2012-09-13 Toshiba Corp 半導体発光素子及び発光装置
CN103682020A (zh) * 2012-08-31 2014-03-26 展晶科技(深圳)有限公司 发光二极管晶粒的制造方法
JP6024506B2 (ja) 2013-02-18 2016-11-16 豊田合成株式会社 Iii 族窒化物半導体発光素子およびその製造方法
JP2013175761A (ja) * 2013-04-17 2013-09-05 Toshiba Corp 半導体発光素子及び発光装置

Family Cites Families (6)

* Cited by examiner, † Cited by third party
Publication number Priority date Publication date Assignee Title
JP3511213B2 (ja) * 1994-03-30 2004-03-29 スタンレー電気株式会社 光半導体デバイス
JP3765457B2 (ja) * 1999-01-08 2006-04-12 豊田合成株式会社 半導体素子
JP3893874B2 (ja) * 1999-12-21 2007-03-14 日亜化学工業株式会社 窒化物半導体発光素子の製造方法
JP4411871B2 (ja) * 2003-06-17 2010-02-10 日亜化学工業株式会社 窒化物半導体発光素子
JP4604488B2 (ja) * 2003-12-26 2011-01-05 日亜化学工業株式会社 窒化物半導体発光素子およびその製造方法
JP2007081011A (ja) * 2005-09-13 2007-03-29 Matsushita Electric Ind Co Ltd 半導体発光素子

Also Published As

Publication number Publication date
JP2007158128A (ja) 2007-06-21

Similar Documents

Publication Publication Date Title
US20230197906A1 (en) Semiconductor light emitting device
CN101673794B (zh) 发光元件
JP5496104B2 (ja) 半導体発光デバイス用コンタクト
CN103999247B (zh) 发光二极管及其制造方法
JP5304662B2 (ja) 発光素子
US20090294784A1 (en) Nitride Semiconductor Light Emitting Element and Method for Producing Nitride Semiconductor Light Emitting Element
JP2007158133A (ja) Iii族窒化物系化合物半導体素子の製造方法
JP4920249B2 (ja) Iii族窒化物系化合物半導体発光素子
JP5729328B2 (ja) Iii族窒化物半導体発光素子およびその製造方法
JP2008042143A (ja) Iii族窒化物系化合物半導体発光素子及びその製造方法
JP4738999B2 (ja) 半導体光素子の製造方法
JP5298927B2 (ja) 発光素子
CN115148870A (zh) 垂直发光二极管及其制备方法
JP2007158131A (ja) Iii族窒化物系化合物半導体光素子
KR20090115902A (ko) 수직구조 그룹 3족 질화물계 반도체 발광다이오드 소자 및제조방법
JP4570683B2 (ja) 窒化物系化合物半導体発光素子の製造方法
JP2017069282A (ja) 半導体発光素子及びその製造方法
JP2010062355A (ja) 発光素子
JP2007158132A (ja) Iii族窒化物系化合物半導体素子及びその製造方法
JP2014120511A (ja) 半導体装置の製造方法及び半導体装置
KR20090115631A (ko) 수직구조의 그룹 3족 질화물계 반도체 발광다이오드 소자및 제조방법
JP2005347714A (ja) 発光素子及びその製造方法
JP2007158130A (ja) Iii族窒化物系化合物半導体光素子及びその製造方法
JP2022037340A (ja) 半導体発光素子
JP2013172028A (ja) 半導体発光素子及び車両用灯具

Legal Events

Date Code Title Description
A621 Written request for application examination

Free format text: JAPANESE INTERMEDIATE CODE: A621

Effective date: 20080618

A977 Report on retrieval

Free format text: JAPANESE INTERMEDIATE CODE: A971007

Effective date: 20101130

A131 Notification of reasons for refusal

Free format text: JAPANESE INTERMEDIATE CODE: A131

Effective date: 20111004

A521 Request for written amendment filed

Free format text: JAPANESE INTERMEDIATE CODE: A523

Effective date: 20111201

TRDD Decision of grant or rejection written
A01 Written decision to grant a patent or to grant a registration (utility model)

Free format text: JAPANESE INTERMEDIATE CODE: A01

Effective date: 20120131

A01 Written decision to grant a patent or to grant a registration (utility model)

Free format text: JAPANESE INTERMEDIATE CODE: A01

A61 First payment of annual fees (during grant procedure)

Free format text: JAPANESE INTERMEDIATE CODE: A61

Effective date: 20120201

R150 Certificate of patent or registration of utility model

Ref document number: 4920249

Country of ref document: JP

Free format text: JAPANESE INTERMEDIATE CODE: R150

Free format text: JAPANESE INTERMEDIATE CODE: R150

FPAY Renewal fee payment (event date is renewal date of database)

Free format text: PAYMENT UNTIL: 20150210

Year of fee payment: 3

LAPS Cancellation because of no payment of annual fees