JP4870488B2 - 高固定強度の固定具 - Google Patents

高固定強度の固定具 Download PDF

Info

Publication number
JP4870488B2
JP4870488B2 JP2006193166A JP2006193166A JP4870488B2 JP 4870488 B2 JP4870488 B2 JP 4870488B2 JP 2006193166 A JP2006193166 A JP 2006193166A JP 2006193166 A JP2006193166 A JP 2006193166A JP 4870488 B2 JP4870488 B2 JP 4870488B2
Authority
JP
Japan
Prior art keywords
flange
elastic locking
bush
leg
space
Prior art date
Legal status (The legal status is an assumption and is not a legal conclusion. Google has not performed a legal analysis and makes no representation as to the accuracy of the status listed.)
Active
Application number
JP2006193166A
Other languages
English (en)
Other versions
JP2008020006A (ja
Inventor
康博 河合
Current Assignee (The listed assignees may be inaccurate. Google has not performed a legal analysis and makes no representation or warranty as to the accuracy of the list.)
Nippon Pop Rivets and Fasteners Ltd
Original Assignee
Nippon Pop Rivets and Fasteners Ltd
Priority date (The priority date is an assumption and is not a legal conclusion. Google has not performed a legal analysis and makes no representation as to the accuracy of the date listed.)
Filing date
Publication date
Application filed by Nippon Pop Rivets and Fasteners Ltd filed Critical Nippon Pop Rivets and Fasteners Ltd
Priority to JP2006193166A priority Critical patent/JP4870488B2/ja
Priority to US11/776,276 priority patent/US7841817B2/en
Priority to EP07112286A priority patent/EP1878925A2/en
Publication of JP2008020006A publication Critical patent/JP2008020006A/ja
Application granted granted Critical
Publication of JP4870488B2 publication Critical patent/JP4870488B2/ja
Active legal-status Critical Current
Anticipated expiration legal-status Critical

Links

Images

Classifications

    • FMECHANICAL ENGINEERING; LIGHTING; HEATING; WEAPONS; BLASTING
    • F16ENGINEERING ELEMENTS AND UNITS; GENERAL MEASURES FOR PRODUCING AND MAINTAINING EFFECTIVE FUNCTIONING OF MACHINES OR INSTALLATIONS; THERMAL INSULATION IN GENERAL
    • F16BDEVICES FOR FASTENING OR SECURING CONSTRUCTIONAL ELEMENTS OR MACHINE PARTS TOGETHER, e.g. NAILS, BOLTS, CIRCLIPS, CLAMPS, CLIPS OR WEDGES; JOINTS OR JOINTING
    • F16B19/00Bolts without screw-thread; Pins, including deformable elements; Rivets
    • F16B19/04Rivets; Spigots or the like fastened by riveting
    • F16B19/08Hollow rivets; Multi-part rivets
    • F16B19/10Hollow rivets; Multi-part rivets fastened by expanding mechanically
    • F16B19/1027Multi-part rivets
    • F16B19/1036Blind rivets
    • F16B19/1081Blind rivets fastened by a drive-pin
    • BPERFORMING OPERATIONS; TRANSPORTING
    • B60VEHICLES IN GENERAL
    • B60RVEHICLES, VEHICLE FITTINGS, OR VEHICLE PARTS, NOT OTHERWISE PROVIDED FOR
    • B60R21/00Arrangements or fittings on vehicles for protecting or preventing injuries to occupants or pedestrians in case of accidents or other traffic risks
    • B60R21/02Occupant safety arrangements or fittings, e.g. crash pads
    • B60R21/16Inflatable occupant restraints or confinements designed to inflate upon impact or impending impact, e.g. air bags
    • B60R21/20Arrangements for storing inflatable members in their non-use or deflated condition; Arrangement or mounting of air bag modules or components
    • B60R21/213Arrangements for storing inflatable members in their non-use or deflated condition; Arrangement or mounting of air bag modules or components in vehicle roof frames or pillars

Landscapes

  • Engineering & Computer Science (AREA)
  • General Engineering & Computer Science (AREA)
  • Mechanical Engineering (AREA)
  • Insertion Pins And Rivets (AREA)
  • Air Bags (AREA)

Description

本発明は、高い固定強度の固定具に関し、例えば、カーテンシールドエアバッグの取付部をボデーパネルに、ねじ等を用いずに高い固定強度で連結できる固定具に関する。
実開平5−050130号公報(特許文献1)には、頭部と頭部から延びる脚部を有するピンと、フランジとフランジから延びる軸部と軸部先端のやじり形状のアンカーとを有するブッシュとの2部品から成り、軸部には脚部を受入れる空間が設けられ、軸部を、2枚のパネル(被取付部材)の取付穴に挿入し、更に空間に脚部を挿入することによって、両パネルに固定されるとともに、両パネルを相互に連結する固定具が開示されている。この固定具は、ねじ等を用いずに、パネル等の被取付部材を相互に連結することができる。そして、ピンの傾斜角の異なるものを用いることによって、1種類のブッシュで被取付部材の取付穴の穴径が異なっても対応できる。しかし、2枚のパネルは、フランジと軸部先端のアンカーとフランジから延びる弾性支持板との挟持によって連結されるので、パネルを相互に引き離す方向(軸方向)に力が加わると、軸部先端側のパネルはフランジ側のパネルから低い力で引き離されてしまい、固定強度がそれほど高くない点で改良の余地がある。
特開2005−047325号公報(特許文献2)には、軸方向の引き離し力に強い固定力を有する固定具を開示している。この固定具は、頭部と頭部から延びる脚部を有するプラスチック製のピンと、フランジとフランジから延びる軸部を有するプラスチック製のブッシュとの2部品から成り、軸部には脚部を受入れる空間が設けられ、空間に脚部を挿入することによって、被取付部材であるカーテンシールドエアバッグの取付部とボデーパネルとに固定される。軸部には、フランジに隣接する位置に横方向外側に弾性的に張出す弾性係止片が設けられ、弾性係止片は、軸部がカーテンシールドエアバッグ取付部及びボデーパネルの取付穴に挿入されるとフランジと弾性係止片との間に両部材を挟持する形状である。脚部は空間に十分に挿入されると弾性係止片が内側に倒れるのを阻止してフランジと弾性係止片とによる両部材の挟持を維持し、カーテンシールドエアバッグをボデーパネルに強固に連結する。これによって、固定具は、ねじ等を用いなくても、軸方向の引き離し力に強い固定力を有する。なお、カーテンシールドエアバッグは、特許文献2に記載のように、自動車の左右の側面ウィンドウ部分の上方に設置され、衝突等の衝撃時に瞬間的に降りて乗員の頭部を保護するエアバッグであり、自動車のフロントからリアに側面ウィンドウ上方に長く延びて設置される。エアバッグは、作動時、急激に下方に展開するので、そのときの固定具への反動が大きく、固定具の固定強度が低いと、エアバッグそのものがボデーパネルから外れる虞れがあり、固定具には高い固定強度が要求される。
実開平5−050130号公報 特開2005−047325号公報 特開2000−240624号公報 特開2004−360912号公報(U.S. Patent No. 6910804 及び U.S. Patent No. 6932552に対応)
特許文献2に記載の固定具は、空間に脚部を挿入することによってカーテンシールドエアバッグの取付部とボデーパネルに強く固定されて、カーテンシールドエアバッグをボデーパネルに強固に連結する。しかし、この固定具は、ピンの脚部がブッシュの中空の軸部に挿入される構成であるので、ブッシュのフランジと弾性係止片とでカーテンシールドエアバッグ取付部とボデーパネルを挟持した連結力は、軸部の軸方向には強固であるが、軸方向に直交する横方向の剪断力にやや弱い傾向がある。例えば、カーテンシールドエアバッグにボデーパネルに対して垂直な引き離し力だけでなく水平方向の引き離し力が加わった場合、垂直方向の引き離し力に比較して低い水平方向の引き離し力でブッシュが破断して、カーテンシールドエアバッグがボデーパネルから外れるおそれがあり、そのような場所に使用することができなかった。
特許文献3(特開2000−240624号)には、ワイヤハーネスをテープで巻回して固定する基板と、基板から垂設した軸部とを備え、軸部の先端にはボデーパネルの取付穴縁部に係合する羽根部が設けられ、羽根部がボデーパネルの取付穴に取付けられることによってワイヤハーネスがボデーパネルに取付けられるオフセット型クランプが開示されている。このクランプでは、羽根部に、ボデーパネルの取付穴縁部を受入れる切欠きが形成し、切欠き部分のある羽根部部分と軸部との間には窪みが形成され、この窪みにピンの脚部が挿入されると羽根部がボデーパネル取付穴へ強固に係合され、ピン脚部が抜き出されると羽根部がボデーパネルから取外せるようになっている。特許文献3の固定具は、ブッシュのフランジと弾性係止片とで複数の被取付部材を挟持して連結する場合において、被取付部材の垂直方向における引き離し力にも水平方向における引き離し力にも十分に対抗できるものではない。
特許文献4(特開2004−360912号公報)は、頭部と頭部から延びる脚部を有するピンと、フランジとフランジから垂下する錨脚形状の軸部を有するブッシュとから成り、ブッシュ軸部にはピン脚部を受入れる空洞が設けられ、空洞にピン脚部を挿入することによって被取付部材に固定され、被取付部材が複数のパネルであるパネルを相互に連結する固定具が開示されている。軸部は、フランジから垂下するロッド部分と、ロッド部分の先端からフランジ側に折返して中腹部分で最も横方向外方に張出しフランジに隣接する部分では軸心に近づく湾曲した一対の錨脚部分とで形成される。ピンは、使用前において脚部がブッシュの空洞に入らない状態でブッシュに連結され、取扱いを容易にするとともに、その状態でブッシュ軸部を被取付部材の取付穴に挿入してピン脚部をブッシュ軸部に押込んで本止め連結する。特許文献4の固定具は、ブッシュのフランジと弾性係止片とで複数の被取付部材を挟持して連結する場合において、被取付部材の垂直方向における引き離し力にも水平方向における引き離し力にも十分に対抗できる固定具ではない。ブッシュ軸部の錨脚部分は、中腹部分で最も横方向外側に張出しているため、垂直方向に引き離し力にすら対抗できない。また、ブッシュ軸部のロッド部分は、薄くて細長い板状体であって、その強度は低く、水平方向の引き離し力に対抗することはできない。
従って、本発明の目的は、複数のパネル等の、複数の被取付部材の一部又は全部に垂直方向の引き離し力だけでなく水平方向の引き離し力が加わった場合でも、十分に対抗する高い固定強度で固定することができる固定具を提供することにある。
かかる目的を達成するため、本発明は、頭部と頭部から延びる脚部を有するピンと、フランジとフランジから延びる軸部を有するブッシュと、の2部品から成り、フランジには脚部を受入れる穴が設けられ、軸部には穴を通った脚部を受入れる空間が設けられ、穴及び空間に脚部が挿入されることによって被取付部材に固定される、固定具であって、軸部には、フランジに隣接する位置において横方向外側に弾性的に張出す弾性係止片が、複数個、軸部の周方向に間隔をおいて設けられ、弾性係止片の各々は、軸部が被取付部材の取付穴に挿入されるとフランジと弾性係止片との間に被取付部材を挟持する係止肩を有し、軸部の空間は、弾性係止片のそれぞれに隣接するように弾性係止片に対応して複数個形成され、フランジの穴も空間に対応して複数個形成されており、軸部は、弾性係止片及び空間を除いて、軸部中央部分を含む残りの部分が高い剛性の軸柱として形成されており、脚部は、穴及び空間のそれぞれに挿入されるように穴及び空間に対応して複数個形成され、各脚部は、空間に十分に挿入されると弾性係止片が横方向内側に倒れるのを阻止してフランジと弾性係止片とによる被取付部材の挟持を維持する本止め状態となる形状に形成されている、ことを特徴とする固定具を提供する。
上記のように、軸柱と弾性係止片との間にピン脚部が挿入されて本止め状態となれば、フランジに隣接する位置において横方向外側に弾性的に張出す弾性係止片が、複数のパネル等の、複数の被取付部材の一部又は全部に垂直方向の引き離し力が加わっても十分に対抗でき、また、複数の被取付部材の一部又は全部に水平方向の引き離し力が加わった場合も、その引き離し力に対抗でき、複数の被取付部材を高い固定強度で固定することができる。
上記固定具において、空間は、弾性係止片のそれぞれと軸柱との間のスリットとして形成され、脚部のそれぞれが空間の対応するそれぞれに十分に挿入される状態は、頭部がフランジに隣接するまで各脚部が各空間に挿入されることによって得られる。脚部のそれぞれと軸部のそれぞれとには、脚部が空間に途中まで挿入されて仮連結状態を得る仮連結手段が設けられ、仮連結状態においてピンとブッシュとは連結されているが、脚部は弾性係止片に係合しない位置にあって弾性係止片が横方向内側に撓むのを許す状態にある。
更に、上記固定具において、仮連結手段は、仮連結状態において、不用意な弱い押込み力ではピンがブッシュに押込まれないように維持する誤押込防止係止部を包含する。脚部には、仮連結用係止突部と本止め用係止突部が形成されており、仮連結係止突部と本止め用係止突部は、フランジの穴の縁部に係止する形状に形成されている。脚部には、仮連結用係止凹部と本止め用仮連結係止凹部が形成されており、仮連結係止凹部と本止め用係止凹部は、フランジの穴の内側に形成された弾性係止突部に選択的に係止する。
上記固定具において、軸部の横断面はほぼ矩形に形成され、弾性係止片は、矩形の4個の隅部分に対応して4個形成されており、空間は、弾性係止片に隣接して4個形成されており、脚部は、空間に対応して4個形成されている。被取付部材の取付穴が矩形の場合、その4隅は変形に対して強いことが分かっており、固定具を4隅又はその近傍で係止することで高い連結強度を得ることができ、被取付部材の強度が低い場合においても、高い連結強度を得ることができる。かかる固定具において、軸柱は、その横断面において、ほぼ矩形横断面の軸部を、4隅の弾性係止片及び隣接する空間以外の、軸部部分のほぼ全体を占めるように形成されている。頭部は、軸部の矩形の横断面に対応する矩形の平板形状に形成されている。フランジには、仮連結状態にあってフランジ面から軸方向に延び出ている頭部とほぼ同じ高さまで延びて、ピンをブッシュに不用意に押込むのを阻止するが本止めのためにピンをブッシュに押込むのには邪魔にならない間隔に離れている、一対の立壁が形成されている。
上記固定具において、被取付部材が、カーテンシールドエアバッグ取付部とボデーパネルとを包含し、フランジと弾性係止片とによってカーテンシールドエアバッグとボデーパネルとが連結される。カーテンシールドエアバッグ取付部とボデーパネルの間には、スペーサが設けられ、スペーサには、カーテンシールドエアバッグ取付部とボデーパネルとの間で弾性的に変形できる弾性片が形成されている。スペーサは、カーテンシールドエアバッグ取付部を貫通した軸部に取付けられて、固定具がカーテンシールドエアバッグ取付部に仮連結状態で取付けられた状態に保持される。
以下、本発明の実施形態について図面を参照しながら説明する。図1〜図14は、本発明の第1実施形態に係る固定具1を示している。図15は、固定具1によって連結される取付部材としてのカーテンシールドエアバッグ2の取付部3と被取付部材としての自動車のボデーパネル5とを示している。図16〜図19は、固定具1を、カーテンシールドエアバッグ2の取付部3とボデーパネル5に固定して、カーテンシールドエアバッグ2をボデーパネル5に連結する操作を示している。なお、図1〜図14のうち、図1〜図4は、ピン6とブッシュ7とが仮連結状態で連結されている固定具1を示し、図5〜図7は、ピン6を単独で示し、図8〜図14は、ブッシュ7を単独で示している。図1〜図4に図示のように、固定具1は、ピン6とブッシュ7の2部品が、仮連結状態に連結されて1物品として取扱われる。仮連結状態の固定具1は、図16〜図19に示すように、取付部材であるカーテンシールドエアバッグ2の取付部3の取付穴と被取付部材であるボデーパネル5の取付穴に挿入され、挿入後、ピン6がブッシュ7に押込まれて本止め状態にされ、これにより、カーテンシールドエアバッグ2がボデーパネル5に連結される。
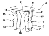
先ず、図1〜図3を参照して、固定具1の一方の部品であるピン6を説明する。ピン6は、プラスチックの一体成形品であり、矩形の板形状の頭部9と、頭部9の4隅付近から垂下するように延びる4本の脚部10とから成る。頭部9の上面は、作業者が指でピン6をブッシュ7に押込むのを容易にするように平坦に形成されている。4本の脚部10は、ブッシュ7の軸部18に設けられた4個の空間(スリット)23に対応して形成されている。更に詳しくは、各脚部10の位置は、ブッシュ7のフランジ17の穴25及びそれに続く軸部18の空間23に挿入できるように、頭部9の対応の位置に垂設されている。また、各脚部10は、頭部9から一定長さ延びて形成され、その長さは、ブッシュ7の、空間23に完全に挿入されるとブッシュ7の弾性係止片19が横方向内側に倒れるのを阻止するように係合する長さに定められる。各脚部10は、可撓性で且つ元の姿勢に復帰する弾性をもつように根元部分に凹部11が形成され、ブッシュ7のフランジ17の穴25及び軸部18の空間23に変形しながら押込まれ、十分に押込まれると元の姿勢に復帰するのを可能にする。
各脚部10の先端と中間部分には、脚部10がブッシュ7の軸部18の空間23に途中まで挿入された仮連結状態を維持するための、ブッシュ7のフランジ17の穴25の縁部に係止して仮連結状態でピン6がブッシュ7から脱落しないようにする仮連結用係止突部13と、その仮連結状態において不用意な弱い押込み力ではピン6がブッシュ7に押込まれないように維持する誤押込防止係止部14と、仮連結状態から十分に押込まれた本止め状態を維持するための、本止め用係止突部15とが形成されている。仮連結状態では、ブッシュ7の軸部18の弾性係止片19は空間23の中に入るように撓む状態にあり、ブッシュ7の軸部18を、カーテンシールドエアバッグ2の取付部3の取付穴に挿入するだけの簡単な操作で固定具1をカーテンシールドエアバッグ2の取付部3へ容易に仮止めできる。本止め状態において、脚部10は、ブッシュ7の空間23に十分に挿入されると(例えば頭部9がブッシュ7のフランジ17に隣接するまで押込まれたとき)、ブッシュ7の弾性係止片19が横方向内側に倒れるのを阻止して、フランジ17と弾性係止片19とによる取付部材(2)と被取付部材(5)を挟持して(すなわち本止め状態になり)、本止め用係止突部15はフランジ17の穴25の係止縁部29に係止してその本止め状態を維持する。本止め状態において、固定具1がエアバッグ取付部3をボデーパネル5に高い固定強度で連結する。なお、脚部10には、凹部11等によって空間23に挿入されるときに変形して元の姿勢に復帰する可撓性及び弾性が与えられているので、上記の仮連結用係止突部13と誤押込防止係止部14と本止め用係止突部15とがフランジ17の穴25の係止縁部29に係合するのが低い押込力で容易に行える。
図4〜図7を参照して、固定具1の他方の部品であるブッシュ7を説明する。ブッシュ7はプラスチックの一体成形品で成り、フランジ17と、フランジ17から垂下する軸部18とを有する。軸部18は、カーテンシールドエアバッグ2の取付部3の取付穴及びボデーパネル5の取付穴に挿入される。フランジ17は、被取付部材であるカーテンシールドエアバッグ取付部3に接面して、軸部18の弾性係止片19(後述)と協働して被取付部材を挟持するために、一定厚さで楕円又は長円の剛性プレートとして形成される。フランジ17には、一対の立壁21が形成されている。各立壁21は、ピン6とブッシュ7が仮連結状態にあってフランジ17の面から軸方向に延び出ている頭部9とほぼ同じ高さまで延びている。一対の立壁21は、仮連結状態にあるピン6をブッシュ7に不用意に押込むのを阻止するが本止めのためにピン6をブッシュ7に押込むのには邪魔にならない間隔で離れて形成されている。また、立壁21が形成されていることによって、フランジ17の強度は大きく向上して、被取付部材への取付強度を高く維持する。従って、カーテンシールドエアバッグ2が瞬間的に膨張するときの強力な力がフランジ17に作用してもフランジ17が破断することを阻止できる。
軸部18には、その中間高さ位置から根元側のフランジ17に向けて斜めに延び、フランジ17に隣接する位置において横方向外側に弾性的に張り出す弾性係止片19が、複数個、軸部18の周方向に間隔をおいて設けられている。弾性係止片19のそれぞれは、軸部18が被取付部材の取付穴に挿入されるとフランジ17と弾性係止片19との間に被取付部材を挟持する係止肩22を有する。軸部18には、弾性係止片19のそれぞれに隣接するように弾性係止片19に対応して、空間23が複数個、形成されている。各空間23は、軸部18の本体を弾性係止片19に隣接して軸方向に延びるスリットとして形成されており、弾性係止片19の係止肩22の部分が横方向内側に退避できるようにする。各空間23には、ピン6の脚部10が挿入される。フランジ17には、空間23のそれぞれに通じる穴25が形成されて、脚部10は穴25及び空間23へ挿入される。空間23に十分に挿入された脚部10は、隣接する弾性係止片19に係合して、弾性係止片19が軸部18の横方向内側に撓むのを阻止する。
第1実施形態において、軸部18の横断面はほぼ矩形に形成され、弾性係止片19は、矩形の4個の隅部分に対応して4個形成されており、空間23は、弾性係止片19に隣接して4個形成されている。また、ピン6の脚部10は、空間23及び穴25に対応して4個、形成されている。被取付部材の取付穴が矩形の場合、4隅は変形に対して強いことが分かっており、固定具を4隅又はその近傍で係止することで高い連結強度を得ることができ、取付部材又は被取付部材そのものの強度が低い場合においても、高い連結強度を得ることができる。
軸部18は、弾性係止片19及び空間23を除いて、残りの軸部部分、すなわち、軸部18の中央部分を含むほぼ全体の部分が高い剛性の軸柱26(図13及び図14)として形成されている。軸柱26は、図7に図示のように、軸部18の横断面のほぼ全体を占める、むくの棒状に形成されて高い剛性と高い剪断抵抗力を有し、取付部材及び被取付部材の取付穴の横断面を埋めて高い固定強度を得る。なお、図13及び図14に示すように、軸心には、中心の位置決めと材料の節約と重量の軽減のために軸心穴27を形成することができる。取付部材としてのカーテンシールドエアバッグの取付部3及び被取付部材としてのボデーパネル5の取付穴が角穴に形成されている場合、図示のように、軸部18の横断面は、角穴に対応した矩形形状に形成される。取付部3等の被取付部材の取付穴が丸穴である場合には、軸柱26は円柱形状に形成されてもよい。また、取付穴が丸穴である場合には、弾性係止片19は、90度の間隔で4個形成されてもよい。
フランジ17において、脚部10が貫通する穴25に、脚部10に形成された仮連結用係止突部13と誤押込防止係止部14と本止め用係止突部15とが係止する係止縁部29が形成されている。係止縁部29は、図11及び図12に示されている。図4に示す仮連結状態において、仮連結用係止突部13は係止縁部29の下端に係止して、ピン6がブッシュ7から脱落しないようにする。また、仮連結状態において、誤押込防止係止部14は係止縁部29の上端に係止して、不用意な弱い押込み力ではピン6がブッシュ7に押込まれないように維持する。図19に示す本止め状態においては、脚部10が空間23に弾性係止片19が横方向内側に倒れるのを阻止する深さまで十分に挿入されると、本止め用係止突部15が係止縁部29の下端に係止し、本止め状態を維持して、フランジ17と弾性係止片19とによる取付部材(2)と被取付部材(5)の挟持を維持する。仮連結状態においては、弾性係止片19は空間23の中に撓むことができる状態にあり、軸部18を、カーテンシールドエアバッグ2の取付部3の取付穴に挿入するだけの簡単な操作で固定具1をカーテンシールドエアバッグ2の取付部3へ容易に仮止めできる。また、本止め状態においては、各弾性係止片19の自由端が空間23の中に撓むのを確実に阻止し、これによって、固定具1がエアバッグ取付部3をボデーパネル5に高い固定強度で連結する。
再び、図1〜図4を参照して、ピン6がブッシュ7に仮連結されて1物品として組み付けられた固定具1を説明する。ピン6の脚部10のそれぞれは、ブッシュ7のフランジ17の穴25を貫通して軸部18の空間23の途中まで挿入され、仮連結用係止突部13が係止縁部29の下端に係止し、ピン6がブッシュ7から脱落しないようにする。従って、仮連結によってピン6とブッシュ7の2部品の一方を紛失するのを防止できる。また、仮連結状態において、誤押込防止係止部14が係止縁部29の上端に係止し、不用意な弱い押込み力ではピン6がブッシュ7に押込まれないように維持する。フランジ17に形成された一対の立壁21は、仮連結状態にある頭部9と同じ高さまで延び、ピン6をブッシュ7に不用意に押込むのを阻止できるように形成されている。また、仮連結状態において、空間23の脚部10は弾性係止片19に係合しないので、弾性係止片19は空間23の中すなわち横方向内側に撓むことができる状態にあり、軸部18を、カーテンシールドエアバッグの取付部3の取付穴に挿入するだけの簡単な操作で固定具1をカーテンシールドエアバッグの取付部3へ容易に仮止めできる。このようにして、固定具1付きのカーテンシールドエアバッグ2することができる。その固定具付きのカーテンシールドエアバッグを自動車の艤装ライン等に持ち込むことができ、ラインでの固定具取付け作業を省くことができ、更に、ボデーパネルへブッシュ軸部を挿通するだけでカーテンシールドエアバッグを仮止めでき、艤装ラインにおける工数を削減できる。
図15は、カーテンシールドエアバッグ2が自動車のボデーパネル5に取付けられて、例えば、衝突等によって自動車の乗員の主に側面側の頭部を保護するように展開した状態を示している。カーテンシールドエアバッグ2は、自動車内側のフロントからリアまでのドアウインドウの上部のボデーパネル5に取付けられる。衝突時等において、インフレータと呼ばれる圧縮ガス源30から気体が噴出してドアウインドウを下方(矢印31)に急激に展開して乗員の側面側の頭部等を保護する。カーテンシールドエアバッグ2は、エアバッグ本体と取付部3を有する。取付部3は、ドアウインドウ上部の複数の所定の位置において自動車のフレーム等のボデーパネル5に固定される。エアバッグ本体は、通常時には、ドアウインドウ上部の固定位置において小さく折畳まれた状態で収納されている。取付部3をボデーパネル5の所定位置に固定するのには、図15に図示のように、本発明に係る固定具1が適している。
図16〜図19を参照して、固定具1を用いて、カーテンシールドエアバッグ2をボデーパネル5に固定する操作を説明する。図16において、カーテンシールドエアバッグ取付部3の取付穴33に仮連結状態の固定具1の軸部18が挿入される。挿入は、ブッシュ7のフランジ17の立壁21を持って押込むことによって行われ、仮連結状態のままで軸部18が取付穴33に挿入され、脚部10は弾性係止片19に係合していないので、弾性係止片19は空間23の中すなわち横方向内側に撓むことができ、取付穴33を貫通すると弾性係止片19は横方向外側に張り出した状態に復帰して、係止肩22が取付部3の裏面に係合する。これによって、フランジ17と弾性係止片19の間に取付部3が挟持されて、固定具1が取付部3に仮止めされる。軸部18を、カーテンシールドエアバッグの取付部3の取付穴に挿入するだけの簡単な操作で固定具1をカーテンシールドエアバッグの取付部3へ容易に仮止めできる。このようにして、カーテンシールドエアバッグ2には取付部3に固定具1が予め取付けられた状態にされる。なお、取付部3の取付穴33は、取付部3に対して固定具1が軸回りに回転するのを防止するように角穴に形成されている。また、オプションとして、カーテンシールドエアバッグ取付部3とボデーパネル5の間には、スペーサ34が設けられてもよい。スペーサ34は、仮連結状態で取付けられた固定具1の、取付部3の取付穴33から延び出た軸部18の部分にスペーサ34の取付穴37を貫通させることによってしてスペーサ34には、カーテンシールドエアバッグ取付部3とボデーパネル5との間で弾性的に変形できる弾性片35が形成されている。スペーサ34は、金属製であってもプラスチック製であってもよい。スペーサ34は、カーテンシールドエアバッグ取付部3とボデーパネル5の間の「がたつき」を取り除き、取付けを安定させる。固定具1がカーテンシールドエアバッグ取付部3に仮連結状態で取付けられた状態に保持されるので、固定具付きのカーテンシールドエアバッグを自動車の組立ライン等に持ち込むことができ、ラインでの固定具取付け作業を省くことができ、更に、自動車の組立ライン等では、ボデーパネル5の所定の取付穴へブッシュの軸部18を少し挿通するだけでカーテンシールドエアバッグを位置決めでき、ラインにおける工数を削減できる。
図17は、固定具1付きのカーテンシールドエアバッグ2を自動車の組立ライン等に持ち込んで、ブッシュ7の軸部18をボデーパネル5の取付穴に本止めする途中の状態において、ピン6の頭部9を押込んで、ピン6の脚部10をブッシュ7の軸部18の空間23に押込んでいる状態を、固定具1単独で示す断面図である。図示の状態は、脚部10が最も変形した状態にあり、脚部10は、凹部11の所で大きく変形していることが示されている。ピン6の押込みによって、脚部10は、誤押込防止係止部14がフランジ17の係止縁部29を乗り越えて、本止め用係止突部15が係止縁部29を通過する。
図18及び図19は本止め状態にある固定具1を示している。本止め状態は、一対の立壁21の間にある頭部9に、例えば指を当て、そのまま、ピン6をブッシュ7の中に押込む。ピン6がブッシュ7に十分に押込まれると、図示のように、固定具1が本止め状態にされる。ピン6の押込みの途中において、脚部10は図17の状態に移るとともに、ブッシュ7の軸部18は、ボデーパネル5の取付穴38を貫通し、弾性係止片19がボデーパネル5の裏面側において横方向外側に張り出す。本止め状態に至ると、ピン6の頭部9はブッシュ7のフランジ17に隣接し、脚部10は空間23に十分に挿入され、各脚部10が、空間23の中で、対応する弾性係止片19に係合して、弾性係止片19が軸部18の内側に撓むのを阻止する。かかる本止め状態において、各弾性係止片19の係止肩22の部分は空間23の中に撓むのを確実に阻止され、固定具1が、ボデーパネル5(被取付部材)に高い固定強度で連結される。従って、カーテンシールドエアバッグ2がボデーパネル5に高い連結強度で固定される。この本止め状態において、脚部10の本止め用係止突部15がフランジ17の穴25の係止縁部29に係止して、その本止め状態を維持する。スペーサ34は、弾性片35によって、カーテンシールドエアバッグ2とボデーパネル5の間の「がたつき」を取り除き、取付けを安定させる。また、スペーサ34の厚さを選定することによって、カーテンシールドエアバッグ2をボデーパネル5へ取付ける際の取付け厚さも適正に調整できる。更に、上記のように、軸部18の軸柱26は、高い剛性を有するので、カーテンシールドエアバッグ2が展開する動作時における垂直方向の強い引き離し力だけでなく水平方向の強い引き離し力に対しても十分に対抗して、高い保持力を発揮し、また、水平方向における強い剪断力に対しても十分に高い抵抗力を有し、エアバッグ作動時の急激な展開にもカーテンシールドエアバッグがボデーパネルから外れる虞れはない。
図20〜図28は、本発明の第2実施形態に係る固定具1Aを示している。図20〜図28のうち、図20〜図22は、ピン6Aとブッシュ7Aとの2部品で成る固定具1Aが仮連結状態に連結されている状態を示し、図23及び図24はピン6Aを単独で示し、図25〜図27はブッシュ7Aを単独で示し、図28は、カーテンシールドエアバッグ2の取付部3がスペーサ34を介してボデーパネル5に連結される、固定具1Aの仮連結状態(左側半分の状態)と本止め状態(右側半分の状態)とを示している。
固定具1Aは第1実施形態の固定具1と多くの点で同じである。詳細には、固定具1Aは、プラスチック製のピン6Aと、プラスチック製のブッシュ7Aの2部品から成る点において、第1実施形態に係る固定具1と同じであり、ピン6Aとブッシュ7Aが仮連結状態に連結されて1物品として取扱われる点で、固定具1と同じである。また、仮連結状態の固定具1Aが、取付部材であるカーテンシールドエアバッグ2の取付部3の取付穴33と被取付部材であるボデーパネル5の取付穴38に挿入され、挿入後、ピン6Aがブッシュ7Aに押込まれて本止め状態にされてカーテンシールドエアバッグ2がボデーパネル5に連結されることも、固定具1と同じである。ピン6Aは、矩形板形状の頭部9と、頭部9の4隅付近から垂下するように延びる4本の脚部41とから成るが、ピン6Aの頭部9は、固定具1のピン6の頭部9と同じである。ブッシュ7Aは、フランジ42と、フランジ42から垂下する軸部18とを有するが、ブッシュ7Aの軸部18は、固定具1のブッシュ7の軸部18と同じであり、軸部18の弾性係止片19及び空間23は、固定具1の弾性係止片19及び空間23と同じである。また、ブッシュ7Aのフランジ42に形成された一対の立壁21は、固定具1の立壁21と同じである。これらの同じ構成要素の説明については、固定具1の対応する構成要素に関する説明を参照されたい。
上記のように、固定具1Aは、多くの点で、第1実施形態の固定具1と同じであるが、次の点で異なる。ピン6Aの脚部41は、固定具1のピン6の脚部10と異なる部分を有する。ブッシュ7Aのフランジ42は、固定具1のブッシュ7のフランジ17と異なる部分を有する。脚部41は、固定具1の脚部と違って、仮連結用係止突部と誤押込防止係止部と本止め用係止突部を持たず、それらに代えて、脚部41の先端(下端)に仮連結用係止凹部43が形成され、脚部41の中間高さ位置に、本止め用係止凹部45が形成されている。ブッシュ7Aのフランジ42は、固定具1のブッシュ7のフランジ17と殆ど同じで形状であるが、脚部41が貫通する穴の下部に弾性係止爪46が形成されている点で異なる。弾性係止爪46は、脚部41の仮連結用係止凹部43及び本止め用係止凹部45に係止する。図20〜図22の仮連結状態において、弾性係止爪46は、脚部41の仮連結係止凹部43に係止して仮連結状態を維持する。図28の右半分に示す本止め状態においては、脚部41が十分に押込まれて本止め用係止凹部45が弾性係止爪46に係止して、本止め状態を維持する。このように、脚部41の係止凹部43及び45は、フランジ42の弾性係止爪46に係止する構成であるので、脚部41には、固定具1の脚部10のように弾性が不要になり、脚部41の剛性を高くすることができる。
固定具1Aは、固定具1と同様に、仮連結状態では、弾性係止片19は空間23の中に撓むことができる状態にあり、ブッシュ7Aの軸部18を、カーテンシールドエアバッグの取付部3の取付穴に挿入するだけの簡単な操作で固定具1Aをカーテンシールドエアバッグ2の取付部3へ容易に仮止めでき、スペーサ34を仮止めできる。また、本止め状態において、各弾性係止片19の係止肩が空間23の中に撓むのを確実に阻止し、これによって、固定具1Aがエアバッグ取付部3をボデーパネル5に高い固定強度で連結する。
上記のように、本発明に係る固定具によれば、カーテンシールドエアバッグがボデーパネルに高い保持力で取付けられる。本発明に係る固定具は、その高い保持力を利用して、従来、ボルト及びナットによって締結していた部分に置き換えることができ、同様に、リベットによって締結していた部分に置き換えることができる。更に、本発明に係る固定具は、一方向からの作業で被取付部材を高い保持力を得ているので、ブラインドリベットによって締結していた部分においても置き換えることができる。
本発明の第1実施形態に係る、仮連結状態の固定具の斜視図である。 図1の固定具の正面図である。 図1の固定具の右側面図である。 図3の固定具のA−A線断面図である。 図1の固定具のピンの斜視図である。 図5のピンの正面図である。 図5のピンの右側面図である。 図1の固定具のブッシュの斜視図である。 図8のブッシュの正面図である。 図8のブッシュの右側面図である。 図9のブッシュのB−B線断面図である。 図8のブッシュの平面図である。 図9のブッシュのC−C線断面図である。 図9のブッシュのD−D線断面図である。 カーテンシールドエアバッグを自動車のボデーパネルに取付ける説明図である。 図1の固定具をカーテンシールドエアバッグの取付部及びスペーサに仮止めする様子を示す斜視図である。 図1の固定具を仮連結状態から本止め状態に移る途中の状態を示す、図4と同様の断面図である。 図1の固定具を用いて、カーテンシールドエアバッグをボデーパネルに本止めした状態を示す正面図である。 本止め状態にある、図18の固定具のE−E線断面図である。 本発明の第2実施形態に係る固定具の仮連結状態を示す斜視図である。 図20の固定具の正面図である。 図21の固定具のF−F線断面図である。 図20の固定具のピンの斜視図である。 図23のピンの右側面図である。 図20の固定具のブッシュの斜視図である。 図25のブッシュの正面図である。 図25のブッシュの右側面図である。 図20の固定具がカーテンシールドエアバッグ及びボデーパネルにスペーサを介して仮連結状態及び本止め状態にある正面図であって、図の左側半分においては固定具が仮連結状態にあり、右側半分においては固定具が本止め状態にあることを示す図である。
符号の説明
1:1A 固定具
2 カーテンシールドエアバッグ
3 カーテンシールドエアバッグの取付部
5 ボデーパネル
6:6A ピン
7:7A ブッシュ
9 ピンの頭部
10 ピンの脚部
11 凹部
13 仮連結用係止突部
14 誤押込防止係止部
15 本止め用係止突部
17 ブッシュのフランジ
18 ブッシュの軸部
19 弾性係止片
21 立壁
22 係止肩
23 空間
25 穴
26 軸柱
29 係止縁部
33 カーテンシールドエアバッグの取付穴
34 スペーサ
35 弾性片
37 スペーサの取付穴
38 ボデーパネルの取付穴
41 固定具1Aの脚部
42 固定具1Aのフランジ
43 仮連結用係止凹部
45 本止め用係止凹部
46 弾性係止爪

Claims (11)

  1. 頭部と該頭部から延びる脚部を有するピンと、フランジと該フランジから延びる軸部を有するブッシュと、の2部品から成り、前記フランジには前記脚部を受入れる穴が設けられ、前記軸部には前記穴を通った前記脚部を受入れる空間が設けられ、前記穴及び空間に前記脚部が挿入されることによって被取付部材に固定される、固定具であって、
    前記軸部には、前記フランジに隣接する位置において横方向外側に弾性的に張出す弾性係止片が、複数個、該軸部の周方向に間隔をおいて設けられ、該弾性係止片の各々は、前記軸部が被取付部材の取付穴に挿入されると前記フランジと該弾性係止片との間に前記被取付部材を挟持する係止肩を有し、
    前記軸部の空間は、前記弾性係止片のそれぞれに隣接するように該弾性係止片に対応して複数個形成され、前記フランジの穴も前記空間に対応して複数個形成されており、
    前記軸部は、前記弾性係止片及び前記空間を除いて、該軸部の中央部分を含む残りの部分が高い剛性の軸柱として形成されており、
    前記脚部は、前記穴及び空間のそれぞれに挿入されるように該穴及び空間に対応して複数個形成され、各脚部は、前記空間に十分に挿入されると前記弾性係止片が横方向内側に倒れるのを阻止して前記フランジと前記弾性係止片とによる前記被取付部材の挟持を維持する本止め状態となる形状に形成され、
    前記空間は、前記弾性係止片のそれぞれと前記軸柱との間のスリットとして形成され、前記脚部のそれぞれが前記空間の対応するそれぞれに十分に挿入される状態は、前記頭部が前記フランジに隣接するまで各脚部が各空間に挿入されることによって得られ、
    前記軸部の横断面はほぼ矩形に形成され、前記弾性係止片は、前記矩形の4個の隅部分に対応して4個形成されており、前記空間は、該弾性係止片に隣接して4個形成されており、前記脚部は、前記空間に対応して4個形成され、
    前記弾性係止片は、前記被取付部材の前記取付穴の4隅又はその近傍に係止する、ことを特徴とする固定具。
  2. 請求項に記載の固定具において、前記軸柱は、その横断面において、前記ほぼ矩形横断面の軸部を、前記4隅の弾性係止片及び隣接する前記空間以外の、軸部部分のほぼ全体を占めるように形成されている、ことを特徴とする固定具。
  3. 請求項に記載の固定具において、前記脚部のそれぞれと前記軸部のそれぞれとには、前記脚部が前記空間に途中まで挿入されて仮連結状態を得る仮連結手段が設けられ、前記仮連結状態において前記ピンと前記ブッシュとは連結されているが、前記脚部は前記弾性係止片に係合しない位置にあって該弾性係止片が横方向内側に撓むのを許す状態にある、ことを特徴とする固定具。
  4. 請求項3に記載の固定具において、前記仮連結手段は、前記仮連結状態において、不用意な弱い押込み力では前記ピンが前記ブッシュに押込まれないように維持する誤押込防止係止部を包含する、ことを特徴とする固定具。
  5. 請求項3に記載の固定具において、前記脚部には、仮連結用係止突部と本止め用係止突部が形成されており、該仮連結係止突部と該本止め用係止突部は、前記フランジの前記穴の縁部に係止する形状に形成されている、ことを特徴とする固定具。
  6. 請求項3に記載の固定具において、前記脚部には、仮連結用係止凹部と本止め用仮連結係止凹部が形成されており、該仮連結係止凹部と該本止め用係止凹部は、前記フランジの前記穴の内側に形成された弾性係止突部に選択的に係止する、ことを特徴とする固定具。
  7. 請求項又はのいずれか1項に記載の固定具において、前記ピンの前記頭部は、前記ブッシュの前記軸部の矩形の横断面に対応する矩形の平板形状に形成されている、ことを特徴とする固定具。
  8. 請求項に記載の固定具において、前記フランジには、前記仮連結状態にあって該フランジ面から軸方向に延び出ている前記頭部とほぼ同じ高さまで延びて、前記ピンを前記ブッシュに不用意に押込むのを阻止するが本止めのために前記ピンを前記ブッシュに押込むのには邪魔にならない間隔に離れている、一対の立壁が形成されている、ことを特徴とする固定具。
  9. 請求項3〜いずれか1項に記載の固定具において、前記被取付部材が、カーテンシールドエアバッグ取付部とボデーパネルとを包含し、前記フランジと前記弾性係止片とによってカーテンシールドエアバッグとボデーパネルとが連結される、ことを特徴とする固定具。
  10. 請求項に記載の固定具において、前記カーテンシールドエアバッグ取付部と前記ボデーパネルの間には、スペーサが設けられ、該スペーサには、前記カーテンシールドエアバッグ取付部と前記ボデーパネルとの間で弾性的に変形できる弾性片が形成されている、ことを特徴とする固定具。
  11. 請求項10に記載の固定具において、前記スペーサは、前記カーテンシールドエアバッグ取付部を貫通した前記軸部に取付けられて、当該固定具が該カーテンシールドエアバッグ取付部に前記仮連結状態で取付けられた状態に保持される、ことを特徴とする固定具。
JP2006193166A 2006-07-13 2006-07-13 高固定強度の固定具 Active JP4870488B2 (ja)

Priority Applications (3)

Application Number Priority Date Filing Date Title
JP2006193166A JP4870488B2 (ja) 2006-07-13 2006-07-13 高固定強度の固定具
US11/776,276 US7841817B2 (en) 2006-07-13 2007-07-11 Pin and bush fastener with high fastening strength, and airbag attached to vehicle body by such a fastener
EP07112286A EP1878925A2 (en) 2006-07-13 2007-07-11 Pin and bush fastener, and airbag attached to vehicle body by such a fastener

Applications Claiming Priority (1)

Application Number Priority Date Filing Date Title
JP2006193166A JP4870488B2 (ja) 2006-07-13 2006-07-13 高固定強度の固定具

Publications (2)

Publication Number Publication Date
JP2008020006A JP2008020006A (ja) 2008-01-31
JP4870488B2 true JP4870488B2 (ja) 2012-02-08

Family

ID=38595992

Family Applications (1)

Application Number Title Priority Date Filing Date
JP2006193166A Active JP4870488B2 (ja) 2006-07-13 2006-07-13 高固定強度の固定具

Country Status (3)

Country Link
US (1) US7841817B2 (ja)
EP (1) EP1878925A2 (ja)
JP (1) JP4870488B2 (ja)

Families Citing this family (47)

* Cited by examiner, † Cited by third party
Publication number Priority date Publication date Assignee Title
JP2006336821A (ja) * 2005-06-06 2006-12-14 Nippon Pop Rivets & Fasteners Ltd 高固定強度の固定具
EP1857333A3 (en) 2006-05-19 2008-06-25 Illinois Tool Works Inc. Fastener for air-bag curtain
US7562901B2 (en) * 2007-04-23 2009-07-21 Trw Vehicle Safety Systems Inc. Inflatable curtain module with push-in fastener
US7976056B2 (en) * 2007-05-09 2011-07-12 Illinois Tool Works Inc. Fastener clip and method of fabricating the same
JP4825761B2 (ja) * 2007-09-10 2011-11-30 本田技研工業株式会社 車両用クリップおよびそのクリップを用いる内装部材の取付方法
CN101861259B (zh) * 2007-11-16 2012-06-13 百乐仕株式会社 气囊用卡具
JP4970304B2 (ja) * 2008-02-21 2012-07-04 大和化成工業株式会社 二部材組付け構造
JP4970341B2 (ja) * 2008-05-15 2012-07-04 大和化成工業株式会社 二部材組付け構造
DE102008033694A1 (de) * 2008-07-17 2010-01-21 Trw Automotive Gmbh Gassackmodul mit einem Gassack, insbesondere einem Kopf-Seitengassack
US7871102B2 (en) * 2008-09-16 2011-01-18 Newfrey Llc Air bag fastener assembly
JP2010144900A (ja) * 2008-12-22 2010-07-01 Nippon Pop Rivets & Fasteners Ltd 固定具
SE533729C2 (sv) * 2009-04-06 2010-12-14 Illinois Tool Works Fästanordning för luftkudde av rullgardinstyp
KR101024110B1 (ko) 2009-08-10 2011-03-22 (주)에이패스 스티어링휠용 휠커버 조립방법
JP5550894B2 (ja) * 2009-12-18 2014-07-16 ポップリベット・ファスナー株式会社 クリップ
JP5378251B2 (ja) 2010-01-29 2013-12-25 大和化成工業株式会社 クリップ
DE102010006571A1 (de) * 2010-02-02 2011-08-04 TRW Automotive Electronics & Components GmbH, 78315 Baugruppe zur Befestigung eines Bauteils eines Fahrzeugs
WO2012082636A1 (en) * 2010-12-14 2012-06-21 Illinois Tool Works Inc. Rivet fastener
WO2012096103A1 (ja) * 2011-01-11 2012-07-19 オートリブ ディベロップメント エービー エアバッグ装置のカバー及びエアバッグ装置
US8677573B2 (en) 2011-03-24 2014-03-25 Ford Global Technologies, Llc Two stage serviceable safety clip
US20120311829A1 (en) * 2011-06-13 2012-12-13 Daniel James Dickinson Removable fastener clip
BE1020453A3 (nl) * 2011-12-01 2013-10-01 Unilin Bvba Meubel en werkwijze voor het vervaardigen van meubels.
KR101338745B1 (ko) * 2011-12-15 2013-12-06 현대자동차주식회사 테더 클립
JP5668716B2 (ja) * 2012-03-30 2015-02-12 トヨタ自動車株式会社 取付クリップおよびカーテンエアバッグ取付装置
JP5776644B2 (ja) * 2012-07-13 2015-09-09 トヨタ自動車株式会社 固定具およびカーテンエアバッグ固定装置
CN103917790B (zh) 2012-07-30 2015-11-25 丰田自动车株式会社 固定件、固定件拆除结构及帘式安全气囊固定装置
JP5904466B2 (ja) 2012-07-30 2016-04-13 ポップリベット・ファスナー株式会社 固定具
JP5817682B2 (ja) * 2012-08-24 2015-11-18 トヨタ自動車株式会社 カーテンエアバッグ取付クリップおよびカーテンエアバッグ取付装置
DE102013004515B4 (de) * 2013-03-15 2023-05-11 Anvis Deutschland Gmbh Einrichtung zum lösbaren Befestigen eines Montageteils
US9592786B2 (en) 2013-06-06 2017-03-14 Toyota Jidosha Kabushiki Kaisha Clip, curtain airbag mounting structure and pillar garnish mounting structure
JP5895948B2 (ja) 2014-01-09 2016-03-30 トヨタ自動車株式会社 クリップおよびピラーガーニッシュ取付構造
TWI548548B (zh) 2014-01-16 2016-09-11 提愛思科技股份有限公司 安裝構件及裝備氣囊模組之座椅
US9528540B2 (en) 2014-08-12 2016-12-27 Newfrey Llc Insertion-locking pin and grommet and related methods
JP6445846B2 (ja) * 2014-11-07 2018-12-26 株式会社パイオラックス 留め具
JP2016182846A (ja) * 2015-03-25 2016-10-20 東海興業株式会社 ドアアウターモールの取付構造
JP6281514B2 (ja) * 2015-03-26 2018-02-21 トヨタ自動車株式会社 取付クリップとそれを用いた被取付物取付構造
JP6229687B2 (ja) * 2015-03-26 2017-11-15 トヨタ自動車株式会社 取付クリップとそれを用いた被取付物取付構造
JP6435231B2 (ja) * 2015-04-15 2018-12-05 株式会社パイオラックス 留め具
CN108136939B (zh) * 2015-08-03 2021-02-05 延锋安道拓座椅机械部件有限公司 用于可纵向调节的座椅的轨道的止动件
JP6466310B2 (ja) * 2015-12-08 2019-02-06 株式会社ニフコ クリップ
JP6629789B2 (ja) * 2017-05-17 2020-01-15 株式会社ニフコ クリップ
EP3830431B1 (en) * 2018-07-27 2023-12-06 Illinois Tool Works, Inc. Fastener assembly and method
DE102018006297B4 (de) * 2018-08-09 2025-07-24 A. Raymond Et Cie Mehrteiliger Clip zum Befestigen eines Elementes an einem anderen Element
US11519446B2 (en) * 2018-11-05 2022-12-06 Illinois Tool Works Inc. Fastener feedback feature
US10900513B2 (en) 2019-04-02 2021-01-26 Newfrey Llc Re-usable one-push pin and grommet fastener
DE102020110407A1 (de) * 2020-04-16 2021-10-21 Illinois Tool Works Inc. Befestigungsvorrichtung zum Befestigen eines Bauteils an einem Trägerbauteil
KR102709305B1 (ko) * 2022-02-11 2024-09-25 주식회사 프로스코 클립 구조물
CN217435672U (zh) * 2022-02-23 2022-09-16 北京车和家汽车科技有限公司 气帘安装结构及车辆

Family Cites Families (14)

* Cited by examiner, † Cited by third party
Publication number Priority date Publication date Assignee Title
US2657894A (en) * 1950-02-25 1953-11-03 Illinois Tool Works Drive fastener support
JPH0185509U (ja) 1987-11-27 1989-06-07
JP2533058Y2 (ja) 1991-12-13 1997-04-16 矢崎総業株式会社 クリップ
JP2000240624A (ja) * 1999-02-23 2000-09-05 Sumitomo Wiring Syst Ltd ワイヤハーネスの車体パネル取付用のクランプ
US6511108B1 (en) * 1999-10-07 2003-01-28 E. J. Brooks Company Locking seal with distortable body
US6616479B1 (en) * 2002-03-08 2003-09-09 Hon Hai Precision Ind. Co., Ltd. Retention device for separable connection
US6910840B2 (en) * 2003-06-06 2005-06-28 National Molding Corp. Fastener
DE102004015940A1 (de) * 2003-06-06 2004-12-23 National Molding Corp. Befestigungsmittel
JP4152829B2 (ja) * 2003-07-31 2008-09-17 ポップリベット・ファスナー株式会社 カーテンシールドエアバッグ用クリップ
JP4446837B2 (ja) * 2004-08-26 2010-04-07 ポップリベット・ファスナー株式会社 連結装置
JP2006088985A (ja) * 2004-09-27 2006-04-06 Toyoda Gosei Co Ltd 頭部保護エアバッグ装置
JP4768254B2 (ja) * 2004-12-03 2011-09-07 株式会社ニフコ 留め具及びエアバッグ取付構造
JP4535892B2 (ja) * 2005-01-25 2010-09-01 ポップリベット・ファスナー株式会社 クリップ
JP2006336821A (ja) * 2005-06-06 2006-12-14 Nippon Pop Rivets & Fasteners Ltd 高固定強度の固定具

Also Published As

Publication number Publication date
US7841817B2 (en) 2010-11-30
US20080014045A1 (en) 2008-01-17
JP2008020006A (ja) 2008-01-31
EP1878925A2 (en) 2008-01-16

Similar Documents

Publication Publication Date Title
JP4870488B2 (ja) 高固定強度の固定具
JP4535892B2 (ja) クリップ
JP2006336821A (ja) 高固定強度の固定具
JP5668716B2 (ja) 取付クリップおよびカーテンエアバッグ取付装置
JP5776592B2 (ja) クリップおよびそれを用いたピラーガーニッシュまたはカーテンエアバッグ取付装置
JP2006007933A (ja) カーテンシールドエアバッグのガーニッシュ用クリップ
JP4768254B2 (ja) 留め具及びエアバッグ取付構造
JP2005047325A (ja) カーテンシールドエアバッグ用クリップ
JP5888346B2 (ja) クリップおよびピラーガーニッシュ取付構造
JP2010144900A (ja) 固定具
EP1857333A2 (en) Fastener for air-bag curtain
CN105308333A (zh) 夹子、帘式安全气囊安装结构及柱装饰件安装结构
JP5212771B2 (ja) カーテンサイドエアバッグ用トリムのトリムクリップ
CN101084136A (zh) 用于车辆附件固定的金属夹和使用其的车辆附件安装结构
JP5149597B2 (ja) 自動車の内装トリム取付構造
JP2010159013A (ja) エアバッグ用クリップの取付構造
JP5776644B2 (ja) 固定具およびカーテンエアバッグ固定装置
JP2009051272A (ja) カーテンサイドエアバッグ用トリム等のトリムクリップ
CN119590361A (zh) 紧固夹
KR20170067760A (ko) 에어백 테더링 클립 조립체
JP3964753B2 (ja) エアバッグの固定部構造
JP2001171438A (ja) 自動車用部品の取付装置
JP6623742B2 (ja) クリップおよびピラーガーニッシュ取付構造
JP4244132B2 (ja) クリップ
JP2009006887A (ja) カーテンエアバッグ装置

Legal Events

Date Code Title Description
A621 Written request for application examination

Free format text: JAPANESE INTERMEDIATE CODE: A621

Effective date: 20090713

A977 Report on retrieval

Free format text: JAPANESE INTERMEDIATE CODE: A971007

Effective date: 20100924

A131 Notification of reasons for refusal

Free format text: JAPANESE INTERMEDIATE CODE: A131

Effective date: 20110221

A521 Request for written amendment filed

Free format text: JAPANESE INTERMEDIATE CODE: A523

Effective date: 20110419

TRDD Decision of grant or rejection written
A01 Written decision to grant a patent or to grant a registration (utility model)

Free format text: JAPANESE INTERMEDIATE CODE: A01

Effective date: 20111107

A01 Written decision to grant a patent or to grant a registration (utility model)

Free format text: JAPANESE INTERMEDIATE CODE: A01

A61 First payment of annual fees (during grant procedure)

Free format text: JAPANESE INTERMEDIATE CODE: A61

Effective date: 20111117

R150 Certificate of patent or registration of utility model

Ref document number: 4870488

Country of ref document: JP

Free format text: JAPANESE INTERMEDIATE CODE: R150

Free format text: JAPANESE INTERMEDIATE CODE: R150

FPAY Renewal fee payment (event date is renewal date of database)

Free format text: PAYMENT UNTIL: 20141125

Year of fee payment: 3

R250 Receipt of annual fees

Free format text: JAPANESE INTERMEDIATE CODE: R250

R250 Receipt of annual fees

Free format text: JAPANESE INTERMEDIATE CODE: R250

R250 Receipt of annual fees

Free format text: JAPANESE INTERMEDIATE CODE: R250

R250 Receipt of annual fees

Free format text: JAPANESE INTERMEDIATE CODE: R250

R250 Receipt of annual fees

Free format text: JAPANESE INTERMEDIATE CODE: R250

R250 Receipt of annual fees

Free format text: JAPANESE INTERMEDIATE CODE: R250

R250 Receipt of annual fees

Free format text: JAPANESE INTERMEDIATE CODE: R250

R250 Receipt of annual fees

Free format text: JAPANESE INTERMEDIATE CODE: R250

R250 Receipt of annual fees

Free format text: JAPANESE INTERMEDIATE CODE: R250

R250 Receipt of annual fees

Free format text: JAPANESE INTERMEDIATE CODE: R250

R250 Receipt of annual fees

Free format text: JAPANESE INTERMEDIATE CODE: R250

R250 Receipt of annual fees

Free format text: JAPANESE INTERMEDIATE CODE: R250