JP4852257B2 - 溶液の塗布装置及び塗布方法 - Google Patents

溶液の塗布装置及び塗布方法 Download PDF

Info

Publication number
JP4852257B2
JP4852257B2 JP2005112370A JP2005112370A JP4852257B2 JP 4852257 B2 JP4852257 B2 JP 4852257B2 JP 2005112370 A JP2005112370 A JP 2005112370A JP 2005112370 A JP2005112370 A JP 2005112370A JP 4852257 B2 JP4852257 B2 JP 4852257B2
Authority
JP
Japan
Prior art keywords
solution
substrate
coating
pattern
peripheral portion
Prior art date
Legal status (The legal status is an assumption and is not a legal conclusion. Google has not performed a legal analysis and makes no representation as to the accuracy of the status listed.)
Expired - Lifetime
Application number
JP2005112370A
Other languages
English (en)
Other versions
JP2006289239A (ja
Inventor
保次 鶴岡
端生 鈴木
亮 生田
Current Assignee (The listed assignees may be inaccurate. Google has not performed a legal analysis and makes no representation or warranty as to the accuracy of the list.)
Shibaura Mechatronics Corp
Original Assignee
Shibaura Mechatronics Corp
Priority date (The priority date is an assumption and is not a legal conclusion. Google has not performed a legal analysis and makes no representation as to the accuracy of the date listed.)
Filing date
Publication date
Application filed by Shibaura Mechatronics Corp filed Critical Shibaura Mechatronics Corp
Priority to JP2005112370A priority Critical patent/JP4852257B2/ja
Publication of JP2006289239A publication Critical patent/JP2006289239A/ja
Application granted granted Critical
Publication of JP4852257B2 publication Critical patent/JP4852257B2/ja
Anticipated expiration legal-status Critical
Expired - Lifetime legal-status Critical Current

Links

Images

Landscapes

  • Coating Apparatus (AREA)
  • Ink Jet (AREA)
  • Application Of Or Painting With Fluid Materials (AREA)

Description

ヘッドに設けられたノズルから溶液をインクジェット方式によって噴射して基板に塗布する溶液の塗布装置及び塗布方法に関する。
一般に、液晶表示装置や半導体装置の製造工程においては、ガラス基板や半導体ウエハなどの基板に回路パターンを形成するための成膜プロセスがある。この成膜プロセスでは、基板の板面にたとえば配向膜やレジストなどの機能性薄膜が形成される。
基板に機能性薄膜を形成する場合、この機能性薄膜を形成する溶液をノズルから噴射して基板の板面に塗付するインクジェット方式の塗布装置が用いられることがある。
この塗付装置は、基板を搬送する搬送テーブルを有しており、この搬送テーブルの上方には、上記ノズルが複数穿設されたヘッドが基板の搬送方向に対してほぼ直交する方向に沿って延設されている。ヘッドには供給管を介して接続された溶液タンクから溶液が供給される。それによって、搬送される基板の上面には複数のノズルから溶液が所定間隔で噴射塗布され、最終的には基板に噴射塗布された各溶液同士が付着し合って矩形状のパターンの塗布膜が形成されるようになっている。このような技術はたとえば特許文献1に記載されている。
ところで、基板に溶液を矩形状のパターンで噴射塗布して乾燥させた場合、このパターンを形成する塗布膜は、周辺部が他の部分よりも厚くなるということがある。つまり、基板に塗布された溶液は乾燥時にパターンの端部での乾燥が他の部分よりも速いため、乾燥の遅い部分の溶液が端部に流れ込み、その端部が盛り上がって他の部分よりも厚くなるということがあった。
塗布膜の周辺部の厚さが他の部分に比べて厚くなると、塗布後に行われるコンタクト露光などの際に悪影響を及ぼすということがある。そこで、塗布膜の周辺部の厚さが他の部分に比べて厚くなるのを防止するため、たとえば、基板に塗布される溶液のパターン領域の外側にさらに同溶液を塗布するということが行われる。このような従来技術はたとえば特許文献1に開示されている。
特開平09−105938号公報
基板に塗布されるパターンの外側にさらに溶液を塗布すれば、パターンの周辺部が溶媒雰囲気となって端部の乾燥速度が遅くなる。その結果、溶液が端部に寄るのが防止され、パターン端部の膜厚が厚くなるのを抑制することができる。
しかしながら、パターンの外側にさらに溶液を塗布するようにすると、その塗布に余計な時間が掛かるから、生産性の低下を招くということがあるばかりか、溶液が高価な場合にはコストアップの要因になるということがあり、実用上、好ましくないということがあった。
この発明は、パターンの外側にさらに溶液を塗布するということなく、そのパターンの周辺部の膜厚が他の部分よりも厚くなるのを防止することを可能とする溶液の塗布装置及び塗布方法を提供することにある。
この発明は、基板に溶液を所定のパターンで塗布して塗布膜を形成する塗布装置であって、
上記溶液を上記基板に噴射塗布する複数のノズルを有するヘッドと、
上記基板が上記ヘッドの下方を所定方向に沿って通過するようこれら基板とヘッドを相対的に移動させる搬送手段と、
上記ノズルから上記基板に溶液を噴射塗布する際、上記パターンの周辺部となる部分に塗布する溶液の量を周辺部よりも内側となる部分に塗布する量よりも少なくし、上記パターンの周辺部における溶液の供給を、溶液の供給量が最も少ない第1の部分と、この第1の部分よりも外側であって上記第1の部分よりも供給量の多い第2の部分とに分けて制御する制御手段と
具備したことを特徴とする溶液の塗布装置にある。
この発明は、ヘッドに設けられた複数のノズルから基板に溶液を所定のパターンで噴射塗布して塗布膜を形成する塗布方法であって、
上記基板が上記ヘッドの下方を通過するよう上記基板と上記ヘッドを相対的に所定方向に沿って移動させる工程と、
上記溶液を上記基板に噴射塗布する工程であって、上記パターンの周辺部となる部分に噴射される溶液の量が上記周辺部よりも内側となる部分に噴射される量よりも少なくし、上記パターンの周辺部における溶液の供給を、溶液の供給量が最も少ない第1の部分と、この第1の部分よりも外側であって上記第1の部分よりも供給量の多い第2の部分とに分けて噴射塗布する工程と
を具備したことを特徴とする溶液の塗布方法にある。
この発明によれば、パターンの外側に溶液を塗布せずに、このパターンの端部における塗布膜の厚さが他の部分よりも厚くなるのを防止することができる。
以下、図面を参照しながらこの発明の実施の形態を説明する。
図1と図2はこの発明を適用した溶液の塗布装置を示し、この塗布装置はベース1を有する。ベース1の上面には所定間隔で離間した一対のレール2がベース1の長手方向に沿って設けられている。上記レール2にはテーブル3が走行可能に設けられ、図示しない駆動源によって走行駆動されるようになっている。テーブル3の上面には多数の支持ピン4が設けられ、これら支持ピン4にはたとえば液晶表示装置に用いられるガラス製の基板Wが供給支持される。
各支持ピン4には図示しない吸引孔が上端に開口して形成されている。これらの吸引孔には図示しない吸引ポンプが接続されている。したがって、基板Wは支持ピン4によって吸着保持されるようになっている。そして、支持ピン4に吸着保持ざれた基板Wは、テーブル3がレール2に沿って移動することにより、同方向に走行可能となっている。
なお、支持ピン4は基板Wとの接触面積を小さくし、支持ピン4によって基板Wの温度分布にばらつきが生じないようにするため、先端に行くにつれて細くなる形状、たとえば錐状が好ましい。
上記テーブル3とともに駆動される基板Wの上方には、上記基板Wに、たとえば配向膜やフォトレジストなどの機能性薄膜を形成するための溶液をインクジェット方式で噴射塗布する複数のヘッド、この実施の形態では3つのヘッド7A〜7Cが基板Wの走行方向(搬送方向)と交差する方向に沿って一列に配設されている。
各ヘッド7A〜7Cは図3に示すようにヘッド本体8を備えている。ヘッド本体8は筒状に形成され、その下面開口は可撓板9によって閉塞されている。この可撓板9はノズルプレート11によって覆われており、このノズルプレート11と上記可撓板9との間に複数の液室12が形成されている。
各液室12は、ノズルプレート11内に形成された主管11Aに不図示の枝管を介してそれぞれ連通されていて、主管11Aからこの枝管を介して溶液が各液室12に供給される。主管11Aは、一端が後述する給液孔13に接続され、他端が後述する回収孔17に接続される。
上記ヘッド本体8の長手方向一端部には上記液室12に連通する給液孔13が形成されている。この給液孔13から上記液室12にはたとえば配向膜やレジストなどの機能性薄膜を形成する溶液が供給される。それによって、上記液室12内は溶液で満たされるようになっている。
図4に示すように、上記ノズルプレート11には、基板Wの搬送方向に直交する方向に沿って複数のノズル14が千鳥状に穿設されている。上記可撓板9の上面には、図3に示すように上記各ノズル14にそれぞれ対向して複数の圧電素子15が設けられている。
各圧電素子15は上記ヘッド本体8内に設けられた駆動部16によって駆動電圧が供給される。それによって、圧電素子15は伸縮し、可撓板9を部分的に変形させるから、その圧電素子15に対向位置するノズル14から溶液が搬送される基板Wの上面に噴射塗付される。
なお、圧電素子15に印加する電圧の強さを変えて圧電素子15の作動量を制御すれば、各圧電素子15が対向するノズル14からの溶液の吐出量を変えることができる。
図3に示すように、上記ヘッド本体8の長手方向他端部には上記液室12に連通する回収孔17が形成されている。上記給液孔13から液室12に供給された溶液は、上記回収孔17から回収することができるようになっている。すなわち、各ヘッド7A〜7Cは上記液室12に供給された溶液をノズル14から噴射させるだけでなく、上記液室12を通じて上記回収孔17から回収することが可能となっている。
図1に示すように、各ヘッド7A〜7Cの給液孔13には溶液供給管21から分岐された供給分岐管22が接続され、回収孔17には回収管23から分岐された回収分岐管24が接続されている。上記供給分岐管22には供給開閉弁25が設けられ、回収分岐管24には回収開閉弁26が設けられている。上記供給管21と回収管23との先端は連通弁27を介して接続されている。さらに、回収管23には回収分岐管24よりも基端側の部分に主回収弁28が設けられている。
上記溶液供給管21の基端は上記溶液Lが収容された溶液タンク31の底部に接続されている。上記回収管23の基端は上記溶液タンク31に供給する溶液Lを貯蔵した貯蔵タンク32に接続されている。回収管23の基端部からは供給弁33を有する供給分岐管34が分岐され、この供給分岐管34は上記溶液タンク31の底部に接続されている。
上記溶液タンク31の上部には大気開放管35が接続されている。この大気開放管35には第1の開閉制御弁36が設けられている。第1の開閉制御弁36が開放されれば、上記溶液タンク31内が大気に連通される。なお、大気開放管35は、この大気開放管35から後述するように大気に放散される気体に含まれる気化溶媒を処理するための図示しない処理装置を介して大気に連通する。したがって、大気開放管35を流れる気体は抵抗を受けることになる。
上記溶液タンク31の上部には第2の開閉制御弁37が設けられたガス供給管38が接続されている。このガス供給管38には、図示しないガス供給源から窒素などの不活性ガスが供給されるようになっている。
上記ガス供給管38には、上記第2の開閉制御弁37よりも上流側にフィルタ39と第3の開閉制御弁40とが順次接続されている。第3の開閉制御弁40には流量絞り弁41が並列に設けられている。この流量絞り弁41と上記第3の開閉制御弁40とでガス流量制御手段を構成している。
上記貯蔵タンク32の上部には、上記溶液タンク31と同様、第4の開閉制御弁43を有する大気開放管44が接続されている。さらに、第5の開閉制御弁45を有するガス供給管46が接続されている。このガス供給管46にはフィルタ47及び第6の開閉制御弁48が順次接続されている。第6の開閉制御弁48には流量絞り弁49が並列に設けられている。
なお、図5に示すように、上記供給開閉弁25、回収開閉弁26、主回収弁28、供給弁33、第1乃至第6の開閉制御弁36,37,40,43,45,48及び各ヘッド7A〜7Cに設けられた圧電素子15は制御装置100によって開閉及び供給電圧が制御されるようになっている。
さらに、溶液タンク31内の溶液Lの液面はレベルセンサ50によって検出される。溶液Lの液面が所定以下になったことがレベルセンサ50によって検出されると、その検出に基いて貯蔵タンク32から溶液Lが補給される。つまり、貯蔵タンク32内の溶液Lが第5の開閉制御弁45を通じて供給される不活性ガスによって加圧されることで、上記溶液Lが上記溶液タンク31に補給され、これにより、溶液タンク31内の溶液Lの液面が一定高さになるよう制御される。なお、この実施の形態においては、溶液タンク31内の溶液Lの液面は、ヘッド7A〜7Cのノズル面よりも所定寸法低い位置に設定され、図1に示す水頭差hを維持するように制御される。
図2に示すように、上記テーブル3の一端面には側面形状がL字状の取付け部材51が垂直な一辺を上記テーブル3の端面に固定して設けられている。この取付け部材51の水平な他辺には上下シリンダ52が軸線を垂直にして設けられている。
上記上下シリンダ52のロッドには弾性部材53を介して載置板54が取付けられている。この載置板54の上面には各ヘッド7A〜7Cに対応する長さのブレード状のゴムなどの弾性材からなる3つの押え部材55がそれぞれ保持部材56に上下方向に変位可能に保持されている。各押え部材55は上記保持部材56に設けられたばね57によって上昇方向に弾性的に付勢されている。
上記載置板54には上記押え部材55と並列にブレード状のゴムなどの弾性材によって形成されたワイピング部材58設けられている。このワイピング部材58は上記押え部材55よりも背が高く形成されている。
上記載置板54は回収槽61の内底部に設けられている。この回収槽61の一側にはガイド板62が設けられ、このガイド板62にはガイド部材63が設けられている。このガイド部材63は上記テーブル3の端面に上下方向に沿って設けられたガイドレール64にガイドされて上下動可能となっている。
それによって、上記上下シリンダ52が駆動されれば、上記載置板54が駆動されるとともに、ガイド板62がガイドレール64に沿って上下動するから、載置板54が前後左右方向に振れるのが規制されて上下動する。
上記回収槽61には図1に示す回収タンク65が接続されている。この回収タンク65は、上記ヘッド7のノズル14の気泡抜きを行なう際、ノズル14から回収槽61に噴射される溶液を回収する。
上記載置板54を上昇させ、押え部材55によって各ヘッド7A〜7Cのノズル14を閉塞すれば、溶液タンク31内の溶液Lを各ヘッド7A〜7Cの給液孔13から液室12及び回収孔17を通して循環させることができる。それによって、供給管21、ヘッド7A〜7C及び回収管23の気泡抜きを行うことができる。
基板Wへ溶液Lを塗布する際、ワイピング部材58をヘッド7A〜7Cのノズル14が開口したノズル面に接触する高さに設定しておけば、基板Wがヘッド7A〜7Cの下方を往復動する際にノズル面に付着残留する溶液Lを上記ワイピング部材58で拭き取ることができる。
つぎに、上記構成の塗布装置によって基板Wに溶液Lを塗布する場合について説明する。
基板Wに溶液Lを噴射塗布する場合、第2の開閉制御弁37を閉じた状態とし、溶液タンク31への不活性ガスの供給を遮断する。一方、第1の開閉制御弁36を開き、溶液タンク31内を大気圧とする。基板Wがテーブル3によってヘッド7A〜7Cの下方に搬送されてきたならば、制御装置100から駆動部16を介して各圧電素子15に通電し、各ヘッド7A〜7Cの液室12に供給された溶液Lを圧電素子15によって加圧し、ノズル14から基板Wに溶液Lを噴射させる。それによって、基板Wには溶液を噴射塗布することができる。
溶液Lをノズル14から噴射させるときや溶液タンク31に溶液を補給する際には、溶液タンク31への不活性ガスの供給を停止させ、そして溶液タンク31内を大気圧とするため、溶液タンク31内の溶液Lの液面に作用する圧力はヘッド7A〜7Cのノズル面に作用する圧力と同じ大気圧となり、その液面とヘッド7A〜7Cのノズル面との水頭差hが変動するのが防止される。
つまり、溶液Lは予め設定された水頭差hのもとで圧電素子15の作動によってノズル14から噴射される。そのため、各ノズル14から所定量の溶液Lを精密に噴射することができるから、溶液Lを基板Wに矩形状の塗布パターンPで塗布することが可能となる。
基板Wに溶液Lを噴射塗布する際、矩形状の塗布パターンPの周辺部の膜厚が他の部分である、中央部に比べて厚くなるのを上述した理由によって防止する必要がある。そのため、本実施の形態では、以下の手段によって塗布パターンPの周辺部の膜厚が他の部分に比べて厚くならないようにしている。
まず、第1の手段としては、塗布パターンPの周辺部に塗布される溶液Lの量を周辺部以外の部分よりも少なくする。たとえば、3つのヘッドを7A〜7Cにはそれぞれ10個のノズル14が形成されていると仮定する。
そして、それぞれのノズル14のナンバーを左端から順にN1〜N30とした場合、図6(a)に示すように塗布パターンPの幅方向両端に溶液Lを噴射するヘッド7Aの左端の3つのノズルN1〜N3と、ヘッド7Cの右端の3つのノズルN28〜N30から噴射される溶液Lの吐出量を、制御装置100によって他のノズルN4〜N27から噴射される溶液の量よりも10〜30パーセント少なくなるよう制御する。
つまり、制御装置100によって各ヘッド7A〜7Cの圧電素子15に供給される電圧を制御する。それによって、塗布パターンPの周辺部のうち、幅方向の両端部への溶液Lの供給量を減少させることができる。
また、塗布パターンPの周辺部のうち、幅方向と交差する送り方向においては、3つのヘッド7A〜7Cの全てのノズルN1〜N30から噴射される溶液の量を、塗布開始から3回までの吐出量と、塗布終了前から3回の吐出量を、それぞれ10〜30パーセント少なくする。それによって、塗布パターンPの周辺部全体に供給される溶液Lの量を、他の
部分よりも少なくすることができる。
なお、塗布パターンPの周辺部の領域、つまり溶液Lの供給量を少なくする領域の幅は2mmとすることが好ましいが、その幅寸法は塗布パターンPの大きさや有効面積などの条件によって異なってくる。
ちなみに、この実施の形態では、ノズル14の列方向(塗布パターンPの幅方向)におけるノズル3個分の距離を2mmに設定し、また同一ノズル14から溶液Lを3回噴射させる間に基板WをパターンPの幅方向と交差する送り方向に2mm搬送するようになっている。
基板Wに塗布された溶液Lの塗布パターンPは、レベリング工程や乾燥工程のときに、外気との接触度合が高い周辺部が中央部よりも乾燥速度が速いため、先に乾燥する。そのため、塗布パターンPの中央部の溶液Lが周辺部に寄ってきて(流れ込み)、塗布パターンPの周辺部の膜厚が中央部に比べて厚くなるということがある。
しかしながら、第1の手段によれば、塗布パターンPの周辺部は中央部に比べて溶液Lの供給量を少なくしている。そのため、塗布パターンPの中央部から周辺部に溶液Lが寄ってきても、周辺部の溶液Lの量はもともと少ないから、周辺部の膜厚が中央部に比べて厚くなるが防止され、図6(b)に示すように塗布パターンP全体の膜厚をほぼ均一にすることが可能となる。
なお、塗布パターンPの周辺部への溶液Lの供給量を、それ以外の部分に対する供給量に対して10〜30パーセントの範囲で減少させるように調整すると好ましい。
これは、周辺部へ供給する溶液Lの減少量が10パーセント以下であると、中央部との供給量の差が小さいため、周辺部の膜厚が中央部よりも厚くなることがあり、逆に周辺部へ供給する溶液Lの減少量が30パーセント以上であると、圧電素子14による吐出量の制御が安定しないなどのことがあげられる。
なお、塗布パターンPの周辺部の膜厚が中央部よりも厚くなった場合であって、その厚さが許容範囲内であれば差し支えない。また、吐出量を減少させるノズル数を3つとしたが、これに限定されることなく、塗布パターンPの大きさや有効面積などの条件によって適宜設定されるものである。
図7(a),(b)は第2の手段を示す。この第2の手段は、図7(a)に示すように、ヘッド7Aの左端の3つのノズルN1〜N3と、ヘッド7Cの右端の3つのノズルN28〜N30のうち、左右両端に位置するノズルN1、N30を除くそれぞれ2つのノズルN2、N3及びN28,N29から噴射される溶液の吐出量を、他のノズルN1、N4〜N27、N30から噴射される溶液の量よりも10〜30パーセント少なくなるよう制御する。
幅方向の両端に位置するノズルN1、N30からの溶液Lの吐出量は、他のノズルN4〜N27から噴射される溶液の量と同じにする。なお、ノズルN1、N30からの吐出量は、他のノズルN4〜N27から噴射される溶液の量よりも少なく、しかも幅方向両端部の2つのノズルN2、N3及びN28,N29から噴射される溶液の量よりも多くなるように設定してもよい。
塗布パターンPの幅方向と交差する送り方向の両端部においては、塗布開始から2回目と3回目及び、塗布終了の3回前と2回前における3つのヘッド7A〜7Cの全てのノズルN1〜N30から噴射される溶液の量を、10〜30パーセント少なくする。それによって、塗布パターンPの幅方向両端部だけでなく、前後方向の両端部、つまり塗布パターンPの周辺部全体に溶液Lを同じ条件で噴射塗布することができる。
このようにして溶液Lを塗布すれば、塗布された溶液Lを平坦化(レベリング)してから乾燥する際、塗布パターンPの溶液Lの供給量が少ない部分、つまり最も外側である外縁よりもわずかに内側の部分が外縁よりも速く乾燥し、その乾燥した部分に溶液が寄る。
そのため、図7(b)に示すようにパターンPの外縁の膜厚が他の部分よりも厚くなることを防止することができる。また、溶液Lが寄る、外縁よりも内側の部分は、もともと溶液Lの供給量が他の部分よりも少ないから、この部分に溶液Lが寄っても、膜厚が他の部分よりも厚くなるのを防止することができる。
図8(a)〜(c)は第3の手段を示す。この手段は、塗布パターンPの幅方向両端部及び幅方向と交差する送り方向の両端部の、周辺部に溶液Lを塗布する際、最初に塗布パターンPの外縁よりも、外縁から内方へ2つ目の位置に対応するノズル14から溶液Lを塗布する。
具体的には、ヘッド7A〜7Cは図4に示すように複数個のノズル14が2列に千鳥状に形成されている。なお、それぞれの列をB1、B2と仮定する。基板Wが所定方向に搬送されると、B1列のノズル14が基板Wに対向してからB2列のノズル14が基板Wに対向するようになっている。
各ヘッド7A〜7CのB1列の両端のノズル14はB2列の両端のノズル14よりも幅方向内側に位置している。そのため、基板WにおけるパターンPの予定箇所がヘッド7A〜7Cの下方に到達したならば、図8(a)に示すようにB1列のノズル14から溶液Lを噴射塗布し、所定時間経過してから、つぎに図8(b)に示すようにB2列のノズル14から溶液Lを、B1列のノズル14から噴射塗布された溶液Lと一列になるよう噴射塗布する。
すなわち、基板Wには、まず、B1列のノズル14から溶液Lが噴射塗布され、ついでB2列のノズル14から溶液Lが噴射塗布されることになるから、塗布パターンPの幅方向両端においては、B1列のノズル14によってその塗布パターンPの外縁からノズル14の1ピッチ分だけ内方の位置から溶液が噴射されたのち、B2列のノズル14によって外縁の部位に溶液Lが塗布されることになる。
なお、この実施の形態では、B1列の左右の両端に位置するノズル14及びB2列の左右両端の2つのノズル14から噴射される溶液Lの量を、他のノズル14から噴射される溶液の量よりも10〜30パーセント少なくなるよう制御している。
このように、基板Wに溶液Lを幅方向に沿って一列に塗布する際に、その列内において時間差をもって塗布するようにしたから、最初に塗布された溶液Lが次に塗布された溶液Lよりも先に乾燥する。
そのため、図8(a)に示すように基板Wに最初に塗布されて乾燥が進んだB1列の溶液Lに対し、図8(b)に矢印で示すようにつぎに塗布されたB2列のノズル14から塗布された溶液Lが寄ることになる。
その際、塗布パターンPの幅方向の端部において、外縁よりも内側に塗布された溶液L(図8(a)にL1で示す)は、それよりも後に塗布された塗布パターンPの外縁に塗布された溶液L(図8(b)にL2で示す)よりも先に乾燥して硬化している。そのため、外縁に塗布された溶液L2は外縁の内側の溶液L1に寄るため、図8(c)に示すように塗布パターンPの周辺部の膜厚が他の部分よりも厚くなることが防止できる。
しかも、B1列とB2列の端部から噴射される溶液Lの量を他のノズル14から噴射される溶液の量よりも少なくしたから、そのことによっても図8(c)に示すように塗布パターンPの幅方向両端部の膜厚が他の部分よりも厚くなることを防止できる。
塗布パターンPの幅方向と交差する送り方向の両端部のうちの先端部においては、次のように溶液Lの塗布を行なう。まず、基板Wを移動させて基板Wにおける塗布パターンPの先頭部から2列目の部分を各ヘッド7A〜7CのB1列に対向させ、このB1列のノズルから溶液Lを吐出させる。次に、同2列目がB2列に対向するように基板Wを移動させ、このB2列のノズルから溶液を吐出させる。
次に、塗布パターンPの1列目の部分を各ヘッド7A〜7CのB1列に対向するように基板Wを移動させて、このB1列のノズルから溶液を吐出させ、そして同1列目がB2列に対向するように基板Wを移動させ、このB2列のノズルから溶液Lを吐出させる。この後は、3列目から順次図8を用いて説明した要領で溶液Lを塗布する。
一方、送り方向の後端部では、B1列のノズル14によって溶液Lを塗布し、その部位がB2列の下方に搬送されてきたならば、B2列のノズル14から溶液Lを噴射させる。それによって、塗布パターンPの幅方向だけでなく、幅方向と交差する送り方向、つまり塗布パターンPの周辺部全体に同じ条件で溶液Lを塗布することができる。
なお、B1列のノズル14から溶液Lを噴射してから、B2列のノズル14から溶液Lを噴射するまでの時間は、B1列とB2列との間隔をR、基板Wの搬送速度をVとした場合、R/Vとした。それによって、乾燥処理後における塗布パターンPの周辺部の膜厚を他の部分よりも薄くできることが実験によって確認することができた。
なお、この第3の手段においては、ヘッド7A〜7Cにノズル14が2列に形成されている場合の塗布方法について説明したが、ヘッド7A〜7Cに形成されるノズル14が一列の場合であっても、その列における各ノズル14からの溶液Lの噴射のタイミングを制御することで、塗布パターンPの外縁に対応する位置への噴射を、外縁よりも内側に対応する位置への噴射よりも所定時間遅らせて行うことが可能である。
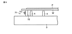
図9は第4の手段を示す。この手段は溶液が塗布される支持ピン4によって支持された基板Wの周辺部を冷却手段71によって冷却するようにした。この冷却手段71はテーブル3の上面に設けられ、上端を基板Wの下面に接触させた冷却プレート72を有する。この冷却プレート72の上端は、基板Wの上面に塗布される溶液Lによって形成される塗布パターンPの周縁部に対応する位置に接触している。
上記冷却プレート72の外面にはパイプ73が設けられている。このパイプ73には図示しない熱交換器によって冷却された液体や気体などの冷却媒体が流される。それによって、基板Wに塗布された溶液Lのうち、塗布パターンPの周辺部の溶液Lは、他の部分の溶液Lよりも温度が低く、その結果、レベリング時における塗布パターンPの周辺部の溶液Lの乾燥速度が中央部よりも遅くなり、溶液Lが塗布パターンPの外縁に寄り難くなるから、塗布パターンPの周辺部の膜厚が中央部に比べて厚くなることを防止することが可能となる。
図9の第4の手段に代えて塗布パターンPの周縁部を加熱手段によって加熱する第5の手段を適用することもできる。その場合、図9に示す冷却プレート72が加熱プレートになり、パイプ73には冷却媒体に代わり、加熱媒体が流される。
加熱手段によって塗布パターンPの周辺部が加熱されると、その周辺部が中央部に比べて粘度が低い状態とされる。そのため、乾燥工程の初期段階では周辺部の溶液Lが中央部に移動する傾向が生じる。
その後、乾燥が進むと、周辺部の溶液Lの粘度が高くなり、中央部の溶液Lが周辺部に寄ろうとするが、溶液は乾燥の初期段階で周辺部から中央部に寄っているので、最終的に周辺部の膜厚が中央部に比べて厚くなるのを防止することができる。
また、塗布パターンPの周辺部だけが加熱されるため、溶液Lの温度差によって膜厚が変化する部分は塗布パターンPの周辺部だけになる。つまり、膜厚が不均一になり得る部分を少なくできるから、塗布膜の品質を向上させることができる。
なお、冷却手段71によって冷却する場合も、加熱手段によって加熱する場合と同様、膜厚が不均一になり得る部分を少なくすることができる。
図10は冷却手段71の変形例を示す第6の手段である。この冷却手段71は基板Wがレベリング用のステージ74の上面に接触して設けられる場合で、上記ステージ74には基板Wの上面に形成された塗布パターンPの周辺部に対応する部分に、溝75が形成されている。
ステージ74に溝75を形成することで、基板Wの溝75に対応する部分の温度が低くなる。つまり、基板Wに塗布される溶液Lが乾燥するとき、溶液内の溶媒の気化により気化熱が基板Wから奪われるが、基板Wにおいてステージ74の溝75に対応する部分では、ステージ74に接触している部分よりもステージ74からの熱伝導が妨げられる。ステージ74は室温でも加熱されていてもかまわない。
その結果、塗布パターンPの周辺部の溶液Lが他の部分よりも冷却され易くなるため、中央部から周辺部への溶液の流れが制限され、塗布パターンPの周辺部の膜厚が他の部分よりも厚くなることを防止することができる。
図11は第7の手段であって、基板Wに塗布される溶液Lによって形成される塗布パターンPの周辺部のうち、少なくとも四隅部を他の部分と分離して塗布するようにした。つまり、この実施の形態では塗布パターンPにおける四隅部を矩形状の分離パターンSとして形成する。分離パターンSを形成することで、この分離パターンSとこの分離パターンS以外の塗布パターンPとの境界部76が溶媒雰囲気となる。溶媒雰囲気となると、その部分の溶液Lは大気に直接触れる部分に比べて乾燥し難くなる。
その結果、塗布パターンPの四隅部が他の部分よりも速く乾燥するのを防止し、その四隅部に溶液Lが寄るのを防止するから、塗布パターンPの四隅部の膜厚が他の部分よりも厚くなるのを阻止することができる。
なお、分離パターンSは塗布された溶液Lをレベリング工程でレベリングされるときに他の塗布パターンPと一体的になるから、最終的には1つの矩形状の塗布パターンPとすることができる。
なお、図11における境界部76は、基板Wが搬送される過程において、境界部76に相当する部分がヘッド7A〜7Cの下方を通過するタイミングで境界部76に対向したノズル14から溶液Lの噴射を停止させることで形成することができる。
図11では膜厚が最も厚くなり易い塗布パターンPにおける四隅部だけを分離パターンSとしたが、周辺部全体を分離すれば、周辺部全体の膜厚を他の部分よりも薄くすることが可能である。
図12(a),(b)は第8の手段であって、図12(a)に示すようにヘッド7A〜7Cよりもテーブル3の移動方向の下流側にはディスペンサ81が配置されている。このディスペンサ81は制御装置100の制御下で、図示しない駆動機構によってX方向、Y方向及びZ方向に駆動可能となっていて、基板Wに塗布される溶液Lに含まれるものと同じ種類の溶媒を上記基板Wに供給することができるようになっている。
図12(b)に示すように、基板Wに溶液Lが所定の塗布パターンPで塗布されたならば、基板Wをディスペンサ81の下方に位置決めし、ついでディスペンサ81を所定の位置まで下降させた後、X、Y方向に駆動し、基板Wの上面に形成された塗布パターンPの周囲に溶媒Kを枠状に塗布する。塗布パターンPの外縁と、溶媒Kとの間隔は1〜3mm程度が好ましい。
このように、溶液Lの塗布直後に塗布パターンPの周囲に溶媒Kを塗布すれば、塗布パタンーンPの周縁部が溶媒雰囲気となる。そのため、塗布パターンPの周縁部の乾燥速度を遅くし、塗布後のレベリング時及び乾燥時に溶液Lが塗布パターンPの周辺部に寄るのを防止できるから、塗布パターンPの周辺部の膜厚が厚くなるのを防止できる。
また、溶媒Kは溶液Lに比べて安価であるから、溶液Lを塗布パターンPの周辺部に塗布して溶媒雰囲気を形成する場合に比べてコスト的に有利である。また、溶媒Kは蒸発してなくなるから、塗布パターンPの周辺部に不要物が残留することが防止でき、製品の品質を損ねることもない。
図13(a),(b)は第9の手段であって、この手段は図13(a)に示すように基板Wに塗布される溶液Lの塗布パターンPの周縁部を波型状にし、このパターンPの外周長を長くする。
具体的には、図13(b)に示すように塗布パターンPを形成するために基板WにドットDで供給塗布される溶液Lのうち、塗布パターンPの周辺部に供給されるドットDの一部を間引くようにする。この実施の形態では、幅方向の両端部ではドットDを、その直径の3倍の間隔C1で間引き、送り方向の両端ではドットDの直径の2倍の間隔C2で間引くようにする。なお、間引きの間隔は種々設定可能である。
塗布パターンPの周辺部に塗布される溶液Lのドットを間引いてレベリングすれば、塗布パターンPの外周が波型状となるから、その外周長が長くなる。外周長が長くなれば、たとえ塗布パターンPの周縁部の溶液Lが速く乾燥し、その周縁部に溶液Lが寄ってきても、単位長さ当たりに集まる溶液Lの量が減少する。そのため、外周長が短い塗布パターンPに比べ、周辺部の膜厚が厚くなるのを防止することが可能となる。
図14(a),(b)は第10の手段であって、この手段は基板Wの溶液Lを所定の塗布パターンPで塗布した後、溶液Lの厚さが均一になるよう基板Wをステージ74に載置してレンベリングする際、この基板Wの上面の中央部分から周辺部に向かって気体を流すことで、上記塗布パターンPの周辺部の膜厚が厚くなるのを防止するようにしている。
具体的には、基板Wに溶液Lが塗布されたならば、その基板を図示しないハンドリングロボットによってテーブル3から取り出し、図14(a)に示すようにステージ74上に載置する。
上記ステージ74は平面形状が矩形状であって、その外周面には全長にわたってダクト86が設けられている。ダクト86の上面には複数の吸引孔87が所定間隔で形成され、下面には吸引管88が接続されている。この吸引管88は図示しない吸引ポンプに接続されている。
上記ダクト86の上記ステージ74の各辺に対応する外面には、カバー89が一端を回動可能に連結して設けられている。カバー89を図に鎖線で示す状態から実線で示すように回動させ、その他端部をステージ74上に供給された基板Wに対向させると、このカバー89の他端部は図14(b)に示すように上記基板Wの周辺部の上面に、この基板Wの上面と所定の間隔を介して対向する。この間隔は1〜3mmが好ましい。
この状態で、吸引管88に接続された吸引ポンプを作動させ、ダクト86の上面に開口形成された吸引孔89に吸引力を発生させれば、図14(a)に矢印で示すように基板Wの上面の中央部から周辺部に向かう気流が生じる。
基板Wの上面の中央部から周辺部に向かう気流によって、溶液Lに含まれる溶媒が蒸発して基板Wの上面の周辺部に流れるから、基板Wの周辺部、つまり塗布パターンPの周辺部は溶媒雰囲気になる。
塗布パターンPの周辺部が溶媒雰囲気になれば、その周辺部の溶液Lの乾燥速度が遅くなるから、塗布パターンPの周辺部に溶液Lが寄るのが防止される。その結果、塗布パターンPの周辺部の膜厚が他の部分よりも厚くなるのを防止することができる。
図14(a),(b)ではステージ74の外周にダクト86を設けて基板Wの上面に気流を生じさせるようにしたが、基板Wの上面の中央部にファンを設け、このファンによって基板Wの上面中央部から周辺部に向かう気流を生じさせるようにしてもよい。この場合も、ファンによって生じる気流が基板Wの上面から周辺部に沿って流れるようガイドするダクトを設けるようにする。それによって、基板Wの周辺部に溶媒雰囲気を効率よく形成することができる。なお、ファンによって生じる気流により塗布パターンPの周辺部において乱流が生じないようファン風力とすることが好ましく、この値は予め実験等により求めておく。
上記実施の形態ではヘッドを固定して基板を所定方向に搬送しながら溶液を塗布するようにしたが、基板を固定し、ノズルを所定方向に搬送して溶液を塗布するようにしてもよい。
また、ヘッドを3個(7A〜7C)設けた例で説明したが、ヘッドの数は2個以下でも、4個以上でもよく、溶液Lを塗布する基板Wとヘッドとの大きさとの関係から設定されればよい。
もっとも、ヘッドが有する複数個のノズル14の全長に対し、基板Wの搬送方向と直交する方向での幅は小さくても大きくても実施可能である。小さい場合は、塗布パターンに対応しないノズルからの噴射量をゼロに設定すればよいし、大きい場合はたとえばパターンPを複数の領域に分割し、各領域ごとにノズルから溶液を噴射させて塗布すればよい。
また、パターンPは矩形状に限られるものでない。
この発明の一実施の形態の塗布装置の概略的構成図。 上記塗布装置の側面図。 塗布装置に用いられるヘッドの断面図。 上記ヘッドの下面図。 ヘッド及び各弁を制御する制御装置を示すブロック図。 (a)は塗布パタ−ンの周辺部に供給する溶液の供給状態を示すグラフ、(b)は同じく塗布パターンの幅方向の膜厚を示すグラフ。 (a)は塗布パタ−ンの周辺部に供給する溶液の供給状態を示すグラフ、(b)は同じく塗布パターンの幅方向の膜厚を示すグラフ。 (a)は基板に塗布される溶液の説明図、(b)は(a)の状態から所定時間経過後にさらに基板に溶液を供給した状態の説明図、(c)は(b)の状態で供給された溶液がレベリングされたときの説明図。 基板の周辺部を冷却するための冷却手段を示す図。 基板の周辺部を冷却する冷却手段の変形例を示す図。 塗布パターンの周辺部に溶液を分離して供給する場合の説明図。 (a)は基板に塗布された溶液の塗布パターンの周辺に溶媒を塗布するためのディスペンサが設けられた塗布装置の側面図、(b)は塗布パターンの周辺に溶媒を塗布した状態を示す基板の平面図。 (a)は塗布パターンの周辺部を波型状にした状態を示す基板の平面図、(b)は塗布パターンの周辺部における溶液の塗布状態を拡大して示す説明図。 (a)は基板に塗布された溶液を平坦化するために基板が載置されるレベリング用のステージを示す断面図、(b)は同じく一部省略した平面図。
符号の説明
3…テーブル(搬送手段)、7…ヘッド、14…ノズル、71…冷却手段、86…ダクト(送風手段)、89…カバー(送風手段)、100…制御装置(制御手段)。

Claims (2)

  1. 基板に溶液を所定のパターンで塗布して塗布膜を形成する塗布装置であって、
    上記溶液を上記基板に噴射塗布する複数のノズルを有するヘッドと、
    上記基板が上記ヘッドの下方を所定方向に沿って通過するようこれら基板とヘッドを相対的に移動させる搬送手段と、
    上記ノズルから上記基板に溶液を噴射塗布する際、上記パターンの周辺部となる部分に塗布する溶液の量を周辺部よりも内側となる部分に塗布する量よりも少なくし、上記パターンの周辺部における溶液の供給を、溶液の供給量が最も少ない第1の部分と、この第1の部分よりも外側であって上記第1の部分よりも供給量の多い第2の部分とに分けて制御する制御手段と
    具備したことを特徴とする溶液の塗布装置。
  2. ヘッドに設けられた複数のノズルから基板に溶液を所定のパターンで噴射塗布して塗布膜を形成する塗布方法であって、
    上記基板が上記ヘッドの下方を通過するよう上記基板と上記ヘッドを相対的に所定方向に沿って移動させる工程と、
    上記溶液を上記基板に噴射塗布する工程であって、上記パターンの周辺部となる部分に噴射される溶液の量が上記周辺部よりも内側となる部分に噴射される量よりも少なくし、上記パターンの周辺部における溶液の供給を、溶液の供給量が最も少ない第1の部分と、この第1の部分よりも外側であって上記第1の部分よりも供給量の多い第2の部分とに分けて噴射塗布する工程と
    を具備したことを特徴とする溶液の塗布方法。
JP2005112370A 2005-04-08 2005-04-08 溶液の塗布装置及び塗布方法 Expired - Lifetime JP4852257B2 (ja)

Priority Applications (1)

Application Number Priority Date Filing Date Title
JP2005112370A JP4852257B2 (ja) 2005-04-08 2005-04-08 溶液の塗布装置及び塗布方法

Applications Claiming Priority (1)

Application Number Priority Date Filing Date Title
JP2005112370A JP4852257B2 (ja) 2005-04-08 2005-04-08 溶液の塗布装置及び塗布方法

Related Child Applications (1)

Application Number Title Priority Date Filing Date
JP2011082748A Division JP4920115B2 (ja) 2011-04-04 2011-04-04 溶液の塗布装置及び塗布方法

Publications (2)

Publication Number Publication Date
JP2006289239A JP2006289239A (ja) 2006-10-26
JP4852257B2 true JP4852257B2 (ja) 2012-01-11

Family

ID=37410419

Family Applications (1)

Application Number Title Priority Date Filing Date
JP2005112370A Expired - Lifetime JP4852257B2 (ja) 2005-04-08 2005-04-08 溶液の塗布装置及び塗布方法

Country Status (1)

Country Link
JP (1) JP4852257B2 (ja)

Cited By (1)

* Cited by examiner, † Cited by third party
Publication number Priority date Publication date Assignee Title
JP2011183385A (ja) * 2011-04-04 2011-09-22 Shibaura Mechatronics Corp 溶液の塗布装置及び塗布方法

Families Citing this family (12)

* Cited by examiner, † Cited by third party
Publication number Priority date Publication date Assignee Title
JP4921822B2 (ja) * 2006-03-24 2012-04-25 株式会社東芝 液滴噴射塗布装置及び塗布体の製造方法
JP4789769B2 (ja) * 2006-10-02 2011-10-12 株式会社アルバック インク塗布装置及びインクの塗布方法
JP4501987B2 (ja) 2007-10-30 2010-07-14 セイコーエプソン株式会社 膜形成方法
DE102008053178A1 (de) * 2008-10-24 2010-05-12 Dürr Systems GmbH Beschichtungseinrichtung und zugehöriges Beschichtungsverfahren
WO2014108931A1 (ja) * 2013-01-08 2014-07-17 ナカンテクノ株式会社 低粘度薄膜印刷における乾燥ムラ軽減方法と該方法が適用される印刷パターン
JP2014202456A (ja) * 2013-04-09 2014-10-27 パナソニック株式会社 乾燥方法および乾燥装置
JP6303694B2 (ja) * 2014-03-26 2018-04-04 コニカミノルタ株式会社 機能性膜のパターニング方法及び機能性膜
JP2017013283A (ja) * 2015-06-29 2017-01-19 株式会社リコー 塗布装置
DE102016000356A1 (de) 2016-01-14 2017-07-20 Dürr Systems Ag Lochplatte mit reduziertem Durchmesser in einem oder beiden Randbereichen einer Düsenreihe
DE102016000390A1 (de) 2016-01-14 2017-07-20 Dürr Systems Ag Lochplatte mit vergrößertem Lochabstand in einem oder beiden Randbereichen einer Düsenreihe
JP7467153B2 (ja) * 2020-02-14 2024-04-15 株式会社ミマキエンジニアリング 液体吐出装置及び液体吐出方法
JP7689148B2 (ja) * 2023-01-25 2025-06-05 株式会社Screenホールディングス 減圧乾燥装置および減圧乾燥方法

Family Cites Families (15)

* Cited by examiner, † Cited by third party
Publication number Priority date Publication date Assignee Title
JPH0975825A (ja) * 1995-09-20 1997-03-25 Matsushita Electric Ind Co Ltd 塗膜形成装置および塗膜形成方法
JP3998382B2 (ja) * 1999-12-15 2007-10-24 株式会社東芝 成膜方法及び成膜装置
JP2004105948A (ja) * 2000-11-21 2004-04-08 Seiko Epson Corp 材料の吐出方法、及び吐出装置、カラーフィルタの製造方法及び製造装置、液晶装置の製造方法及び製造装置、el装置の製造方法及び製造装置、並びに電子機器
JP3808741B2 (ja) * 2001-10-01 2006-08-16 東京エレクトロン株式会社 処理装置
JP3985545B2 (ja) * 2002-02-22 2007-10-03 セイコーエプソン株式会社 薄膜形成装置と薄膜形成方法、液晶装置の製造装置と液晶装置の製造方法と液晶装置、及び薄膜構造体の製造装置と薄膜構造体の製造方法と薄膜構造体、及び電子機器
JP2003260398A (ja) * 2002-03-08 2003-09-16 Canon Inc 塗布装置および塗布方法
JP2003273092A (ja) * 2002-03-15 2003-09-26 Seiko Epson Corp 成膜方法、成膜装置、デバイスの製造方法並びに電子機器
JP2004047579A (ja) * 2002-07-09 2004-02-12 Seiko Epson Corp 液状物の吐出方法および液状物の吐出装置
JP2004122497A (ja) * 2002-09-30 2004-04-22 Canon Inc 印刷物製造方法および印刷物製造装置
JP4627618B2 (ja) * 2003-06-09 2011-02-09 芝浦メカトロニクス株式会社 成膜方法及び成膜装置
JP2005096382A (ja) * 2003-09-04 2005-04-14 Seiko Epson Corp 印刷領域に応じてドットの記録率を変える印刷
JP4480134B2 (ja) * 2004-03-15 2010-06-16 東京エレクトロン株式会社 塗布膜形成方法及びその装置
JP4055171B2 (ja) * 2004-05-19 2008-03-05 セイコーエプソン株式会社 カラーフィルタ基板の製造方法、電気光学装置の製造方法、電気光学装置、電子機器
JP2005351975A (ja) * 2004-06-08 2005-12-22 Seiko Epson Corp 配向膜形成装置、配向膜形成方法、描画装置および描画方法
JP4529581B2 (ja) * 2004-08-10 2010-08-25 セイコーエプソン株式会社 成膜方法および成膜装置

Cited By (1)

* Cited by examiner, † Cited by third party
Publication number Priority date Publication date Assignee Title
JP2011183385A (ja) * 2011-04-04 2011-09-22 Shibaura Mechatronics Corp 溶液の塗布装置及び塗布方法

Also Published As

Publication number Publication date
JP2006289239A (ja) 2006-10-26

Similar Documents

Publication Publication Date Title
JP4852257B2 (ja) 溶液の塗布装置及び塗布方法
JP3808741B2 (ja) 処理装置
US9343339B2 (en) Coating method and coating apparatus
JP5430697B2 (ja) 塗布方法及び塗布装置
JP4564454B2 (ja) 塗布方法及び塗布装置及び塗布処理プログラム
KR20100053518A (ko) 기판을 처리하기 위해 제어된 메니스커스를 갖는 단상 근접 헤드
TWI839413B (zh) 用於控制基材之漂浮的裝置、系統及方法
KR101069600B1 (ko) 부상식 기판 코터 장치 및 그 코팅 방법
TWI422436B (zh) 塗佈方法及塗佈裝置
TWI741426B (zh) 塗布裝置及塗布方法
JP2012232269A (ja) 基板浮上型搬送機構用スリットコート式塗布装置
JP4920115B2 (ja) 溶液の塗布装置及び塗布方法
US7677691B2 (en) Droplet jetting applicator and method of manufacturing coated body
JP4055570B2 (ja) 液滴吐出装置
JP2018114475A (ja) 塗布装置および塗布方法
JP7252012B2 (ja) 塗布装置
JP6278786B2 (ja) インクジェット式塗布ヘッドの清掃装置及び塗布液塗布装置
WO2016159312A1 (ja) インプリント用のテンプレート製造装置
JP6288692B2 (ja) 液体の塗布装置及び塗布方法
KR102889256B1 (ko) 공정 처리 유닛 및 이를 구비하는 기판 처리 장치
JP2020110802A (ja) インプリント装置および液体吐出装置
TW202304599A (zh) 塗佈處理裝置、塗佈處理方法及塗佈處理程式
WO2006003876A1 (ja) 基板塗布装置
JP4728629B2 (ja) インクジェット塗布装置及びインクジェット塗布方法
JP2012116063A (ja) インクジェット記録装置及びインクジェットヘッドの結露防止方法

Legal Events

Date Code Title Description
A621 Written request for application examination

Free format text: JAPANESE INTERMEDIATE CODE: A621

Effective date: 20080407

A977 Report on retrieval

Free format text: JAPANESE INTERMEDIATE CODE: A971007

Effective date: 20110117

A131 Notification of reasons for refusal

Free format text: JAPANESE INTERMEDIATE CODE: A131

Effective date: 20110201

A521 Request for written amendment filed

Free format text: JAPANESE INTERMEDIATE CODE: A523

Effective date: 20110404

A25B Request for examination refused [due to the absence of examination request for another application deemed to be identical]

Free format text: JAPANESE INTERMEDIATE CODE: A2522

Effective date: 20110426

TRDD Decision of grant or rejection written
A01 Written decision to grant a patent or to grant a registration (utility model)

Free format text: JAPANESE INTERMEDIATE CODE: A01

Effective date: 20111018

A01 Written decision to grant a patent or to grant a registration (utility model)

Free format text: JAPANESE INTERMEDIATE CODE: A01

A61 First payment of annual fees (during grant procedure)

Free format text: JAPANESE INTERMEDIATE CODE: A61

Effective date: 20111024

R150 Certificate of patent or registration of utility model

Ref document number: 4852257

Country of ref document: JP

Free format text: JAPANESE INTERMEDIATE CODE: R150

Free format text: JAPANESE INTERMEDIATE CODE: R150

FPAY Renewal fee payment (event date is renewal date of database)

Free format text: PAYMENT UNTIL: 20141028

Year of fee payment: 3

EXPY Cancellation because of completion of term