JP4748779B2 - 空気入りタイヤ - Google Patents
空気入りタイヤ Download PDFInfo
- Publication number
- JP4748779B2 JP4748779B2 JP2005224522A JP2005224522A JP4748779B2 JP 4748779 B2 JP4748779 B2 JP 4748779B2 JP 2005224522 A JP2005224522 A JP 2005224522A JP 2005224522 A JP2005224522 A JP 2005224522A JP 4748779 B2 JP4748779 B2 JP 4748779B2
- Authority
- JP
- Japan
- Prior art keywords
- rim
- tire
- rim protector
- protrusion
- pneumatic tire
- Prior art date
- Legal status (The legal status is an assumption and is not a legal conclusion. Google has not performed a legal analysis and makes no representation as to the accuracy of the status listed.)
- Expired - Fee Related
Links
- 230000001012 protector Effects 0.000 claims description 51
- 239000011324 bead Substances 0.000 claims description 49
- 230000000694 effects Effects 0.000 description 5
- 230000020169 heat generation Effects 0.000 description 4
- 238000013459 approach Methods 0.000 description 3
- 230000000052 comparative effect Effects 0.000 description 2
- 230000017525 heat dissipation Effects 0.000 description 2
- 230000007423 decrease Effects 0.000 description 1
- 239000000945 filler Substances 0.000 description 1
- 239000002184 metal Substances 0.000 description 1
- 238000000465 moulding Methods 0.000 description 1
- 230000000191 radiation effect Effects 0.000 description 1
- 229920003002 synthetic resin Polymers 0.000 description 1
- 239000000057 synthetic resin Substances 0.000 description 1
- 238000004073 vulcanization Methods 0.000 description 1
- 239000013585 weight reducing agent Substances 0.000 description 1
Images
Classifications
-
- B—PERFORMING OPERATIONS; TRANSPORTING
- B60—VEHICLES IN GENERAL
- B60C—VEHICLE TYRES; TYRE INFLATION; TYRE CHANGING; CONNECTING VALVES TO INFLATABLE ELASTIC BODIES IN GENERAL; DEVICES OR ARRANGEMENTS RELATED TO TYRES
- B60C15/00—Tyre beads, e.g. ply turn-up or overlap
- B60C15/02—Seating or securing beads on rims
- B60C15/024—Bead contour, e.g. lips, grooves, or ribs
-
- Y—GENERAL TAGGING OF NEW TECHNOLOGICAL DEVELOPMENTS; GENERAL TAGGING OF CROSS-SECTIONAL TECHNOLOGIES SPANNING OVER SEVERAL SECTIONS OF THE IPC; TECHNICAL SUBJECTS COVERED BY FORMER USPC CROSS-REFERENCE ART COLLECTIONS [XRACs] AND DIGESTS
- Y10—TECHNICAL SUBJECTS COVERED BY FORMER USPC
- Y10T—TECHNICAL SUBJECTS COVERED BY FORMER US CLASSIFICATION
- Y10T152/00—Resilient tires and wheels
- Y10T152/10—Tires, resilient
- Y10T152/10036—Cushion and pneumatic combined
- Y10T152/10117—Integral
-
- Y—GENERAL TAGGING OF NEW TECHNOLOGICAL DEVELOPMENTS; GENERAL TAGGING OF CROSS-SECTIONAL TECHNOLOGIES SPANNING OVER SEVERAL SECTIONS OF THE IPC; TECHNICAL SUBJECTS COVERED BY FORMER USPC CROSS-REFERENCE ART COLLECTIONS [XRACs] AND DIGESTS
- Y10—TECHNICAL SUBJECTS COVERED BY FORMER USPC
- Y10T—TECHNICAL SUBJECTS COVERED BY FORMER US CLASSIFICATION
- Y10T152/00—Resilient tires and wheels
- Y10T152/10—Tires, resilient
- Y10T152/10495—Pneumatic tire or inner tube
- Y10T152/10819—Characterized by the structure of the bead portion of the tire
Landscapes
- Engineering & Computer Science (AREA)
- Mechanical Engineering (AREA)
- Tires In General (AREA)
Description
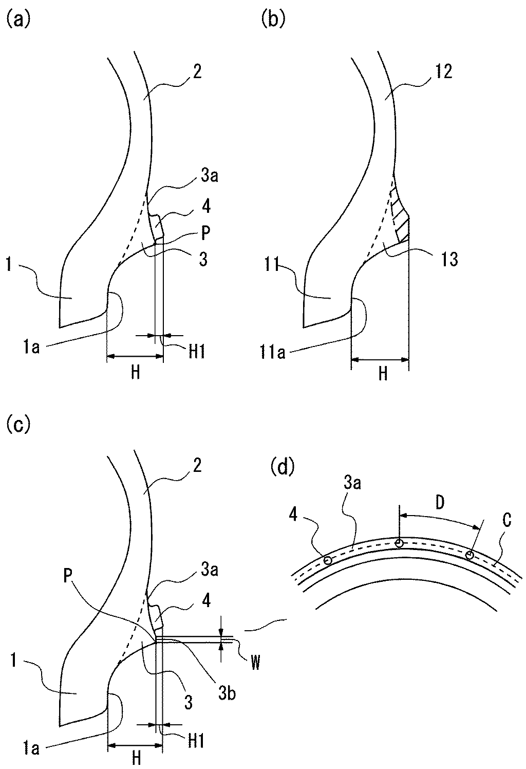
前記一対のビード部の少なくとも一方に、前記ビード部からタイヤ回転軸方向外側に突出したリムプロテクターを備え、
前記リムプロテクターのタイヤ半径方向外側の側面に、前記リムプロテクターと一体成型された複数の突起を備え、
前記突起の形状は、錐状、半球状、及び、前記リムプロテクターのタイヤ半径方向外側の側面から独立した、頭頂部と柱状側面とを備え、前記頭頂部の全周に前記柱状側面が接続された柱状のいずれかである、ことを特徴とする。
4000cc四輪駆動車にタイヤを装着し、進入速度5km/h及び進入角度5度でタイヤを縁石に接触させた後、縁石に平行に5mだけ走行させたときのリムの損傷程度を目視し確認した。
(ビード部耐久性)
JIS D4230に基づくドラム試験を行い、目視でビード部の故障が確認できるまでの走行距離を測定した。
いずれの結果も比較例を100とした指数として表1に示し、数字が少ないほど性能が良いことを示す。
2 サイドウォール
3 リムプロテクター
4 突起
Claims (4)
- クラウン形状を有するトレッドと、一対のビード部と、前記トレッドと前記ビード部とを連結する一対のサイドウォールを備えた空気入りタイヤであって、
前記一対のビード部の少なくとも一方に、前記ビード部からタイヤ回転軸方向外側に突出したリムプロテクターを備え、
前記リムプロテクターのタイヤ半径方向外側の側面に、前記リムプロテクターと一体成型された複数の突起を備え、
前記突起の形状は、錐状、半球状、及び、前記リムプロテクターのタイヤ半径方向外側の側面から独立した、頭頂部と柱状側面とを備え、前記頭頂部の全周に前記柱状側面が接続された柱状のいずれかである、ことを特徴とする空気入りタイヤ。 - 隣接する前記突起の間隔は160mm以下であることを特徴とする請求項1に記載の空気入りタイヤ。
- 前記突起の表面積は50mm2以上であることを特徴とする請求項1又は2に記載の空気入りタイヤ。
- ビード部のタイヤ半径方向外側の側面からの前記突起の高さは11mm以上であって、前記リムプロテクターからの前記突起の高さは1mm以上であることを特徴とする請求項1乃至3のいずれかに記載の空気入りタイヤ。
Priority Applications (5)
| Application Number | Priority Date | Filing Date | Title |
|---|---|---|---|
| JP2005224522A JP4748779B2 (ja) | 2005-08-02 | 2005-08-02 | 空気入りタイヤ |
| CNB2006100044607A CN100528612C (zh) | 2005-08-02 | 2006-02-13 | 充气轮胎 |
| DE102006007760A DE102006007760B4 (de) | 2005-08-02 | 2006-02-20 | Luftreifen |
| US11/361,910 US7552751B2 (en) | 2005-08-02 | 2006-02-24 | Pneumatic tire with rim protector |
| HK07105972.4A HK1100876B (en) | 2005-08-02 | 2007-06-06 | Pneumatic tire |
Applications Claiming Priority (1)
| Application Number | Priority Date | Filing Date | Title |
|---|---|---|---|
| JP2005224522A JP4748779B2 (ja) | 2005-08-02 | 2005-08-02 | 空気入りタイヤ |
Publications (2)
| Publication Number | Publication Date |
|---|---|
| JP2007038817A JP2007038817A (ja) | 2007-02-15 |
| JP4748779B2 true JP4748779B2 (ja) | 2011-08-17 |
Family
ID=37670131
Family Applications (1)
| Application Number | Title | Priority Date | Filing Date |
|---|---|---|---|
| JP2005224522A Expired - Fee Related JP4748779B2 (ja) | 2005-08-02 | 2005-08-02 | 空気入りタイヤ |
Country Status (4)
| Country | Link |
|---|---|
| US (1) | US7552751B2 (ja) |
| JP (1) | JP4748779B2 (ja) |
| CN (1) | CN100528612C (ja) |
| DE (1) | DE102006007760B4 (ja) |
Cited By (1)
| Publication number | Priority date | Publication date | Assignee | Title |
|---|---|---|---|---|
| US10023014B2 (en) * | 2013-07-12 | 2018-07-17 | Compagnie Generale Des Etablissements Michelin | Bicycle tire |
Families Citing this family (10)
| Publication number | Priority date | Publication date | Assignee | Title |
|---|---|---|---|---|
| WO2009017165A1 (ja) * | 2007-07-30 | 2009-02-05 | Bridgestone Corporation | 空気入りタイヤ |
| JP4938830B2 (ja) * | 2009-07-17 | 2012-05-23 | 住友ゴム工業株式会社 | 空気入りタイヤ |
| JP5883208B2 (ja) * | 2009-10-14 | 2016-03-09 | 株式会社ブリヂストン | 空気入りタイヤ |
| JP5545901B1 (ja) | 2013-02-22 | 2014-07-09 | 株式会社ブリヂストン | タイヤ |
| JP2015030420A (ja) * | 2013-08-06 | 2015-02-16 | 株式会社ブリヂストン | タイヤ |
| WO2016003723A1 (en) * | 2014-07-03 | 2016-01-07 | Bridgestone Americas Tire Operations, Llc | Sidewall decoration on rim guard |
| JP6790720B2 (ja) * | 2016-10-26 | 2020-11-25 | 住友ゴム工業株式会社 | 空気入りタイヤ |
| FR3059944A1 (fr) | 2016-12-12 | 2018-06-15 | Compagnie Generale Des Etablissements Michelin | Pneumatique comprenant un moyen de protection |
| FR3111293A1 (fr) | 2020-06-10 | 2021-12-17 | Compagnie Generale Des Etablissements Michelin | Pneumatique comprenant au moins un flanc avec une protubérance de protection |
| KR102612468B1 (ko) * | 2022-03-08 | 2023-12-12 | 한국타이어앤테크놀로지 주식회사 | 횡강성 향상을 위한 비드부 프로파일 구조를 가지는 타이어 |
Family Cites Families (12)
| Publication number | Priority date | Publication date | Assignee | Title |
|---|---|---|---|---|
| US3951192A (en) * | 1975-01-30 | 1976-04-20 | The Firestone Tire & Rubber Company | Pneumatic tire |
| JPS63170110A (ja) * | 1986-12-30 | 1988-07-14 | Yokohama Rubber Co Ltd:The | 空気入りタイヤ |
| JPH04129805A (ja) * | 1990-09-21 | 1992-04-30 | Sumitomo Rubber Ind Ltd | 空気入りタイヤ |
| JPH068008U (ja) * | 1992-07-13 | 1994-02-01 | 横浜ゴム株式会社 | 乗用車用空気入りタイヤ |
| JP2601308Y2 (ja) * | 1993-12-15 | 1999-11-15 | 横浜ゴム株式会社 | 乗用車用空気入りタイヤ |
| JPH08258518A (ja) * | 1995-03-24 | 1996-10-08 | Bridgestone Corp | リム・ガードを備えた空気入りタイヤ |
| JPH0924710A (ja) * | 1995-05-11 | 1997-01-28 | Yokohama Rubber Co Ltd:The | 空気入りタイヤ |
| JP3081828B2 (ja) * | 1998-10-29 | 2000-08-28 | 住友ゴム工業株式会社 | 空気入りタイヤ |
| JP3337453B2 (ja) * | 2000-02-15 | 2002-10-21 | 住友ゴム工業株式会社 | 空気入りタイヤ |
| JP4541512B2 (ja) * | 2000-08-14 | 2010-09-08 | 株式会社ブリヂストン | 空気入りタイヤ |
| JP3963783B2 (ja) * | 2001-08-28 | 2007-08-22 | 横浜ゴム株式会社 | 空気入りタイヤ |
| JP4338076B2 (ja) * | 2003-07-30 | 2009-09-30 | 東洋ゴム工業株式会社 | 空気入りタイヤ |
-
2005
- 2005-08-02 JP JP2005224522A patent/JP4748779B2/ja not_active Expired - Fee Related
-
2006
- 2006-02-13 CN CNB2006100044607A patent/CN100528612C/zh not_active Expired - Fee Related
- 2006-02-20 DE DE102006007760A patent/DE102006007760B4/de not_active Expired - Fee Related
- 2006-02-24 US US11/361,910 patent/US7552751B2/en active Active
Cited By (1)
| Publication number | Priority date | Publication date | Assignee | Title |
|---|---|---|---|---|
| US10023014B2 (en) * | 2013-07-12 | 2018-07-17 | Compagnie Generale Des Etablissements Michelin | Bicycle tire |
Also Published As
| Publication number | Publication date |
|---|---|
| CN1907739A (zh) | 2007-02-07 |
| US20070029023A1 (en) | 2007-02-08 |
| US7552751B2 (en) | 2009-06-30 |
| HK1100876A1 (zh) | 2007-09-28 |
| CN100528612C (zh) | 2009-08-19 |
| DE102006007760A1 (de) | 2007-02-08 |
| JP2007038817A (ja) | 2007-02-15 |
| DE102006007760B4 (de) | 2009-07-02 |
Similar Documents
| Publication | Publication Date | Title |
|---|---|---|
| JP4017457B2 (ja) | 空気入りタイヤ | |
| US9493040B2 (en) | Pneumatic tire | |
| JP4989755B2 (ja) | 空気入りタイヤ | |
| JP2008279976A (ja) | 建設車両用重荷重空気入りラジアルタイヤ | |
| JP4748779B2 (ja) | 空気入りタイヤ | |
| JP5141057B2 (ja) | 空気入りタイヤ | |
| JP2008001249A (ja) | 空気入りタイヤ | |
| JP5248294B2 (ja) | 空気入りタイヤ | |
| JP6214368B2 (ja) | 空気入りタイヤ | |
| JP5370633B2 (ja) | 更生タイヤ用トレッド及びこれを用いた更生タイヤ | |
| JP2006256433A (ja) | 空気入りラジアルタイヤ | |
| JP2002205514A (ja) | 重荷重用空気入りタイヤ | |
| JP4212960B2 (ja) | 空気入りタイヤ | |
| US7387142B2 (en) | Pneumatic tire with rim protector | |
| JP7275464B2 (ja) | 空気入りタイヤ | |
| JP2019500268A (ja) | ラジアルカーカスまたはバイアスカーカスを有するタイヤ | |
| KR101519736B1 (ko) | 비드슬립 방지 구조를 갖는 공기입 타이어 | |
| JP2011143844A (ja) | タイヤ | |
| CN112166044B (zh) | 具有冲撞防护件重叠部分的卡车轮胎 | |
| KR101414846B1 (ko) | 림 보호 성능이 향상된 공기입 타이어 | |
| HK1100876B (en) | Pneumatic tire | |
| CN108068559B (zh) | 充气轮胎 | |
| KR101435291B1 (ko) | 비드부가 개선된 공기입 타이어 | |
| WO2018230064A1 (ja) | 空気入りタイヤ | |
| JP2011140250A (ja) | 空気入りタイヤ |
Legal Events
| Date | Code | Title | Description |
|---|---|---|---|
| RD04 | Notification of resignation of power of attorney |
Free format text: JAPANESE INTERMEDIATE CODE: A7424 Effective date: 20071129 |
|
| A621 | Written request for application examination |
Free format text: JAPANESE INTERMEDIATE CODE: A621 Effective date: 20080520 |
|
| A977 | Report on retrieval |
Free format text: JAPANESE INTERMEDIATE CODE: A971007 Effective date: 20100916 |
|
| A131 | Notification of reasons for refusal |
Free format text: JAPANESE INTERMEDIATE CODE: A131 Effective date: 20100927 |
|
| A521 | Request for written amendment filed |
Free format text: JAPANESE INTERMEDIATE CODE: A523 Effective date: 20101119 |
|
| A02 | Decision of refusal |
Free format text: JAPANESE INTERMEDIATE CODE: A02 Effective date: 20101221 |
|
| A521 | Request for written amendment filed |
Free format text: JAPANESE INTERMEDIATE CODE: A523 Effective date: 20110317 |
|
| A911 | Transfer to examiner for re-examination before appeal (zenchi) |
Free format text: JAPANESE INTERMEDIATE CODE: A911 Effective date: 20110328 |
|
| TRDD | Decision of grant or rejection written | ||
| A01 | Written decision to grant a patent or to grant a registration (utility model) |
Free format text: JAPANESE INTERMEDIATE CODE: A01 Effective date: 20110512 |
|
| A01 | Written decision to grant a patent or to grant a registration (utility model) |
Free format text: JAPANESE INTERMEDIATE CODE: A01 |
|
| A61 | First payment of annual fees (during grant procedure) |
Free format text: JAPANESE INTERMEDIATE CODE: A61 Effective date: 20110516 |
|
| R150 | Certificate of patent or registration of utility model |
Ref document number: 4748779 Country of ref document: JP Free format text: JAPANESE INTERMEDIATE CODE: R150 Free format text: JAPANESE INTERMEDIATE CODE: R150 |
|
| FPAY | Renewal fee payment (event date is renewal date of database) |
Free format text: PAYMENT UNTIL: 20140527 Year of fee payment: 3 |
|
| R250 | Receipt of annual fees |
Free format text: JAPANESE INTERMEDIATE CODE: R250 |
|
| R250 | Receipt of annual fees |
Free format text: JAPANESE INTERMEDIATE CODE: R250 |
|
| S531 | Written request for registration of change of domicile |
Free format text: JAPANESE INTERMEDIATE CODE: R313531 |
|
| R350 | Written notification of registration of transfer |
Free format text: JAPANESE INTERMEDIATE CODE: R350 |
|
| S533 | Written request for registration of change of name |
Free format text: JAPANESE INTERMEDIATE CODE: R313533 |
|
| R350 | Written notification of registration of transfer |
Free format text: JAPANESE INTERMEDIATE CODE: R350 |
|
| R250 | Receipt of annual fees |
Free format text: JAPANESE INTERMEDIATE CODE: R250 |
|
| R250 | Receipt of annual fees |
Free format text: JAPANESE INTERMEDIATE CODE: R250 |
|
| R250 | Receipt of annual fees |
Free format text: JAPANESE INTERMEDIATE CODE: R250 |
|
| LAPS | Cancellation because of no payment of annual fees |
