JP4635496B2 - 画像形成装置 - Google Patents

画像形成装置 Download PDF

Info

Publication number
JP4635496B2
JP4635496B2 JP2004208239A JP2004208239A JP4635496B2 JP 4635496 B2 JP4635496 B2 JP 4635496B2 JP 2004208239 A JP2004208239 A JP 2004208239A JP 2004208239 A JP2004208239 A JP 2004208239A JP 4635496 B2 JP4635496 B2 JP 4635496B2
Authority
JP
Japan
Prior art keywords
density adjustment
density
adjustment process
image
developing
Prior art date
Legal status (The legal status is an assumption and is not a legal conclusion. Google has not performed a legal analysis and makes no representation as to the accuracy of the status listed.)
Expired - Fee Related
Application number
JP2004208239A
Other languages
English (en)
Other versions
JP2006030514A (ja
Inventor
恵一 田口
健 吉塚
Current Assignee (The listed assignees may be inaccurate. Google has not performed a legal analysis and makes no representation or warranty as to the accuracy of the list.)
Seiko Epson Corp
Original Assignee
Seiko Epson Corp
Priority date (The priority date is an assumption and is not a legal conclusion. Google has not performed a legal analysis and makes no representation as to the accuracy of the date listed.)
Filing date
Publication date
Application filed by Seiko Epson Corp filed Critical Seiko Epson Corp
Priority to JP2004208239A priority Critical patent/JP4635496B2/ja
Priority to US11/182,054 priority patent/US7317880B2/en
Publication of JP2006030514A publication Critical patent/JP2006030514A/ja
Application granted granted Critical
Publication of JP4635496B2 publication Critical patent/JP4635496B2/ja
Anticipated expiration legal-status Critical
Expired - Fee Related legal-status Critical Current

Links

Images

Classifications

    • GPHYSICS
    • G03PHOTOGRAPHY; CINEMATOGRAPHY; ANALOGOUS TECHNIQUES USING WAVES OTHER THAN OPTICAL WAVES; ELECTROGRAPHY; HOLOGRAPHY
    • G03GELECTROGRAPHY; ELECTROPHOTOGRAPHY; MAGNETOGRAPHY
    • G03G15/00Apparatus for electrographic processes using a charge pattern
    • G03G15/55Self-diagnostics; Malfunction or lifetime display
    • G03G15/553Monitoring or warning means for exhaustion or lifetime end of consumables, e.g. indication of insufficient copy sheet quantity for a job
    • G03G15/556Monitoring or warning means for exhaustion or lifetime end of consumables, e.g. indication of insufficient copy sheet quantity for a job for toner consumption, e.g. pixel counting, toner coverage detection or toner density measurement
    • GPHYSICS
    • G03PHOTOGRAPHY; CINEMATOGRAPHY; ANALOGOUS TECHNIQUES USING WAVES OTHER THAN OPTICAL WAVES; ELECTROGRAPHY; HOLOGRAPHY
    • G03GELECTROGRAPHY; ELECTROPHOTOGRAPHY; MAGNETOGRAPHY
    • G03G2215/00Apparatus for electrophotographic processes
    • G03G2215/00025Machine control, e.g. regulating different parts of the machine
    • G03G2215/00029Image density detection
    • G03G2215/00033Image density detection on recording member
    • G03G2215/00037Toner image detection
    • GPHYSICS
    • G03PHOTOGRAPHY; CINEMATOGRAPHY; ANALOGOUS TECHNIQUES USING WAVES OTHER THAN OPTICAL WAVES; ELECTROGRAPHY; HOLOGRAPHY
    • G03GELECTROGRAPHY; ELECTROPHOTOGRAPHY; MAGNETOGRAPHY
    • G03G2221/00Processes not provided for by group G03G2215/00, e.g. cleaning or residual charge elimination
    • G03G2221/16Mechanical means for facilitating the maintenance of the apparatus, e.g. modular arrangements and complete machine concepts
    • G03G2221/18Cartridge systems
    • G03G2221/1823Cartridges having electronically readable memory

Landscapes

  • Physics & Mathematics (AREA)
  • General Physics & Mathematics (AREA)
  • Control Or Security For Electrophotography (AREA)
  • Dry Development In Electrophotography (AREA)

Description

本発明は、プリンタ、複写機、ファクシミリ等の画像形成装置に関し、特に、適切な濃度調整制御を行なうことのできる画像形成装置に関する。
一般に、カラープリンタなどに設けられる電子写真技術を用いて画像を形成する画像形成装置は、画像データに応じて静電潜像が形成される像担持体と、像担持体の外周面を帯電させる帯電ユニットと、帯電された像担持体の外周面を画像データに応じて露光して静電潜像を形成する露光ユニットと、静電潜像に現像剤であるトナーを供給してトナー像に現像する現像装置と、トナー像を転写対象の媒体に転写させる転写ユニットとを有する。
かかる画像形成装置では、通常、常に良好な画像濃度での画像出力が行えるように、画像の濃度調整という処理を行っている。この濃度調整は、例えば、画像形成装置の電源投入時、所定枚数の画像形成を実行した後、あるいは、像担持体を交換したときなど、像担持体へのトナー像形成についての特性に変化があったと思われる際に実行される。また、この濃度調整は、各運転条件でパッチや細線などのパターンを像担持体上に作像し、そのパターンの濃度等をセンサにより検出して運転条件にフィードバックすることによって行われている。例えば、現像装置が有するトナーを収容したトナーカートリッジのローラ部分に印加する現像バイアスを変化させて、各バイアス値において塗りつぶしのパッチを作像する。そして、それら形成された各パッチの濃度を計測し、それらの値から所望の濃度値になるような現像バイアス値を求めて、その値になるような制御を行なう。
このような濃度調整の制御については、従来より幾つかの提案がなされており、下記特許文献1に記載の装置においては、速度を優先するモードに設定されている際に、前記濃度調整を実施せずに装置の立ち上げ動作を行い、画像出力までの時間短縮を図るという制御方法が開示されている。
一方、前記現像装置に装着されるトナーカートリッジには、その装着によりプリンタなどの画像形成装置が本来の性能を発揮できることが保証されているトナーカートリッジ、即ち、画像形成装置の製造元等が製造・販売しているトナーカートリッジと、そうでないトナーカートリッジ、即ち、画像形成装置の製造元が製造・販売に全く関与していないトナーカートリッジがある。以下、前者のトナーカートリッジをプリンタなどの画像形成装置の製造元が品質を保証した品と呼び、後者のトナーカートリッジをプリンタなどの画像形成装置の製造元が品質を確認していない品と呼ぶこととする。本来、画像形成装置には品質が保証された品を装着して使用すべきであるが、製造元が品質を確認していない品も販売されていることから、ユーザが、製造元が品質を確認していない品を装着して使用する場合もある。
特開2003−345180号公報
以上説明したように、従来から画像形成装置における濃度調整制御というものが行われていたが、かかる制御において、画像形成装置に装着されているトナーカートリッジが前述した品質が保証された品であるか否かについては考慮されていなかった。
通常の場合、画像形成装置には品質が保証された品のトナーカートリッジが装着されると想定されるので、前述した濃度調整も品質が保証されたトナーカートリッジに適した内容で、例えば、前記現像バイアスの調整では品質が保証された品に適した範囲で、処理が実行されるように制御される。従って、従来装置においては、製造元が品質を確認していないトナーカートリッジが装着されている時でも、そのことが考慮されないので、品質が保証された品と同様の内容で濃度調整が行われることとなる。一般に、品質が保証された品と製造元が品質を確認していない品とでは、トナーカートリッジ自体及び中に収容されるトナーの特性が異なることがあるため、同様の方法では濃度調整が行えない場合があり、その場合には、上述したように製造元が品質を確認していない品が装着されていると、濃度調整の処理がエラーとなり処理が中断する事態となってしまう。また、エラーが発生せずに濃度調整処理が終了したとしても良好な調整結果を得られない場合がある。従って、従来装置における濃度調整制御には未だ課題があった。
そこで、本発明の目的は、どの様なトナーカートリッジが装着されている場合であっても、適切な濃度調整制御が可能な画像形成装置を提供することである。
上記の目的を達成するために、本発明の一つの側面は、トナーを用いて画像形成を行う画像形成装置が、前記トナーを収容する現像ユニットが着脱可能に装着される現像手段と、前記現像手段に装着された現像ユニットが品質が保証された品であるか否かを識別する識別手段と、前記現像手段に装着された現像ユニットについての濃度調整処理を制御する手段であって、前記識別手段によって品質が保証された品であると識別された場合と、品質が保証された品でないと識別された場合とで前記濃度調整処理について異なる制御を実行する制御手段とを有することである。従って、本発明によれば、装着されている現像ユニットが品質が保証された品であるか否かに関わらず一律に品質が保証された品用の濃度調整を行う従来の制御による問題を解決することができる。すなわち、装着されている現像ユニットが製造元が品質を確認していない品である場合に、それに適した濃度調整制御が実施され、無理に品質が保証された品用の濃度調整を行ってエラーが発生してしまうという事態などを避けることができる。
更に、上記の発明において、一つの態様は、前記制御手段が、前記識別手段によって品質が保証された品でないと識別された場合に、前記濃度調整処理を行わないように制御することを特徴とする。これにより、製造元が品質を確認していない品の現像ユニットについて相応しくない可能性のある品質が保証された品用の濃度調整処理を行ってしまい問題が発生することを避けることができる。
また、上記の発明において、別の態様は、前記制御手段が、前記識別手段によって品質が保証された品でないと識別された場合に、前記識別手段によって品質が保証された品であると識別された場合に行う濃度調整処理が可能であるか否かを判断し、可能であると判断した場合には当該濃度調整処理を行い、可能でないと判断した場合には濃度調整処理を行わない、という制御を行なうことを特徴とする。これにより、装着されている現像ユニットが製造元が品質を確認していない品であり、品質が保証された品用の濃度調整が不可能な場合に無理に濃度調整を行ってしまうことを防ぐことができる。
更にまた、上記の発明において、別の態様は、前記制御手段が、前記識別手段によって品質が保証された品でないと識別された場合に、前記画像形成装置において当該品質が保証された品でないと識別された現像ユニットについての濃度調整処理が可能であるか否かを判断し、可能であると判断した場合には濃度調整処理を行い、可能でないと判断した場合には濃度調整処理を行わない、という制御を行なうことを特徴とする。これにより、装着されている現像ユニットが製造元が品質を確認していない品の場合にも可能な限り適正な濃度調整処理が行われ、良好な画質濃度での出力を保つことができる。
更に、上記の発明において、一つの態様は、前記制御手段が制御する濃度調整処理に、前記現像手段における現像バイアス値の調整が含まれ、前記識別手段によって品質が保証された品でないと識別された場合に、前記識別手段によって品質が保証された品であると識別された場合の前記現像バイアス値の調整範囲よりも広い前記画像形成装置の許容調整範囲をもって前記濃度調整処理が可能であるか否かを判断し、可能であると判断した場合には前記現像バイアス値の調整を行い、可能でないと判断した場合には前記現像バイアス値の調整を行わない、という制御が行われることを特徴とする。
本発明の更なる目的及び、特徴は、以下に説明する発明の実施の形態から明らかになる。
以下、図面を参照して本発明の実施の形態例を説明する。しかしながら、かかる実施の形態例が、本発明の技術的範囲を限定するものではない。なお、図において、同一又は類似のものには同一の参照番号又は参照記号を付して説明する。
図1は、本発明を適用した画像形成装置であるプリンタの実施の形態例に係る構成図である。図1に示すプリンタ2が本発明を適用した画像形成装置であり、ホストコンピュータ1からの印刷要求等に基づいて、所定の印刷媒体に対して画像の形成を行なう装置である。かかるプリンタ2は、装着されているトナーカートリッジ611(現像ユニット)が品質が保証された品であるか否かを識別し、その結果に基づいて各トナーカートリッジ611に関する濃度調整を制御し、どの様なトナーカートリッジ611が装着されている場合にも適切な濃度調整制御が行えるようにしようとするものである。
図1に示すホストコンピュータ1は、プリンタ2に対して印刷要求を行なうホスト装置であり、ユーザ操作等に基づいて画像データと制御コマンドを含む印刷データをプリンタ2に送信する。なお、ホストコンピュータ1は、所謂パーソナルコンピュータなどで構成することができる。ホストコンピュータ1内のプリンタドライバ3は、ホストコンピュータ1内のアプリケーション(図示せず)などからのデータを受け取って、プリンタ2に送信する上記印刷データを生成する部分である。なお、プリンタドライバ3は、前記機能に関する処理をホストコンピュータ1に実行させるプログラムである。
図1に示すように、プリンタ2は、コントローラ部4、エンジン制御部5、エンジン6、及び操作部7などで構成される。コントローラ部4は、前記ホストコンピュータ1から送信される印刷データを受信し、当該データに含まれる制御コマンドを解釈すると共に、当該データに含まれる画像データに対して所定の処理を施してエンジン6側へ提供するデータを生成する。図示していないが、コントローラ部4には、CPUやメモリなどが備えられており、当該メモリには上記生成したデータなどが格納される。また、コントローラ部4は、プリンタ2の電源投入時、所定枚数の印刷処理が実施された時点、後述する感光体ドラム621が交換された時、あるいはトナーカートリッジ611が交換されたときなどに、エンジン制御部5に対して濃度調整処理の要求を行う。
次に、エンジン制御部5は、図1に示されるように、CPU51(識別手段、制御手段)、ROM52、RAM53、本体側メモリ54、及びI/F55等で構成される。CPU51は、エンジン6の各部を制御する部分であるが、前述したコントローラ部4からの濃度調整要求を受けて濃度調整処理の制御も行い、この濃度調整制御に特徴がある。具体的な制御内容については後述する。
前記ROM52は、エンジン6を制御するための各種プログラムを記憶し、また、前記RAM53は、エンジン6に関する各種情報を一時的に記憶する。次に、本体側メモリ54は、後述する現像装置61の各トナーカートリッジ611に関する情報等を格納するデータ格納手段である。具体的には、現像装置61におけるトナーカートリッジ611の有無情報や後述するトナーカートリッジ側メモリ612に書き込まれたトナーの色情報、消費量情報等を格納する。
また、I/F55は、前記CPU51とトナーカートリッジ側メモリ612とのインターフェースであり、CPU51がトナーカートリッジ側メモリ612に書き込まれた前記情報を読み出して前記本体側メモリ54に書き込む際などに用いられる。
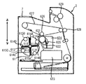
次に、エンジン6は、帯電ユニット、露光ユニット、現像装置、転写ユニット等で構成されるが、図1においては、現像装置61(現像手段)とその他ユニット62という区分で表現している。図2は、本プリンタ2のエンジン6部分の機構を中心に示した構成図である。
感光体ドラム621は、円筒状の導電性基材とその外周面に形成された感光層を有し、中心軸に対して回転可能であり、矢印で示されるように時計方向に回転する。帯電ユニット622は、感光体ドラム621を帯電し、露光ユニット623は内蔵するレーザやLEDアレイなどの光源からのビームを帯電された感光体ドラム621に照射して静電気による潜像を形成する。露光ユニット623のビーム照射は、ホストコンピュータ1から入力される画像情報に基づいて変調された駆動信号により制御される。
現像装置61は、現像材であるトナーを収容するトナーカートリッジ611A〜611Dが着脱可能に装着される装着部614A〜614Dを有し、中心軸613に対して回転可能な現像ロータリーである。現像装置61を回転させて必要なトナーカートリッジ611A〜611Dを感光体ドラム621に近接させ、現像ローラ615A〜615Dに印加される現像バイアスにより、現像材を潜像が形成された感光体ドラム621に供給することで、潜像が現像材による像に現像される。
なお、現像装置61の装着部614A〜614Dには、ブラックK、シアンC、マゼンタM、イエローYの現像材をそれぞれ収容するトナーカートリッジ611A〜611Dを装着するなど、様々な色のトナーを組み合わせて装着することもできるが、本実施の形態例では、装着されている全てのトナーカートリッジ611A〜611DにブラックKのトナーが収容されているものとする。また、これらのトナーカートリッジ611A〜611Dは全て“品質が保証された品”のトナーカートリッジであるとは限らず、“製造元が品質を確認していない品”のトナーカートリッジが混在することもある。なお、トナーカートリッジ611A〜611Dなどに付されているA〜Dは、現像装置61におけるトナーカートリッジ611の装着位置を識別する記号である。
一次転写ユニット626は、感光体621に形成されたトナー像を中間転写体627に転写する。中間転写体627は、例えばPETフィルムの表面にアルミ蒸着層を形成しその表面に半導電塗料を形成したエンドレスのベルトであり、感光体ドラム621と同じ周速度で回転駆動される。そして、二次転写ユニット628が、中間転写体627に形成されたトナー像を紙などの印刷媒体に転写し、定着ユニット629が、印刷媒体上に転写されたトナー像を媒体に溶着させて永久像とし、その印刷媒体はプリンタ2外に排出される。
クリーニングユニット624は、一次転写ユニット626と帯電ユニット622との間に設けられ、感光体ドラム621の表面に当接されるクリーニングブレード625を有し、一次転写された後に感光体ドラム621上に残存する現像材(トナー)がクリーニングブレード625により除去される。
また、装着されたトナーカートリッジ611の状態をプリンタ2が認識できるように、各トナーカートリッジ611には、現像材の色情報、残量情報等を記憶する記憶媒体、例えば非接触型不揮発性メモリ、であるトナーカートリッジ側メモリ612A〜612Dが設けられている。そして、電源が立ち上がった後や、トナーカートリッジ611が現像装置61に装着された後に、そのトナーカートリッジ側メモリ612の情報が読み出される。また、現像後にトナーカートリッジ611のトナーカートリッジ側メモリ612の残量情報が更新される。なお、このトナーカートリッジ側メモリ612には、そのトナーカートリッジ611の製造元やリサイクル回数などトナーカートリッジ611が品質が保証された品であるか否かを判断するための情報が含まれていても良い。
図1に示す操作部7は、ユーザがプリンタ2を操作するための部分であり、表示パネルや操作ボタン等で構成される。当該操作部7では、プリンタ2における印刷条件の設定など各種の設定行為が可能である。
以上説明したような構成を有する本実施の形態例に係るプリンタ2は、印刷時に、ホストコンピュータ1から所定の言語で記述された前記印刷データを供給され、感光体ドラム621への静電潜像の形成、対応するトナーカートリッジ611による現像、一次転写ユニット626による中間転写体627へのトナー像の転写を行なう。そして、さらに、二次転写ユニット628により紙などの印刷媒体に転写を行い、定着ユニット629により定着した後に、プリンタ2外に排出する。また、この印刷処理以外に、良好な画像濃度を保つために、所定のタイミングで濃度調整処理を行う。本プリンタ2では、この濃度調整制御に特徴があり、以下、この点について具体的に説明する。
図3は、本プリンタ2が濃度調整処理を実行する際のCPU51が行う濃度調整制御の内容を例示したフローチャートである。まず、CPU51は、コントローラ部4が発する濃度調整要求を受信する(ステップS1)。かかる濃度調整要求は、前述のように、プリンタ2の電源投入時、所定枚数の印刷処理が実施された時点、感光体ドラム621が交換された時、あるいはトナーカートリッジ611が交換されたときなどに発せられる。
濃度調整要求を受けると、CPU51は、各トナーカートリッジ611A〜611Dに関して濃度調整処理の制御を開始し、まず、濃度調整の対象とするトナーカートリッジ611が品質が保証された品であるか否かを識別する(ステップS2)。この識別の処理は様々な方法で行うことができるが、例えば、前述したトナーカートリッジ側メモリ612にアクセスし、そこに記録された製造元の情報から品質が保証された品であるか否かを判断することができる。また、装着されているトナーカートリッジ611A〜611Dが品質が保証された品であるか否かの情報を事前に作成しておき、本体側メモリ54等にテーブル形式で記憶しておいてもよい。この場合には、CPU51がかかるテーブルにアクセスすることにより、容易に上記識別処理を行うことができる。なお、この事前に作成しておく品質が保証された品であるか否かの情報は、トナーカートリッジ611が交換された際などに、上記トナーカートリッジ側メモリ612に記憶された情報等からCPU51が判断して自動生成してもよいし、プリンタ2のユーザが品質が保証された品であるか否かを知っている場合には、操作部7やホストコンピュータ1での操作によってユーザが入力してもよい。
かかる識別処理の結果、対象のトナーカートリッジ611が品質が保証された品である場合には(ステップS3のYes)、CPU51は通常の濃度調整処理が行われるようにエンジン6の各部を制御する(ステップS4)。すなわち、品質が保証された品のトナーカートリッジ611に適した濃度調整が行われるように制御する。一方、対象のトナーカートリッジ611が製造元が品質を確認していない品である場合には(ステップS3のNo)、CPU51は製造元が品質を確認していない品用の濃度調整制御を実施する(ステップS5)。図4は、プリンタ2が装着しているトナーカートリッジ611が品質が保証された品であるか否かを例示した図である。図4に示す例の場合には、対象としているカートリッジが、トナーカートリッジ611A〜611Cであれば通常の濃度調整制御が行われ、トナーカートリッジ611Dであれば製造元が品質を確認していない品用の濃度調整制御が行われることになる。
かかる通常の、あるいは、製造元が品質を確認していない品用の濃度調整制御に基づいて濃度調整処理が実行されると、CPU51は、濃度調整を行うべき次のトナーカートリッジ611があるかをチェックし(ステップS6)、次の対象があれば(ステップS6のYes)、前記ステップS2からの処理を同様に行う。そして、次の対象がなくなれば(ステップS6のNo)、すなわち、今回の濃度調整要求に対して調整すべき全てのトナーカートリッジ611について処理が終了すると、一連の濃度調整制御を終了する。
このように、本プリンタ2における濃度調整制御では、対象とするトナーカートリッジ611が品質が保証された品である場合と製造元が品質を確認していない品である場合とで制御を異にしており、この点が大きな特徴である。なお、通常の制御(ステップS4)によって行われる濃度調整処理の一例について以下に説明する。図5は、現像バイアスの調整について説明するための図である。図5に基づいて、濃度調整処理の一つである現像バイアスの調整について説明する。
CPU51は、まず、複数の異なる現像バイアス値で、それぞれ、塗りつぶしのパッチを作像するように指示する。この指示に従って、エンジン6が動作し、調整対象のトナーカートリッジ611が感光体ドラム621に接近して、各現像バイアス値が印加されてトナー像が形成される。その後、形成された各パッチの濃度がセンサ(図示せず)によって計測される。
図5は、パッチが形成された各現像バイアス値と、計測された各パッチの濃度をプロット(図中の三角)したものである。この例では、通常の(品質が保証された品の)現像バイアスの調整範囲R1が−110V〜−330Vに設定されており、その範囲で、異なる6のバイアス値によるパッチ形成が行われている。
その後、CPU51は、上記得られた各パッチの現像バイアス値と濃度値の関係から、予め定められた目標値の濃度(図5の点線)になるような現像バイアスを求める。具体的には、図5に示すように、各パッチについてプロットされた点(図中の三角)間を線形補間し、それによって得られる現像バイアス−濃度曲線(正確には折線)から、目標濃度となる現像バイアス値(−XV)を求める。そして、求められた現像バイアス値になるように制御を行なう。なお、図5に示すR2は、本プリンタ2の現像バイアスについての許容調整範囲を示しており、この例では、−50V〜−400Vの範囲は調整が可能である。
以上、通常(品質が保証された品)の濃度調整についてその一例を説明したが、一方、製造元が品質を確認していない品であった場合の制御(図3のステップS5)について以下に具体的に説明する。ここでは、3つの制御方法について述べるが、まず、第一の方法では、対象のトナーカートリッジ611が製造元が品質を確認していない品であった場合には、濃度調整を行わないという制御を行なう。図6は、かかる第一の方法を示したフローチャートである。図に示すように、この方法では、製造元が品質を確認していない品であると識別された場合には(ステップS3のNo)、単に、濃度調整処理を行わずに(ステップS510)当該トナーカートリッジ611についての濃度調整処理を終了し、次のトナーカートリッジ611へと処理が移行する(ステップS6)。このように、第一の方法では、どのように濃度調整を行えばよいか明らかでない製造元が品質を確認していない品のトナーカートリッジ611について濃度調整を行わないので、無理に通常(品質が保証された品用)の濃度調整を行ってしまいエラーが発生するなどの事態となることを避けることができる。
次に、図7は、製造元が品質を確認していない品であった場合の第二の制御方法を示したフローチャートである。第二の方法では、図7の(a)に示すように、まず、通常の濃度調整が可能であるか否かが判断される(ステップS520)。その結果、可能であると判断された場合には(ステップS520のYes)、通常(品質が保証された品用)の濃度調整を行うように制御し、濃度調整が実施される(ステップS521)。一方、不可能であると判断された場合には(ステップS520のNo)、濃度調整を行わないという制御を行なう(ステップS522)。
図8は、第二の方法を説明するための図である。図8は、図5と同様に、現像バイアスと濃度の関係を示した図であるが、例えば、調整対象としている製造元が品質を確認していない品のトナーカートリッジ611の特性が図中のaで示すような曲線で表される場合には、前述した通常の調整範囲R1内において、濃度が目標値となることがないので(図8のb部分を参照)、このような場合には、通常の濃度調整が不可能と判断されることになる。
また、図7の(b)は、当該第二の方法をより具体的に例示したフローチャートである。この例によれば、まず、対象としているトナーカートリッジ611に対してNGフラグなるものが立てられているか否かをチェックする(ステップS523)。このNGフラグは、通常の濃度調整が不可能であることを意味しており、該当する各トナーカートリッジ611に対して付加されるものである。そして、このNGフラグは、各トナーカートリッジ側メモリ612や本体側メモリ54に収められ、トナーカートリッジ611が交換された際などに消去される。
かかるチェックの結果、NGフラグがない場合には(ステップS523のNo)、通常の濃度調整を実施する(ステップS525)。そして、問題なく調整が実施されていれば(ステップS526のYes)、当該トナーカートリッジ611についての制御を終了し、エラーとなるなど調整が良好に行われなかった場合には(ステップS526のNo)、前述したNGフラグを当該トナーカートリッジ611に立てて(ステップS527)制御を終了する。一方、既にNGフラグが立っている場合には(ステップS523のYes)、濃度調整を実施しないで当該トナーカートリッジ611についての制御を終了する。
このように、図7の(b)に示す例では、製造元が品質を確認していない品の場合にも1度は通常の濃度調整を試してみて通常の濃度調整が可能であるかを判断し、不可能である場合には、そのことをNGフラグで表現して、以降、このNGフラグに基づいて濃度調整を行なわない。
以上説明したように、第二の方法では、トナーカートリッジ611が製造元が品質を確認していない品であった場合にも、通常の濃度調整が可能であれば濃度調整を実施して良好な濃度での出力を実現でき、また、通常の濃度調整が不可能であるば濃度調整を行ってエラーとなる回数を減らすことができる。
次に、図9は、製造元が品質を確認していない品であった場合の第三の制御方法を示したフローチャートである。第三の方法では、図9の(a)に示すように、まず、対象のトナーカートリッジ611について通常の濃度調整であるか否かを問わず濃度調整が可能であるか否かをチェックする(ステップS530)。その結果、可能であると判断された場合には(ステップS530のYes)、濃度調整を実施する(ステップS531)。一方、不可能であると判断された場合には(ステップS530のNo)、濃度調整を行わないという制御を行なう(ステップS532)。すなわち、対象となっている製造元が品質を確認していない品について本プリンタ2において濃度調整が可能であれば実施し、可能でなければ実施しないという制御を行なう。ここで、濃度調整が可能であるか否かの判断は、様々な方法で行うことができるが、その判断の一例も含めて、図9の(b)に示すフローチャートに基づいて、第三の方法によるより具体的な処理例を説明する。
図9の(b)は、製造元が品質を確認していない品のトナーカートリッジ611について前述した現像バイアス値の調整を行おうとする場合の例であり、まず、可能な最も小さい現像バイアス値(正確には、絶対値が最小の現像バイアス値)での前記パッチの生成を行う(ステップS533)。図10は、図9の(b)に示す方法を説明するための図である。前記最小現像バイアス値でのパッチ生成は、図10に示す例では、前述したプリンタ2の許容調整範囲R2の最小値−50Vでパッチ生成を行うことを意味する。
次に、生成したパッチについて濃度を検出し(ステップS534)、その濃度に問題があるか否かをチェックする(ステップS535)。ここで問題があるか否かは、例えば、検出した濃度値が目標値よりも高いか否かで判断する。図10の(a)に示すように、この最小現像バイアス値で生成されたパッチについてcに示す位置にプロットされた場合には、すなわち、最小現像バイアス値での濃度が目標値よりも高い場合には、現像バイアスと濃度の関係が図のdに示す曲線のようになること、言い換えれば、現像バイアス値が許容調整範囲R2の間で濃度が目標値になることはないことが予想される。従って、このような場合には、本プリンタ2において良好な濃度値とするための現像バイアス値の調整が不可能であり、問題があると判断する。
このように、検出された濃度値に問題があると判断された場合には(ステップS535のNo)、前述のように、適正な濃度調整ができないので濃度調整処理を実行しない(ステップS541)。一方、検出された濃度値に問題がないと判断された場合には(ステップS535のYes)、可能な最も大きい現像バイアス値(正確には、絶対値が最大の現像バイアス値)での前記パッチの生成を行う(ステップS536)。この最大現像バイアス値でのパッチ生成は、図10に示す例では、前述したプリンタ2の許容調整範囲R2の最大値−400Vでパッチ生成を行うことを意味する。
次に、生成したパッチについて濃度を検出し(ステップS537)、その濃度に問題があるか否かをチェックする(ステップS538)。ここで問題があるか否かは、例えば、検出した濃度値が目標値よりも低いか否かで判断する。図10の(a)に示すように、この最大現像バイアス値で生成されたパッチについてfに示す位置にプロットされた場合には、すなわち、最大現像バイアス値での濃度が目標値よりも低い場合には、前記ステップ535において最小現像バイアスでの濃度が目標値よりも低いと判断されているので(図10の(a)のe)、現像バイアスと濃度の関係が図のgに示す曲線のようになること、言い換えれば、現像バイアス値が許容調整範囲R2の間で濃度が目標値になることはないことが予想される。従って、このような場合には、本プリンタ2において良好な濃度値とするための現像バイアス値の調整が不可能であり、問題があると判断する。
このように、検出された濃度値に問題があると判断された場合には(ステップS538のNo)、前述のように、適正な濃度調整ができないので濃度調整処理を実行しない(ステップS541)。一方、検出された濃度値に問題がないと判断された場合には(ステップS538のYes)、当該トナーカートリッジ611について濃度調整を行うべく、その調整範囲を決定する(ステップS539)。
図10の(b)には、前記ステップS538で問題なしと判断された場合の例を示しており、最小現像バイアス値で生成されたパッチについてはhに示す位置にプロットされ、最大現像バイアス値で生成されたパッチについてiに示す位置にプロットされている。従って、jで示す曲線のような特性が予想され、許容調整範囲R2の間で濃度が目標値になり得るので、このような場合には濃度調整を行う。そして、プロット点h及びiの位置関係から、例えば、図のR3で示す範囲が調整範囲として決定される。
このように調整範囲が決定されると、その範囲内において、図5に基づいて説明した通常の調整と同様の手順で濃度調整処理が実施される(ステップS540)。図10の(b)に示す例では、各プロット点(図の三角)間が線形補間され、目標値の濃度を出すための現像バイアス−YVが導かれ、その値に設定される。
このようにして、図9の(b)に示す方法では、本プリンタ2における現像バイアス値の調整が可能であるかをチェックし、可能な場合のみ適正な調整範囲において調整処理を実行する。
以上説明したように、第三の方法によれば、対象のトナーカートリッジ611が製造元が品質を確認していない品である場合に、通常の調整範囲を越えてプリンタ2の許容範囲で濃度調整の可能性がチェックされるので、製造元が品質を確認していない品であっても濃度調整が実行されて良好な濃度での画像出力ができる可能性がより高くなる。また、プリンタ2の許容範囲で濃度調整ができない場合には、濃度調整処理が実行されないので処理がエラーで中断するようなことを避けることができる。
なお、前記第二の方法において、通常の濃度調整ができないと判断された場合(図7の(a)のステップS520のNo)に、直ぐに濃度調整を行わないと判断せずに、上記第三の方法を適用するようにしてもよい。すなわち、通常の濃度調整ができない場合に、調整範囲をプリンタ2の許容範囲まで広げて調整が可能であるか否かを判断し、その結果、可能であれば濃度調整処理を実施するようにする。これにより、製造元が品質を確認していない品の際に濃度調整がなされる機会が多くなる。
以上説明したように、本実施の形態例に係るプリンタ2では、濃度調整の際にトナーカートリッジ611が品質が保証された品であるか否かが考慮され、それぞれに適した制御がなされる。そして、製造元が品質を確認していない品である場合には、可能な限り濃度調整が実行されるように制御が行われる。従って、製造元が品質を確認していない品である場合にも適切に濃度調整が行われる可能性が高くなり、また、製造元が品質を確認していない品に対して誤った方法で濃度調整を実行してしまうこともなくなる。
なお、前述の説明では濃度調整の具体例として現像バイアスの調整について述べたが、濃度調整の具体的な内容は他のものであってもよい。例えば、露光ユニット623における露光パワーの調整や濃度の階調補正などの濃度調整に関しても本発明を適用することができる。また、前記実施の形態例においては、複数の黒のトナーカートリッジ611を装着した装置として説明したが、CMYKの各トナーカートリッジを装着する場合や、一つの黒のトナーカートリッジを装着する場合においても、本発明を適用することができる。また、本実施の形態例では、各色毎に順番に印刷処理を行ういわゆる4サイクルの装置として説明したが、各色の処理を並行して行ういわゆるタンデム式の装置についても、本発明を適用することができる。
本発明の保護範囲は、上記の実施の形態に限定されず、特許請求の範囲に記載された発明とその均等物に及ぶものである。
本発明を適用した画像形成装置の実施の形態例に係る構成図である。 本プリンタ2のエンジン6部分の機構を中心に示した構成図である。 CPU51が行う濃度調整制御の内容を例示したフローチャートである。 プリンタ2のトナーカートリッジが品質が保証された品であるか否かを例示した図である。 現像バイアスの調整について説明するための図である。 製造元が品質を確認していない品であった場合の第一の制御方法を示したフローチャートである。 製造元が品質を確認していない品であった場合の第二の制御方法を示したフローチャートである。 製造元が品質を確認していない品であった場合の第二の方法を説明するための図である。 製造元が品質を確認していない品であった場合の第三の制御方法を示したフローチャートである。 図9の(b)に示す方法を説明するための図である。
符号の説明
1 ホストコンピュータ、 2 プリンタ、 3 プリンタドライバ、 4 コントローラ部、 5 エンジン制御部、 6 エンジン、 7 操作部、 51 CPU(識別手段、制御手段)、 52 ROM、 53 RAM、 54 本体側メモリ、 55 I/F、 61 現像装置(現像手段)、 62 その他ユニット、 611 トナーカートリッジ(現像ユニット)、 612 トナーカートリッジ側メモリ

Claims (4)

  1. 像担持体上の静電潜像を現像してトナー像を形成させる現像手段と、
    前記現像手段に装着された現像ユニットが、品質が保証された品であるか否かを識別する識別手段と、
    前記トナー像の濃度を所定の目標値に調整するための濃度調整処理を制御する制御手段と、
    を少なくとも備え、
    前記制御手段は、前記濃度調整処理として、第1の濃度調整処理と、前記第1の濃度調整処理よりも濃度調整範囲が広い第2の濃度調整処理とを実行可能であり、
    前記識別手段によって品質が保証された前記現像ユニットであると識別された場合には、前記第1の濃度調整処理を実行し、
    前記識別手段によって品質が保証された前記現像ユニットでないと識別された場合には、前記第2の濃度調整処理を実行し、
    さらに、前記第1の濃度調整処理を実行しても前記トナー像の濃度を所定の目標値に調整することができないと判断した場合には、該判断結果を画像形成装置または前記現像ユニットに備えられた記憶手段に記憶させる
    ことを特徴とする画像形成装置。
  2. 装着された現像ユニットに収容されたトナーを用いて像担持体上の静電潜像を現像してトナー像を形成させる現像手段と、
    前記トナー像の濃度を所定の目標値に調整するための濃度調整処理を制御する制御手段と、
    を少なくとも備え、
    前記制御手段は、前記濃度調整処理として、第1の濃度調整処理と、前記第1の濃度調整処理よりも濃度調整範囲が広い第2の濃度調整処理とを実行可能であり、
    前記制御手段は、前記第1の濃度調整処理を実行しても前記トナー像の濃度を所定の目標値に調整することができないと判断した場合には、前記制御手段は、前記第2の濃度調整処理を実行し、
    さらに、該判断結果を画像形成装置または前記現像ユニットに備えられた記憶手段に記憶させる
    ことを特徴とする画像形成装置。
  3. 前記第2の濃度調整処理は、前記第2の濃度調整処理に対する前記濃度調整範囲の最小値と最大値とに対応させて得られた前記トナー像の濃度特性に基づき実行される
    ことを特徴とする請求項1または請求項2に記載の画像形成装置。
  4. 前記前記濃度調整範囲は、現像バイアス、露光パワーおよび階調補正の群から選ばれる濃度調整因子に対応するものである
    ことを特徴とする請求項1ないし請求項3のいずれか1つに記載の画像形成装置。
JP2004208239A 2004-07-15 2004-07-15 画像形成装置 Expired - Fee Related JP4635496B2 (ja)

Priority Applications (2)

Application Number Priority Date Filing Date Title
JP2004208239A JP4635496B2 (ja) 2004-07-15 2004-07-15 画像形成装置
US11/182,054 US7317880B2 (en) 2004-07-15 2005-07-15 Image forming device for controlling density adjustment based on a type of development unit

Applications Claiming Priority (1)

Application Number Priority Date Filing Date Title
JP2004208239A JP4635496B2 (ja) 2004-07-15 2004-07-15 画像形成装置

Publications (2)

Publication Number Publication Date
JP2006030514A JP2006030514A (ja) 2006-02-02
JP4635496B2 true JP4635496B2 (ja) 2011-02-23

Family

ID=35599559

Family Applications (1)

Application Number Title Priority Date Filing Date
JP2004208239A Expired - Fee Related JP4635496B2 (ja) 2004-07-15 2004-07-15 画像形成装置

Country Status (2)

Country Link
US (1) US7317880B2 (ja)
JP (1) JP4635496B2 (ja)

Families Citing this family (7)

* Cited by examiner, † Cited by third party
Publication number Priority date Publication date Assignee Title
JP4110003B2 (ja) * 2003-01-31 2008-07-02 キヤノン株式会社 画像形成装置
JP4960027B2 (ja) * 2006-06-23 2012-06-27 京セラドキュメントソリュ−ションズ株式会社 画像形成装置
KR101249843B1 (ko) * 2007-08-10 2013-04-05 삼성전자주식회사 화상형성장치와, 카트리지 및 화상 형성 장치의 제어방법
JP5027641B2 (ja) * 2007-12-21 2012-09-19 京セラドキュメントソリューションズ株式会社 画像形成装置
JP2013101194A (ja) * 2011-11-08 2013-05-23 Sharp Corp 画像形成装置、システム、プリンタドライバ、及び方法
JP6312756B2 (ja) * 2016-08-09 2018-04-18 キヤノン株式会社 画像形成装置、制御方法、及びプログラム
JP7467856B2 (ja) * 2019-09-27 2024-04-16 ブラザー工業株式会社 画像形成装置および消耗品カートリッジ

Family Cites Families (9)

* Cited by examiner, † Cited by third party
Publication number Priority date Publication date Assignee Title
JPH05224479A (ja) * 1992-02-10 1993-09-03 Toshiba Corp 画像形成装置
JP2000131900A (ja) * 1998-10-28 2000-05-12 Canon Inc 濃度制御装置および方法
US6658219B1 (en) * 1999-09-30 2003-12-02 Fuji Photo Film Co., Ltd. Method, device, system and recording medium for detecting improper cartridge, and cartridge
JP2002023444A (ja) * 2000-07-07 2002-01-23 Canon Inc 画像形成装置並びに画像形成装置の制御方法および記憶媒体
JP2002251047A (ja) * 2001-02-23 2002-09-06 Seiko Epson Corp 画像形成装置および画像形成方法
JP2003195705A (ja) * 2001-12-28 2003-07-09 Murata Mach Ltd 画像形成装置
JP2003345180A (ja) 2002-05-23 2003-12-03 Ricoh Co Ltd 画像形成装置
JP4650781B2 (ja) * 2004-05-17 2011-03-16 富士ゼロックス株式会社 交換ユニットが装着された画像形成装置
US7330672B2 (en) * 2004-05-17 2008-02-12 Fuji Xerox Co., Ltd. Image forming apparatus able to execute selected operating mode upon replacement of replaceable unit, and method therefore

Also Published As

Publication number Publication date
JP2006030514A (ja) 2006-02-02
US7317880B2 (en) 2008-01-08
US20060013599A1 (en) 2006-01-19

Similar Documents

Publication Publication Date Title
JP5257602B2 (ja) 画像形成装置、画像形成方法、プログラムおよび記録媒体
US20100067936A1 (en) Image forming apparatus
JP3596857B2 (ja) 印刷装置および画像処理方法
JP4635496B2 (ja) 画像形成装置
JP2002221833A (ja) 画像形成装置およびカートリッジ
US7860413B2 (en) Image forming apparatus and method therefor as well as program and storage medium thereof
US7251421B2 (en) Image forming apparatus for performing calibration without reducing throughput in printing
JP3888069B2 (ja) 画像形成装置および画像形成方法
JP2001147620A (ja) 電子写真画像形成装置およびカートリッジ
JP4239966B2 (ja) 画像形成装置
JP2005091767A (ja) 画像形成装置
US7233749B2 (en) Image forming device for performing calibration by patch pattern
JP2007010745A (ja) 画像形成装置および該装置におけるレジスト調整方法
JP2007264371A (ja) 画像形成装置及び画像形成濃度の調整方法
JPH10105021A (ja) プロセスカートリッジおよび画像形成装置および画像形成装置の画像調整制御方法
JP2005246723A (ja) 画像形成装置及びドライバプログラム
JP7151212B2 (ja) 画像形成装置
JP4682537B2 (ja) 画像形成装置、画像形成システム、及び画像形成装置用プログラム
JP2008151855A (ja) 画像形成装置及び画像形成方法
JP4576990B2 (ja) 画像形成装置
US9423753B1 (en) Image forming apparatus
JP2005352409A (ja) 画像形成装置
JP2006003498A (ja) 画像形成装置及びドライバプログラム
JP2005292771A (ja) 画像形成装置
JP4736421B2 (ja) 画像形成装置

Legal Events

Date Code Title Description
A621 Written request for application examination

Free format text: JAPANESE INTERMEDIATE CODE: A621

Effective date: 20070703

RD04 Notification of resignation of power of attorney

Free format text: JAPANESE INTERMEDIATE CODE: A7424

Effective date: 20090625

RD03 Notification of appointment of power of attorney

Free format text: JAPANESE INTERMEDIATE CODE: A7423

Effective date: 20090706

A977 Report on retrieval

Free format text: JAPANESE INTERMEDIATE CODE: A971007

Effective date: 20100326

A131 Notification of reasons for refusal

Free format text: JAPANESE INTERMEDIATE CODE: A131

Effective date: 20100406

A521 Request for written amendment filed

Free format text: JAPANESE INTERMEDIATE CODE: A523

Effective date: 20100517

A131 Notification of reasons for refusal

Free format text: JAPANESE INTERMEDIATE CODE: A131

Effective date: 20100803

A521 Request for written amendment filed

Free format text: JAPANESE INTERMEDIATE CODE: A523

Effective date: 20100914

TRDD Decision of grant or rejection written
A01 Written decision to grant a patent or to grant a registration (utility model)

Free format text: JAPANESE INTERMEDIATE CODE: A01

Effective date: 20101026

A01 Written decision to grant a patent or to grant a registration (utility model)

Free format text: JAPANESE INTERMEDIATE CODE: A01

A61 First payment of annual fees (during grant procedure)

Free format text: JAPANESE INTERMEDIATE CODE: A61

Effective date: 20101108

FPAY Renewal fee payment (event date is renewal date of database)

Free format text: PAYMENT UNTIL: 20131203

Year of fee payment: 3

R150 Certificate of patent or registration of utility model

Ref document number: 4635496

Country of ref document: JP

Free format text: JAPANESE INTERMEDIATE CODE: R150

Free format text: JAPANESE INTERMEDIATE CODE: R150

S531 Written request for registration of change of domicile

Free format text: JAPANESE INTERMEDIATE CODE: R313532

R350 Written notification of registration of transfer

Free format text: JAPANESE INTERMEDIATE CODE: R350

LAPS Cancellation because of no payment of annual fees