JP2005292771A - 画像形成装置 - Google Patents
画像形成装置 Download PDFInfo
- Publication number
- JP2005292771A JP2005292771A JP2004288132A JP2004288132A JP2005292771A JP 2005292771 A JP2005292771 A JP 2005292771A JP 2004288132 A JP2004288132 A JP 2004288132A JP 2004288132 A JP2004288132 A JP 2004288132A JP 2005292771 A JP2005292771 A JP 2005292771A
- Authority
- JP
- Japan
- Prior art keywords
- toner
- identification information
- toner cartridge
- unit
- guaranteed
- Prior art date
- Legal status (The legal status is an assumption and is not a legal conclusion. Google has not performed a legal analysis and makes no representation as to the accuracy of the status listed.)
- Pending
Links
- 238000003860 storage Methods 0.000 claims abstract description 14
- 230000015654 memory Effects 0.000 claims description 37
- 238000011161 development Methods 0.000 claims description 16
- 238000004064 recycling Methods 0.000 claims description 16
- 230000015572 biosynthetic process Effects 0.000 claims description 4
- 238000000034 method Methods 0.000 description 68
- 230000008569 process Effects 0.000 description 30
- 238000012545 processing Methods 0.000 description 14
- 238000012546 transfer Methods 0.000 description 14
- 238000010586 diagram Methods 0.000 description 7
- 230000006866 deterioration Effects 0.000 description 4
- 230000002093 peripheral effect Effects 0.000 description 4
- 230000015556 catabolic process Effects 0.000 description 3
- 238000004140 cleaning Methods 0.000 description 3
- 238000006731 degradation reaction Methods 0.000 description 3
- 230000000694 effects Effects 0.000 description 3
- 238000004519 manufacturing process Methods 0.000 description 3
- 239000000463 material Substances 0.000 description 2
- 230000007246 mechanism Effects 0.000 description 2
- 229920002799 BoPET Polymers 0.000 description 1
- XAGFODPZIPBFFR-UHFFFAOYSA-N aluminium Chemical compound [Al] XAGFODPZIPBFFR-UHFFFAOYSA-N 0.000 description 1
- 229910052782 aluminium Inorganic materials 0.000 description 1
- 239000003086 colorant Substances 0.000 description 1
- 238000007796 conventional method Methods 0.000 description 1
- 238000013500 data storage Methods 0.000 description 1
- 230000000593 degrading effect Effects 0.000 description 1
- 230000005611 electricity Effects 0.000 description 1
- 238000005516 engineering process Methods 0.000 description 1
- 230000006870 function Effects 0.000 description 1
- 239000003973 paint Substances 0.000 description 1
- 238000002360 preparation method Methods 0.000 description 1
- 230000002265 prevention Effects 0.000 description 1
- 238000003672 processing method Methods 0.000 description 1
- 238000000275 quality assurance Methods 0.000 description 1
- 230000004044 response Effects 0.000 description 1
- 238000010187 selection method Methods 0.000 description 1
- 230000003068 static effect Effects 0.000 description 1
- 239000000758 substrate Substances 0.000 description 1
- 238000007740 vapor deposition Methods 0.000 description 1
Images
Landscapes
- Dry Development In Electrophotography (AREA)
- Control Or Security For Electrophotography (AREA)
Abstract
【課題】同色のトナーカートリッジが複数個装着されている場合に、ユーザを煩わせることなく効率的に、品質が保証された品でないトナーカートリッジの使用を防止することのできる画像形成装置を提供する。
【解決手段】同色のトナーを収容する複数個の現像ユニット611が着脱可能に装着される現像手段61を備える画像形成装置2が、少なくとも、前記現像手段61に装着される各現像ユニット611が品質が保証された品であるか否かに関する情報を含む同定情報を記憶する記憶手段54と、前記記憶手段54に記憶された同定情報に基づいて、画像形成に使用する前記現像ユニット611を選択する選択手段51とを有する。
【選択図】 図1
【解決手段】同色のトナーを収容する複数個の現像ユニット611が着脱可能に装着される現像手段61を備える画像形成装置2が、少なくとも、前記現像手段61に装着される各現像ユニット611が品質が保証された品であるか否かに関する情報を含む同定情報を記憶する記憶手段54と、前記記憶手段54に記憶された同定情報に基づいて、画像形成に使用する前記現像ユニット611を選択する選択手段51とを有する。
【選択図】 図1
Description
本発明は、電子写真技術を用いて画像を形成するプリンタ、ファクシミリ、複写機などの画像形成装置に関し、特に、同色のトナーカートリッジが複数個装着できる場合に、品質が保証された品でないトナーカートリッジの使用を極力防止することのできる画像形成装置に関する。
一般に、カラープリンタなどに設けられる電子写真技術を用いて画像を形成する画像形成装置は、画像データに応じて静電潜像が形成される像担持体と、像担持体の外周面を帯電させる帯電ユニットと、帯電された像担持体の外周面を画像データに応じて露光して静電潜像を形成する露光ユニットと、静電潜像に現像剤であるトナーを供給してトナー像に現像する現像装置と、トナー像を転写対象の媒体に転写させる転写ユニットとを有する。
そして、カラー印刷が可能な画像形成装置の場合には、通常、現像装置がカラートナーを収容する複数のトナーカートリッジを着脱可能に保持し、現像タイミングに対応して適切なトナーカートリッジが像担持体に近接させられる。この場合、複数のトナーカートリッジには、複数色のカラートナー、例えば4色(イエローY、マゼンタM、シアンC、ブラックK)のトナーがそれぞれ納められており、各色一つずつのトナーカートリッジが備えられている。また、モノクロ印刷の画像形成装置の場合には、一般に、ブラックKの一つのトナーカートリッジのみが備えられている。従って、従来の画像形成装置においては、通常、同色のトナーカートリッジが複数個装着されることはなかった。
一方、トナーカートリッジには、その装着によりプリンタなどの画像形成装置が本来の性能を発揮できることが保証されているトナーカートリッジ、即ち、画像形成装置の製造元等が製造・販売しているトナーカートリッジと、そうでないトナーカートリッジ、即ち、画像形成装置の製造元が製造・販売に全く関与していないトナーカートリッジがある。以下、前者のトナーカートリッジを品質が保証された品と呼び、後者のトナーカートリッジを画像形成装置の製造元が品質を確認していない品と呼ぶこととする。
本来、画像形成装置には品質が保証された品を装着して使用すべきであるが、画像形成装置の製造元が品質を確認していないカートリッジも販売されていることから、ユーザが品質を確認していない品を装着して使用する場合もある。かかる場合には、装着された画像形成装置の性能を十分に発揮できないことが多く、また、機器の劣化や故障を早めてしまうことにもなる。そこで、従来から、品質を確認していない品を使用しないようにする技術が提案されている。
例えば、下記特許文献1では、装着されているトナーカートリッジが品質を確認していない品であることが判明すると故意に印刷性能を低下させるという処理が提案されている。また、下記特許文献2では、トナーカートリッジが品質を確認していない品であることが判明すると、印刷を停止する、あるいは警告を発するという処理がなされることが提案されている。
特開平5−224479号公報
特開2000−246921号公報
以上説明したように、品質を確認していない品の使用を防止する技術が提案されているが、前述の通り、通常、画像形成装置に複数の同色トナーカートリッジが装着されることはなかったので、品質が保証された品と品質が確認されていない品が混在した複数の同色トナーカートリッジが装着された場合に、どのように対処するかについては提案されていなかった。
また、上記複数の同色トナーカートリッジが装着された場合に、前記従来の方法で対処すると、一つでも品質が確認されていない品のトナーカートリッジがあると印刷停止や性能低下という対応となり、同色のトナーカートリッジが全て品質が保証された品でないと良好な印刷ができなかったり、頻繁に警告が出るという結果となって、ユーザにとって効率的でなく煩わしいという問題があった。
そこで、本発明の目的は、同色のトナーカートリッジが複数個装着されている場合に、ユーザを煩わせることなく効率的に、品質が保証されているトナーカートリッジの使用をすることのできる画像形成装置を提供することである。
上記の目的を達成するために、本発明の一つの側面は、同色のトナーを収容する複数個の現像ユニットが着脱可能に装着される現像手段を備える画像形成装置が、少なくとも、前記現像手段に装着される各現像ユニットが品質が保証されている品であるか否かに関する情報を含む同定情報を記憶する記憶手段と、前記記憶手段に記憶された同定情報に基づいて、画像形成に使用する前記現像ユニットを選択する選択手段とを有することである。従って、本発明によれば、同色の現像ユニットを複数装着する場合においても、同定情報に基づいて、適切でない現像ユニットの使用防止を図ることができる。
更に、上記の発明において、その好ましい態様は、前記選択手段が、前記同定情報に基づく現像ユニットの選択時に、品質が保証された品である前記現像ユニットを優先して選択することを特徴とする。これにより、品質が確認されていない品の使用を極力防止でき、性能低下や機器劣化を防ぐことができる。
更に、上記の発明において、好ましい態様は、前記選択手段が品質が保証された品である前記現像ユニットを選択した際には、前記現像手段に品質が保証された品でない現像ユニットが装着されている場合にも、品質が保証された品でない現像ユニットが装着されている旨の警告を行なわないことを特徴とする。これにより、ユーザの煩わしさを軽減することができる。
また、上記の発明において、別の態様は、前記記憶手段が記憶する同定情報に、前記現像ユニットのリサイクル回数の情報が含まれ、前記選択手段が、前記同定情報に基づく現像ユニットの選択時に、前記リサイクル回数が少ない前記現像ユニットを優先して選択することを特徴とする。
また、上記の発明において、好ましい態様は、更に、前記現像ユニットが備えるメモリに格納された情報に基づいて、前記記憶手段に前記同定情報を設定する設定手段を有することを特徴とする。これにより、現像ユニットの選択に用いられる同定情報が自動的に設定され、ユーザの手間がかからない。
本発明の更なる目的及び、特徴は、以下に説明する発明の実施の形態から明らかになる。
以下、図面を参照して本発明の実施の形態例を説明する。しかしながら、かかる実施の形態例が、本発明の技術的範囲を限定するものではない。なお、図において、同一又は類似のものには同一の参照番号又は参照記号を付して説明する。
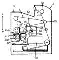
図1は、本発明を適用した画像形成装置であるプリンタの実施の形態例に係る構成図である。図1に示すプリンタ2が本発明を適用した画像形成装置であり、ホストコンピュータ1からの印刷要求等に基づいて、所定の印刷媒体に対して画像の形成を行なう装置である。かかるプリンタ2は、同色のトナーカートリッジ611(現像ユニット)を複数装着できる構成となっており、それらの中から品質が保証された品を優先して使用し、極力、画像形成装置の製造元が品質を確認していないカートリッジの使用を防止すると共に、ユーザの煩わしさを解消しようとするものである。
図1に示すホストコンピュータ1は、プリンタ2に対して印刷要求を行なうホスト装置であり、ユーザ操作等に基づいて画像データと制御コマンドを含む印刷データをプリンタ2に送信する。なお、ホストコンピュータ1は、所謂パーソナルコンピュータなどで構成することができる。ホストコンピュータ1内のプリンタドライバ3は、ホストコンピュータ1内のアプリケーション(図示せず)などからのデータを受け取って、プリンタ2に送信する上記印刷データを生成する部分である。なお、プリンタドライバ3は、前記機能に関する処理をホストコンピュータ1に実行させるプログラムである。
図1に示すように、プリンタ2は、コントローラ部4、エンジン制御部5、エンジン6、及び操作部7などで構成される。コントローラ部4は、前記ホストコンピュータ1から送信される印刷データを受信し、当該データに含まれる制御コマンドを解釈すると共に、当該データに含まれる画像データに対して所定の処理を施してエンジン6側へ提供するデータを生成する。図示していないが、コントローラ部4には、CPUやメモリなどが備えられており、当該メモリには上記生成したデータなどが格納される。また、コントローラ部4は、上記メモリに所定量のデータが生成された時点で、エンジン制御部5に対して現像を開始する旨の情報を送信する。
次に、エンジン制御部5は、図1に示されるように、CPU51(選択手段、設定手段)、ROM52、RAM53、本体側メモリ54(記憶手段)、及びI/F55等で構成される。CPU51は、エンジン6の各部を制御する部分であるが、プリンタ2に装着されているトナーカートリッジ611の同定情報を生成して本体側メモリ54に格納(設定)するという処理、及びその同定情報に基づいて画像形成時に用いるトナーカートリッジ(位置)を決定(選択)するという処理を実行する。これら同定情報の設定処理と同定情報に基づくトナーカートリッジ611の選択処理が本CPU51の特徴であり、具体的な内容については後述する。なお、同定情報とは、ここでは、品質が保証された品であるかそれとも品質を確認していない品であるかなど、その製品の製造元や製造過程に関する情報のことを意味するものとする。例えば、トナーカートリッジ611の同定情報としては、品質が保証された品/他社品(品質を確認していない品)を区別する情報や、標準品(新品)/リサイクル品(製造元等で回収された容器にトナーを詰めたもの)を区別する情報などがある。
前記ROM52は、プリンタ2を制御するための各種プログラムを記憶し、また、前記RAM53は、プリンタ2に関する各種情報を一時的に記憶する。次に、本体側メモリ54は、後述する現像装置61の各トナーカートリッジ611に関する情報等を格納するデータ格納手段である。具体的には、現像装置61におけるトナーカートリッジ611の有無情報や後述するトナーカートリッジ側メモリ612に書き込まれたトナーの色情報、消費量情報等を格納するが、当該本体側メモリ54では、更に、現像装置61におけるトナーカートリッジ611の位置(例えば、A、B、C、D)とその位置に装着されているトナーカートリッジ611の同定情報を対応付けた同定情報テーブル541を格納しており、この点が本プリンタ2の特徴の一つである。なお、同定情報テーブル541の具体的な内容については後述する。
また、I/F55は、前記CPU51とトナーカートリッジ側メモリ612とのインターフェースであり、CPU51がトナーカートリッジ側メモリ612に書き込まれた前記情報を読み出して前記本体側メモリ54に書き込む際などに用いられる。
次に、エンジン6は、帯電ユニット、露光ユニット、現像装置、転写ユニット等で構成されるが、図1においては、現像装置61(現像手段)とその他ユニット62という区分で表現している。図2は、本プリンタ2のエンジン6部分の機構を中心に示した構成図である。
次に、エンジン6は、帯電ユニット、露光ユニット、現像装置、転写ユニット等で構成されるが、図1においては、現像装置61(現像手段)とその他ユニット62という区分で表現している。図2は、本プリンタ2のエンジン6部分の機構を中心に示した構成図である。
感光体ドラム621は、円筒状の導電性基材とその外周面に形成された感光層を有し、中心軸に対して回転可能であり、矢印で示されるように時計方向に回転する。帯電ユニット622は、感光体ドラム621を帯電し、露光ユニット623は内蔵するレーザやLEDアレイなどの光源からのビームを帯電された感光体ドラム621に照射して静電気による潜像を形成する。露光ユニット623のビーム照射は、ホストコンピュータ1から入力される画像情報に基づいて変調された駆動信号により制御される。
現像装置61は、現像材であるトナーを収容するトナーカートリッジ611A〜611Dが着脱可能に装着される装着部614A〜614Dを有し、中心軸613に対して回転可能な現像ロータリーである。現像装置61を回転させて必要なトナーカートリッジ611A〜611Dを感光体ドラム621に近接させ、現像材を潜像が形成された感光体ドラム621に供給することで、潜像が現像材による像に現像される。
なお、現像装置61の装着部614A〜614Dには、ブラックK、シアンC、マゼンタM、イエローYの現像材をそれぞれ収容するトナーカートリッジ611A〜611Dを装着するなど、様々な色のトナーを組み合わせて装着することもできるが、本実施の形態例では、装着されている全てのトナーカートリッジ611A〜611DにブラックKのトナーが収容されているものとする。また、これらトナーカートリッジ611A〜611Dの前記同定情報は必ずしも同一ではなく、例えば、“品質が保証された品”のトナーカートリッジと“品質が確認されていない品”のトナーカートリッジが混在することもある。像形成時には、適切なトナーカートリッジ611が選択され、そのトナーカートリッジ611が感光体ドラム621に近接させられる。なお、トナーカートリッジ611A〜611Dなどに付されているA〜Dは、現像装置61におけるトナーカートリッジ611の装着位置を識別する記号である。
一次転写ユニット626は、感光体621に形成されたトナー像を中間転写体627に転写する。中間転写体627は、例えばPETフィルムの表面にアルミ蒸着層を形成しその表面に半導電塗料を形成したエンドレスのベルトであり、感光体ドラム621と同じ周速度で回転駆動される。そして、二次転写ユニット628が、中間転写体627に形成されたトナー像を紙などの印刷媒体に転写し、定着ユニット629が、印刷媒体上に転写されたトナー像を媒体に溶着させて永久像とし、その印刷媒体はプリンタ2外に排出される。
クリーニングユニット624は、一次転写ユニット626と帯電ユニット622との間に設けられ、感光体ドラム621の表面に当接されるクリーニングブレード625を有し、一次転写された後に感光体ドラム621上に残存する現像材(トナー)がクリーニングブレード625により除去される。
また、装着されたトナーカートリッジ611の状態をプリンタ2が認識できるように、各トナーカートリッジ611には、現像材の色情報と残量情報等を記憶する記憶媒体、例えば非接触型不揮発性メモリ、であるトナーカートリッジ側メモリ612A〜612Dが設けられている。そして、電源が立ち上がった後や、トナーカートリッジ611が現像装置61に装着された後に、そのトナーカートリッジ側メモリ612の情報が読み出される。また、現像後にトナーカートリッジ611のトナーカートリッジ側メモリ612の残量情報が更新される。なお、このトナーカートリッジ側メモリ612には、そのトナーカートリッジ611の製造元やリサイクル回数など同定情報が含まれていても良い。
図1に示す操作部7は、ユーザがプリンタ2を操作するための部分であり、表示パネル71(図2参照)や操作ボタン等で構成される。当該操作部7では、プリンタ2における印刷条件の設定など各種の設定行為が可能である。
以上説明したような構成を有する本実施の形態例に係るプリンタ2の作用について以下説明する。現像装置61にトナーカートリッジ611がそれぞれ装着されると、その装着状態が前述したトナーカートリッジ側メモリ612の情報読み出しにより認識され、プリンタ2は、印刷準備が完了する。その後、印刷時には、ホストコンピュータ1から所定の言語で記述された前記印刷データを供給され、感光体ドラム621への静電潜像の形成、対応するトナーカートリッジ611による現像、一次転写ユニット626による中間転写体627へのトナー像の転写が行なわれる。そして、さらに、二次転写ユニット628により紙などの印刷媒体に転写され、定着ユニット629により定着されて、プリンタ2外に排出される。主にこのような内容でプリンタ2は動作するが、本プリンタ2では、印刷処理前の準備段階における、各トナーカートリッジ611の前記同定情報の生成及び設定処理と、印刷処理時における同定情報に基づいたトナーカートリッジ611の選択(決定)処理に特徴があり、以下、これらの点について具体的に説明する。
まず、上記同定情報の生成及び設定処理については、3つの方法で行うことができる。一つ目の方法は、前述したトナーカートリッジ側メモリ612にそのトナーカートリッジ611の同定情報が書き込まれている場合であり、プリンタ2の電源投入時又はトナーカートリッジ611の装着時に、プリンタ2により自動的に上記同定情報が読み出されて設定処理が行われる。具体的には、プリンタ2の電源投入時又はトナーカートリッジ611の装着時に、CPU51がI/F55を介して各トナーカートリッジ側メモリ612A〜612Dから上記同定情報を読み出し、本体側メモリ54に格納された前記同定情報テーブル541の内容を更新する処理を行う。
図3は、前記同定情報テーブル541の内容を例示した図である。図3の(A)は、同定情報として品質が保証された品であるか否かという情報だけを有する場合であり、図3の(B)は、その他にリサイクル回数も有する場合を例示している。ここで、リサイクル品とは、使用済みのトナーカートリッジの容器が製造元などに回収され、その後、トナーが再充填されて再び製品化されたものであり、リサイクル回数とは、リサイクル品とされた回数のことである。図の(A)、(B)共に、左側の欄は、前述した現像装置61におけるカートリッジの装着位置を表しており、その右側の欄は、各装着位置に装着されているトナーカートリッジ611の同定情報を表している。例えば、図の(A)では、現像装置61のAという位置に装着されているトナーカートリッジ611Aは品質が保証された品でないことを表している。また、図の(B)では、現像装置61のCという位置に装着されているトナーカートリッジ611Cは品質が保証された品であり、リサイクル回数が2回であることを表している。
この場合には、前述したトナーカートリッジ側メモリ612にトナーカートリッジ611の製造元やリサイクル回数の情報が格納されており、電源投入時又はトナーカートリッジ611の装着時にCPU51がそれらの情報を読み出す。そして、製造元の情報から品質が保証された品であるか品質が確認されていない品であるかを判断し、図3の「品質が保証された品情報」を生成して本体側メモリ54に設定する。また、読み出されたリサイクル回数の情報は、そのまま図3の(B)の「リサイクル回数」として本体側メモリ54に設定される。このように、一つ目の方法では、トナーカートリッジ側メモリ612に格納されている情報から直接的に同定情報が生成されて設定される。
また、前記例では、トナーカートリッジ611の装着位置と同定情報を対応させたテーブル541としたが、各トナーカートリッジ611が有する識別番号(識別情報)と同定情報を対応させたものとし、当該識別番号とその識別番号のトナーカートリッジ611が装着されている位置との対応関係については、他のテーブルで保持するようにしてもよい。即ち、本体側メモリ54に、その時点で各装着位置に装着されているトナーカートリッジ611の同定情報を認識することができる情報が格納されていればよい。
次に、二つ目の方法は、トナーカートリッジ側メモリ612に直接、同定情報が格納されていないような場合に、プリンタ2がその他の情報に基づいて、品質が保証された品であるか否か等の判定を行ない、その判定に基づいて同定情報を生成、設定する方法である。例えば、通常、トナーカートリッジ側メモリ612では、情報ごとに格納(記憶)する領域が定められており、それが品質が保証された品と品質が確認されていない品とでは異なる場合があるので、CPU51が、トナーカートリッジ側メモリ612の所定領域に特定の情報(例えば、トナー残量)が記憶されているか否かをチェックし、それにより品質が保証された品であるか否かを判定することができる。また、トナーカートリッジ611のトナー充填可能量と実際のトナー消費量との関係から新品であるかリフィル品であるかを判定する方法などもとることができる。このように、判定された結果に基づく同定情報は、一つ目の方法の場合と同様に本体側メモリ54内の同定情報テーブル541に設定される。
また、三つ目の方法は、プリンタ2のユーザが同定情報テーブル541の情報を設定する方法である。この方法は、ユーザがプリンタ2に装着されているトナーカートリッジ611が品質が保証された品であるか否かなどを認知している場合であり、前述した操作部7やホストコンピュータ1における操作により行なう。具体的には、例えば、操作部7に同定情報設定用のインターフェースが用意され、そのインターフェースに基づくユーザの入力に従って、CPU51が同定情報テーブル541の情報を設定する。また、ホストコンピュータ1側のプリンタドライバ3が同定情報設定用の画面を表示し、その画面に対するユーザの入力情報が、プリンタ2側に送信されて、その情報に従ってCPU51が同定情報テーブル541の情報を設定するようにしてもよい。
以上説明したように、本プリンタ2においては、いくつかの方法により随時各カートリッジ位置の同定情報が更新され、同定情報テーブル541の内容が常に最新のものに保持される。そして、この同定情報テーブル541の情報が以下に説明する印刷実行時におけるトナーカートリッジ611の選択処理に利用される。なお、上述した3つのトナータイプの設定方法は、必ずしも全てを兼ね備えている必要はなく、いずれかの1つ以上の方法を備えていればよい。
次に、印刷処理時における同定情報に基づいたトナーカートリッジ611の選択(決定)処理について説明する。図4は、当該トナーカートリッジ611の選択処理の内容を例示したフローチャートである。前述の通り、印刷実行時には、ホストコンピュータ1から印刷データがプリンタ2に送信され、当該印刷データに基づきコントローラ部4においてエンジン6用のデータが生成される。そして、コントローラ部4において所定量の前記データが生成された時点で、エンジン制御部5に対して印刷実行開始の指示が与えられる。かかる指示を受けて、エンジン制御部5は印刷動作を開始すべくエンジン6の各部に対して制御を開始するが、その中で、前記トナーカートリッジ611の選択処理も行われる。
図4に戻って、当該選択処理が開始されると、まず、CPU51が本体側メモリ54にアクセスし、同定情報テーブル541を参照して品質が保証された品のトナーカートリッジ611が装着されているか否かをチェックする(ステップS11)。具体的には、例えば、図3の(A)に示した同定情報テーブル541の場合には、「品質が保証された品情報」が“Yes”である「カートリッジ位置」が有るか否かがチェックされる。
その結果、品質が保証された品のカートリッジがあると判定されると(ステップS11のYes)、CPU51は、品質が保証された品のトナーカートリッジ611にトナーが有るか否かをチェックする(ステップS12)。具体的には、各トナーカートリッジ側メモリ612に格納されるトナー残量に関する情報から判断する。図3の(A)に示した例の場合には、品質が保証された品が装着されているC及びDのカートリッジ位置のトナーカートリッジ611C及び611Dのトナー残量がチェックされる。その結果、品質が保証された品のトナーカートリッジ611にトナーが有れば(ステップS12のYes)、その品質が保証された品のトナーカートリッジ611を今回の印刷に使用するカートリッジとして選択する(ステップS13)。
図3の(A)に示した例の場合に、カートリッジ位置Cに装着されているトナーカートリッジ611Cにトナーが有り、カートリッジ位置Dに装着されているトナーカートリッジ611Dにトナーが無ければ、トナーカートリッジ611Cが選択されることになる。また、この例においてトナーカートリッジ611Cとトナーカートリッジ611Dの両方にトナーが有る場合のように、複数のトナーカートリッジ611にトナーが有る場合には、ステップS13において、所定の基準により一つのトナーカートリッジ611が選択される。例えば、製造日の最も古いものを選択するという方法や、トナー残量が最も多いものを選択するという方法などが用いられる。
一方、ステップS12において、トナーが有るカートリッジが無い場合には、即ち、装着されている品質が保証された品のトナーカートリッジ611の全てがトナー無しの場合には(ステップS12のNo)、CPU51は、トナーが無い旨をユーザに報告する(ステップS14)。具体的には、操作部7の表示パネル71にトナー無しの表示を行うなどする。
ステップS11に戻って、現像装置61に品質が保証された品のトナーカートリッジ611が無い場合には(ステップS11のNo)、CPU51は、現像装置61にトナーが有るカートリッジがあるか否かをチェックする(ステップS15)。かかるチェックは、前述のとおり、トナーカートリッジ側メモリ612のトナー残量情報に基づいて行なわれる。
その結果、トナーの有るカートリッジがあれば(ステップS15のYes)、CPU51は、当該トナーカートリッジ611を使用するトナーカートリッジとして選択し、合わせて、品質が確認されていない品のトナーカートリッジを使用している旨の報告をユーザに行なう(ステップS16)。具体的には、例えば、操作部7の表示パネル71に品質が確認されていない品の使用である旨を表示してユーザに警告する。なお、かかる警告は、印刷実行前、実行中、実行後のいずれのタイミングで行ってもよい。また、ステップS13の場合と同様に選択できるカートリッジが複数ある場合には、所定の基準により、一つのトナーカートリッジ611が選択される。
一方、トナーの有るカートリッジが無ければ(ステップS15のNo)、CPU51は、トナーが無い旨をユーザに報告する(ステップS14)。具体的には、操作部7の表示パネル71にトナー無しの表示を行うなどする。
以上説明したような内容でトナーカートリッジ611の選択処理が実行され、トナーカートリッジ611が選択された場合には(ステップS13及びS16)、その選択されたトナーカートリッジ611が感光体ドラム621に近接させられて現像が行われる。なお、このトナーカートリッジの選択処理は、ROM52に格納されたプログラムに従ってCPU51が処理を実行することによってなされる。
次に、以上図4に基づいて説明したトナーカートリッジ611の選択処理(方法(1))と若干異なる選択処理(方法(2))について説明する。本プリンタ2において、どちらの処理方法を用いても構わない。図5は、方法(2)によるトナーカートリッジ611の選択処理を例示したフローチャートである。方法(2)では、まず、プリンタ2の現像装置61に、品質が保証された品でありトナーの有るトナーカートリッジ611があるか否かがチェックされる(ステップS21)。具体的には、CPU51が、同定情報テーブル541を参照し、品質が保証された品のトナーカートリッジ611が装着されていれば、そのトナー残量をチェックする。
その結果、品質が保証された品でありトナーの有るトナーカートリッジ611があると判定されれば(ステップS21のYes)、そのカートリッジが印刷に使用するトナーカートリッジ611として選択される(ステップS22)。なお、選択対象となるカートリッジが複数存在する場合には、前述の通り、所定の基準に基づいて、一つのカートリッジが選択される。
一方、品質が保証された品でありトナーの有るトナーカートリッジ611がないと判定されれば(ステップS21のNo)、CPU51は、現像装置61に装着されているトナーカートリッジ611の中でトナーの有るカートリッジがあるか否かをチェックする(ステップS23)。これにより、品質が確認されていない品のトナーカートリッジにトナーが有るか否かがチェックされることとなる。
かかるチェックの結果、トナーの有るカートリッジがあれば(ステップS23のYes)、CPU51は、当該トナーカートリッジ611を使用するトナーカートリッジとして選択し、合わせて、品質が確認されていない品のトナーカートリッジを使用している旨の報告をユーザに行なう(ステップS24)。具体的には、例えば、操作部7の表示パネル71に品質が確認されていない品の使用である旨を表示してユーザに警告する。また、選択できるカートリッジが複数ある場合には、所定の基準により、一つのトナーカートリッジ611が選択される。
一方、トナーの有るカートリッジが無ければ(ステップS23のNo)、CPU51は、トナーが無い旨をユーザに報告する(ステップS25)。具体的には、操作部7の表示パネル71にトナー無しの表示を行うなどする。
以上説明したような内容でトナーカートリッジ611の選択処理が実行され、トナーカートリッジ611が選択された場合には(ステップS22及びS24)、その選択されたトナーカートリッジ611が感光体ドラム621に近接させられて現像が行われる。
このように、方法(2)では、現像装置61に品質が保証された品のトナーカートリッジ611が装着されていてもトナーが無い場合には、品質が確認されていない品のトナーカートリッジ611にトナーが有る限り印刷を実行する。一方、前述した方法(1)では、品質が保証された品のトナーカートリッジ611が装着されていれば、そのトナーの有る無しに関わらず品質が確認されていない品での印刷は行わない。従って、方法(1)の方が、品質が確認されていない品の使用が少なくなり、品質が確認されていない品の使用防止の効果が大きく、一方、方法(2)では、印刷が停止されないで実行されることが多くなるので、ユーザの利便性が高いといえる。
図6は、方法(1)と方法(2)による処理の結果を例示した図である。図の左側の表は、本体側メモリ54に格納される同定情報テーブル541の内容を示しており、中央の表は、トナーカートリッジ611の前記選択処理を行う際の各トナーカートリッジ611のトナーの有無を示している。また、図の右側の表は、同定情報テーブル541及びトナーの有無の状態が、上記各表に示されている状態であった場合の、方法(1)と方法(2)による処理のそれぞれの結果を示している。図にも示されている通り、“×”はそれに対応する「カートリッジ位置」に装着されているトナーカートリッジ611が選択されなかったことを示し、“○”はそれに対応する「カートリッジ位置」に装着されているトナーカートリッジ611が選択されたことを示している。
この例において、方法(1)では、前述の図4に従って処理が行われ、その結果、ステップS14によるトナー無しの報告がなされ、印刷は行われない。一方、方法(2)では、前述の図5に従って処理が行われ、その結果、ステップS24によるカートリッジの選択及びそのカートリッジによる印刷実行と品質が確認されていない品の使用の警告がなされる。
以上、同定情報に基づくトナーカートリッジ611の選択処理について2つの例を示したが、これらの他にも前述したトナーカートリッジのリサイクル回数を用いた選択方法等を取ることもできる。リサイクル回数を用いる場合には、例えば、品質が保証された品のトナーカートリッジ側メモリ612に格納されている当該カートリッジのリサイクル回数の情報等に基づいて、図3の(B)に例示したような同定情報テーブル541を作成しておき、カートリッジの選択処理時においては、リサイクル回数の少ないものから選択するという処理を行うこともできる。より具体的には、前述した方法(1)あるいは方法(2)において、複数の品質が保証された品のトナーカートリッジ611が選択対象となった場合に、換言すれば、トナーが有る品質が保証された品のトナーカートリッジが複数装着されている場合に、上記同定情報テーブル541を参照して、リサイクル回数の最も少ないカートリッジを選択する、という処理を行う。このような処理をすることで、高品質の印刷及び機器の劣化防止等をより確保することができる。
以上説明したように、本実施の形態例におけるプリンタ2では、複数の同色のトナーカートリッジ611が装着され、電源投入時やトナーカートリッジ611の装着時など所定のタイミングで装着しているそれらトナーカートリッジ611の同定情報が設定(認識)され、印刷実行時に当該設定された同定情報に基づいて使用するトナーカートリッジ611が選択される。そして、そのカートリッジ選択において、品質が保証された品が優先され、また、品質が保証された品のトナーカートリッジ611が選択される場合には、品質が確認されていない品のトナーカートリッジ611が装着されていてもその旨の警告を行なわない。また、品質が保証された品のトナーカートリッジ611が選択できない場合には、品質が確認されていない品のトナーカートリッジ611により、警告を出しながら印刷を実行することができる。
従って、同色のトナーカートリッジが複数個、装着可能な場合においても、品質が確認されていない品の使用について適切な対応が取れ、品質が保証された品を優先して使用するため、品質が確認されていない品の使用が極力防止される。よって、性能低下、機器劣化、及び早期故障を防ぐことができる。また、品質が保証された品が選択される限り警告が出ないので、ユーザの煩わしさを低減することができ、品質が保証された品のトナーカートリッジが使用できない場合でも印刷が可能となる場合があるので、ユーザにとって利便性が高い。
なお、前記実施の形態例においては、現像装置61に装着可能な4個のトナーカートリッジを全て同色のトナーカートリッジとしたが、装着される同色のトナーカートリッジの数は、1〜3個であってもよい。かかる場合にも、それら同色のトナーカートリッジについて、前述したような選択処理が実行される。
また、前記実施の形態例においては、同定情報テーブル541がエンジン制御部5に格納され、前述したカートリッジの選択処理が、エンジン制御部5のROM52に格納されたプログラムに従ったエンジン制御部5のCPU51の動作で実行されたが、かかるカートリッジの選択処理は、コントローラ部4で行われてもよい。この場合には、同定情報テーブル541を格納する本体側メモリ54、プログラムを格納するROM52、及びCPU51に相当するものが、コントローラ部4側に備えられ、コントローラ部4で選択され、使用することが決定したトナーカートリッジ611の情報(番号)が、コントローラ部4からエンジン制御部5に伝えられることになる。
本発明の保護範囲は、上記の実施の形態に限定されず、特許請求の範囲に記載された発明とその均等物に及ぶものである。
1 ホストコンピュータ、 2 プリンタ、 3 プリンタドライバ、 4 コントローラ部、 5 エンジン制御部、 6 エンジン、 7 操作部、 51 CPU(選択手段、設定手段)、 52 ROM、 53 RAM、 54 本体側メモリ(記憶手段)、 55 I/F、 61 現像装置(現像手段)、 62 その他ユニット、 541 同定情報テーブル、 611 トナーカートリッジ(現像ユニット)、 612 トナーカートリッジ側メモリ
Claims (6)
- 同色のトナーを収容する複数個の現像ユニットが着脱可能に装着される現像手段を備える画像形成装置であって、
少なくとも、前記現像手段に装着される各現像ユニットが品質が保証された品であるか否かに関する情報を含む同定情報を記憶する記憶手段と、
前記記憶手段に記憶された同定情報に基づいて、画像形成に使用する前記現像ユニットを選択する選択手段とを有する
ことを特徴とする画像形成装置。 - 請求項1において、
前記選択手段が、前記同定情報に基づく現像ユニットの選択時に、品質が保証された品である前記現像ユニットを優先して選択する
ことを特徴とする画像形成装置。 - 請求項1あるいは請求項2において、
前記選択手段が品質が保証された品である前記現像ユニットを選択した際には、前記現像手段に品質が保証された品でない現像ユニットが装着されている場合にも、品質が保証された品でない現像ユニットが装着されている旨の警告を行なわない
ことを特徴とする画像形成装置。 - 請求項1乃至請求項3のいずれかにおいて、
前記記憶手段が記憶する同定情報に、前記現像ユニットのリサイクル回数の情報が含まれ、
前記選択手段が、前記同定情報に基づく現像ユニットの選択時に、前記リサイクル回数が少ない前記現像ユニットを優先して選択する
ことを特徴とする画像形成装置。 - 請求項1乃至請求項4のいずれかにおいて、更に、
前記現像ユニットが備えるメモリに格納された情報に基づいて、前記記憶手段に前記同定情報を設定する設定手段を有する
ことを特徴とする画像形成装置。 - 請求項5において、
前記設定手段は、前記画像形成装置の電源投入時または前記現像ユニットの装着時に、前記同定情報を設定する
ことを特徴とする画像形成装置。
Priority Applications (1)
| Application Number | Priority Date | Filing Date | Title |
|---|---|---|---|
| JP2004288132A JP2005292771A (ja) | 2004-03-11 | 2004-09-30 | 画像形成装置 |
Applications Claiming Priority (2)
| Application Number | Priority Date | Filing Date | Title |
|---|---|---|---|
| JP2004069402 | 2004-03-11 | ||
| JP2004288132A JP2005292771A (ja) | 2004-03-11 | 2004-09-30 | 画像形成装置 |
Publications (1)
| Publication Number | Publication Date |
|---|---|
| JP2005292771A true JP2005292771A (ja) | 2005-10-20 |
Family
ID=35325714
Family Applications (1)
| Application Number | Title | Priority Date | Filing Date |
|---|---|---|---|
| JP2004288132A Pending JP2005292771A (ja) | 2004-03-11 | 2004-09-30 | 画像形成装置 |
Country Status (1)
| Country | Link |
|---|---|
| JP (1) | JP2005292771A (ja) |
Cited By (1)
| Publication number | Priority date | Publication date | Assignee | Title |
|---|---|---|---|---|
| US10305892B2 (en) | 2016-01-18 | 2019-05-28 | Samsung Electronics Co., Ltd. | Device system for performing group authentication and operating method thereof |
-
2004
- 2004-09-30 JP JP2004288132A patent/JP2005292771A/ja active Pending
Cited By (1)
| Publication number | Priority date | Publication date | Assignee | Title |
|---|---|---|---|---|
| US10305892B2 (en) | 2016-01-18 | 2019-05-28 | Samsung Electronics Co., Ltd. | Device system for performing group authentication and operating method thereof |
Similar Documents
| Publication | Publication Date | Title |
|---|---|---|
| JP3912026B2 (ja) | 画像形成装置 | |
| US7236725B2 (en) | Image formation device enabling switching between color printing mode and monochrome printing mode | |
| JP4366613B2 (ja) | 画像形成装置及び画像形成装置の設定方法 | |
| US7286775B2 (en) | Image formation device enabling switching display of remaining developing agent in monochrome printing mode | |
| JP4461906B2 (ja) | 印刷のスループットを低下させずにキャリブレーションを行う画像形成装置 | |
| US7313334B2 (en) | Image formation device enabling switching between color printing mode and monochrome printing mode | |
| JP2004042623A (ja) | プリンタ、その設定方法、そのプログラム及びカートリッジ | |
| US7317880B2 (en) | Image forming device for controlling density adjustment based on a type of development unit | |
| JP4363402B2 (ja) | モノクロ印刷モードでの装着された現像剤の残量総量表示が可能な画像形成装置 | |
| JP4682537B2 (ja) | 画像形成装置、画像形成システム、及び画像形成装置用プログラム | |
| JP2005246723A (ja) | 画像形成装置及びドライバプログラム | |
| JP2005292771A (ja) | 画像形成装置 | |
| JP2006003498A (ja) | 画像形成装置及びドライバプログラム | |
| JP2009244892A (ja) | 画像形成装置用消耗品カートリッジ及び画像形成システム | |
| US20070092268A1 (en) | Image forming device, control method thereof, and computer readable medium recording a control program | |
| JP4576990B2 (ja) | 画像形成装置 | |
| US7447459B2 (en) | Image formation device which operates in a plurality of startup modes | |
| JP2005352409A (ja) | 画像形成装置 | |
| JP2006047838A (ja) | 画像形成装置及びドライバプログラム | |
| JP2007114535A (ja) | 画像形成装置、その制御方法、及び制御プログラム | |
| JP4736421B2 (ja) | 画像形成装置 | |
| JP4492603B2 (ja) | 画像形成装置 | |
| JP2006231697A (ja) | 画像形成装置、ファームウェア書換方法 | |
| JP2005227739A (ja) | カラー印刷モードとモノクロ印刷モードとの切り替え可能な画像形成装置 | |
| JP2005321709A (ja) | 管理動作に特定の現像ユニットを使用する画像形成装置 |