JP4635470B2 - 炭化珪素半導体装置およびその製造方法 - Google Patents

炭化珪素半導体装置およびその製造方法 Download PDF

Info

Publication number
JP4635470B2
JP4635470B2 JP2004122796A JP2004122796A JP4635470B2 JP 4635470 B2 JP4635470 B2 JP 4635470B2 JP 2004122796 A JP2004122796 A JP 2004122796A JP 2004122796 A JP2004122796 A JP 2004122796A JP 4635470 B2 JP4635470 B2 JP 4635470B2
Authority
JP
Japan
Prior art keywords
silicon carbide
semiconductor substrate
forming
conductivity type
insulating film
Prior art date
Legal status (The legal status is an assumption and is not a legal conclusion. Google has not performed a legal analysis and makes no representation as to the accuracy of the status listed.)
Expired - Fee Related
Application number
JP2004122796A
Other languages
English (en)
Other versions
JP2005310886A (ja
Inventor
淳 小島
剛 遠藤
英一 奥野
Current Assignee (The listed assignees may be inaccurate. Google has not performed a legal analysis and makes no representation or warranty as to the accuracy of the list.)
Denso Corp
Original Assignee
Denso Corp
Priority date (The priority date is an assumption and is not a legal conclusion. Google has not performed a legal analysis and makes no representation as to the accuracy of the date listed.)
Filing date
Publication date
Application filed by Denso Corp filed Critical Denso Corp
Priority to JP2004122796A priority Critical patent/JP4635470B2/ja
Priority to DE102005017814.6A priority patent/DE102005017814B4/de
Priority to US11/108,906 priority patent/US7365363B2/en
Priority to SE0500865A priority patent/SE527922C2/sv
Publication of JP2005310886A publication Critical patent/JP2005310886A/ja
Priority to US11/882,137 priority patent/US7968892B2/en
Application granted granted Critical
Publication of JP4635470B2 publication Critical patent/JP4635470B2/ja
Anticipated expiration legal-status Critical
Expired - Fee Related legal-status Critical Current

Links

Images

Classifications

    • HELECTRICITY
    • H10SEMICONDUCTOR DEVICES; ELECTRIC SOLID-STATE DEVICES NOT OTHERWISE PROVIDED FOR
    • H10DINORGANIC ELECTRIC SEMICONDUCTOR DEVICES
    • H10D30/00Field-effect transistors [FET]
    • H10D30/60Insulated-gate field-effect transistors [IGFET]
    • H10D30/63Vertical IGFETs
    • H10D30/635Vertical IGFETs having no inversion channels, e.g. vertical accumulation channel FETs [ACCUFET] or normally-on vertical IGFETs
    • HELECTRICITY
    • H10SEMICONDUCTOR DEVICES; ELECTRIC SOLID-STATE DEVICES NOT OTHERWISE PROVIDED FOR
    • H10DINORGANIC ELECTRIC SEMICONDUCTOR DEVICES
    • H10D30/00Field-effect transistors [FET]
    • H10D30/01Manufacture or treatment
    • H10D30/021Manufacture or treatment of FETs having insulated gates [IGFET]
    • H10D30/028Manufacture or treatment of FETs having insulated gates [IGFET] of double-diffused metal oxide semiconductor [DMOS] FETs
    • H10D30/0291Manufacture or treatment of FETs having insulated gates [IGFET] of double-diffused metal oxide semiconductor [DMOS] FETs of vertical DMOS [VDMOS] FETs
    • HELECTRICITY
    • H10SEMICONDUCTOR DEVICES; ELECTRIC SOLID-STATE DEVICES NOT OTHERWISE PROVIDED FOR
    • H10DINORGANIC ELECTRIC SEMICONDUCTOR DEVICES
    • H10D62/00Semiconductor bodies, or regions thereof, of devices having potential barriers
    • H10D62/80Semiconductor bodies, or regions thereof, of devices having potential barriers characterised by the materials
    • H10D62/83Semiconductor bodies, or regions thereof, of devices having potential barriers characterised by the materials being Group IV materials, e.g. B-doped Si or undoped Ge
    • H10D62/832Semiconductor bodies, or regions thereof, of devices having potential barriers characterised by the materials being Group IV materials, e.g. B-doped Si or undoped Ge being Group IV materials comprising two or more elements, e.g. SiGe
    • H10D62/8325Silicon carbide
    • HELECTRICITY
    • H10SEMICONDUCTOR DEVICES; ELECTRIC SOLID-STATE DEVICES NOT OTHERWISE PROVIDED FOR
    • H10DINORGANIC ELECTRIC SEMICONDUCTOR DEVICES
    • H10D64/00Electrodes of devices having potential barriers
    • H10D64/60Electrodes characterised by their materials
    • H10D64/66Electrodes having a conductor capacitively coupled to a semiconductor by an insulator, e.g. MIS electrodes
    • H10D64/68Electrodes having a conductor capacitively coupled to a semiconductor by an insulator, e.g. MIS electrodes characterised by the insulator, e.g. by the gate insulator
    • H10D64/681Electrodes having a conductor capacitively coupled to a semiconductor by an insulator, e.g. MIS electrodes characterised by the insulator, e.g. by the gate insulator having a compositional variation, e.g. multilayered
    • H10D64/685Electrodes having a conductor capacitively coupled to a semiconductor by an insulator, e.g. MIS electrodes characterised by the insulator, e.g. by the gate insulator having a compositional variation, e.g. multilayered being perpendicular to the channel plane
    • HELECTRICITY
    • H10SEMICONDUCTOR DEVICES; ELECTRIC SOLID-STATE DEVICES NOT OTHERWISE PROVIDED FOR
    • H10DINORGANIC ELECTRIC SEMICONDUCTOR DEVICES
    • H10D64/00Electrodes of devices having potential barriers
    • H10D64/60Electrodes characterised by their materials
    • H10D64/66Electrodes having a conductor capacitively coupled to a semiconductor by an insulator, e.g. MIS electrodes
    • H10D64/68Electrodes having a conductor capacitively coupled to a semiconductor by an insulator, e.g. MIS electrodes characterised by the insulator, e.g. by the gate insulator
    • H10D64/691Electrodes having a conductor capacitively coupled to a semiconductor by an insulator, e.g. MIS electrodes characterised by the insulator, e.g. by the gate insulator comprising metallic compounds, e.g. metal oxides or metal silicates 
    • HELECTRICITY
    • H10SEMICONDUCTOR DEVICES; ELECTRIC SOLID-STATE DEVICES NOT OTHERWISE PROVIDED FOR
    • H10PGENERIC PROCESSES OR APPARATUS FOR THE MANUFACTURE OR TREATMENT OF DEVICES COVERED BY CLASS H10
    • H10P90/00Preparation of wafers not covered by a single main group of this subclass, e.g. wafer reinforcement
    • H10P90/12Preparing bulk and homogeneous wafers
    • H10P90/129Preparing bulk and homogeneous wafers by polishing

Landscapes

  • Electrodes Of Semiconductors (AREA)

Description

本発明は、炭化珪素半導体装置及びその製造方法に関し、特に絶縁ゲート型電界効果トランジスタ、とりわけ大電力用の縦型パワーMOSFETに関するものである。
従来、特許文献1において、蓄積モードで作動する炭化珪素半導体装置として、パワーMOSFETが提案されている。このパワーMOSFETでは、SiO2からなるゲート酸化膜の下方において、n-型ベース領域の表面には、n+型ソース領域とn+型エピタキシャル層(以下、n+型エピ層という)とを連結するようにn-型層が配置された状態となっている。
このように構成された炭化珪素半導体装置は、ゲート電極に電圧を印加する前のときにはn-型層が空乏化され、オフ状態となる。そして、ゲート電圧を印加することによってn-型層とゲート絶縁膜との界面において、n+型ソース領域4a、4bからn-型ドリフト領域2方向へ延びるチャネル領域が形成されることで、オン状態にスイッチングされ、電流を流すようになっている。
このように、上記パワーMOSFETは、チャネル形成層の導電型を反転させることなくチャネルを誘起する蓄積モードで作動することから、導電型を反転させる反転モードのMOSFETに比べ、チャネル移動度を大きくしてオン抵抗を低減させることが可能となる。
特開平11−288017号公報
上記構成のパワーMOSFETでは、ゲート絶縁膜に酸化膜(SiO2)を用いている。しかしながら、このような酸化膜で構成されたゲート絶縁膜の場合、ゲート絶縁膜とチャネルとなるn-型層との間に界面準位が形成される。そして、その界面準位がエネルギー的に電子電流が流れるコンダクションバンド付近に形成されることから、この電荷を帯びた界面準位が電流の流れに影響してチャネル移動度を低下させ、パワーMOSFETのオン抵抗を高くするという問題が発生することが判った。
本発明は上記点に鑑みて、ゲート絶縁膜とチャネル層との間に発生する界面準位に起因したオン抵抗の増加を防止することを目的とする。
上記目的を達成するため、請求項1に記載の発明では、主表面が(0001)Si面に対して10〜20°傾いた単結晶炭化珪素基板を半導体基板として用い、ゲート絶縁膜(7)に接する蓄積型のチャネル層(5)を有する炭化珪素半導体装置におけるゲート絶縁膜として高誘電体膜が含まれるものを用いていることを特徴としている。
オフ角を変えた半導体基板を作成し、オフ角と研磨傷の密度との相関を調べたところ、オフ角が10°以上になると研磨傷が顕著に低下することが確認された。また、そのときの表面の凹凸も少なくなり、結晶欠陥の少ない半導体基板にできることが確認された。
したがって、このように結晶欠陥が少なくできる(0001)Si面に対して10〜20°傾いた面を用いることにより、他の面と比べて界面準位を低減することができ、より界面準位による電流の流れの影響を低減することが可能となる。これにより、パワーMOSFETの更なるチャネル移動度の向上を図ることが可能となる。
また、チャネル層の表面に高誘電体膜を形成することで、界面準位がコンダクションバンド近辺に高密度に集中しないようにすることが可能となる。したがって、界面準位が電流の流れに影響を及ぼすことによってチャネル移動度を低下させるという問題を解消でき、チャネル移動度を向上させることが可能となる。
請求項に記載の発明では、高誘電体膜とこの高誘電体膜の表面に形成された酸化膜(7b)の積層構造でゲート絶縁膜を形成することを特徴としている。
これにより、ゲート絶縁膜のうちチャネル層に接する部分についてコンダクションバンド近辺に界面準位が高密度に集中しないようにしつつ、高誘電体膜の上に酸化膜を形成することで炭化珪素のエネルギー準位Ecの端からの差ΔEcを高くすることができる。これにより、ゲートリーク電流が発生するのに必要とされるエネルギー障壁が高くなり、ゲートリーク電流の発生を防ぐことが可能となる。
請求項2に記載の発明では、主表面が(0001)Si面と、(0001)Si面に対して10〜20°傾いた面との、少なくとも2面を含むステップバンチングが形成された単結晶炭化珪素基板を半導体基板として用いることを特徴としている。
このような(0001)Si面とこの面から10〜20°傾いた面とを主表面とする単結晶炭化珪素基板は、他の面を主表面とする単結晶炭化珪素基板と比べて界面準位を低減することができることから、より界面準位による電流の流れの影響を低減することが可能となる。これにより、パワーMOSFETの更なるチャネル移動度の向上を図ることが可能となる。
この場合、請求項に示されるように、(0001)Si面の面積と比べて、(0001)Si面に対して10〜20°傾いた面の面積の方が大きくなるようにすると、より効果的に上記効果を得ることができる。また、この場合、請求項に示されるように、半導体基板における(0001)Si面に対して10〜20°傾いた面を、<11−20>方向に傾けるようにすると、より効果的に上記効果を得ることができるため好ましい。
請求項6ないし10に記載の発明は、上記請求項1ないしに記載の発明を方法的に示したものである。これら各請求項に示されるように、炭化珪素半導体装置という物の発明としてだけでなく、方法の発明として本発明を具現化することも可能である。この場合、上記各請求項と同様の効果を得ることが可能となる。
なお、上記各手段の括弧内の符号は、後述する実施形態に記載の具体的手段との対応関係を示すものである。
以下、本発明の実施形態について図に基づいて説明する。なお、以下の各実施形態相互において、互いに同一もしくは均等である部分には、図中、同一符号を付してある。
(第1実施形態)
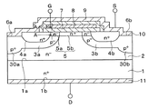
図1に、本実施の形態におけるノーマリオフ型のnチャネルタイププレーナ型MOSFET(縦型パワーMOSFET)の断面図を示す。本デバイスは、インバータや車両用オルタネータのレクチファイヤに適用すると好適である。以下、図1に基づいてプレーナ型MOSFETの構造について説明する。
炭化珪素からなるn+型半導体基板1は上面を主表面1aとし、主表面の反対面である下面を裏面1bとしている。このn+型半導体基板1の主表面1a上には、基板1よりも低いドーパント濃度を有する炭化珪素からなるn-型エピタキシャル層(以下、n-型エピ層という)2が積層されている。このとき、n+型半導体基板1およびn-型エピ層2の上面を(0001)Si面としているが、n+型半導体基板1およびn-型エピ層2の上面を(11−20)a面としてもよい。つまり、(0001)Si面を用いると低い表面状態密度が得られ、(11−20)a面を用いると、低い表面状態密度で、かつ、完全にらせん転位の無い結晶が得られる。
-型エピ層2の表層部における所定領域には、所定深さを有するp-型ベース領域3aおよびp-型ベース領域3bが離間して形成されている。また、ベース領域3a、3bにおいて、一部厚さが厚くなったディープベース層30a、30bが形成されている。このディープベース層30a、30bは、n+型ソース領域4a、4bに重ならない部分に形成されており、p-型炭化珪素ベース領域3a、3bのうちディープベース層30a、30bが形成された厚みが厚くなった部分が、ディープベース層30aが形成されていない厚みの薄い部分よりも不純物濃度が濃くなっている。
このようなディープベース層30a、30bによって、ディープベース層30a、30b下のn-型エピ層2における厚さが薄くなり(n+型半導体基板1とディープベース層30a、30bとの距離が短くなり)電界強度を高くすることができ、アバランシェブレークダウンさせ易くすることができる。
また、p-型ベース領域3a、3bの表層部における所定領域には、ベース領域3a、3bよりも浅いn+型ソース領域4a、4bが形成されている。さらに、n+型ソース領域4aとn+型ソース領域4bとの間におけるn-型エピ層2およびp-型ベース領域3a、3bの表面部には炭化珪素からなるn型の表面チャネル層5が延設されている。つまり、p-型ベース領域3a、3bの表面部においてソース領域4a、4bとn-型エピ層2とを繋ぐようにn型チャネル層5が配置されている。
このn型の表面チャネル層5は、p-型ベース領域3a、3bの表層部に位置する低濃度なn-型層5aとn-型エピ層2の表層部に位置する高濃度なn+型層5bとを有した構成となっている。このn型チャネル層5は、デバイスの動作時にデバイス表面においてチャネル形成層として機能する。そして、n-型チャネル層5のうち、p-型ベース層3a、3bの表面部では低濃度のn-型層5aとすることで実質的にチャネル領域となる部分の濃度を調整し、n-型エピ層2の表面部では高濃度のn+型層5bとすることでn型チャネル層5の内部抵抗を低減し、オン抵抗の低下を図るようにしている。
また、p-型ベース領域3a、3b、n+型ソース領域4a、4bの表面部には凹部6a、6bが形成されている。これら凹部6a、6bにより、p-型ベース領域3a、3bの表面が露出させられている。
表面チャネル層5の上面およびn+型ソース領域4a、4bの上面にはゲート絶縁膜7が形成されている。さらに、ゲート絶縁膜7の上にはポリシリコンゲート電極8が形成されている。ポリシリコンゲート電極8は絶縁膜9にて覆われている。絶縁膜9としてLTO(Low Temperature Oxide)膜が用いられている。その上にはソース電極10が形成され、ソース電極10はn+型ソース領域4a、4bおよびp-型ベース領域3a、3bと接している。また、n+型半導体基板1の裏面1bには、裏面電極となるドレイン電極11が形成されている。
なお、n-型エピ層2のうち、p-型ベース領域3a、3bに挟まれた部分がいわゆるJ−FET部を構成する。
次に、図1に示す縦型パワーMOSFETの製造工程を、図2〜図4を用いて説明する。
〔図2(a)に示す工程〕
まず、n型4Hまたは6Hまたは3C−SiC基板、すなわちn+型半導体基板1を用意する。例えば、n+型半導体基板1として、その厚さが400μm、主表面1aが(0001)Si面、又は、(112−0)a面のものを用いる。この基板1の主表面1aに厚さ5μmのn-型エピ層2をエピタキシャル成長させる。これにより、n-型エピ層2は下地の基板1と同様の結晶が得られ、n型4Hまたは6Hまたは3C−SiC層となる。
〔図2(b)に示す工程〕
-型エピ層2の上の所定領域にLTO膜20を配置し、これをマスクとしてB+(若しくはアルミニウム)をイオン注入して、p-型ベース領域3a、3bを形成する。このとき、イオン注入条件は、温度が700℃で、ドーズ量が1×1016cm-2としている。
〔図2(c)に示す工程〕
LTO膜20を除去した後、基板1の上面からN+をイオン注入して、n-型エピ層2の表層部及びp-型ベース領域3a、3bの表面部(表層部)に表面チャネル層5を形成する。このとき、イオン注入条件は、温度が700℃、ドーズ量が1×1016cm-2としている。これにより、表面チャネル層5は、p-型ベース領域3a、3bの表面部では補償されてn型の不純物濃度が薄いn-型層5aとなり、n-型エピ層2の表面部ではn型の不純物濃度が濃いn+型層5bとなる。
また、縦型パワーMOSFETをノーマリオフ型にするために、p-型ベース領域3a、3bから広がる空乏層の伸び量と、ゲート絶縁膜7から広がる空乏層の伸び量との和が表面チャネル層5の厚み以上となるように上記イオン注入条件が設定されている。
このようなノーマリオフ型の縦型パワーMOSFETは、故障などによってゲート電極に電圧が印加できないような状態となっても、電流が流れないようにすることができるため、ノーマリオン型のものと比べて安全性を確保することができる。
〔図3(a)に示す工程〕
表面チャネル層5の上の所定領域にLTO膜21を配置し、これをマスクとしてN+をイオン注入し、n+型ソース領域4a、4bを形成する。このときのイオン注入条件は、700℃、ドーズ量は1×1015cm-2としている。
〔図3(b)に示す工程〕
そして、LTO膜21を除去した後、フォトレジスト法を用いて表面チャネル層5の上の所定領域にLTO膜22を配置し、これをマスクとしてRIEによりp-型炭化珪素ベース領域3a、3b上の表面チャネル層5を部分的にエッチング除去する。
〔図3(c)に示す工程〕
さらに、LTO膜22をマスクにしてB+をイオン注入し、ディープベース層30a、30bを形成する。これにより、ベース領域3a、3bの一部が厚くなったものとなる。このディープベース層30a、30bは、n+型ソース領域4a、4bに重ならない部分に形成されると共に、p-型ベース領域3a、3bのうちディープベース層30a、30bが形成された厚みが厚くなった部分が、ディープベース層30aが形成されていない厚みの薄い部分よりも不純物濃度が濃く形成される。
〔図4(a)に示す工程〕
LTO膜22を除去した後、基板上にゲート絶縁膜7として高誘電体膜であるHfO2を形成する。このとき、例えば、基板温度500℃としてスパッタ法により、HfO2を形成する。そして、スパッタ後に、O2雰囲気で適宜熱処理を行う。
〔図4(b)に示す工程〕
引き続き、ゲート絶縁膜7の不要部分を除去した後、LTOよりなる絶縁膜9を形成しゲート絶縁膜7を覆う。このとき、成膜温度を425℃として、成膜後に1000℃のアニールを行う。
〔図4(c)に示す工程〕
そして、室温での金属スパッタリングによりソース電極10及びドレイン電極11を配置する。また、成膜後に1000℃のアニールを行う。このようにして、図1に示す縦型パワーMOSFETが完成する。
次に、この縦型パワーMOSFETの作用(動作)を説明する。本MOSFETはノーマリオフ型の蓄積モードで動作するものであって、ポリシリコンゲート電極に電圧を印加しない場合は、表面チャネル層5においてキャリアは、p-型ベース領域3a、3bと表面チャネル層5との間の静電ポテンシャルの差、及び表面チャネル層5とポリシリコンゲート電極8との間の仕事関数の差により生じた電位によって全域空乏化される。ポリシリコンゲート電極8に電圧を印加することにより、表面チャネル層5とポリシリコンゲート電極8との間の仕事関数の差と外部からの印加電圧の和により生じる電位差を変化させる。このことにより、チャネルの状態を制御することができる。
つまり、ポリシリコンゲート電極8の仕事関数を第1の仕事関数とし、p-型ベース領域3a、3bの仕事関数を第2の仕事関数とし、表面チャネル層5の仕事関数を第3の仕事関数としたとき、第1〜第3の仕事関数の差を利用して、表面チャネル層5のn型のキャリアを空乏化する様に第1〜第3の仕事関数と表面チャネル層5の不純物濃度及び膜厚を設定することができる。
また、オフ状態において、空乏領域は、p-型ベース領域3a、3b及びポリシリコンゲート電極8により作られた電界によって、表面チャネル層5内に形成される。この状態からポリシリコンゲート電極8に対して正のバイアスを供給すると、ゲート絶縁膜(SiO2)7と表面チャネル層5との間の界面においてn+型ソース領域4a、4bからn-型ドリフト領域2方向へ延びるチャネル領域が形成され、オン状態にスイッチングされる。このとき、電子は、n+型ソース領域4a、4bから表面チャネル層5を経由し表面チャネル層5からn-型エピ層2に流れる。そして、n-型エピ層2(ドリフト領域)に達すると、電子は、ドレイン領域を構成するn+型半導体基板1へ垂直に流れる。
このようにゲート電極8に正の電圧を印加することにより、表面チャネル層5に蓄積型チャネルを誘起させ、ソース電極10とドレイン電極11との間にキャリアが流れる。
このように、プレーナ型MOSFETにおいて、動作モードをチャネル形成層の導電型を反転させることなくチャネルを誘起する蓄積モードとすることで、導電型を反転させる反転モードのMOSFETに比べ、チャネル移動度を大きくしてオン抵抗を低減させるようにしている。
そして、本実施形態では、このような構成のパワーMOSFETにおけるゲート絶縁膜7をHfO2という高誘電体膜で構成している。このように、ゲート絶縁膜7を高誘電体膜で構成した場合と、従来のような酸化膜(SiO2)で構成した場合それぞれにおけるエネルギーバンド図を図5(a)、(b)に示す。なお、これら図5(a)、(b)は、図1におけるA−A断面部分におけるエネルギーバンドを示したものに相当する。
ゲート絶縁膜7を酸化膜で構成した場合には、図5(b)に示されるように、−電荷を界面準位がコンダクションバンド近辺に高密度に形成される。このため、この界面準位が電流の流れに影響を及ぼし、チャネル移動度を低下させる要因になっていた。
これに対し、ゲート絶縁膜7を高誘電体膜で構成した場合には、図5(a)に示されるように、界面準位が存在するものの、コンダクションバンド近辺に高密度に集中することはない。このため、界面準位が電流の流れに影響を及ぼすことはほとんどなく、チャネル移動度を低下させることもない。
以上説明したように、本実施形態のパワーMOSFETでは、ゲート絶縁膜7として高誘電体膜を用いている。このため、界面準位がコンダクションバンド近辺に高密度に集中しないようにすることが可能となる。したがって、界面準位が電流の流れに影響を及ぼすことによってチャネル移動度を低下させるという問題を解消でき、チャネル移動度を向上させることが可能となる。
(第1実施形態の変形例)
上記第1実施形態では、ゲート絶縁膜7の材質となる高誘電体膜としてHfO2を用いているが、この他の高誘電体膜を用いることも可能である。例えば、HfAlOXを高誘電体膜として用いることも可能である。この場合、第1実施形態で示した図4(a)に示す工程において、例えばMO−CVD法によってHfAlOXを形成する。例えば、500℃のO2雰囲気中でHfAlOXの成膜を行い、成膜後に700℃の熱処理を行うことで、ゲート絶縁膜7を形成することができる。その他にもHfSiONを高誘電体膜として用いることも可能である。例えば反応性スパッタ法にて形成する。その後、N2雰囲気中で950℃〜1100℃の熱処理を行うことでゲート絶縁膜7を形成することができる。
(第2実施形態)
本発明の第2実施形態について説明する。本実施形態は、第1実施形態に対してゲート絶縁膜7の構造を変更したものであり、他の部分については同様であるため、異なる部分についてのみ説明する。
図6は、本実施形態のパワーMOSFETにおけるゲート絶縁膜7の部分近傍を拡大したものである。
この図に示されるように、本実施形態では、ゲート絶縁膜7が高誘電体膜7aと酸化膜7bを積層した積層膜によって構成されている。すなわち、表面チャネル層5の表面に高誘電体膜7aを形成したのち、高誘電体膜7aの表面に酸化膜7bを形成した構造としている。
このような構造の場合のエネルギーバンド図を図7に示す。この図に示されるように、炭化珪素からなる表面チャネル層5の表面に形成される高誘電体膜7aには、上述した第1実施形態と同様に、界面準位がコンダクションバンド近辺に高密度に集中しない状態となっている。
しかしながら、ゲート絶縁膜7を高誘電体膜のみで構成した場合、従来のように酸化膜のみで構成した場合と比べて、高温下および高ゲート電圧下においてゲートリーク電流が多く流れる可能性がある。これは、コンダクションバンド側における炭化珪素のエネルギー準位Ecの端と高誘電体膜のエネルギー準位Ecとの差ΔEcが、炭化珪素のエネルギー準位Ecと酸化膜のエネルギー準位Ecとの差ΔEcが小さくなるためであり、その障壁を越え易くなって、ゲートリーク電流が多く流れるのである。
このため、本実施形態では、ゲート絶縁膜7のうち表面チャネル層5に接する部分を高誘電体膜7aで構成し、この高誘電体膜7aの表面に酸化膜7bを形成するようにしている。これにより、ゲート絶縁膜7のうち表面チャネル層5に接する部分についてコンダクションバンド近辺に界面準位が高密度に集中しないようにしつつ、高誘電体膜7aの上に酸化膜7bを形成することで炭化珪素のエネルギー準位Ecの端からの差ΔEcを高くしている。これにより、ゲートリーク電流が発生するのに必要とされるエネルギー障壁が高くなり、ゲートリーク電流の発生を防ぐことが可能となる。
なお、このような構造のパワーMOSFETは、第1実施形態や第1実施形態の変形例に対して、一般的に知られている酸化膜形成工程を追加するのみで形成される。例えば、
500℃のO2雰囲気中においてHfAlOXからなる高誘電体膜7aをMO−CVD法によって形成したのち、700℃の熱処理を行い、さらに、高誘電体膜7aの表面にCVD法により酸化膜7bを成膜することにより、ゲート絶縁膜7を形成することができる。その他にもHfSiONを高誘電体膜として用いることも可能で、例えば反応性スパッタ法にて形成する。その後、N2雰囲気中で950℃〜1100℃の熱処理を行うことでゲート絶縁膜7を形成することができる。
(第3実施形態)
本発明の第3実施形態について説明する。本実施形態は、第1、第2実施形態に対してn-型半導体基板1の面方位を変更したものであり、他の部分については同様であるため、異なる部分についてのみ説明する。
本実施形態では、(0001)Si面に対して10〜20°傾いた面を主表面とするn-型半導体基板1を用意する。このようなn-型半導体基板1の製造方法について、図8に示す製造工程図を参照して説明する。
まず、図8(a)に示されるように、(0001)Si面の4H−SiC単結晶のインゴットを用意する。そして、図8(b)に示されるように、(0001)Si面に対して10〜20°傾いた面で、ワイヤーソーを用いてインゴットを切り出す。このとき、(0001)Si面に対して10〜20°傾いた面は、安定性が高いため、研磨傷のない鏡面が得られる。このようにして、(0001)Si面に対して10〜20°傾いた面を主表面とするn-型半導体基板1が形成される。
この後、図8(c)に示されるように、n-型半導体基板1の主表面にCVD装置などを用いてn-型エピ層2をエピタキシャル成長させ、その後は、図2〜図3と同様の工程等を行うことで、第1実施形態や第2実施形態に示したパワーMOSFETが完成する。
このような(0001)Si面に対して10〜20°傾いた面は、他の面と比べて界面準位を低減することができることから、より界面準位による電流の流れの影響を低減することが可能となる。これにより、パワーMOSFETの更なるチャネル移動度の向上を図ることが可能となる。
なお、本実施形態のように、(0001)Si面に対して10〜20°傾いた面を有するn-型半導体基板1を用いる場合、その面が<11−20>方向に傾いた面となるようにするのが好ましい。このような<11−20>方向に傾いた面は、実験により、特に界面準位が低くなっていることが確認されている。このため、このように(0001)Si面に対して10〜20°傾いた面を<11−20>方向に傾いた面とすることにより、より界面準位を小さくすることができ、より効果的にパワーMOSFETの更なるチャネル移動度の向上を図ることが可能となる。
また、(0001)Si面に対して10〜20°傾いた面を有するn-型半導体基板1を用いる場合、その面が(11−2n)面であり、nが17≦n≦38の関係を満たす面となるようにしても良い。このような(11−2n)面であり、nが17≦n≦38の関係を満たす面も、実験により、特に界面準位が低くなっていることが確認されている。このため、このような面を用いても、より効果的にパワーMOSFETの更なるチャネル移動度の向上を図ることが可能となる。
(第4実施形態)
本発明の第4実施形態について説明する。本実施形態は、第3実施形態と同様に、第1、第2実施形態に対してn-型半導体基板1の面方位を変更したものであり、他の部分については同様であるため、異なる部分についてのみ説明する。
図9は、本実施形態におけるパワーMOSFETの製造工程を示したものである。本実施形態では、まず、図9(a)に示されるように、(0001)Si面に対して8°オフしたオフ基板をn-型半導体基板1として用意する。
そして、n-型半導体基板1の表面にLTO膜を形成したのち、それを除去し、さらにn-型半導体基板1の表面を洗浄する。この後、n-型半導体基板1の表面に炭化珪素層を例えば5nmの厚さで成膜したのち、引き続き、超高真空チャンバ内を加熱することで、n-型半導体基板1を500〜1100℃の範囲、好ましくは1500℃程度で一定温度とする。この高温化により、n-型半導体基板1の表面にステップバンチングが形成され、(0001)Si面と(0001)Si面に対して10〜20°傾いた面の2面を得ることができる。
このとき、(0001)Si面に対して10〜20°傾いた面の面積が、(0001)面の面積よりも大きくなるようにする。この面積比率の関係は、熱処理時の温度制御によって変化させることができ、例えば、1050℃と950℃という2種類以上の温度工程を組み合わせることで、調整することが可能である。
そして、このようなn-型半導体基板1の主表面1aに(0001)Si面と(0001)Si面に対して10〜20°傾いた面の2面を形成する。そして、このような2面を有するn-型半導体基板1を用いて、上記第1、第2実施形態に示した構造のパワーMOSFETを作成する。
その後、図9(b)に示されるように、n-型半導体基板1の主表面にCVD装置などを用いてn-型エピ層2をエピタキシャル成長させ、その後は、図2〜図3と同様の工程等を行うことで、第1実施形態や第2実施形態に示したパワーMOSFETが完成する。
このような(0001)Si面とこの面から10〜20°傾いた面とを主表面とする単結晶炭化珪素基板は、他の面を主表面とする単結晶炭化珪素基板と比べて界面準位を低減することができることを確認している。このため、界面準位による電流の流れの影響をより低減することが可能となる。これにより、パワーMOSFETの更なるチャネル移動度の向上を図ることが可能となる。
そして、(0001)Si面に対して10〜20°傾いた面の面積が、(0001)面の面積よりも大きくなるようにしていることから、より効果的に上記効果を得ることが可能となる。
(他の実施形態)
上記実施形態では、n-型炭化珪素エピ層2の表層部及びp-型炭化珪素ベース領域3a、3bの表面部(表層部)に直接イオン注入を行うことにより表面チャネル層5を形成しているが、これらの上にn-型の表面チャネル層5をエピタキシャル成長させるようにしたパワーMOSFETに対しても、本発明を適用することが可能である。
また、上記各実施形態では、第1導電型としてn型、第2導電型としてp型を適用したパワーMOSFETを例に挙げて説明したが、これは単なる一例であり、各部の導電型を反転させたpチャネルタイプのパワーMOSFETにも本発明を適用することが可能である。
なお、結晶の方位を示す場合、本来ならば所望の数字の上にバー(−)を付すべきであるが、パソコン出願に基づく表現上の制限が存在するため、本明細書においては、所望の数字の前にバーを付すものとする。
本発明の第1実施形態におけるパワーMOSFETの断面構成を示す図である。 図1に示すパワーMOSFETの製造工程を示す図である。 図2に続くパワーMOSFETの製造工程を示す図である。 図3に続くパワーMOSFETの製造工程を示す図である。 (a)、(b)は、ゲート絶縁膜を高誘電体膜で構成した場合と、従来のような酸化膜(SiO2)で構成した場合それぞれにおけるエネルギーバンド図である。 本発明の第2実施形態におけるパワーMOSFETの部分断面構成を示す図である。 図6に示すパワーMOSFETのゲート絶縁膜近傍のエネルギーバンド図である。 -型半導体基板の製造工程を示した断面図である。 第4実施形態に示すパワーMOSFETの製造工程を示す図である。
符号の説明
1…n+型半導体基板、2…n-型エピ層、3a、3b…p-型ベース領域、4a、4b…n+型ソース領域、5…表面チャネル層、7…ゲート絶縁膜、7a…高誘電体膜、7b…酸化膜、8…ポリシリコンゲート電極、10…ソース電極、11…ドレイン電極。

Claims (10)

  1. 主表面および主表面の反対面である裏面を有し、前記主表面が(0001)Si面に対して10〜20°傾いた単結晶炭化珪素基板からなる半導体基板(1)と、
    前記半導体基板の主表面上に形成され、前記半導体基板よりも低いドーパント濃度を有する第1導電型の炭化珪素からなるエピタキシャル層(2)と、
    前記エピタキシャル層上の所定領域に形成され、所定厚さを有する第2導電型のベース領域(3a、3b)と、
    前記ベース領域上の所定の表面部に形成され、ベース領域の深さよりも浅い第1導電型のソース領域(4a、4b)と、
    前記エピタキシャル層および前記ベース領域の表面部に形成され、前記ソース領域と前記エピタキシャル層とを繋ぐように形成された所定厚さと所定濃度を有する第1導電型の炭化珪素からなる表面チャネル層(5)と、
    前記表面チャネル層の表面に形成された高誘電体膜(7a)を含むゲート絶縁膜(7)と、
    前記ゲート絶縁膜の上に形成されたゲート電極(8)と、
    前記ソース領域上に形成されたソース電極(10)と、
    前記半導体基板の裏面に形成された裏面電極(11)とを備えたことを特徴とする炭化珪素半導体装置。
  2. 主表面および主表面の反対面である裏面を有し、前記主表面が(0001)Si面と、(0001)Si面に対して10〜20°傾いた面との、少なくとも2面を含むステップバンチングが形成された単結晶炭化珪素基板からなる半導体基板(1)と、
    前記半導体基板の主表面上に形成され、前記半導体基板よりも低いドーパント濃度を有する第1導電型の炭化珪素からなるエピタキシャル層(2)と、
    前記エピタキシャル層上の所定領域に形成され、所定厚さを有する第2導電型のベース領域(3a、3b)と、
    前記ベース領域上の所定の表面部に形成され、ベース領域の深さよりも浅い第1導電型のソース領域(4a、4b)と、
    前記エピタキシャル層および前記ベース領域の表面部に形成され、前記ソース領域と前記エピタキシャル層とを繋ぐように形成された所定厚さと所定濃度を有する第1導電型の炭化珪素からなる表面チャネル層(5)と、
    前記表面チャネル層の表面に形成された高誘電体膜(7a)を含むゲート絶縁膜(7)と、
    前記ゲート絶縁膜の上に形成されたゲート電極(8)と、
    前記ソース領域上に形成されたソース電極(10)と、
    前記半導体基板の裏面に形成された裏面電極(11)とを備えたことを特徴とする炭化珪素半導体装置。
  3. 前記半導体基板は、前記(0001)Si面の面積と比べて、前記(0001)Si面に対して10〜20°傾いた面の面積の方が大きくなっていることを特徴とする請求項に記載の炭化珪素半導体装置。
  4. 前記半導体基板における前記(0001)Si面に対して10〜20°傾いた面は、<11−20>方向に傾いてることを特徴とする請求項に記載の炭化珪素半導体装置。
  5. 前記ゲート絶縁膜は、前記高誘電体膜とこの高誘電体膜の表面に形成された酸化膜(7b)の積層構造であることを特徴とする請求項1ないし4のいずれか1つに記載の炭化珪素半導体装置。
  6. 主表面および主表面の反対面である裏面を有し、単結晶炭化珪素からなる半導体基板(1)を用意し、この半導体基板の主表面上に、前記半導体基板よりも低いドーパント濃度を有する第1導電型の炭化珪素からなるエピタキシャル層(2)を形成する工程と、
    前記エピタキシャル層上の所定領域に、所定厚さを有する第2導電型のベース領域(3a、3b)を形成する工程と、
    前記ベース領域上の所定の表面部に、ベース領域の深さよりも浅い第1導電型のソース領域(4a、4b)を形成する工程と、
    前記エピタキシャル層および前記ベース領域の表面部に、前記ソース領域と前記エピタキシャル層とを繋ぐように所定厚さと所定濃度を有する第1導電型の炭化珪素からなる表面チャネル層(5)を形成する工程と、
    前記表面チャネル層の表面に高誘電体膜(7a)を形成することで、この高誘電体膜を含むゲート絶縁膜(7)を形成する工程と、
    前記ゲート絶縁膜の上にゲート電極(8)を形成する工程と、
    前記ソース領域上にソース電極(10)を形成する工程と、
    前記半導体基板の裏面に裏面電極(11)を形成する工程とを有し、
    前記半導体基板を用意する工程では、(0001)Si面を端面とした炭化珪素インゴットを(0001)Si面に対して10〜20°傾いた面で切り出すことにより、前記半導体基板として、前記主表面が(0001)Si面に対して10〜20°を成している単結晶炭化珪素基板を形成することを特徴とする炭化珪素半導体装置の製造方法。
  7. 主表面および主表面の反対面である裏面を有し、単結晶炭化珪素からなる半導体基板(1)を用意し、この半導体基板の主表面上に、前記半導体基板よりも低いドーパント濃度を有する第1導電型の炭化珪素からなるエピタキシャル層(2)を形成する工程と、
    前記エピタキシャル層上の所定領域に、所定厚さを有する第2導電型のベース領域(3a、3b)を形成する工程と、
    前記ベース領域上の所定の表面部に、ベース領域の深さよりも浅い第1導電型のソース領域(4a、4b)を形成する工程と、
    前記エピタキシャル層および前記ベース領域の表面部に、前記ソース領域と前記エピタキシャル層とを繋ぐように所定厚さと所定濃度を有する第1導電型の炭化珪素からなる表面チャネル層(5)を形成する工程と、
    前記表面チャネル層の表面に高誘電体膜(7a)を形成することで、この高誘電体膜を含むゲート絶縁膜(7)を形成する工程と、
    前記ゲート絶縁膜の上にゲート電極(8)を形成する工程と、
    前記ソース領域上にソース電極(10)を形成する工程と、
    前記半導体基板の裏面に裏面電極(11)を形成する工程とを有し、
    前記半導体基板を用意する工程では、前記半導体基板として、前記主表面が(0001)Si面と、(0001)Si面に対して10〜20°傾いた面との、少なくとも2面を含むステップバンチングが形成された単結晶炭化珪素基板を形成することを特徴とする炭化珪素半導体装置の製造方法。
  8. 前記半導体基板を用意する工程では、前記(0001)Si面の面積と比べて、前記(0001)Si面に対して10〜20°傾いた面の面積の方が大きくなるように前記単結晶炭化珪素基板を形成することを特徴とする請求項に記載の炭化珪素半導体装置の製造方法。
  9. 前記半導体基板を用意する工程では、前記半導体基板における前記(0001)Si面に対して10〜20°傾いた面を<11−20>方向に傾けように前記単結晶炭化珪素基板を形成することを特徴とする請求項に記載の炭化珪素半導体装置の製造方法。
  10. 前記ゲート絶縁膜を形成する工程では、前記高誘電体膜の表面に酸化膜(7b)を形成することで、前記ゲート絶縁膜を積層構造とすることを特徴とする請求項6ないし9のいずれか1つに記載の炭化珪素半導体装置の製造方法。
JP2004122796A 2004-04-19 2004-04-19 炭化珪素半導体装置およびその製造方法 Expired - Fee Related JP4635470B2 (ja)

Priority Applications (5)

Application Number Priority Date Filing Date Title
JP2004122796A JP4635470B2 (ja) 2004-04-19 2004-04-19 炭化珪素半導体装置およびその製造方法
DE102005017814.6A DE102005017814B4 (de) 2004-04-19 2005-04-18 Siliziumkarbid-Halbleiterbauelement und Verfahren zu dessen Herstellung
US11/108,906 US7365363B2 (en) 2004-04-19 2005-04-19 Silicon carbide semiconductor device and method for manufacturing the same
SE0500865A SE527922C2 (sv) 2004-04-19 2005-04-19 Halvledaranordning av kiselkarbid
US11/882,137 US7968892B2 (en) 2004-04-19 2007-07-31 Silicon carbide semiconductor device

Applications Claiming Priority (1)

Application Number Priority Date Filing Date Title
JP2004122796A JP4635470B2 (ja) 2004-04-19 2004-04-19 炭化珪素半導体装置およびその製造方法

Publications (2)

Publication Number Publication Date
JP2005310886A JP2005310886A (ja) 2005-11-04
JP4635470B2 true JP4635470B2 (ja) 2011-02-23

Family

ID=35439330

Family Applications (1)

Application Number Title Priority Date Filing Date
JP2004122796A Expired - Fee Related JP4635470B2 (ja) 2004-04-19 2004-04-19 炭化珪素半導体装置およびその製造方法

Country Status (1)

Country Link
JP (1) JP4635470B2 (ja)

Families Citing this family (16)

* Cited by examiner, † Cited by third party
Publication number Priority date Publication date Assignee Title
JP2007012684A (ja) * 2005-06-28 2007-01-18 Mitsubishi Electric Corp 半導体装置とゲート酸化膜の製造方法
EP2264223A3 (en) * 2006-09-14 2011-10-26 Cree, Inc. Micropipe-free silicon carbide and related method of manufacture
JP5071763B2 (ja) 2006-10-16 2012-11-14 独立行政法人産業技術総合研究所 炭化ケイ素半導体装置およびその製造方法
JP5036399B2 (ja) * 2007-05-22 2012-09-26 三菱電機株式会社 炭化珪素半導体装置の製造方法
JP2008294171A (ja) * 2007-05-24 2008-12-04 Oki Electric Ind Co Ltd 半導体デバイス及びその製造方法
JP2009182271A (ja) 2008-01-31 2009-08-13 Toshiba Corp 炭化珪素半導体装置
JP5646139B2 (ja) * 2008-09-26 2014-12-24 株式会社東芝 半導体装置
US8410489B2 (en) 2009-04-30 2013-04-02 Panasonic Corporation Semiconductor element, semiconductor device, and power converter
JP4955128B2 (ja) 2009-08-19 2012-06-20 パナソニック株式会社 半導体素子、半導体装置および電力変換器
JP5616665B2 (ja) 2010-03-30 2014-10-29 ローム株式会社 半導体装置
JP6168945B2 (ja) * 2013-09-20 2017-07-26 株式会社東芝 半導体装置およびその製造方法
JP2015069989A (ja) * 2013-09-26 2015-04-13 三菱電機株式会社 炭化珪素半導体装置の製造方法
JP6526549B2 (ja) * 2015-03-24 2019-06-05 株式会社東芝 半導体装置、インバータ回路、駆動装置、車両、及び、昇降機
EP3176812A1 (en) * 2015-12-02 2017-06-07 ABB Schweiz AG Semiconductor device and method for manufacturing such a semiconductor device
CN109585541B (zh) * 2018-12-27 2024-03-26 西安中车永电电气有限公司 一种埋沟式SiC IGBT常关器件及其制备方法
US12396219B2 (en) 2020-01-16 2025-08-19 Lg Electronics Inc. Metal-oxide film semiconductor field-effect transistor device and method for manufacturing same

Family Cites Families (9)

* Cited by examiner, † Cited by third party
Publication number Priority date Publication date Assignee Title
SE9404452D0 (sv) * 1994-12-22 1994-12-22 Abb Research Ltd Semiconductor device having an insulated gate
JP2000106428A (ja) * 1998-09-28 2000-04-11 Toshiba Corp 半導体装置
JP3148982B2 (ja) * 1998-11-11 2001-03-26 工業技術院長 半導体装置及びその製造方法
JP4450123B2 (ja) * 1999-11-17 2010-04-14 株式会社デンソー 炭化珪素半導体装置
JP3812396B2 (ja) * 2001-10-04 2006-08-23 株式会社デンソー 炭化珪素半導体装置の製造方法及び炭化硅素半導体装置
JP2003234301A (ja) * 2001-10-25 2003-08-22 Matsushita Electric Ind Co Ltd 半導体基板、半導体素子及びその製造方法
JP3707424B2 (ja) * 2001-11-22 2005-10-19 株式会社デンソー 炭化珪素半導体装置及びその製造方法
JP3697211B2 (ja) * 2002-01-10 2005-09-21 日本原子力研究所 炭化珪素半導体素子及びその絶縁膜の形成方法
TWI313060B (en) * 2003-07-28 2009-08-01 Japan Science & Tech Agency Feild effect transisitor and fabricating method thereof

Also Published As

Publication number Publication date
JP2005310886A (ja) 2005-11-04

Similar Documents

Publication Publication Date Title
JP3893725B2 (ja) 炭化珪素半導体装置の製造方法
JP4123636B2 (ja) 炭化珪素半導体装置及びその製造方法
JP5586887B2 (ja) 半導体装置及びその製造方法
JP4192353B2 (ja) 炭化珪素半導体装置及びその製造方法
JP3385938B2 (ja) 炭化珪素半導体装置及びその製造方法
JP6572423B2 (ja) 半導体装置および半導体装置の製造方法
US8658503B2 (en) Semiconductor device and method of fabricating the same
JP4635470B2 (ja) 炭化珪素半導体装置およびその製造方法
JP5693851B2 (ja) 半導体装置
JP5182359B2 (ja) 炭化珪素半導体装置
JP3428459B2 (ja) 炭化けい素nチャネルMOS半導体素子およびその製造方法
JP4595144B2 (ja) 炭化珪素半導体装置及びその製造方法
US20090134402A1 (en) Silicon carbide mos field-effect transistor and process for producing the same
JPH11261061A (ja) 炭化珪素半導体装置及びその製造方法
US20120193643A1 (en) Semiconductor device
CN108604600B (zh) 碳化硅半导体装置及其制造方法
US11605732B2 (en) Power device with graded channel
JP2006066439A (ja) 半導体装置およびその製造方法
JP6991476B2 (ja) 半導体装置
US20130134442A1 (en) Semiconductor device and method for manufacturing same
JP4806852B2 (ja) 炭化珪素半導体装置及びその製造方法
JP2003309262A (ja) 炭化珪素半導体装置およびその製造方法
JP4620368B2 (ja) 半導体装置の製造方法
JP2010027833A (ja) 炭化珪素半導体装置およびその製造方法
JP3496509B2 (ja) 炭化珪素半導体装置の製造方法

Legal Events

Date Code Title Description
A621 Written request for application examination

Free format text: JAPANESE INTERMEDIATE CODE: A621

Effective date: 20060531

A977 Report on retrieval

Free format text: JAPANESE INTERMEDIATE CODE: A971007

Effective date: 20081017

A131 Notification of reasons for refusal

Free format text: JAPANESE INTERMEDIATE CODE: A131

Effective date: 20100427

A521 Request for written amendment filed

Free format text: JAPANESE INTERMEDIATE CODE: A523

Effective date: 20100624

A131 Notification of reasons for refusal

Free format text: JAPANESE INTERMEDIATE CODE: A131

Effective date: 20100720

A521 Request for written amendment filed

Free format text: JAPANESE INTERMEDIATE CODE: A523

Effective date: 20100909

TRDD Decision of grant or rejection written
A01 Written decision to grant a patent or to grant a registration (utility model)

Free format text: JAPANESE INTERMEDIATE CODE: A01

Effective date: 20101026

A01 Written decision to grant a patent or to grant a registration (utility model)

Free format text: JAPANESE INTERMEDIATE CODE: A01

A61 First payment of annual fees (during grant procedure)

Free format text: JAPANESE INTERMEDIATE CODE: A61

Effective date: 20101108

FPAY Renewal fee payment (event date is renewal date of database)

Free format text: PAYMENT UNTIL: 20131203

Year of fee payment: 3

R151 Written notification of patent or utility model registration

Ref document number: 4635470

Country of ref document: JP

Free format text: JAPANESE INTERMEDIATE CODE: R151

FPAY Renewal fee payment (event date is renewal date of database)

Free format text: PAYMENT UNTIL: 20131203

Year of fee payment: 3

R250 Receipt of annual fees

Free format text: JAPANESE INTERMEDIATE CODE: R250

R250 Receipt of annual fees

Free format text: JAPANESE INTERMEDIATE CODE: R250

R250 Receipt of annual fees

Free format text: JAPANESE INTERMEDIATE CODE: R250

R250 Receipt of annual fees

Free format text: JAPANESE INTERMEDIATE CODE: R250

R250 Receipt of annual fees

Free format text: JAPANESE INTERMEDIATE CODE: R250

R250 Receipt of annual fees

Free format text: JAPANESE INTERMEDIATE CODE: R250

R250 Receipt of annual fees

Free format text: JAPANESE INTERMEDIATE CODE: R250

LAPS Cancellation because of no payment of annual fees