JP4635430B2 - 積層コイル部品 - Google Patents

積層コイル部品 Download PDF

Info

Publication number
JP4635430B2
JP4635430B2 JP2003393565A JP2003393565A JP4635430B2 JP 4635430 B2 JP4635430 B2 JP 4635430B2 JP 2003393565 A JP2003393565 A JP 2003393565A JP 2003393565 A JP2003393565 A JP 2003393565A JP 4635430 B2 JP4635430 B2 JP 4635430B2
Authority
JP
Japan
Prior art keywords
strip
conductor
ceramic
conductors
shaped
Prior art date
Legal status (The legal status is an assumption and is not a legal conclusion. Google has not performed a legal analysis and makes no representation as to the accuracy of the status listed.)
Expired - Fee Related
Application number
JP2003393565A
Other languages
English (en)
Other versions
JP2005158920A (ja
Inventor
利夫 河端
Current Assignee (The listed assignees may be inaccurate. Google has not performed a legal analysis and makes no representation or warranty as to the accuracy of the list.)
Murata Manufacturing Co Ltd
Original Assignee
Murata Manufacturing Co Ltd
Priority date (The priority date is an assumption and is not a legal conclusion. Google has not performed a legal analysis and makes no representation as to the accuracy of the date listed.)
Filing date
Publication date
Application filed by Murata Manufacturing Co Ltd filed Critical Murata Manufacturing Co Ltd
Priority to JP2003393565A priority Critical patent/JP4635430B2/ja
Publication of JP2005158920A publication Critical patent/JP2005158920A/ja
Application granted granted Critical
Publication of JP4635430B2 publication Critical patent/JP4635430B2/ja
Anticipated expiration legal-status Critical
Expired - Fee Related legal-status Critical Current

Links

Images

Landscapes

  • Coils Or Transformers For Communication (AREA)

Description

本発明は積層コイル部品に関し、より詳細には、セラミック焼結体に内蔵されたコイルの浮遊容量を小さくして自己共振周波数を高くする積層コイル部品に関する。
従来、積層コイル部品は、図6に示すような外観形状をしている。この従来の積層コイル部品1は、図7に示すように、帯状に導体パターンを形成した帯状導体22をU字形状に印刷したセラミックグリーンシート21を90°ずつ回転させて順次積層するものである。すなわち、それぞれ帯状導体22,22a,22b,22c,22dが印刷されたセラミックグリーンシート21,21a,21b,21c,21dを順次積層する(図7のRの範囲)。この場合、バイアホール23で帯状導体22を順次接続している。そして、帯状導体が形成されておらずバイアホール23のみ設けられたセラミックグリーンシート24と外部電極に接続する図示していない接続導体が配置されているセラミックグリーンシート25を、Rの範囲を繰り返して積層した層の上下側にそれぞれ順次積層し、圧着して焼成している。
このように、セラミックグリーンシートに帯状導体を配置したものを90°、180°、270°回転させた際の帯状導体の配列状態および、それを重ねた場合の帯状導体の重なり状態を図8に示している。図8(a)に示すようなセラミックグリーンシートに帯状導体を配置した構成のものの裏面に、同一構成のものを反時計方向に90°回転させた図8(b)に示すような配置になるものを重ねると、図8(e)に斜線して示すように、隣接する帯状導体22は2辺で重なる。さらに、反時計方向に180回転させた図8(c)に示すような配置になるものを図8(a)に示すような配置のものの下に重ねると、(図8(f))に斜線して示すように、2辺で重なるものであった。
このように、従来はインダクタンスを大きくして小型化を図るため、帯状導体のズレを少なくして積層している。しかし、帯状導体の重なり面積が大きくなり、コイルの浮遊容量が増加し、自己共振周波数(SRF)が低下して高周波帯でのインピーダンスが低下してしまう。
また、シート厚を薄くして帯状導体間隔を小さくすることで小型化を図ろうとすると、コイルの浮遊容量が増加し、自己共振周波数が低下してしまうという関係がある。ところが、基板に実装する高周波で使用する積層コイル部品としては、小型化と共に高い周波数まで使用できることが要求されている。
そこで、浮遊容量を小さくする積層コイル部品の一例としては、特許文献1で開示された積層チップインダクタがある。特許文献1の積層チップインダクタは上下の両外装面をなす一対の磁性体板の間に、所定部分に切り欠き窓を有する磁性体層と、渦巻状の帯状導電体とを、前記切り欠き窓を通して、一の帯状導電体の終端部分と次の帯状導電体の始端部分とを接続するように積層して磁性体内にコイルを内蔵した積層体を形成する。前記一対の磁性体板の一の磁性体板と密着する帯状導電体の始端部分と他の磁性体板に密着する帯状導電体の終端部分とを積層体の側面に露出し、該露出部分を外部電極に接続してなる。そして、前記渦巻状の帯状導電体のライン幅が各層ごとに互に異なる構成としている。このように、特許文献1では、太い導体パターンと、細い導体パターンを交互に積層して接続することで、幅の小さい導体パターンの部分的存在により、線間を小さくすることができ、自己共振周波数を高くすることができる。
また、浮遊容量を小さくする積層コイル部品の他の例としては、特許文献2で開示された積層チップコイル部品がある。特許文献2の積層チップコイル部品は、電気絶縁層と導体パターンとが交互に積層され、各導体パターンの端部が順次接続されることで積層方向に重畳したコイルパターンが形成されて電気絶縁体中に埋設された状態となっており、チップ外表面に、内部のコイルパターンのそれぞれの端部近傍に接続される外部電極が設けられている。そして、コイルパターンは、チップ中で内側と外側の2経路を周回し、内側を周回する導体パターンと外側を周回する導体パターンが積層方向で交互に配置されている。このように特許文献2の積層コイル部品では、内側を周回するパターンと外側を周回するパターンを交互に積層することで、絶縁体の1層の厚み分が離れた導体パターンについて、直角に横切ることはあっても重ならず、導体パターン間の浮遊容量が減り、自己共振周波数を高くすることができる。
特開平10−27711号公報 特開2000−223315号公報
ところで、特許文献1では、太い帯状導体と、細い帯状導体を交互に積層することを行っているが、少なくとも2種類の帯状導体を用意しなければならないと共に、それを交互に間違いなく積層しなければならない等のことから、製造コストが高くなるという問題があった。
また、特許文献2においては、内側を周回するパターンと外側を周回するパターンを交互に積層することを行っているが、この場合においても、少なくとも2種類の帯状導体を用意しなければならないと共に、それを交互に間違いなく積層しなければならない等のことから、製造コストが高くなるという問題があった。
本発明はこれらの問題点に鑑みてなされたものであって、小型化を実現しながらも浮遊容量を小さくし、コストを低減する積層コイル部品を提供することを目的としている。
上記の目的を達成するために、請求項1記載の発明に係る積層コイル部品は、セラミック焼結体と、該セラミック焼結体を形成するセラミック層を介して配設される複数の帯状導体を、前記セラミック層に設けられたバイアホールによって直列に接続してなるコイルとを有する積層コイル部品であって、前記帯状導体の各々は、同一構成を有し、しかも、それぞれ略直角のU字状に形成された3辺からなって3/4ターンしており、第2辺の長さをa、第1辺と第3辺の長さをb、第2辺の幅をcとして、3辺の前記帯状導体の幅が略一定で、かつ、b≦a−cの関係を満たす形状にされていることを特徴とする。
請求項2に記載の発明に係る積層コイル部品は、請求項1に記載の発明におい
て、前記帯状導体の各々は、b=a−cの関係を満たす形状にされていることを特徴とする。
請求項3に記載の発明に係る積層コイル部品は、請求項1又は2に記載の発明において、前記帯状導体の第1辺と第3辺の先端及び該辺の外縁から焼結体の接近した辺までの距離がほぼ等しく形成されていることを特徴とする。
請求項1記載の発明に係る積層コイル部品は、1層のセラミック層を介して帯状導体の重なる部分は、直角に交わる部分のみであるからその面積が小さくできる。さらに、帯状に重なる部分は2層のセラミック層を介してであるので、浮遊容量を小さくできて自己共振周波数を高くすることができ、小型化できる。さらに、帯状導体は同一構成のものを使用するから、コイルパターン形状や導体パターン数を減らし、製造工数、コストを低減することができる。
請求項2記載の発明に係る積層コイル部品は、請求項1記載の発明の効果に加えて、隣接する帯状導体の重なりを直角に交わる部分のみであり、しかも積層方向の帯状導体同士のズレが少なくなり、コイル径を大きくできてインダクタンスを大きくでき、一層小型化を図ることができる。
請求項3記載の発明に係る積層コイル部品は、請求項1及び2記載の発明の効果に加えて、積層方向の帯状導体同士のズレを一層少なくでき、製造が容易となり、製造工数、コストを低減することができる。
セラミック焼結体と、セラミック焼結体を形成するセラミック層を介して配設される複数の該帯状導体を前記セラミック層に設けられたバイアホールによって直列に接続してなるコイルとを有する積層コイル部品であって、前記帯状導体の各々は、それぞれ略直角のU字状に形成された3辺からなって3/4ターンしており、第2辺の長さをa、第1辺と第3辺の長さをb、第2辺の幅をcとして、b≦a−cの関係を満たす形状とした。
なお、この場合において、b=a−cの関係を満たし、各帯状導体の幅cが等しく、前記帯状導体の第1辺と第3辺の先端及び該辺の外縁から焼結体の接近した辺までの距離がほぼ等しく形成されていることがより好ましい。
以下に図面により本発明の実施の形態を説明する。図1は本発明の積層コイル部品の分解構造を示す斜視図、図2はセラミック層(セラミックシート)を介して配設された帯状導体を示す平面図、図3は90°ずつ回転させて積層した場合の隣接する帯状導体の重なり状態を示す平面図、図4は本発明に係る積層コイル部品の周波数とインピーダンスの関係を示す図である。
積層コイル部品であるチップインダクタ1は、図6で外観形状を示すような従来の積層コイル部品と同様に、略直方体形状のセラミック焼結体2の内部のセラミック層の積層面に帯状導体が配置されているものである。この帯状導体は、その端部に設けられたバイアホールを介して隣接する層の帯状導体の端部に接続され、帯状導体のコイルを形成している。さらにバイアホールを介してセラミック焼結体内の積層方向(L方向)の端部に形成された帯状導体の端部又は端縁に形成された接続電極に接続され、接続電極を介してそれぞれ外部電極3及び4に接続されている。
図1に示すような帯状導体6及びバイアホール7が配置されて構成されたセラミック層5に配設された帯状導体によるコイルの形成は、セラミック層5の帯状導体6の形成されていない裏面側に、順次反時計方向に90°回転させてセラミック層5a、5b、5c、5d、5e(以下、特に区別する必要がない限り5とする)と繰り返し重ねられたように構成されることでなされる。すなわち、帯状導体6、6a、6c、6d、6e(以下、特に区別する必要がない限り6とする)の第1辺8に設けられたバイアホール7(7,7a,7b,7c,7d,7e)で裏面の帯状導体6の第3辺10の端部に当接することで、表側の帯状導体6と裏面側の帯状導体6を順次接続する。このように帯状導体6の所定の端部同士をセラミック層5の厚み方向に貫通して形成されたバイアホール7でもって順次接続していくことで、周回した形状の帯状導体のコイルが形成される。
上記のように周回を繰り返すことにより、形成した帯状導体のコイル層の表側に、さらに、帯状導体が形成されておらずバイアホール7のみ設けられたセラミックグリーンシート11を積層し、さらに外部電極に接続する接続導体が配置されているセラミックグリーンシート12を積層する。また、形成した帯状導体のコイル層の裏側にも同様に、セラミックグリーンシート11、12が積層されている。そしてこれらは圧着されて焼成される。
さらに、バイアホールおよび接続導体を介して帯状導体に接続される外部電極がディップ法によってセラミック焼結体の端面に形成される。
セラミック層5には、図2に示すように、帯状導体6が配置され、バイアホール7(この図2では第1辺に配置されている)がセラミック層5を貫通して設けられている。
図2に示す帯状導体6の第2辺の長さをa、第1辺と第3辺の長さをb、第2辺の幅をcとしている。さらに、第1辺と第3辺の先端から接近した辺までの距離をb0とし、第1辺と第3辺の外縁から接近した辺までの距離をそれぞれa0 、a1とし、第2辺の外縁から接近した辺までの距離をそれぞれb1としている。そして、b≦a−c、a0=a1=b0、c+b0≦b1としている。
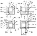
次に、図3により、図2に示すようにセラミックシート5の表面に帯状導体6が配置され、バイアホール7がセラミックシート5の第1辺に貫通して形成されたものを積層して帯状導体をコイルに形成する際の帯状導体6の重なる状態について説明する。
帯状導体6a及びバイアホール7aが形成されたセラミックシート5aを用意し、セラミックシート5の裏面(帯状導体6が形成されていない面)に、帯状導体6a及びバイアホール7aが形成されたセラミックシート5aを積層する(図3(a))。このとき、帯状導体6aが帯状導体6をセラミックシートのおもて面側から見て反時計回り(裏面側から見れば時計回り)に90°回転させた関係にされている。これにより、帯状導体6の端部と帯状導体6aの端部とは、バイアホール7を介して接続される。また、このとき帯状導体6と帯状導体6aとが重なる部分は、バイアホール7の部分を除き、帯状導体6の第2辺9と帯状導体6aの第2辺9aが交差する部分のみである(図3(a))。
次に、セラミックシート5aの裏面(帯状導体6aが形成されていない面)に、帯状導体6b及びバイアホール7bが形成されたセラミックシート5bを積層する(図3(b))。このとき、帯状導体6bが帯状導体6aをセラミックシートのおもて面側から見て反時計回り(裏面側から見れば時計回り)に90°回転させた関係になるようにされている。これにより、帯状導体6aの端部と帯状導体6bの端部とは、バイアホール7aを介して接続される。また、このとき帯状導体6aと帯状導体6bとが重なる部分は、バイアホール7aの部分を除き、帯状導体6aの第2辺9aと帯状導体6bの第2辺9bが交差する部分のみである(図3(b))。
次に、セラミックシート5bの裏面に帯状導体6c及びバイアホール7cが形成されたセラミックシート5cを反時計方向に90°回転させて積層する。これにより、帯状導体6bの端部と帯状導体6cの端部とはバイアホール7bを介して接続される。このとき、帯状導体6bと隣接する帯状導体6cの重なる部分はバイアホール7bの部分を除き、帯状導体7bの第2辺9bと帯状導体6cの第2辺9cが交差する部分のみである(図3(c))。
次に、セラミックシート5cの裏面(帯状導体6cが形成されていない面)に、帯状導体6d及びバイアホール7dが形成されたセラミックシート5dを積層する(図3(d))。このとき、帯状導体6dが帯状導体6cをセラミックシート6cのおもて面側から見て反時計回り(裏面側から見れば時計回り)に90°回転させた関係になるようにされている。これにより、帯状導体6cの端部と帯状導体6dの端部とは、バイアホール7cを介して接続される。また、このとき帯状導体6cと帯状導体6dとが重なる部分は、バイアホール7cの部分を除き、帯状導体6cの第2辺9cと帯状導体6dの第2辺9dが交差する部分のみである(図3(d))。
すなわち、本発明の積層コイル部品は、上記のように周回を繰り返すことにより形成した帯状導体のコイル層の表面側に、さらに、帯状導体が形成されておらずバイアホール7のみ設けられたセラミックグリーンシート11を積層し、さらに外部電極に接続する接続導体13が形成されているセラミックグリーンシート12を積層する。また、形成した帯状導体のコイル層の裏面側にも同様に、セラミックグリーンシート11、12が順次積層されている。そしてこれらを圧着して焼成してなる。
ここにおいて、b=a−c、a0=a1=b0、c+b0≦b1 とすることによって、隣接する帯状導体の重なりが小さくなって浮遊容量が低下し、SRFが高い積層コイル部品を得ることができる。
またさらに、b=a−c、a0=a1=b0、c+b0=b1 とすれば、図4に示すように、セラミックシートを介して隣接して対向する帯状導体間の隙間のきわめて少ないコイルが形成される。
すなわち、上記のように帯状導体6が形成されたセラミックシート5の裏面に、反時計方向に90°回転させた位置に帯状導体6aが形成されたセラミックシート5aを重ねると、図4(b)に示すように、帯状導体6の端部と帯状導体6aの端部とは、バイアホール7を介して接続される。また、このとき帯状導体6と帯状導体6aとが重なる部分は、バイアホール7の部分を除き、帯状導体6の第2辺9と帯状導体6あの第2辺9aが交差する部分のみである(図4(b))。しかも、帯状導体6と帯状導体6aとは積層方向にみれば、辺が接した状態で配置されている。
同様に、図4(c)、図4(c)に示すように、順次、積層して帯状導体5のコイルを形成する。
このように帯状導体が配置されたセラミックシートを積層することによってコイルを形成することで、コイルの内径を大きくとることができて、高いインダクタンスを得ることができる。
上記のように構成した本発明の積層コイル部品の製造は、下記のように、従来の積層コイル部品と同様にして行う。
先ず、フェライト材料等の粉体材料を所要の組成になるように秤量し、所要の粒度に粉砕して乾燥する。得られた原料に溶媒、バインダー、分散剤を加えて混合後、ドクターブレード法、リバースロールコータ法等の成型方法により、所要の厚さのセラミックグリーンシートを作製する。バインダとしては、水系バインダ(酢酸ビニルや水溶性アクリル等)または有機系バインダ(ポリビニルブチラール等)等が使用される。また、消泡剤等を添加してもよい。
次いで、所定の条件の導体パターンを形成するように、帯状導体6をU字形状に多数印刷したセラミックグリーンシートを作製する。帯状導体6はAgペースト等のような導電性の材料(導電ペースト)をセラミックグリーンシート表面に塗布して形成する。また、バイアホール7は、セラミックグリーンシートの所定位置にレーザ光照射等によって貫通孔を形成し、この貫通孔の内部にAgペースト等の導電性材料を充填して形成する。
次いで、帯状導体を90°ずつ回転させた位置で、バイアホールで帯状導体6
同士を導通させた状態でセラミックグリーンシートを積層する。そして、このようにして積層を繰り返して、所要のターン数の帯状導体のコイルを形成する。
さらに、これらの上側に、バイアホールのみが形成されたセラミックグリーンシートを重ね、さらに外部電極の下地となる導体パターンが形成されたセラミックグリーンシートを重ねて配置する。また、下側にも、バイアホールのみが形成されたセラミックグリーンシートを重ね、さらに他の外部電極の下地となる導体パターンが形成されたセラミックグリーンシートを重ねて配置する。
その後、積層されたセラミックグリーンシートを圧着する。この圧着の加圧力は、98〜120MPa程度である。
次いで、圧着成形したものを、チップ形状にカットする。このチップ形のものを加熱してバインダーを放出する。そして、脱バインダーしたチップ形のものを焼成した後、バレルしてチップの面取りをする。
次いで、チップのコイル巻軸方向のチップ端部に接続電極と接続される外部電極のNi下地を塗布した後焼成し、さらに電気めっき(Niめっき,Snめっき)して外部電極を形成して積層コイル部品を得る。
次に、実施例により本発明の積層チップインダクタを説明する。
透磁率400のNiZnCuフェライト原料を得るため、所定量の酸化物原料を混合して800℃で、1時間仮焼した。それから、ボールミルで粉砕して乾燥し、平均粒径約2μmの粉末とした。得られたフェライト粉末原料に溶媒、バインダー、分散剤を加えて混合した後、ドクターブレード法により厚さ30μmのセラミックグリーンシートを作製した。
得られたセラミックグリーンシートに、内部コイルとなる帯状導体を銀ぺーストの印刷により形成した。この帯状導体の配置は、図2において、a=0.64mm、a0=a1=b0=0.15mm、b=0.54mm、b1=0.25mm,c=0.1mmとしている。すなわち、このとき、b=a−cの関係が成り立っている。このように形成された帯状導体を順次90°ずつ回転させて配置しつつ、コイルのターン数が30ターンになるように積層して圧着し、チップ形状にカットした。
チップ状の素材を400℃で3時間の脱バインダー処理をした後、900℃で2時間焼成した。焼成品をバレルしてチップの面取りを行い、長さが1.6mm、高さ及び幅が0.8mmのチップを得た。
次いで、焼成したチップの端部に帯状導体と接続される接続導体を塗布した後、この焼成を行って、外部電極を電気めっきにより形成して積層チップインダクタを作製した。
比較例として、帯状導体を、図6に示す従来例のように、隣接するものが2辺で重なり合うようにセラミックグリーンシートに形成した以外は、実施例と同様にして、積層チップインダクタを作製した。
実施例による積層チップインダクタと、従来のようにして得た比較例の積層チップインダクタの周波数とインピーダンスとの関係を調べた。その結果を図4に示す。
図4から明らかなように、本発明の積層チップインダクタによれば、従来品では自己共振周波数が600〜700MHzの間にあったものを、800〜900MHzの間まで高めることができた。また、本発明の積層チップインダクタは、750MHzより高い周波数の領域で、従来品より大きいインピーダンスが得られる。よって、本発明によれば、750MHz以上のノイズを減衰させるのに従来品より有利である。
なお、上記において、積層チップインダクタについて具体的に説明した、本発明はこれに限られるものではなく、帯状導体のコイルを用いるLC複合電子部品などにも適用できる。
本発明に係る積層コイル部品の一例であるチップインダクタの分解構造を示す斜視図である。 その構成材料の1つであるセラミックグリーンシートに帯状導体を配置した構成を示す平面図である。 セラミック層を介しての帯状導体を90°ずつ回転させて積層する場合の隣接する帯状導体の重なり状態を示す平面図である。 セラミックシートに形成した帯状導体の他の例のものを90°ずつ回転させて積層する場合の隣接する帯状導体の重なり状態を示す平面図である。 本発明に係る積層チップインダクタと従来の積層チップインダクタの周波数とインピーダンスとの関係を示すグラフである。 積層コイル部品の一例であるチップインダクタの外観形状を示す斜視図である。 従来のチップインダクタの分解構造を示す斜視図である。 セラミックグリーンシートに帯状導体を配置したものを90°、180°、270°回転させた際の帯状導体の配列状態および、それを重ねた場合の帯状導体の重なり状態を説明する平面図である。
符号の説明
1 チップインダクタ(積層コイル部品)
2 セラミック焼結体
3,4 外部電極
5 セラミック層(セラミック(グリーン)シート)
6 帯状導体
7 バイアホール


Claims (3)

  1. セラミック焼結体と、該セラミック焼結体を形成するセラミック層を介して配設される複数の帯状導体を、前記セラミック層に設けられたバイアホールによって直列に接続してなるコイルとを有する積層コイル部品であって、
    前記帯状導体の各々は、同一構成を有し、しかも、それぞれ略直角のU字状に形成された3辺からなって3/4ターンしており、第2辺の長さをa、第1辺と第3辺の長さをb、第2辺の幅をcとして、3辺の前記帯状導体の幅が略一定で、かつ、b≦a−cの関係を満たす形状にされていることを特徴とする積層コイル部品。
  2. 前記帯状導体の各々は、b=a−cの関係を満たす形状にされていることを特徴とする請求項1に記載の積層コイル部品。
  3. 前記帯状導体の第1辺と第3辺の先端及び該辺の外縁から焼結体の接近した辺までの距離が等しく形成されていることを特徴とする請求項1又は2に記載の積層コイル部品。
JP2003393565A 2003-11-25 2003-11-25 積層コイル部品 Expired - Fee Related JP4635430B2 (ja)

Priority Applications (1)

Application Number Priority Date Filing Date Title
JP2003393565A JP4635430B2 (ja) 2003-11-25 2003-11-25 積層コイル部品

Applications Claiming Priority (1)

Application Number Priority Date Filing Date Title
JP2003393565A JP4635430B2 (ja) 2003-11-25 2003-11-25 積層コイル部品

Publications (2)

Publication Number Publication Date
JP2005158920A JP2005158920A (ja) 2005-06-16
JP4635430B2 true JP4635430B2 (ja) 2011-02-23

Family

ID=34719886

Family Applications (1)

Application Number Title Priority Date Filing Date
JP2003393565A Expired - Fee Related JP4635430B2 (ja) 2003-11-25 2003-11-25 積層コイル部品

Country Status (1)

Country Link
JP (1) JP4635430B2 (ja)

Families Citing this family (4)

* Cited by examiner, † Cited by third party
Publication number Priority date Publication date Assignee Title
JP4683071B2 (ja) * 2008-05-16 2011-05-11 Tdk株式会社 コモンモードフィルタ
KR101983139B1 (ko) * 2013-03-14 2019-05-28 삼성전기주식회사 적층형 인덕터 및 적층형 인덕터 어레이
JP7107250B2 (ja) * 2019-03-04 2022-07-27 株式会社村田製作所 積層型コイル部品
JP7751472B2 (ja) * 2021-12-08 2025-10-08 株式会社村田製作所 積層型コイル部品

Family Cites Families (7)

* Cited by examiner, † Cited by third party
Publication number Priority date Publication date Assignee Title
JPH0613239A (ja) * 1992-06-25 1994-01-21 Matsushita Electric Works Ltd 平面形トランス
JPH0634216U (ja) * 1992-10-02 1994-05-06 太陽誘電株式会社 積層チップインダクタ
JPH08130117A (ja) * 1994-10-31 1996-05-21 Kyocera Corp 積層インダクタ
JPH09180939A (ja) * 1995-12-22 1997-07-11 Murata Mfg Co Ltd 積層型コイル部品
JP2002015918A (ja) * 2000-06-28 2002-01-18 Tdk Corp 積層型電子部品
JP2002043128A (ja) * 2000-07-21 2002-02-08 Alps Electric Co Ltd スパイラルインダクタンス装置
JP2002110424A (ja) * 2000-09-29 2002-04-12 Toko Inc 積層チップ部品

Also Published As

Publication number Publication date
JP2005158920A (ja) 2005-06-16

Similar Documents

Publication Publication Date Title
CN102683015B (zh) 多层陶瓷电容器及其制造方法
US8159322B2 (en) Laminated coil
JP6834091B2 (ja) 積層セラミック電子部品及びその製造方法
US20180211786A1 (en) Multilayer ceramic capacitor and method of manufacturing the same
JP4246716B2 (ja) 積層型フィルタ
JP2013084871A (ja) 積層セラミック電子部品及びその製造方法
KR100370670B1 (ko) 인덕터 소자 및 그 제조방법
JP2004128506A (ja) 積層型コイル部品及びその製造方法
JP2020057738A (ja) 電子部品、回路基板、および電子部品の回路基板への実装方法
US20120062348A1 (en) Laminated coil
JP3201309B2 (ja) 積層型コイル及びその製造方法
JPH0855726A (ja) 積層型電子部品及びその製造方法
JPH0258813A (ja) 積層型インダクタ
JP6784183B2 (ja) 積層コイル部品
CN107045936A (zh) 层叠陶瓷电容器
JPH11265823A (ja) 積層型インダクタ及びその製造方法
JP2002093623A (ja) 積層インダクタ
JPH11273950A (ja) 積層チップコイル部品
JPH0669057A (ja) 積層チップインダクタの製造方法
JP4635430B2 (ja) 積層コイル部品
US6466120B1 (en) Laminated inductor and method of producing the same
US6551426B2 (en) Manufacturing method for a laminated ceramic electronic component
JP4400430B2 (ja) 積層型インダクタ
US20140373341A1 (en) Method for manufacturing laminated coil components
JP2006351954A (ja) 積層型コモンモードフィルタ

Legal Events

Date Code Title Description
A621 Written request for application examination

Free format text: JAPANESE INTERMEDIATE CODE: A621

Effective date: 20060927

A977 Report on retrieval

Free format text: JAPANESE INTERMEDIATE CODE: A971007

Effective date: 20090316

A131 Notification of reasons for refusal

Free format text: JAPANESE INTERMEDIATE CODE: A131

Effective date: 20090414

A521 Request for written amendment filed

Free format text: JAPANESE INTERMEDIATE CODE: A523

Effective date: 20090715

A072 Dismissal of procedure [no reply to invitation to correct request for examination]

Free format text: JAPANESE INTERMEDIATE CODE: A072

Effective date: 20091215

A131 Notification of reasons for refusal

Free format text: JAPANESE INTERMEDIATE CODE: A131

Effective date: 20100427

A521 Request for written amendment filed

Free format text: JAPANESE INTERMEDIATE CODE: A523

Effective date: 20100602

TRDD Decision of grant or rejection written
A01 Written decision to grant a patent or to grant a registration (utility model)

Free format text: JAPANESE INTERMEDIATE CODE: A01

Effective date: 20101026

A01 Written decision to grant a patent or to grant a registration (utility model)

Free format text: JAPANESE INTERMEDIATE CODE: A01

A61 First payment of annual fees (during grant procedure)

Free format text: JAPANESE INTERMEDIATE CODE: A61

Effective date: 20101108

FPAY Renewal fee payment (event date is renewal date of database)

Free format text: PAYMENT UNTIL: 20131203

Year of fee payment: 3

R150 Certificate of patent or registration of utility model

Ref document number: 4635430

Country of ref document: JP

Free format text: JAPANESE INTERMEDIATE CODE: R150

Free format text: JAPANESE INTERMEDIATE CODE: R150

LAPS Cancellation because of no payment of annual fees