JP4635013B2 - 開口及び位置決め機構を有するカートン - Google Patents

開口及び位置決め機構を有するカートン Download PDF

Info

Publication number
JP4635013B2
JP4635013B2 JP2006553210A JP2006553210A JP4635013B2 JP 4635013 B2 JP4635013 B2 JP 4635013B2 JP 2006553210 A JP2006553210 A JP 2006553210A JP 2006553210 A JP2006553210 A JP 2006553210A JP 4635013 B2 JP4635013 B2 JP 4635013B2
Authority
JP
Japan
Prior art keywords
carton
line
panel
positioning assembly
bottom panel
Prior art date
Legal status (The legal status is an assumption and is not a legal conclusion. Google has not performed a legal analysis and makes no representation as to the accuracy of the status listed.)
Expired - Fee Related
Application number
JP2006553210A
Other languages
English (en)
Other versions
JP2007522050A (ja
Inventor
スパイヴェイ,レイモンド,アール.シニア
Current Assignee (The listed assignees may be inaccurate. Google has not performed a legal analysis and makes no representation or warranty as to the accuracy of the list.)
Graphic Packaging International LLC
Original Assignee
Graphic Packaging International LLC
Priority date (The priority date is an assumption and is not a legal conclusion. Google has not performed a legal analysis and makes no representation as to the accuracy of the date listed.)
Filing date
Publication date
Application filed by Graphic Packaging International LLC filed Critical Graphic Packaging International LLC
Publication of JP2007522050A publication Critical patent/JP2007522050A/ja
Application granted granted Critical
Publication of JP4635013B2 publication Critical patent/JP4635013B2/ja
Anticipated expiration legal-status Critical
Expired - Fee Related legal-status Critical Current

Links

Images

Classifications

    • BPERFORMING OPERATIONS; TRANSPORTING
    • B65CONVEYING; PACKING; STORING; HANDLING THIN OR FILAMENTARY MATERIAL
    • B65DCONTAINERS FOR STORAGE OR TRANSPORT OF ARTICLES OR MATERIALS, e.g. BAGS, BARRELS, BOTTLES, BOXES, CANS, CARTONS, CRATES, DRUMS, JARS, TANKS, HOPPERS, FORWARDING CONTAINERS; ACCESSORIES, CLOSURES, OR FITTINGS THEREFOR; PACKAGING ELEMENTS; PACKAGES
    • B65D71/00Bundles of articles held together by packaging elements for convenience of storage or transport, e.g. portable segregating carrier for plural receptacles such as beer cans or pop bottles; Bales of material
    • B65D71/06Packaging elements holding or encircling completely or almost completely the bundle of articles, e.g. wrappers
    • B65D71/12Packaging elements holding or encircling completely or almost completely the bundle of articles, e.g. wrappers the packaging elements, e.g. wrappers being formed by folding a single blank
    • B65D71/36Packaging elements holding or encircling completely or almost completely the bundle of articles, e.g. wrappers the packaging elements, e.g. wrappers being formed by folding a single blank having a tubular shape, e.g. tubular wrappers, with end walls
    • BPERFORMING OPERATIONS; TRANSPORTING
    • B65CONVEYING; PACKING; STORING; HANDLING THIN OR FILAMENTARY MATERIAL
    • B65DCONTAINERS FOR STORAGE OR TRANSPORT OF ARTICLES OR MATERIALS, e.g. BAGS, BARRELS, BOTTLES, BOXES, CANS, CARTONS, CRATES, DRUMS, JARS, TANKS, HOPPERS, FORWARDING CONTAINERS; ACCESSORIES, CLOSURES, OR FITTINGS THEREFOR; PACKAGING ELEMENTS; PACKAGES
    • B65D2571/00Bundles of articles held together by packaging elements for convenience of storage or transport, e.g. portable segregating carrier for plural receptacles such as beer cans, pop bottles; Bales of material
    • B65D2571/00123Bundling wrappers or trays
    • B65D2571/00129Wrapper locking means
    • B65D2571/00135Wrapper locking means integral with the wrapper
    • B65D2571/00141Wrapper locking means integral with the wrapper glued
    • BPERFORMING OPERATIONS; TRANSPORTING
    • B65CONVEYING; PACKING; STORING; HANDLING THIN OR FILAMENTARY MATERIAL
    • B65DCONTAINERS FOR STORAGE OR TRANSPORT OF ARTICLES OR MATERIALS, e.g. BAGS, BARRELS, BOTTLES, BOXES, CANS, CARTONS, CRATES, DRUMS, JARS, TANKS, HOPPERS, FORWARDING CONTAINERS; ACCESSORIES, CLOSURES, OR FITTINGS THEREFOR; PACKAGING ELEMENTS; PACKAGES
    • B65D2571/00Bundles of articles held together by packaging elements for convenience of storage or transport, e.g. portable segregating carrier for plural receptacles such as beer cans, pop bottles; Bales of material
    • B65D2571/00123Bundling wrappers or trays
    • B65D2571/00555Wrapper opening devices
    • B65D2571/00561Lines of weakness
    • B65D2571/00574Lines of weakness whereby contents can still be carried after the line has been torn
    • B65D2571/0058The tear line defining a dispensing aperture provided with means for preventing the articles from freely exiting the wrapper, e.g. by rolling out
    • BPERFORMING OPERATIONS; TRANSPORTING
    • B65CONVEYING; PACKING; STORING; HANDLING THIN OR FILAMENTARY MATERIAL
    • B65DCONTAINERS FOR STORAGE OR TRANSPORT OF ARTICLES OR MATERIALS, e.g. BAGS, BARRELS, BOTTLES, BOXES, CANS, CARTONS, CRATES, DRUMS, JARS, TANKS, HOPPERS, FORWARDING CONTAINERS; ACCESSORIES, CLOSURES, OR FITTINGS THEREFOR; PACKAGING ELEMENTS; PACKAGES
    • B65D2571/00Bundles of articles held together by packaging elements for convenience of storage or transport, e.g. portable segregating carrier for plural receptacles such as beer cans, pop bottles; Bales of material
    • B65D2571/00123Bundling wrappers or trays
    • B65D2571/00555Wrapper opening devices
    • B65D2571/00561Lines of weakness
    • B65D2571/00598The tearable part having a specific use
    • B65D2571/00604The tearable part having a specific use for supporting the wrapper in a dispensing position, e.g. inclined
    • BPERFORMING OPERATIONS; TRANSPORTING
    • B65CONVEYING; PACKING; STORING; HANDLING THIN OR FILAMENTARY MATERIAL
    • B65DCONTAINERS FOR STORAGE OR TRANSPORT OF ARTICLES OR MATERIALS, e.g. BAGS, BARRELS, BOTTLES, BOXES, CANS, CARTONS, CRATES, DRUMS, JARS, TANKS, HOPPERS, FORWARDING CONTAINERS; ACCESSORIES, CLOSURES, OR FITTINGS THEREFOR; PACKAGING ELEMENTS; PACKAGES
    • B65D2571/00Bundles of articles held together by packaging elements for convenience of storage or transport, e.g. portable segregating carrier for plural receptacles such as beer cans, pop bottles; Bales of material
    • B65D2571/00123Bundling wrappers or trays
    • B65D2571/00648Elements used to form the wrapper
    • B65D2571/00654Blanks
    • B65D2571/0066Blanks formed from one single sheet
    • BPERFORMING OPERATIONS; TRANSPORTING
    • B65CONVEYING; PACKING; STORING; HANDLING THIN OR FILAMENTARY MATERIAL
    • B65DCONTAINERS FOR STORAGE OR TRANSPORT OF ARTICLES OR MATERIALS, e.g. BAGS, BARRELS, BOTTLES, BOXES, CANS, CARTONS, CRATES, DRUMS, JARS, TANKS, HOPPERS, FORWARDING CONTAINERS; ACCESSORIES, CLOSURES, OR FITTINGS THEREFOR; PACKAGING ELEMENTS; PACKAGES
    • B65D2571/00Bundles of articles held together by packaging elements for convenience of storage or transport, e.g. portable segregating carrier for plural receptacles such as beer cans, pop bottles; Bales of material
    • B65D2571/00123Bundling wrappers or trays
    • B65D2571/00709Shape of the formed wrapper, i.e. shape of each formed element if the wrapper is made from more than one element
    • B65D2571/00722Shape of the formed wrapper, i.e. shape of each formed element if the wrapper is made from more than one element tubular with end walls, e.g. walls not extending on the whole end surface
    • B65D2571/00728Shape of the formed wrapper, i.e. shape of each formed element if the wrapper is made from more than one element tubular with end walls, e.g. walls not extending on the whole end surface the end walls being closed by gluing
    • BPERFORMING OPERATIONS; TRANSPORTING
    • B65CONVEYING; PACKING; STORING; HANDLING THIN OR FILAMENTARY MATERIAL
    • B65DCONTAINERS FOR STORAGE OR TRANSPORT OF ARTICLES OR MATERIALS, e.g. BAGS, BARRELS, BOTTLES, BOXES, CANS, CARTONS, CRATES, DRUMS, JARS, TANKS, HOPPERS, FORWARDING CONTAINERS; ACCESSORIES, CLOSURES, OR FITTINGS THEREFOR; PACKAGING ELEMENTS; PACKAGES
    • B65D2571/00Bundles of articles held together by packaging elements for convenience of storage or transport, e.g. portable segregating carrier for plural receptacles such as beer cans, pop bottles; Bales of material
    • B65D2571/00123Bundling wrappers or trays
    • B65D2571/00833Other details of wrappers
    • B65D2571/00882Supporting members

Landscapes

  • Engineering & Computer Science (AREA)
  • Mechanical Engineering (AREA)
  • Cartons (AREA)
  • Packages (AREA)

Description

[発明の分野]
本発明は包括的には、物品を保持し、且つそれらの物品を手が届きやすいように位置決めするためのカートンに関する。詳細には、本発明は、カートン内で物品を位置決めするための傾斜機構を有する小出しカートンに関する。
[関連出願の相互参照]
本出願は、2004年2月10日に出願された米国特許仮出願第60/543,382号の優先権を主張し、この出願は、その全体が本明細書に述べられているかのように参照によって援用される。
[発明の背景]
物品の陳列又は小出しのための位置決め機構を備えた閉鎖型カートンが、従来、使用されてきた。これらのカートンの多くは、使用者がカートンの一部分を切り離し、その部分を操作して位置決めアセンブリを作り、そのアセンブリをカートンの下に置くことを必要とする。他のタイプのカートンには、位置決めアセンブリを所定位置に保持する、又は位置決めアセンブリをカートンに付着させるために接着剤を必要とする位置決め機構を備えるものもあれば、取り付けられた位置決め機構を有するさらに別のカートンには、使用者が位置決めアセンブリをカートン内の事前形成スロットに挿入することを必要とするものもある。多くの場合、使用者が位置決めアセンブリを係合させた後、カートンの構造保全性が破壊され、また一旦位置決め機構がカートンから取り除かれると、使用者は一般的にカートンを閉鎖し直すことができない。さらに、多くの従来型カートン位置決めアセンブリは、構造的に弱く、且つ過大な重量によって容易に平らになってしまう。
[発明の概要]
本発明は包括的には、物品を保持し、且つそれらの物品を手が届きやすいように位置決めするための位置決めアセンブリを備えるカートン、及びそのようなカートンを位置決めする方法に関する。本発明は、たとえば、食品及び飲料等の製品を収容している物品の小出しの際に使用されることができる。これらの物品は、缶、ボトル及びペット(PET)容器等の飲料容器とともに、食品又は食品でない商品の包装に使用されるもの等の、好ましくは形状が丸形の他の容器を含むことができる。本発明の1つの態様では、カートンは、接着剤を使用せずに容易に位置決め可能な位置決めアセンブリを備えている。本発明の別の態様では、カートンは、位置決めアセンブリの係合後に閉鎖し直すことができる位置決めアセンブリを備えている。本発明のさらなる態様では、カートンは、使用者がカートンの一部分を切り離す必要がない位置決めアセンブリを備えている。
本発明はまた、特定形状に切断され、それから特定領域に折り目、刻み目、切れ目又はミシン目を付けた、板紙ブランク等のカートンブランクを含む。カートンブランクは、折り目又は折り線の間に細長いパネルを画定し、パネルのそれぞれの端部にダストフラップを含む。カートンブランクを折り曲げてスリーブを形成し、完全に組み立てて、端部フラップを閉じたとき、組み立てられたカートンは、前又は前方端部、後方端部及び上壁、底壁、前後壁、及び第1の側壁及び第2の側壁を有する。
説明のために、本発明は、ペットボトル又は飲料缶に入れた飲料を収容するような寸法及び大きさの板紙カートンとして開示される。図面に示されたカートンは、12個の物品を2×6配列にして保持する寸法であるが、本発明は、いずれの特定の寸法又は大きさにも制限されない。たとえば、本発明は、3×4、2×4、2×5等の他の配列で物品を保持する寸法及び形状でもうまく働くであろう。カートンは、物品に手が届きやすくする開口機構や、物品を前端部に位置決めする位置決めアセンブリを含めたさまざまな独特の機構を備える。
[発明の詳細な説明]
本発明をより完全に理解するために、以下の詳細な説明及び添付図面を参照する必要があり、図面全体を通して同一の参照番号が対応部分を示している。
本発明のカートンの理解及び説明を容易にするために、本明細書に記載する構成要素及び符号は、カートン及びブランクの半割部分を区別するために、「上方」、「下方」、「上部」、「底部」、「前部」及び「後部」という用語を使用する。しかしながら、これらの規定は、単に本記載の説明及び理解を容易にするために含まれているだけであって、決して限定的ではない。たとえば、「上方」、「下方」等のパネルの説明は、「第1」、「第2」等と呼ぶこともできる。
切り取り線は、連続的であることができ、ミシン目、切れ目、刻み目、折り目、折り線、切り込み線、切り取り線の任意の組み合わせ、又は容器ブランク内に形成された上記及び他の包含物の任意の組み合わせから成ることができる。
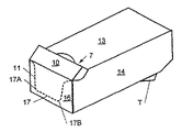
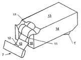
図1は、本発明の一実施形態に従ったカートンCの斜視図であって、開口フラップが取り除かれている。本発明の図示の実施形態の位置決めアセンブリは、傾斜アセンブリTを有し、これがその動作可能位置に示されている。2つの管形の飲料ペットボトルが、図1のカートンの開口端部すなわち前端部5のそばで支持面SS上に配置されている。傾斜アセンブリTは、カートンCの後方端部6に位置決めされている。
図2は、図1のカートンの側面図である。図2において、ペットボトルBがカートン内に2×6配列にして収容されており、上段の各ボトルは、下段の対応のボトルの真上に位置決めされている。ペットボトルの上段の第1のボトルB1が、開口端部すなわち前端部5に見える。
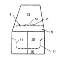
図3は、カートンCの端面図であって、ディスペンサ7がカートンCの残り部分に完全に接続されており、それにより、6本のペットボトルの2段が完全閉鎖型カートン内に収容されている。図3に示されているディスペンサ7は、境界線11によって画定された開口フラップ10を有する。この境界線は、使用者がディスペンサ7を線11に沿ってカートンから手動で分離させて、ディスペンサ7をカートンCの残り部分から取り除くことができるようにする切れ目、切り込み線、又は他の弱め領域であることができる。任意選択で、開口フラップ10はカートン壁の1つに沿ってフィンガフラップ12を画定してもよい。フィンガフラップ12は、使用者がフィンガフラップ12を内側へ押し込み、線11に沿ってカートンを破断することにより、カートンを開口する初期動作を助けるために設けることができる。好ましくは、フィンガフラップ12は、カートンの上壁13の位置にあるが、本発明は、側壁14及び15の一方又は両方、或いは前壁16等の他の壁に1つ又は複数のフィンガフラップを配置するように構成することもできるであろう。
図4は、ペットボトルを保持している完全閉鎖型カートンCを示し、ディスペンサ7の除去を説明する。使用者は、1本又は複数本の指を内側へ押し込み、それにより、カートンCを、最初に線11の部分、即ちフィンガフラップ12を画定する部分に沿って開く。使用者は次に、フラップ12及びフラップ10を外向きに引っ張ってカートンの残り部分から離し、それにより、開口フラップ10を境界線11に沿ってカートンCの残り部分から分離させ始める。フィンガフラップ12が組み込まれていない場合でも、開口処理は通常、線11の、カートンの上壁13内に画定されている部分に沿って始まる。開口フラップ10を引っ張り続けると、フラップ10は、第1の側壁14及び第2の側壁15内に画定された線11に沿っても分離する。フラップ10を引っ張り続けることにより、図5に示されているように、フラップ10が前壁16から分離し始める。この時点で、ディスペンサ7は一体構造体として、図5に示されているようにカートンに取り付けられたままであって、バスケットを形成することができるか、又は任意選択で、開口端部すなわち前端部5に沿ってほぼ点17Aから点17Bまで延びる境界線部分17に沿って引き裂くことにより、カートンから完全に取り除くことができる。部分17は一般的に、カートンの底部パネルから上方に、カートン内に保持される容器の1つの直径より短い距離の間隔が置かれており、この距離は、ディスペンサが開いている間に容器がカートンから転がり出ることを防止し、且つカートンの構造保全性を維持するのに十分である。
図6は、開口フラップ10をカートンから取り除いた状態にある、2×6配列にしてペットボトルBを保持しているカートンCを示す。境界線11によって大まかに示されているように、上壁13、側壁14及び15、及び前壁16の縁部によってアクセス開口8が画定されている。カートン内に保持されている容器又はボトルは、自動的に小出しされないが、アクセス開口8でカートン内の最前方の容器を掴むことによって個別に容易に取り出すことができるように、カートンの前端部に位置決めされている。
好ましくは、カートン内の物品は、缶又はボトル等の、丸い側壁を有する管状であり、そのため、後述するように傾斜アセンブリを係合させたとき、物品が前方に転がる。本発明のカートンは、飲料缶、ペットボトル、及びロールやビスケット等の食品容器を保持するのに理想的に適する。モータオイル等の食品でない商品を保持する他の構造の任意の他の容器を本カートン内に保持して、自動的に位置決めすることができる。
カートンはまた、カートンの後方端部9を上昇させるために、係合させる、すなわち動作可能位置に置くことができる傾斜アセンブリTを有することもできる。傾斜アセンブリTを係合させたとき、カートンの後方端部9が、カウンタ、冷蔵庫の棚、又はカートンを支持するキャビネット又は棚等の支持面SSから上方に持ち上げられる。カートンをこの上昇位置に手動で設置すると、管状容器が重力によって後方端部9から開口端部すなわち前端部5の方へ前方に回転し、それにより、容器は、使用者がアクセス開口8からカートン内に手を伸ばしてそれらを容易に取り出すことができるように位置決めされる。
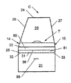
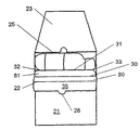
図7は、カートンの後方下側から見たカートンCの後方端部9の端面図である。底壁21は、好ましくは切り込み線である刻み目線22に沿って終端している。カートンの後壁23は、切れ目線22から上方に、後壁23が上壁13と合流する上縁部24まで延びている。カートンCの傾斜アセンブリTは、ミシン目、切れ目がない折り目、切れ目入り折り目及び切り込み線を含めたさまざまな事前形成された線によって画定される。しかしながら、本発明の傾斜アセンブリTは上記のような線を使用してうまく働くが、本明細書に記載する特定の組み合わせの代わりに、これらの線の他の組み合わせを使用できることは、当業者には理解されるであろう。
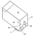
図7に示されているように、ミシン目25は、点32から底壁、即ち、パネル21を横切って側壁14まで延びている。図8は、側壁14の下方後隅部を横切って、側壁14が後壁23と合流するカートン縁部26の方に上向きに続く線25を示す。線25は次に、後壁23を横切って、後壁23が側壁15と合流する反対側のカートン縁部27まで延びている。線25と底壁21との間の距離は、カートン内に保持される容器の1つの直径より短いが、他の高さにすることもできる。任意選択で、図8に示されているように、タブ又はフィンガフラップ28をミシン目25によって後壁23内に画定することができる。線25は同様に、側壁15の下方後隅部を横切って底壁21まで、さらに図7に示された点33まで延びている。
再び図7を参照すると、刻み目線22が、後壁23と底壁21とを結合するカートン縁部に沿って形成されている。図7に示されているように、刻み目線22から底壁21に沿って前方に間隔をおいて切れ目入り折り線30が設けられている。線22及び30の間に矩形パネル80が画定される。やはり図7には、切れ目がない折り線31が示されており、これは、線30から前方に間隔をおいて底壁21に沿って点32から33まで延びている。折り線30は、線22及び31間から等距離に位置する。傾斜した端部分(図7)を有するパネル81が、線30及び31間に画定されている。パネル81の傾斜端部分は、ミシン目25の、点32から側壁14まで、及び点33から側壁15まで延びる部分によって画定される。パネル80及び81を有する傾斜フラップ35が、線25及び31間に画定される。
傾斜アセンブリTを位置決めするために、タブ又はフィンガフラップ28に沿って内側に押し、それから外向きに引っ張ってカートンCから離し、それにより、後壁23をミシン目25に沿って引き裂き始めることにより、傾斜フラップ35を引き下ろす。この時点で、使用者はカートンの後端部を持ち上げ、それにより、それをカウンタ又は棚等の支持面SSから、フラップ35を底壁21の下方へ移動させることができるまで十分に高く上昇させる。これにより、図10に示されているように、傾斜フラップ35を、側壁14及び15の下方後隅部を横切り、底壁21のミシン目25に沿って点32及び33まで引き裂くことができる。この時、傾斜アセンブリTは、線31に沿ってカートンにヒンジ式に取り付けられ、且つカートンの構造保全性を保持する一体構造体を構成する。
(i)上部パネル、2つの側部パネル、底部パネル、第1の閉鎖端部、及び出口端部である第2の閉鎖端部と、(ii)該第2の閉鎖端部に位置する開口と、(iii)該第1の閉鎖端部に位置する位置決めアセンブリであって、前記底部パネル上の第1の点から該底部パネル上の第2の点まで延びる折り線、及び該第1の点から該底部パネル、該2つの側部パネルの一方、該第1の閉鎖端部、他方の側部パネル及び該底部パネルを横切って該第2の点まで延びる切り取り線によって画定される一体構造体である位置決めアセンブリと、を備える複数の容器を収容している閉鎖型カートンは、
a.該位置決めアセンブリを該切り取り線に沿って引き裂き、
b.該位置決めアセンブリを該折り線を中心にしてヒンジ式に移動させ、それにより、該位置決めアセンブリを該底部パネルと接触させる、
ことにより位置決めされ、該位置決めアセンブリは、該カートンの該第1の閉鎖端部に取り付けられたまま残る。
(i)上部パネル、2つの側部パネル、底部パネル、第1の閉鎖端部、及び出口端部である第2の閉鎖端部と、(ii)該第2の閉鎖端部に位置する開口と、(iii)該第1の閉鎖端部に位置する位置決めアセンブリであって、(a)該底部パネル上の第1の点から該底部パネル上の第2の点まで延びる第1の折り線、(b)該第1の点から該底部パネル、該2つの側部パネルの一方、該第1の閉鎖端部、他方の側部パネル及び該底部パネルを横切って該第2の点まで延びる切り取り線、及び(c)該切り取り線の、該底部パネルを横切って延びる部分上に位置する第3の点及び第4の点の間に延びる第2の折り線によって画定される一体構造体である位置決めアセンブリと、を備える複数の容器を収容している閉鎖型カートンは、
a.該位置決めアセンブリを該切り取り線に沿って引き裂き、
b.該位置決めアセンブリを該第1の折り線を中心にしてヒンジ式に移動させ、
c.該位置決めアセンブリを該第2の折り線を中心にしてヒンジ式に移動させ、それにより、該位置決めアセンブリを該底部パネルと接触させる、
ことにより位置決めされ、該位置決めアセンブリは、該カートンの該第1の閉鎖端部に取り付けられたまま残る。
図面に示されたような傾斜アセンブリTは、側部パネル内にミシン目又は切り取り線を有する。しかしながら、傾斜アセンブリTは、側部パネルのいずれか一方又は両方の部分を含む必要はないが、本明細書では説明の一貫性及び容易さの点から、それらが図面に示されている。
図9Aは、カートンCの側面図であって、線25が点32及び33まで完全に引き裂かれるように、フラップ35が引き出されているところを示す。図9Bは、フラップ35を係合させる、すなわち動作可能位置に適切に位置決めする際の次のステップを示す。図9Bでは、フラップ35の、線25によって画定されるような端部壁23から成る部分が底壁21と接触するように位置決めされている。このフラップ35の位置では、パネル80がパネル81から離れているが、それに近接している。図9Cは、傾斜アセンブリTを位置決めする際の最終ステップを示し、パネル81がパネル80の方に、それらパネル80及び81が互いに接触するまで、押されている。図9Dに示されているように、このフラップ35の位置は、点83から点84まで延びる(線30に対応する)縁部82を生じる。傾斜縁部85が、点83から点86まで延び、傾斜縁部87が点84から点88まで延びている。タブ28を底部パネル21のスリット89に挿入してもよい。その後、カートンCを支持面SS上に載せたとき、傾斜アセンブリTの縁部82、85及び87が集合的にカートンCの支持を行う。傾斜アセンブリTをこの動作可能位置に置いたとき、次にカートンCを支持面SS上に静かに戻して置くことができ、それにより、フラップ35は、図11に示されているように、カートンの下方に完全に折り曲げられる。このように、傾斜フラップ35がカートンCのための後支持面になり、それにより、カートンCの後端部が支持面SSより上方に持ち上げられる。したがって、丸形又は管状側壁を有する容器は後壁23から離れて前壁16の方に転がりやすくなり、上述したように位置決めして容易に取り出すことができる。(図面をわかりやすくするために、図9Dには容器が示されていない。)
所望時にはいつも、図9A〜図9Cに示されたステップの順序を逆にして、それを元の位置に戻すことにより、傾斜アセンブリTを閉鎖し直すことができる。
本発明は、上記カートンCを形成するためのカートンブランク90も有する。図12に示されているカートンブランク90は、当該技術分野では既知のSUS板紙等のキャリヤボード(carrier board)から成るが、カートンブランクはいずれの特定の組成物にも制限されない。たとえば、ブランクは、厚紙で、又はプラスチック等の合成シート材料から構成されることもできる。カートンブランク90は、折り目又は折り線50及び折り線51を有し、その間に上部パネル又は壁13が画定されている。前上端部フラップ52が、上部パネル13の一端部に画定され、後上端部フラップ53が、パネル13の他端部に画定されている。上記フラップは、当該技術分野ではダストフラップとしても知られる。折り線54が折り線50から間隔をおいて配置され、その間に側部パネル14を画定している。側部パネル14の前又は前方端部では、前側端部フラップ55が第1の横方向折り線100を介して側部パネル14に接続され、側部パネル14の反対端部すなわち後端部では、後側端部フラップ56が第2の横方向折り線101を介して側部パネル14に接続されている。カートンブランクは第1の自由縁部60を有し、これは、図12に示されているように、折り線54から間隔をおいてそれにほぼ平行であり、それにより、結合フラップ61を画定している。折り線51から間隔をおいてそれに平行に折り線62が配置され、それにより、折り線51及び62間に側部パネル15を画定している。側部フラップ15の前方端部では、前側端部フラップ63が第1の横方向折り線100を介して側部パネル15に接続され、側部パネル15の後方端部では、後側端部フラップ64が第2の横方向折り線101を介して側部パネル15に接続されている。カートンブランク90は、第2の自由縁部65も有し、これは、図12に示されているように、折り線62から間隔をおいてそれにほぼ平行である。底部パネル68が、折り線62と自由縁部65との間に画定されている。前底端部フラップ69が、底部パネル68の前部分に沿って画定され、後底端部フラップ70が、底部パネル68の後部分に画定されている。ブランクには、刻み目/切れ目線11、ミシン目25及び折り線31が設けられ、後述するようにカートンが完全に閉鎖されたとき、これらの線が上述のディスペンサ7及び傾斜アセンブリTを画定するように位置決めされ、且つ構成されている。
当業者には既知のように、カートンブランクは、折り目又は折り線に沿って折り曲げられ、それにより、結合フラップ61を底部フラップ68に重ねて付着させてカートンスリーブを形成することができる。図12に示されているカートンブランク90は、このように折り曲げられ、それにより、本発明のカートンCを形成する。膠接着剤又は化合物等の固着手段がフラップ61に塗布され、それにより、カートンを折り曲げた後、フラップ61をフラップ68に固着して、スリーブを形成することができる。やはり当業者には既知のように、カートンCをスリーブの形にしてから、図面に示されているペットボトル又は飲料缶等の容器をスリーブ内に適当な向きで入れる。図示のように、カートンを完全に閉鎖して、適切にひっくり返して上部パネル13を上向きにしたとき、容器はそれぞれ横向きになる。
カートンは、上記の端部フラップを折り曲げ、それにより、端部分を閉じ、またカートンを完全に閉鎖するために、たとえば対応の端部フラップを互いに接着することによって、完全に閉鎖される。前端部フラップが協動して前壁16を形成し、後端部フラップが協動して後壁23を形成する。
図13〜図15は、ペットボトルの代わりに飲料缶を封入する、上記のような本発明のカートンを示す。図13は、缶を収容しているカートンの端面図である。図13は、リテーナ壁Wを示し、これらは、ディスペンサ7が開いているとき、上段及び下段の両方の物品が自然にカートンから転がり出ることを防止する。図14は、ディスペンサを取り除いた状態にある、缶を2×6配列に収容している図13のカートンの端面図である。図15は、ディスペンサを取り除き、傾斜アセンブリをその動作可能位置に示す、缶を2×6配列に収容している図13のカートンの側面図である。
以上の明細書は、本発明を実施する、発明者が知る最良の態様を示している。本発明の精神及び範囲から逸脱しない限り、本発明に多くの修正を加えることができるので、本発明の幅及び深さは、添付の特許請求の範囲に帰する。
開口フラップを取り除き、傾斜アセンブリをその動作可能位置に示す、ペットボトルを収容しているカートンの斜視図である。 ペットボトルを2×6配列に収容している図1のカートンの側面図である。 ディスペンサがカートンの残り部分に完全に接続された状態にある、容器を収容しているカートンの端面図である。 ディスペンサの開口を示す、容器を収容しているカートンの斜視図である。 ディスペンサを開いているが、カートンの残り部分に取り付けた状態を示す、ペットボトルを収容しているカートンの斜視図である。 ディスペンサを取り除いた状態にある、ペットボトルを2×6配列で収容しているカートンの端面図である。 傾斜アセンブリがカートンの残り部分に完全に接続された状態を示す、カートンの後方端部の底端面図である。 傾斜アセンブリがカートンの残り部分に完全に接続された状態を示す、カートンの後方端部の上部斜視図である。 傾斜アセンブリをその動作可能位置に適切に位置決めするステップを説明する、カートンの側面図である。 傾斜アセンブリをその動作可能位置に適切に位置決めするステップを説明する、カートンの側面図である。 傾斜アセンブリをその動作可能位置に適切に位置決めするステップを説明する、カートンの側面図である。 傾斜アセンブリをその動作可能位置に示す、カートンの底部後方端部の拡大した斜視図である。 傾斜アセンブリを引き下ろした状態にある、ペットボトルを2×6配列に収容しているカートンの後方端部の底端面図である。 傾斜アセンブリをその動作可能位置に示す、ペットボトルを2×6配列に収容しているカートンの後方端部の斜視図である。 本発明に従ったカートンを形成するためのブランクの平面図である。 缶を収容しているカートンの端面図である。 ディスペンサを取り除いた状態にある、缶を2×6配列に収容している図13のカートンの端面図である。 ディスペンサを取り除き、傾斜アセンブリをその動作可能位置に示す、缶を2×6配列で収容している図13のカートンの側面図である。

Claims (40)

  1. 複数の容器を運搬するための閉鎖型カートンであって、該閉鎖型カートンは、
    上部パネル、2つの側部パネル、底部パネル、第1の閉鎖端部及び第2の閉鎖端部と、
    該第1の閉鎖端部に設けられて、該第1の閉鎖端部を該第2の閉鎖端部よりわずかに上方に持ち上げ、それにより、該容器が該第2の閉鎖端部の方に移動するように構成される、位置決めアセンブリと、
    を備え、
    該位置決めアセンブリは、該カートンに取り付けられたまま残る一体構造体であり、該底部パネルの一部分及び該第1の閉鎖端部の一部分を有すると共に、該底部パネル上の第1の点から該底部パネル上の第2の点まで延びる第1の折り線と、該第1の点から、該底部パネル、該2つの側部パネルの一方の側部パネル、該第1の閉鎖端部、該2つの側部パネルの他方の側部パネル、該底部パネルを横切って該第2の点まで延びる第2の切り取り線とによって画定され、
    第1の切り取り線によって、少なくとも該上部パネルと該第2の閉鎖端部に画定される開口をさらに備える、
    閉鎖型カートン。
  2. 前記第2の切り取り線に沿って位置する第2のフィンガフラップであって、それにより、前記位置決めアセンブリを該第2の切り取り線に沿って引き裂くことができるようにする第2のフィンガフラップをさらに備える、請求項1に記載のカートン。
  3. 前記第2のフィンガフラップは、前記第2の切り取り線の、前記カートンの前記第2の閉鎖端部を横切って延びる部分に沿って位置する、請求項2に記載のカートン。
  4. 前記カートンの、前記位置決めアセンブリを画定する部分は、前記底部パネルから上方に、前記容器の1つの直径より少なく上昇する、請求項1に記載のカートン。
  5. 開口して前記開口を形成することができるディスペンサを備える、請求項1に記載のカートン。
  6. 前記ディスペンサは、前記上部パネル、前記2つの側部パネル及び前記第1の閉鎖端部を横切って延びる前記第1の切り取り線によって画定された一体構造体である、請求項5に記載のカートン。
  7. 前記第1の切り取り線と前記底部パネルとの間の距離は、前記容器の1つの直径より短く、且つ前記ディスペンサを開いた後に該容器が前記カートンから転がり出ることを防止するのに十分である、請求項6に記載のカートン。
  8. 前記第1の切り取り線に沿って位置する第1のフィンガフラップであって、それにより、前記ディスペンサを該第1の切り取り線に沿って開口することができるようにする第1のフィンガフラップをさらに備える、請求項6に記載のカートン。
  9. 前記第1のフィンガフラップは、前記第1の切り取り線の、前記カートンの前記上部パネルを横切って延びる部分に沿って位置する、請求項8に記載のカートン。
  10. 前記ディスペンサは、前記カートンの前記第2の閉鎖端部に取り付けられたまま残り、それにより、該ディスペンサの開口時にバスケットを形成する、請求項5に記載のカートン。
  11. 前記ディスペンサは、該ディスペンサの開口時に前記カートンから切り離される、請求項5に記載のカートン。
  12. 前記ディスペンサが開いている間、前記容器が前記カートンから転がり出ることを防止するストッパ手段をさらに備え、該ストッパ手段は、前記底部パネルから上方に、該容器の1つの直径より短く、且つ該ディスペンサが開いている間、該容器が該カートンから転がり出ることを防止するのに十分である距離だけ立ち上がっている、請求項5に記載のカートン。
  13. 前記ストッパ手段は、前記第2の閉鎖端部の一部分を有する、請求項12に記載のカートン。
  14. 前記ストッパ手段は、前記カートンからの前記ディスペンサの切り離し時に該カートンの構造保全性を維持する、請求項12に記載のカートン。
  15. 各閉鎖端部は、上端部フラップ、底端部フラップ、2つの側端部フラップ、及び該フラップを合わせて保持する手段を有する、請求項1に記載のカートン。
  16. 上段及び下段の2段だけの容器を運搬する寸法であり、該上段の各容器は、該下段の対応の容器の真上に位置する、請求項1に記載のカートン。
  17. 前記位置決めアセンブリは、該位置決めアセンブリを前記第2の切り取り線に沿って切り離し、また該位置決めアセンブリを前記第1の折り線を中心にしてヒンジ式に移動させ、それにより、該位置決めアセンブリが前記底部パネルと接触することによって係合される、請求項1に記載のカートン。
  18. 前記容器は、前記位置決めアセンブリの係合時に前記第2の閉鎖端部の方に移動することになる、請求項17に記載のカートン。
  19. 前記カートンは、前記位置決めアセンブリの係合時に構造保全性を維持する、請求項17に記載のカートン。
  20. 前記底部パネルは、スリットをさらに有し、それにより、前記位置決めアセンブリの係合時に該位置決めアセンブリの一部分を該スリットに挿入することができる、請求項17に記載のカートン。
  21. 前記第1の折り線に平行な第2の折り線をさらに備えており、該第2の折り線は、前記第2の切り取り線の、前記底部パネルを横切って延びる部分に位置する2つの点によって画定される、請求項1に記載のカートン。
  22. 前記位置決めアセンブリは、該位置決めアセンブリを前記第2の切り取り線に沿って切り離し、該位置決めアセンブリを前記第1の折り線を中心にしてヒンジ式に移動させ、また該位置決めアセンブリを前記第2の折り線を中心にしてヒンジ式に移動させ、それにより、該位置決めアセンブリが前記底部パネルと接触することによって係合される、請求項21に記載のカートン。
  23. 前記底部パネルは、スリットをさらに有し、それにより、前記位置決めアセンブリの係合時に該位置決めアセンブリの一部分を該スリットに挿入することができる、請求項21に記載のカートン。
  24. 前記位置決めアセンブリは、前記側部パネルの各々の一部分を有する、請求項1に記載のカートン。
  25. 複数の容器を運搬するための閉鎖型カートンを形成するブランク(90)であって、該ブランクは、
    上部パネル(13)部パネル(14、15)部パネル(68)及び結合フラップ(61)を画定する折り線(50、51、54、62)を内部に有する折り曲げ可能な材料からなるシートと、
    り線(50、51、54、62)の一端部において、該折り線(50、51、54、62)に対して横断する方向の第1の横方向折り線(100)であって、該第1の横方向折り線(100)は、(a)端部フラップ(55)を前記部パネル(14)に、また(b)端部フラップ(63)を前記部パネル(15)に接続する、第1の横方向折り線(100)と、
    り線(50、51、54、62)の他端部において、該り線(50、51、54、62)に対して横断する方向の第2の横方向折り線(101)であって、該第2の横方向折り線(101)は、(a)端部フラップ(56)を前記部パネル(14)に、また(b)側端部フラップ(64)を前記部パネル(15)に接続する、第2の横方向折り線(101)と、
    該上部パネル(13)及び該端部フラップ(55、63)内に開口を画定するり取り線(11)と、
    該底部パネル(68)上の第1の点(33)から該底部パネル(68)上の第2の点(32)まで延びるり線(31)であって、該り線(31)は、該り線(50、51、54、62)に対して垂直であるが、該り線のいずれとも交差しない、り線(31)と、
    該第1の点(33)から該底部パネル(68)及び該部パネル(15)を横切って該第2の横方向折り線(101)まで延び、さらに該端部フラップ(64)を横切るり取り線(25)と、
    該第2の点(32)から前記底部パネル(68)を横切って延びるり取り線と、
    該結合フラップ(61)及び該部パネル(14)を横切って該第2の横方向折り線(101)まで延び、さらに該端部フラップ(56)を横切るり取り線(25)と、
    を有するブランク。
  26. 前記部パネル(14)は、前記り線(54、50)によって画定され、前記上部パネル(13)は、該り線(50、51)によって画定され、前記部パネル(15)は、該り線(51、62)によって画定され、前記底部パネル(68)は、該り線(62)を介して該部パネル(15)に接続され、前記結合フラップ(61)は、該り線(54)を介して該部パネル(14)に接続されており、
    該底部パネル(68)は、該り線(62)と向き合う自由縁部を有し、該結合フラップ(61)は、該り線(54)と向き合う自由縁部を有する、
    請求項25に記載のブランク。
  27. 前記ブランクは、
    第3の点と第4の点との間に延びるり線(30)であって、該第3の点は、前記り取り線(25)と前記り線(62)との交点によって画定され、該第4の点は、前記底部パネル(68)の前記自由縁部上に位置する、り線(30)と、
    り線(30)は、前記り線(31)と該第2の横方向折り線(101)との間に位置する、
    請求項25に記載のブランク。
  28. 前記り線(30)は、前記り線(31)及び前記第2の横方向折り線(101)から等距離にある、請求項27に記載のブランク。
  29. 前記閉鎖型カートンが前記ブランクから形成されるとき、前記り線(31)と前記り取り線(25)とによって一体形位置決めアセンブリが画定され、該り取り線(25)は、単一の切り取り線が該カートンの前記端部フラップ(56、64)と前記部パネル(14、15)とを横切って形成されるような位置にある、請求項25に記載のブランク。
  30. 前記り取り線(11)は、前記上部パネル(13)と前記部パネル(14、15)とを横切って前記第1の横方向折り線(100)まで延び、さらに前記端部フラップ(55、63)を横切る、請求項25に記載のブランク。
  31. 前記り取り線(11)に沿って位置する第1のフィンガフラップ(12)をさらに備える、請求項30に記載のブランク。
  32. 前記第1のフィンガフラップ(12)は、前記り取り線(11)の、前記上部パネル(13)を横切って延びる部分に沿って位置する、請求項31に記載のブランク。
  33. 前記閉鎖型カートンが前記ブランクから形成されたとき、前記り取り線(11)が一体形容器ディスペンサを画定し、それにより、単一の切り取り線が、前記カートンの前記端部フラップ(55、63)と、前記上部パネル(13)と、前記部パネル(14、15)とを横切って形成されるようにした、請求項25に記載のブランク。
  34. 前記り取り線(25)に沿って位置する第2のフィンガフラップをさらに備える、請求項25に記載のブランク。
  35. 前記第2のフィンガフラップは、前記り取り線(25)の、前記端部フラップ(64)を横切って延びる部分、及び、前記り取り線(25)の、前記端部フラップ(56)を横切って延びる部分に沿って位置する、請求項34に記載のブランク。
  36. 請求項25に記載のブランクをカートンに形成する方法であって、
    前記底部パネル(68)及び前記結合フラップ(61)を接合させ、それにより、スリーブを形成する、接合させるステップと、
    前記容器を該スリーブ内に装入するステップと、
    該スリーブの両端部を閉じるステップと、
    を含む方法。
  37. 前記容器は、横向きにして前記スリーブ内に装入され、それにより、上段及び下段を形成し、該上段の各容器は、該下段の対応の容器の真上に位置する、請求項36に記載の方法。
  38. 前記底部パネル及び前記結合フラップは、接着剤で接合される、請求項36に記載の方法。
  39. 複数の容器を収容している閉鎖型カートンの位置決め方法であって、該カートンは、(i)上部パネル、2つの側部パネル、底部パネル、第1の閉鎖端部、及び出口端部である第2の閉鎖端部と、(ii)該第2の閉鎖端部に位置する開口と、(iii)該第1の閉鎖端部に位置する位置決めアセンブリであって、前記底部パネル上の第1の点から該底部パネル上の第2の点まで延びる折り線、及び該第1の点から該底部パネル、該2つの側部パネルの一方、該第1の閉鎖端部、他方の側部パネル及び該底部パネルを横切って該第2の点まで延びる切り取り線によって画定される一体構造体である位置決めアセンブリとを備え、該方法は、
    該位置決めアセンブリを該切り取り線に沿って引き裂くステップと、
    該位置決めアセンブリを該折り線を中心にしてヒンジ式に移動させ、それにより、該位置決めアセンブリを該底部パネルと接触させる、ヒンジ式に移動させるステップと、
    を含み、該位置決めアセンブリは、該カートンの該第1の閉鎖端部に取り付けられたまま残る、位置決め方法。
  40. 複数の容器を収容している閉鎖型カートンの位置決め方法であって、該カートンは、(i)上部パネル、2つの側部パネル、底部パネル、第1の閉鎖端部、及び出口端部である第2の閉鎖端部と、(ii)該第2の閉鎖端部に位置する開口と、(iii)該第1の閉鎖端部に位置する位置決めアセンブリであって、(a)該底部パネル上の第1の点から該底部パネル上の第2の点まで延びる第1の折り線、(b)該第1の点から該底部パネル、該2つの側部パネルの一方、該第1の閉鎖端部、他方の側部パネル及び該底部パネルを横切って該第2の点まで延びる切り取り線、及び(c)該切り取り線の、該底部パネルを横切って延びる部分上に位置する第3の点及び第4の点の間に延びる第2の折り線によって画定される一体構造体である位置決めアセンブリとを備え、該方法は、
    該位置決めアセンブリを該切り取り線に沿って引き裂くステップと、
    該位置決めアセンブリを該第1の折り線を中心にしてヒンジ式に移動させるステップと、
    該位置決めアセンブリを該第2の折り線を中心にしてヒンジ式に移動させ、それにより、該位置決めアセンブリを該底部パネルと接触させる、ヒンジ式に移動させるステップと、
    を含み、該位置決めアセンブリは、該カートンの該第1の閉鎖端部に取り付けられたまま残る、位置決め方法。
JP2006553210A 2004-02-10 2005-02-09 開口及び位置決め機構を有するカートン Expired - Fee Related JP4635013B2 (ja)

Applications Claiming Priority (2)

Application Number Priority Date Filing Date Title
US54338204P 2004-02-10 2004-02-10
PCT/US2005/004149 WO2005077781A1 (en) 2004-02-10 2005-02-09 Carton having opening and positioning features

Publications (2)

Publication Number Publication Date
JP2007522050A JP2007522050A (ja) 2007-08-09
JP4635013B2 true JP4635013B2 (ja) 2011-02-16

Family

ID=34860413

Family Applications (1)

Application Number Title Priority Date Filing Date
JP2006553210A Expired - Fee Related JP4635013B2 (ja) 2004-02-10 2005-02-09 開口及び位置決め機構を有するカートン

Country Status (6)

Country Link
US (1) US7621438B2 (ja)
EP (1) EP1737747A1 (ja)
JP (1) JP4635013B2 (ja)
AU (1) AU2005212419B2 (ja)
CA (1) CA2554483C (ja)
WO (1) WO2005077781A1 (ja)

Families Citing this family (39)

* Cited by examiner, † Cited by third party
Publication number Priority date Publication date Assignee Title
US6918487B2 (en) 2003-02-12 2005-07-19 Graphic Packaging International, Inc. Dispensing system for double stack carton
US7749999B2 (en) * 2003-09-11 2010-07-06 Itherx Pharmaceuticals, Inc. Alpha-ketoamides and derivatives thereof
US7614497B2 (en) 2003-10-15 2009-11-10 Graphic Packaging International, Inc. Display/vending carton
US7401711B2 (en) * 2004-02-10 2008-07-22 Graphic Packaging International, Inc. Carton having improved opening features
WO2006050316A1 (en) * 2004-10-29 2006-05-11 Graphic Packaging International, Inc. Carton having improved opening features
WO2006050210A2 (en) 2004-10-29 2006-05-11 Graphic Packaging International, Inc. Carton having opening features
ATE443002T1 (de) * 2004-11-12 2009-10-15 Graphic Packaging Int Inc Karton mit kippmerkmalen und verfahren zum positionieren des kartons in eine kipp-stellung
US7614543B1 (en) * 2005-01-07 2009-11-10 The C. W. Zumbiel Company Carton with gravity feed dispenser
US7617968B2 (en) * 2005-03-30 2009-11-17 Stephen C. Mertz Can dispenser
WO2007013976A2 (en) 2005-07-22 2007-02-01 Graphic Packaging International, Inc. Carton with opening feature and blank
ATE549264T1 (de) * 2005-09-23 2012-03-15 Graphic Packaging Int Inc Behälter mit gebogenem ende und ausgabeteil
CA2527218A1 (en) * 2005-11-18 2007-05-18 Inbev S.A. A carton providing access/display of contents
US7475777B2 (en) * 2006-05-31 2009-01-13 Graphic Packaging International, Inc. Carton with article retaining feature
JP4755042B2 (ja) * 2006-07-28 2011-08-24 サントリーホールディングス株式会社 包装箱
US20100044421A1 (en) * 2008-08-21 2010-02-25 Learn Angela E Package for containers
US8342335B2 (en) 2009-04-30 2013-01-01 Rock-Tenn Shared Services, Llc Shelf-ready shipper display system
US8376141B2 (en) 2009-04-30 2013-02-19 Rock-Tenn Shared Services, Llc Shelf-ready shipper display system
US20110095075A1 (en) * 2009-10-27 2011-04-28 Graphic Packaging International, Inc. Carton With Differently Shaped Ends
JP5360583B2 (ja) * 2009-10-29 2013-12-04 レンゴー株式会社 展示箱
USD677158S1 (en) 2011-03-11 2013-03-05 The Quaker Oats Company Closure
USD662412S1 (en) 2011-04-01 2012-06-26 The Quaker Oats Company Carton blank
EP2597046B1 (en) * 2011-11-25 2014-06-04 Saica Pack, S.L. Inclinable display box
US8959877B2 (en) 2012-05-24 2015-02-24 The Quaker Oats Company Food packaging carton and method of making packaging carton
US20140054309A1 (en) * 2012-08-27 2014-02-27 Caleb Loftin Product Dispensing System with Dispenser Platform
BR112015029075B1 (pt) 2013-05-24 2022-03-15 Graphic Packaging International, Llc Embalagem para alojar uma pluralidade de artigos, matriz para formar uma embalagem para alojar uma pluralidade de artigos, método para formar uma embalagem para alojar uma pluralidade de artigos, pacote contendo uma embalagem e uma pluralidade de artigos, e método para formar uma embalagem contendo uma pluralidade de artigos
US10384846B2 (en) 2013-05-24 2019-08-20 Graphic Packaging International, Llc Arrangement of containers in a carton
USD732324S1 (en) 2013-08-06 2015-06-23 Target Brands, Inc. Bin
JP6485018B2 (ja) * 2014-12-02 2019-03-20 凸版印刷株式会社 レンジ用パウチ収納箱
ES2819874T3 (es) 2015-05-07 2021-04-19 Graphic Packaging Int Llc Caja de cartón con asa y procedimiento de formación de la misma
BR112017023289B1 (pt) 2015-05-18 2022-05-10 Graphic Packaging International, Llc Embalagem para guardar uma pluralidade de recipientes, elemento bruto para formar uma embalagem para guardar uma pluralidade de recipientes, e método para formar uma embalagem
US10202228B2 (en) 2015-10-09 2019-02-12 Graphic Packaging International, Llc Carton with asymmetrical corners
US9994356B2 (en) 2016-03-16 2018-06-12 Westrock Shared Services, Llc Blanks and methods for forming a shelf-ready display container
US9938040B2 (en) 2016-03-17 2018-04-10 Westrock Shared Services, Llc Blanks and methods for forming a shelf-ready display container
US11214423B2 (en) 2017-01-26 2022-01-04 General Mills, Inc. Carton with integrated handle assembly
USD881690S1 (en) 2018-12-31 2020-04-21 Graphic Packaging International, Llc Carton
USD885887S1 (en) 2019-01-03 2020-06-02 Graphic Packaging International, Llc Carton
USD898565S1 (en) 2019-04-23 2020-10-13 Graphic Packaging International, Llc Carton
US11993433B2 (en) * 2022-01-12 2024-05-28 International Paper Company Shipping and dispensing container
JP2024088050A (ja) * 2022-12-20 2024-07-02 レック株式会社 陳列箱及び陳列方法

Family Cites Families (158)

* Cited by examiner, † Cited by third party
Publication number Priority date Publication date Assignee Title
USRE26083E (en) * 1966-09-20 Article carrier
US902347A (en) * 1903-01-17 1908-10-27 Benjamin C Tillinghast Vending carton or package.
US1301201A (en) * 1917-08-27 1919-04-22 Chicago Carton Co Display-box.
US1434165A (en) * 1921-01-29 1922-10-31 Snyder & Black Inc Display carton
US1541143A (en) * 1921-08-23 1925-06-09 Hoile Richard Carton or container
US1480199A (en) * 1922-02-27 1924-01-08 Worcester Paper Box Company Folding display box
US1548254A (en) * 1924-10-11 1925-08-04 Casey Patrick Henry Display box
US1925102A (en) * 1933-02-28 1933-09-05 Evelyn G Levkoff Display box
US2124808A (en) * 1936-09-14 1938-07-26 Kieckhefer Container Company Shipping container for canned goods or the like
US2312595A (en) * 1940-11-22 1943-03-02 Chicago Carton Co Display carton
US2448819A (en) * 1944-12-20 1948-09-07 William A J Mitchell Pocket-type tissue container
US2473635A (en) * 1945-10-08 1949-06-21 Sutherland Paper Co Display carton with support
US2718301A (en) * 1950-07-08 1955-09-20 Package Machinery Co Package for can goods
US2723027A (en) 1950-10-25 1955-11-08 Waldorf Paper Prod Co Carton handle
US2730232A (en) * 1952-10-13 1956-01-10 Sutherland Paper Co Display carton
US2754047A (en) * 1954-05-10 1956-07-10 Olympia Brewing Company Paperboard can carton
US2842304A (en) * 1954-07-07 1958-07-08 Diamond Match Co Shipping and carrying cartons
US2868431A (en) * 1955-03-16 1959-01-13 Crown Zellerbach Corp Boxes
US2975891A (en) * 1957-06-24 1961-03-21 Continental Can Co Locking construction for paperboard cartons
US2894672A (en) * 1957-07-30 1959-07-14 Olin Mathieson Shipping container
BE572888A (ja) * 1957-11-25
US2919844A (en) * 1958-01-10 1960-01-05 American Box Board Co Carton for cups
US2990097A (en) * 1958-02-06 1961-06-27 Chicago Carton Co Box assembly
US3002651A (en) * 1958-02-27 1961-10-03 Alloy Metal Wool Products Corp Dispensing package for compressible pads
US2930516A (en) * 1959-04-21 1960-03-29 Gen Aniline & Film Corp Paperboard container
US3228582A (en) * 1963-03-12 1966-01-11 Nat Lock Co Shipping and storage carton
US3178242A (en) * 1963-05-13 1965-04-13 Anheuser Busch One-piece dispensing carton for cylindrical objects
US3357631A (en) * 1963-12-03 1967-12-12 Continental Can Co Recessed ice-cream carton with tuck-in reclosure
US3217868A (en) * 1964-02-28 1965-11-16 Packaging Corp America Shipper carton and package
US3263861A (en) * 1964-06-09 1966-08-02 Lawless Bros Container Corp Dispensing carton
US3265283A (en) * 1964-12-11 1966-08-09 Reynolds Metals Co Shipping and dispensing carton
US3300115A (en) * 1965-04-05 1967-01-24 Boise Cascade Corp Compartmented dispensing carton formed from a single blank
US3332594A (en) * 1965-10-22 1967-07-25 Olin Mathieson Container for shotgun shells
US3356279A (en) 1966-02-23 1967-12-05 Reynolds Metals Co Shipping and dispensing container means and blanks therefor
US3540581A (en) 1968-02-26 1970-11-17 Lee Drechsler Package construction for carrying horizontal superposed articles
US3517858A (en) * 1968-08-08 1970-06-30 Revnolds Metals Co Reclosable dispensing carton
US3599858A (en) * 1969-06-11 1971-08-17 Gillette Co Pinch-opening container
BE757851A (fr) * 1969-10-23 1971-04-01 Focke Heinz Emballage en carton ou carton ondule et destine aux bouteilles ou similaires
CA874828A (en) 1970-01-19 1971-07-06 Continental Can Company Of Canada Limited 12 pint beverage carrier with dispenser
US3669251A (en) * 1970-04-03 1972-06-13 Reynolds Tobacco Co R Display cartons and convertible shipping and display cartons and blanks therefor
BE792545A (fr) * 1971-10-04 1973-03-30 Breting Olivier Rouleau de manutention motorise
US3765527A (en) * 1972-09-22 1973-10-16 Filter Dynamics Int Inc Dual-compartment package
US3894681A (en) * 1973-03-26 1975-07-15 Federal Paper Board Co Inc Carton
US3913739A (en) * 1973-09-10 1975-10-21 Hoerner Waldorf Corp Multiple can combination package
US3942631A (en) * 1974-12-05 1976-03-09 Federal Paper Board Company, Inc. Multi-unit packaging method and package
US4000811A (en) * 1975-03-12 1977-01-04 Lone Star Container Sales Corporation Shipping-display container
DE7510538U (de) 1975-04-04 1975-08-21 Parco Nahrungs Und Genussmitte Schachtel mit Spendevorrichtung fuer einzelne Zigarettenpackungen
USD243508S (en) * 1975-08-13 1977-03-01 Olinkraft, Inc. Box blank
DE7606493U1 (de) 1976-03-04 1976-06-24 Franke Werner Verpackung fuer Filtertueten
US4030596A (en) * 1976-05-24 1977-06-21 Snyder Robert O Cartons
USD252259S (en) 1977-03-28 1979-07-03 The Mead Corporation Article carrier blank
GB2032393B (en) 1978-08-17 1982-11-03 Toppan Printing Co Ltd Lined boxes
US4216861A (en) * 1978-12-04 1980-08-12 The Mead Corporation Tubular carton
US4214660A (en) * 1979-03-19 1980-07-29 Hunt Letcher B Jr Carton for beverage cans
US4417661A (en) 1979-07-05 1983-11-29 Champion International Corporation Reclosable carton and blank therefor
USD263204S (en) * 1979-10-26 1982-03-02 Champion International Corporation Article carrier blank
DE3007769C2 (de) 1980-02-29 1984-09-13 Unilever N.V., Rotterdam Faltschachtel aus Karton o.dgl.
US4331231A (en) * 1980-09-22 1982-05-25 Champion International Corporation Display tray with tilt platform
USD270041S (en) * 1980-11-03 1983-08-09 Union Carbide Corporation Packaging container
US4325482A (en) * 1980-11-20 1982-04-20 The Procter & Gamble Company Flip top, reclosable carton
USD269068S (en) * 1980-12-10 1983-05-24 Union Carbide Corporation Packaging container
US4375258A (en) * 1981-04-13 1983-03-01 Container Corporation Of America Reusable enclosed carrier carton
US4364509A (en) 1981-06-25 1982-12-21 The Mead Corporation Article carrier with dispensing feature
US4396143A (en) * 1981-08-31 1983-08-02 Manville Service Corporation Multiple article beverage package
US4416410A (en) 1982-06-03 1983-11-22 Herrmann Ronald S Sandpaper roll dispenser
US4465180A (en) * 1982-07-29 1984-08-14 Illinois Tool Works Inc. Multi-package and multi-packaging device
US4498581A (en) * 1983-10-11 1985-02-12 Champion International Corporation Beverage can carton with opening panel
US4582199A (en) * 1983-12-02 1986-04-15 Manville Service Corporation Carton and blank therefor
USD286987S (en) 1984-06-21 1986-12-02 The Procter & Gamble Company Container blank
GB8416365D0 (en) * 1984-06-27 1984-08-01 Cadbury Typhoo Ltd Tea bag package
US4785991A (en) 1985-11-01 1988-11-22 Manville Corporation Sleeve-type carrier with improved handle
USD303090S (en) * 1986-01-27 1989-08-29 The Procter & Gamble Company Container blank
GB8605113D0 (en) 1986-03-01 1986-04-09 Procter & Gamble Easy-opening device for shipping/display container
DE3612594A1 (de) * 1986-04-15 1987-10-29 Focke & Co Faltkarton mit schwenkbarer oeffnungslasche
GB8614975D0 (en) * 1986-06-19 1986-07-23 Mead Corp Multipack for two tier group containers
EP0260813A3 (en) * 1986-09-17 1989-01-18 St.Regis Packaging Limited Improvements in packaging
GB2186550B (en) 1986-09-17 1990-05-23 St Regis Packaging Ltd Improvements in packaging
US4974771A (en) 1986-10-07 1990-12-04 International Paper Company Can carrier with integral handle
JPH0755706B2 (ja) 1987-06-11 1995-06-14 マンヴイル コーポレーシヨン スリーブ・タイプの持運び器のハンドル
IT214670Z2 (it) 1988-01-08 1990-05-28 Mira Lanza Spa Confezione sigillabile, munita di coperchio ribaltabile, per il contenimento e la distribuzione ordinata di tovaglioli e fazzoletti di carta
FR2630999B1 (fr) 1988-05-06 1990-09-28 Cartonneries Associees Dispositif d'emballage d'une pluralite d'objets
US4860944A (en) * 1988-12-12 1989-08-29 St. Regis Packaging Limited Carton and blank therefor
US4919266A (en) * 1989-06-09 1990-04-24 The C. W. Zumbiel Co. Carton with end wall display window
US4981253A (en) * 1989-06-21 1991-01-01 International Paper Company Can carrier with integral handle
US4966324A (en) * 1989-12-21 1990-10-30 Steel Thomas C Integral carrying handle for a can carton and carton blank containing same
US5031825A (en) * 1990-01-24 1991-07-16 Cestind S.R.L. Packaging box and blank for obtaining thereof
US4972991A (en) 1990-03-09 1990-11-27 Manville Corporation Handle for article carrier
JPH079721Y2 (ja) 1990-03-28 1995-03-08 株式会社新潟鐵工所 案内軌条式車両の応急台車
US5002186A (en) * 1990-04-16 1991-03-26 Manville Corporation Article carrier with cushioned panel
US5067615A (en) 1990-05-11 1991-11-26 Edward Davitian Reclosable box and blank therefor
DE4023043C2 (de) 1990-05-31 1995-04-06 Kloeckner Pentapack Als Spendeverpackung ausgebildete Faltschachtel aus Karton
US5137211A (en) * 1990-08-06 1992-08-11 Propper Manufacturing Co., Inc. Dispensing carton
DE4027405A1 (de) 1990-08-29 1992-03-05 Packmaster System Entwicklung Verpackungsmaterialzuschnitt
FR2666310B1 (fr) * 1990-09-05 1993-08-13 Novembal Sa Emballage inviolable ayant une enveloppe interieure et une enveloppe exterieure et son procede de fabrication.
US5101642A (en) * 1990-09-14 1992-04-07 The Mead Corporation Means for cooling beverage containers in a carton
US5123589A (en) * 1991-04-03 1992-06-23 Waldorf Corporation Reusable rigid film pack
US5170934A (en) 1991-06-04 1992-12-15 Lemoine Ryne P Instant disposable ice chest
USD332915S (en) 1991-09-04 1993-02-02 The C. W. Zumbiel Co. Can carton
US5284292A (en) * 1992-09-25 1994-02-08 Johnson Mark M Can dispenser
US5277360A (en) * 1992-11-16 1994-01-11 Packaging Corporation Of America Stackable container
IL109106A0 (en) 1994-03-24 1994-06-24 Blank Paper Products Ltd Box
JP2536197Y2 (ja) * 1993-06-23 1997-05-21 レンゴー株式会社 包装箱
US5297725A (en) 1993-07-01 1994-03-29 Riverwood International Corporation Carrier for stacked articles
US5333734A (en) * 1993-08-19 1994-08-02 The Mead Corporation Heavy duty article carrier for cans arranged in a horizontal position
US5427242A (en) * 1993-08-31 1995-06-27 The Mead Corporation Two tier can package having secured divider panel and method of forming the same
US5368194A (en) 1993-08-31 1994-11-29 The Mead Corporation Roll-out dispenser for a beverage carton
FR2713437B1 (fr) * 1993-12-10 1997-10-17 Gerplant Automation Semoir perfectionné.
US5518111A (en) * 1994-03-02 1996-05-21 The Mead Corporation Removable divider panel for multiple-tier article package
US5465831A (en) 1994-10-06 1995-11-14 Squire Corrugated Container Corp. Transport/display package
US5505372A (en) * 1994-10-28 1996-04-09 Graphic Packaging Corporation Carton blank and carton
KR100393939B1 (ko) * 1994-12-13 2003-11-10 후지제록스오피스서플라이컴퍼니리미티드 컷시트수납용카튼
DE59504065D1 (de) 1995-02-10 1998-12-03 Bernhard Saam Zuschnitte für einen Ausstell- und Transportbehälter
WO1996029260A1 (en) 1995-03-17 1996-09-26 The Mead Corporation Reinforced divider panel for multiple-tier article package
EP0752370A3 (en) 1995-07-05 1997-03-12 Eikon Grafiche Srl Container for prepackaged products
JP3688037B2 (ja) * 1995-11-30 2005-08-24 大日本印刷株式会社 ディスプレイ容器として利用可能なカートン
TW309000U (en) 1995-12-11 1997-06-21 Riverwood Int Corp Carrier with article dispenser
DE29519931U1 (de) 1995-12-15 1996-02-29 The Procter & Gamble Company, Cincinatti, Ohio Verkaufsschachtel zur Aufnahme einer Vielzahl von Einzelartikeln
US5788117A (en) * 1996-07-17 1998-08-04 Zimmanck; Jack Beverage can dispenser
EP0849189A1 (en) 1996-12-17 1998-06-24 The Procter & Gamble Company A child resistant spout
EP0956240A1 (en) 1997-01-17 1999-11-17 Bouwe Prakken Display carton box
US5775574A (en) * 1997-02-03 1998-07-07 Dopaco, Inc. Split wall carton
US5794778A (en) 1997-02-26 1998-08-18 Riverwood International Corporation Article carrier with strap-type handle and top panel access
US5833118A (en) 1997-02-28 1998-11-10 Atico International Usa, Inc. Battery dispenser box
US5881884A (en) * 1997-03-13 1999-03-16 Avery Dennison Corporation Shipping and display carton and blank therefor
US5826783A (en) 1997-06-09 1998-10-27 The Mead Corporation Two-tier can package having divider panel and method of forming the same
US5878947A (en) * 1997-06-19 1999-03-09 Hoy; Richard W. Multiple article beverage package
HUP0102332A3 (en) 1998-06-08 2002-11-28 Sca Emballage France Fast flattening packaging
US5873515A (en) * 1998-06-23 1999-02-23 Riverwood International Corporation Carton with tear control handle
CA2246020A1 (en) 1998-08-28 2000-02-28 Joseph Kornick Carton
AU1218400A (en) 1998-10-21 2000-05-08 Mead Corporation, The Carton and carton blank
NL1012113C2 (nl) 1999-05-20 2000-11-21 Kappa Trimbach B V Verpakking, voorzien van een reeks subverpakkingen.
DE29909008U1 (de) 1999-05-26 1999-09-09 VG Nicolaus GmbH, 87437 Kempten Verpackung aus Karton
EP1060998A3 (en) 1999-06-19 2001-01-10 David S. Smith Packaging Limited Tear-open folded box
DE29913585U1 (de) 1999-08-04 1999-10-07 Fcp Europa Carton Faltschachte Behälterträger
ATE270228T1 (de) * 1999-08-12 2004-07-15 Colgate Palmolive Co Transport- und präsentationskarton
USD436859S1 (en) * 1999-08-16 2001-01-30 Gojo Industries, Inc. Disposable carton
FR2799732B1 (fr) 1999-10-18 2002-07-26 Sca Emballage France Emballage en carton ou matiere similaire permettant d'extraire aisement son contenu
US6105854A (en) * 1999-11-16 2000-08-22 Riverwood International Corporation Carton with dispensing feature
USD454784S1 (en) * 2000-01-18 2002-03-26 Nexans Canada Inc. Shipping and display box for coils of building wire
US6176419B1 (en) * 2000-02-29 2001-01-23 The Mead Corporation Carton with article dispensing feature
US6283293B1 (en) * 2000-04-04 2001-09-04 C. Brown Lingamfelter Container for providing easy access to beverage cans
ES2260030T3 (es) 2000-07-06 2006-11-01 Meadwestvaco Packaging Systems Llc Envase de carton aplastable y procedimiento asociado.
US6435351B1 (en) * 2000-08-11 2002-08-20 Kraft Foods Holdings, Inc. Display shipper
US6478219B1 (en) 2000-11-15 2002-11-12 The Mead Corporation Carton with article dispenser
JP4701495B2 (ja) * 2000-11-30 2011-06-15 凸版印刷株式会社 表示板付の紙箱
US6729475B2 (en) * 2000-12-05 2004-05-04 Colgate-Palmolive Company Shipper and display carton
JP3929400B2 (ja) * 2000-12-12 2007-06-13 ミードウエストヴェイコ・パッケージング・システムズ・エルエルシー 取出口付きカートン
US6578736B2 (en) * 2001-01-09 2003-06-17 Riverwood International Corporation Carton with an improved dispensing feature
US6484903B2 (en) * 2001-01-09 2002-11-26 Riverwood International Corporation Carton with an improved dispensing feature in combination with a unique handle
US6631803B2 (en) 2001-03-21 2003-10-14 Coors Brewing Company Beverage cooler box
JP4921688B2 (ja) 2001-04-24 2012-04-25 ミードウエストヴェイコ・パッケージング・システムズ・エルエルシー 横方向ストラップハンドルを有したカートン
US20030141353A1 (en) * 2002-01-31 2003-07-31 The C.W. Zumbiel Co. Sleeve style beverage carton
US6929172B2 (en) * 2002-06-21 2005-08-16 Meadwestvaco Packaging Systems, Llc Severable carton wall
JP4220194B2 (ja) * 2002-07-31 2009-02-04 サントリー株式会社 円筒状容器用の包装箱
US6866185B2 (en) * 2002-10-01 2005-03-15 Graphic Packaging International, Inc. Dispenser carton with tilt platform
US20040089671A1 (en) * 2002-11-07 2004-05-13 The C.W. Zumbiel Company Carton with dispenser
US6902104B2 (en) * 2003-03-26 2005-06-07 Meadwestvaco Packaging Systems, Llc Carton with dispenser
US7104435B2 (en) * 2003-03-26 2006-09-12 Meadwestvaco Packaging Systems Llc Carton with dispenser

Also Published As

Publication number Publication date
US7621438B2 (en) 2009-11-24
JP2007522050A (ja) 2007-08-09
CA2554483C (en) 2009-10-20
US20050178687A1 (en) 2005-08-18
CA2554483A1 (en) 2005-08-25
AU2005212419A1 (en) 2005-08-25
AU2005212419B2 (en) 2008-11-20
EP1737747A1 (en) 2007-01-03
WO2005077781A1 (en) 2005-08-25

Similar Documents

Publication Publication Date Title
JP4635013B2 (ja) 開口及び位置決め機構を有するカートン
US7401711B2 (en) Carton having improved opening features
AU2005302244B2 (en) Carton having improved opening features
US10981693B2 (en) Display/vending carton
US7004897B2 (en) Display/vending carton
JP4875152B2 (ja) 物品保持機能部を有するカートン
CN1878699B (zh) 分配包装
WO2007130538A2 (en) Carton with vent openings, blank and folding method
JP4901746B2 (ja) カートンのコーナディスペンサ
CA2696786A1 (en) Carton for dispensing products and method of using the same
JP2008519741A (ja) 傾斜した形状を持つカートン
EP3464108B1 (en) Carton having improved dispensing feature and blank therefor
HK40006487B (en) Carton having improved dispensing feature and blank therefor

Legal Events

Date Code Title Description
A131 Notification of reasons for refusal

Free format text: JAPANESE INTERMEDIATE CODE: A131

Effective date: 20090909

A521 Request for written amendment filed

Free format text: JAPANESE INTERMEDIATE CODE: A523

Effective date: 20091208

A131 Notification of reasons for refusal

Free format text: JAPANESE INTERMEDIATE CODE: A131

Effective date: 20100224

A131 Notification of reasons for refusal

Free format text: JAPANESE INTERMEDIATE CODE: A131

Effective date: 20100705

A521 Request for written amendment filed

Free format text: JAPANESE INTERMEDIATE CODE: A523

Effective date: 20100928

TRDD Decision of grant or rejection written
A01 Written decision to grant a patent or to grant a registration (utility model)

Free format text: JAPANESE INTERMEDIATE CODE: A01

Effective date: 20101027

A01 Written decision to grant a patent or to grant a registration (utility model)

Free format text: JAPANESE INTERMEDIATE CODE: A01

A61 First payment of annual fees (during grant procedure)

Free format text: JAPANESE INTERMEDIATE CODE: A61

Effective date: 20101119

R150 Certificate of patent or registration of utility model

Free format text: JAPANESE INTERMEDIATE CODE: R150

FPAY Renewal fee payment (event date is renewal date of database)

Free format text: PAYMENT UNTIL: 20131126

Year of fee payment: 3

LAPS Cancellation because of no payment of annual fees