JP4530404B2 - ファスナー付き包装材料および包装体 - Google Patents
ファスナー付き包装材料および包装体 Download PDFInfo
- Publication number
- JP4530404B2 JP4530404B2 JP2004035540A JP2004035540A JP4530404B2 JP 4530404 B2 JP4530404 B2 JP 4530404B2 JP 2004035540 A JP2004035540 A JP 2004035540A JP 2004035540 A JP2004035540 A JP 2004035540A JP 4530404 B2 JP4530404 B2 JP 4530404B2
- Authority
- JP
- Japan
- Prior art keywords
- layer
- melting point
- heat seal
- resin
- heat
- Prior art date
- Legal status (The legal status is an assumption and is not a legal conclusion. Google has not performed a legal analysis and makes no representation as to the accuracy of the status listed.)
- Expired - Fee Related
Links
Images
Landscapes
- Bag Frames (AREA)
- Packages (AREA)
- Wrappers (AREA)
Description
基材層としてユニチカ(株)製PETフィルム「エンブレットPET」12μmを使い、ヒートシール層として東セロ(株)製直鎖状低密度ポリエチレンフィルム「TUX−FCD」25μmを使い、実施例1と同様に、LDPEを介在層として押し出しラミネーションにより、基材層とヒートシール層を積層し、複合フィルムを得た。LDPE介在層の厚みは20μmであり、複合フィルムの総厚みは57μmであった。得られた複合フィルムを用いて、実施例2と同様にして接着強度を評価した。評価結果を表2に示す。ヒートシールの圧力や温度を変化させても、ヒートシール強度は若干変化するものの高いままであった。これを用いて実施例1と同様にして、包装体を作成したが、手指で開封することはできなかった。
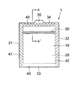
10、20 複合フィルム
11基材層
12層(A)
13層(B)
14ヒートシール層
15 層(C)
16 LDPE層
30 樹脂製ファスナー
31-33 外周縁(開封端以外)
34 外周縁(開封端)
35 非接着部
40 額縁部(開封端に沿った部分)
41-43 額縁部(開封端ではない部分)
45、46 ヒートシール面
50 空間
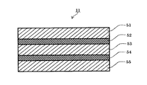
51 OPP層
52 印刷層
53 介在層
54 蒸着アルミニウム層
55 PET層
Claims (7)
- 少なくとも基材層とヒートシール層とを備えた複合フィルムが、前記ヒートシール層を内側にして二重に積層され、前記複合フィルムの外周縁に沿った帯状の額縁部の少なくとも一部がヒートシールされ、前記外周縁における開封端に沿った額縁部近傍の内側に、再密封可能にファスナーが設けられた袋状のファスナー付き包装材料であって、前記ヒートシール層は、融点が135℃以上180℃以下である高融点樹脂を主体とする層(A)と、融点が80℃以上135℃未満である低融点樹脂と前記高融点樹脂との混合樹脂を主体とする層(B)と、融点が80℃以上135℃未満である低融点樹脂を主体とする層(C)との少なくとも3層とからなり、前記高融点樹脂の融点と前記低融点樹脂の最も高い融点との差が20℃以上であり、前記層(C)の低融点樹脂と前記層(B)の低融点樹脂とが溶融時に互いに相溶するものであり、かつ前記3つのヒートシール層が、前記ヒートシール面から(C)、(B)、(A)の順に積層されていることを特徴とする包装材料。
- 前記のヒートシールされた一部が、前記開封端に沿った額縁部である場合に、当該一部のヒートシール強度が、15N/15mm幅以下であることを特徴とする請求項1に記載の包装材料。
- 前記のヒートシールされた一部が、前記開封端に沿った額縁部以外の額縁部である場合に、前記ヒートシール強度が、20N/15mm幅以上であることを特徴とする請求項1または2に記載の包装材料。
- 前記層(B)に含まれる前記高融点樹脂の割合が5重量%以上70重量%以下の範囲であり、かつ前記低融点樹脂の割合が30重量%以上95重量%以下の範囲であることを特徴とする請求項1から3のいずれかに記載の包装材料。
- 前記層(A)と前記層(B)の厚み比が3:1〜1:4であることを特徴とする請求項1から4のいずれかに記載の包装材料。
- 前記層(C)のヒートシール面に、さらに、融点が80℃以上135℃未満である低融点樹脂層が積層されたことを特徴とする請求項1から5のいずれかに記載の包装材料。
- 少なくとも基材層とヒートシール層とを備えた複合フィルムが、前記ヒートシール層を内側にして二重に積層され、当該積層された間に内容物が挟まれると共に、前記複合フィルムの外周縁に沿った帯状の額縁部がヒートシールされて密封されており、前記外周縁における開封端に沿った前記額縁部の近傍の内側に、再密封可能にファスナーが設けられたファスナー付き包装体であって、前記ヒートシール層は、融点が135℃以上180℃以下である高融点樹脂を主体とする層(A)と、融点が80℃以上135℃未満である低融点樹脂と前記高融点樹脂との混合樹脂を主体とする層(B)と、融点が80℃以上135℃未満である低融点樹脂を主体とする層(C)との少なくとも3層とからなり、前記高融点樹脂の融点と前記低融点樹脂の最も高い融点との差が20℃以上であり、前記層(C)の低融点樹脂と前記層(B)の低融点樹脂とが溶融時に互いに相溶するものであり、かつ前記3つのヒートシール層が、前記ヒートシール面から(C)、(B)、(A)の順に積層されており、かつ前記開封端に沿った額縁部が易開封性であることを特徴とする包装体。
Priority Applications (1)
| Application Number | Priority Date | Filing Date | Title |
|---|---|---|---|
| JP2004035540A JP4530404B2 (ja) | 2004-02-12 | 2004-02-12 | ファスナー付き包装材料および包装体 |
Applications Claiming Priority (1)
| Application Number | Priority Date | Filing Date | Title |
|---|---|---|---|
| JP2004035540A JP4530404B2 (ja) | 2004-02-12 | 2004-02-12 | ファスナー付き包装材料および包装体 |
Publications (2)
| Publication Number | Publication Date |
|---|---|
| JP2005225516A JP2005225516A (ja) | 2005-08-25 |
| JP4530404B2 true JP4530404B2 (ja) | 2010-08-25 |
Family
ID=35000544
Family Applications (1)
| Application Number | Title | Priority Date | Filing Date |
|---|---|---|---|
| JP2004035540A Expired - Fee Related JP4530404B2 (ja) | 2004-02-12 | 2004-02-12 | ファスナー付き包装材料および包装体 |
Country Status (1)
| Country | Link |
|---|---|
| JP (1) | JP4530404B2 (ja) |
Cited By (1)
| Publication number | Priority date | Publication date | Assignee | Title |
|---|---|---|---|---|
| JP2013540659A (ja) * | 2010-09-20 | 2013-11-07 | ザ プロクター アンド ギャンブル カンパニー | 窓を備えるパッケージ及びその中の単位用量物品 |
Families Citing this family (4)
| Publication number | Priority date | Publication date | Assignee | Title |
|---|---|---|---|---|
| JP6748517B2 (ja) | 2016-08-25 | 2020-09-02 | 日本航空電子工業株式会社 | コネクタ組立体 |
| JP6199467B1 (ja) | 2016-10-13 | 2017-09-20 | 日本航空電子工業株式会社 | コネクタ組立体 |
| JP6199471B1 (ja) | 2016-10-31 | 2017-09-20 | 日本航空電子工業株式会社 | コネクタ組立体 |
| CN117208405B (zh) * | 2023-10-11 | 2025-08-22 | 杭州神彩新材料实业有限公司 | 一种反复易揭材料及采用反复易揭材料的双腔面膜袋 |
Family Cites Families (5)
| Publication number | Priority date | Publication date | Assignee | Title |
|---|---|---|---|---|
| JPH0647878A (ja) * | 1992-07-31 | 1994-02-22 | Tonen Chem Corp | ポリエチレン系包装材用イージーピール性多層フイルム |
| JP3573091B2 (ja) * | 1999-12-08 | 2004-10-06 | ニプロ株式会社 | 易剥離性フィルムおよびこれを用いた医療用包装容器 |
| JP2001219978A (ja) * | 2000-02-07 | 2001-08-14 | Tosoh Corp | 医療用複室容器 |
| JP2002210899A (ja) * | 2000-11-17 | 2002-07-31 | Tohcello Co Ltd | ポリプロピレン多層フィルム及び包装体 |
| JP2003237804A (ja) * | 2002-02-14 | 2003-08-27 | Asahi Kasei Pax Corp | 再密封可能な密封袋 |
-
2004
- 2004-02-12 JP JP2004035540A patent/JP4530404B2/ja not_active Expired - Fee Related
Cited By (1)
| Publication number | Priority date | Publication date | Assignee | Title |
|---|---|---|---|---|
| JP2013540659A (ja) * | 2010-09-20 | 2013-11-07 | ザ プロクター アンド ギャンブル カンパニー | 窓を備えるパッケージ及びその中の単位用量物品 |
Also Published As
| Publication number | Publication date |
|---|---|
| JP2005225516A (ja) | 2005-08-25 |
Similar Documents
| Publication | Publication Date | Title |
|---|---|---|
| JP5377858B2 (ja) | チャックテープ、チャックテープ付き包装袋およびチャックテープ付き包装袋の製造装置 | |
| JP4874742B2 (ja) | カットテープ付きチャックテープ、その製造方法、およびチャックテープ付き包装袋 | |
| JP4908228B2 (ja) | チャック及びチャック付き袋 | |
| JP4386731B2 (ja) | 易開封性包装袋 | |
| CN100566619C (zh) | 咬合件、使用该咬合件的袋以及它们的制造方法 | |
| JP5651850B1 (ja) | カットテープ付きチャックテープ、及びカットテープ付きチャックテープを具備した包装袋 | |
| WO1998014383A1 (en) | Plastic container with fastener | |
| KR20100097131A (ko) | 컷 테이프 및 컷 테이프가 부착된 포장 주머니 | |
| JP2006111277A (ja) | チャックテープ付き包装袋 | |
| TWI742121B (zh) | 帶及袋體 | |
| JP5450956B2 (ja) | 包装袋、その製造装置、および包装袋の製造方法 | |
| JP4450639B2 (ja) | 電子レンジ調理用袋 | |
| JP2008024324A (ja) | チャックテープ付き包装袋 | |
| JP5651851B1 (ja) | カットテープ付きチャックテープ、及びカットテープ付きチャックテープを具備した包装袋 | |
| JP2006199337A (ja) | ガセット包装袋 | |
| JP4530404B2 (ja) | ファスナー付き包装材料および包装体 | |
| JP2004269053A5 (ja) | ||
| JPH10147352A (ja) | チャック付プラスチック容器 | |
| JP4521807B2 (ja) | ヒートシール性複合フィルム | |
| JP4090831B2 (ja) | チャックテープ及びそれを用いたチャックテープ付き袋 | |
| JP2004359293A (ja) | 易開封性包装袋およびその製造方法 | |
| JP2006176196A (ja) | チャックテープ付き包装袋 | |
| JP6880755B2 (ja) | 包装袋 | |
| JP2022099857A (ja) | 易開封性共押出フィルム | |
| JP2006008168A (ja) | フラップ付き易開封性包装材料および包装体 |
Legal Events
| Date | Code | Title | Description |
|---|---|---|---|
| A621 | Written request for application examination |
Free format text: JAPANESE INTERMEDIATE CODE: A621 Effective date: 20070124 |
|
| A977 | Report on retrieval |
Free format text: JAPANESE INTERMEDIATE CODE: A971007 Effective date: 20091020 |
|
| A131 | Notification of reasons for refusal |
Free format text: JAPANESE INTERMEDIATE CODE: A131 Effective date: 20091022 |
|
| A521 | Request for written amendment filed |
Free format text: JAPANESE INTERMEDIATE CODE: A523 Effective date: 20091218 |
|
| A131 | Notification of reasons for refusal |
Free format text: JAPANESE INTERMEDIATE CODE: A131 Effective date: 20100326 |
|
| A521 | Request for written amendment filed |
Free format text: JAPANESE INTERMEDIATE CODE: A523 Effective date: 20100519 |
|
| TRDD | Decision of grant or rejection written | ||
| A01 | Written decision to grant a patent or to grant a registration (utility model) |
Free format text: JAPANESE INTERMEDIATE CODE: A01 Effective date: 20100607 |
|
| A01 | Written decision to grant a patent or to grant a registration (utility model) |
Free format text: JAPANESE INTERMEDIATE CODE: A01 |
|
| A61 | First payment of annual fees (during grant procedure) |
Free format text: JAPANESE INTERMEDIATE CODE: A61 Effective date: 20100607 |
|
| R150 | Certificate of patent or registration of utility model |
Free format text: JAPANESE INTERMEDIATE CODE: R150 |
|
| FPAY | Renewal fee payment (event date is renewal date of database) |
Free format text: PAYMENT UNTIL: 20130618 Year of fee payment: 3 |
|
| FPAY | Renewal fee payment (event date is renewal date of database) |
Free format text: PAYMENT UNTIL: 20130618 Year of fee payment: 3 |
|
| FPAY | Renewal fee payment (event date is renewal date of database) |
Free format text: PAYMENT UNTIL: 20140618 Year of fee payment: 4 |
|
| LAPS | Cancellation because of no payment of annual fees |
