JP4497113B2 - ハイブリッド車両 - Google Patents

ハイブリッド車両 Download PDF

Info

Publication number
JP4497113B2
JP4497113B2 JP2006072834A JP2006072834A JP4497113B2 JP 4497113 B2 JP4497113 B2 JP 4497113B2 JP 2006072834 A JP2006072834 A JP 2006072834A JP 2006072834 A JP2006072834 A JP 2006072834A JP 4497113 B2 JP4497113 B2 JP 4497113B2
Authority
JP
Japan
Prior art keywords
cooling
cooling medium
electric motor
pcu
path
Prior art date
Legal status (The legal status is an assumption and is not a legal conclusion. Google has not performed a legal analysis and makes no representation as to the accuracy of the status listed.)
Expired - Fee Related
Application number
JP2006072834A
Other languages
English (en)
Other versions
JP2007245946A (ja
Inventor
弘幸 坂大
知成 田口
秀人 峯川
Current Assignee (The listed assignees may be inaccurate. Google has not performed a legal analysis and makes no representation or warranty as to the accuracy of the list.)
Toyota Motor Corp
Original Assignee
Toyota Motor Corp
Priority date (The priority date is an assumption and is not a legal conclusion. Google has not performed a legal analysis and makes no representation as to the accuracy of the date listed.)
Filing date
Publication date
Application filed by Toyota Motor Corp filed Critical Toyota Motor Corp
Priority to JP2006072834A priority Critical patent/JP4497113B2/ja
Priority to KR1020087025177A priority patent/KR101013469B1/ko
Priority to PCT/JP2006/323069 priority patent/WO2007108166A1/ja
Priority to US12/224,177 priority patent/US7823669B2/en
Priority to CN2006800538766A priority patent/CN101400557B/zh
Priority to EP06823470A priority patent/EP1995143B1/en
Publication of JP2007245946A publication Critical patent/JP2007245946A/ja
Application granted granted Critical
Publication of JP4497113B2 publication Critical patent/JP4497113B2/ja
Expired - Fee Related legal-status Critical Current
Anticipated expiration legal-status Critical

Links

Images

Classifications

    • BPERFORMING OPERATIONS; TRANSPORTING
    • B60VEHICLES IN GENERAL
    • B60KARRANGEMENT OR MOUNTING OF PROPULSION UNITS OR OF TRANSMISSIONS IN VEHICLES; ARRANGEMENT OR MOUNTING OF PLURAL DIVERSE PRIME-MOVERS IN VEHICLES; AUXILIARY DRIVES FOR VEHICLES; INSTRUMENTATION OR DASHBOARDS FOR VEHICLES; ARRANGEMENTS IN CONNECTION WITH COOLING, AIR INTAKE, GAS EXHAUST OR FUEL SUPPLY OF PROPULSION UNITS IN VEHICLES
    • B60K6/00Arrangement or mounting of plural diverse prime-movers for mutual or common propulsion, e.g. hybrid propulsion systems comprising electric motors and internal combustion engines
    • B60K6/20Arrangement or mounting of plural diverse prime-movers for mutual or common propulsion, e.g. hybrid propulsion systems comprising electric motors and internal combustion engines the prime-movers consisting of electric motors and internal combustion engines, e.g. HEVs
    • B60K6/42Arrangement or mounting of plural diverse prime-movers for mutual or common propulsion, e.g. hybrid propulsion systems comprising electric motors and internal combustion engines the prime-movers consisting of electric motors and internal combustion engines, e.g. HEVs characterised by the architecture of the hybrid electric vehicle
    • B60K6/44Series-parallel type
    • B60K6/445Differential gearing distribution type
    • BPERFORMING OPERATIONS; TRANSPORTING
    • B60VEHICLES IN GENERAL
    • B60KARRANGEMENT OR MOUNTING OF PROPULSION UNITS OR OF TRANSMISSIONS IN VEHICLES; ARRANGEMENT OR MOUNTING OF PLURAL DIVERSE PRIME-MOVERS IN VEHICLES; AUXILIARY DRIVES FOR VEHICLES; INSTRUMENTATION OR DASHBOARDS FOR VEHICLES; ARRANGEMENTS IN CONNECTION WITH COOLING, AIR INTAKE, GAS EXHAUST OR FUEL SUPPLY OF PROPULSION UNITS IN VEHICLES
    • B60K6/00Arrangement or mounting of plural diverse prime-movers for mutual or common propulsion, e.g. hybrid propulsion systems comprising electric motors and internal combustion engines
    • B60K6/20Arrangement or mounting of plural diverse prime-movers for mutual or common propulsion, e.g. hybrid propulsion systems comprising electric motors and internal combustion engines the prime-movers consisting of electric motors and internal combustion engines, e.g. HEVs
    • B60K6/22Arrangement or mounting of plural diverse prime-movers for mutual or common propulsion, e.g. hybrid propulsion systems comprising electric motors and internal combustion engines the prime-movers consisting of electric motors and internal combustion engines, e.g. HEVs characterised by apparatus, components or means specially adapted for HEVs
    • BPERFORMING OPERATIONS; TRANSPORTING
    • B60VEHICLES IN GENERAL
    • B60KARRANGEMENT OR MOUNTING OF PROPULSION UNITS OR OF TRANSMISSIONS IN VEHICLES; ARRANGEMENT OR MOUNTING OF PLURAL DIVERSE PRIME-MOVERS IN VEHICLES; AUXILIARY DRIVES FOR VEHICLES; INSTRUMENTATION OR DASHBOARDS FOR VEHICLES; ARRANGEMENTS IN CONNECTION WITH COOLING, AIR INTAKE, GAS EXHAUST OR FUEL SUPPLY OF PROPULSION UNITS IN VEHICLES
    • B60K6/00Arrangement or mounting of plural diverse prime-movers for mutual or common propulsion, e.g. hybrid propulsion systems comprising electric motors and internal combustion engines
    • B60K6/20Arrangement or mounting of plural diverse prime-movers for mutual or common propulsion, e.g. hybrid propulsion systems comprising electric motors and internal combustion engines the prime-movers consisting of electric motors and internal combustion engines, e.g. HEVs
    • B60K6/22Arrangement or mounting of plural diverse prime-movers for mutual or common propulsion, e.g. hybrid propulsion systems comprising electric motors and internal combustion engines the prime-movers consisting of electric motors and internal combustion engines, e.g. HEVs characterised by apparatus, components or means specially adapted for HEVs
    • B60K6/36Arrangement or mounting of plural diverse prime-movers for mutual or common propulsion, e.g. hybrid propulsion systems comprising electric motors and internal combustion engines the prime-movers consisting of electric motors and internal combustion engines, e.g. HEVs characterised by apparatus, components or means specially adapted for HEVs characterised by the transmission gearings
    • B60K6/365Arrangement or mounting of plural diverse prime-movers for mutual or common propulsion, e.g. hybrid propulsion systems comprising electric motors and internal combustion engines the prime-movers consisting of electric motors and internal combustion engines, e.g. HEVs characterised by apparatus, components or means specially adapted for HEVs characterised by the transmission gearings with the gears having orbital motion
    • BPERFORMING OPERATIONS; TRANSPORTING
    • B60VEHICLES IN GENERAL
    • B60LPROPULSION OF ELECTRICALLY-PROPELLED VEHICLES; SUPPLYING ELECTRIC POWER FOR AUXILIARY EQUIPMENT OF ELECTRICALLY-PROPELLED VEHICLES; ELECTRODYNAMIC BRAKE SYSTEMS FOR VEHICLES IN GENERAL; MAGNETIC SUSPENSION OR LEVITATION FOR VEHICLES; MONITORING OPERATING VARIABLES OF ELECTRICALLY-PROPELLED VEHICLES; ELECTRIC SAFETY DEVICES FOR ELECTRICALLY-PROPELLED VEHICLES
    • B60L50/00Electric propulsion with power supplied within the vehicle
    • B60L50/10Electric propulsion with power supplied within the vehicle using propulsion power supplied by engine-driven generators, e.g. generators driven by combustion engines
    • B60L50/16Electric propulsion with power supplied within the vehicle using propulsion power supplied by engine-driven generators, e.g. generators driven by combustion engines with provision for separate direct mechanical propulsion
    • BPERFORMING OPERATIONS; TRANSPORTING
    • B60VEHICLES IN GENERAL
    • B60WCONJOINT CONTROL OF VEHICLE SUB-UNITS OF DIFFERENT TYPE OR DIFFERENT FUNCTION; CONTROL SYSTEMS SPECIALLY ADAPTED FOR HYBRID VEHICLES; ROAD VEHICLE DRIVE CONTROL SYSTEMS FOR PURPOSES NOT RELATED TO THE CONTROL OF A PARTICULAR SUB-UNIT
    • B60W10/00Conjoint control of vehicle sub-units of different type or different function
    • B60W10/30Conjoint control of vehicle sub-units of different type or different function including control of auxiliary equipment, e.g. air-conditioning compressors or oil pumps
    • BPERFORMING OPERATIONS; TRANSPORTING
    • B60VEHICLES IN GENERAL
    • B60WCONJOINT CONTROL OF VEHICLE SUB-UNITS OF DIFFERENT TYPE OR DIFFERENT FUNCTION; CONTROL SYSTEMS SPECIALLY ADAPTED FOR HYBRID VEHICLES; ROAD VEHICLE DRIVE CONTROL SYSTEMS FOR PURPOSES NOT RELATED TO THE CONTROL OF A PARTICULAR SUB-UNIT
    • B60W20/00Control systems specially adapted for hybrid vehicles
    • BPERFORMING OPERATIONS; TRANSPORTING
    • B60VEHICLES IN GENERAL
    • B60KARRANGEMENT OR MOUNTING OF PROPULSION UNITS OR OF TRANSMISSIONS IN VEHICLES; ARRANGEMENT OR MOUNTING OF PLURAL DIVERSE PRIME-MOVERS IN VEHICLES; AUXILIARY DRIVES FOR VEHICLES; INSTRUMENTATION OR DASHBOARDS FOR VEHICLES; ARRANGEMENTS IN CONNECTION WITH COOLING, AIR INTAKE, GAS EXHAUST OR FUEL SUPPLY OF PROPULSION UNITS IN VEHICLES
    • B60K1/00Arrangement or mounting of electrical propulsion units
    • B60K1/02Arrangement or mounting of electrical propulsion units comprising more than one electric motor
    • BPERFORMING OPERATIONS; TRANSPORTING
    • B60VEHICLES IN GENERAL
    • B60KARRANGEMENT OR MOUNTING OF PROPULSION UNITS OR OF TRANSMISSIONS IN VEHICLES; ARRANGEMENT OR MOUNTING OF PLURAL DIVERSE PRIME-MOVERS IN VEHICLES; AUXILIARY DRIVES FOR VEHICLES; INSTRUMENTATION OR DASHBOARDS FOR VEHICLES; ARRANGEMENTS IN CONNECTION WITH COOLING, AIR INTAKE, GAS EXHAUST OR FUEL SUPPLY OF PROPULSION UNITS IN VEHICLES
    • B60K1/00Arrangement or mounting of electrical propulsion units
    • B60K2001/003Arrangement or mounting of electrical propulsion units with means for cooling the electrical propulsion units
    • BPERFORMING OPERATIONS; TRANSPORTING
    • B60VEHICLES IN GENERAL
    • B60LPROPULSION OF ELECTRICALLY-PROPELLED VEHICLES; SUPPLYING ELECTRIC POWER FOR AUXILIARY EQUIPMENT OF ELECTRICALLY-PROPELLED VEHICLES; ELECTRODYNAMIC BRAKE SYSTEMS FOR VEHICLES IN GENERAL; MAGNETIC SUSPENSION OR LEVITATION FOR VEHICLES; MONITORING OPERATING VARIABLES OF ELECTRICALLY-PROPELLED VEHICLES; ELECTRIC SAFETY DEVICES FOR ELECTRICALLY-PROPELLED VEHICLES
    • B60L2210/00Converter types
    • B60L2210/20AC to AC converters
    • YGENERAL TAGGING OF NEW TECHNOLOGICAL DEVELOPMENTS; GENERAL TAGGING OF CROSS-SECTIONAL TECHNOLOGIES SPANNING OVER SEVERAL SECTIONS OF THE IPC; TECHNICAL SUBJECTS COVERED BY FORMER USPC CROSS-REFERENCE ART COLLECTIONS [XRACs] AND DIGESTS
    • Y02TECHNOLOGIES OR APPLICATIONS FOR MITIGATION OR ADAPTATION AGAINST CLIMATE CHANGE
    • Y02TCLIMATE CHANGE MITIGATION TECHNOLOGIES RELATED TO TRANSPORTATION
    • Y02T10/00Road transport of goods or passengers
    • Y02T10/60Other road transportation technologies with climate change mitigation effect
    • Y02T10/62Hybrid vehicles
    • YGENERAL TAGGING OF NEW TECHNOLOGICAL DEVELOPMENTS; GENERAL TAGGING OF CROSS-SECTIONAL TECHNOLOGIES SPANNING OVER SEVERAL SECTIONS OF THE IPC; TECHNICAL SUBJECTS COVERED BY FORMER USPC CROSS-REFERENCE ART COLLECTIONS [XRACs] AND DIGESTS
    • Y02TECHNOLOGIES OR APPLICATIONS FOR MITIGATION OR ADAPTATION AGAINST CLIMATE CHANGE
    • Y02TCLIMATE CHANGE MITIGATION TECHNOLOGIES RELATED TO TRANSPORTATION
    • Y02T10/00Road transport of goods or passengers
    • Y02T10/60Other road transportation technologies with climate change mitigation effect
    • Y02T10/70Energy storage systems for electromobility, e.g. batteries
    • YGENERAL TAGGING OF NEW TECHNOLOGICAL DEVELOPMENTS; GENERAL TAGGING OF CROSS-SECTIONAL TECHNOLOGIES SPANNING OVER SEVERAL SECTIONS OF THE IPC; TECHNICAL SUBJECTS COVERED BY FORMER USPC CROSS-REFERENCE ART COLLECTIONS [XRACs] AND DIGESTS
    • Y02TECHNOLOGIES OR APPLICATIONS FOR MITIGATION OR ADAPTATION AGAINST CLIMATE CHANGE
    • Y02TCLIMATE CHANGE MITIGATION TECHNOLOGIES RELATED TO TRANSPORTATION
    • Y02T10/00Road transport of goods or passengers
    • Y02T10/60Other road transportation technologies with climate change mitigation effect
    • Y02T10/7072Electromobility specific charging systems or methods for batteries, ultracapacitors, supercapacitors or double-layer capacitors
    • YGENERAL TAGGING OF NEW TECHNOLOGICAL DEVELOPMENTS; GENERAL TAGGING OF CROSS-SECTIONAL TECHNOLOGIES SPANNING OVER SEVERAL SECTIONS OF THE IPC; TECHNICAL SUBJECTS COVERED BY FORMER USPC CROSS-REFERENCE ART COLLECTIONS [XRACs] AND DIGESTS
    • Y02TECHNOLOGIES OR APPLICATIONS FOR MITIGATION OR ADAPTATION AGAINST CLIMATE CHANGE
    • Y02TCLIMATE CHANGE MITIGATION TECHNOLOGIES RELATED TO TRANSPORTATION
    • Y02T10/00Road transport of goods or passengers
    • Y02T10/60Other road transportation technologies with climate change mitigation effect
    • Y02T10/72Electric energy management in electromobility

Landscapes

  • Engineering & Computer Science (AREA)
  • Transportation (AREA)
  • Mechanical Engineering (AREA)
  • Chemical & Material Sciences (AREA)
  • Combustion & Propulsion (AREA)
  • Power Engineering (AREA)
  • Automation & Control Theory (AREA)
  • Electric Propulsion And Braking For Vehicles (AREA)
  • Hybrid Electric Vehicles (AREA)
  • Motor Or Generator Cooling System (AREA)
  • Cooling, Air Intake And Gas Exhaust, And Fuel Tank Arrangements In Propulsion Units (AREA)

Description

この発明は、エンジンおよび電動機を備えるハイブリッド車両に関し、特に電動機および電動機を駆動するための電力変換部を冷却可能に構成されたハイブリッド車両に関する。
近年、環境に配慮した自動車として、ハイブリッド車両(Hybrid Vehicle)が大きく注目されている。ハイブリッド車両は、従来のエンジンに加え、二次電池からなる蓄電部と、蓄電部からの電力により作動する電動機とをさらに駆動源とする自動車である。
ハイブリッド車両では、電動機のトルクおよび回転数を最適に制御することで、エンジンの燃焼効率を高めている。このような電動機制御を実現するために、ハイブリッド車両は、インバータなどの電力変換部を備えている。電力変換部は、蓄電部から直流電力を受け、所定の電圧、周波数および位相などをもつ交流電力に変換して電動機へ与える。
ところで、電動機は、コイルの抵抗成分に起因する銅損や鉄心を通過する交流磁束に起因する鉄損などにより発熱を生じる。また、電力変換部は、IGBT(Insulated Gate Bipolar Transistor)などのスイッチング素子におけるスイッチング損失により発熱を生じる。ここで、電動機における発熱の主たるものは銅損であり、この銅損は、電動機の出力に伴って増大する。一方、電力変換部におけるスイッチング損失は、スイッチング周波数が同一であれば、電力によらず略一定である。すなわち、発生する車両駆動力に応じて電動機における発熱量は変化するが、電力変換部における発熱量はほとんど変化しない。
このように、ハイブリッド車両においては、エンジンに加えて、電動機および電力変換部を冷却する必要がある。そこで、たとえば特開2004−112855号公報(特許文献1)には、冷媒圧送用ポンプの駆動用電動機を廃してコストを削減するとともに、車両重量が増大しないようにしたシリーズ式のハイブリッド車両が開示されている。このハイブリッド車両によれば、エンジンの出力軸に連結される発電機と、発電機の軸に連結され冷媒を圧送する第1冷媒圧送用ポンプと、発電機の軸に連結され冷媒を圧送する第2冷媒圧送用ポンプとを備え、第1冷媒圧送用ポンプにより圧送される冷媒による冷却対象を電動機とする一方、第2冷媒圧送用ポンプにより圧送される冷媒による冷却対象をインバータとする。
なお、シリーズ式ハイブリッド車両とは、エンジンの出力軸に連結された発電機から電力を受ける電動機のみが車両駆動力を発生し、エンジンは車両駆動力を発生しないハイブリッド車両である。
特開2004−112855号公報
特許文献1に開示される構成は、シリーズ式ハイブリッド車両、すなわち走行中は常にエンジンおよび発電機が作動することを前提としている。しかしながら、実用化されている多くのハイブリッド車両は、より高い燃焼効率(燃費)を実現するために、エンジンおよび電動機のいずれからも車両駆動力を発生可能に構成されたパラレル式、もしくはパラレル式の構成にシリーズ式の要素をさらに加えたパラレル/シリーズ式を採用している。このようなパラレル式およびパラレル/シリアル式ハイブリッド車両においては、走行状況に応じてエンジンは間欠的に停止する。そのため、特許文献1に開示される構成をパラレル式およびパラレル/シリアル式ハイブリッド車両に適用することはできなかった。
この発明は、このような問題点を解決するためになされたものであって、その目的は、エンジンおよび電動機の各々が車両駆動力を発生可能に構成されたハイブリッド車両において、電動機および電力変換部を安定して冷却できるハイブリッド車両を提供することである。
この発明によれば、各々が車両駆動力を発生可能に構成されたエンジンおよび電動機と、充放電可能に構成された蓄電部と、蓄電部から受けた電力を電動機を駆動するために変換する電力変換部と、第1の冷却媒体を介して電動機を冷却する第1の冷却機構と、第2の冷却媒体を介して電力変換部を冷却する第2の冷却機構とを備えたハイブリッド車両である。そして、第1の冷却機構は、第1の冷却媒体を熱交換して冷却する第1の熱交換部と、電動機および第1の熱交換部を含んで形成される第1の循環経路に第1の冷却媒体を循環させるための第1の送出機構とを含み、第2の冷却機構は、第2の冷却媒体を熱交換して冷却する第2の熱交換部と、電力変換部および第2の熱交換部を含んで形成される第2の循環経路に第2の冷却媒体を流動させる第2の送出機構とを含み、エンジンは、走行状況に応じて間欠的に停止し、第1および第2の送出機構は、エンジン停止中であっても作動可能に構成される。
この発明によれば、電動機を冷却する第1の冷却機構と、電力変換部を冷却する第2の冷却機構とを備え、第1および第2の冷却機構は、それぞれエンジン停止中であっても作動可能に構成された第1および第2の送出機構を含む。これにより、エンジン停止中であっても第1および第2の冷却媒体が循環されて冷却能力を発揮できる。
また、この発明によれば、互いに冷却要求の異なる電動機および電力変換部のそれぞれに対応して第1および第2の熱交換部が備えられる。これにより、電動機および電力変換部における冷却要求をそれぞれ満足させるように第1および第2の熱交換部の冷却性能(たとえば、大きさなど)を効率的に設計することができる。
したがって、走行状況に応じてエンジンが間欠的に停止するハイブリッド車両において、電動機および電力変換部を安定して冷却することができる。
好ましくは、第1および第2の送出機構は、電気的に作動する。
好ましくは、第1の冷却機構は、第1の冷却媒体を電動機を構成するコイルに直接接触させて冷却する経路を含んで構成される。
好ましくは、第2の冷却機構は、両端が第2の循環経路と接続され、電力変換部を含み、かつ第2の熱交換部を含まない経路に第2の冷却媒体を循環可能なように形成されたバイパス経路と、電力変換部から出力された第2の冷却媒体が第2の熱交換部およびバイパス経路のいずれか一方を流れるように切換え可能に構成された経路切換部と、第2の冷却媒体の温度に基づいて経路切換部を制御する制御部とをさらに含む。
好ましくは、制御部は、第2の冷却媒体の温度が所定値以上であるときに、電力変換部および第2の熱交換部を含む経路に第2の冷却媒体を循環させるように経路切換部を制御する一方、第2の冷却媒体の温度が所定値以上でないときに、電力変換部を含み、かつ第2の熱交換部を含まない経路に第2の冷却媒体を循環させるように経路切換部を制御する。
好ましくは、第1の冷却媒体は、油からなる。
好ましくは、第2の冷却媒体は、水からなる。
この発明によれば、エンジンおよび電動機の各々が車両駆動力を発生可能に構成されたハイブリッド車両において、電動機および電力変換部を安定して冷却できるハイブリッド車両を実現できる。
この発明の実施の形態について、図面を参照しながら詳細に説明する。なお、図中の同一または相当部分については、同一符号を付してその説明は繰返さない。
図1は、この発明の実施の形態に従うハイブリッド車両100の概略構成図である。
図1を参照して、ハイブリッド車両100は、エンジン2と、蓄電部16と、トランスアクスル1と、PCU(パワーコントロールユニット)8とを備える。
エンジン2は、ガソリン等の燃料の燃焼による熱エネルギを源として駆動軸10を回転駆動させ、駆動輪14の駆動力を発生する。
蓄電部16は、PCU8と電気的に接続されて充放電可能に構成され、一例として、ニッケル水素電池やリチウムイオン電池などの充放電可能な二次電池、もしくは電気二重層キャパシタなどの大容量キャパシタで構成される。そして、蓄電部16は、PCU8から供給される直流電力を受けて電気エネルギーを蓄える一方、蓄えた電気エネルギーを直流電力としてPCU8へ供給する。
トランスアクスル1は、トランスミッションとアクスル(車軸)とが一体構造として構成されており、電動機6と、発電機7と、動力伝達機構4とを有する。そして、トランスアクスル1は、同一の駆動軸10を介して機械的に結合可能なエンジン2および電動機6から回転駆動力を受け、車輪軸12へ伝達可能に構成される。すなわち、トランスアクスル1は、エンジン2および電動機6の少なくとも一方からの回転駆動力を受けて、車輪軸12を介して駆動輪14の車両駆動力を発生する。
電動機6は、PCU8と電気的に接続され、PCU8から受けた交流電力に応じて、所定トルクの回転駆動力を発生する。そして、電動機6が発生した回転駆動力は、駆動軸10を介してエンジン2の回転駆動力とともに動力伝達機構4へ伝達可能に構成される。また、電動機6は、ハイブリッド車両100の回生制動時において、駆動輪14を介して与えられる運動エネルギーから電気エネルギー(交流電力)を発生し、その発生した交流電力をPCU8へ供給する。発電機7は、駆動軸10の回転駆動力の一部を受けて、交流電力を発生し、PCU8へ供給する。一例として、電動機6および発電機7は、三相交流電力に同期して回転する同期電動機であり、特に永久磁石が埋め込まれたロータを有する永久磁石型同期電動機からなる。
動力伝達機構4は、駆動軸10と車輪軸12との間に配置され、駆動軸10を介して入力される回転駆動力を車輪軸12へ伝達する一方、その一部の回転駆動力を発電機7へ伝達する。具体的には、動力伝達機構4は、プラネタリギアなどの変速機構を兼ねた動力分割機構を含み、図示しない外部ECU(Electrical Control Unit)などからの変速指令に応じて、駆動軸10からの入力回転数に対する車輪軸12への出力回転数の比率(変速比)を変化させる。
PCU8は、蓄電部16から供給される直流電力を、図示しない外部ECUなどからのトルク指令および回転数指令などに従い、所定の電圧、周波数および位相をもつ電動機6を駆動するための交流電力に変換して、トランスアクスル1の電動機6へ供給する。また、回生制動時に電動機6が発生する交流電力を変換して蓄電部16を充電する。さらに、PCU8は、発電機7から供給される交流電力を受けて、電動機6および蓄電部16の少なくとも一方へ供給する。そして、PCU8は、IGBT(Insulated Gate Bipolar Transistor)やパワーMOSFET(Metal Oxide Semiconductor Field Effect Transistor)などのスイッチング素子を含む三相ブリッジ回路などからなる。
上述したハイブリッド車両100は、走行状況に応じてエンジン2を間欠的に停止する。具体的には、図示しないECUが、運転者の操作によるアクセルペダルの踏込量、ブレーキペダルの踏込量およびシフトレバーの選択ポジションなどに応じて、エンジン2および電動機6に要求する車両駆動力を決定し、エンジン2に対する車両駆動力の要求がゼロになる場合には、エンジン2を停止する。そして、車速が所定値以上となった場合や急加速が要求された場合には、エンジン2を始動して、エンジン2から車両駆動力を発生する。
ハイブリッド車両100は、エンジンラジエタ20と、ラジエタファン24と、冷却水循環経路22と、電動機ラジエタ34と、冷却油循環経路32と、送出機構30と、PCUラジエタ44と、冷却水循環経路42と、バイパス経路48と、切換弁46と、送出機構40と、温度検出部52と、制御装置50とをさらに備える。
エンジンラジエタ20は、ハイブリッド車両100の前方側に配置された熱交換部であり、冷却水循環経路22を介してエンジン2との間で循環経路を形成する。この循環経路には、アルコール(エチレングリコールなど)や防錆剤を含有するエンジン冷却水が循環する。そして、エンジンラジエタ20は、車両走行に伴い生じる気流を受けて、内部を流動するエンジン冷却水と大気との間で熱交換を行ない、エンジン冷却水を冷却(放熱)する。すなわち、このエンジン冷却水は、エンジン2の熱を吸収(エンジン2を冷却)する一方、当該吸収した熱をエンジンラジエタ20から放熱する。このような過程によりエンジン2が冷却される。
ラジエタファン24は、一例として、エンジンラジエタ20の車両後方側に配置され、車両の後方側からエンジンラジエタ20に対する気流を発生させて、エンジンラジエタ20における熱交換効率を高める。
電動機ラジエタ34、送出機構30および冷却油循環経路32は、冷却媒体である電動機冷却油を介して電動機6を冷却する電動機6の冷却機構を構成する。
電動機ラジエタ34は、一例として、エンジンラジエタ20のさらに車両前方側に配置された熱交換部である。そして、電動機ラジエタ34は、冷却油循環経路32を介して電動機6との間で循環経路を形成する。この循環経路には、電動機冷却油が循環する。そして、電動機ラジエタ34は、車両走行に伴い生じる気流を受けて、内部を流動する電動機冷却油と大気との間で熱交換を行ない、電動機冷却油を冷却(放熱)する。すなわち、この電動機冷却油は、電動機6が生じる熱を吸収(電動機6を冷却)する一方、当該吸収した熱を電動機ラジエタ34から放熱する。送出機構30は、冷却油循環経路32に介挿され、電動機冷却油が冷却油循環経路32を流動するように、一方から受けた電動機冷却油に圧力を与えて他方から送出する。なお、送出機構30の詳細な構成については後述する。
一方、PCUラジエタ44、送出機構40および冷却水循環経路42は、冷却媒体であるPCU冷却水を介してPCU8を冷却するPCU8の冷却機構を構成する。
PCUラジエタ44は、一例として、エンジンラジエタ20のさらに車両前方側に配置された熱交換部である。そして、PCUラジエタ44は、冷却水循環経路42を介してPCU8との間で循環経路を形成する。この循環経路には、上述したエンジン冷却水と同様のアルコール(エチレングリコールなど)や防錆剤を含有するPCU冷却水が循環する。そして、PCUラジエタ44は、車両走行に伴い生じる気流を受けて、内部を流動するPCU冷却水と大気との間で熱交換を行ない、PCU冷却水を冷却(放熱)する。すなわち、このPCU冷却水は、PCU8が生じる熱を吸収(PCU8を冷却)する一方、当該吸収した熱をPCUラジエタ44から放熱する。送出機構40は、冷却水循環経路42に介挿され、PCU冷却水が冷却水循環経路42を流動するように、一方から受けたPCU冷却水に圧力を与えて他方から送出する。なお、送出機構40の詳細な構成については後述する。
PCU8の冷却機構は、さらにバイパス経路48、切換弁46、温度検出部52および制御装置50を含む。
バイパス経路48は、その両端が冷却水循環経路42と接続され、PCU冷却水がPCU8を含み、かつPCUラジエタ44を含まない経路に循環可能なように形成する。切換弁46は、冷却水循環経路42とバイパス経路48との接続部に介挿される。そして、切換弁46は、制御装置50からの制御指令に応じて、PCU8から出力されたPCU冷却水が、PCUラジエタ44およびバイパス経路48の一方を流れるように経路を切換える。すなわち、切換弁46がPCUラジエタ44の経路を選択している時には、PCU8から出力されたPCU冷却水は、送出機構40により送出され、PCUラジエタ44で冷却される。一方、切換弁46がバイパス経路48の経路を選択している時には、PCU8から出力されたPCU冷却水は、PCU8およびバイパス経路48を含む経路で循環されるため冷却されない。
温度検出部52は、送出機構40と切換弁46との間に配置され、当該個所を流れるPCU冷却水の温度を検出し、その検出結果を制御装置50へ出力する。制御装置50は、PCU8を効率的に冷却するために、後述する制御構造に従い、温度検出部52からの検出結果に基づいて切換弁46へ制御指令を与える。制御装置50は、一例としてECUなどからなる。
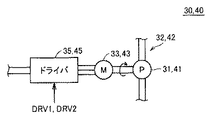
図2は、送出機構30および40のより詳細な概略構成図である。
図2を参照して、送出機構30は、送出ポンプ31と、ポンプ駆動電動機33と、ドライバ35とからなる。
送出ポンプ31は、ポンプ駆動電動機33と機械的に結合され、ポンプ駆動電動機33の回転駆動力により一方のポートから受けた電動機冷却油に圧力を与えて、他方のポートから送出する。一例として、送出ポンプ31は、インペラおよびベーンなどがポンプ駆動電動機33により回転されることで圧力を発生する。
ポンプ駆動電動機33は、制御装置50からの指令DRV1に従い、ドライバ35から供給される電力を受けて回転する。一例として、ポンプ駆動電動機33は、DCセンサレスブラシレスモータである。
ドライバ35は、蓄電部16(図1)から受けた直流電力を所定の電圧に変換して、ポンプ駆動電動機33へ供給する。
また、送出機構40は、送出機構30と略同一の構成で実現され、送出機構30において、送出ポンプ31、ポンプ駆動電動機33およびドライバ35に代えて、送出ポンプ41、ポンプ駆動電動機43およびドライバ45を配置し、かつ、指令DRV1に代えて指令DRV2を用いる構成と同様であるので、詳細な説明は繰返さない。
上述したように、この発明の実施の形態に従うハイブリッド車両100においては、電動機6の冷却機構(電動機ラジエタ34、送出機構30および冷却油循環経路32)と、PCU8の冷却機構(PCUラジエタ44、送出機構40および冷却水循環経路42)とは互いに独立に構成される。そのため、ハイブリッド車両100によれば、発生する車両駆動力(消費する電力)が大きくなるほど発熱量の増加する電動機6に対する冷却要求と、電動機6へ供給する電力にかかわらず発熱量が変化しないPCU8に対する冷却要求とをそれぞれ効率的に満足させることができる。
これに対して、電動機6およびPCU8を同一の冷却機構で冷却する構成においては、走行状況に応じて発熱量が変動する電動機6を十分冷却できるように、冷却能力を決定する必要がある。このように決定された冷却能力は、発熱量がほぼ同一のPCU8にとって過剰な冷却能力となることが多い。すなわち、電動機6およびPCU8が要求する冷却要求は互いに一致しないので、電動機6の冷却要求に合わせて過剰な冷却性能を発揮するように構成せざるを得なかった。その結果、ラジエタ、送出機構および循環経路が大型化するという問題があった。
そこで、この発明の実施の形態に従うハイブリッド車両100においては、電動機6およびPCU8の冷却機構が独立に構成されるので、それぞれの発熱量に応じて適切に設計することができ、ラジエタ、送出機構および循環経路の大きさなどを効率化できる。
以下、それぞれ電動機6およびPCU8の冷却機構における特徴的な構成について詳述する。
(電動機6に対する冷却)
図3は、電動機6の冷却機構の一部である電動機冷却油の経路を示す部分断面図である。
図3を参照して、電動機6を収納する収容室と減速ギアおよび車輪軸12を収容する各ケースの部分断面が示されている。
図4は、図3のIV−IVにおける部分断面図である。
図3および図4を参照して、電動機6は隔壁60により形成された収容室に配置される。そして、隔壁60の上部には、電動機冷却油の通路64が設けられ、この通路64は、オイル溜り70および電動機6の収容室と連通している。
電動機冷却油は、オイルレベルOLまで貯蔵されている。したがって、この収容室の底部はオイルパンとして機能する。そして、駆動軸10と機械的に連結された電動機6のロータ63の回転などに伴い、カウンタドリブンギア78が回転され、カウンタドリブンギア78の回転に伴い車輪軸12と機械的に連結されたディファレンシャルギア76が回転する。すると、図3の矢印に示すように、ディファレンシャルギア76が電動機冷却油を跳ね上げる。ケースの上部にはオイルキャッチ板72が設けられおり、ディファレンシャルギア76により跳ね上げられた電動機冷却油は、オイルキャッチ板72を通じてオイル溜り70に溜められる。オイル溜り70にはオイル出口74が設けられており、図4に示すように、オイル出口74は、オイル入口66.1,66.2,66.3と通じている。
そして、通路64に到達した電動機冷却油は、隔壁60に設けられたオイル出口68.1,68.2,68.3を通りステータコイル62の上部に注がれる。ステータコイル62の上部に注がれた電動機冷却油は、ステータコイル62と熱交換をしながらその外周面を流動し、収容室の底部に戻される。すなわち、電動機冷却油は、ステータコイル62と直接接触してステータコイル62を冷却する。
さらに、収容室の底部には、冷却油循環経路32と通じるための開口部が2箇所設けられており、貯蔵される電動機冷却油の一部が電動機ラジエタ34と間で循環されて電動機6の冷却が行なわれる。一例として、電動機6の直下に位置する開口部から電動機6の熱を吸収した比較的高温の電動機冷却油が抽出され、電動機ラジエタ34により冷却された後の電動機冷却油がディファレンシャルギア76の底部付近から戻される。
このように、電動機6の上部から電動機冷却油をステータコイル62を注いで直接接触させるので、電動機6の発熱源であるステータコイル62を効率的に冷却することができる。そのため、電動機6により発生される車両駆動力が大きく、発熱量が多い場合であっても、電動機6を安定して冷却することができる。
(PCU8に対する冷却)
再度、図1を参照して、電動機6およびPCU8の冷却機構が互いに独立に構成されるため、PCUラジエタ44の小型化などを実現できる一方で、PCUラジエタ44の小型化に伴い通水抵抗が増大する。この結果、送出機構40における消費電力が相対的に増加する。そこで、制御装置50は、PCU冷却水がPCU8とPCUラジエタ44との間で循環させる時間を短縮することにより、送出機構40における消費電力を抑制する。具体的には、制御装置50は、PCU8から出力されるPCU冷却水の温度が所定値以上であれば、切換弁46へ制御指令を与えて、PCU冷却水をPCUラジエタ44へ導いて冷却を行なう一方、PCU8から出力されるPCU冷却水の温度が所定値未満であれば、切換弁46へ制御指令を与えて、PCU冷却水をPCU8とバイパス経路48との間で循環させる。
図5は、PCU8の冷却機構におけるPCU冷却水の経路を示す概略図である。
図5(a)は、PCU冷却水の温度が所定値以上である場合を示す。
図5(b)は、PCU冷却水の温度が所定値未満である場合を示す。
図5(a)を参照して、PCU冷却水の温度が所定値以上である場合には、制御装置50は、切換弁46がPCUラジエタ44側を選択するように制御指令を与える。すると、PCU冷却水は、PCU8とPCUラジエタ44との間を循環する。そのため、PCU8の熱を吸収(PCU8を冷却)したPCU冷却水は、PCUラジエタ44で熱交換されて冷却される。
一方、図5(b)を参照して、PCU冷却水の温度が所定値未満である場合には、制御装置50は、切換弁46がバイパス経路48を選択するように制御指令を与える。すると、PCU冷却水は、PCU8とバイパス経路48との間を循環する。そのため、PCU8の熱を吸収(PCU8を冷却)したPCU冷却水は、冷却されないままPCU8の熱を再度吸収する。したがって、PCU冷却水は、PCU8とバイパス経路48との間を繰返し循環することによって、温度が徐々に高まっていく。
このように、制御装置50は、PCU冷却水の温度が所定値以上となった場合にのみPCUラジエタ44にPCU冷却水を流し、それ以外の期間においてはPCUラジエタ44にPCU冷却水が流れないようにPCU冷却水をPCU8との間で循環させることで、送出機構40(ポンプ駆動電動機33)における消費電力を抑制する。
以下、制御装置50で実行されるプログラムの制御構造について説明する。
図6は、制御装置50で実行されるプログラムの制御構造を示すフローチャートである。制御装置50は、図6に示すフローチャートを所定周期(たとえば100msec)で繰返し実行する。
図6を参照して、制御装置50は、温度検出部52からPCU冷却水の温度を取得する(ステップS100)。そして、制御装置50は、PCU冷却水の温度が所定値以上であるか否かを判断する(ステップS102)。
PCU冷却水の温度が所定値以上である場合(ステップS102においてYESの場合)には、制御装置50は、PCUラジエタ44側を選択するように切換弁46に制御指令を与える(ステップS104)。
PCU冷却水の温度が所定値未満である場合(ステップS102においてNOの場合)には、制御装置50は、バイパス経路48を選択するように切換弁46に制御指令を与える(ステップS106)。
以下、制御装置50は、最初の処理に戻る。
この発明の実施の形態においては、電動機ラジエタ34、送出機構30および冷却油循環経路32が「第1の冷却機構」に相当し、冷却油循環経路32が「第1の循環経路」に相当し、電動機ラジエタ34が「第1の熱交換部」に相当し、送出機構30が「第1の送出機構」に相当する。また、PCUラジエタ44、送出機構40、冷却水循環経路42、バイパス経路48および切換弁46が「第2の冷却機構」に相当し、冷却水循環経路42が「第2の循環経路」に相当し、PCUラジエタ44が「第2の熱交換部」に相当し、送出機構40が「第2の送出機構」に相当し、切換弁46が「経路切換部」に相当する。さらに、制御装置50が「制御部」に相当する。
なお、上述のこの発明の実施の形態においては、冷却媒体である電動機冷却油およびPCU冷却水の温度などの状態に応じて、ポンプ駆動電動機33および43の駆動タイミングや速度をさらに制御するように構成してもよい。このような構成によると、より効率的に電動機およびPCUを冷却できる。
また、上述のこの発明の実施の形態においては、電動機6を冷却する構成について詳述したが、電動機6の冷却構成と同様の構成により、発電機7を冷却するように構成してもよい。
また、上述のこの発明の実施の形態においては、本発明をパラレル/シリーズ式ハイブリッド車両に適用した場合の一例について説明したが、パラレル式ハイブリッド車両にも適用できることは言うまでもない。すなわち、図1において、図示しない他方の車輪を駆動するための電動機をさらに備えるようなパラレル/シリーズ式ハイブリッド車両に対しても本発明は適用可能である。
この発明の実施の形態によれば、電動機6を冷却する冷却機構と、PCU8を冷却する冷却機構とを備えており、かつそれぞれの冷却機構は、蓄電部16から受けた電力により作動(冷却媒体の送出)を行なう。これにより、エンジン停止中であってもそれぞれの冷却機構により冷却媒体である電動機冷却油およびPCU冷却水が循環されて、電動機6およびPCU8を継続的に冷却できる。したがって、エンジンが間欠的に停止されるハイブリッド車両においても電動機および電力変換部を安定して冷却できる。
また、この発明の実施の形態によれば、電動機6を冷却する冷却機構と、PCU8を冷却する冷却機構とは独立に配置されるので、それぞれの発熱量に応じて、ラジエタ、送出機構および循環経路などを適切に設計することができる。これにより、電動機6およびPCU8を共通の冷却機構で実現する場合のように、ラジエタ、送出機構および循環経路などを大型化して、過剰な冷却性能を発揮するように構成する必要がない。このため、各ポンプの総吐出量も抑制できるため、ポンプ駆動電動機33および43が消費する電力を低減できる。また、小型化された電動機ラジエタ34からの放熱量が低減されるので、電動機ラジエタ34を通過後の気流の温度上昇が抑制される。このため、その後方側に配置されるエンジンラジエタ20の雰囲気温度も低減されるので、エンジンラジエタ20の放熱効率を高めることができ、エンジンラジエタ20についてもより小型化することができる。
さらに、この発明の実施の形態によれば、電動機6のステータコイル62の上部に電動機冷却油を注ぎ、当該電動機冷却油がステータコイル62の外周面を直接接触しながら流動することで、電動機6を冷却する。これにより、電動機6の発熱源であるステータコイル62を効率的に冷却できるため、急加速時や登坂走行時などの高負荷運転時において、電動機6の発熱量が多い場合であっても、電動機6を安定して冷却することができる。
さらに、この発明の実施の形態によれば、PCU冷却水の温度に応じて、PCU8およびPCUラジエタ44を含む経路、またはPCU8を含み、かつPCUラジエタ44を含まない経路を選択して、PCU冷却水を循環させることができる。これにより、PCUラジエタ44の小型化に伴って通水抵抗が増大し、送出機構40(実質的には、ポンプ駆動電動機43)における消費が増大する場合であっても、PCU冷却水をPCU8およびPCUラジエタ44を含む経路で循環させる時間比率を抑制できるので、総合的な消費電力を抑制できる。また、PCU冷却水をPCU8およびバイパス経路48を含む経路で循環させる期間においては、PCU8と接するPCU冷却水の流速を高めることで、PCU8に対する冷却効率を向上できる。すなわち、通水抵抗の増大に伴う消費電力の増加を抑制しつつ、PCU8に対する冷却効率の向上を同時に実現できる。
さらに、この発明の実施の形態によれば、電動機6の冷却に対して、油からなる冷却媒体(電動機冷却油)を用いることにより、絶縁性の低下および腐食を防止しつつ、電動機6のステータ上部に直接冷却媒体を注ぐことができる。そのため、電動機6の効率的な冷却を実現できる。一方、PCU8の冷却に対して、水からなる冷却媒体(PCU冷却水)を用いることにより、PCU8の温度上昇をPCU冷却水の沸点までに制限できる。
今回開示された実施の形態はすべての点で例示であって制限的なものではないと考えられるべきである。本発明の範囲は、上記した説明ではなく、特許請求の範囲によって示され、特許請求の範囲と均等の意味および範囲内でのすべての変更が含まれることが意図される。
この発明の実施の形態に従うハイブリッド車両の概略構成図である。 送出機構のより詳細な概略構成図である。 電動機の冷却機構の一部である電動機冷却油の経路を示す部分断面図である。 図3のIV−IVにおける部分断面図である。 PCUの冷却機構におけるPCU冷却水の経路を示す概略図である。 制御装置で実行されるプログラムの制御構造を示すフローチャートである。
符号の説明
1 トランスアクスル、2 エンジン、4 動力伝達機構、6 電動機、7 発電機、8 PCU(パワーコントロールユニット)、10 駆動軸、12 車輪軸、14 駆動輪、16 蓄電部、20 エンジンラジエタ、22 冷却水循環経路、24 ラジエタファン、30,40 送出機構、31,41 送出ポンプ、32 冷却油循環経路、33,43 ポンプ駆動電動機、34 電動機ラジエタ、35,45 ドライバ、42 冷却水循環経路、44 PCUラジエタ、46 切換弁、48 バイパス経路、50 制御装置、52 温度検出部、60 隔壁、62 ステータコイル、63 ロータ、64 通路、66 オイル入口、68,74 オイル出口、72 オイルキャッチ板、76 ディファレンシャルギア、78 カウンタドリブンギア、100 ハイブリッド車両、DRV1,DRV2 指令、OL オイルレベル。

Claims (3)

  1. 各々が車両駆動力を発生可能に構成されたエンジンおよび電動機と、
    充放電可能に構成された蓄電部と、
    前記蓄電部から受けた電力を前記電動機を駆動するために変換する電力変換部と、
    第1の冷却媒体を介して前記電動機を冷却する第1の冷却機構と、
    第2の冷却媒体を介して前記電力変換部を冷却する第2の冷却機構とを備え、
    前記第1の冷却機構は、
    前記第1の冷却媒体を熱交換して冷却する第1の熱交換部と、
    前記電動機および前記第1の熱交換部を含んで形成される第1の循環経路に前記第1の冷却媒体を循環させるための第1の送出機構とを含み、
    前記第2の冷却機構は、
    前記第2の冷却媒体を熱交換して冷却する第2の熱交換部と、
    前記電力変換部および前記第2の熱交換部を含んで形成される第2の循環経路に前記第2の冷却媒体を流動させる第2の送出機構と、
    両端が前記第2の循環経路と接続され、前記電力変換部を含み、かつ前記第2の熱交換部を含まない経路に前記第2の冷却媒体を循環可能なように形成されたバイパス経路と、
    前記電力変換部から出力された前記第2の冷却媒体が前記第2の熱交換部および前記バイパス経路のいずれか一方を流れるように切換え可能に構成された経路切換部と、
    前記第2の冷却媒体の温度に基づいて前記経路切換部を制御する制御部とを含み、
    前記エンジンは、走行状況に応じて間欠的に停止し、
    前記第1および第2の送出機構は、電気的に作動することで前記エンジン停止中であっても作動可能に構成され、
    前記電動機は、水平方向に回転軸を有するロータと、前記ロータの外周に配置されるステータコイルとを含み、
    前記第1の冷却機構は、前記第1の冷却媒体を前記ステータコイルの重力上方位置より注ぐことで、前記ステータコイルに前記第1の冷却媒体を直接接触させて冷却する経路を含んで構成され、
    前記制御部は、
    前記第2の冷却媒体の温度が所定値以上であるときに、前記電力変換部および前記第2の熱交換部を含む経路に前記第2の冷却媒体を循環させるように前記経路切換部を制御し、
    前記第2の冷却媒体の温度が所定値以上でないときに、前記バイパス経路に前記第2の冷却媒体を循環させるように前記経路切換部を制御するとともに、前記第2の冷却媒体が、前記第2の冷却媒体の温度が所定値以上である場合に比較してより高い流速で循環するように前記第2の送出機構を制御する、ハイブリッド車両。
  2. 前記ステータコイルの重力上方に連通する通路と、
    前記電動機の駆動軸と機械的に連結されたギアと、
    前記ギアを収容するとともに、その内部に前記第1の熱交換部によって冷却された後の前記第1の冷却媒体を前記ギアの一部と接するレベルまで溜めることのできるケースと、
    前記ギアの回転により跳ね上げられる前記第1の冷却媒体を前記通路に導くキャッチ板とをさらに備える、請求項1に記載のハイブリッド車両。
  3. 前記第1の冷却媒体は、油からなり、
    前記第2の冷却媒体は、水からなる、請求項1または2に記載のハイブリッド車両。
JP2006072834A 2006-03-16 2006-03-16 ハイブリッド車両 Expired - Fee Related JP4497113B2 (ja)

Priority Applications (6)

Application Number Priority Date Filing Date Title
JP2006072834A JP4497113B2 (ja) 2006-03-16 2006-03-16 ハイブリッド車両
KR1020087025177A KR101013469B1 (ko) 2006-03-16 2006-11-14 하이브리드 차량
PCT/JP2006/323069 WO2007108166A1 (ja) 2006-03-16 2006-11-14 ハイブリッド車両
US12/224,177 US7823669B2 (en) 2006-03-16 2006-11-14 Hybrid vehicle
CN2006800538766A CN101400557B (zh) 2006-03-16 2006-11-14 混合动力车辆
EP06823470A EP1995143B1 (en) 2006-03-16 2006-11-14 Hybrid vehicle

Applications Claiming Priority (1)

Application Number Priority Date Filing Date Title
JP2006072834A JP4497113B2 (ja) 2006-03-16 2006-03-16 ハイブリッド車両

Publications (2)

Publication Number Publication Date
JP2007245946A JP2007245946A (ja) 2007-09-27
JP4497113B2 true JP4497113B2 (ja) 2010-07-07

Family

ID=38522204

Family Applications (1)

Application Number Title Priority Date Filing Date
JP2006072834A Expired - Fee Related JP4497113B2 (ja) 2006-03-16 2006-03-16 ハイブリッド車両

Country Status (6)

Country Link
US (1) US7823669B2 (ja)
EP (1) EP1995143B1 (ja)
JP (1) JP4497113B2 (ja)
KR (1) KR101013469B1 (ja)
CN (1) CN101400557B (ja)
WO (1) WO2007108166A1 (ja)

Families Citing this family (38)

* Cited by examiner, † Cited by third party
Publication number Priority date Publication date Assignee Title
JP4492672B2 (ja) * 2007-10-31 2010-06-30 トヨタ自動車株式会社 ハイブリッドシステムの制御装置
US8556011B2 (en) * 2007-11-01 2013-10-15 GM Global Technology Operations LLC Prediction strategy for thermal management and protection of power electronic hardware
JP5099431B2 (ja) * 2008-02-15 2012-12-19 アイシン・エィ・ダブリュ株式会社 インバータユニット
JP2010213434A (ja) * 2009-03-10 2010-09-24 Toyota Motor Corp 電動機制御装置および冷却装置
US20100230189A1 (en) * 2009-03-13 2010-09-16 Gm Global Technology Operrations, Inc. Cooling system for a vehicle
JP4911206B2 (ja) * 2009-08-31 2012-04-04 トヨタ自動車株式会社 車両の制御装置および制御方法
EP2308708B1 (de) * 2009-09-16 2016-08-17 swissauto powersport llc Elektrofahrzeug mit Reichweitenverlängerung
US8662968B2 (en) * 2010-04-30 2014-03-04 GM Global Technology Operations LLC Air-based hybrid battery thermal conditioning system
KR20120036134A (ko) * 2010-10-07 2012-04-17 현대자동차주식회사 하이브리드 차량의 냉각시스템
US8742701B2 (en) 2010-12-20 2014-06-03 Cummins Inc. System, method, and apparatus for integrated hybrid power system thermal management
JP2012139000A (ja) * 2010-12-24 2012-07-19 Aisin Aw Co Ltd 車両用駆動装置
US9096207B2 (en) 2010-12-31 2015-08-04 Cummins Inc. Hybrid vehicle powertrain cooling system
JP5760215B2 (ja) * 2011-01-24 2015-08-05 株式会社 神崎高級工機製作所 作業車両の車軸駆動装置
JP5261514B2 (ja) * 2011-02-10 2013-08-14 トヨタ自動車株式会社 電力制御装置の搭載構造
US9132725B2 (en) 2011-05-09 2015-09-15 Cummins Inc. Vehicle and hybrid drive system
CN102297009A (zh) * 2011-07-22 2011-12-28 奇瑞汽车股份有限公司 一种混合动力车冷却系统
US9475574B2 (en) 2011-09-14 2016-10-25 Borealis Technical Limited Heat dissipation system for aircraft drive wheel drive assembly
JP5790394B2 (ja) * 2011-10-14 2015-10-07 トヨタ自動車株式会社 電気自動車
WO2013073390A1 (ja) * 2011-11-14 2013-05-23 本田技研工業株式会社 電気自動車
JP5299576B1 (ja) * 2011-12-15 2013-09-25 トヨタ自動車株式会社 ハイブリッド車両の制御装置
JP5758820B2 (ja) * 2012-02-22 2015-08-05 トヨタ自動車株式会社 回転電機冷却システム
US8978803B2 (en) 2012-06-11 2015-03-17 GM Global Technology Operations LLC Divided dual inlet housing for an air-based hybrid battery thermal conditioning system
US10460865B2 (en) 2012-11-09 2019-10-29 Ford Global Technologies, Llc Inductor assembly
US9581234B2 (en) 2012-11-09 2017-02-28 Ford Global Technologies, Llc Liquid cooled power inductor
US9543069B2 (en) 2012-11-09 2017-01-10 Ford Global Technologies, Llc Temperature regulation of an inductor assembly
US9892842B2 (en) 2013-03-15 2018-02-13 Ford Global Technologies, Llc Inductor assembly support structure
US9869219B2 (en) * 2012-11-19 2018-01-16 Castrol Limited Apparatus and method
US9631872B2 (en) * 2013-02-04 2017-04-25 GM Global Technology Operations LLC Multi-circuited vehicular thermal management system and method
US9126581B2 (en) * 2013-05-08 2015-09-08 GM Global Technology Operations LLC Hybrid powertrain and modular rear drive unit for same
DE102014103471A1 (de) * 2014-03-14 2015-09-17 Dr. Ing. H.C. F. Porsche Aktiengesellschaft Elektrischer Aktuator
US10183694B1 (en) 2014-08-28 2019-01-22 Hydro-Gear Limited Partnership Electric transaxle with integral power generating device
US9828025B1 (en) * 2014-08-28 2017-11-28 Hydro-Gear Limited Partnership Electric transaxle with integral power generating device
JP6394770B1 (ja) * 2017-08-30 2018-09-26 トヨタ自動車株式会社 車両
DE102018213990B3 (de) 2018-08-20 2019-09-05 Magna Pt B.V. & Co. Kg Hybridgetriebe
CN109878325A (zh) * 2018-12-29 2019-06-14 北京新能源汽车技术创新中心有限公司 电动车冷却系统、电动车及电动车冷却系统控制方法
JP7392592B2 (ja) * 2020-07-01 2023-12-06 マツダ株式会社 車両
DE102022103357B4 (de) 2022-02-14 2023-10-05 Dr. Ing. H.C. F. Porsche Aktiengesellschaft Kraftfahrzeug
DE102023114297A1 (de) 2023-05-31 2024-12-05 Dr. Ing. H.C. F. Porsche Aktiengesellschaft Kraftfahrzeug

Family Cites Families (18)

* Cited by examiner, † Cited by third party
Publication number Priority date Publication date Assignee Title
JPH04275492A (ja) * 1991-03-04 1992-10-01 Toyota Motor Corp 電気自動車の電力変換手段冷却装置
JPH05310048A (ja) * 1992-05-01 1993-11-22 Aqueous Res:Kk 車両用駆動装置
DE4327261C1 (de) * 1993-08-13 1994-10-13 Daimler Benz Ag Kühlmittelkreislauf
DE4433836C1 (de) * 1994-09-22 1995-11-09 Daimler Benz Ag Vorrichtung zur Beheizung eines Innenraumes eines Elektrofahrzeuges
JP3385373B2 (ja) * 1994-10-31 2003-03-10 アイシン・エィ・ダブリュ株式会社 モ−タの冷却回路
JPH08196002A (ja) * 1995-01-12 1996-07-30 Nissan Motor Co Ltd 電気自動車の冷却装置
DE19532164A1 (de) 1995-08-31 1997-03-06 Clouth Gummiwerke Ag Antriebssystem, insbesondere für ein Kraftfahrzeug, und Verfahren zum Betreiben desselben
JP3292080B2 (ja) * 1997-02-25 2002-06-17 日産自動車株式会社 ハイブリッド電気自動車の冷却装置
JP3700383B2 (ja) * 1998-03-26 2005-09-28 日産自動車株式会社 ハイブリッド車両の冷却装置
US6450275B1 (en) * 2000-11-02 2002-09-17 Ford Motor Company Power electronics cooling for a hybrid electric vehicle
JP3705193B2 (ja) * 2001-12-03 2005-10-12 日産自動車株式会社 ハイブリッド車両の駆動装置
US6664751B1 (en) * 2002-06-17 2003-12-16 Ford Motor Company Method and arrangement for a controlling strategy for electronic components in a hybrid electric vehicle
US20040045749A1 (en) * 2002-09-06 2004-03-11 Ford Global Technologies, Inc. Cooling system and method for a hybrid electric vehicle
JP4059044B2 (ja) * 2002-09-13 2008-03-12 日産自動車株式会社 車両の制御装置
JP2005117790A (ja) * 2003-10-08 2005-04-28 Toyota Motor Corp 駆動装置およびこれを搭載する自動車
CN100410095C (zh) * 2004-06-10 2008-08-13 株式会社电装 用于混合动力汽车的冷却系统
DE102005047653B4 (de) * 2005-10-05 2021-08-19 Volkswagen Ag Hybridantriebseinheit mit Niedertemperatur-Kreislauf
US7377237B2 (en) * 2006-09-13 2008-05-27 Cummins Power Generation Inc. Cooling system for hybrid power system

Also Published As

Publication number Publication date
US7823669B2 (en) 2010-11-02
EP1995143A4 (en) 2011-05-04
KR101013469B1 (ko) 2011-02-14
JP2007245946A (ja) 2007-09-27
US20090195093A1 (en) 2009-08-06
CN101400557A (zh) 2009-04-01
EP1995143A1 (en) 2008-11-26
KR20080109851A (ko) 2008-12-17
WO2007108166A1 (ja) 2007-09-27
CN101400557B (zh) 2012-02-22
EP1995143B1 (en) 2012-04-18

Similar Documents

Publication Publication Date Title
JP4497113B2 (ja) ハイブリッド車両
EP3517335B1 (en) Electric vehicle
JP5433387B2 (ja) 車両用機器冷却暖房システム
JP4888558B2 (ja) 回転電機の冷却構造
JP5331666B2 (ja) 電動車両の冷却システム
WO2008041761A1 (en) Vehicle drive device
WO2008032837A1 (en) Drive device for vehicle
WO2007049799A1 (ja) 車両の駆動装置
JP2011125121A (ja) モータの暖気制御
GB2509308A (en) Heat transfer arrangement for heating battery
JP5206131B2 (ja) 冷却装置
JP2013193511A (ja) 車両制御システム
JP2008092727A (ja) 車両の駆動装置
JP5985844B2 (ja) 車両制御システム
JP7035559B2 (ja) 電動車両
JP2009040320A (ja) 冷却システム
JP5228545B2 (ja) 超電導モータ装置及び電動車両
JP2009040321A (ja) 車両用駆動装置の冷却構造および車両
JP2007131235A (ja) ハイブリッド車両の駆動装置
JP2015105088A (ja) 車両用制御装置の冷却装置
JP2008260374A (ja) 車両に搭載された電気機器の冷却装置
JP2025099930A (ja) 冷却回路モジュール
JP5876290B2 (ja) 車両制御システム
WO2024204540A1 (ja) 車両用電動駆動装置

Legal Events

Date Code Title Description
A621 Written request for application examination

Free format text: JAPANESE INTERMEDIATE CODE: A621

Effective date: 20080616

A131 Notification of reasons for refusal

Free format text: JAPANESE INTERMEDIATE CODE: A131

Effective date: 20081209

A521 Request for written amendment filed

Free format text: JAPANESE INTERMEDIATE CODE: A523

Effective date: 20090205

A02 Decision of refusal

Free format text: JAPANESE INTERMEDIATE CODE: A02

Effective date: 20091020

A521 Request for written amendment filed

Free format text: JAPANESE INTERMEDIATE CODE: A523

Effective date: 20100120

A911 Transfer to examiner for re-examination before appeal (zenchi)

Free format text: JAPANESE INTERMEDIATE CODE: A911

Effective date: 20100129

TRDD Decision of grant or rejection written
A01 Written decision to grant a patent or to grant a registration (utility model)

Free format text: JAPANESE INTERMEDIATE CODE: A01

Effective date: 20100323

A01 Written decision to grant a patent or to grant a registration (utility model)

Free format text: JAPANESE INTERMEDIATE CODE: A01

A61 First payment of annual fees (during grant procedure)

Free format text: JAPANESE INTERMEDIATE CODE: A61

Effective date: 20100405

FPAY Renewal fee payment (event date is renewal date of database)

Free format text: PAYMENT UNTIL: 20130423

Year of fee payment: 3

R151 Written notification of patent or utility model registration

Ref document number: 4497113

Country of ref document: JP

Free format text: JAPANESE INTERMEDIATE CODE: R151

FPAY Renewal fee payment (event date is renewal date of database)

Free format text: PAYMENT UNTIL: 20130423

Year of fee payment: 3

LAPS Cancellation because of no payment of annual fees