JP4472002B2 - 電気的接続装置 - Google Patents

電気的接続装置 Download PDF

Info

Publication number
JP4472002B2
JP4472002B2 JP2007514428A JP2007514428A JP4472002B2 JP 4472002 B2 JP4472002 B2 JP 4472002B2 JP 2007514428 A JP2007514428 A JP 2007514428A JP 2007514428 A JP2007514428 A JP 2007514428A JP 4472002 B2 JP4472002 B2 JP 4472002B2
Authority
JP
Japan
Prior art keywords
contact
recess
electrical connection
elastic body
frame member
Prior art date
Legal status (The legal status is an assumption and is not a legal conclusion. Google has not performed a legal analysis and makes no representation as to the accuracy of the status listed.)
Expired - Lifetime
Application number
JP2007514428A
Other languages
English (en)
Other versions
JPWO2006114895A1 (ja
Inventor
衛知 大里
良仁 後藤
Current Assignee (The listed assignees may be inaccurate. Google has not performed a legal analysis and makes no representation or warranty as to the accuracy of the list.)
Micronics Japan Co Ltd
Original Assignee
Micronics Japan Co Ltd
Priority date (The priority date is an assumption and is not a legal conclusion. Google has not performed a legal analysis and makes no representation as to the accuracy of the date listed.)
Filing date
Publication date
Application filed by Micronics Japan Co Ltd filed Critical Micronics Japan Co Ltd
Publication of JPWO2006114895A1 publication Critical patent/JPWO2006114895A1/ja
Application granted granted Critical
Publication of JP4472002B2 publication Critical patent/JP4472002B2/ja
Anticipated expiration legal-status Critical
Expired - Lifetime legal-status Critical Current

Links

Images

Classifications

    • HELECTRICITY
    • H01ELECTRIC ELEMENTS
    • H01RELECTRICALLY-CONDUCTIVE CONNECTIONS; STRUCTURAL ASSOCIATIONS OF A PLURALITY OF MUTUALLY-INSULATED ELECTRICAL CONNECTING ELEMENTS; COUPLING DEVICES; CURRENT COLLECTORS
    • H01R13/00Details of coupling devices of the kinds covered by groups H01R12/70 or H01R24/00 - H01R33/00
    • H01R13/02Contact members
    • H01R13/22Contacts for co-operating by abutting
    • H01R13/24Contacts for co-operating by abutting resilient; resiliently-mounted
    • H01R13/2435Contacts for co-operating by abutting resilient; resiliently-mounted with opposite contact points, e.g. C beam
    • HELECTRICITY
    • H01ELECTRIC ELEMENTS
    • H01RELECTRICALLY-CONDUCTIVE CONNECTIONS; STRUCTURAL ASSOCIATIONS OF A PLURALITY OF MUTUALLY-INSULATED ELECTRICAL CONNECTING ELEMENTS; COUPLING DEVICES; CURRENT COLLECTORS
    • H01R12/00Structural associations of a plurality of mutually-insulated electrical connecting elements, specially adapted for printed circuits, e.g. printed circuit boards [PCB], flat or ribbon cables, or like generally planar structures, e.g. terminal strips, terminal blocks; Coupling devices specially adapted for printed circuits, flat or ribbon cables, or like generally planar structures; Terminals specially adapted for contact with, or insertion into, printed circuits, flat or ribbon cables, or like generally planar structures
    • H01R12/70Coupling devices
    • H01R12/82Coupling devices connected with low or zero insertion force
    • H01R12/85Coupling devices connected with low or zero insertion force contact pressure producing means, contacts activated after insertion of printed circuits or like structures
    • H01R12/88Coupling devices connected with low or zero insertion force contact pressure producing means, contacts activated after insertion of printed circuits or like structures acting manually by rotating or pivoting connector housing parts
    • HELECTRICITY
    • H01ELECTRIC ELEMENTS
    • H01RELECTRICALLY-CONDUCTIVE CONNECTIONS; STRUCTURAL ASSOCIATIONS OF A PLURALITY OF MUTUALLY-INSULATED ELECTRICAL CONNECTING ELEMENTS; COUPLING DEVICES; CURRENT COLLECTORS
    • H01R2201/00Connectors or connections adapted for particular applications
    • H01R2201/20Connectors or connections adapted for particular applications for testing or measuring purposes

Landscapes

  • Measuring Leads Or Probes (AREA)
  • Testing Of Individual Semiconductor Devices (AREA)
  • Connecting Device With Holders (AREA)
  • Coupling Device And Connection With Printed Circuit (AREA)

Description

本発明は、集積回路のような半導体装置の通電試験に補助装置として用いるのに好適な電気的接続装置に関する。
パッケージやモールド等によって封止された集積回路(IC)の電気的特性の検査には、一般的に、ソケットと称される電気的接続装置からなる検査用補助装置が用いられている。被検査体である半導体装置の各電極は、この電気的接続装置を介して、テスタのような検査装置の電気回路に取り外し可能に接続される。この電気的接続装置に、特許文献1及び2に記載の装置がある。
特開平11−31566号公報 特開2003−297506号公報
特許文献1および2に記載の電気的接続装置は、中央部に被検査体を受け入れるための凹所が形成されたフレームを備える。フレームには、プローブと称される多数の接触子が該接触子を弾性支持するための棒状の弾性体を介して、フレームの下面から組み込まれている。各接触子は、前記凹所の底面に形成されたスロットから先端部を前記凹所内に突出させるように、前記凹所底面の各辺の伸長方向へ互いに間隔をおいて、配列されている。被検査体である半導体装置は、その電極が対応する接触子の先端に当接するように、凹所内に装着される。この凹所に装着された前記半導体装置に前記凹所の底部へ向けての押圧力が付与されると、前記弾性体に支持された各接触子は、前記フレームの下面に取り付けられた配線基板の対応する導電路に押圧される。この配線基板の各導電路は、検査装置であるテスタの対応する接続端子に接続されており、各接触子は、テスタの電気回路と被検査体の各電極とを接続することにより、テスタでの所定の電気的な検査が可能となる。
ところで、従来の前記電気的接続装置の組み立て工程では、各接触子を弾性支持するための棒状の弾性体は、フレームの下面への前記配線基板の取付けに先だって、フレームの下部に形成されかつ下方に開放する凹部内に挿入される。凹部内に挿入された前記弾性体は、その両端が前記凹部の両端壁に支持されることにより、所定箇所に保持される。この弾性体のフレームへの組み付け後、弾性体を受け入れるための受入れ部が形成された多数の接触子は、それぞれの前記受入れ部が弾性体に嵌合するように、フレームの下面より対応するスロットを経てフレーム内に差し込まれる。これら接触子の組み付け後、フレームの下面に弾性体を収容する凹部の開放端を閉鎖するように、配線基板が取り付けられ、これにより、各接触子が配線基板の対応する導電路に接続される。
しかしながら、接触子が破損を生じ、この破損を生じた接触子を新たな接触子に取り替えるような場合、この接触子の取り替えのために、フレームから配線基板を取り外す必要がある。この取り外した配線基板をこれに形成された多数の導電路が多数の接触子に整合するように、再びフレームの下面に正しく取り付ける作業は容易ではない。
また、配線基板をフレームから取り外した状態では、多数の接触子が取り付けられた前記弾性体を収容する前記凹部は下方に開放されることから、両端が弾性的に支持された前記弾性体にたわみが生じると、その両端が支持部から抜け落ちるおそれがある。この弾性体の凹部からの脱落は、該弾性体に支持されている全ての接触子の脱落を意味する。そのため、接触子の取り替え作業では、配線基板をフレームから取り外している間、弾性体が所定箇所から脱落しないような慎重な取り扱いが必要になる。
さらに、配線基板は、テスタの種類あるいはテスタによる検査内容に応じて取り替える必要があり、この配線基板の取り替え毎に多数の接触子を保持する弾性体がフレームから脱落することの無いような慎重な取り扱いが必要となる。
そこで、本発明の目的は、接触子の取り替え作業が従来に比較して容易な電気的接続装置を提供することにある。
また、本発明の他の目的は、配線基板を取り外すことなく接触子の取り替えが可能な電気的接続装置を提供することにある。
本発明は、複数の電極が設けられた被検査体を受け入れる凹所を有するフレーム部材と、前記電極に対応して設けられる複数の接触子と、前記フレーム部材の前記凹所の底部に形成され、前記各接触子の先端を対応する前記電極に当接可能に前記接触子を受け入れるべく、相互に並列的に配列された複数のスロットと、前記凹所内の前記底部上で前記スロットを横切って配置され前記接触子を弾性的に保持する弾性部材と、前記フレーム部材上に装着され、前記フレーム部材との間で前記弾性体を挟持するキャップ部材とを含み、対応する前記接触子に結合される前記弾性部材は、その両端が前記凹所の底部に形成された浅溝上に乗ることに加えて、該両端間が前記底部の前記スロット間に位置する梁部分上に乗る。
さらに、フレーム部材の下面に前記接触子に対応した配線部が形成された配線基板を固定することができる。
また、前記各接触子の後端に、前記スロットの対応する端縁に係止可能の脱落防止部を設けることができる。
前記各接触子に、前記弾性体の圧入を許す嵌合凹部を形成し、該嵌合凹部への前記弾性体の圧入により該弾性体と前記各接触子とを弾性的に結合することができる。この嵌合凹所の形状は、前記弾性体の弾性によって両者の結合が維持できる限り、該弾性体の横断面形状に応じて、矩形、円弧あるいは多角形等の種々の形状を適用することができる。
前記接触子は、前記弾性体の弾性力を受ける。前記接触子が前記被検査体の前記電極から押圧力を受けないとき、この弾性力により、接触子の先端を前記スロットから前記凹所内に突出させて保持させることができる。
前記接触子の前記配線部に当接する当接部分を曲面とすることができる。
前記凹所を矩形平面形状とし、前記キャップ部材を前記凹所に嵌合する矩形の平面形状を有する環状部材で構成することができる。また、前記環状部材の前記弾性部材が当接する面には、前記電極からの押圧力による前記弾性体の剪断変形を伴う前記接触子の前記当接部分の前記配線部上での過度の移動を抑制すべく、前記弾性体の剪断変形を抑制するための段部を形成することができる。
前記キャップ部材の上方内縁部に、前記被検査体の前記電極と該電極に対応する前記接触子の前記先端とが対応する検査位置へ前記被検査体を案内するためのガイド面を形成することができる。
本発明に係る電気的接続装置では、接触子を弾性的に保持する弾性部材は、フレーム部材上で各接触子を受け入れるスロットを横切って配置され、従来のように弾性部材を収容するフレーム部材内の空間に弾性部材の落下を許す開放部が形成されないことから、前記フレーム部材との間で前記弾性部材を挟持するキャップ部材をフレーム部材から取り外しても、該フレーム部材上でスロットを横切って配置された弾性体は従来のように下方に落下することはなく、該弾性体に保持された接触子も確実にフレーム部材内に保持される。
そのため、フレーム部材上の所定箇所に配置された弾性部材をこれに保持された多数の接触子と共にフレーム部材の上方から取り出し、取り替えが必要な接触子を弾性部材から取り外し、新たな接触子に差し替えた後、この弾性部材を前記フレーム部材の上方からその所定箇所に配置し、その後、前記キャップ部材を前記フレーム部材に取り付けることにより、接触子の取り替え作業を終えることができる。
したがって、この接触子の取り替え作業では、従来のような弾性部材の不意の脱落を生じることはなく、接触子を従来に比較して容易に取り替えることができる。
また、配線基板をフレーム部材に取り付けた状態で、接触子の取り替え作業が可能となることから、接触子の取り替え作業毎の配線基板の取り外し及び取付け作業が不要になり、これにより、迅速かつ容易な接触子の取り替え作業が可能となる。
前記各接触子に、前記スロットの端縁に係止可能の脱落防止部を設けることにより、接触子の不意の脱落をより確実に防止することができる。
また、前記各接触子に形成された嵌合凹部と前記弾性体との嵌合により両者を確実かつ容易に結合することができる。
前記接触子が前記被検査体の前記電極から押圧力を受けない無負荷時に、前記先端を前記スロットから前記凹所内に突出させて保持することにより、被検査体が凹所底部へ向けて押圧力を受けたとき、該被検査体の電極と対応する接触子との確実な電気的接触を得ることができる。
前記接触子の前記当接部を曲面とすることにより、該当接部と配線基板上の配線部との当接による損傷を防止し、接触子および配線部の両者の耐久性の向上を図ることができる。
また、前記弾性体の剪断変形を伴う前記接触子の前記配線部上での過度の移動を抑制することにより、前記弾性体の耐久性の向上と共に、接触子が摺動することによる前記配線部の劣化の促進を抑制することができる。
また、前記キャップ部材の上方内縁部に被検査体を案内するためのガイド面を形成することにより、被検査体を所定の正しい姿勢で前記凹所内に位置させることができ、検査の正確かつ迅速な進行を促進することができる。
本発明に係る電気的接続装置を分解して示す斜視図である。 図1に示したフレーム部材へのプローブ組立体の組み付け工程を示す斜視図である。 図2に示したプローブ組立体の弾性体と接触子との結合状態を示す正面である。 図2に示したプローブ組立体が組み付けられたフレーム部材の平面図である。 図4に示した線V-Vに沿って得られた断面図である。 プローブ組立体の組み付け後にキャップ部材が装着されたフレーム部材の平面図である。 図6に示した線VII-VIIに沿って得られた断面図である。 本発明に係る電気的接続装置の使用状態を拡大してその一部を示す断面図である。 本発明に係る他の実施例を示す図3と同様な図面である。 本発明に係るさらに他の実施例を示す図3と同様な図面である。 本発明に係るさらに他の実施例を示す接触子の斜視図である。
本発明に係る電気的接続装置10は、図1に示すように、全体に矩形の平面形状を有する板状のフレーム部材12と、該フレーム部材に組み込まれる多数のプローブと称される接触子14と、複数の接触子14がそれぞれに結合される複数の棒状の弾性部材16と、ボルト18を介してフレーム部材12に取り外し可能に固定される全体に矩形の環状部材からなるキャップ部材20とを備える。
フレーム部材12は、例えば合成樹脂材料のような非導電性材料からなり、中央部には上方に開放する矩形平面形状を有する凹所22が形成され、フレーム部材12の上面12aには、凹所22の開放縁部を取り巻き、該凹所の口径よりも大きくかつ凹所22と相似形を有する矩形の拡大開口24が形成されている。この拡大開口24は、キャップ部材20の外形よりもわずかに大きな平面形状を有し、かつキャップ部材20を収容するに十分な深さ寸法を有することから、キャップ部材20を受け入れる嵌合穴として機能する(図7参照)。
凹所22の矩形底部22aには、凹所22の各辺の近傍から凹所22の中央部へ向けて対応する各辺と直角に伸長する複数のスロット26が、底部22aの各辺の伸長方向へ相互に間隔をおくように、整列して配置されている。各スロット26は、底部22aの上面からフレーム部材12の下面12bに貫通して形成されている。
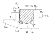
図2に拡大して示すように、各スロット26の外端が凹所22の直立周壁22bから間隔Wをおくことにより、凹所22の底部22aには、スロット26の外端に近接して幅寸法Wを有する段部28が形成されている。この段部28は、各スロット26の外方端部に位置することから、各スロット26の端縁を構成する。また、スロット26の列には、各スロット列の外端近傍で各スロット26を横切る弧状の横断面形状を有する浅溝30が形成されている。図示の例では、凹所22の底部22aには、該底部の各辺に沿って4本の浅溝30が形成されている。各浅溝30の両端は、対応するスロット群の各スロット26を横切り、各スロット群の最外方に位置するスロット26を越えて該スロットの幅方向外方へ伸長する。
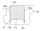
弾性部材16は、例えばゴムからなる。弾性部材16は、図3に示すように、その横断面で見て、浅溝30の円弧形状に対応した半円の円形底面16aを有し、また平坦な頂面16bおよび該頂面から下方に伸びそれぞれが前記した円形底面16aに至る一対の垂直側面16c、16cを有する。
弾性部材16に結合される各接触子14は、従来よく知られているように、導電性金属部材からなる。接触子14の上方へ向けて立ち上がる先端14aが、後述するように、スロット26から上方へ向けて突出可能に、また接触子14の下縁がスロット26に受け入れられるように、複数の接触子14が各スロット26に対応して弾性部材16の長手方向へ所定の間隔をおくように、各弾性部材16に結合されている。
この弾性部材16との結合のために、各接触子14の上縁には、接触子14の後端の近傍で上方に開放する円形の嵌合凹部32が形成されている。この嵌合凹部32は、弾性部材16の円弧底部16aの半円領域を越える角度領域を覆うように形成されている。そのため、嵌合凹部32を弾性部材16の円弧底部16aに嵌合させたとき、弾性部材16の両垂直側面16cのそれぞれに寸法tの締め代が与えられ、この締め代tにより、弾性部材16とこれに結合さる各接触子14とを弾性部材16の弾性によって確実に結合することができる。
各接触子14の上縁には、該接触子の後端から突出する張出し部14bが形成されている。この張出し部14bは、後述するように、接触子14をフレーム部材12に組み込んだときに、各スロット26の端縁、すなわち図2に示した段部28に沿って該段部の上方をその幅方向へ突出する。
また、接触子14は、後端部近傍に、嵌合凹部32が設けられた上縁にほぼ平行な水平下縁部14cを有し、この水平縁部は曲率半径Rの曲面14dを経て傾斜下縁部14eに連なる。傾斜下縁部14eは、曲面14dから先端14aへ向けて仰角をもって伸長する。
図3に示したように、所定数の接触子14が、それぞれの嵌合凹部32と各弾性部材16の円形底面16aとの嵌合によって、該弾性部材16に整列して結合されると、図2に示したように、プローブ組立体(14、16)が構成される。このプローブ組立体(14、16)は、これを構成する各接触子14がそれぞれのスロット26に受け入れられかつ弾性部材16がその円形底面16aを浅溝30に受け入れられるように、フレーム部材12の上面12aより、フレーム部材12の凹所22内のスロット26および浅溝30内に落とし込まれる。これによりプローブ組立体(14、16)がフレーム部材12に組み付けられる。各プローブ組立体(14、16)のフレーム部材12への組み付け後の状態が図4および図5に示されている。
図5に示すように、対応する接触子14に結合される弾性部材16は、その両端が凹所22の底部22aに形成された浅溝30上に乗ることに加えて、その両端間が底部22aのスロット26間に位置する梁部分22aa上に乗り、これらによって支持されていることから、弾性部材16が凹所22の下方に脱落することはなく、浅溝30内に確実に保持される。したがって、電気的接続装置10のこのプローブ組立体の組み付け工程で、弾性部材16およびこれに保持された接触子14が弾性部材16と一体的にフレーム部材12から不意に下方に脱落することはない。
各プローブ組立体(14、16)のフレーム部材12への組み付け後、図6および図7に示すように、フレーム部材12のねじ穴18a(図4参照)に螺合するボルト18によって、例えばフレーム部材12と同様な合成樹脂材料から成るキャップ部材20がフレーム部材12の拡大開口24に固定される。このキャップ部材20の位置決めのために、拡大開口24の段部には位置決めピン34が設けられている。位置決めピン34がキャップ部材20に形成されたピン穴34aに受け入れられるように、キャップ部材20を拡大開口24内に配置することにより、図6に明確に示されているように、その内縁から各接触子14の先端14aを適正に露出させるように、キャップ部材20を正しい姿勢でフレーム部材12に結合することができる。
また、フレーム部材12へのキャップ部材20の取付けにより、フレーム部材12の浅溝30とキャップ部材20の下面20a(図7及び図8参照)との間で、各弾性部材16が挟持される。
キャップ部材20の内縁の上部には、図7に示すように、被検査体である矩形平面形状を有するICのような半導体装置36を下方の凹所22の底部22aへ向けて案内する傾斜面20bが面取加工により形成されている。
キャップ部材20の取付け後、図7および図8に示すように、フレーム部材12の下面12bに配線基板38が固定される。図示の例では、フレーム部材12に形成されたねじ穴40aに螺合するボルト40によって、配線基板38がフレーム部材12に固定されている。
図8は、フレーム部材12の上面12aおよび下面12bにキャップ部材20および配線基板38がそれぞれ取り付けられた状態を示す。配線基板38の上面には、従来よく知られているように、図示しないテスタのような試験装置の電気回路にそれぞれ接続される導電路からなる複数の配線部38aが形成されており、各配線部38aに対応して接触子14が整列する。
凹所22の底部22aに半導体装置36が配置されていない状態では、各接触子14は、図8に仮想線で示すように、弾性部材16の弾性により、その水平下縁部14cが対応する配線部38aに当接するように、保持されている。また、この状態では、先端14aは凹所22の底部22aの表面から大きく上方に突出して保持され、張出し部14bは段部28すなわちスロット26の端縁28上に乗る。張出し部14bが端縁28に張り出すことから、たとえば弾性部材16の変形によって該弾性体と接触子14の嵌合凹部32との嵌合がたとえ緩んでも、張出し部14bと端縁28との係合により、接触子14のこれに対応するスロット26からの抜け落ちが確実に防止される。したがって、張出し部14bは接触子14の脱落防止部として機能する。
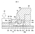
半導体装置36がその下面に設けられた電極36aを下方に向けてキャップ部材20の上方から凹所22の底部22aへ向けて落とし込まれると、キャップ部材20の傾斜面20bの案内作用により、半導体装置36は各電極36aが対応する接触子14の先端14aに当接する位置に確実に案内され、半導体装置36に図8に矢印42で示す押圧力が作用すると、この押圧力は接触子14にモーメント力として作用する。
このモーメント力により、弾性部材16に弾性的に保持された接触子14は、その下縁に形成されかつ配線部38aに当接する曲面14dの部分を支点として図8で見て反時計方向へわずかに回転を生じる。この回転に伴い、接触子14の配線部38aへの接触部分(14d)は接触子14の先端14aへ向けて移動すると共に、接触子14は、全体的に図中右方へわずかな変位を生じる。このわずかな変位は、スロット26の外端壁26aにより規制されることから、弾性部材16にその一方の垂直側面16cから図中横方向の剪断力を生じさせる。しかしながら、弾性部材16の頂面16bを受けるキャップ部材20の下面20aには、弾性部材16の他方の垂直側面16cを受ける段部20cが形成されていることから、弾性部材16の過度の剪断変形が抑制される。これにより、弾性部材16の弾性によって接触子14を図示の仮想線の姿勢から図中実線で示す姿勢への適正な揺動ストロークを確保することができ、また接触子14の配線部38a上での過度の摺動が抑制されることから、接触子14の先端14aと半導体装置36の電極36aとの接続および接触子14の接触部分(14d)と配線基板38の配線部38aとの接続をそれぞれ確実になしかつ接触子14の接触部分(14d)および配線部38aの摩耗および損傷を抑制することができる。
曲面14dを不要とすることができるが、配線部38aへの損傷を確実に防止する上で、接触子14の支点となる部分(14d)を曲面とすることが望ましい。
また、接触子14の揺動時に、図8に実線で示すとおり、嵌合凹部32の周壁と弾性部材16の前記他方の垂直側面16cとの間に間隙が生じ、それにより弾性部材16と接触子14との嵌合に緩みが生じても、張出し部14bの脱落防止作用により、接触子14のスロット26からの脱落が確実に防止される。
前記接触子14を介する半導体装置36の電極36aと前記テスタの電気回路に接続された配線基板38の配線部38aとの接続により、半導体装置36が所定の電気的検査を受ける。
電気的接続装置10の接触子14に欠損等の不具合が生じると、被検査体である半導体装置36を電気的接続装置10から除去した後、不具合を生じた接触子14を取り替えることができる。この接触子14の取り替えのために、ボルト18が緩められ、ボルト18と共に、キャップ部材20がフレーム部材12の拡大開口24から取り除かれる。
これにより、図4に示したように、フレーム部材12の凹所22に各プローブ組立体(14、16)が露出する。このうち、不具合な接触子14を含むプローブ組立体(14、16)が、図2に示すように、拡大開口24の上方に引き上げられ、その不具合を生じた接触子14が正常なそれに取り替えられる。接触子14の取り替え後、正常な接触子14に取り替えられたプローブ組立体(14、16)は、その弾性部材16が所定の浅溝30に嵌合しかつ各接触子14が対応するスロット26に嵌合するように、所定箇所に配置される。その後、前記したとおり、ボルト18によってキャップ部材20がフレーム部材12に固定され、これにより接触子14の取り替え作業が終わる。
このように、接触子14の取り替えに、配線基板38をフレーム部材12から取り外す必要がないので、各接触子14の水平下縁部14cと配線基板38の対応する配線部38aとの整合作業を必要とする配線基板38の取付け作業が不要となり、接触子14の交換作業の効率が著しく向上する。
また、例えば配線基板38の取り替えのために、フレーム部材12から配線基板38を取り外した状態であっても、弾性部材16がフレーム部材12から脱落するおそれがないので、配線基板38の取り替え作業が従来に比較して容易に行える。
接触子14の取り換えのために、従来と同様に配線基板38を取り外し、各スロット26から不具合を生じた接触子14を抜き出し、これに代えて正常な接触子14をスロット26を経てフレーム部材12内に差し入れることができる。しかしながら、前記したように、フレーム部材12の上方からプローブ組立体(14、16)毎、フレーム部材12から取り出して不具合の接触子14を正常なものに差し替えることが、取り替え作業の迅速化の点で望ましい。
また、電気的接続装置10を組み立てる場合においても、フレーム部材12の下面12bに配線基板38を取り付けた後、各プローブ組立体(14、16)をフレーム部材12内に配置し、その後、フレーム部材12の拡大開口24にキャップ部材20を取り付けることが望ましい。このような組み立て手順を経ることにより、フレーム部材12へのプローブ組立体(14、16)の組み付け前に、スロット26を通して配線基板38の配線部38a位置を目視により確認することができるので、配線基板38の適正な取付けが容易に行える。
弾性部材16に代えて、図9および図10に示すような矩形断面形状および円形断面形状を有する弾性部材116、216をそれぞれ用いることができる。この場合、接触子14の嵌合凹部132、232には、図9、10に示すように、各弾性部材116、216の形状に対応した形状がそれぞれ与えられる。図9に示す例では、図3に示したと同様な締め代tが与えられており、これにより弾性部材116と接触子14との弾性的結合が確保されている。また、図10に示す例では、嵌合部232に弾性部材216の半円を越える円周領域が与えられており、この円周領域の締め付けにより、弾性部材216と接触子14との弾性的結合が確保されている。
また、図示しないが、浅溝30は、図9および図10に示すような弾性部材116、216を受け入れるために、これに適合した断面形状が与えられる。
本発明に係る接触子14として、図11に示すように、ケルビン接触子14を用いることができる。ケルビン接触子14は、従来よく知られているように、配線基板38上の一対の配線部138aに対応して、一対の導電層114aと、該両導電層間に配置された電気絶縁層114bとを有する積層構造を備え、各導電層に形成された一対の先端14a、14aは、接触子14の伸長方向へ前後にずれて配置されているが、ケルビン接触子14では、その両先端14a、14aは、半導体装置36の同一の電極36aに接触するように、用いられる。
本発明は、上記実施例に限定されず、その趣旨を逸脱しない限り、種々に変更することができる。
10 電気的接続装置
12 フレーム部材
14 接触子
16 弾性部材
20 キャップ部材
22 凹所
26 スロット
28 (段部)端縁
30 浅溝
32 嵌合凹部
36 半導体装置
38 配線基板
38a 配線部

Claims (8)

  1. 複数の電極が設けられた被検査体を受け入れる凹所を有するフレーム部材と、前記電極に対応して設けられる複数の接触子と、前記フレーム部材の前記凹所の底部に形成され、前記各接触子の先端を対応する前記電極に当接可能に前記接触子を受け入れるべく、相互に並列的に配列された複数のスロットと、前記凹所内の前記底部上で前記スロットを横切って配置され前記接触子を弾性的に保持する弾性部材と、前記フレーム部材上に装着され、前記フレーム部材との間で前記弾性体を挟持するキャップ部材とを含み、対応する前記接触子に結合される前記弾性部材は、その両端が前記凹所の底部に形成された浅溝上に乗ることに加えて、該両端間が前記底部の前記スロット間に位置する梁部分上に乗る、電気的接続装置。
  2. さらに、前記フレーム部材の下面に固定される配線基板であって前記接触子の先端が前記電極により押下されたとき前記接触子により押圧される配線部が形成された配線基板を含む、請求項1に記載の電気的接続装置。
  3. 前記各接触子の後端には、前記スロットの対応する端縁に係止可能の脱落防止部が形成されている、請求項1または2に記載の電気的接続装置。
  4. 前記各接触子は、前記弾性体の圧入を許す嵌合凹部を有し、該嵌合凹部への前記弾性体の圧入により該弾性体と前記各接触子とが弾性的に結合されている、請求項1または2に記載の電気的接続装置。
  5. 前記接触子は、前記被検査体の前記電極から押圧力を受けないとき、前記弾性体の弾性力により、前記先端を前記スロットから前記凹所内に突出させて保持されている、請求項4に記載の電気的接続装置。
  6. 前記接触子の前記配線部に当接する当接部分は曲面である、請求項5に記載の電気的接続装置。
  7. 前記凹所は矩形平面形状を有する凹所であり、前記キャップ部材は前記凹所に嵌合する矩形の平面形状を有する環状部材であり、該環状部材の前記弾性部材が当接する面には、前記電極からの押圧力による前記弾性体の剪断変形を伴う前記接触子の前記当接部分の前記配線部上での過度の移動を抑制すべく、前記弾性体の剪断変形を抑制するための段部が形成されている、請求項5に記載の電気的接続装置。
  8. 前記キャップ部材の上方内縁部には、前記被検査体の前記電極と該電極に対応する前記接触子の前記先端とが対応する検査位置へ前記被検査体を案内するためのガイド面が形成されている、請求項6に記載の電気的接続装置。
JP2007514428A 2005-04-21 2005-04-21 電気的接続装置 Expired - Lifetime JP4472002B2 (ja)

Applications Claiming Priority (1)

Application Number Priority Date Filing Date Title
PCT/JP2005/008097 WO2006114895A1 (ja) 2005-04-21 2005-04-21 電気的接続装置

Publications (2)

Publication Number Publication Date
JPWO2006114895A1 JPWO2006114895A1 (ja) 2008-12-11
JP4472002B2 true JP4472002B2 (ja) 2010-06-02

Family

ID=37214532

Family Applications (1)

Application Number Title Priority Date Filing Date
JP2007514428A Expired - Lifetime JP4472002B2 (ja) 2005-04-21 2005-04-21 電気的接続装置

Country Status (4)

Country Link
US (1) US7625219B2 (ja)
JP (1) JP4472002B2 (ja)
TW (1) TWI276266B (ja)
WO (1) WO2006114895A1 (ja)

Cited By (4)

* Cited by examiner, † Cited by third party
Publication number Priority date Publication date Assignee Title
US9695390B2 (en) 2010-08-23 2017-07-04 President And Fellows Of Harvard College Acoustic waves in microfluidics
US10258987B2 (en) 2014-06-26 2019-04-16 President And Fellows Of Harvard College Fluid infection using acoustic waves
US11559806B2 (en) 2015-08-27 2023-01-24 President And Fellows Of Harvard College Acoustic wave sorting
US11701658B2 (en) 2019-08-09 2023-07-18 President And Fellows Of Harvard College Systems and methods for microfluidic particle selection, encapsulation, and injection using surface acoustic waves

Families Citing this family (18)

* Cited by examiner, † Cited by third party
Publication number Priority date Publication date Assignee Title
US7445465B2 (en) * 2005-07-08 2008-11-04 Johnstech International Corporation Test socket
JP5113481B2 (ja) * 2007-10-23 2013-01-09 株式会社日本マイクロニクス 接触子及びこれを用いる電気的接続装置
US8278955B2 (en) * 2008-03-24 2012-10-02 Interconnect Devices, Inc. Test interconnect
US20090289647A1 (en) 2008-05-01 2009-11-26 Interconnect Devices, Inc. Interconnect system
TWM360464U (en) * 2008-11-10 2009-07-01 Hon Hai Prec Ind Co Ltd Electrical connector
TWM425277U (en) * 2011-05-27 2012-03-21 Tek Crown Technology Co Ltd Testing connector for fast detaching and assembling electrical connection module
US9797926B2 (en) 2012-11-07 2017-10-24 Omron Corporation Contact and electrical connection testing apparatus using the same
US10794933B1 (en) 2013-03-15 2020-10-06 Johnstech International Corporation Integrated circuit contact test apparatus with and method of construction
US9425529B2 (en) * 2014-06-20 2016-08-23 Xcerra Corporation Integrated circuit chip tester with an anti-rotation link
MY175337A (en) * 2014-09-17 2020-06-19 Jf Microtechnology Sdn Bhd Short contact in a testing apparatus for wireless integrated circuits
TWI805621B (zh) * 2017-09-25 2023-06-21 美商瓊斯科技國際公司 用於積體電路測試之具有測試接腳及殼體的高隔離接觸器
CN112986790A (zh) * 2019-12-13 2021-06-18 杰冯科技有限公司 Ic测试装置中的具有双固定式弹性体的电触点
US12210036B2 (en) * 2020-04-07 2025-01-28 Smiths Interconnect Americas, Inc. Test socket for semiconductor integrated circuits
US11802909B2 (en) 2020-10-06 2023-10-31 Johnstech International Corporation Compliant ground block and testing system having compliant ground block
CN116547544A (zh) * 2020-10-06 2023-08-04 琼斯科技国际公司 柔性接地块以及具有柔性接地块的测试系统
CN112462206B (zh) * 2020-11-05 2025-01-24 国网河南省电力公司济源供电公司 安全工器具绝缘棒测试工具
US12355167B2 (en) * 2022-07-28 2025-07-08 Micron Technology, Inc. Connection designs for memory systems
TWI835274B (zh) * 2022-08-31 2024-03-11 穎崴科技股份有限公司 導電片以及具有該導電片之檢測裝置

Family Cites Families (20)

* Cited by examiner, † Cited by third party
Publication number Priority date Publication date Assignee Title
FR2495846A1 (fr) * 1980-12-05 1982-06-11 Cii Honeywell Bull Dispositif de connexion electrique a haute densite de contacts
US4395084A (en) * 1981-07-06 1983-07-26 Teledyne Industries, Inc. Electrical socket for leadless integrated circuit packages
US4437718A (en) * 1981-12-17 1984-03-20 Motorola Inc. Non-hermetically sealed stackable chip carrier package
US4593961A (en) * 1984-12-20 1986-06-10 Amp Incorporated Electrical compression connector
US5074798A (en) * 1989-10-24 1991-12-24 Wells Electronics, Inc. Modular socket for an integrated circuit
US4993955A (en) * 1990-03-08 1991-02-19 Minnesota Mining And Manufacturing Company Top-load socket for integrated circuit device
US5207584A (en) * 1991-01-09 1993-05-04 Johnson David A Electrical interconnect contact system
US5236367A (en) * 1992-02-28 1993-08-17 Foxconn International, Inc. Electrical socket connector with manual retainer and enhanced contact coupling
US5328383A (en) * 1992-12-16 1994-07-12 Minnesota Mining And Manufacturing Company Top-loaded socket for integrated circuit device
US5273442A (en) * 1992-12-24 1993-12-28 The Whitaker Corporation Modular chip carrier socket
US5594355A (en) * 1994-07-19 1997-01-14 Delta Design, Inc. Electrical contactor apparatus for testing integrated circuit devices
US5947749A (en) 1996-07-02 1999-09-07 Johnstech International Corporation Electrical interconnect contact system
US5888075A (en) * 1997-02-10 1999-03-30 Kabushiki Kaisha Nihon Micronics Auxiliary apparatus for testing device
JP3379897B2 (ja) * 1997-02-10 2003-02-24 株式会社日本マイクロニクス 被検査体試験用補助装置
JP3664658B2 (ja) 2001-03-02 2005-06-29 山一電機株式会社 Icソケットのコンタクトピンの交換方法およびicソケット
JP2003123874A (ja) 2001-10-16 2003-04-25 Micronics Japan Co Ltd 接触子及びその製造方法並びに電気的接続装置
JP2003297506A (ja) 2002-04-05 2003-10-17 Sanyu Kogyo Kk 検査用電気的接続装置
US7059866B2 (en) * 2003-04-23 2006-06-13 Johnstech International Corporation integrated circuit contact to test apparatus
JP4388932B2 (ja) * 2004-01-13 2009-12-24 株式会社日本マイクロニクス 電気的接続装置
JP4395165B2 (ja) * 2004-06-03 2010-01-06 株式会社日本マイクロニクス 接触子及び電気的接続装置

Cited By (6)

* Cited by examiner, † Cited by third party
Publication number Priority date Publication date Assignee Title
US9695390B2 (en) 2010-08-23 2017-07-04 President And Fellows Of Harvard College Acoustic waves in microfluidics
US10570361B2 (en) 2010-08-23 2020-02-25 President And Fellows Of Harvard College Acoustic waves in microfluidics
US11229911B2 (en) 2010-08-23 2022-01-25 President And Fellows Of Harvard College Acoustic waves in microfluidics
US10258987B2 (en) 2014-06-26 2019-04-16 President And Fellows Of Harvard College Fluid infection using acoustic waves
US11559806B2 (en) 2015-08-27 2023-01-24 President And Fellows Of Harvard College Acoustic wave sorting
US11701658B2 (en) 2019-08-09 2023-07-18 President And Fellows Of Harvard College Systems and methods for microfluidic particle selection, encapsulation, and injection using surface acoustic waves

Also Published As

Publication number Publication date
JPWO2006114895A1 (ja) 2008-12-11
US7625219B2 (en) 2009-12-01
WO2006114895A1 (ja) 2006-11-02
TW200638641A (en) 2006-11-01
TWI276266B (en) 2007-03-11
US20090035960A1 (en) 2009-02-05

Similar Documents

Publication Publication Date Title
JP4472002B2 (ja) 電気的接続装置
CN109406835B (zh) 电连接装置
US20110171840A1 (en) Semiconductor device socket
KR20180014860A (ko) 소켓
KR102253399B1 (ko) 프로브 핀, 검사 지그 및 검사 유닛
KR101827403B1 (ko) 반도체 패키지 테스트용 소켓 모듈
KR102339111B1 (ko) 반도체 패키지 테스트용 소켓
KR20210022670A (ko) 프로브 유닛
KR101903024B1 (ko) 실리콘 테스트 소켓 및 실리콘 테스트 소켓의 제조방법
KR20150019211A (ko) 반도체 패키지용 플로팅 인서트
KR20180107891A (ko) 클립 스프링 핀 및 이를 포함하는 테스트 소켓
JPWO2005069447A1 (ja) 電気的接続装置
KR102198301B1 (ko) 소켓 보드 조립체
KR101189603B1 (ko) 전자부품 테스트용 소켓
CN115951092A (zh) 半导体芯片测试插座
US6902445B2 (en) Socket for electrical parts
KR100911892B1 (ko) 반도체 칩 검사용 소켓
JP3795437B2 (ja) 電気部品用ソケット及び電気部品用ソケットの使用方法
KR102873867B1 (ko) 검사 소켓
KR100852625B1 (ko) 접촉자 블록 및 전기적 접속장치
CN204989244U (zh) 检查装置
JP5726588B2 (ja) コンタクトピン及び電気部品用ソケット
JP4082490B2 (ja) 電気部品用ソケット
JP5004719B2 (ja) 電気部品用ソケット
JP2001015227A (ja) 半導体装置の検査装置

Legal Events

Date Code Title Description
A131 Notification of reasons for refusal

Free format text: JAPANESE INTERMEDIATE CODE: A131

Effective date: 20091215

A521 Request for written amendment filed

Free format text: JAPANESE INTERMEDIATE CODE: A523

Effective date: 20100106

TRDD Decision of grant or rejection written
A01 Written decision to grant a patent or to grant a registration (utility model)

Free format text: JAPANESE INTERMEDIATE CODE: A01

Effective date: 20100209

A01 Written decision to grant a patent or to grant a registration (utility model)

Free format text: JAPANESE INTERMEDIATE CODE: A01

A61 First payment of annual fees (during grant procedure)

Free format text: JAPANESE INTERMEDIATE CODE: A61

Effective date: 20100302

FPAY Renewal fee payment (event date is renewal date of database)

Free format text: PAYMENT UNTIL: 20130312

Year of fee payment: 3

R150 Certificate of patent or registration of utility model

Ref document number: 4472002

Country of ref document: JP

Free format text: JAPANESE INTERMEDIATE CODE: R150

Free format text: JAPANESE INTERMEDIATE CODE: R150

FPAY Renewal fee payment (event date is renewal date of database)

Free format text: PAYMENT UNTIL: 20130312

Year of fee payment: 3

FPAY Renewal fee payment (event date is renewal date of database)

Free format text: PAYMENT UNTIL: 20140312

Year of fee payment: 4

R250 Receipt of annual fees

Free format text: JAPANESE INTERMEDIATE CODE: R250

R250 Receipt of annual fees

Free format text: JAPANESE INTERMEDIATE CODE: R250

R250 Receipt of annual fees

Free format text: JAPANESE INTERMEDIATE CODE: R250

R250 Receipt of annual fees

Free format text: JAPANESE INTERMEDIATE CODE: R250

R250 Receipt of annual fees

Free format text: JAPANESE INTERMEDIATE CODE: R250

R250 Receipt of annual fees

Free format text: JAPANESE INTERMEDIATE CODE: R250

R250 Receipt of annual fees

Free format text: JAPANESE INTERMEDIATE CODE: R250

R250 Receipt of annual fees

Free format text: JAPANESE INTERMEDIATE CODE: R250

R250 Receipt of annual fees

Free format text: JAPANESE INTERMEDIATE CODE: R250

R250 Receipt of annual fees

Free format text: JAPANESE INTERMEDIATE CODE: R250

EXPY Cancellation because of completion of term