JP4422300B2 - ウェハ処理装置 - Google Patents

ウェハ処理装置 Download PDF

Info

Publication number
JP4422300B2
JP4422300B2 JP2000180182A JP2000180182A JP4422300B2 JP 4422300 B2 JP4422300 B2 JP 4422300B2 JP 2000180182 A JP2000180182 A JP 2000180182A JP 2000180182 A JP2000180182 A JP 2000180182A JP 4422300 B2 JP4422300 B2 JP 4422300B2
Authority
JP
Japan
Prior art keywords
wafer
robot arm
optical sensor
state
arm
Prior art date
Legal status (The legal status is an assumption and is not a legal conclusion. Google has not performed a legal analysis and makes no representation as to the accuracy of the status listed.)
Expired - Lifetime
Application number
JP2000180182A
Other languages
English (en)
Japanese (ja)
Other versions
JP2001358208A5 (enExample
JP2001358208A (ja
Inventor
篤行 市川
泰幸 白井
Current Assignee (The listed assignees may be inaccurate. Google has not performed a legal analysis and makes no representation or warranty as to the accuracy of the list.)
Canon Anelva Corp
Original Assignee
Canon Anelva Corp
Priority date (The priority date is an assumption and is not a legal conclusion. Google has not performed a legal analysis and makes no representation as to the accuracy of the date listed.)
Filing date
Publication date
Application filed by Canon Anelva Corp filed Critical Canon Anelva Corp
Priority to JP2000180182A priority Critical patent/JP4422300B2/ja
Publication of JP2001358208A publication Critical patent/JP2001358208A/ja
Publication of JP2001358208A5 publication Critical patent/JP2001358208A5/ja
Application granted granted Critical
Publication of JP4422300B2 publication Critical patent/JP4422300B2/ja
Anticipated expiration legal-status Critical
Expired - Lifetime legal-status Critical Current

Links

Images

Landscapes

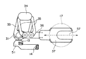
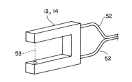
  • Manipulator (AREA)
  • Container, Conveyance, Adherence, Positioning, Of Wafer (AREA)
JP2000180182A 2000-06-15 2000-06-15 ウェハ処理装置 Expired - Lifetime JP4422300B2 (ja)

Priority Applications (1)

Application Number Priority Date Filing Date Title
JP2000180182A JP4422300B2 (ja) 2000-06-15 2000-06-15 ウェハ処理装置

Applications Claiming Priority (1)

Application Number Priority Date Filing Date Title
JP2000180182A JP4422300B2 (ja) 2000-06-15 2000-06-15 ウェハ処理装置

Related Child Applications (1)

Application Number Title Priority Date Filing Date
JP2007192099A Division JP4422745B2 (ja) 2007-07-24 2007-07-24 ウェハ位置ずれ検出装置およびウェハ位置ずれ検出方法

Publications (3)

Publication Number Publication Date
JP2001358208A JP2001358208A (ja) 2001-12-26
JP2001358208A5 JP2001358208A5 (enExample) 2007-09-06
JP4422300B2 true JP4422300B2 (ja) 2010-02-24

Family

ID=18681331

Family Applications (1)

Application Number Title Priority Date Filing Date
JP2000180182A Expired - Lifetime JP4422300B2 (ja) 2000-06-15 2000-06-15 ウェハ処理装置

Country Status (1)

Country Link
JP (1) JP4422300B2 (enExample)

Families Citing this family (6)

* Cited by examiner, † Cited by third party
Publication number Priority date Publication date Assignee Title
JP4650273B2 (ja) * 2006-01-12 2011-03-16 シンフォニアテクノロジー株式会社 基板搬送装置、および基板位置検出方法
JP2007227781A (ja) * 2006-02-24 2007-09-06 Tokyo Electron Ltd 基板の位置ずれ検査機構,処理システム及び基板の位置ずれ検査方法
JP2010032242A (ja) * 2008-07-25 2010-02-12 Yamatake Corp 基板検出装置
CN115136291A (zh) * 2020-02-17 2022-09-30 捷普有限公司 用于提供光纤耦合器的装置、系统和方法
CN117813679A (zh) * 2021-08-17 2024-04-02 东京毅力科创株式会社 用于测量半导体等离子体加工室中的可消耗部件的特性的光学传感器
CN119542247B (zh) * 2025-01-23 2025-05-06 四川艾庞机械科技有限公司 一种用于led芯片干法蚀刻的载片治具

Also Published As

Publication number Publication date
JP2001358208A (ja) 2001-12-26

Similar Documents

Publication Publication Date Title
KR100676029B1 (ko) 진공 처리 시스템
JP4697192B2 (ja) 位置ずれ検出装置及びこれを用いた処理システム
JP4422745B2 (ja) ウェハ位置ずれ検出装置およびウェハ位置ずれ検出方法
JP4389305B2 (ja) 処理装置
US20080138176A1 (en) Apparatus for manufacturing semiconductor device
JP5185054B2 (ja) 基板搬送方法、制御プログラム及び記憶媒体
JPH0936198A (ja) 真空処理装置およびそれを用いた半導体製造ライン
JP2008173744A (ja) 搬送システムの搬送位置合わせ方法
JP2004349503A (ja) 被処理体の処理システム及び処理方法
JP2001244316A (ja) 基板のロボットアラインメント装置及び方法
US20050118000A1 (en) Treatment subject receiving vessel body, and treating system
WO2014077379A1 (ja) 基板処理装置及び基板搬送方法
JP3936030B2 (ja) 被処理体の回収方法
WO2013121918A1 (ja) 基板処理装置及び基板処理方法
JPH11288988A (ja) アライメント高速処理機構
JP2002043394A (ja) 位置ずれ検出装置及び処理システム
US7353076B2 (en) Vacuum processing method and vacuum processing apparatus
JP4422300B2 (ja) ウェハ処理装置
JP2010283334A (ja) 基板処理装置及び半導体装置の製造方法
JP4770035B2 (ja) 処理システム及び処理システムの被処理体の搬送方法
KR200436002Y1 (ko) 이중 아암 로봇
JPH11145241A (ja) マルチチャンバシステムおよび基板検出方法
JP2006351883A (ja) 基板搬送機構及び処理システム
JP2002164416A (ja) 被検出体の検出装置とこれを用いた処理システム
JP2004146714A (ja) 被処理体の搬送機構

Legal Events

Date Code Title Description
A621 Written request for application examination

Free format text: JAPANESE INTERMEDIATE CODE: A621

Effective date: 20070329

A521 Written amendment

Free format text: JAPANESE INTERMEDIATE CODE: A523

Effective date: 20070724

A977 Report on retrieval

Free format text: JAPANESE INTERMEDIATE CODE: A971007

Effective date: 20090724

A131 Notification of reasons for refusal

Free format text: JAPANESE INTERMEDIATE CODE: A132

Effective date: 20090804

RD04 Notification of resignation of power of attorney

Free format text: JAPANESE INTERMEDIATE CODE: A7424

Effective date: 20090907

A521 Written amendment

Free format text: JAPANESE INTERMEDIATE CODE: A523

Effective date: 20090918

RD03 Notification of appointment of power of attorney

Free format text: JAPANESE INTERMEDIATE CODE: A7423

Effective date: 20090918

TRDD Decision of grant or rejection written
A01 Written decision to grant a patent or to grant a registration (utility model)

Free format text: JAPANESE INTERMEDIATE CODE: A01

Effective date: 20091201

A01 Written decision to grant a patent or to grant a registration (utility model)

Free format text: JAPANESE INTERMEDIATE CODE: A01

A61 First payment of annual fees (during grant procedure)

Free format text: JAPANESE INTERMEDIATE CODE: A61

Effective date: 20091204

FPAY Renewal fee payment (event date is renewal date of database)

Free format text: PAYMENT UNTIL: 20121211

Year of fee payment: 3

R150 Certificate of patent or registration of utility model

Ref document number: 4422300

Country of ref document: JP

Free format text: JAPANESE INTERMEDIATE CODE: R150

Free format text: JAPANESE INTERMEDIATE CODE: R150

FPAY Renewal fee payment (event date is renewal date of database)

Free format text: PAYMENT UNTIL: 20131211

Year of fee payment: 4

R250 Receipt of annual fees

Free format text: JAPANESE INTERMEDIATE CODE: R250

R250 Receipt of annual fees

Free format text: JAPANESE INTERMEDIATE CODE: R250

R250 Receipt of annual fees

Free format text: JAPANESE INTERMEDIATE CODE: R250

R250 Receipt of annual fees

Free format text: JAPANESE INTERMEDIATE CODE: R250

R250 Receipt of annual fees

Free format text: JAPANESE INTERMEDIATE CODE: R250

R250 Receipt of annual fees

Free format text: JAPANESE INTERMEDIATE CODE: R250

R250 Receipt of annual fees

Free format text: JAPANESE INTERMEDIATE CODE: R250

R250 Receipt of annual fees

Free format text: JAPANESE INTERMEDIATE CODE: R250

EXPY Cancellation because of completion of term