JP4353288B2 - 燃料ポンプ - Google Patents

燃料ポンプ Download PDF

Info

Publication number
JP4353288B2
JP4353288B2 JP2007206185A JP2007206185A JP4353288B2 JP 4353288 B2 JP4353288 B2 JP 4353288B2 JP 2007206185 A JP2007206185 A JP 2007206185A JP 2007206185 A JP2007206185 A JP 2007206185A JP 4353288 B2 JP4353288 B2 JP 4353288B2
Authority
JP
Japan
Prior art keywords
fuel
valve
opening
pressurizing chamber
pressure
Prior art date
Legal status (The legal status is an assumption and is not a legal conclusion. Google has not performed a legal analysis and makes no representation as to the accuracy of the status listed.)
Expired - Fee Related
Application number
JP2007206185A
Other languages
English (en)
Other versions
JP2009041420A (ja
Inventor
光人 坂井
龍彦 秋田
努 古橋
立己 小栗
Current Assignee (The listed assignees may be inaccurate. Google has not performed a legal analysis and makes no representation or warranty as to the accuracy of the list.)
Toyota Motor Corp
Original Assignee
Toyota Motor Corp
Priority date (The priority date is an assumption and is not a legal conclusion. Google has not performed a legal analysis and makes no representation as to the accuracy of the date listed.)
Filing date
Publication date
Application filed by Toyota Motor Corp filed Critical Toyota Motor Corp
Priority to JP2007206185A priority Critical patent/JP4353288B2/ja
Priority to EP20080791967 priority patent/EP2187038B1/en
Priority to AT08791967T priority patent/ATE547620T1/de
Priority to CN2008801023291A priority patent/CN101779033B/zh
Priority to US12/672,043 priority patent/US8911218B2/en
Priority to PCT/JP2008/063752 priority patent/WO2009020039A1/ja
Publication of JP2009041420A publication Critical patent/JP2009041420A/ja
Application granted granted Critical
Publication of JP4353288B2 publication Critical patent/JP4353288B2/ja
Expired - Fee Related legal-status Critical Current
Anticipated expiration legal-status Critical

Links

Images

Classifications

    • FMECHANICAL ENGINEERING; LIGHTING; HEATING; WEAPONS; BLASTING
    • F02COMBUSTION ENGINES; HOT-GAS OR COMBUSTION-PRODUCT ENGINE PLANTS
    • F02MSUPPLYING COMBUSTION ENGINES IN GENERAL WITH COMBUSTIBLE MIXTURES OR CONSTITUENTS THEREOF
    • F02M59/00Pumps specially adapted for fuel-injection and not provided for in groups F02M39/00 -F02M57/00, e.g. rotary cylinder-block type of pumps
    • F02M59/20Varying fuel delivery in quantity or timing
    • F02M59/34Varying fuel delivery in quantity or timing by throttling of passages to pumping elements or of overflow passages, e.g. throttling by means of a pressure-controlled sliding valve having liquid stop or abutment
    • FMECHANICAL ENGINEERING; LIGHTING; HEATING; WEAPONS; BLASTING
    • F02COMBUSTION ENGINES; HOT-GAS OR COMBUSTION-PRODUCT ENGINE PLANTS
    • F02MSUPPLYING COMBUSTION ENGINES IN GENERAL WITH COMBUSTIBLE MIXTURES OR CONSTITUENTS THEREOF
    • F02M59/00Pumps specially adapted for fuel-injection and not provided for in groups F02M39/00 -F02M57/00, e.g. rotary cylinder-block type of pumps
    • F02M59/20Varying fuel delivery in quantity or timing
    • F02M59/36Varying fuel delivery in quantity or timing by variably-timed valves controlling fuel passages to pumping elements or overflow passages
    • F02M59/366Valves being actuated electrically
    • FMECHANICAL ENGINEERING; LIGHTING; HEATING; WEAPONS; BLASTING
    • F02COMBUSTION ENGINES; HOT-GAS OR COMBUSTION-PRODUCT ENGINE PLANTS
    • F02MSUPPLYING COMBUSTION ENGINES IN GENERAL WITH COMBUSTIBLE MIXTURES OR CONSTITUENTS THEREOF
    • F02M59/00Pumps specially adapted for fuel-injection and not provided for in groups F02M39/00 -F02M57/00, e.g. rotary cylinder-block type of pumps
    • F02M59/44Details, components parts, or accessories not provided for in, or of interest apart from, the apparatus of groups F02M59/02 - F02M59/42; Pumps having transducers, e.g. to measure displacement of pump rack or piston
    • F02M59/46Valves
    • F02M59/462Delivery valves
    • FMECHANICAL ENGINEERING; LIGHTING; HEATING; WEAPONS; BLASTING
    • F04POSITIVE - DISPLACEMENT MACHINES FOR LIQUIDS; PUMPS FOR LIQUIDS OR ELASTIC FLUIDS
    • F04BPOSITIVE-DISPLACEMENT MACHINES FOR LIQUIDS; PUMPS
    • F04B1/00Multi-cylinder machines or pumps characterised by number or arrangement of cylinders
    • F04B1/04Multi-cylinder machines or pumps characterised by number or arrangement of cylinders having cylinders in star- or fan-arrangement
    • F04B1/0404Details or component parts
    • F04B1/0448Sealing means, e.g. for shafts or housings
    • FMECHANICAL ENGINEERING; LIGHTING; HEATING; WEAPONS; BLASTING
    • F04POSITIVE - DISPLACEMENT MACHINES FOR LIQUIDS; PUMPS FOR LIQUIDS OR ELASTIC FLUIDS
    • F04BPOSITIVE-DISPLACEMENT MACHINES FOR LIQUIDS; PUMPS
    • F04B1/00Multi-cylinder machines or pumps characterised by number or arrangement of cylinders
    • F04B1/04Multi-cylinder machines or pumps characterised by number or arrangement of cylinders having cylinders in star- or fan-arrangement
    • F04B1/0404Details or component parts
    • F04B1/0452Distribution members, e.g. valves
    • F04B1/0456Cylindrical
    • FMECHANICAL ENGINEERING; LIGHTING; HEATING; WEAPONS; BLASTING
    • F04POSITIVE - DISPLACEMENT MACHINES FOR LIQUIDS; PUMPS FOR LIQUIDS OR ELASTIC FLUIDS
    • F04BPOSITIVE-DISPLACEMENT MACHINES FOR LIQUIDS; PUMPS
    • F04B53/00Component parts, details or accessories not provided for in, or of interest apart from, groups F04B1/00 - F04B23/00 or F04B39/00 - F04B47/00
    • F04B53/10Valves; Arrangement of valves
    • F04B53/1085Valves; Arrangement of valves having means for limiting the opening height
    • YGENERAL TAGGING OF NEW TECHNOLOGICAL DEVELOPMENTS; GENERAL TAGGING OF CROSS-SECTIONAL TECHNOLOGIES SPANNING OVER SEVERAL SECTIONS OF THE IPC; TECHNICAL SUBJECTS COVERED BY FORMER USPC CROSS-REFERENCE ART COLLECTIONS [XRACs] AND DIGESTS
    • Y10TECHNICAL SUBJECTS COVERED BY FORMER USPC
    • Y10TTECHNICAL SUBJECTS COVERED BY FORMER US CLASSIFICATION
    • Y10T137/00Fluid handling
    • Y10T137/7722Line condition change responsive valves
    • Y10T137/7738Pop valves

Landscapes

  • Engineering & Computer Science (AREA)
  • Mechanical Engineering (AREA)
  • General Engineering & Computer Science (AREA)
  • Chemical & Material Sciences (AREA)
  • Combustion & Propulsion (AREA)
  • Fuel-Injection Apparatus (AREA)

Description

本発明は、例えば筒内直噴型エンジン等の内燃機関に適用され、燃料噴射弁(インジェクタ)に向けて高圧燃料を供給するための燃料ポンプに係る。特に、本発明は、燃料ポンプの吐出効率を向上させるための対策に関する。
従来より、例えば筒内直噴型エンジンのようにインジェクタへ供給する燃料に高い圧力が要求されるエンジンにあっては、燃料タンクから送られてきた燃料を高圧燃料ポンプで加圧してインジェクタに向けて供給するようになっている。
具体的に、この種のエンジンにおける燃料供給システムの構成としては、下記の特許文献1にも開示されているように、燃料タンクから燃料を送り出すフィードポンプ、このフィードポンプによって送り出された燃料を加圧する高圧燃料ポンプを備えている。そして、この高圧燃料ポンプによって加圧された燃料を、複数のインジェクタが接続されたデリバリパイプに貯留するようになっている。これにより、インジェクタの開弁動作に伴って、デリバリパイプに貯留されている高圧燃料が、その開弁されたインジェクタから燃焼室に向けて噴射されることになる。
また、この種のエンジンの燃料供給系に備えられる上記高圧燃料ポンプは、シリンダ内で往復移動するプランジャと、そのプランジャ及びシリンダによって区画形成される加圧室と、この加圧室の吐出側に配設された吐出弁(チェック弁)とを備えている。そして、シリンダ内でのプランジャの往復移動により加圧室の容積が変化し、この容積の拡大時には加圧室に燃料が吸入される一方、この容積の縮小時の所定タイミングで吐出弁が開放してデリバリパイプに向けて高圧燃料が圧送されるようになっている。
より具体的に、この高圧燃料ポンプには、加圧室とその吸入側の低圧燃料配管とを連通・遮断する電磁スピル弁が設けられており、加圧行程では、シリンダ内でのプランジャの移動により加圧室が縮小していく。そして、この加圧行程中において電磁スピル弁が開弁されている間は、加圧室から低圧燃料配管へ燃料が流出(フィードポンプ側へ流出)するため、デリバリパイプに向けての燃料圧送は行われない。これに対し、この加圧行程中に電磁スピル弁が閉弁されると、この加圧室内の圧力(燃料圧力)が上昇していき、この圧力が、吐出弁の弁体(以下、バルブ体という)を閉鎖方向に付勢しているコイルスプリングの付勢力とデリバリパイプ内の燃料圧力とを足し合わせた合力を上回ると吐出弁が開動作を開始し、電磁スピル弁の閉弁期間中にデリバリパイプに向けての燃料圧送が行われる。このように、加圧行程中における電磁スピル弁の閉弁期間を制御することによって、高圧燃料ポンプからデリバリパイプへの燃料圧送量が調整されるようになっている。
ところで、この種の高圧燃料ポンプを備えた燃料供給系にあっては、エンジンが停止された際には、それまで上記高圧燃料ポンプによってデリバリパイプ内に向けて高圧燃料が圧送されていたために、このデリバリパイプ内圧が高圧状態となっている可能性が高い。そして、エンジン停止状態で、デリバリパイプ内圧が高圧状態のまま維持される状況では、このデリバリパイプ内圧が作用するインジェクタ内部空間の圧力とインジェクタの噴射口が臨む気筒の内圧との差が大きくなっていることなどが原因で、インジェクタの噴射口から気筒内に向けて燃料が漏れ出してしまう可能性がある。このような状況では、この気筒内に漏れ出した燃料の存在が、次回のエンジン始動に悪影響を及ぼしてしまうことが懸念される。
この点に鑑み、例えば下記の特許文献2や特許文献3では、上記加圧室の吐出側に配設された上記チェック弁に微小孔を形成しておき、エンジン停止後には、この微小孔から高圧燃料ポンプ側に燃料を徐々に戻していくことによってデリバリパイプ内圧を低下させ、これにより、上記インジェクタからの燃料漏れを防止するようにしている。
特開2006−207451号公報 特開2003−184697号公報 特開2006−90222号公報
しかしながら、上述した特許文献2や特許文献3の構成では以下に述べる課題があった。
上述した如く特許文献2や特許文献3の構成では、エンジンの停止時にデリバリパイプ内圧を低下させることによりインジェクタからの燃料漏れを防止できるものの、その後のエンジン始動時にあっては、プランジャの下降動作に伴う吸入行程時に、上記チェック弁の微小孔から比較的大量の燃料が高速度で逆流する可能性がある。このような燃料の逆流が発生すると、燃料タンク側からの燃料導入量が少なくなり、燃料ポンプの吐出効率を低下させてしまうことに繋がる。
また、上記微小孔を経て高速度で逆流する燃料にキャビテーション・エロージョン(高速度で流れる燃料中に生じる気泡の破裂に伴う衝撃力)が発生し、高圧燃料ポンプに悪影響を及ぼしてしまう可能性もある。
本発明は、かかる点に鑑みてなされたものであり、その目的とするところは、停止時に吐出側の燃料圧力を低下させるための微小な隙間をチェック弁に備えた燃料ポンプに対し、吸入行程時に、この微小な隙間からの燃料逆流を防止し、吐出効率の向上を図ることができる構成を提供することにある。
−課題の解決原理−
上記の目的を達成するために講じられた本発明の解決原理は、ポンプ停止時にポンプ吐出側の燃料圧力を低下させるために設けられる微小隙間を閉塞可能な構成とし、燃料ポンプの吸入行程ではこの微小隙間を閉塞することで、この微小隙間からの燃料の逆流を防止できるようにしている。特に、スピル弁を備えた燃料ポンプにおいては、このスピル弁の開閉動作と微小隙間を開閉するための機構部とを連結することで、スピル弁を開閉作動させるための駆動源を、微小隙間を開閉するための駆動源として利用可能な構成としている。
−解決手段−
具体的に、本発明は、燃料を加圧するための加圧室と、この加圧室の吐出側に配設され且つ閉弁方向への付勢力が与えられた吐出弁体とを備え、吸入行程で上記加圧室に燃料を吸入し、加圧行程において加圧室内の圧力が所定圧力以上に達した場合に上記付勢力に抗して吐出弁体が開弁方向へ移動し加圧室から燃料噴射弁に向けて燃料を吐出する構成とされた燃料ポンプを前提とする。この燃料ポンプに対し、ポンプ駆動状態からポンプ停止状態になった際吐出弁体下流側空間と上記加圧室とを微小隙間によって連通させる一方、ポンプ駆動時における少なくとも上記吸入行程ではこの微小隙間を閉塞する微小隙間開閉手段を備えさせている。また、上記吐出弁体に、吐出弁体下流側空間と加圧室とを連通可能とする開口を形成する。一方、上記微小隙間開閉手段に進退移動可能な微小隙間開閉体を設ける。この微小隙間開閉体は、上記吐出弁体の開口から後退し、この開口を開放させて吐出弁体下流側空間と加圧室とを連通させる第1の進退位置と、上記吐出弁体の開口に向けて前進し、この開口を閉塞させて吐出弁体下流側空間と加圧室とを遮断する第2の進退位置との間で進退移動可能となっている。そして、この微小隙間開閉体を、電磁ソレノイドを駆動源としてこの電磁ソレノイドの通電/非通電によって上記第1の進退位置と第2の進退位置との間で移動させて上記開口の内縁部と微小隙間開閉体との間で形成される微小隙間を開閉する構成としている。ここでいう「所定圧力」とは、燃料ポンプの設定吐出圧力であって、燃料噴射弁に要求される噴射圧力などに応じて任意に設定される。
この特定事項により、燃料ポンプが駆動状態から停止状態になると、それまで高圧燃料が吐出されていたために、燃料ポンプの吐出側の空間(例えば筒内直噴型内燃機関の場合にはデリバリパイプの内部空間)は高圧状態となっている。このような状況で、上記微小隙間開閉体は、吐出弁体の開口から後退して上記第1の進退位置となり、吐出弁体の開口を開放し、吐出弁体下流側空間と加圧室とを連通させる。これにより、吐出弁体の開口の縁部と微小隙間開閉体との間に形成された微小隙間を利用して燃料ポンプ側に燃料を徐々に戻していくことになり燃料ポンプの吐出側空間の圧力が低下していく。その結果、上記燃料噴射弁から気筒内への燃料漏れを防止することができる。
一方、燃料ポンプが始動されて、その吸入行程が行われる際には、上記微小隙間開閉体は、吐出弁体の開口に向けて前進して上記第2の進退位置となり、この開口を閉塞し、吐出弁体下流側空間と加圧室とを遮断する。これにより、吸入行程時に、吐出弁体下流側空間から加圧室に向けての燃料の逆流が阻止され、燃料ポンプの吐出効率の向上が図れ、また、キャビテーション・エロージョンが発生することもない。尚、吸入行程にあっては、加圧室内の圧力は低くなっている(例えば上流側に配設されたフィードポンプの吐出圧程度の低圧になっている)ため吐出弁体が開弁方向へ移動することはなく、吐出弁体下流側空間と加圧室との遮断状態は吐出弁体によっても維持されている。
このように、本解決手段によれば、燃料ポンプの停止後における燃料噴射弁からの燃料漏れを防止可能としながらも、吸入行程時における燃料の逆流を阻止して高い吐出効率を有する燃料ポンプを実現することが可能である。
燃料ポンプの具体構成及び微小隙間開閉体を進退移動させるためのより具体的な構成としては以下のものが挙げられる。先ず、上記加圧室を、シリンダとこのシリンダ内を往復動するプランジャとにより区画形成する。また、上記加圧室の吸入側に上記電磁ソレノイドの作動により開閉動作が可能なスピル弁を備えさせ、上記加圧室の容積を縮小する方向にプランジャが移動する加圧行程時にスピル弁の開閉動作を制御することによりポンプ圧送量の調量を行う構成とする。そして、上記微小隙間開閉手段の微小隙間開閉体を、上記スピル弁に連結させ、この微小隙間開閉体が、スピル弁の開放動作に連動して上記第2の進退位置となり、スピル弁の閉鎖動作に連動して上記第1の進退位置となる構成としている。
上記スピル弁は、加圧室の容積を縮小する方向にプランジャが移動する際の閉鎖タイミングが制御されることにより、ポンプ圧送量を調量する。つまり、スピル弁の閉鎖タイミングが早いほど加圧室での加圧動作が早期に開始され、ポンプ圧送量が多く得られることになる。そして、本解決手段では、微小隙間開閉手段の微小隙間開閉体はスピル弁に連結されており、スピル弁が開放されている場合には上記第2の進退位置となって吐出弁体の開口を閉鎖する。つまり、上記微小隙間を閉塞して吐出弁体下流側空間と加圧室とを遮断する。つまり、スピル弁が開放されているタイミングでは、吸入行程が行われているか、若しくは、加圧室の容積を縮小する方向にプランジャが移動しているが加圧室内の燃料を吸入側へ排出する非加圧動作が行われている状況にある。この場合に、微小隙間開閉体が第2の進退位置にあることにより、上記吸入行程時や非加圧動作時に、吐出弁体下流側空間から加圧室に向けて燃料が逆流してしまうことを阻止し、燃料ポンプの吐出効率の向上を図っている。一方、スピル弁が閉鎖されている場合、微小隙間開閉手段の微小隙間開閉体は上記第1の進退位置となって吐出弁体の開口を開放する。つまり、加圧室の容積を縮小する方向にプランジャが移動しており燃料の加圧動作を開始するべくスピル弁が閉鎖されるのと略同時に上記吐出弁体の開口を開放し、この加圧室内の圧力が所定圧力以上に達した場合には、吐出弁体の開弁方向への移動により得られる吐出通路ばかりでなく、吐出弁体に形成されている開口をも利用して高圧燃料の吐出が可能な状態となる。
また、このようなスピル弁を設けた場合において、仮に、燃料ポンプの停止時にスピル弁が開弁状態となる所謂ノーマルオープンタイプであった際、従来の構成では、圧力低下用の微小隙間が常時存在しているために、燃料ポンプ吐出側空間と燃料タンクとが連通する状態となってしまい、この状態が長期間に亘って継続した場合には、燃料ポンプ吐出側空間の圧力(例えばデリバリパイプ内圧)が必要以上に低下してしまって(上記燃料噴射弁からの燃料漏れを防止するのに十分な圧力降下量よりも更に大幅に圧力が降下してしまって)、内燃機関の始動性に悪影響を与えてしまう可能性があった。本解決手段においては、燃料ポンプが駆動状態から停止状態になった時点ではスピル弁を閉弁状態とし、これに伴って微小隙間開閉体を第1の進退位置として吐出弁体下流側空間と加圧室とを連通させている。つまり、スピル弁を閉弁状態としていることで、燃料ポンプ吐出側空間と燃料タンクとが連通する状態は生じない。また、その後、仮に、スピル弁を開弁状態とした場合であっても、これに伴って微小隙間開閉体は第2の進退位置となり吐出弁体に形成されている開口は閉塞されることになる。この場合、上記微小隙間は存在しなくなるため、燃料ポンプ吐出側空間と燃料タンクとが連通する状態は生じることがない。このため、燃料ポンプ吐出側空間の圧力が必要以上に低下してしまうといった状況を回避することが可能な構成となっている。
上記吐出弁体及び微小隙間開閉体に関するより具体的な構成としては以下のものが挙げられる。先ず、上記吐出弁体を、加圧室吐出側の吐出通路に形成された弁座部に対して付勢手段の付勢力を受けて当接されて吐出通路を閉鎖可能とすると共に、加圧行程において加圧室内の圧力が所定圧力以上に達した場合に上記付勢手段の付勢力に抗して弁座部から後退移動することにより吐出通路を開放して加圧室から燃料が吐出されるようにする。そして、上記吸入行程において、微小隙間開閉体が上記第2の進退位置にあって吐出弁体の開口が閉塞されている状態から、上記加圧行程となって微小隙間開閉体が上記第1の進退位置となり、加圧室内の圧力が所定圧力以上に達して、吐出弁体が、弁座部から後退移動するのに伴って微小隙間開閉体から後退し、これによって吐出弁体の開口からも燃料が吐出される構成としている。
この構成によっても、加圧行程時に加圧室内の圧力が所定圧力以上に達した場合には、吐出弁体の開弁動作により得られる吐出通路ばかりでなく、吐出弁体に形成されている開口をも利用して高圧燃料の吐出が可能な状態となる。
本発明では、燃料ポンプの停止時にポンプ吐出側の燃料圧力を低下させるために設けられる微小隙間を閉塞可能な構成とし、ポンプの吸入行程ではこの微小隙間を閉塞することで、この微小隙間からの燃料の逆流を防止できるようにしている。このため、燃料ポンプの停止後における燃料噴射弁からの燃料漏れを防止可能としながらも、吸入行程時における燃料の逆流を阻止して高い吐出効率を有する燃料ポンプを実現することが可能である。
以下、本発明の実施の形態を図面に基づいて説明する。本実施形態では、自動車に搭載された筒内直噴型多気筒(例えば4気筒)ガソリンエンジンにおける燃料供給システムに本発明に係る燃料ポンプを適用した場合について説明する。
<第1実施形態>
−燃料供給システム−
図1は本実施形態における燃料供給システム100の構造を模式的に示す図である。この図1に示すように、燃料供給システム100は、燃料タンク101から燃料を送り出す電動ポンプで成るフィードポンプ102と、そのフィードポンプ102によって送り出された燃料を加圧して各気筒(4気筒)のインジェクタ(燃料噴射弁)4,4,…に向けて吐出する高圧燃料ポンプ1とを備えている。
上記高圧燃料ポンプ1の概略構成としては(具体構成については、後で図3を用いて説明する)、シリンダ21、プランジャ23、加圧室22及び電磁スピル弁30を備えている。プランジャ23は、エンジンの排気カムシャフト110に取り付けられた駆動カム111の回転によって駆動され、シリンダ21内を往復移動する。このプランジャ23の往復移動により加圧室22の容積が拡大または縮小する。本実施形態では排気カムシャフト110の回転軸回りに180°の角度間隔をもって2つのカム山(カムノーズ)112,112が駆動カム111に形成されている。そして、このカムノーズ112,112によってプランジャ23が押し上げられて、このプランジャ23がシリンダ21内で移動するようになっている。尚、本実施形態に係るエンジンは4気筒型であるため、エンジンの1サイクル中、つまりクランクシャフトが2回転する間に、気筒毎に設けられたインジェクタ4から各1回ずつ、合計4回の燃料噴射が行われることになる。また、このエンジンでは、クランクシャフトが2回転する度に排気カムシャフト110は1回転する。よって、インジェクタ4からの燃料噴射は4回ずつ、高圧燃料ポンプ1からの吐出動作は2回ずつ、エンジンの1サイクル毎に行われるようになっている。
上記加圧室22はプランジャ23及びシリンダ21によって区画されている。この加圧室22は、低圧燃料配管104を介してフィードポンプ102に連通しており、また、高圧燃料配管105を介してデリバリパイプ(蓄圧容器)106内に連通している。
このデリバリパイプ106には、上記インジェクタ4,4,…が接続されていると共に、デリバリパイプ106内の燃料圧力(実燃圧)を検出する燃圧センサ161が配設されている。また、このデリバリパイプ106には、リリーフバルブ171を介してリターン配管172が接続されている。このリリーフバルブ171は、デリバリパイプ106内の燃料圧力が所定圧(例えば13MPa)を越えたときに開弁する。この開弁により、デリバリパイプ106に蓄えられた燃料の一部をリターン配管172を介して燃料タンク101に戻すようになっている。これにより、デリバリパイプ106内の燃料圧力の過上昇が防止される。また、上記リターン配管172と高圧燃料ポンプ1とは、燃料排出配管108(図1では破線で示している)によって接続されており、プランジャ23とシリンダ21との間隙から漏出した燃料がシールユニット5の上部の燃料収容室6に蓄積され、その後、この燃料収容室6に接続された上記燃料排出配管108に戻されるようになっている。
尚、低圧燃料配管104には、フィルタ141及びプレッシャレギュレータ142が設けられている。このプレッシャレギュレータ142は、低圧燃料配管104内の燃料圧力が所定圧(例えば0.4MPa)を越えたときに低圧燃料配管104内の燃料を燃料タンク101に戻すことによって、この低圧燃料配管104内の燃料圧力を所定圧以下に維持している。また、低圧燃料配管104には、パルセーションダンパ7が備えられており、このパルセーションダンパ7によって高圧燃料ポンプ1の作動時における低圧燃料配管104内の燃圧脈動が抑制されるようになっている。
上記高圧燃料ポンプ1には、低圧燃料配管104と加圧室22との間を連通または遮断するための上記電磁スピル弁30が設けられている。この電磁スピル弁30は、駆動源となる電磁ソレノイド31を備えており、その電磁ソレノイド31への通電を制御することにより開閉動作する。電磁スピル弁30は、電磁ソレノイド31への通電が停止されているときにはコイルスプリング37の付勢力によって開弁する所謂ノーマルオープンタイプのものである。以下、この電磁スピル弁30の開閉動作について図2を参照しながら説明する。
先ず、電磁ソレノイド31に対する通電が停止された状態のときには、電磁スピル弁30がコイルスプリング37の付勢力によって開弁し、低圧燃料配管104と加圧室22とが連通した状態になる(図1に示す状態を参照)。この状態において、加圧室22の容積が増大する方向にプランジャ23が移動するとき(吸入行程)には、フィードポンプ102から送り出された燃料が低圧燃料配管104を経て加圧室22内に吸入される。
一方、加圧室22の容積が収縮する方向にプランジャ23が移動するとき(加圧行程)において、電磁ソレノイド31への通電により電磁スピル弁30がコイルスプリング37の付勢力に抗して閉弁すると、低圧燃料配管104と加圧室22との間が遮断され、加圧室22内の燃料圧力が所定値に達した時点でチェック弁40が開放して、高圧の燃料が高圧燃料配管105を通じてデリバリパイプ106に向けて吐出される(このチェック弁40の構成については後述する)。
そして、高圧燃料ポンプ1における燃料吐出量の調整は、加圧行程での電磁スピル弁30の閉弁期間を制御することによって行われる。即ち、電磁スピル弁30の閉弁開始時期を早めて閉弁期間を長くすると燃料吐出量が増加し、電磁スピル弁30の閉弁開始時期を遅らせて閉弁期間を短くすると燃料吐出量が減少するようになる。このように、高圧燃料ポンプ1の燃料吐出量を調整することにより、デリバリパイプ106内の燃料圧力が制御される。
ここで、高圧燃料ポンプ1の燃料吐出量(電磁スピル弁30の閉弁開始時期)を制御するための制御量であるポンプデューティDTについて説明する。
このポンプデューティDTは、0〜100%という値の間で変化するものであって、電磁スピル弁30の閉弁期間に対応する排気カムシャフト110の駆動カム111のカム角度に関係した値である。
具体的には、駆動カム111のカム角度に関して、図2に示すように、電磁スピル弁30の最大閉弁期間に対応したカム角度(最大カム角度)をθ0とし、その最大閉弁期間の目標燃圧に対応するカム角度(目標カム角度)をθとすると、ポンプデューティDTは、最大カム角度θ0に対する目標カム角度θの割合(DT=θ/θ0)で表される。従って、ポンプデューティDTは、目標とする電磁スピル弁30の閉弁期間(閉弁開始時期)が最大閉弁期間に近づくほど100%に近い値となり、目標とする閉弁期間が「0」に近づくほど0%に近い値となる。
そして、ポンプデューティDTが100%に近づくほど、ポンプデューティDTに基づいて調整される電磁スピル弁30の閉弁開始時期は早められ、電磁スピル弁30の閉弁期間は長くなる。その結果、高圧燃料ポンプ1の燃料吐出量が増加して実燃圧が上昇するようになる。また、ポンプデューティDTが0%に近づくほど、ポンプデューティDTに基づいて調整される電磁スピル弁30の閉弁開始時期は遅らされ、電磁スピル弁30の閉弁期間は短くなる。その結果、高圧燃料ポンプ1の燃料吐出量が減少して実燃圧が低下するようになる。尚、上記ポンプデューティDTの算出手順の詳細についてはここでは説明を省略する。
−高圧燃料ポンプ1の具体構成−
次に、上記高圧燃料ポンプ1の具体構成について図3を用いて説明する。図3は高圧燃料ポンプ1の縦断面図である。この図3に示すように、本実施形態の高圧燃料ポンプ1は、ハウジング10内にポンプ部20、上記電磁スピル弁30及びチェック弁40を備えた構成となっている。
(ポンプ部20)
上記ポンプ部20は、上記シリンダ21、加圧室22、プランジャ23、リフタ24及びリフタガイド25を備えている。シリンダ21はハウジング10の中央部に形成され、その先端側(図3における上端側)に加圧室22が形成される。プランジャ23は円柱状であって、シリンダ21内にその軸線方向の摺動が可能に挿入されている。リフタ24は有底円筒状に形成されており、その内部に、プランジャ23の基端部、後述するリテーナ26及びコイルスプリング27等が収容される。リフタガイド25はハウジング10の下側に取り付けられた円筒状の部材であって、その内部に上記リフタ24が軸線方向へ摺動可能に収納されている。
上記プランジャ23の基端部にはリテーナ26が係合されている。具体的には、プランジャ23の基端部に小径部23aが設けられており、リテーナ26にはこの小径部23aの外径寸法に略一致する幅を有する溝26aが形成されていて、この溝26aに小径部23aが嵌め込まれることによってプランジャ23の基端部がリテーナ26に往復移動一体に係合されている。そして、上記ハウジング10の下面とリテーナ26との間にコイルスプリング27が圧縮状態で配置されている。つまり、このコイルスプリング27により、プランジャ23に対して下方への付勢力が付与されていると共に、リフタ24が駆動カム111に向けて付勢されている。尚、駆動カム111の外周面の中心位置(駆動カム111の回転軸方向の中心位置)とリフタ24の下面の中心点とは駆動カム111の回転軸方向に沿ってずらされ(偏心され)ており、これら両者は所謂オフセット配置されている。また、このオフセットの方向としては、駆動カム111の外周面とリフタ24の下面との間の摩擦力を利用してリフタ24が平面視において時計回り方向に回転するようにされている。
(電磁スピル弁30)
上記電磁スピル弁30は加圧室22に対向して配設され、上記電磁ソレノイド31、ボビン32、コア33、アーマチャ34、吸入弁35、ガイド部材36及びバルブシート部材13を備えている。電磁ソレノイド31はボビン32にリング状に巻装されたコイルで成り、コア33はボビン32の中心貫通孔に嵌合固定されている。アーマチャ34は吸入弁35の一端に固定された状態で、その一部がコア33と同軸上でボビン32の中心貫通孔に進入可能に配置されている。コア33及びアーマチャ34の各対向面には凹部がそれぞれ形成されており、それら凹部間にはコイルスプリング37が圧縮状態で収容されている。そして、このコイルスプリング37により、アーマチャ34が加圧室22側に向かって付勢されている。
上記吸入弁35はガイド部材36内の貫通孔に摺動可能に挿入されていると共に円板状の弁体35aが形成されている。
また、上記バルブシート部材13は、略円筒形状の部材であって、上記ハウジング10において加圧室22に連通する空間である燃料吸入空間14に嵌め込まれている。また、このバルブシート部材13には、上記ガイド部材36に対向し且つ中央部に燃料導入開口13bが形成された円板部13aと、この円板部13aに形成されている燃料導入開口13bの周縁から加圧室22側に向けてスリーブ形状(円筒形状)に突出したバルブシート13cとを備えている。そして、上記吸入弁35の弁体35aは、このバルブシート13cと対向するように上記バルブシート部材13の内部に位置している。
これにより、電磁ソレノイド31の非通電時には、コイルスプリング37の付勢力により、吸入弁35の弁体35aがバルブシート13cから離間されて、上記円板部13aに形成されている燃料導入開口13bが開放され、電磁スピル弁30は開弁状態となる(図3に示す状態)。この状態では、上記低圧燃料配管104と加圧室22との間で燃料が流通可能となっている。一方、図示しない電子制御装置から端子38を介して電磁ソレノイド31に通電されると、コア33、アーマチャ34及び電磁スピル弁30全体を支持する支持部材39により磁気回路が形成され、コイルスプリング37の付勢力に抗して、アーマチャ34がコア33側に移動する。これにより、吸入弁35が加圧室22とは反対側に移動し、その弁体35aがバルブシート13cに当接して、電磁スピル弁30は閉弁状態となる。この状態では、上記低圧燃料配管104と加圧室22とが遮断される。
上記ハウジング10には、内部空間が上記燃料吸入空間14に連通する吸入管部材11が取り付けられている。そして、電磁スピル弁30の開弁状態で、プランジャ23が下降するとき、フィードポンプ102の作動により燃料タンク101から汲み上げられた低圧燃料が、フィルタ141、プレッシャレギュレータ142、パルセーションダンパ7、吸入管部材11及び燃料吸入空間14を経て加圧室22に吸入されるようになっている。
上記シリンダ21の先端側に形成された加圧室22は、シリンダ21の内径よりも大径に形成されている。そして、プランジャ23は、電磁スピル弁30の閉タイミング前または閉タイミングと同時に上昇移動され、電磁スピル弁30が閉弁した後に上死点に到達するようになっている。また、ハウジング10には燃料吐出通路12が形成されており、この燃料吐出通路12内に上記チェック弁40が配設されている。この燃料吐出通路12及びチェック弁40の軸心と上記吸入弁35の軸心とは水平方向に延びる同一軸上に配設されている。
(チェック弁40)
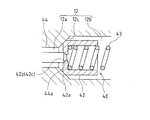
図3及び図4に示すように、上記チェック弁40は、燃料吐出通路12に嵌め込まれたスプリングベース体41と、燃料吐出通路12の内壁面に対して接離可能とされた吐出弁体としてのバルブ体42と、このバルブ体42を閉弁方向に向けて付勢するコイルスプリング(付勢手段)43とを備えている。
具体的には、図4に示すように、上記燃料吐出通路12の形状としては、加圧室22に連通する比較的小径の小径通路12aと、上記スプリングベース体41、バルブ体42、コイルスプリング43が配設される空間であって比較的大径の大径通路12bと、これら小径通路12aと大径通路12bとの内壁面同士を連結するテーパ面により形成された拡径通路12cとを備えている。
上記スプリングベース体41は、円筒形状の部材であって、その外径寸法は上記大径通路12bの内径寸法に略一致しており、この大径通路12bに嵌め込まれて固定されている。また、このスプリングベース体41の前端面(拡径通路12c側の端面)は上記コイルスプリング43の一端が当接するスプリング座面として機能している。
上記バルブ体42は、有底円筒形状を有しており、その内部の底面に上記コイルスプリング43の一端が当接している。つまり、このバルブ体42とスプリングベース体41との間に上記コイルスプリング43が圧縮状態で介在されていることにより、バルブ体42はコイルスプリング43からの付勢力を受けている。そして、このバルブ体42の先端部(小径通路12a側の先端部)の外周縁は、上記拡径通路12cの内面形状(テーパ面形状)に略合致する外側傾斜面42aを備えている。このため、バルブ体42が上記コイルスプリング43の付勢力を受けて、上記外側傾斜面42aが拡径通路12cのテーパ面に当接することによって小径通路12aと大径通路12bとを遮断するようになっている。つまり、上記拡径通路12cのテーパ面が本発明でいう弁座部を構成している。
尚、このチェック弁40の下流側では燃料吐出通路12が上記高圧燃料配管105に接続されている。そして、加圧室22内から小径通路12aに亘る空間での燃料圧力が所定値を超えたとき、バルブ体42がコイルスプリング43の付勢力に抗して拡径通路12cのテーパ面から離間する位置に移動される。これにより、チェック弁40が開弁状態になって、燃料吐出通路12から圧送される高圧燃料が高圧燃料配管105を経てデリバリパイプ106に供給されるようになっている。
そして、本実施形態の特徴は、このチェック弁40及びその周辺部の構成にある。以下、具体的に説明する。
上記チェック弁40のバルブ体42の中心部には、小径の開口42bが形成されている。この開口42bは、上記小径通路12aの内径寸法よりも小径に設定されている。また、この開口42bの内周面は、燃料流れ方向の下流側(小径通路12aから大径通路12bへ向かう側)に向かって次第に開口面積が縮小するように擂り鉢状に形成された内側傾斜面42cを備えている。
そして、本実施形態におけるチェック弁40にあっては、上記バルブ体42の中心部に形成されている上記開口42bを開閉するための弁体(微小隙間開閉体)となるニードル弁44が備えられている。このニードル弁44の先端部は、上記開口42bの内周面として形成されている内側傾斜面42cの傾斜角度に略合致する傾斜面44aを備え、先端側に向かって先細り形状となっている。一方、このニードル弁44の基端部は、図3に示すように上記加圧室22内を通過して上記電磁スピル弁30の弁体35aに一体的に連結されている。このため、このニードル弁44は、電磁スピル弁30の動作に連動し、弁体35aの進退移動に伴って軸心方向に沿って進退移動するようになっている。
詳しくは、電磁スピル弁30が開弁状態にある際のニードル弁44の先端位置は、図6に示すように、このニードル弁44の先端部がバルブ体42の開口42bに挿入されて、この開口42bを閉鎖するものの、バルブ体42に開弁方向への付勢力を付与することのない位置に設定される。つまり、チェック弁40の開放動作(バルブ体42の外側傾斜面42aが拡径通路12cのテーパ面から離間する動作)を行うことなしに開口42bを閉鎖する位置となる(ニードル弁44の第2の進退位置)。
一方、電磁スピル弁30が閉弁状態にある際のニードル弁44の先端位置は、図5に示すように、このニードル弁44の先端部がバルブ体42の開口42bから後退し、この開口42bの内縁部とニードル弁44の先端部との間で僅かな隙間(微小隙間)を形成する位置に設定される(ニードル弁44の第1の進退位置)。以上の構成により、本発明でいう微小隙間開閉手段が構成されている。また、ここで形成される微小隙間は、例えば、開口42bの内縁部とニードル弁44の先端部との間に1〜2mm程度の僅かな隙間として設定され、チェック弁40の上流側と下流側とに圧力差がある場合に、燃料が徐々に低圧側に流れ込む程度に設定されている。
−チェック弁40の動作−
次に、上述の如く構成されたチェック弁40の動作について説明する。
先ず、エンジンが駆動状態から停止状態になり、それに伴って高圧燃料ポンプ1が停止されると、それまで高圧燃料が高圧燃料配管105を経てデリバリパイプ106に供給されていたために、このデリバリパイプ106の内部空間は高圧状態となっている。このような状況で、上記電磁スピル弁30の電磁ソレノイド31への通電が開始され、図5に示すように、吸入弁35の弁体35aがバルブシート13c側に引き込まれて、このバルブシート13cに当接し、電磁スピル弁30は閉弁状態とされる。この弁体35aの移動に連動し、上記ニードル弁44は、その先端部がバルブ体42の開口42bから後退し、この開口42bの内縁部とニードル弁44の先端部との間で僅かな隙間が形成されることになる。そのため、チェック弁40の下流側空間である高圧燃料配管105と加圧室22とは、この微小隙間によって連通した状態となり、この微小隙間から加圧室22側に燃料が徐々に戻されていくことによってデリバリパイプ106の内圧は低下していく。その結果、上記インジェクタ4,4,…から気筒内への燃料漏れが防止される。
そして、エンジンが駆動され、それに伴って高圧燃料ポンプ1も始動された際において、上記プランジャ23が下降する吸入行程が行われる際には、電磁ソレノイド31の通電が解除され(非通電状態となり)、図6に示すように、コイルスプリング37の付勢力により、吸入弁35の弁体35aがバルブシート13cから離間されて、電磁スピル弁30は開弁状態となる。この弁体35aの移動に連動し、上記ニードル弁44は、その先端部がバルブ体42の開口42bに向けて前進し、このニードル弁44の先端部によってバルブ体42の開口42bが閉塞される。そのため、チェック弁40の下流側空間である高圧燃料配管105と加圧室22とは遮断された状態となり、この吸入行程では、高圧燃料配管105から加圧室22に向けて燃料が逆流することが阻止され、この加圧室22には、フィードポンプ102から供給される燃料のみが導入されることになる。尚、この吸入行程にあっては、加圧室22内の圧力は低いため(例えばフィードポンプ102の吐出圧程度の低圧になっているため)バルブ体42が開弁方向へ移動することはない。その結果、高圧燃料ポンプ1の吐出効率を高く維持することができ、また、燃料の逆流に起因するキャビテーション・エロージョンの発生を回避することもできる。
尚、上記プランジャ23が上昇する加圧行程が行われる際には、所定タイミングで、上記電磁ソレノイド31に通電されて電磁スピル弁30が閉弁状態となり(図5参照)、加圧室22内の燃料圧力が所定値に達した時点で、チェック弁40が開放する。つまり、加圧室22内から小径通路12aに亘る空間での燃料圧力が所定値を超えたとき、バルブ体42がコイルスプリング43の付勢力に抗して拡径通路12cのテーパ面から離間する位置に移動し、チェック弁40が開弁状態になって、燃料吐出通路12から圧送される高圧燃料が高圧燃料配管105を経てデリバリパイプ106に供給されることになる。この際、バルブ体42はニードル弁44の先端部からも後退移動することになるので、上記開口42bの内縁部とニードル弁44の先端部との間で形成される隙間の開放面積が拡大することになり、バルブ体42と拡径通路12cのテーパ面との間で形成される吐出通路ばかりでなく、バルブ体42に形成されている開口42bをも利用して高圧燃料の吐出が可能な状態となり、燃料吐出に対する圧力損失を低減することができる。尚、この加圧行程の初期段階において、加圧室22内の燃料圧力が所定値に達するまでの間、つまり、チェック弁40が未だ開放していない状態では、上記開口42bは開放された状態にあるが、この開口42bにより形成されている隙間は微小であるため、ここからの燃料の流出量は僅かであり、加圧室22内の圧力上昇に対して悪影響を与えることは殆どない。
以上説明したように、本実施形態によれば、ポンプ停止後におけるインジェクタ4,4,…からの燃料漏れを防止可能としながらも、吸入行程時における燃料の逆流を阻止して高い吐出効率を有する高圧燃料ポンプ1を実現することが可能である。
また、本実施形態の構成によれば、電磁スピル弁30及びチェック弁40のうち一方が開放されると他方が閉鎖されるようになっているため、デリバリパイプ106の内部空間と燃料タンク101とが直接的に連通する状態となることがない。このため、デリバリパイプ106の内部圧力が燃料タンク101の内部圧力程度まで低下してしまうといった状況は生じないことになる。その結果、エンジン始動後にはデリバリパイプ106の内部圧力を短時間のうちに必要圧力(例えば上記13MPa)まで上昇させることができて、エンジンの始動性を良好に確保することができる。
<第2実施形態>
次に、第2実施形態について説明する。
上述した第1実施形態における高圧燃料ポンプ1の電磁スピル弁30は、電磁ソレノイド31への通電が停止されているときにはコイルスプリング37の付勢力によって開弁する所謂ノーマルオープンタイプのものであった。
本実施形態は、それに代えて、電磁ソレノイド31への通電が停止されているときには閉弁する所謂ノーマルクローズタイプの電磁スピル弁30を備えた高圧燃料ポンプ1に本発明を適用した場合について説明する。つまり、本実施形態に係る高圧燃料ポンプ1では、電磁スピル弁30の吸入弁35に対して閉弁方向への付勢力がコイルスプリング等によって与えられた構成となっており、電磁ソレノイド31へ通電が行われた際には、この付勢力に抗して吸入弁35が開弁方向へ移動する構成となっている。その他の構成は上述した第1実施形態のものと同様であるので、ここでの説明は省略する。
このように構成された高圧燃料ポンプ1におけるチェック弁40の動作について以下に説明する。
エンジンが駆動状態から停止状態になり、それに伴って高圧燃料ポンプ1が停止されると、上記電磁スピル弁30の電磁ソレノイド31への通電が解除され(非通電状態となり)、図5に示すように、上記付勢力により吸入弁35の弁体35aがバルブシート13c側に引き込まれて、このバルブシート13cに当接し、電磁スピル弁30は閉弁状態とされる。この弁体35aの移動に連動し、上記ニードル弁44は、その先端部がバルブ体42の開口42bから後退し、この開口42bの内縁部とニードル弁44の先端部との間で僅かな隙間が形成されることになる。これにより、上述した第1実施形態の場合と同様に、この微小隙間から加圧室22側に燃料が徐々に戻されていくことによってデリバリパイプ106の内圧は低下していく。その結果、上記インジェクタ4,4,…から気筒内への燃料漏れが防止される。
一方、エンジンが駆動され、それに伴って高圧燃料ポンプ1も始動された際において、上記プランジャ23が下降する吸入行程が行われる際には、電磁ソレノイド31への通電が行われ、図6に示すように、上記付勢力に抗して、吸入弁35の弁体35aがバルブシート13cから離間されて、電磁スピル弁30は開弁状態となる。この弁体35aの移動に連動し、上記ニードル弁44は、その先端部がバルブ体42の開口42bに向けて前進し、このニードル弁44の先端部によってバルブ体42の開口42bが閉塞される。これにより、上述した第1実施形態の場合と同様に、吸入行程では、高圧燃料配管105から加圧室22に向けて燃料が逆流することが阻止され、この加圧室22には、フィードポンプ102から供給される燃料のみが導入されることになる。その結果、高圧燃料ポンプ1の吐出効率を高く維持することができ、また、燃料の逆流に起因するキャビテーション・エロージョンの発生が回避される。
尚、上記プランジャ23が上昇する加圧行程が行われる際には、所定タイミングで、上記電磁ソレノイド31への通電が解除されて電磁スピル弁30が閉弁状態となり(図5参照)、加圧室22内の燃料圧力が所定値に達した時点で、チェック弁40が開放し、燃料吐出通路12から圧送される高圧燃料が高圧燃料配管105を経てデリバリパイプ106に供給される。この場合にも、バルブ体42はニードル弁44の先端部から後退移動することになるので、上記開口42bの内縁部とニードル弁44の先端部との間で形成される隙間の開放面積が拡大することになり、バルブ体42と拡径通路12cのテーパ面との間で形成される吐出通路ばかりでなく、バルブ体42に形成されている開口42bをも利用して高圧燃料の吐出が可能な状態となり、燃料吐出に対する圧力損失を低減することができる。
このように、ノーマルクローズタイプの電磁スピル弁30を備えた高圧燃料ポンプ1に本発明を適用した場合にも上述した第1実施形態の場合と同様の効果を奏することができる。
<第3実施形態>
次に、第3実施形態について説明する。
上述した第1実施形態及び第2実施形態では、高圧燃料ポンプ1の停止時には、上記ニードル弁44をバルブ体42の開口42bから後退させて、この開口42bの内縁部とニードル弁44の先端部との間に微小隙間を常時形成するようにしていた。
本実施形態は、それに代えて、高圧燃料ポンプ1が駆動状態から停止状態になった時点にあっては、上記ニードル弁44をバルブ体42の開口42bから後退させて、この開口42bの内縁部とニードル弁44の先端部との間に微小隙間を形成しておき、所定タイミングで、ニードル弁44により開口42bを閉塞して上記微小隙間を形成しないようにするものである。
つまり、エンジンが駆動状態から停止状態になり、それに伴って高圧燃料ポンプ1が停止されると、図5に示すように、上記ニードル弁44の先端部をバルブ体42の開口42bから後退させて、この開口42bの内縁部とニードル弁44の先端部との間で僅かな隙間を形成する。これにより、この微小隙間から加圧室22側に燃料が徐々に戻されていくことによってデリバリパイプ106の内圧は低下していく。
そして、上記デリバリパイプ106に取り付けられている燃圧センサ161によって検出されるデリバリパイプ106内部の燃料圧力の値が、上記インジェクタ4,4,…から気筒内への燃料漏れが防止できる値まで低下した時点(例えば5Mpaとなった時点)で、ニードル弁44を前進させて、開口42bを閉塞して上記微小隙間を形成しないようにしている。これにより、高圧燃料配管105と加圧室22とは遮断されることになり、加圧室22側への燃料戻りは停止されることになる。つまり、デリバリパイプ106内の圧力は、上記インジェクタ4,4,…からの燃料漏れが防止できる範囲内において比較的高い値に維持され続けることになる。このため、デリバリパイプ106内の圧力が必要以上に低下してしまうといった状況を回避でき、エンジンの再始動時には、デリバリパイプ106内の圧力を短時間のうちに必要圧力(例えば上記13MPa)まで上昇させることができて、エンジンの始動性を良好に確保することができる。
特に、本実施形態の構成は、ノーマルオープンタイプの電磁スピル弁30を備えた高圧燃料ポンプ1に適用した場合に有効である。何故なら、ノーマルオープンタイプの電磁スピル弁30の場合、上記第1実施形態で説明したように、上記ニードル弁44の先端部をバルブ体42の開口42bから後退させて微小隙間を形成しておくためには、電磁ソレノイド31への通電を継続的に行っておくことが必要である。そして、高圧燃料ポンプ1の停止時に常時微小隙間を形成しておくためには、電磁ソレノイド31への通電を長期間に亘って継続する必要があり、消費電力の増大に繋がってしまう。
本実施形態では、燃圧センサ161によって検出されるデリバリパイプ106内部の燃料圧力の値が、上記インジェクタ4,4,…から気筒内への燃料漏れが防止できる値まで低下した時点で、ニードル弁44を前進させて、開口42bを閉塞して上記微小隙間を形成しないようにしている。つまり、電磁ソレノイド31への通電を解除している。このため、長期間に亘ってエンジンが駆動しない状況であっても、ニードル弁44を作動させておく必要はなくなり、消費電力の削減を図ることができる。
−他の実施形態−
上述した各実施形態では、本発明を自動車に搭載された筒内直噴型4気筒ガソリンエンジンに適用した場合について説明した。本発明はこれに限らず、例えば筒内直噴型6気筒ガソリンエンジンなど他の任意の気筒数のガソリンエンジンに適用可能である。また、ガソリンエンジンに限らず、ディーゼルエンジン等の他の内燃機関にも本発明は適用可能である。更には、本発明が適用可能なエンジンは、自動車用のエンジンに限るものでもない。
また、上記各実施形態における高圧燃料ポンプ1では、排気カムシャフト110に取り付けられた駆動カム111の回転によってプランジャ23が駆動される構成としたが、吸気カムシャフトに取り付けられた駆動カムの回転によってプランジャ23が駆動される構成としてもよい。
更に、本発明は、2つのカムノーズ112,112を有する駆動カム111を備えたものに限らず、その他の個数のカムノーズを有する駆動カムを備えたものにも適用可能である。
また、上記各実施形態における高圧燃料ポンプ1はプランジャポンプであったが、その他の容積形ポンプ(例えば、ピストンポンプやベーンポンプ等)に対しても本発明は適用可能である。
また、上記各実施形態では、電磁スピル弁30を備えた高圧燃料ポンプ1に本発明を適用し、且つこの電磁スピル弁30の吸入弁35とチェック弁40とを同一軸線上に配設したものであった。本発明はこれに限らず、電磁スピル弁30以外の開閉弁を吸入側に備えさせ、この開閉弁と上記ニードル弁44とを連動させる構成としてもよい。また、電磁スピル弁30の開閉駆動力をニードル弁44に伝達するための構成としては、上記各実施形態の如く電磁スピル弁30の弁体35aにニードル弁44を直接的に連結するものに限らず、リンク機構などを介してニードル弁44に開閉駆動力を伝達する構成としてもよい。この場合には、電磁スピル弁30の吸入弁35とチェック弁40とを同一軸線上に配設する必要がなくなるので、各弁のレイアウト自由度の向上を図ることができる。
また、上述した各実施形態では、電磁スピル弁30に連動してニードル弁44を作動させるようにしたが、このニードル弁44に専用の駆動源(電磁ソレノイドや電動モータ)を備えさせ、この駆動源の駆動によって上述した各実施形態の如くニードル弁44を作動させる構成も本発明の技術的思想の範疇である。
実施形態に係る燃料供給システムの構造を模式的に示す図である。 電磁スピル弁の開閉動作を説明するための図である。 高圧燃料ポンプを示す縦断面図である。 チェック弁及びその周辺部の構成を示す断面図である。 電磁スピル弁閉鎖時の状態を示す加圧室周辺部の断面図である。 電磁スピル弁開放時の状態を示す加圧室周辺部の断面図である。
符号の説明
1 高圧燃料ポンプ
4 インジェクタ(燃料噴射弁)
12 燃料吐出通路
12c 拡径通路(弁座部)
21 シリンダ
22 加圧室
23 プランジャ
30 電磁スピル弁
31 電磁ソレノイド(駆動源)
42 バルブ体(吐出弁体)
42b 開口
43 コイルスプリング(付勢手段)
44 ニードル弁(微小隙間開閉体)

Claims (3)

  1. 燃料を加圧するための加圧室と、この加圧室の吐出側に配設され且つ閉弁方向への付勢力が与えられた吐出弁体とを備え、吸入行程で上記加圧室に燃料を吸入し、加圧行程において加圧室内の圧力が所定圧力以上に達した場合に上記付勢力に抗して吐出弁体が開弁方向へ移動し加圧室から燃料噴射弁に向けて燃料を吐出する構成とされた燃料ポンプにおいて、
    ポンプ駆動状態からポンプ停止状態になった際吐出弁体下流側空間と上記加圧室とを微小隙間によって連通させる一方、ポンプ駆動時における少なくとも上記吸入行程ではこの微小隙間を閉塞する微小隙間開閉手段が備えられており、
    上記吐出弁体には、吐出弁体下流側空間と加圧室とを連通可能とする開口が形成されていて、
    上記微小隙間開閉手段は、上記吐出弁体の開口から後退し、この開口を開放させて吐出弁体下流側空間と加圧室とを連通させる第1の進退位置と、上記吐出弁体の開口に向けて前進し、この開口を閉塞させて吐出弁体下流側空間と加圧室とを遮断する第2の進退位置との間で進退移動可能な微小隙間開閉体が設けられており、
    この微小隙間開閉体は、電磁ソレノイドを駆動源としてこの電磁ソレノイドの通電/非通電によって上記第1の進退位置と第2の進退位置との間で移動して上記開口の内縁部と微小隙間開閉体との間で形成される微小隙間を開閉する構成となっていることを特徴とする燃料ポンプ。
  2. 上記請求項1記載の燃料ポンプにおいて、
    上記加圧室は、シリンダとこのシリンダ内を往復動するプランジャとにより区画形成されており、
    上記加圧室の吸入側には上記電磁ソレノイドの作動により開閉動作が可能なスピル弁が備えられ、上記加圧室の容積を縮小する方向にプランジャが移動する加圧行程時にスピル弁の開閉動作を制御することによりポンプ圧送量の調量を行う構成となっている一方、
    上記微小隙間開閉手段の微小隙間開閉体は、上記スピル弁に連結されていて、スピル弁の開放動作に連動して上記第2の進退位置となり、スピル弁の閉鎖動作に連動して上記第1の進退位置となる構成とされていることを特徴とする燃料ポンプ。
  3. 上記請求項1または2記載の燃料ポンプにおいて、
    上記吐出弁体は、加圧室吐出側の吐出通路に形成された弁座部に対して付勢手段の付勢力を受けて当接されて吐出通路を閉鎖可能となっていると共に、加圧行程において加圧室内の圧力が所定圧力以上に達した場合に上記付勢手段の付勢力に抗して弁座部から後退移動することにより吐出通路を開放して加圧室から燃料が吐出されるようになっている一方、
    上記吸入行程において、微小隙間開閉体が上記第2の進退位置にあって吐出弁体の開口が閉塞されている状態から、上記加圧行程となって微小隙間開閉体が上記第1の進退位置となり、加圧室内の圧力が所定圧力以上に達して、吐出弁体が、弁座部から後退移動するのに伴って微小隙間開閉体から後退し、これによって吐出弁体の開口からも燃料が吐出される構成となっていることを特徴とする燃料ポンプ。
JP2007206185A 2007-08-08 2007-08-08 燃料ポンプ Expired - Fee Related JP4353288B2 (ja)

Priority Applications (6)

Application Number Priority Date Filing Date Title
JP2007206185A JP4353288B2 (ja) 2007-08-08 2007-08-08 燃料ポンプ
EP20080791967 EP2187038B1 (en) 2007-08-08 2008-07-31 Fuel pump
AT08791967T ATE547620T1 (de) 2007-08-08 2008-07-31 Kraftstoffpumpe
CN2008801023291A CN101779033B (zh) 2007-08-08 2008-07-31 燃料泵
US12/672,043 US8911218B2 (en) 2007-08-08 2008-07-31 Fuel pump
PCT/JP2008/063752 WO2009020039A1 (ja) 2007-08-08 2008-07-31 燃料ポンプ

Applications Claiming Priority (1)

Application Number Priority Date Filing Date Title
JP2007206185A JP4353288B2 (ja) 2007-08-08 2007-08-08 燃料ポンプ

Publications (2)

Publication Number Publication Date
JP2009041420A JP2009041420A (ja) 2009-02-26
JP4353288B2 true JP4353288B2 (ja) 2009-10-28

Family

ID=40341273

Family Applications (1)

Application Number Title Priority Date Filing Date
JP2007206185A Expired - Fee Related JP4353288B2 (ja) 2007-08-08 2007-08-08 燃料ポンプ

Country Status (6)

Country Link
US (1) US8911218B2 (ja)
EP (1) EP2187038B1 (ja)
JP (1) JP4353288B2 (ja)
CN (1) CN101779033B (ja)
AT (1) ATE547620T1 (ja)
WO (1) WO2009020039A1 (ja)

Families Citing this family (47)

* Cited by examiner, † Cited by third party
Publication number Priority date Publication date Assignee Title
JP5514564B2 (ja) * 2010-01-25 2014-06-04 本田技研工業株式会社 燃料供給装置
KR101171995B1 (ko) 2010-04-06 2012-08-08 (주)모토닉 직접분사식 가솔린 엔진용 고압연료펌프
JP5530876B2 (ja) * 2010-09-14 2014-06-25 日立オートモティブシステムズ株式会社 高圧燃料供給ポンプ
ITRM20110203A1 (it) * 2011-04-21 2012-10-22 Icomet Spa Riduttore regolatore di pressione per l'alimentazione con metano od altri combustibili simili di motori a combustione interna
JP5537498B2 (ja) * 2011-06-01 2014-07-02 日立オートモティブシステムズ株式会社 電磁吸入弁を備えた高圧燃料供給ポンプ
CN103097715B (zh) * 2011-09-06 2015-11-25 丰田自动车株式会社 燃料泵以及内燃机的燃料供给系统
DE112011105711B4 (de) * 2011-10-06 2019-05-23 Toyota Jidosha Kabushiki Kaisha Steuervorrichtung für Maschine mit interner Verbrennung
JP5677329B2 (ja) 2012-01-20 2015-02-25 日立オートモティブシステムズ株式会社 電磁駆動型の吸入弁を備えた高圧燃料供給ポンプ
US9989026B2 (en) * 2012-02-17 2018-06-05 Ford Global Technologies, Llc Fuel pump with quiet rotating suction valve
KR101905553B1 (ko) * 2012-10-31 2018-11-21 현대자동차 주식회사 가솔린 직분사 엔진의 제어 시스템 및 제어 방법
US9422898B2 (en) * 2013-02-12 2016-08-23 Ford Global Technologies, Llc Direct injection fuel pump
JP6221410B2 (ja) * 2013-06-27 2017-11-01 トヨタ自動車株式会社 高圧燃料ポンプ
DE102013215275A1 (de) * 2013-08-02 2015-02-05 Robert Bosch Gmbh Kraftstoffhochdruckpumpe, mit einem Auslassventil
WO2015163245A1 (ja) * 2014-04-25 2015-10-29 日立オートモティブシステムズ株式会社 高圧燃料供給ポンプ
JP6421701B2 (ja) * 2015-06-10 2018-11-14 株式会社デンソー 高圧ポンプ
JP6555055B2 (ja) * 2015-09-28 2019-08-07 株式会社デンソー
JP6047648B2 (ja) * 2015-11-25 2016-12-21 日立オートモティブシステムズ株式会社 電磁吸入弁を備えた高圧燃料供給ポンプ
KR101877299B1 (ko) * 2016-04-07 2018-07-11 (주)모토닉 고압연료펌프용 유량제어밸브의 제어장치 및 제어방법
JP6569589B2 (ja) * 2016-04-28 2019-09-04 株式会社デンソー 高圧ポンプ
US10274231B2 (en) * 2016-07-19 2019-04-30 Haier Us Appliance Solutions, Inc. Caloric heat pump system
US11009282B2 (en) 2017-03-28 2021-05-18 Haier Us Appliance Solutions, Inc. Refrigerator appliance with a caloric heat pump
US11022348B2 (en) 2017-12-12 2021-06-01 Haier Us Appliance Solutions, Inc. Caloric heat pump for an appliance
JP6902627B2 (ja) * 2017-12-26 2021-07-14 日立Astemo株式会社 燃料供給ポンプ
DE102019203967A1 (de) * 2018-03-27 2019-10-02 Keihin Corporation Ventileinheit-befestigungsstruktur und fluidpumpe welche selbige verwendet
US10648705B2 (en) 2018-04-18 2020-05-12 Haier Us Appliance Solutions, Inc. Magneto-caloric thermal diode assembly
US10876770B2 (en) 2018-04-18 2020-12-29 Haier Us Appliance Solutions, Inc. Method for operating an elasto-caloric heat pump with variable pre-strain
US10782051B2 (en) 2018-04-18 2020-09-22 Haier Us Appliance Solutions, Inc. Magneto-caloric thermal diode assembly
US10648704B2 (en) 2018-04-18 2020-05-12 Haier Us Appliance Solutions, Inc. Magneto-caloric thermal diode assembly
US10830506B2 (en) 2018-04-18 2020-11-10 Haier Us Appliance Solutions, Inc. Variable speed magneto-caloric thermal diode assembly
US11015842B2 (en) 2018-05-10 2021-05-25 Haier Us Appliance Solutions, Inc. Magneto-caloric thermal diode assembly with radial polarity alignment
US11054176B2 (en) 2018-05-10 2021-07-06 Haier Us Appliance Solutions, Inc. Magneto-caloric thermal diode assembly with a modular magnet system
US10989449B2 (en) 2018-05-10 2021-04-27 Haier Us Appliance Solutions, Inc. Magneto-caloric thermal diode assembly with radial supports
US10684044B2 (en) 2018-07-17 2020-06-16 Haier Us Appliance Solutions, Inc. Magneto-caloric thermal diode assembly with a rotating heat exchanger
US11092364B2 (en) 2018-07-17 2021-08-17 Haier Us Appliance Solutions, Inc. Magneto-caloric thermal diode assembly with a heat transfer fluid circuit
DE112019003065T5 (de) * 2018-07-27 2021-03-04 Hitachi Automotive Systems, Ltd. Kraftstoffpumpe
US20200182365A1 (en) 2018-12-07 2020-06-11 Stanadyne Llc Integrated Outlet Check Valve and Pressure Relief Valve
US11274860B2 (en) 2019-01-08 2022-03-15 Haier Us Appliance Solutions, Inc. Mechano-caloric stage with inner and outer sleeves
US11168926B2 (en) 2019-01-08 2021-11-09 Haier Us Appliance Solutions, Inc. Leveraged mechano-caloric heat pump
US11149994B2 (en) 2019-01-08 2021-10-19 Haier Us Appliance Solutions, Inc. Uneven flow valve for a caloric regenerator
US11193697B2 (en) 2019-01-08 2021-12-07 Haier Us Appliance Solutions, Inc. Fan speed control method for caloric heat pump systems
US11112146B2 (en) 2019-02-12 2021-09-07 Haier Us Appliance Solutions, Inc. Heat pump and cascaded caloric regenerator assembly
JP6886483B2 (ja) * 2019-03-15 2021-06-16 住友理工株式会社 コネクタ
US11015843B2 (en) 2019-05-29 2021-05-25 Haier Us Appliance Solutions, Inc. Caloric heat pump hydraulic system
DE102019116353B4 (de) * 2019-06-17 2020-12-24 Man Energy Solutions Se Kraftstoffpumpe
JP7248794B2 (ja) * 2019-06-27 2023-03-29 日立Astemo株式会社 高圧燃料ポンプ
JP7639723B2 (ja) * 2022-01-27 2025-03-05 株式会社豊田自動織機 内燃機関の制御装置
IT202200020604A1 (it) 2022-10-06 2024-04-06 Marelli Europe Spa Metodo di controllo di un sistema di iniezione di carburante

Family Cites Families (20)

* Cited by examiner, † Cited by third party
Publication number Priority date Publication date Assignee Title
US3986795A (en) 1973-08-22 1976-10-19 Caterpillar Tractor Co. Fuel injection assembly
JPS5045122A (ja) 1973-08-22 1975-04-23
DE3115909A1 (de) * 1981-04-22 1982-11-04 M.A.N. Maschinenfabrik Augsburg-Nürnberg AG, 8900 Augsburg "brennstoffpumpe"
US4706705A (en) * 1986-04-01 1987-11-17 The Lee Company Check valve
JPH0455254Y2 (ja) 1988-01-18 1992-12-25
JPH07145763A (ja) * 1993-11-25 1995-06-06 Nippondenso Co Ltd 燃料噴射装置の調量用電磁弁
JPH08232686A (ja) * 1995-02-23 1996-09-10 Nippondenso Co Ltd 燃料噴射ポンプの制御方法及び制御装置
JPH09112408A (ja) * 1995-10-19 1997-05-02 Hitachi Ltd 燃料ポンプ
JP3237549B2 (ja) * 1996-11-25 2001-12-10 トヨタ自動車株式会社 内燃機関の高圧燃料供給装置
JP2001050174A (ja) 1999-08-03 2001-02-23 Hitachi Ltd 燃料供給ポンプ
JP2001182597A (ja) * 1999-12-24 2001-07-06 Hitachi Ltd 高圧燃料ポンプ制御装置及び筒内噴射エンジン制御装置
JP3786002B2 (ja) 2001-12-14 2006-06-14 トヨタ自動車株式会社 内燃機関の高圧燃料供給装置
JP3823060B2 (ja) * 2002-03-04 2006-09-20 株式会社日立製作所 高圧燃料供給ポンプ
DE10251014A1 (de) * 2002-11-02 2004-05-19 Robert Bosch Gmbh Kraftstoffzumesseinheit für Kraftstoffeinspritzanlagen von Brennkraftmaschinen
JP4036153B2 (ja) * 2003-07-22 2008-01-23 株式会社日立製作所 ダンパ機構及び高圧燃料供給ポンプ
JP4120630B2 (ja) 2004-09-24 2008-07-16 トヨタ自動車株式会社 内燃機関の高圧燃料供給装置およびその設計方法
JP4478944B2 (ja) * 2004-12-17 2010-06-09 株式会社デンソー 流体調量弁およびそれを用いた燃料噴射ポンプ
JP2006207451A (ja) 2005-01-27 2006-08-10 Toyota Motor Corp 燃料ポンプ及びその燃料ポンプに備えられる吐出弁
JP4455470B2 (ja) * 2005-10-19 2010-04-21 日立オートモティブシステムズ株式会社 高圧燃料ポンプ、及び高圧燃料ポンプのノーマルクローズ型の電磁弁のコントローラ
JP4678065B2 (ja) * 2009-02-25 2011-04-27 株式会社デンソー ダンパ装置、それを用いた高圧ポンプおよびその製造方法

Also Published As

Publication number Publication date
WO2009020039A1 (ja) 2009-02-12
EP2187038B1 (en) 2012-02-29
EP2187038A1 (en) 2010-05-19
CN101779033A (zh) 2010-07-14
US8911218B2 (en) 2014-12-16
JP2009041420A (ja) 2009-02-26
CN101779033B (zh) 2012-05-30
EP2187038A4 (en) 2011-03-02
ATE547620T1 (de) 2012-03-15
US20110129363A1 (en) 2011-06-02

Similar Documents

Publication Publication Date Title
JP4353288B2 (ja) 燃料ポンプ
US7574995B2 (en) Fuel injection system
US8910882B2 (en) Fuel injector having reduced armature cavity pressure
EP2241744A1 (en) Common Rail Fuel Pump and Control Method for a Common Rail Fuel Pump
JP2006207451A (ja) 燃料ポンプ及びその燃料ポンプに備えられる吐出弁
WO2021054006A1 (ja) 電磁吸入弁及び高圧燃料供給ポンプ
US8608456B2 (en) High pressure pump
JP2009103008A (ja) 燃料ポンプ
CN100473821C (zh) 具有柱塞的燃油泵及使用这种燃油泵的燃油供应系统
CN113494400A (zh) 用于直接喷射燃料泵控制的系统和方法
JP4211733B2 (ja) コモンレール式燃料噴射装置
JP3452850B2 (ja) 内燃機関用噴射弁
JP2010156261A (ja) 燃料供給装置、及び、高圧ポンプ
CN113966434B (zh) 燃料泵
JP5648620B2 (ja) 高圧燃料ポンプ
JP2010196687A (ja) 高圧ポンプ
JP4404056B2 (ja) 内燃機関用燃料噴射装置
JP2010059856A (ja) 高圧燃料ポンプ
US20040099246A1 (en) Fuel injector with multiple control valves
JP2006183579A (ja) 燃料噴射ポンプ用弁装置
JP7397729B2 (ja) 燃料ポンプ
KR20120018496A (ko) 연료 펌프 제어 방법
JP2009074504A (ja) 燃料噴射システム
JP2007332842A (ja) 燃料供給システム及びその燃料供給システムに備えられた燃料フィルタ
WO2023209949A1 (ja) 燃料ポンプ

Legal Events

Date Code Title Description
A521 Request for written amendment filed

Free format text: JAPANESE INTERMEDIATE CODE: A523

Effective date: 20081225

A131 Notification of reasons for refusal

Free format text: JAPANESE INTERMEDIATE CODE: A131

Effective date: 20090224

A521 Request for written amendment filed

Free format text: JAPANESE INTERMEDIATE CODE: A523

Effective date: 20090413

RD02 Notification of acceptance of power of attorney

Free format text: JAPANESE INTERMEDIATE CODE: A7422

Effective date: 20090413

TRDD Decision of grant or rejection written
A01 Written decision to grant a patent or to grant a registration (utility model)

Free format text: JAPANESE INTERMEDIATE CODE: A01

Effective date: 20090707

A01 Written decision to grant a patent or to grant a registration (utility model)

Free format text: JAPANESE INTERMEDIATE CODE: A01

A61 First payment of annual fees (during grant procedure)

Free format text: JAPANESE INTERMEDIATE CODE: A61

Effective date: 20090720

FPAY Renewal fee payment (event date is renewal date of database)

Free format text: PAYMENT UNTIL: 20120807

Year of fee payment: 3

FPAY Renewal fee payment (event date is renewal date of database)

Free format text: PAYMENT UNTIL: 20130807

Year of fee payment: 4

LAPS Cancellation because of no payment of annual fees