JP4168451B2 - 車両用部品位置決め治具 - Google Patents

車両用部品位置決め治具 Download PDF

Info

Publication number
JP4168451B2
JP4168451B2 JP2005102034A JP2005102034A JP4168451B2 JP 4168451 B2 JP4168451 B2 JP 4168451B2 JP 2005102034 A JP2005102034 A JP 2005102034A JP 2005102034 A JP2005102034 A JP 2005102034A JP 4168451 B2 JP4168451 B2 JP 4168451B2
Authority
JP
Japan
Prior art keywords
jig
door
vehicle
locking
main body
Prior art date
Legal status (The legal status is an assumption and is not a legal conclusion. Google has not performed a legal analysis and makes no representation as to the accuracy of the status listed.)
Expired - Fee Related
Application number
JP2005102034A
Other languages
English (en)
Other versions
JP2006206028A (ja
Inventor
康之 宍倉
Current Assignee (The listed assignees may be inaccurate. Google has not performed a legal analysis and makes no representation or warranty as to the accuracy of the list.)
Honda Access Corp
Original Assignee
Honda Access Corp
Priority date (The priority date is an assumption and is not a legal conclusion. Google has not performed a legal analysis and makes no representation as to the accuracy of the date listed.)
Filing date
Publication date
Application filed by Honda Access Corp filed Critical Honda Access Corp
Priority to JP2005102034A priority Critical patent/JP4168451B2/ja
Priority to US11/317,254 priority patent/US7237344B2/en
Priority to GB0526496A priority patent/GB2421703B/en
Publication of JP2006206028A publication Critical patent/JP2006206028A/ja
Application granted granted Critical
Publication of JP4168451B2 publication Critical patent/JP4168451B2/ja
Anticipated expiration legal-status Critical
Expired - Fee Related legal-status Critical Current

Links

Images

Classifications

    • BPERFORMING OPERATIONS; TRANSPORTING
    • B25HAND TOOLS; PORTABLE POWER-DRIVEN TOOLS; MANIPULATORS
    • B25HWORKSHOP EQUIPMENT, e.g. FOR MARKING-OUT WORK; STORAGE MEANS FOR WORKSHOPS
    • B25H7/00Marking-out or setting-out work
    • B25H7/02Plates having a flat surface
    • BPERFORMING OPERATIONS; TRANSPORTING
    • B62LAND VEHICLES FOR TRAVELLING OTHERWISE THAN ON RAILS
    • B62DMOTOR VEHICLES; TRAILERS
    • B62D35/00Vehicle bodies characterised by streamlining
    • B62D35/008Side spoilers
    • BPERFORMING OPERATIONS; TRANSPORTING
    • B62LAND VEHICLES FOR TRAVELLING OTHERWISE THAN ON RAILS
    • B62DMOTOR VEHICLES; TRAILERS
    • B62D37/00Stabilising vehicle bodies without controlling suspension arrangements
    • B62D37/02Stabilising vehicle bodies without controlling suspension arrangements by aerodynamic means
    • BPERFORMING OPERATIONS; TRANSPORTING
    • B62LAND VEHICLES FOR TRAVELLING OTHERWISE THAN ON RAILS
    • B62DMOTOR VEHICLES; TRAILERS
    • B62D65/00Designing, manufacturing, e.g. assembling, facilitating disassembly, or structurally modifying motor vehicles or trailers, not otherwise provided for
    • B62D65/02Joining sub-units or components to, or positioning sub-units or components with respect to, body shell or other sub-units or components
    • BPERFORMING OPERATIONS; TRANSPORTING
    • B62LAND VEHICLES FOR TRAVELLING OTHERWISE THAN ON RAILS
    • B62DMOTOR VEHICLES; TRAILERS
    • B62D65/00Designing, manufacturing, e.g. assembling, facilitating disassembly, or structurally modifying motor vehicles or trailers, not otherwise provided for
    • B62D65/02Joining sub-units or components to, or positioning sub-units or components with respect to, body shell or other sub-units or components
    • B62D65/024Positioning of sub-units or components with respect to body shell or other sub-units or components
    • B62D65/026Positioning of sub-units or components with respect to body shell or other sub-units or components by using a jig or the like; Positioning of the jig
    • BPERFORMING OPERATIONS; TRANSPORTING
    • B62LAND VEHICLES FOR TRAVELLING OTHERWISE THAN ON RAILS
    • B62DMOTOR VEHICLES; TRAILERS
    • B62D65/00Designing, manufacturing, e.g. assembling, facilitating disassembly, or structurally modifying motor vehicles or trailers, not otherwise provided for
    • B62D65/02Joining sub-units or components to, or positioning sub-units or components with respect to, body shell or other sub-units or components
    • B62D65/16Joining sub-units or components to, or positioning sub-units or components with respect to, body shell or other sub-units or components the sub-units or components being exterior fittings, e.g. bumpers, lights, wipers, exhausts
    • YGENERAL TAGGING OF NEW TECHNOLOGICAL DEVELOPMENTS; GENERAL TAGGING OF CROSS-SECTIONAL TECHNOLOGIES SPANNING OVER SEVERAL SECTIONS OF THE IPC; TECHNICAL SUBJECTS COVERED BY FORMER USPC CROSS-REFERENCE ART COLLECTIONS [XRACs] AND DIGESTS
    • Y10TECHNICAL SUBJECTS COVERED BY FORMER USPC
    • Y10TTECHNICAL SUBJECTS COVERED BY FORMER US CLASSIFICATION
    • Y10T29/00Metal working
    • Y10T29/53Means to assemble or disassemble
    • Y10T29/53978Means to assemble or disassemble including means to relatively position plural work parts

Landscapes

  • Engineering & Computer Science (AREA)
  • Mechanical Engineering (AREA)
  • Chemical & Material Sciences (AREA)
  • Combustion & Propulsion (AREA)
  • Transportation (AREA)
  • Manufacturing & Machinery (AREA)
  • Physics & Mathematics (AREA)
  • Fluid Mechanics (AREA)
  • Automobile Manufacture Line, Endless Track Vehicle, Trailer (AREA)
  • Gripping Jigs, Holding Jigs, And Positioning Jigs (AREA)
  • Vehicle Interior And Exterior Ornaments, Soundproofing, And Insulation (AREA)

Description

本発明は、車両用外装部品、サイドアンダースポイラーなどを取付ける際に使用される車両用部品位置決め治具に関するものである。
従来、車両用外装部品を取付けるには、車両本体や開閉体であるドアの端部などの基準位置からの距離をコンベックスにより測定し、外装部品を取付ける位置を決定する必要があり、作業が煩雑であった。このような問題を解決する手段として、サイドプロテクタモールを自動車のドア部およびフェンダ部に装着するに先立って、ドア部とドア部もしくはドア部とフェンダ部との間隙に装着され、該サイドプロテクタモールの長手方向の位置決めを行なう治具であって、前記間隙に挿入係止可能な弾力性のある二又状脚部と、該脚部が間隙に挿入された際、サイドプロテクタモールの長手方向端部を当接させる当接部を有し、この当接部の少なくともドア回動中心側が上記間隙の幅より設定幅だけ突出する形状とした頭部とを備えたことを特徴とする自動車のサイドプロテクタモール装着用治具が開示されている(例えば特許文献1)。当該サイドプロテクタモール装着用治具によれば、弾力性のある脚部を間隙に挿入しドア部およびフェンダ部に当接させた後、フェンダ部に装着するサイドプロテクタモールの長手方向の一端を頭部に当接させることにより容易に位置決めを行なえる上、脚部が弾力性を有するため、間隙の寸法誤差を吸収できるので、より作業性に優れている。また、サイドアンダースポイラーを取付ける際に使用される治具であって、ドア51を開いた状態の車両本体52に突き当てて位置決めを行なう治具53が知られている(図14)。
実開昭60−127293号公報
しかしながら、上記した特許文献1におけるサイドプロテクタモール装着用治具では、長手方向の位置決めを行なえるのみであり、高さ方向の位置決めを同時に行うことはできないため、高さ方向の位置決めを必要とする作業において作業工数の低減を図ることが困難であるという問題があった。また、図12に示す治具53においては、位置決めの際、ドア51を全開にする必要があるため、広い作業スペースが必要であり、さらに、作業者が治具53を押えながら外装部品を取付ける必要があるので、作業が煩雑であるだけでなく、取付位置の精度を向上することが困難であるという問題があった。さらに、治具53は位置決めする箇所に応じて、治具53を回転させて使用していたため、取扱説明書の指示を必要とし、作業工数が増大し、また使用方法を誤るという懸念があった。
そこで、本発明は上記した問題点に鑑み、作業性を向上できると共に取付位置の精度を向上できる車両用部品位置決め治具を提供することを目的とする。
上記目的を達成するために、本発明に係る車両用部品位置決め治具は、次のような手段を採用する。
すなわち請求項1に係る発明は、車両用部品を車両に取り付ける際に用いられる車両用部品取付用位置決め治具であって、前記車両の高さ方向に対して位置を規定する第1係止部と、前記車両の高さ方向に対して略直交する方向の位置を規定する第2係止部とを備え、板状部材を組み立てて形成され、前記第1係止部と前記第2係止部の少なくとも一箇所は車両本体と開閉体との間に固定され、前記第1係止部と前記第2係止部の少なくとも一方は、開閉体を狭持する狭持部を備え、前記開閉体に保持されることを特徴とすることを特徴とする。
また、請求項2に係る発明は、請求項1記載の発明において、前記狭持部は、入口部と底部とからなり、前記入口部が前記底部に対して狭く形成されていることを特徴とする
また、請求項に係る発明は、請求項1又は2記載の発明において、前記第1係止部と前記第2係止部とを備える基部を有し、前記基部に前記車両用部品を前記車両に取付ける際に位置決めの目安となる基準線を設けたことを特徴とする。
本発明の請求項1記載の車両用部品位置決め治具によれば、車両の高さ方向の位置を規定する第1係止部と、車両の高さ方向に対して略直交する方向を規定する第2係止部とを備えるため、直交する二方向の位置決めを同時に行なえ、作業を簡単にすることができると共に、コンベックスにより寸法を計測したりペンでマーキングをしたりする必要もないので、作業工数を低減でき取付位置の寸法精度を向上できる。
また、前記第1係止部又は前記第2係止部は車両本体と開閉体との間に固定され、車両用部品位置決め治具を車両に取り付けることができ、作業に熟練を要せず、作業性および取付位置の精度を向上することができる。
さらに、車両用部品位置決め治具は、板状部材例えば型紙やプラスチックボードなどを用いて形成することができるので、製造コストを低減できる。また、輸送に際しては板状で行なうことができるので、輸送コストも低減できる。さらに、車両用部品位置決め治具は、板状部材を切り抜いて、適宜折り返すなどすることにより形成することができるので、特別な技術を要せずとも治具を形成し、かつ、車両用部品の設置を行える。
また、狭持部を設けたことにより、車両用部品位置決め治具を開閉体に保持させることができ、作業性を向上することができる。また、開閉体を開閉する際、車両用部品位置決め治具が不用意に動いてしまうことがないので、位置決め精度を向上できると共に、工数を低減できる。
また、請求項2に記載の車両用部品位置決め治具によれば、入口部が底部より狭く形成されていることにより、確実にドアを狭持できると共に、底部において応力を分散して吸収することによって、繰り返し使用にも耐えることができる。
また、請求項3に記載の車両用部品位置決め治具によれば、基準線を外装部品の取付位置に合わせるだけで位置決めできるので、熟練を要せずとも取付位置の精度を向上できる。
(第1実施例)
以下、本発明に係る車両用部品位置決め治具の第1実施例について説明する。図1〜図3は本実施例の構成を示す図である。
図1は、車両用部品位置決め治具1(以下、治具)の展開図である。治具1は、板状部材である型紙、厚紙などで構成される。治具1は、中央に配置された基部2と、この基部2の側方に配置された側面部3と、前記側面部3に設けられた第1係止部4と、前記側面部3から翼状に水平方向に延びる第2係止部5とにより構成され、前記基部2を中心として左右対称に設けられる。前記基部2と側面部3との接続部分には、第1の折返し線L1が設けられている。
前記側面部3は、下方に形成された前記第1係止部4と、略中央に設けられた傾斜溝6とにより構成され、前記第1係止部4と前記傾斜溝6は、略直線状の側端部7で接続される。前記第1係止部4は、上方が開口したフック形状に形成されている。前記傾斜溝6は、外側に開口し、下方に傾斜して形成されている。
前記基部2の上端には間隔保持部8が設けられている。この間隔保持部8は、T字形部材で構成され、長手方向に延びる横長部材9には下方に開口する垂直溝10が前記第1の折返し線L1の延長線上に形成されている。また、高さ方向に延びる縦長部材11は前記基部2と略同じ幅を有する。前記基部2の略中央には、高さ方向に基準線CLが設けられている。前記基部2と間隔保持部8との接続部分には、第2の折返し線L2が設けられている。
前記第2係止部5は、前記側面部3から延びる延設部12と、該延設部12の先端に設けられた係止片13とにより構成される。前記延設部12は、第3の折返し線L3を介して前記側面部3の上方に接続されている。この延設部12には、左右の向きを示すL又はRの表示がそれぞれ左側及び右側の延設部12に設けられる。前記係止片13は、第4の折返し線L4を介して前記延設部12の先端に接続されている。前記折返し線L1〜L4の両端には、それぞれV字溝14が形成されている。
図2は、大きさの異なる3種類の治具1F,1C,1Rが縦方向に配置された治具セット1Sの展開図である。治具セット1Sは、延設部12同士が接続部材15により接続され、接続部材15と延設部12とは切断線L5を介して接続される。各治具1F,1C,1Rには、フロント用、センター用、リア用を意味するFR,CTR,RRの文字が設けられる。前記切断線L5の少なくとも一端にはV字溝14が設けられている。尚、延設部12は、接続部材15との接続部分に凸部16が設けられる。また、前記折返し線L1〜L4及び切断線L5は、折返し又は切断を容易にするため、ミシン目、プレス折目が形成されてもよく、さらに、折返し線L1〜L4には、山折り又は谷折りを示す表示がされてもよい。治具セット1Sを構成する各治具1F,1C,1Rは、図1に示す治具1とそれぞれ構成を同じくするものであるので、各構成については簡単のため説明を省略する。
このように構成された治具セット1Sは、接続部材15を切断線L5に沿って切り離すことによって、それぞれの治具1F,1C,1Rに分離される。切断線L5にはV字溝14が設けられていることによりハサミやカッターなどの工具を使用しなくても容易に切断できる。延設部12には、前記凸部16が設けられていることにより、誤って延設部12を切断してしまうことを防止することができる。
次に、前記治具1の組立て方法について図3を参照して説明する。治具1は、基部2を中心として側面部3が第1の折返し線L1において山折りされる。側面部3が第1の折返し線L1において山折りされると、側面部3同士が平行に対向する。さらに間隔保持部8が第2の折返し線L2において山折りされ、前記垂直溝10が前記傾斜溝6に係合される。前記垂直溝10が前記傾斜溝6に係合されると、間隔保持部8が側面部3を一定間隔に保持する。すなわち、前記垂直溝10が第1の折返し線L1の延長線上に形成され、しかも前記間隔保持部8は前記基部2と略同じ幅を有することにより、前記側面部3を基部2に対し直角に保持すると共に、垂直溝10が傾斜溝6に係合し、側面部3がスプリングバックにより変形することを防止する。また、前記傾斜溝6が側面部3の略中央に形成されていることにより、間隔保持部8は基部2の上端から傾斜して側面部3の中央に保持される。
次いで、延設部12が第3の折返し線L3において谷折りされ、側面部3に対し直角に形成され、左右の延設部12が翼状に水平方向に延びた状態となる。このとき、第1係止部4と傾斜溝6を接続する側端部7と、延設部12を谷折りした第3の折返し線L3とは略同一線上に位置する。さらに、係止片13が第4の折返し線L4において山折りされ、延設部12に対し直角に形成される。
上記のように、治具1は板状部材を折り畳んで形成されることとしたことにより、製造コストを低減できると共に、輸送の際には治具セット1Sとして、すなわち3種類の治具1を1組とした板状の状態で輸送できるので、輸送コストも低減し、しかも部品点数を低減できる。また、組立てに工具を要しないので、作業工数を低減できる。さらに、前記折返し線L1〜L4の両端はV字溝14が設けられていることにより、折返し線L1〜L4において山折り又は谷折りする際、折返し線L1〜L4に応力が集中し、容易に折返し線上で折り返すことができ、簡単に組み立てることができる。
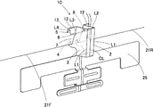
このように形成された治具1は、図4に示すように、車両20の側面における開閉体であるドア21の下方に設置される。治具1は、その設置される場所によって、大きさの異なる3種のもの、すなわち、フロント用治具1F、センター用治具1C、リア用治具1Rとが用意され、それぞれ、前側ドア21Fの前部、前側ドア21Fの後部、後側ドア21Rの後部に設置される。
次に治具1の設置方法について図5〜図8を参照して説明する。尚、車両20の高さ方向に略直行する方向を車両20の進行方向として説明する。また説明の便宜上、進行方向に対し左側のドアにおいて説明する。
まず、フロント用治具1Fの設置方法について説明する。図5に示すように、第1係止部4を前側ドア21Fと前記車両20の車両本体22との間に固定する。すなわち、前側ドア21Fを開き、前側ドア21Fの下端に第1係止部4を係止する。その状態を保持したまま前側ドア21Fを閉める。そうするとフロント用治具1Fは、側面部3が垂直に前側ドア21Fに当接した状態で前側ドア21Fと車両本体22との間に固定される。第1係止部4は、図6に示すように、前側ドア21Fと車両本体22との間に設けられた隙間を投影した形状に形成されているので車両本体22に密着する。すなわち、前側ドア21Fは、車両20の外側を構成する外側体23と、内側を構成する前記外側体23に比べ板厚の厚い内側体24とで構成され、端部において熔接により一体化されている。このように構成された前側ドア21Fの下端にフック形状に形成された第1係止部4が係止される。さらに前記側端部7が外側体23の表面形状に合わせて形成されることにより側面部3が外側体23に密着し、フロント用治具1Fが前側ドア21Fに密着し確実に係止される。また、第1係止部4の車両本体22に当接する側は、車両本体22の形状に合わせて形成されている。このように、第1係止部4を前側ドア21Fの下端および車両本体22の形状に合わせて形成することにより、治具1Fを前側ドア21F及び車両本体22に対し、側面部3が前側ドア21Fに垂直に当接した状態で保持すると共に、治具1Fが上下方向にずれてしまうのを防いで、高さ方向の位置を正確に規定することができる。
次いで図5に示すように第2係止部5を前側ドア21Fの前端に係止する。すなわち、第1係止部4において前側ドア21F及び車両本体22に固定されたフロント用治具1Fは、側端部7が車両本体22の外側体23に当接し、延設部12がドア外側体23に沿って水平方向に延びた状態で、水平方向に移動可能に固定されている。このように固定されたフロント用治具1Fの側面部3を把持し、延設部12の先端が前側ドア21Fの前端に到達するまで水平方向に治具1を移動させる。このとき、前記傾斜溝6が側面部3の略中央に形成され、間隔保持部8が基部2の上端から傾斜して側面部3の間に保持されている。これによりフロント用治具1Fの強度を保つことができるので、側面部3を外側から把持しても、フロント用治具1Fが変形することを防止できる。
そして、延設部12の先端が前側ドア21Fの前端に到達したら、係止片13が第4の折返し線L4において山折りされ、前側ドア21Fに係止される。このとき、第4の折返し線L4は、前側ドア21Fの前端形状に合わせて斜方に形成され、その第4の折返し線L4に対し直角に係止片13が設けられている。これにより、係止片13がドア21F端部に対し面接触するので、確実に前側ドア21の前端に係止させることができ、容易かつ精度よく位置決めできる。このように第2係止部5を前側ドア21Fの前端に係止することにより、進行方向の位置を規定することができる。
上記のようにフロント用治具1Fを車両20に設置することにより、簡単かつ容易に位置決めを行なうことができる。また、第1係止部4を前側ドア21Fに係止する時に前側ドア21Fを開ければよいので、位置決め及び車両用部品の装着に際し、広いスペースを要せずとも作業を行え、しかも、フロント用治具1Fを車両20に固定しておくことができるので、作業性を向上でき、熟練の作業者でなくても精度よく設置することができる。さらに、前記フロント用治具1Fは、左右対称に形成されているので、同じフロント用治具1Fを用いて右側の前側ドア21Fにおいても同様の手順により位置決めを行なうことができる。また、第1係止部4を前側ドア21Fの下端に、第2係止部5を前側ドア21Fの前端に係止すれば位置決めできるので、使用方法が明確であり、詳細な使用説明書による指示がなくても、使用方法を判読することが可能で、誤って設置してしまうことを防止できる。しかも、前記傾斜溝6が側面部3の略中央に形成され、間隔保持部8が基部2の上端から傾斜して側面部3の間に保持されていることにより、フロント用治具1Fの強度を保つことができるので、側面部3を外側から把持しても、フロント用治具1Fが変形することを防止し、正確な位置決めを行なうことができる。
次にセンター用治具1Cの設置方法について図7を参照して説明する。第1係止部4を前側ドア21Fと車両20との間に固定する。すなわち、前側ドア21Fと後側ドア21Rとの間の隙間から、第1係止部4を滑り込ませ、前側ドア21Fの下端に第1係止部4を係止する。このとき、第1係止部4は、図6に示す状態で前側ドア21Fの下端と車両本体22との間に固定される。このように第1係止部4を前側ドア21Fの下端に係止することにより、高さ方向の位置を正確に規定することができる。次いで第2係止部5を前側ドア21Fの後端に係止する。すなわち、側面部3を把持し、延設部12の先端が前側ドア21Fの後端に到達するまで水平方向に治具1Cを移動させる。延設部12の先端が前側ドア21Fの後端に到達したら、第2係止部5が第4の折返し線L4において山折りされ、前側ドア21Fに係止される。このように第2係止部5を前側ドア21Fの前端に係止することにより、進行方向の位置を規定することができる。
次にリア用治具1Rの設置方法について図8を参照して説明する。第1係止部4を後側ドア21Rと車両20との間に固定する。すなわち、後側ドア21Rを開き、後側ドア21Rの下端に第1係止部4を係止する。その状態を保持したままドアを閉め、リア用治具1Rを後側ドア21Rと車両本体22との間に固定する。このとき、第1係止部4は、図6に示す状態で後側ドア21Rの下端と車両本体22との間に固定される。このように第1係止部4を前側ドア21Fの下端に係止することにより、高さ方向の位置を正確に規定することができる。次いで第2係止部5を後側ドア21Rの後端に係止する。すなわち、側面部3を把持し、延設部12の先端が後側ドア21Rの後端に到達するまで水平方向に治具1Rを移動させる。延設部12の先端が後側ドア21Rの後端に到達したら、第2係止部5が第4の折返し線L4において山折りされ、後側ドア21Rに係止される。このように第2係止部5を後側ドア21Rの後端に係止することにより、進行方向の位置を規定することができる。
次に、各構成の作用について図5、図6及び図8を参照して説明する。
治具1F,1C,1Rは、車両20の開閉体であるドア21を基準として、車両用である外装品を取り付けるためのブラケット25の位置決めを行なうために用いられる。
車両20に設置された治具1F,1C,1Rは、基部2の下端がドア21の下端から下方に突出することにより高さ方向の位置を規定する。また、前記基部2に設けられた基準線CLは、ドア21の前端又は後端から延設部12と基部2の長さ分だけ離れた距離に位置することにより進行方向に対する位置を規定するものである。したがって、基部2に設けられた基準線CLの下端が求める基準位置Aとなる。
このように求められた基準位置Aに、外装品を保持するブラケット25を治具1の下端に当接して高さ方向の位置決めを行なう。すなわち、車両20に設置された治具1の下端にブラケット25の上端を当接させる。したがって、高さ方向については、目視に寄らず機械的に位置決めを行なえるので、作業者による取付位置のバラツキを少なくできる。
ブラケット25の上端を当接させたら、基準線CLを垂直方向から目視しながらブラケット25を水平に移動させ、ブラケット25の中心を基準線CLに合わせる。このとき、治具1F,1C,1Rは車両20に固定されているので、作業者は治具1F,1C,1Rを押える必要はなく、両手を使ってブラケット25の位置決めをし、さらに、取付作業を行えるので、作業工数を低減できると共に、熟練を要せずとも精度よく位置決めを行なえるものである。尚、延設部12を着脱可能な貼着手段によりドアの外側体23に固定し、より確実に治具1を車両20に固定することとしてもよい。また、前記第1係止部4を複数設け、その一箇所を車両20に固定することとしてもよいし、前記第2係止部5を複数設け、その一箇所を車両20に固定することとしてもよいことは勿論である。
次に、上記実施例の変形例について図9を参照して説明する。尚、上記した構成と同様の構成については同様の符号を付し、簡単のため、説明を省略する。
図9に示す治具31は、基部2の下端に延長部32が設けられ、該延長部32には、基部2に設けられた基準線CLが延長されている。この延長部32は、第5の折返し線L6を介して前記基部2に接続される。このように構成された治具1は、第1係止部4及び第2係止部5においてドア21にそれぞれ係止され、車両20に設置される。前記延長部32は第5の折返し線L6で山折りされる。治具1の下端にブラケット25を当接し、そのまま水平方向に移動させる。このとき、山折りされた延長部32がブラケット25にまで延びるので、基準線CLを直接ブラケット25に当接することができる。これにより、基準線CLに対し垂直方向から目視しなくても、正確に基準線CLにブラケット25を合わせることができるので、より簡単に位置決めで切ると共に、精度を向上できる。
上記のように本実施例では、車両用部品を車両20に取り付ける際に用いられる治具1であって、前記車両20の高さ方向に対して位置を規定する第1係止部4と、前記車両20の高さ方向に対して略直交する方向の位置を規定する第2係止部5とを備えることとしたことにより、高さ方向の位置を規定する第1係止部4と、車両20の進行方向を規定する第2係止部5とを備えるため、直交する二方向の位置決めを同時に行なえ、作業を簡単にすることができると共に、コンベックスにより寸法を計測したりペンでマーキングをしたりする必要もないので、作業工数を低減でき取付位置の寸法精度を向上できる。
また、前記第1係止部4と前記第2係止部5の少なくとも一箇所は、車両本体22とドア21との間に固定されることとしたことにより、前記第1係止部4又は前記第2係止部5は車両本体22とドア21との間に固定されるので、治具1F,1C,1Rを車両20に固定しておくことができ、作業に熟練を要せず、作業性および取付位置の精度を向上することができる。
また、前記治具1は、板状部材で組み立てて形成されることしたことにより、板状部材例えば型紙やプラスチックボードなどを用いて形成することができるので、製造コストを低減できる。また、輸送に際しては板状で行なうことができるので、輸送コストも低減できる。さらに、車両20部品用位置決め治具1は、板状部材を切り抜いて、適宜折り返すなどすることにより形成することができるので、特別な技術を要せずとも治具1F,1C,1Rを形成し、かつ、車両20部品の設置を行える。
また、前記第1係止部4と前記第2係止部5とを備える基部2と、前記基部2に車両用の取付位置を示す基準線CLを設けた延長部32とを備えたことにより、基準線CLを外装部品の取付位置まで延長することができるので、熟練を要せずとも取付位置の精度を向上できる。
(第2実施例)
次に、本発明に係る治具の第2実施例について説明する。尚、上記した構成と同様の構成については同様の符号を付し、簡単のため説明を省略する。
図10に示す治具34は、基部2と、この基部2の側方に配置された側面部3と、前記側面部3に設けられた第1係止部4と、前記側面部3から翼状に水平方向に延びる第2係止部5とにより構成される。治具34は、前記基部2を中心として左右対称に設けられるが、図では簡単のため省略している。
前記第1係止部4は、フック状に開口しており、狭持部35を備えている。この狭持部35は、第1係止部4の先端側に形成された入口部36と、前記入口部36から連続して基端側に設けられた底部37とにより構成される。前記入口部36は、緩やかなR形状で前記第1係止部4の先端に連続しており、開口幅Wを底部37より狭く形成される。また、前記底部37は、前記狭持部35の開口幅Wと略同じ若しくは開口幅Wより大きい直径の円弧形状で構成される。
前記側端部7は、干渉代38が設けられている。前記干渉代38は、前記底部37を基端として上方に向かって緩やかに外側へ傾斜した斜面で構成される。尚、図10中の一点鎖線Lは、干渉代38を設けなかった場合の側端部7を示す。
次にこのように構成された治具34をドア21に設置する様子について図11を参照して説明する。第1係止部4は、開放されたドア21の下端から挿入される。前記入口部36は緩やかなR形状で第1係止部4の先端に連続していることにより、治具34を容易にドア21の下端に挿入することができる。ドア21の下端に第1係止部4が挿入されると、狭持部35がドア21に摺接し、ドア21の下端が底部37へ当接する。狭持部35の開口幅Wはドア21端部の厚さTより略小さく形成されており、これにより、ドア21を狭持することができる。このとき狭持部35には開方向へ応力が生じる。この応力は、底部37が円弧形状で構成されていることにより、底部37において分散して吸収される。したがって狭持部35は、一回のみの使用によって致命的な破損を受けることがなく、繰り返し使用にも耐えることができる。また、底部37を狭持部35の幅より略大きい直径を有する円弧形状で構成することにより、より大きな応力を分散して吸収することができるので、耐久性をさらに向上することができる。
このように、狭持部35がドア21を狭持するので、治具34をドア21に保持することができる。したがって、作業者が治具34を保持しながらドア21の開閉を行う必要がないので、作業性を向上することができる。また、ドア21の開閉の際、治具34が不用意に動いてしまうことがないので、位置決め精度を向上できると共に、工数を低減できる。さらに、一枚のドア21に複数の治具34を設置する場合の作業性を格段に向上することができる。
また、前記側端部7に前記干渉代38を設けたことにより、ドア21が本体22に対し開方向にずれたとしても、治具34の下端を本体22に確実に当接することができ、確実に位置決めできる。一方、ドア21が本体22に対し閉方向にずれた場合にも、以下のようにして治具34の下端を本体22に当接させ、確実に位置決めすることができる。すなわち、ドア21が本体22に対し閉方向にずれると、治具34の下端が本体22によって開方向に押される。治具34の下端が本体22によって開方向に押されると、治具34に狭持部35を中心として反時計回りのモーメントが生じる。治具34に反時計回りのモーメントが生じると、側端部7の上端がドア21に押付けられる。このように側端部7の上端及び治具34の下端に生じた応力は、側端部の7上端及び治具34の下端と比較して強度的に弱い狭持部35に集中する。したがって、側端部7の上端及び治具34の下端に生じた応力は狭持部35において吸収される。このとき、狭持部35には底部37が設けられていることにより、応力を分散することができるので、治具34の耐久性を向上することができる。
次に、治具34の位置決め機構39について図12を参照して説明する。位置決め機構39は、前記第1係止部4の下方に設けられた挿入部40と当接部41とからなる。前記挿入部40は凸となるR形状により構成され、前記当接部41は前記本体形状に対応した凹となるR形状により構成される。
このように構成された位置決め機構39の作用について説明する。まず、治具34がドア21の下端に対して、下方にずれて設置された場合について説明する。尚、図中34Aは、治具34が所定位置にある状態を示し、34Bは、治具34が下方にずれて設置された状態を示す。治具34はドア21の下端に狭持部35が差し込まれることによって保持される(図12(A))。すなわち、前記開口幅Wがドア21の下端の厚さTより狭く形成されていることにより、治具34が所定位置より下方にある状態で仮保持することができる。このように、治具34を仮保持することができるので、治具34をテープなどで固定することなく治具34を保持した状態でドア21を開閉することができる。この状態でドア21を閉めると、第1係止部4の下側に形成されたR形状からなる挿入部40が本体22に当接する。挿入部40が本体22に当接すると、治具34が本体22に押し上げられドア21に沿って上方に移動し、当接部41が本体22に当接する(図12(B))。このようにして、ドア21の下方にずれて設置された場合でも、所定位置に治具34を位置決めすることができる。さらに、挿入部40がR形状で形成されていることにより、本体21に当接した場合にも治具34を傷めることなく、スムーズに本体22に沿って治具を移動させ、所定位置に位置決めすることができる。また、治具34は前記開口幅Wがドア21の下端の厚さTより狭く形成されていることにより、ドア21が本体22に対し上方にずれたとしても、ドア21に治具34を保持させることができると共に、所定位置に位置決めすることができる。
次に、ドア21が本体22に対し下方にずれた場合の位置決め機構39の作用について図13を参照して説明する。図13(A)に示すように、ドア21が本体22に対し下方にずれた状態において、下端に治具34を保持した状態でドア21を閉めると、挿入部40が本体22に当接し、治具34が本体22に押し上げられる。このときドア21は下方にずれているので、治具34は底部37がドア21の下端に当接する位置を越えてドア21に沿って上方に移動し、当接部41が本体22に当接する図13(B))。したがって、ドア21の下端は底部37に食込み、底部37を変形させる。このとき底部37は治具34が厚紙などで形成されているため、容易に変形することができる。このようにして、ドア21が下方にずれた場合にも、底部34が容易に変形することによってドア21の下方へのずれを吸収し、治具34を所定位置に位置決めすることができる。
上記のように本実施例では、前記第1係止部4は、ドア21を狭持する狭持部35を備えることにより、作業者が治具34を保持しながらドア21の開閉を行う必要がないので、作業性を向上することができる。また、ドア21の開閉の際、治具34が不用意に動いてしまうことがないので、位置決め精度を向上できると共に、工数を低減できる。さらに、一枚のドア21に複数の治具34を設置する場合の作業性を格段に向上することができる。
また、入口部36が底部37より狭く形成されていることにより、確実にドア21を狭持できる。
また、前記狭持部35は、前記狭持部35の開口幅Wより略大径の円弧形状からなる底部37を備えることにより、底部37において狭持部35に作用する応力を分散して吸収することができる。したがって狭持部35は、繰り返し使用にも耐えることができ、治具34の耐久性及び作業性を向上できる。
また、前記側端部7に前記干渉代38を設けたことにより、ドア21が本体22に対し開閉方向にずれたとしても、確実に治具34を本体22に当接させ、確実に位置決めすることができる。
また、前記開口幅Wがドア21の下端の厚さTより狭く形成されていることにより、治具34を仮保持することができ、テープなどを用いなくても治具34を保持した状態でドア21の開閉を行なうことができるので、容易に位置決めできる。
また、位置決め機構39を備えていることにより、治具34を所定位置に設置するための目視確認やテープによって治具34を仮固定する工数を削減できる。
また、位置決め機構39が挿入部40と当接部41とからなることにより、治具34を傷めることなく、スムーズに本体22に沿って治具34を移動させ、所定位置に位置決めすることができる。
また、治具34を変形可能な厚紙などで構成することとしたことにより、ドア21が本体22に対し下方にずれた場合にも、底部37が容易に変形しドア21のずれを吸収するので、所定位置に治具34を位置決めすることができる。
本発明は、本実施形態に限定されるものではなく、本発明の要旨の範囲内で種々の変形実施が可能である。例えば、上記した実施例において治具1は型紙、厚紙などの板状部材で構成したものを例示したが、本発明はこれに限られるものではなく、ゴムやプラスチックボードなどの合成樹脂などにより形成してもよい。このように、合成樹脂などにより形成することにより、複数回の使用にも耐えることが可能となるので、工場の製造ラインにおいて使用することもできる。
本発明の第1実施例に係る車両用部品位置決め治具の展開図である。 同上、治具セットの展開図である。 同上、車両用部品位置決め治具の全体斜視図である。 同上、平面図であり使用状態を示す図である。 同上、フロント用治具を示す斜視図であり使用状態を示す図である。 同上、縦断面図であり使用状態を示す図である。 同上、センター用治具を示す斜視図であり使用状態を示す図である。 同上、リア用治具を示す斜視図であり使用状態を示す図である。 同上、変形例を示す斜視図であり使用状態を示す図である。 本発明の第2実施例に係る車両用部品位置決め治具の部分展開図である。 同上、縦断面図であり使用状態を示す図である。 位置決め機構を示す縦断面図であり、(A)治具を仮保持した状態、(B)ドアを閉めた状態、を示す図である。 位置決め機構を示す縦断面図であり、(A)ドアが本体に対し下方にずれた状態、(B)ドアを閉めた状態、を示す図である。 本発明の従来例を示す斜視図である。
符号の説明
1 治具(車両用部品位置決め治具)
1F フロント用治具
1C センター用治具
1R リア用治具
2 基部
4 第1係止部
5 第2係止部
20 車両
21 ドア(開閉体)
22 車両本体
32 延長部
CL 基準線

Claims (3)

  1. 車両用部品を車両に取り付ける際に用いられる車両用部品取付用位置決め治具であって、前記車両の高さ方向に対して位置を規定する第1係止部と、前記車両の高さ方向に対して略直交する方向の位置を規定する第2係止部とを備え、板状部材を組み立てて形成され、前記第1係止部と前記第2係止部の少なくとも一箇所は車両本体と開閉体との間に固定され、前記第1係止部と前記第2係止部の少なくとも一方は、前記開閉体を狭持する狭持部を備え、前記開閉体に保持されることを特徴とする車両用部品位置決め治具。
  2. 前記狭持部は、入口部と底部とからなり、前記入口部が前記底部に対して狭く形成されていることを特徴とする請求項1記載の車両用部品位置決め治具。
  3. 前記第1係止部と前記第2係止部とを備える基部を有し、前記基部に前記車両用部品を前記車両に取付ける際に位置決めの目安となる基準線を設けたことを特徴とする請求項1又は2項記載の車両用部品位置決め治具。
JP2005102034A 2004-12-28 2005-03-31 車両用部品位置決め治具 Expired - Fee Related JP4168451B2 (ja)

Priority Applications (3)

Application Number Priority Date Filing Date Title
JP2005102034A JP4168451B2 (ja) 2004-12-28 2005-03-31 車両用部品位置決め治具
US11/317,254 US7237344B2 (en) 2004-12-28 2005-12-27 Jig for positioning vehicular part
GB0526496A GB2421703B (en) 2004-12-28 2005-12-28 Jig for positioning vehicular part

Applications Claiming Priority (2)

Application Number Priority Date Filing Date Title
JP2004379757 2004-12-28
JP2005102034A JP4168451B2 (ja) 2004-12-28 2005-03-31 車両用部品位置決め治具

Publications (2)

Publication Number Publication Date
JP2006206028A JP2006206028A (ja) 2006-08-10
JP4168451B2 true JP4168451B2 (ja) 2008-10-22

Family

ID=35841282

Family Applications (1)

Application Number Title Priority Date Filing Date
JP2005102034A Expired - Fee Related JP4168451B2 (ja) 2004-12-28 2005-03-31 車両用部品位置決め治具

Country Status (3)

Country Link
US (1) US7237344B2 (ja)
JP (1) JP4168451B2 (ja)
GB (1) GB2421703B (ja)

Families Citing this family (14)

* Cited by examiner, † Cited by third party
Publication number Priority date Publication date Assignee Title
US7401415B2 (en) * 2004-08-06 2008-07-22 Ratech Pinion gear depth measurement tool
JP4186227B2 (ja) * 2004-12-28 2008-11-26 株式会社ホンダアクセス 車両用部品取付用孔の位置決め治具
US7515560B2 (en) * 2005-09-07 2009-04-07 F4W, Inc. Apparatus and method for dynamically updating and communicating within flexible networks
FR2953801B1 (fr) * 2009-12-15 2013-02-15 Peugeot Citroen Automobiles Sa Gabarit pour faciliter la mise en place de baguettes sur les portes d'un vehicule automobile
FR2990183B1 (fr) * 2012-05-02 2014-05-16 Peugeot Citroen Automobiles Sa Gabarit pour le positionnement d'une garniture sur une porte d'un vehicule.
ITMI20130650A1 (it) * 2013-04-19 2014-10-20 Campagnolo Srl Dispositivo per il montaggio di un deragliatore anteriore su un telaio di bicicletta, e relativo metodo di montaggio
US9719768B2 (en) 2015-07-21 2017-08-01 Honda Motor Co., Ltd. Methods and apparatus for aligning vehicle components
US9802663B1 (en) * 2016-04-12 2017-10-31 David R. Hall Tab-and-slot frame members with a stringer
US11009586B2 (en) 2017-08-31 2021-05-18 Bosch Automotive Service Solutions Inc. Mobile calibration apparatus for vehicle sensors
FR3074133B1 (fr) * 2017-11-24 2021-02-19 Renault Sas Dispositif d'ajustement en position d'un becquet rapporte de vehicule automobile
WO2019121396A1 (en) 2017-12-20 2019-06-27 Robert Bosch Gmbh Portable apparatus for vehicle sensor calibration
DE102020101325A1 (de) 2020-01-21 2021-07-22 Bayerische Motoren Werke Aktiengesellschaft Prüfschablone und Verwendung einer Prüfschablone
FR3107020B1 (fr) * 2020-02-10 2022-07-29 Psa Automobiles Sa Gabarit de support de plaque d’immatriculation pour véhicule automobile
CN115609510B (zh) * 2022-11-01 2025-07-22 中车株洲车辆有限公司 一种漏斗车顶盖组成的组装样具

Family Cites Families (16)

* Cited by examiner, † Cited by third party
Publication number Priority date Publication date Assignee Title
US4291467A (en) * 1978-10-10 1981-09-29 Shultz Jr William L Guide rule for automobile moulding or the like
JPS59114173A (ja) 1982-12-22 1984-07-02 Honda Motor Co Ltd 自動車車体の組立装置
JPS60127293A (ja) 1983-12-15 1985-07-06 Asahi Chem Ind Co Ltd ダイヤモンドの製造方法
US4610096A (en) * 1984-09-04 1986-09-09 Binney & Smith, Inc. Transformable stencil toy
US4606129A (en) * 1985-10-18 1986-08-19 General Motors Corporation Gap and flushness measuring tool
CA1306850C (en) * 1987-12-01 1992-09-01 Honda Giken Kogyo Kabushiki Kaisha (Also Trading As Honda Motor Co., Ltd .) Method and apparatus for assembling instrument panels for automobiles
GB8829384D0 (en) * 1988-12-15 1989-02-01 Richards Roger C Improvements in or relating to marking-out
US5491905A (en) * 1994-04-26 1996-02-20 Jablonski; Jeffrey C. Apparatus for accurately spacing railing spindles
AU3370795A (en) * 1994-08-15 1996-03-07 B-Level Corp. Auxiliary surface-forming member for construction elements
US5551162A (en) * 1994-10-12 1996-09-03 Js Research And Development, Inc. Hand-held gap and contour measuring gauge
JP2001300870A (ja) 2000-04-25 2001-10-30 Isuzu Motors Ltd ケガキ治具
US6775915B2 (en) * 2002-08-13 2004-08-17 Circuit City Stores, Inc. Method and device for determining adequacy of space for television sets
US7246449B2 (en) * 2004-04-17 2007-07-24 Detex Corporation Installation template for lock and alarm assemblies
US7040151B2 (en) * 2004-05-14 2006-05-09 Myron Roy Graham Brake evaluation gauge
DE102004044017B4 (de) * 2004-09-09 2015-02-05 Valmet Automotive Oy Kraftfahrzeugrahmenmodul eines modular aufgebauten Kraftfahrzeugrahmens
FR2875211B1 (fr) * 2004-09-15 2006-12-22 Peugeot Citroen Automobiles Sa Dispositif et procede d'assistance a la fixation d'un element de vitrage a une porte sans cadre d'un vehicule automobile

Also Published As

Publication number Publication date
US7237344B2 (en) 2007-07-03
GB0526496D0 (en) 2006-02-08
JP2006206028A (ja) 2006-08-10
GB2421703A (en) 2006-07-05
GB2421703B (en) 2009-08-05
US20060143892A1 (en) 2006-07-06

Similar Documents

Publication Publication Date Title
JP4168451B2 (ja) 車両用部品位置決め治具
CN204729406U (zh) 夹持紧固件装置
JP4870488B2 (ja) 高固定強度の固定具
US7188393B2 (en) Fastener device
US20040056152A1 (en) Wing structure of airplane
US8827370B2 (en) Vehicle seat assembly
CN105829737A (zh) 安装部件的安装结构
JP5724115B2 (ja) 車両用艤装部品及びその取り付け構造
CN213862140U (zh) 后保险杠总成、车身结构以及车辆
JP2001095126A (ja) ワイヤーハーネス用プロテクタ装置
JP4252881B2 (ja) タンクプロテクタの固定構造
JP4089814B2 (ja) 内装トリムにおけるクリップ取付座
JP2002034117A (ja) 電気接続箱のブラケット取付構造
JP2004352002A (ja) ガーニッシュの取付構造
JP3696760B2 (ja) 線状体固定具
JP3997147B2 (ja) クリップ及びそれを用いたバンパー取付方法
US7584931B2 (en) Case holding mechanism
JP2016141306A (ja) 車両の前部構造
JPH0748418Y2 (ja) 部品の取付構造
CN212637745U (zh) 一种前大灯装配辅具
CN100390012C (zh) 车辆用部件定位用具
JP6033623B2 (ja) 車両のバンパ取付構造
JP7452738B1 (ja) フロントパネルの構造、及びフロントパネルの固定方法
JPH046367Y2 (ja)
JP2010078065A (ja) クリップ式取付構造

Legal Events

Date Code Title Description
A131 Notification of reasons for refusal

Free format text: JAPANESE INTERMEDIATE CODE: A131

Effective date: 20080310

A977 Report on retrieval

Free format text: JAPANESE INTERMEDIATE CODE: A971007

Effective date: 20080314

A521 Request for written amendment filed

Free format text: JAPANESE INTERMEDIATE CODE: A523

Effective date: 20080507

TRDD Decision of grant or rejection written
A01 Written decision to grant a patent or to grant a registration (utility model)

Free format text: JAPANESE INTERMEDIATE CODE: A01

Effective date: 20080714

A01 Written decision to grant a patent or to grant a registration (utility model)

Free format text: JAPANESE INTERMEDIATE CODE: A01

A61 First payment of annual fees (during grant procedure)

Free format text: JAPANESE INTERMEDIATE CODE: A61

Effective date: 20080727

FPAY Renewal fee payment (event date is renewal date of database)

Free format text: PAYMENT UNTIL: 20110815

Year of fee payment: 3

R150 Certificate of patent or registration of utility model

Free format text: JAPANESE INTERMEDIATE CODE: R150

FPAY Renewal fee payment (event date is renewal date of database)

Free format text: PAYMENT UNTIL: 20110815

Year of fee payment: 3

FPAY Renewal fee payment (event date is renewal date of database)

Free format text: PAYMENT UNTIL: 20120815

Year of fee payment: 4

FPAY Renewal fee payment (event date is renewal date of database)

Free format text: PAYMENT UNTIL: 20120815

Year of fee payment: 4

FPAY Renewal fee payment (event date is renewal date of database)

Free format text: PAYMENT UNTIL: 20120815

Year of fee payment: 4

FPAY Renewal fee payment (event date is renewal date of database)

Free format text: PAYMENT UNTIL: 20130815

Year of fee payment: 5

R250 Receipt of annual fees

Free format text: JAPANESE INTERMEDIATE CODE: R250

R250 Receipt of annual fees

Free format text: JAPANESE INTERMEDIATE CODE: R250

LAPS Cancellation because of no payment of annual fees