JP4098103B2 - 送液機構及び該送液機構を備える分析装置 - Google Patents

送液機構及び該送液機構を備える分析装置 Download PDF

Info

Publication number
JP4098103B2
JP4098103B2 JP2003013634A JP2003013634A JP4098103B2 JP 4098103 B2 JP4098103 B2 JP 4098103B2 JP 2003013634 A JP2003013634 A JP 2003013634A JP 2003013634 A JP2003013634 A JP 2003013634A JP 4098103 B2 JP4098103 B2 JP 4098103B2
Authority
JP
Japan
Prior art keywords
liquid
feeding mechanism
incompressible medium
liquid tank
tank
Prior art date
Legal status (The legal status is an assumption and is not a legal conclusion. Google has not performed a legal analysis and makes no representation as to the accuracy of the status listed.)
Expired - Fee Related
Application number
JP2003013634A
Other languages
English (en)
Other versions
JP2004226207A (ja
Inventor
雅弘 塚本
朋之 栗原
Current Assignee (The listed assignees may be inaccurate. Google has not performed a legal analysis and makes no representation or warranty as to the accuracy of the list.)
Asahi Kasei Corp
Original Assignee
Asahi Kasei Corp
Priority date (The priority date is an assumption and is not a legal conclusion. Google has not performed a legal analysis and makes no representation as to the accuracy of the date listed.)
Filing date
Publication date
Application filed by Asahi Kasei Corp filed Critical Asahi Kasei Corp
Priority to JP2003013634A priority Critical patent/JP4098103B2/ja
Publication of JP2004226207A publication Critical patent/JP2004226207A/ja
Application granted granted Critical
Publication of JP4098103B2 publication Critical patent/JP4098103B2/ja
Anticipated expiration legal-status Critical
Expired - Fee Related legal-status Critical Current

Links

Images

Landscapes

  • Reciprocating Pumps (AREA)
  • Investigating Or Analyzing Non-Biological Materials By The Use Of Chemical Means (AREA)
  • Sampling And Sample Adjustment (AREA)
  • Automatic Analysis And Handling Materials Therefor (AREA)

Description

【0001】
【発明の属する技術分野】
本発明は、微量試料の分析,検出を簡便に行うことができる分析装置に関する。また、前記分析装置における液体の送液に好適な送液機構に関する。
【0002】
【従来の技術】
医療診断に必要な測定を患者近傍で行うベッドサイド診断用の分析(POC(point of care )分析)や、河川や廃棄物中の有害物質の分析を河川や廃棄物処理場等の現場で行うこと(POU(point of use)分析)や、食品の調理,収穫,輸入の各現場における汚染検査等のような、分析・計測が必要とされる現場もしくは現場の近傍で分析・計測を行うこと(以下、「POC分析等」と総称する)の重要性が注目されている。そして、近年、このようなPOC分析等に適用される検出法や装置の開発が重要視されつつある。このようなPOC分析等は、簡便に短時間で、且つ低コストで行われることが要求される。
【0003】
従来、微量分析には、試料をキャピラリガスクロマトグラフィー(CGC),キャピラリ液体クロマトグラフィー(CLC)等で分離した後、質量分析計で定量するGC−MS装置やLC−MS装置が広く使用されてきた。しかしながら、これらの分析装置は質量分析計が大型であることと操作が煩雑であることから、患者のベッドサイドや汚染河川,廃棄物処理場近辺等の現場での測定に使用することには適していない。さらに、血液等を試料とする医療診断用途の分析装置は、試料が触れる部分を使い捨てにすることが望ましい。
【0004】
そこで、これらの問題点を解決するために、従来利用されてきた分析装置を小型化し、極微量の液体試薬を反応させるμTAS(micro total analysis system )の技術をPOC分析等へ応用する検討が進んできた。μTASでは、血液に限らず検体量を微量にするために、10cmから数cm角程度以下のガラスやシリコン製のチップの表面に溝を形成して、その溝中に試薬溶液や検体を流して分離,反応を行って、微量試料の分析を行っている(特開平2−245655号公報、特開平3−226666号公報、特開平8−233778号公報、 Analytical Chem. 69, 2626-2630 (1997) Aclara Biosciencesなど)。この技術においては、検体量,検出に必要な試薬量,検出に用いた消耗品等の廃棄物,廃液の量がいずれも少なくなる上、検出に必要な時間もおおむね短時間で済むという利点がある。
【0005】
本願出願人も、特願平10−181586号明細書(「混合分析装置及び混合分析方法」)、特開2000−2675号公報(「キャピラリ光熱変換分析装置」)、特開2000−2677号公報(「分析装置」)、国際公開WO99/64846号公報、特願平11−227624号明細書(「分析用カートリッジ及び送液制御装置」)等のμTAS関係の発明を出願している。
【0006】
これらの公報又は出願明細書には、チップとして樹脂製のマイクロチップを用いることや、微量成分の検出法として熱レンズ検出法を用いることなども記載されている。
熱レンズ検出法は、励起光で液体中の試料を励起して、いわゆる熱レンズを形成させ、検出光でその熱レンズの変化を測定する光熱変換検出法であり、その原理等は以前から知られている(特開昭60−174933号公報、A.C.Boccara et.al.,Appl.Phys.Lett.36,130,1980、J. Liquid Chromatography 12, 2575-2585(1989)、特開平10−142177号公報、特開平4−369467号公報、ぶんせきNo.4,280−284,1997、M.Harada,et.al.,Anal.Chem.Vol.65,2938−2940,1993、川西,他 日本分析化学会第44年会講演要旨集,p119,1995など)。
【0007】
キャピラリー中の成分を測定する方法としては、熱レンズ検出法の他に蛍光法や吸光度法等も用いることができるが、蛍光標識物質の導入などの操作をすることなく高い感度が実現できるので、熱レンズ検出法が適している。
一方、チップ中で、キャピラリ電気泳動そのものや、電気浸透流を用いて電圧をかけることによって送液する方法も提案されている(国際公開WO96/04547号公報、S.C.Jakobson,et.al.,Anal.Chem.Vol.66,4127−4132,1994、J. Liquid Chromatography 12, 2575-2585(1989)、特開平10−142177号公報、特開平4−369467号公報など)。
【0008】
しかしながら、電気泳動も電気浸透流も、チップ内の液体に電極を介して電圧をかけるため、電極表面で測定試薬や測定試料の電気分解が生じて、試薬組成や試料組成が変化してしまうことがある。また、試薬や試料の電気分解生成物がキャピラリの内面に付着して、キャピラリ表面のゼータ電位を変えてしまい、送液速度が変化するといった現象が起こる場合もある。
【0009】
また、カートリッジ内に凍結乾燥した固体試薬を入れておき、カートリッジ内に封入した溶解希釈液で血液検体を希釈し、さらに該希釈検体液で前記固体試薬を溶解して、分析反応を行い定量する方法が開示されている(特表平10−501340号公報,特表平9−504732号公報等)。
この方法では、送液は遠心力により行われているため、送液方向は常に遠心力の働く方向、つまり、円形カートリッジの円の中心から外方に向かう方向である。固体試薬はカートリッジ中の流路末端に位置する、円周沿いの小部屋内に置かれており、希釈された検体が各小部屋に流入して、固体試薬を溶解し反応して吸光度に変化を来すようになっている。
【0010】
しかしながら、カートリッジの構造上、固体試薬は流路の最終点におかれているため、1試薬による1段反応の検出反応しか行えないこととなり、検出項目によっては、検査センターや病院の臨床検査室などで行われている、学会や官庁などで定められた推奨法による検出反応とは異なる反応及び試薬組成を採用せざるを得ない。そのため、従来の検査データとの相関性が低い場合がある。さらに、検査項目によっては、このような円形カートリッジの反応様式では分析が困難な場合も考えられる。
【0011】
これに対して、密閉カプセル内での気泡による送液方法が報告されている。これには、気泡の熱膨張による送液と電解ガスの発生による送液とがある。前者は、密閉されたチャンバーと加熱材料及び充填液とにより行われる。加熱された気泡の膨張は高い圧力を発生し、早い送液が可能である。例えばNaruse Yoshihiroらの方法は、液が充填されたチャンバー内に吸光発熱材料を封入しておき、ガラスファイバーでレーザー光をチャンバー内に導くと、吸光発熱材料の発熱によりチャンバー内の気泡が膨張して送液が行われるというものである(USP5210817号明細書)。
【0012】
一方、後者は、密閉されたチャンバーとその中に充填された電解液とチャンバーに挿入された一対の電極とにより行われる。電極に電圧を印加することによる電解ガスの発生で圧力が生じ、送液が行われるというものである。例えば、D.A.Hopkins,Jr(USP5671905号明細書)やC.R.Neagu ら(C.R.Neagu, J.G.E.Gardeniers, M.Elwenspoek, J.J.Kelly, Journal of Micro Electro Mechanical Systems, 5,1, 2-9,(1996))が報告しているものがある。
【0013】
しかしながら、気泡は圧縮性を有するので、細いキャピラリ流路中に液を送る場合は、液の流れが始まってから安定するまでに長い時間が必要となる。場合によっては、液が流れ方向に振動して、送液がまったく安定しないという問題が発生するおそれがある。
さらにまた、気泡を使用することなく充填液を外部から押して液を送る方法が提案されており、例えば圧電素子による送液があげられる。圧電素子は、比較的少量のエネルギーで大きな力を発生させることが可能である。
【0014】
しかしながら、圧電素子が単一の結晶で構成されていると、極小さい距離しか液を押し動かすことができない。ストロークを大きくするには通常は複数の結晶で圧電素子を構成するが、そうすると多くの部品が必要になり、結局コストがかさんでしまう。
また、圧電素子は小さい電流で駆動するが高い電圧を必要とするため、必ずしも今日の半導体回路に適応しているとは言えない。さらに、伸張係数の異なる材料を積層して圧電素子を構成する必要があり、しかも積層に際しては正確なクリアランスが要求されるため、微小サイズ化することが難しい。さらに、振動による往復運動であるため、送液に適した一方向の力に変換するためには、逆止弁機能を有する複数のバルブを必要としたり、複数のポンプに位相差を付ける電気的制御を必要としたりするので、システム全体が非常に複雑になるという問題があった。ディフューザーなど整流効果のあるモジュールを流路内に設置することにより送液を行うことも可能であるが、その構造上の特性により、高流速でないと整流効果は期待できない。低流速の場合には流路幅を細くすることにより高速化することも可能ではあるが、この方法では流路での圧力損失が大きくなる,チップの製作精度や流量制御精度を高める必要がある,高コストにつながる等の理由により、実用的なシステムを組むことが困難になってくる。
【0015】
さらにまた、静電的な荷電反発と反対荷電の引き合いの原理に基づく送液も報告されている。例えば、 R. Zengerleらの方法では、薄い膜状電極とチップ固定電極との静電的反発によりチャンバー内の液が押し出される(R. Zengerle, A. Richter, H. Sandmaier, Micro Electro Mechanical Systems '92, 4, 19,(1992)) 。
【0016】
しかしながら、ギャップ距離は送液に敏感なため、実際の送液では2,3μmに制限される。この狭いギャップはゴミ等による汚染に敏感で、高い電場ではゴミを引きつけやすく、このような汚染により適切な送液が阻害される。また、大きな電流は必要としないが高い電圧を必要とするので、必ずしも今日の半導体回路に適応しているとは言えない。さらに、大きな送液力を得るには大容量の荷電板が必要である。さらに、振動による往復運動であるため、送液に適した一方向の力に変換するためには、電気的に制御されるか又は逆止弁機能を有する複数のパイロットバルブが必要になり、システム全体が非常に複雑になるという問題があった。
【0017】
【特許文献1】
米国特許第5210817号明細書
【特許文献2】
米国特許第5671905号明細書
【非特許文献1】
C.R.Neagu, J.G.E.Gardeniers, M.Elwenspoek, J.J.Kelly,"Journal of Micro Electro Mechanical Systems" ,1996年, 第5巻, 第1号,p.2-9
【非特許文献2】
R.Zengerle, A.Richter, H.Sandmaier,"Micro Electro Mechanical Systems '92",1992年, 第4巻,p.19
【0018】
【発明が解決しようとする課題】
このように、POC分析等を行う機器へ提供する送液技術として多くの提案があるが、多項目,小型,簡便,短時間,低コストという我々の目指す機器の要求全てに適合するものは未だ提案されていない。具体的には、装置が小型で平易に製造できるもの、操作が煩雑でなく簡単に測定ができるもの、コンタミネーション防止の観点から分析用チップが使い捨てにできるもの、検査結果が従来の検査法と相関性があるもの、光熱変換検出法(熱レンズ法)等による濃度測定が可能なもの、外部の送液装置と分析用チップとの間に複雑な接続機構がないもの、精度確保のため濃度標準液反応が行えるもの、等の多くの必要条件を満たすことのできる送液機構が求められている。
【0019】
そこで、本発明は、上記のような従来技術が有する問題点を解決し、その機構が平易で小型且つ低コストであるとともに、POC分析等をはじめとする種々の分析を行う分析装置に好適な送液機構を提供することを課題とする。また、該送液機構を備え、POC分析等をはじめとする種々の分析を簡便に短時間で正確に行うことができる分析装置を提供することを課題とする。
【0020】
【課題を解決するための手段】
前記課題を解決するため、本発明は次のような構成からなる。すなわち、本発明に係る請求項1の送液機構は、壁体に囲まれて形成された液体槽の容積を変化させることによって、前記液体槽に満たされた液体を前記液体槽に連結された流路に送る、又は、前記流路若しくは前記流路に連結された別の液体槽に収納された液体を前記液体槽に送る送液機構であって、前記壁体の少なくとも一部が、前記液体槽の内部又は外部に向かって突出するように変形可能な弾性を有する隔壁で構成されているとともに、前記隔壁の外面に接するダイアフラム部材と、ゴム弾性を有する物質で構成され且つ前記ダイアフラム部材の有する面のうち前記隔壁と接していない面に接する非圧縮性媒質と、前記非圧縮性媒質を収納する容器と、前記非圧縮性媒質に圧力を負荷する圧力発生手段と、を備え、前記非圧縮性媒質が前記ダイアフラム部材と前記容器とに囲まれた密閉空間に密封されていて、前記圧力発生手段が、孔又は亀裂が設けられた前記容器と、前記容器の孔又は亀裂に連続する孔又は亀裂が設けられた前記非圧縮性媒質と、前記容器及び前記非圧縮性媒質の孔又は亀裂に挿入され往復運動するピン又は薄片と、で構成され、前記圧力が前記非圧縮性媒質及び前記ダイアフラム部材を介して前記隔壁に負荷されて、前記隔壁が変形するようになっていることを特徴とする。
【0021】
また、本発明に係る請求項2の送液機構は、壁体に囲まれて形成された液体槽の容積を変化させることによって、前記液体槽に満たされた液体を前記液体槽に連結された流路に送る、又は、前記流路若しくは前記流路に連結された別の液体槽に収納された液体を前記液体槽に送る送液機構であって、前記壁体の少なくとも一部が、前記液体槽の内部又は外部に向かって突出するように変形可能な弾性を有する隔壁で構成されているとともに、前記隔壁の外面に接するダイアフラム部材と、前記ダイアフラム部材の有する面のうち前記隔壁と接していない面に接する非圧縮性媒質と、前記非圧縮性媒質を収納する容器と、物質の固液相変化に伴う体積変化を利用して圧力を発生させ該圧力を前記非圧縮性媒質に負荷する圧力発生手段と、を備え、前記非圧縮性媒質が前記ダイアフラム部材と前記容器とに囲まれた密閉空間に密封されていて、前記圧力が前記非圧縮性媒質及び前記ダイアフラム部材を介して前記隔壁に負荷されて、前記隔壁が変形するようになっていることを特徴とする。
さらに、本発明に係る請求項3の送液機構は、請求項2に記載の送液機構において、前記物質の温度を制御して前記物質に固液相変化に伴う体積変化を生じさせる加熱装置及び冷却装置の少なくとも一方を備えることを特徴とする。
【0022】
さらに、本発明に係る請求項4の送液機構は、請求項2又は請求項3に記載の送液機構において、前記容器と前記圧力発生手段とを、非圧縮性媒質が充填された管状部材で連結したことを特徴とする。
さらに、本発明に係る請求項5の送液機構は、請求項1〜4のいずれか一項に記載の送液機構において、前記隔壁と前記ダイアフラム部材との接触部分近傍を大気圧未満に減圧することによって、前記隔壁と前記ダイアフラム部材とを密着させ、前記接触部分近傍を大気圧とすることによって、前記隔壁と前記ダイアフラム部材との密着を解除する手段を備えることを特徴とする。
【0023】
さらに、本発明に係る請求項6の送液機構は、壁体に囲まれて形成された液体槽の容積を変化させることによって、前記液体槽に満たされた液体を前記液体槽に連結された流路に送る、又は、前記流路若しくは前記流路に連結された別の液体槽に収納された液体を前記液体槽に送る送液機構であって、前記壁体の少なくとも一部が、前記液体槽の内部又は外部に向かって突出するように変形可能な弾性を有する隔壁で構成されているとともに、前記隔壁の外面に接するダイアフラム部材と、前記ダイアフラム部材の有する面のうち前記隔壁と接していない面に接する非圧縮性媒質と、前記非圧縮性媒質を収納する容器と、前記非圧縮性媒質に圧力を負荷する圧力発生手段と、を備え、前記非圧縮性媒質が前記ダイアフラム部材と前記容器とに囲まれた密閉空間に密封されていて、前記圧力が前記非圧縮性媒質及び前記ダイアフラム部材を介して前記隔壁に負荷されて、前記隔壁が変形するようになっており、さらに、前記隔壁と前記ダイアフラム部材との接触部分近傍を大気圧未満に減圧することによって、前記隔壁と前記ダイアフラム部材とを密着させ、前記接触部分近傍を大気圧とすることによって、前記隔壁と前記ダイアフラム部材との密着を解除する手段を備えることを特徴とする。
さらに、本発明に係る請求項7の送液機構は、請求項6に記載の送液機構において、前記容器と前記圧力発生手段とを、非圧縮性媒質が充填された管状部材で連結したことを特徴とする。
【0024】
さらに、本発明に係る請求項8の送液機構は、請求項6又は請求項7に記載の送液機構において、前記圧力発生手段は、往復式容積形ポンプ機構を利用して前記圧力を発生させることを特徴とする。
【0025】
さらに、本発明に係る請求項9の送液機構は、請求項6又は請求項7に記載の送液機構において、前記圧力発生手段は、回転式容積形ポンプ機構を利用して前記圧力を発生させることを特徴とする。
【0026】
さらに、本発明に係る請求項10の送液機構は、壁体に囲まれて形成された液体槽の容積を変化させることによって、前記液体槽に満たされた液体を前記液体槽に連結された流路に送る、又は、前記流路若しくは前記流路に連結された別の液体槽に収納された液体を前記液体槽に送る送液機構であって、前記壁体の少なくとも一部が、前記液体槽の内部又は外部に向かって突出するように変形可能な弾性を有する隔壁で構成されているとともに、ゴム弾性を有する物質で構成され且つ前記隔壁の外面に接する非圧縮性媒質と、前記非圧縮性媒質を収納する容器と、前記非圧縮性媒質に圧力を負荷する圧力発生手段と、を備え、前記非圧縮性媒質が前記隔壁と前記容器とに囲まれた密閉空間に密封されていて、前記圧力発生手段が、孔又は亀裂が設けられた前記容器と、前記容器の孔又は亀裂に連続する孔又は亀裂が設けられた前記非圧縮性媒質と、前記容器及び前記非圧縮性媒質の孔又は亀裂に挿入され往復運動するピン又は薄片と、で構成され、前記圧力が前記非圧縮性媒質を介して前記隔壁に負荷されて、前記隔壁が変形するようになっていることを特徴とする。
さらに、本発明に係る請求項11の送液機構は、壁体に囲まれて形成された液体槽の容積を変化させることによって、前記液体槽に満たされた液体を前記液体槽に連結された流路に送る、又は、前記流路若しくは前記流路に連結された別の液体槽に収納された液体を前記液体槽に送る送液機構であって、前記壁体の少なくとも一部が、前記液体槽の内部又は外部に向かって突出するように変形可能な弾性を有する隔壁で構成されているとともに、前記隔壁の外面に接する非圧縮性媒質と、前記非圧縮性媒質を収納する容器と、物質の固液相変化に伴う体積変化を利用して圧力を発生させ該圧力を前記非圧縮性媒質に負荷する圧力発生手段と、を備え、前記非圧縮性媒質が前記隔壁と前記容器とに囲まれた密閉空間に密封されていて、前記圧力が前記非圧縮性媒質を介して前記隔壁に負荷されて、前記隔壁が変形するようになっていることを特徴とする。
【0027】
さらに、本発明に係る請求項12の送液機構は、請求項11に記載の送液機構において、前記物質の温度を制御して前記物質に固液相変化に伴う体積変化を生じさせる加熱装置及び冷却装置の少なくとも一方を備えることを特徴とする。
さらに、本発明に係る請求項13の送液機構は、請求項11又は請求項12に記載の送液機構において、前記容器と前記圧力発生手段とを、非圧縮性媒質が充填された管状部材で連結したことを特徴とする。
【0028】
さらに、本発明に係る請求項14の送液機構は、請求項10〜13のいずれか一項に記載の送液機構において、前記隔壁と前記非圧縮性媒質との接触部分の少なくとも一部を接着したことを特徴とする。
さらに、本発明に係る請求項15の送液機構は、壁体に囲まれて形成された液体槽の容積を変化させることによって、前記液体槽に満たされた液体を前記液体槽に連結された流路に送る、又は、前記流路若しくは前記流路に連結された別の液体槽に収納された液体を前記液体槽に送る送液機構であって、前記壁体の少なくとも一部が、前記液体槽の内部又は外部に向かって突出するように変形可能な弾性を有する隔壁で構成されているとともに、前記隔壁の外面に接する非圧縮性媒質と、前記非圧縮性媒質を収納する容器と、前記非圧縮性媒質に圧力を負荷する圧力発生手段と、を備え、前記非圧縮性媒質が前記隔壁と前記容器とに囲まれた密閉空間に密封され、前記隔壁と前記非圧縮性媒質との接触部分の少なくとも一部が接着されていて、前記圧力が前記非圧縮性媒質を介して前記隔壁に負荷されて、前記隔壁が変形するようになっていることを特徴とする。
【0029】
さらに、本発明に係る請求項16の送液機構は、請求項15に記載の送液機構において、前記容器と前記圧力発生手段とを、非圧縮性媒質が充填された管状部材で連結したことを特徴とする。
さらに、本発明に係る請求項17の送液機構は、請求項15又は請求項16に記載の送液機構において、前記圧力発生手段は、往復式容積形ポンプ機構を利用して前記圧力を発生させることを特徴とする。
【0030】
さらに、本発明に係る請求項18の送液機構は、請求項15又は請求項16に記載の送液機構において、前記圧力発生手段は、回転式容積形ポンプ機構を利用して前記圧力を発生させることを特徴とする。
さらに、本発明に係る請求項19の送液機構は、請求項1〜18のいずれか一項に記載の送液機構において、前記隔壁を、気体は透過し液体は透過しない素材で構成したことを特徴とする。
さらに、本発明に係る請求項20の送液機構は、請求項19に記載の送液機構において、前記素材は、疎水性を有する多孔質膜であることを特徴とする。
【0031】
さらに、本発明に係る請求項21の送液機構は、請求項20に記載の送液機構において、前記多孔質膜が有機ポリマーで形成されていることを特徴とする。
さらに、本発明に係る請求項22の送液機構は、請求項19〜21のいずれか一項に記載の送液機構において、前記隔壁の外面に気体及び液体を透過しない被膜を被覆したことを特徴とする。
【0032】
さらに、本発明に係る請求項23の送液機構は、請求項22に記載の送液機構において、前記被膜は熱圧着又は熱融着によって前記隔壁に接合されていることを特徴とする。
さらに、本発明に係る請求項24の送液機構は、壁体に囲まれて形成された液体槽に満たされた液体を、前記液体槽に連結された流路に送る、又は、前記流路若しくは前記流路に連結された別の液体槽に収納された液体を前記液体槽に送る送液機構であって、相変化に伴って体積が変化する物質を、前記送液される液体と混合しないように、前記液体槽の内部に封入したことを特徴とする。
【0033】
さらに、本発明に係る請求項25の送液機構は、請求項24に記載の送液機構において、前記物質を前記送液される液体と隔離して前記液体槽の内部に封入したことを特徴とする。
さらに、本発明に係る請求項26の送液機構は、請求項24に記載の送液機構において、前記物質は前記送液される液体と混合しない性質を有することを特徴とする。
さらに、本発明に係る請求項27の送液機構は、請求項24〜26のいずれか一項に記載の送液機構において、前記物質の温度を制御して前記物質に相変化に伴う体積変化を生じさせる加熱装置及び冷却装置の少なくとも一方を備えることを特徴とする。
このような構成の送液機構であれば、微量な液体であっても正確な送液を行うことができる。また、その機構が平易で小型且つ低コストであるとともに、POC分析等をはじめとする種々の分析を行う分析装置に好適に適用可能である。
【0034】
また、前記隔壁が、気体は透過し液体は透過しない素材で構成されていれば、液体槽や流路に液体を満たす際には空気抜きとして作用し、該液体を送液する際には変形して液体を押す又は引くことができるので、特別な弁や機構を用いることなく、簡便に送液機構を構成することが可能である。
なお、本発明においては、前述の「隔壁の外面」とは、隔壁が有する2面のうち前記液体槽の外側に向いた面を意味する。
【0035】
さらに、本発明に係る請求項28の分析装置は、液体状の試料、又は、液体状の試料及び液体状の試薬の混合液を流路内に流して、前記試料又は前記混合液中の所定成分を分析する分析装置であって、前記試料又は前記混合液が充填される液体槽と、前記液体槽に連結された前記流路と、を有するチップと、請求項1〜27のいずれか一項に記載の送液機構と、を備えることを特徴とする分析装置。
【0036】
さらに、本発明に係る請求項29の分析装置は、請求項28に記載の分析装置において、前記チップは一対の平板状部材が貼り合わされて構成されており、この一対の平板状部材のうち少なくとも一方は板面に溝を備え、前記溝を備えた板面を内側にして貼り合わせることにより前記流路が形成されていることを特徴とする。
【0037】
さらに、本発明に係る請求項30の分析装置は、請求項28又は請求項29に記載の分析装置において、前記チップは乾燥した試薬が収納されている液体槽を備えていて、この液体槽に溶解液を装入して前記試薬を前記溶解液で溶解することにより、前記液体状の試薬を前記チップ内で調製することが可能となっていることを特徴とする。
【0038】
このような構成の分析装置であれば、POC分析等をはじめとする種々の分析を簡便に短時間で正確に行うことができる。また、分析上必要な試薬溶液をチップの外部に準備するための特別な装置や機構を備える必要がないので、分析装置の構成を簡易なものとすることができる。
さらに、本発明に係る請求項31の分析装置は、請求項28〜30のいずれか一項に記載の分析装置において、複数の液体槽又は複数の流路内の液体を液押し用液体で押し流すことにより同時に移動させる機構を備える分析装置であって、請求項1〜27のいずれか一項に記載の送液機構により送液される前記液押し用液体が流れる液押し用流路を、前記複数の液体槽又は前記複数の流路にそれぞれ連結したことを特徴とする。
【0039】
このような構成であれば、分析上必要な液体の混合,希釈等の操作を、チップ内で自由に行うことができる。
以下に、本発明の送液機構及び分析装置について、図面を参照しながら詳細に説明する。
本発明の送液機構は、主に2つの部分で構成されている。すなわち、隔壁を備える液体槽及び流路を有する部分(チップに相当する部分であるので、以降の説明においてはチップと記す)と、隔壁を変形させて液体槽の容積を変化させる部分(以降の説明においては送液装置と記す)と、で構成されている。POC分析等で必要となる定量的な送液を実現するためには、目的とする送液量に等しい容積変化を液体槽に生じさせるように、送液装置が隔壁の形状を変化させる必要があり、液体槽の容積変化に従って正確に目的量の送液が行われる必要がある。
【0040】
〔チップについて〕
本発明の分析装置が備えるチップは、液体が充填される液体槽と微量の液体の送液や反応が行われる流路とを備えている。そして、この流路は、板面に溝を備える一対の平板状部材を貼り合わせることにより形成することが好ましい。すなわち、図1に示すように、板面に溝10aを備える平板状部材10の前記溝10aを備えた板面10bに、例えば樹脂製のカバーシート11を接着剤,粘着テープ等を介して貼り合わせると、液体の流路となるキャピラリ12を有するチップ1が形成される。
【0041】
この溝は、金型による成形やエンボス等の技術によって形成することができる。溝の形状,寸法については特に限定されるものではないが、現状の成形技術の観点からは、流路の幅と深さとの比が0.3〜10程度で、且つ、幅,深さはそれぞれ0.5μm以上が好ましく、必要とする試料,試薬の量の観点からは、幅,深さはそれぞれ500μm以下であることが好ましい。
【0042】
チップ(平板状部材)の材質として樹脂を採用する場合は、成形加工性が良好であることと、光学測定を実施する場合には透明であることが要求されるので、透明な熱可塑性樹脂を使用することが好ましい。チップの材質としてガラスを採用することも可能であるが、コストを考慮すると樹脂の方が好ましい。
具体的には、ポリスチレン、スチレン−アクリロニトリル共重合体等のスチレン系樹脂、ポリメチルメタクリレート、メチルメタクリレート−スチレン共重合体等のメタクリル樹脂、ポリカーボネート、ポリスルホン、ポリエーテルスルホン、ポリエーテルイミド、ポリアリレート、ポリメチルペンテン、1,3−シクロヘキサジエン系重合体などがあげられる。また、これらの共重合体やブレンド品を用いることも可能である。
【0043】
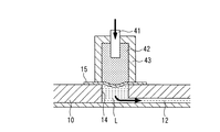
〔隔壁及び隔壁を用いた送液について〕
図2の(a)に示すように、液体槽14は平板状部材10に設けられた貫通孔により形成され、その開口部を覆うように弾性を有する隔壁15が取り付けられている。隔壁15は柔軟性を有していて変形可能であるので、図2の(b)に示すようにチップ1の外側から隔壁15に押圧力を作用させると、隔壁15が変形して液体槽14の内部に押し込まれる。
【0044】
そうすると、この隔壁15の変形によって液体槽14の容積が減少するので、液体は非圧縮性であることから、図2の(b)に矢印で示すように、液体槽14内の液体Lが前記容積変化分だけキャピラリ12に押し出される。これにより液体槽14内の液体Lを移動させることができる。
このように隔壁の変形を利用して送液を行えば、外部からチップに配管を繋ぐような複雑な機構,設備等を用いなくても、チップ内で所望の送液を行うことができる。また、チップに配管の接続口等の専用の設備を設ける必要がないため、簡便に低コストでチップを作製することができる。
【0045】
隔壁15は、柔軟性を有していて、小型の機構で変形可能なシート状のものであれば特に限定されるものではないが、PTFE(ポリ四フッ化エチレン)多孔質膜が特に好ましい。PTFE多孔質膜のように空気は透過し液体は透過しない(撥水性によりはじかれてしまう)性質の膜で隔壁15を形成すれば、隔壁15は通気性を有し且つ液体槽14が液体で満たされた際には耐水性を有する機能膜になる。よって、空の液体槽14内にキャピラリ12から液体Lを導入すると、液体槽14内の空気は液体Lが充填されるにしたがって押し出されて隔壁15を透過して抜けていくが、隔壁15の撥水性によって液体Lが透過して抜けていくことはないので、液体槽14内を液体Lで完全に満たされた状態にすることができる。
【0046】
PTFE以外にも、様々な素材の多孔膜が隔壁15として使用可能である。ただし、液体が膜を透過しないためには、疎水性の有機ポリマーや無機素材を用いることが好ましい。
疎水性の有機ポリマーは、臨界表面張力が20℃で約0.04N/m以下であることが好ましく、例としては、ポリテトラフルオロエチレン(PTFE)、シリコーン、ポリエチレン、ポリプロピレン、ポリスチレン、ポリ塩化ビニル、ポリカーボネート、ポリスルホン、ポリエーテルスルホン、ポリアリレート、ポリメチルペンテン、1,3−シクロヘキサジエン系重合体等があげられる。
【0047】
セルロースアセテート膜のようなものでも使用できる場合もあるが、界面活性剤が添加された試薬液の場合は、PTFE,シリコーン,ポリエチレン等の疎水性の強い膜の方が液体の透過を防ぐ耐水圧が大きいので好ましい。
耐水圧が大きいほど高い圧力で送液できるので、耐水圧は大きいほど好ましいが、本発明のチップに使用できる膜の耐水圧は、発明の実施の形態の項で後述するような流路構成では0.01MPa以上が好ましい。ただし、チップ内の流路や液体槽に迅速に液体を満たす必要がある場合には、耐水圧は0.1MPa以上であることがより好ましい。膜の平均孔径は0.1μmから約5μmのものが使用できるが、孔径が小さいほど耐水圧が高く透過空気量が僅かであることを考慮すると、0.1μm程度が最も好ましい。膜厚は25〜300μmのものが好ましい。
【0048】
図3に示すように、隔壁15の外面に気体,液体のいずれも透過しない被膜16を被覆すると、耐水圧をさらに高めることができる。隔壁(PTFE多孔質膜)のみで被膜を有していない場合は、液体槽内の気体は隔壁を膜厚方向に透過するのに対し、図3のように被膜16を有していると、液体槽内の気体は隔壁15の膜内を外縁に向かって透過する。よって、隔壁15の膜厚が厚くなったことと同じであるので、耐水圧を高めることができる。このように隔壁に被膜を被覆する場合は、前述の0.1μm程度よりも大きい平均孔径を有する膜を隔壁として採用することができる。
【0049】
表面エネルギの高いPTFE多孔質膜等を隔壁として用いた場合は、前記被膜を隔壁に接着剤で接合することは、一般に困難である。その場合は、前記被膜の素材として低密度ポリエチレンのような熱可塑性樹脂を選択すれば、PTFE多孔質膜等へ前記被膜を熱圧着又は熱融着により接合することが可能である。
〔送液装置について〕
まず、本発明に係る送液機構において使用される送液装置の一例を、図4の概念図に示す。この送液装置は、圧力発生手段の一部をなすピストン41,非圧縮性媒質42,密閉容器43,及びダイアフラム部材44で構成されている。そして、非圧縮性媒質42は、密閉容器43とダイアフラム部材44とで囲まれた密閉空間に密封されている。
【0050】
図4の(b)に示すように、ピストン41により非圧縮性媒質42に圧力を印加する。このとき、ピストン41の非圧縮性媒質42内に存在する部分の体積が増加するが、この増加分は目的の送液量に等しい体積となるようにする。そうすると、密閉容器43中に充填された非圧縮性媒質42を介して前記圧力がダイアフラム部材44に伝達され、ダイアフラム部材44が密閉容器43の外側に向かって突出するように変形する。この突出した部分の体積は、密閉容器43の剛性が十分大きければ、前述した目的の送液量に等しい体積となる。
【0051】
このような送液装置5aを、図5の(a)に示すように、前述したようなチップ5bに装着する。その際には、送液装置5aのダイアフラム部材44の外側表面が、チップ5bの隔壁15の外面と密着するようにする。
図5の(b)に示すように、圧力発生手段を作動させてピストン41により非圧縮性媒質42に圧力を印加したときには、ダイアフラム部材44と隔壁15は密着しているので、前述したダイアフラム部材44の変形によって、隔壁15が液体槽14の内部に向かって突出するように変形する。そして、この隔壁15の変形によって液体槽14の容積が減少することとなるので、その容積の減少分だけ液体槽14内の液体Lが流路12を通じて外部へ送り出されることとなる。
【0052】
このとき、液体槽14の内部に突出した部分の体積は、前述のダイアフラム部材44が突出した部分の体積と等しいので、前述した目的の送液量に等しい体積の液体Lが送液されることとなる。すなわち、圧力発生手段による圧力が非圧縮性媒質42及びダイアフラム部材44を介して隔壁15に伝達され、隔壁15が変形することによって、液体槽14内の液体Lが外部へ送液されるのである。なお、非圧縮性媒質42に陰圧が負荷されるように圧力発生手段を作動すれば、液体槽14の容積が増大するので、前述の場合とは逆に、流路12を通じて液体槽14内に液体Lを引き込むことも可能である。これにより、流路12内又は流路12に連結する別の液体槽内の液体を移動させることができる。
【0053】
図4及び図5においては図示していないが、圧力発生手段は駆動源を備えており、その駆動源としては、例えばリニアステップモータ等のリニア型アクチュエータを用いることができる。
また、非圧縮性媒質42としては水,油等の液体があげられるが、実用上はシリコーンオイル等のように不揮発性である、室温において液体である、化学的に安定である等の性質を有するものが望ましい。液体の代わりに流動性が十分高いゲル状の物質を非圧縮性媒質として用いることもできる。本発明における所期の機能を発揮するためには、非圧縮性媒質中に気泡混入がないようにする必要がある。
【0054】
さらに、ダイアフラム部材44は、弾性を有し、非圧縮性媒質42を保持しうる薄板を用いて構成するが、その素材としては金属,樹脂などが好ましい。ダイアフラム部材44が突出した部分の体積と液体槽14の容積変化とが正確に等しくなるためには、ダイアフラム部材44及び隔壁15を介して対向する非圧縮性媒質42と液体槽14内の液体との対向面の形状を等しくし、ずれなく合わせることが好ましい。ただし、ダイアフラム部材44の外縁部が固定端として支持されている場合は、ダイアフラム部材44の外縁部の変形は微小であるから、非圧縮性媒質42と液体槽14内の液体との対向面の若干のずれは許容される。
【0055】
図5に示す送液機構においては、送液装置5aを繰り返し使用し、チップ5bを交換して用いることを想定しているが、これら両者を一体化して構成することも可能である。この場合は、図6に示すように、ダイアフラム部材を用いずに送液機構を構成することも可能である。
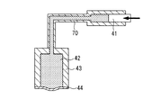
さらに、図7に示すように、密閉容器43と圧力発生手段の一部であるピストン41とを、非圧縮性媒質42が充填されたパイプ70(管状部材)で連結してもよい。このような構成とすれば、送液機構ひいては該送液機構を用いた分析装置のレイアウト設計上の自由度を高めることが可能である。
【0056】
図4〜7の送液機構は、圧力発生手段として往復式容積形ポンプ機構(ピストン・シリンダ機構又はプランジャ機構を有する容積形ポンプ機構)を採用しているが、圧力発生手段として別の機構を採用してもよい。例えば、リニア型アクチュエータと往復式容積形ポンプ機構の代わりに、回転モータとギヤポンプなどの回転式容積形ポンプ機構により圧力発生手段を構成することもできる。
【0057】
また、圧力発生手段、すなわち、体積変化を生じさせる手段として、上記のようなものの代わりに、物質の相変化に伴う体積変化を利用することが考えられる。例えば、パラフィンは室温から数十℃の温度変化で融解又は固化し、そのとき約15%の体積増減がある。パラフィン近傍に小型のヒータと温度センサを配置し、パラフィンの温度を制御すれば、体積変化をコントロールできる。
【0058】
相変化に伴う体積変化としては蒸発に伴う体積変化もあげられ、その体積変化の程度は固液相変化の場合よりもはるかに大きいが、気体は圧縮性が大きいので、定量送液が必要な場合には好ましくない。
図8の(a)に、相変化に伴う体積変化を利用した送液装置を示す。密閉容器43中に、非圧縮性媒質42と相変化に伴い体積変化を起こす物質81を収納する。相変化に伴う体積変化を起こす物質81は、液化した際に非圧縮性媒質42と混和しないように、前記体積変化に応じて膨張収縮自在な袋等(図示せず)に封入するべきであり、また、同袋内に加熱用のヒータ82を配置する。ヒータ82として温度によって電気抵抗が変化するサーミスタを採用し、該サーミスタに通電してその際の電圧降下を測定すれば、ヒータ機能と温度センサ機能とを兼ね備えた、小型で簡易な加熱装置を構成することが可能である。
【0059】
相変化に伴う体積変化は、非圧縮性媒質42を介して過不足なくダイアフラム部材44に伝達され、前記体積変化分だけダイアフラム部材44が突出し、本発明における送液装置として機能させることができる。なお、相変化に伴う体積変化を起こす物質81が非圧縮性媒質42と混合しない性質を有するならば、袋等に封入しなくてもよい。また、非圧縮性媒質42に代えて、相変化に伴い体積変化を起こす物質81で密閉容器43内を満たしても、同様の機能を実現可能である。
【0060】
物質の相変化に着目した圧力発生手段は、機械的要素を持たないため小型化が容易である。よって、図8の(b)に示すように、相変化に伴い体積変化を起こす物質81を、チップ内の液体槽14中に設置することも可能である。相変化を起こすための加熱手段としては、チップ近傍に設置したヒータ83で液体槽14とともに相変化を起こす物質81を加熱する方式が考えられる。また、レーザ集光加熱によって、相変化を起こす物質を加熱する方式も可能である。
【0061】
送液量を決定する体積変化は、非圧縮性媒質を介してダイアフラム部材の形状変化として表れ、さらに隔壁を介して液体槽中の液体に前記体積変化が伝達される。この体積変化の伝達が正確に行われるためには、以下のような要件が必要である。
第一に、ダイアフラム部材の形状変化が隔壁に正確に伝達されるためには、隔壁は極力柔軟なことが望まれる。また、液体槽内に液体を充填する際に液体槽内の気体を排除するために、隔壁にベント機能が必要となる。例えば、PTFE微多孔質膜は、この性質を備えている。
【0062】
第二に、ダイアフラム部材と隔壁との間に隙間がないことが好ましい。そのためには、まず送液装置とチップとを機械的に重ね合わせる。このとき、チップには製造上若干の反りがあるので、機械的に圧迫して両者の密着状態を高める。しかしながら、隔壁は柔軟性があり通常はたるみがあるため、微視的に見るとダイアフラム部材と隔壁との間には隙間があり、精密な定量送液においては無視できない場合がある。その場合には、隔壁の外面とダイアフラム部材の外面とを密着させることが必要となる。さらに、チップの交換を容易にするためには、密着状態と離脱状態とを容易に切り替えられることが要求される。
【0063】
密着状態と離脱状態との切り替えを実現する方法としては、図9に示すような真空を利用した方法があげられる。すなわち、ガスケット91等を用いてダイアフラム部材44と隔壁15との近傍部分を密封し、該近傍部分を図示しない真空ポンプ等を用いて陰圧にする。液体槽14内の液体Lは流路12を通じて大気圧に開放されていれば、隔壁15の内外面間の差圧で、隔壁15はダイアフラム部材44の表面に押しつけられ密着する。真空ポンプを停止してダイアフラム部材44と隔壁15との近傍部分を大気圧に戻せば、送液装置とチップとが容易に離脱する。
【0064】
送液装置を極めて安価に製造し、チップと一体化し使い捨てにする場合等においては、ダイアフラム部材と隔壁とを接着して、これらの間にすきまが生じないようにすることも可能である。
〔ゴム弾性を有する物質で非圧縮性媒質を構成した場合の送液について〕
本発明においては、前述のような一種のミニチュア的な油圧機構を送液装置の圧力発生手段として採用することが理想的である。しかしながら、ミニチュア的な油圧機構を実際に製作するには、精密な加工や組み立てが必要であり、また、作動油中から気泡を確実に排除することも必ずしも簡単ではない。そこで、ほぼ非圧縮性と見なしうる弾性体であるゴムを利用して、本発明における送液装置の構成要素である圧力発生手段,非圧縮性媒質,ダイアフラム部材を、より簡便に構成することができる。
【0065】
その例を図10に示す。一端が開口している筒状の容器101に、ゴム102が隙間なく充填されている。容器101の閉じた側の端部には微小な穴104が設けられていて、ゴム102に設けられた微小な穴105と連続している。そして、穴104から穴105にピン103が挿入されている。
理想化して考えると、ゴムは非圧縮性のため、挿入されたピン103の体積分だけゴム102の端面106が膨らむこととなる。この端面106とチップの隔壁とが密着するようにゴム102をチップに装着すれば、端面106の形状変化が隔壁を介して液体槽中の液体に伝達される。そして、ピン103の直径と挿入した長さから算出される体積の分だけ、前記液体が液体槽に連結された流路に送り出される。このような送液機構が正確に機能するためには、容器101が十分な剛性を持つこと、ゴム102に設けた穴105とピン103との間に隙間が生じぬように両者の径を選定することなどが必要である。
【0066】
なお、ゴム102に設ける穴105やピン103は、必ずしも断面円形状である必要はない。例えば、ゴム102に微小な穴105の代わりに亀裂を設け、ピン103に代わり金属製薄片を挿入することでも、同様の機能を実現できる。
また、上記のようなゴムを用いた送液機構が、変位縮小機構でもあることを説明する。まず、ゴムを用いた送液機構の場合について説明する。直径0.5mmのピンを用いた場合は、ピンの断面積は0.196mm2 であり、挿入長を5mmとすると体積変化すなわち送液量は1.0μLとなる。つまり、送液量1.0μLに対応する挿入長=アクチュエータ駆動量は5.0mmである。
【0067】
次に、仮にピン等で直接的に隔壁を押す場合について、アクチュエータ駆動量を概算してみる。隔壁の直径は3mmとし、ピンにより変形した隔壁の形状は円錐状であると仮定すれば、送液量1.0μLに対応するピンの挿入長は0.43mmとなる。したがって、アクチュエータ駆動量は、ゴムを用いた送液機構の場合はピン等で直接的に隔壁を押す場合に較べて約12倍である。単純に言うと、アクチュエータ駆動量の精度は一桁低くても問題ないので、駆動機構の低コスト化が可能になると思われる。
【0068】
【発明の実施の形態】
本発明に係る送液機構及び該送液機構を備える分析装置の実施の形態を、図面を参照しながら詳細に説明する。各図においては、同一又は相当する部分には同一の符号を付してある。なお、本実施形態は本発明の一例を示したものであって、本発明は本実施形態に限定されるものではない。
【0069】
〔分析装置について〕
図11に、チップ,送液装置,光学的検出装置,温調装置など、検体の分析に必要な全ての装置・機器を備えた分析装置の全体構成を説明する概念図を示す。以下に、分析装置の機能を、動作の順を追って説明する。
チップローディング機構によって分析装置内にチップを導入した後、送液装置と温調装置とでチップを挟み、チップを所定の位置に固定する。温調装置を作動させてチップを加温しながら、チップが所定温度に到達するまでの時間を利用して、チップ内の空の流路及び液体槽に緩衝液を導入する準備操作を行う。送液装置を作動させて、後述するような希釈操作及び反応操作を行う。検体中の測定対象物質の濃度に応じた反応の程度を、光学的検出装置を用いて(例えば吸光度により)測定する。光学的検出装置としては、いわゆる熱レンズ現象に基づく光熱変換型検出機も利用可能であり、これは微細な流路中の吸光度を測定するのに好適である。測定過程は、統括CPUにより制御される。また、マンマシンインターフェースにより、測定の進捗状況や結果が測定者に適宜提示される。
【0070】
このような構成の分析装置により、チップを用いた分析をほぼ自動的に速やかに行うことが可能である。
〔チップについて〕
生化学測定用の分析装置に用いるチップの一例を、図12の模式図を参照しながら説明する。なお、このチップを用いた分析の過程については、後に詳述する。
【0071】
厚さ2mmの透明なアクリル製プレートの一方の板面に、幅100〜300μm、深さ50μm、長さ20〜250mm程度の数本の溝をエンボス加工により設けた。また、これらの溝の両端には直径4〜5mmの貫通孔を形成した。そして、前記プレートの溝を有する板面に、厚さ0.3mmの透明なアクリル製シートを紫外線硬化接着剤を用いて接着することにより、流路を構成した。
【0072】
さらに、前記プレートの他方の板面のうち前記貫通孔が形成された部分に、厚さ70μmのPTFE微多孔質膜(平均孔径0.1μm)を貼り付けて前記貫通孔の開口部分を覆うことにより、隔壁を構成した。市販のPTFE微多孔質膜では隔壁として必要な耐水圧が得られず、PTFE微多孔質膜に液体槽中の緩衝液が浸潤して、バルブ機能が喪失される場合があるが、PTFE微多孔質膜の外面(チップの外側を向いた面)をポリエチレン薄膜などの熱可塑性樹脂で被覆すれば、耐水圧を向上することができる。熱可塑性樹脂で被覆しても、液体槽内の空気排除の機能は、従来のものと遜色はなかった。なお、熱可塑性樹脂の被膜は、熱圧着又は熱融着によってPTFE微多孔質膜に接合することが好ましい。
【0073】
〔送液装置について〕
フルストロークで約0.8μLの送液量が得られる送液装置を、次のようにして作製した。両端が開口しているアクリル製円筒(外径13mm,内径5mm,高さ15mm)に、シリコーンゴム(ダウコーニング・ジャパン社製シルポット184)を高さ10mmまで満たし、重合して固化させた。シリコーンゴムの上に2液性エポキシ接着剤を充填し、その固化後に、直径1.0mmのドリルにてシリコーンゴム上端に到達するように穴あけ加工を行った。
【0074】
さらに、この穴に直径1.0mmの針を挿入し、シリコーンゴムの内部まで差し込むことにより、ゴムに後述するピンを抜き挿しするための亀裂状の穴を設けた。そして、直径0.9mmのピンを前記穴に差し込み、このピンに1ステップ25μmのリニア型アクチュエータを接続して、シリコーンゴムにピンを抜き差しできるようにした。
【0075】
まず、前述のような送液装置において、ピンの挿入長とゴムの突出体積との関係を確認するため、図13に示す測定系を用意した。図13の測定系では、ピン103が差し込んである側を下方にして送液装置100を配置し、上方を向いたゴム端面106にガラス製キャピラリ111を取り付けている。気泡が残留しないように注意しながら、ガラス製キャピラリ111の下端側から水を注入し、キャピラリ全長の中程まで水を満たす。ピン103をゴム102に挿入した際の水面112の上下動を顕微鏡付き微動ステージ(図示せず)の昇降によって計測すれば、その計測結果とキャピラリ111の断面積とを用いて、ゴム端面106の突出による体積変化を算出できる。
【0076】
次に、図14に示すように、チップ上に前述の送液装置を配置した。その際には、前述のチップの隔壁15と送液装置のダイアフラム部材とが重なるように固定した。送液装置のアクリル製容器101の周囲にシリコーンゴム製のガスケット91を配置し、隔壁15の近傍部分を陰圧とするための図示しない小型真空ポンプ(到達真空度は−0.4MPa)を接続した。
【0077】
図14の測定系では、分岐や合流のない流路12の一端に、送液装置100が取り付けられ、他端にはガラス製キャピラリ111が取り付けられている。ガラス製キャピラリ111の上端から水を注入していき、隔壁15の通気性により空気を逃して、液体槽14内が満水になった時点で水の注入を停止する。ガラス製キャピラリ111の下端側から排水し、水面112がキャピラリ全長の中程になるように調整する。
【0078】
次に、前記小型真空ポンプを作動し、隔壁15と送液装置のゴム102の開放面とを密着させる。そして、ピン103をゴム102に挿入した際の水面112の上下動を前述の測定系と同様に測定することにより、挿入長と送液量との関係を得る。
図15のグラフに、このようにして得たデータを示す。このグラフには、理論値として、ピン103の断面積とピン103の挿入長との積で与えられる体積を示している。グラフから分かるように、ゴム端面の突出体積は理論値に対して数%小さい値であった。これは、ゴムがポアソン比が0.49程度の近似的な非圧縮性物質であるため、若干の圧縮性を有しているためと考えられる(完全な非圧縮性物質であれば、ポアソン比は0.5となる)。送液量は、ゴム端面の突出体積とほぼ一致しており、隔壁を介して体積変化が伝達されていることを示している。
【0079】
ピンの挿入長に対する送液量の関係を変更したい場合には、ピンの断面積(直径)を変えればよい。その例を図16のグラフに示す。
〔相変化に伴う体積変化を利用した送液機構について〕
相変化時に体積変化を起こす物質を利用して圧力発生手段を構成することもできるので、以下に説明する。
【0080】
相変化時に体積変化を起こす物質としては、パラフィンを採用した。図17に示すように、ガラス製キャピラリ111の一端に数十μLの容積を有する容器151を接続した。そして、同容器151の内部に6mgのパラフィン152(和光純薬製、融点公称値46〜48℃)を封入し、キャピラリ111の下端側から容器151内に水を注入した。注入する水量は、液面112がキャピラリ111の中程に達する量とし、注水の際には水中に気泡が極力混入しないように注意を払った。
【0081】
パラフィンの密度を約1g/cm3 、相変化に伴う体積変化率を約15%とすれば、6mgのパラフィンの融解によって約1μLの体積変化が起こるはずである。この体積変化は、キャピラリ111内の液面112の移動として観察される。図17に示すように、容器151を囲むように配置された水槽153に約70℃の水を満たし、自然冷却により温度が次第に下がる時のキャピラリ111の液面112の変化を測定し、体積変化を求めた。
【0082】
実際には、パラフィンだけでなく水,容器151,キャピラリ111も温度により僅かではあるが体積変化を起こすので、測定値に誤差をもたらす。そこで、対照実験としてパラフィンを封入しない系についても液面変化を測定し、得られたデータをパラフィンを封入した系のデータから差し引くことにより、誤差を補正した。
【0083】
このようにして得たパラフィンの固液相変化に伴う体積変化のデータを、図18のグラフに示す。70〜40℃の温度変化の過程で、約1μLの体積変化が生じることが確認できた。
なお、上記のような送液機構は、本発明に係る請求項24の送液機構の一例である。上記のような実験から、固液相変化に伴い体積変化を起こすパラフィン等の物質を、チップ内の流路に連続する液体槽内に封入した上、熱伝達等の手段により同物質を相変化させれば、液体を送液できることが示された。
【0084】
ただし、上記の例においては、パラフィンは水と混合しない性質を有しているので、送液される液体である水と隔離することなく液体槽内に水とともに封入したが、前記体積変化に応じて膨張収縮自在な袋等に入れるなどして送液される液体と隔離して液体槽内に封入するのであれば、送液される液体と混合する物質であっても、相変化に伴って体積が変化する物質として採用することができる。
【0085】
〔分析に必要な単位操作について〕
合流する流路を有するチップと送液装置とを組合わせることにより、分析に必要な単位操作である液体の希釈,混合等の操作を行うことができる。図19に、試験的に作製した希釈のみを行う分析装置を示し、その希釈の精度を評価した結果について述べる。
【0086】
図19の(a)は、チップとその上に固定された送液装置との構成を説明する断面図である。この送液装置は、前述のゴムを利用した送液装置3個が一体化されたものである。また、図19の(b)はチップの平面図である。このチップには4つの液体槽が形成されていて、そのうちP槽,Q槽,Q’槽は上記の3連の送液装置と同一ピッチで形成されている。
【0087】
一体化されたピン171を押し下げてゴム172に形成された穴に挿入すると、P槽,Q槽,Q’槽内の液体Lが各槽に連結する流路に送出されて、3つの流路の合流点で合流するようになっている。
また、P槽と、P槽から前記合流点までの流路と、前記合流点より下流側の流路(合流後流路)とには、測定対象である検体サンプルを模擬するキシレンシアノール色素水溶液(濃度は400μM)が充填してある。さらに、Q槽と、Q’槽と、Q槽から前記合流点までの流路と、Q’槽から前記合流点までの流路とには、緩衝液が充填してある。
【0088】
送液装置を作動させると、色素水溶液と緩衝液とが合流する。そして、両者が流路中で拡散・混合することで、希釈操作が行われる。ここでは、緩衝液用ピンの直径を0.7mm、検体サンプル(キシレンシアノール色素水溶液)用ピンの直径を0.3mmとしたが、希釈率を変更したい場合には、各液体槽に対応するピンの直径を変えればよい。
【0089】
合流後流路の終端近くに光熱変換型吸光度測定系(熱レンズ測定系)を配置すれば、該終端を通過する液体の濃度変化を捉えることができるので、希釈率を実測することが可能である。
図20に、希釈率を測定した結果を示す。このグラフには、送液開始後に希釈によって液体の吸光度が低下する様子が示されている。なお、別途測定した送液装置の特性を基にして、移流拡散現象を差分近似することによって数値計算した結果を、計算値として示している。
【0090】
グラフから分かるように実験値と計算値とは概ね一致しており、このことから本送液機構にて所期の希釈操作が実現できることが確認できた。
〔分析操作について〕
次に、チップを用いた分析の過程について詳述する。図12に、生化学測定用の分析装置のチップの構成を説明する模式図を示す。このチップには、9個の液体槽(P槽,Q槽,Q’槽,D槽,S槽,A槽,B槽,R槽,W槽)が備えられており、これらは流路により連通されている。
【0091】
P槽には血液から分離された血漿が充填され、A槽及びB槽には乾燥した反応試薬が槽の底部に付着されている。また、R槽には緩衝液が充填されている。また、各液体槽の開口部は、柔軟性,通気性,及び耐水性を有する隔壁(ポアサイズ約0.1μm、耐水圧0.39MPaのPTFE多孔質膜)で覆われている。P槽,Q槽,及びQ’槽には、図19に示す3連の送液装置が装着されている。また、D槽及びR槽には、図14に示すような送液装置100がそれぞれ装着されている。さらに、W槽には図21に示すバルブ201が装着され、初期状態ではバルブ201は閉状態とされている。バルブ201は、ガスケット202によりW槽の隔壁15の周囲を密閉するように設置されている。バルブ201が開状態であれば、W槽内の空気が隔壁を通過してバルブ201の外に流出でき、バルブ201が閉状態であれば、W槽内の空気が隔壁を通過してバルブ201の外に流出することが阻止される。したがって、バルブ201を開状態又は閉状態とすることにより、W槽内の空気を液体で置換するか否かを選択することができる。
【0092】
まず、R槽に取り付けられた送液装置を作動させ、緩衝液をチップ内の流路全体に充填する。すなわち、R槽に配された送液装置によってR槽内に充填されている緩衝液が押し出されるが、W槽のバルブ201が閉状態とされているため、緩衝液は流路sab,sa,sを通ってS槽,A槽,B槽に流入する。
S槽が満杯になると緩衝液はQ槽及びQ’槽へと流入するが、P槽は既に検体で満たされているため、P槽には流入しない。また、A槽及びB槽が満杯になると、緩衝液はD槽へ流入する。最終的にはQ槽,Q’槽,D槽,S槽,A槽,B槽への緩衝液が充填が完了する。W槽は、バルブ201が閉状態であるため、緩衝液は通過するのみで、W槽内はほぼ空気で満たされた状態である。
【0093】
この過程において、A槽,B槽に収納されていた乾燥A試薬と乾燥B試薬は緩衝液に溶解するので、A槽,B槽には各々の試薬溶液が準備される。試薬溶液の濃度は、液体槽の容積と乾燥試薬の量とで所望の値に設定することができる。このような操作により、試薬の溶解と送液のための緩衝液の各液体槽への充填とが完了した。
【0094】
次に、検体の希釈操作を行う。W槽のバルブ201を開状態とし、P槽,Q槽,及びQ’槽に装着された送液装置によって検体と緩衝液とを同時に押し出すと、両液が拡散、混合し、その混合液がS槽に流入する。すなわち、S槽内の緩衝液が希釈された検体で置換される。S槽内に当初存在した緩衝液は、流路s,流路sa,流路sabを通って廃液槽であるW槽に流入する。なお、検体の希釈の比率は、P槽,Q槽,及びQ’槽に装着された送液装置の設定流量によって決定される。
【0095】
この段階で、S槽に希釈検体が充填され、A槽,B槽には各々の試薬溶液が充填された状態となり、反応の準備が整った。
最後に、D槽に装着された送液機構によってD槽内に充填されている緩衝液を押し出すと、3分岐流路を介してS槽,A槽,B槽に緩衝液が流入し、これらに連結するそれぞれの流路へ、各液体槽の内容液が送出される。すなわち、流路sには希釈検体が、流路aにはA試薬溶液が、流路bにはB試薬溶液が送出される。このとき、緩衝液は液押し用液体として作用する。
【0096】
それぞれの流路には、3分岐流路の分岐点における各流路の圧力損失が等しくなるように、流量が配分される。チップの設計においては、希釈検体及びA,B各試薬溶液の流量が所望の値となるように、各液体の粘性の違いを勘案した上で、各流路の圧力損失係数を決定する。圧力損失係数は、流路断面の形状と流路長の2つの因子で決定される。なお、P槽,Q槽,及びQ’槽に装着された送液装置は停止しているので、これらの液体槽への液体の流入はない。
【0097】
希釈検体とA試薬溶液は流路saに流入し混合され、流路saで検体とA試薬との反応が起こる。この混合液は反応しながら流路bとの合流点に向かって流れ、流路saを流れる時間を反応時間とすれば、流速と流路saの長さとによって反応時間をコントロールすることができる。
検体とA試薬との反応が予定の時間進行した後、流路bとの混合点に到達させる。これにより、さらにB試薬と混合して反応が起きることによって、最終的な濃度測定が行える混合溶液が流路sabに流れることとなる。混合後、試薬反応系に適合するような適当な反応時間を経て、色素濃度として標識化される。流速を考慮して十分な反応時間をとれるように流路sabの長さを設定すれば、反応後、直ちに、図11で説明したような光学測定装置を使用して樹脂の基板を通して流路内の溶液の濃度測定が可能となる。
【0098】
濃度測定が行われた混合液は、W槽(廃液槽)へ到達し廃液として貯留される。濃度測定の後のチップはそのまま使い捨てにすることができるので、分析作業者に検体由来の感染等が発生することがない分析システムを構築することが可能である。
また、血液などの試料検体の希釈や抽出プロセスなども同様に考えることができ、上記のような方式を用いれば、考えられる試薬反応プロセスについてはほとんどが実現可能となる。
【0099】
【発明の効果】
以上のように、本発明の分析装置は、POC分析等をはじめとする種々の分析を簡便且つ正確に行うことができる。また、本発明の送液機構は、前記分析装置における液体の送液に好適で、小型且つ簡易な構成であり、低コストである。
【図面の簡単な説明】
【図1】本発明の分析装置のチップの構成を説明する断面図である。
【図2】本発明における送液原理を説明する模式図である。
【図3】隔壁の耐水圧を向上させる手段を説明する模式図である。
【図4】送液装置の原理を説明する模式図である。
【図5】送液装置とチップとを組み合わせて送液を行う原理を説明する模式図である。
【図6】本発明における別の送液機構を説明する模式図である。
【図7】密閉容器と圧力発生手段とをパイプで接続した構成を有する送液装置の模式図である。
【図8】固液相変化に伴い体積変化を起こす物質を圧力発生手段に利用した送液機構を説明する模式図である。
【図9】ダイアフラム部材と隔壁とを確実に密着する手段を説明する模式図である。
【図10】非圧縮性媒質をゴムで構成した送液装置の模式図である。
【図11】本発明の一実施形態の分析装置の全体構成を示す模式図である。
【図12】検体の希釈操作及び反応操作を行うためのチップの流路構成を説明する模式図である。
【図13】送液装置による送液量の測定方法を説明する模式図である。
【図14】送液装置及びチップによる送液量の測定方法を説明する模式図である。
【図15】図14の送液装置及びチップにおいて、ピンの挿入長と送液量との相関を測定した結果を示すグラフである。
【図16】ピンの直径を変えてピンの挿入長と送液量との相関を測定した結果を示すグラフである。
【図17】固液相変化に伴い体積変化を起こす物質を圧力発生手段に利用した送液機構において、送液量の測定方法を説明する模式図である。
【図18】図17の送液機構について送液の特性を測定した結果を示すグラフである。
【図19】送液装置及びチップを用いて行う希釈操作を説明する模式図である。
【図20】図19の送液装置及びチップを用いて行った希釈操作の特性を測定した結果を示すグラフである。
【図21】検体の希釈操作及び反応操作を行うにあたり、前準備操作において用いるバルブの構造を示す模式図である。
【符号の説明】
1,5b チップ
10 平板状部材
10a 溝
10b 板面
11 カバーシート
12 キャピラリ(流路)
14 液体槽
15 隔膜
16 被膜
41 ピストン
42 非圧縮性媒質
43 密閉容器
44 ダイアフラム部材
70 パイプ
81 相変化に伴い体積変化を起こす物質
82,83 ヒータ
101 容器
102,172 ゴム
103,171 ピン
104 穴
105 穴
152 パラフィン
L 液体

Claims (31)

  1. 壁体に囲まれて形成された液体槽の容積を変化させることによって、前記液体槽に満たされた液体を前記液体槽に連結された流路に送る、又は、前記流路若しくは前記流路に連結された別の液体槽に収納された液体を前記液体槽に送る送液機構であって、
    前記壁体の少なくとも一部が、前記液体槽の内部又は外部に向かって突出するように変形可能な弾性を有する隔壁で構成されているとともに、
    前記隔壁の外面に接するダイアフラム部材と、ゴム弾性を有する物質で構成され且つ前記ダイアフラム部材の有する面のうち前記隔壁と接していない面に接する非圧縮性媒質と、前記非圧縮性媒質を収納する容器と、前記非圧縮性媒質に圧力を負荷する圧力発生手段と、を備え、前記非圧縮性媒質が前記ダイアフラム部材と前記容器とに囲まれた密閉空間に密封されていて、
    前記圧力発生手段が、孔又は亀裂が設けられた前記容器と、前記容器の孔又は亀裂に連続する孔又は亀裂が設けられた前記非圧縮性媒質と、前記容器及び前記非圧縮性媒質の孔又は亀裂に挿入され往復運動するピン又は薄片と、で構成され、
    前記圧力が前記非圧縮性媒質及び前記ダイアフラム部材を介して前記隔壁に負荷されて、前記隔壁が変形するようになっていることを特徴とする送液機構。
  2. 壁体に囲まれて形成された液体槽の容積を変化させることによって、前記液体槽に満たされた液体を前記液体槽に連結された流路に送る、又は、前記流路若しくは前記流路に連結された別の液体槽に収納された液体を前記液体槽に送る送液機構であって、
    前記壁体の少なくとも一部が、前記液体槽の内部又は外部に向かって突出するように変形可能な弾性を有する隔壁で構成されているとともに、
    前記隔壁の外面に接するダイアフラム部材と、前記ダイアフラム部材の有する面のうち前記隔壁と接していない面に接する非圧縮性媒質と、前記非圧縮性媒質を収納する容器と、物質の固液相変化に伴う体積変化を利用して圧力を発生させ該圧力を前記非圧縮性媒質に負荷する圧力発生手段と、を備え、前記非圧縮性媒質が前記ダイアフラム部材と前記容器とに囲まれた密閉空間に密封されていて、
    前記圧力が前記非圧縮性媒質及び前記ダイアフラム部材を介して前記隔壁に負荷されて、前記隔壁が変形するようになっていることを特徴とする送液機構。
  3. 前記物質の温度を制御して前記物質に固液相変化に伴う体積変化を生じさせる加熱装置及び冷却装置の少なくとも一方を備えることを特徴とする請求項2に記載の送液機構。
  4. 前記容器と前記圧力発生手段とを、非圧縮性媒質が充填された管状部材で連結したことを特徴とする請求項2又は請求項3に記載の送液機構。
  5. 前記隔壁と前記ダイアフラム部材との接触部分近傍を大気圧未満に減圧することによって、前記隔壁と前記ダイアフラム部材とを密着させ、前記接触部分近傍を大気圧とすることによって、前記隔壁と前記ダイアフラム部材との密着を解除する手段を備えることを特徴とする請求項1〜4のいずれか一項に記載の送液機構。
  6. 壁体に囲まれて形成された液体槽の容積を変化させることによって、前記液体槽に満たされた液体を前記液体槽に連結された流路に送る、又は、前記流路若しくは前記流路に連結された別の液体槽に収納された液体を前記液体槽に送る送液機構であって、
    前記壁体の少なくとも一部が、前記液体槽の内部又は外部に向かって突出するように変形可能な弾性を有する隔壁で構成されているとともに、
    前記隔壁の外面に接するダイアフラム部材と、前記ダイアフラム部材の有する面のうち前記隔壁と接していない面に接する非圧縮性媒質と、前記非圧縮性媒質を収納する容器と、前記非圧縮性媒質に圧力を負荷する圧力発生手段と、を備え、前記非圧縮性媒質が前記 ダイアフラム部材と前記容器とに囲まれた密閉空間に密封されていて、
    前記圧力が前記非圧縮性媒質及び前記ダイアフラム部材を介して前記隔壁に負荷されて、前記隔壁が変形するようになっており、
    さらに、前記隔壁と前記ダイアフラム部材との接触部分近傍を大気圧未満に減圧することによって、前記隔壁と前記ダイアフラム部材とを密着させ、前記接触部分近傍を大気圧とすることによって、前記隔壁と前記ダイアフラム部材との密着を解除する手段を備えることを特徴とする送液機構。
  7. 前記容器と前記圧力発生手段とを、非圧縮性媒質が充填された管状部材で連結したことを特徴とする請求項6に記載の送液機構。
  8. 前記圧力発生手段は、往復式容積形ポンプ機構を利用して前記圧力を発生させることを特徴とする請求項6又は請求項7に記載の送液機構。
  9. 前記圧力発生手段は、回転式容積形ポンプ機構を利用して前記圧力を発生させることを特徴とする請求項6又は請求項7に記載の送液機構。
  10. 壁体に囲まれて形成された液体槽の容積を変化させることによって、前記液体槽に満たされた液体を前記液体槽に連結された流路に送る、又は、前記流路若しくは前記流路に連結された別の液体槽に収納された液体を前記液体槽に送る送液機構であって、
    前記壁体の少なくとも一部が、前記液体槽の内部又は外部に向かって突出するように変形可能な弾性を有する隔壁で構成されているとともに、
    ゴム弾性を有する物質で構成され且つ前記隔壁の外面に接する非圧縮性媒質と、前記非圧縮性媒質を収納する容器と、前記非圧縮性媒質に圧力を負荷する圧力発生手段と、を備え、前記非圧縮性媒質が前記隔壁と前記容器とに囲まれた密閉空間に密封されていて、
    前記圧力発生手段が、孔又は亀裂が設けられた前記容器と、前記容器の孔又は亀裂に連続する孔又は亀裂が設けられた前記非圧縮性媒質と、前記容器及び前記非圧縮性媒質の孔又は亀裂に挿入され往復運動するピン又は薄片と、で構成され、
    前記圧力が前記非圧縮性媒質を介して前記隔壁に負荷されて、前記隔壁が変形するようになっていることを特徴とする送液機構。
  11. 壁体に囲まれて形成された液体槽の容積を変化させることによって、前記液体槽に満たされた液体を前記液体槽に連結された流路に送る、又は、前記流路若しくは前記流路に連結された別の液体槽に収納された液体を前記液体槽に送る送液機構であって、
    前記壁体の少なくとも一部が、前記液体槽の内部又は外部に向かって突出するように変形可能な弾性を有する隔壁で構成されているとともに、
    前記隔壁の外面に接する非圧縮性媒質と、前記非圧縮性媒質を収納する容器と、物質の固液相変化に伴う体積変化を利用して圧力を発生させ該圧力を前記非圧縮性媒質に負荷する圧力発生手段と、を備え、前記非圧縮性媒質が前記隔壁と前記容器とに囲まれた密閉空間に密封されていて、
    前記圧力が前記非圧縮性媒質を介して前記隔壁に負荷されて、前記隔壁が変形するようになっていることを特徴とする送液機構。
  12. 前記物質の温度を制御して前記物質に固液相変化に伴う体積変化を生じさせる加熱装置及び冷却装置の少なくとも一方を備えることを特徴とする請求項11に記載の送液機構。
  13. 前記容器と前記圧力発生手段とを、非圧縮性媒質が充填された管状部材で連結したことを特徴とする請求項11又は請求項12に記載の送液機構。
  14. 前記隔壁と前記非圧縮性媒質との接触部分の少なくとも一部を接着したことを特徴とす る請求項10〜13のいずれか一項に記載の送液機構。
  15. 壁体に囲まれて形成された液体槽の容積を変化させることによって、前記液体槽に満たされた液体を前記液体槽に連結された流路に送る、又は、前記流路若しくは前記流路に連結された別の液体槽に収納された液体を前記液体槽に送る送液機構であって、
    前記壁体の少なくとも一部が、前記液体槽の内部又は外部に向かって突出するように変形可能な弾性を有する隔壁で構成されているとともに、
    前記隔壁の外面に接する非圧縮性媒質と、前記非圧縮性媒質を収納する容器と、前記非圧縮性媒質に圧力を負荷する圧力発生手段と、を備え、前記非圧縮性媒質が前記隔壁と前記容器とに囲まれた密閉空間に密封され、前記隔壁と前記非圧縮性媒質との接触部分の少なくとも一部が接着されていて、
    前記圧力が前記非圧縮性媒質を介して前記隔壁に負荷されて、前記隔壁が変形するようになっていることを特徴とする送液機構。
  16. 前記容器と前記圧力発生手段とを、非圧縮性媒質が充填された管状部材で連結したことを特徴とする請求項15に記載の送液機構。
  17. 前記圧力発生手段は、往復式容積形ポンプ機構を利用して前記圧力を発生させることを特徴とする請求項15又は請求項16に記載の送液機構。
  18. 前記圧力発生手段は、回転式容積形ポンプ機構を利用して前記圧力を発生させることを特徴とする請求項15又は請求項16に記載の送液機構。
  19. 前記隔壁を、気体は透過し液体は透過しない素材で構成したことを特徴とする請求項1〜18のいずれか一項に記載の送液機構。
  20. 前記素材は、疎水性を有する多孔質膜であることを特徴とする請求項19に記載の送液機構。
  21. 前記多孔質膜が有機ポリマーで形成されていることを特徴とする請求項20に記載の送液機構。
  22. 前記隔壁の外面に気体及び液体を透過しない被膜を被覆したことを特徴とする請求項19〜21のいずれか一項に記載の送液機構。
  23. 前記被膜は熱圧着又は熱融着によって前記隔壁に接合されていることを特徴とする請求項22に記載の送液機構。
  24. 壁体に囲まれて形成された液体槽に満たされた液体を、前記液体槽に連結された流路に送る、又は、前記流路若しくは前記流路に連結された別の液体槽に収納された液体を前記液体槽に送る送液機構であって、
    相変化に伴って体積が変化する物質を、前記送液される液体と混合しないように、前記液体槽の内部に封入したことを特徴とする送液機構。
  25. 前記物質を前記送液される液体と隔離して前記液体槽の内部に封入したことを特徴とする請求項24に記載の送液機構。
  26. 前記物質は前記送液される液体と混合しない性質を有することを特徴とする請求項24に記載の送液機構。
  27. 前記物質の温度を制御して前記物質に相変化に伴う体積変化を生じさせる加熱装置及び冷却装置の少なくとも一方を備えることを特徴とする請求項24〜26のいずれか一項に記載の送液機構。
  28. 液体状の試料、又は、液体状の試料及び液体状の試薬の混合液を流路内に流して、前記試料又は前記混合液中の所定成分を分析する分析装置であって、
    前記試料又は前記混合液が充填される液体槽と、前記液体槽に連結された前記流路と、を有するチップと、
    請求項1〜27のいずれか一項に記載の送液機構と、
    を備えることを特徴とする分析装置。
  29. 前記チップは一対の平板状部材が貼り合わされて構成されており、この一対の平板状部材のうち少なくとも一方は板面に溝を備え、前記溝を備えた板面を内側にして貼り合わせることにより前記流路が形成されていることを特徴とする請求項28に記載の分析装置。
  30. 前記チップは乾燥した試薬が収納されている液体槽を備えていて、この液体槽に溶解液を装入して前記試薬を前記溶解液で溶解することにより、前記液体状の試薬を前記チップ内で調製することが可能となっていることを特徴とする請求項28又は請求項29に記載の分析装置。
  31. 複数の液体槽又は複数の流路内の液体を液押し用液体で押し流すことにより同時に移動させる機構を備える分析装置であって、
    請求項1〜27のいずれか一項に記載の送液機構により送液される前記液押し用液体が流れる液押し用流路を、前記複数の液体槽又は前記複数の流路にそれぞれ連結したことを特徴とする請求項28〜30のいずれか一項に記載の分析装置。
JP2003013634A 2003-01-22 2003-01-22 送液機構及び該送液機構を備える分析装置 Expired - Fee Related JP4098103B2 (ja)

Priority Applications (1)

Application Number Priority Date Filing Date Title
JP2003013634A JP4098103B2 (ja) 2003-01-22 2003-01-22 送液機構及び該送液機構を備える分析装置

Applications Claiming Priority (1)

Application Number Priority Date Filing Date Title
JP2003013634A JP4098103B2 (ja) 2003-01-22 2003-01-22 送液機構及び該送液機構を備える分析装置

Publications (2)

Publication Number Publication Date
JP2004226207A JP2004226207A (ja) 2004-08-12
JP4098103B2 true JP4098103B2 (ja) 2008-06-11

Family

ID=32901911

Family Applications (1)

Application Number Title Priority Date Filing Date
JP2003013634A Expired - Fee Related JP4098103B2 (ja) 2003-01-22 2003-01-22 送液機構及び該送液機構を備える分析装置

Country Status (1)

Country Link
JP (1) JP4098103B2 (ja)

Cited By (1)

* Cited by examiner, † Cited by third party
Publication number Priority date Publication date Assignee Title
WO2024213543A1 (en) * 2023-04-12 2024-10-17 Cytiva Sweden Ab Liquid actuated pump, pump unit, and method of pumping a process fluid

Families Citing this family (17)

* Cited by examiner, † Cited by third party
Publication number Priority date Publication date Assignee Title
JP3905074B2 (ja) * 2003-11-04 2007-04-18 アイダエンジニアリング株式会社 微量流体制御機構及び該機構を有するマイクロチップ
JP4506472B2 (ja) * 2005-01-12 2010-07-21 ヤマハ株式会社 分析チップ用の温度制御装置
JP2006300860A (ja) * 2005-04-25 2006-11-02 Kyocera Corp マイクロ化学チップ
WO2006132324A1 (ja) * 2005-06-10 2006-12-14 Olympus Corporation 反応容器およびそれを用いる反応装置
JP2007021351A (ja) * 2005-07-15 2007-02-01 Yokogawa Electric Corp 化学反応用カートリッジおよび化学反応処理システム
WO2007052377A1 (ja) * 2005-11-02 2007-05-10 Niigata Tlo Corporation マイクロポンプ及びマイクロ流体チップ
US20090165876A1 (en) * 2005-11-22 2009-07-02 Micah James Atkin Microfluidic Structures
US20100112681A1 (en) * 2007-03-05 2010-05-06 Nec Corporation Microchip fluid control mechanism
WO2012045753A1 (de) * 2010-10-07 2012-04-12 Boehringer Ingelheim Microparts Gmbh Mikrofluidische plattform
US20130161193A1 (en) * 2011-12-21 2013-06-27 Sharp Kabushiki Kaisha Microfluidic system with metered fluid loading system for microfluidic device
JP2015021906A (ja) * 2013-07-22 2015-02-02 東亜ディーケーケー株式会社 測定方法、測定用のカートリッジ及び測定装置
JP5922719B2 (ja) * 2014-07-24 2016-05-24 日本電信電話株式会社 血液凝固検査方法
CN110566432B (zh) * 2018-06-05 2024-09-27 上海渔霁生物技术有限公司 一种液相色谱仪用轴向多柱塞无脉冲高压输液泵
JP6956695B2 (ja) * 2018-08-28 2021-11-02 京セラ株式会社 液体供給デバイス
JP7507752B2 (ja) * 2019-05-16 2024-06-28 日曹エンジニアリング株式会社 小流量フローに適した膜による連続的な相分離システム及び装置
CN110227564B (zh) * 2019-06-17 2021-07-02 佛山市麦控智能科技有限公司 基于微流控技术的检测系统
CN111238911A (zh) * 2020-02-10 2020-06-05 大连医科大学 一种断层塑化专用垂直包埋箱

Family Cites Families (8)

* Cited by examiner, † Cited by third party
Publication number Priority date Publication date Assignee Title
JPH09108579A (ja) * 1995-10-16 1997-04-28 Shimadzu Corp マイクロピペット
US5863502A (en) * 1996-01-24 1999-01-26 Sarnoff Corporation Parallel reaction cassette and associated devices
JPH11258243A (ja) * 1998-03-10 1999-09-24 Hitachi Ltd 自動分析装置
EP1203959B1 (en) * 1999-08-11 2007-06-13 Asahi Kasei Kabushiki Kaisha Analyzing cartridge and liquid feed control device
DE10010587A1 (de) * 2000-03-03 2001-09-06 Roche Diagnostics Gmbh System zur Bestimmung von Analytkonzentrationen in Körperflüssigkeiten
JP2002034560A (ja) * 2000-07-28 2002-02-05 Mitsubishi Chemicals Corp スポッティングヘッド,スポッティング装置及びスポッティング方法
DE10041536A1 (de) * 2000-08-24 2002-03-07 Roland Zengerle Vorrichtung und Verfahren zum berührungslosen Aufbringen von Mikrotröpfchen auf ein Substrat
JP2003166910A (ja) * 2001-11-30 2003-06-13 Asahi Kasei Corp 送液機構及び該送液機構を備える分析装置

Cited By (1)

* Cited by examiner, † Cited by third party
Publication number Priority date Publication date Assignee Title
WO2024213543A1 (en) * 2023-04-12 2024-10-17 Cytiva Sweden Ab Liquid actuated pump, pump unit, and method of pumping a process fluid

Also Published As

Publication number Publication date
JP2004226207A (ja) 2004-08-12

Similar Documents

Publication Publication Date Title
JP4098103B2 (ja) 送液機構及び該送液機構を備える分析装置
JP2003166910A (ja) 送液機構及び該送液機構を備える分析装置
US10807093B2 (en) Microfluidic systems
JP4627395B2 (ja) 分析用カートリッジ及び送液制御装置
US7125510B2 (en) Microstructure fabrication and microsystem integration
US7595871B2 (en) Flow cell consisting of layer and connection means
US9213043B2 (en) Clinical diagnostic system including instrument and cartridge
CN101176001A (zh) 用于分析被检体中目标物质的检查芯片和微型综合分析系统
AU2013262815A1 (en) Clinical diagnostic system including instrument and cartridge
JP5246167B2 (ja) マイクロチップ及びマイクロチップの送液方法
Do et al. Development of functional lab-on-a-chip on polymer for point-of-care testing of metabolic parameters
Chiu et al. An air-bubble-actuated micropump for on-chip blood transportation
EP3661649B1 (en) Microfluidic systems with capillary pumps
WO2017134313A1 (en) Propulsion pump
JP4083452B2 (ja) バルブ機構
JP2003294596A (ja) 混合機構
Bodén et al. On-chip liquid storage and dispensing for lab-on-a-chip applications
US12521715B2 (en) System for delivering fluid samples through a fluidic device and methods therefor
JP3754038B2 (ja) 流量制御装置及び流量制御システム
Baek et al. A laser-micromachined PCB electrolytic micropump using an oil-based electrolyte separation barrier
WO2007055151A1 (ja) マイクロリアクタおよびマイクロ分析システム
JP2006023121A (ja) 送液装置
JP2005030999A (ja) 反応機構
CA3134917C (en) System for delivering fluid samples through a fluidic device and methods therefor
A Meyer et al. Integrated electrochemical pumping and dosing system using phaseguide techniques with inherent implemented valving and metering

Legal Events

Date Code Title Description
A621 Written request for application examination

Free format text: JAPANESE INTERMEDIATE CODE: A621

Effective date: 20060118

A977 Report on retrieval

Free format text: JAPANESE INTERMEDIATE CODE: A971007

Effective date: 20070412

A131 Notification of reasons for refusal

Free format text: JAPANESE INTERMEDIATE CODE: A131

Effective date: 20070424

A521 Written amendment

Free format text: JAPANESE INTERMEDIATE CODE: A523

Effective date: 20070625

TRDD Decision of grant or rejection written
A01 Written decision to grant a patent or to grant a registration (utility model)

Free format text: JAPANESE INTERMEDIATE CODE: A01

Effective date: 20080304

A61 First payment of annual fees (during grant procedure)

Free format text: JAPANESE INTERMEDIATE CODE: A61

Effective date: 20080312

R150 Certificate of patent or registration of utility model

Free format text: JAPANESE INTERMEDIATE CODE: R150

FPAY Renewal fee payment (event date is renewal date of database)

Free format text: PAYMENT UNTIL: 20110321

Year of fee payment: 3

FPAY Renewal fee payment (event date is renewal date of database)

Free format text: PAYMENT UNTIL: 20110321

Year of fee payment: 3

S531 Written request for registration of change of domicile

Free format text: JAPANESE INTERMEDIATE CODE: R313531

FPAY Renewal fee payment (event date is renewal date of database)

Free format text: PAYMENT UNTIL: 20110321

Year of fee payment: 3

R360 Written notification for declining of transfer of rights

Free format text: JAPANESE INTERMEDIATE CODE: R360

FPAY Renewal fee payment (event date is renewal date of database)

Free format text: PAYMENT UNTIL: 20110321

Year of fee payment: 3

R370 Written measure of declining of transfer procedure

Free format text: JAPANESE INTERMEDIATE CODE: R370

FPAY Renewal fee payment (event date is renewal date of database)

Free format text: PAYMENT UNTIL: 20110321

Year of fee payment: 3

S531 Written request for registration of change of domicile

Free format text: JAPANESE INTERMEDIATE CODE: R313531

FPAY Renewal fee payment (event date is renewal date of database)

Free format text: PAYMENT UNTIL: 20110321

Year of fee payment: 3

R350 Written notification of registration of transfer

Free format text: JAPANESE INTERMEDIATE CODE: R350

FPAY Renewal fee payment (event date is renewal date of database)

Free format text: PAYMENT UNTIL: 20110321

Year of fee payment: 3

FPAY Renewal fee payment (event date is renewal date of database)

Free format text: PAYMENT UNTIL: 20120321

Year of fee payment: 4

FPAY Renewal fee payment (event date is renewal date of database)

Free format text: PAYMENT UNTIL: 20120321

Year of fee payment: 4

FPAY Renewal fee payment (event date is renewal date of database)

Free format text: PAYMENT UNTIL: 20130321

Year of fee payment: 5

FPAY Renewal fee payment (event date is renewal date of database)

Free format text: PAYMENT UNTIL: 20140321

Year of fee payment: 6

S531 Written request for registration of change of domicile

Free format text: JAPANESE INTERMEDIATE CODE: R313531

R350 Written notification of registration of transfer

Free format text: JAPANESE INTERMEDIATE CODE: R350

LAPS Cancellation because of no payment of annual fees