JP4046861B2 - しめじきのこの栽培方法 - Google Patents
しめじきのこの栽培方法 Download PDFInfo
- Publication number
- JP4046861B2 JP4046861B2 JP23796998A JP23796998A JP4046861B2 JP 4046861 B2 JP4046861 B2 JP 4046861B2 JP 23796998 A JP23796998 A JP 23796998A JP 23796998 A JP23796998 A JP 23796998A JP 4046861 B2 JP4046861 B2 JP 4046861B2
- Authority
- JP
- Japan
- Prior art keywords
- inoculum
- culture
- outer peripheral
- layer
- bottle
- Prior art date
- Legal status (The legal status is an assumption and is not a legal conclusion. Google has not performed a legal analysis and makes no representation as to the accuracy of the status listed.)
- Expired - Fee Related
Links
- 235000001674 Agaricus brunnescens Nutrition 0.000 title claims description 18
- 238000012364 cultivation method Methods 0.000 title claims description 5
- 241001534815 Hypsizygus marmoreus Species 0.000 title claims 2
- 239000002054 inoculum Substances 0.000 claims description 36
- 230000002093 peripheral effect Effects 0.000 claims description 20
- 239000001963 growth medium Substances 0.000 claims description 14
- 240000001462 Pleurotus ostreatus Species 0.000 description 9
- 230000035784 germination Effects 0.000 description 5
- 238000000034 method Methods 0.000 description 5
- 241000233866 Fungi Species 0.000 description 4
- 239000000428 dust Substances 0.000 description 4
- 238000007796 conventional method Methods 0.000 description 3
- 238000011081 inoculation Methods 0.000 description 3
- 235000015097 nutrients Nutrition 0.000 description 3
- 230000001954 sterilising effect Effects 0.000 description 3
- 238000004659 sterilization and disinfection Methods 0.000 description 3
- 240000007594 Oryza sativa Species 0.000 description 2
- 235000007164 Oryza sativa Nutrition 0.000 description 2
- 230000001580 bacterial effect Effects 0.000 description 2
- 230000003111 delayed effect Effects 0.000 description 2
- 235000009566 rice Nutrition 0.000 description 2
- 238000007790 scraping Methods 0.000 description 2
- 235000010627 Phaseolus vulgaris Nutrition 0.000 description 1
- 244000046052 Phaseolus vulgaris Species 0.000 description 1
- 240000008042 Zea mays Species 0.000 description 1
- 235000005824 Zea mays ssp. parviglumis Nutrition 0.000 description 1
- 235000002017 Zea mays subsp mays Nutrition 0.000 description 1
- 238000009395 breeding Methods 0.000 description 1
- 230000001488 breeding effect Effects 0.000 description 1
- 239000012141 concentrate Substances 0.000 description 1
- 235000005822 corn Nutrition 0.000 description 1
- 238000010586 diagram Methods 0.000 description 1
- 238000005553 drilling Methods 0.000 description 1
- 230000000694 effects Effects 0.000 description 1
- 238000005516 engineering process Methods 0.000 description 1
- 239000012528 membrane Substances 0.000 description 1
Images
Landscapes
- Mushroom Cultivation (AREA)
Description
【産業上の利用分野】
本発明は、しめじきのこの栽培方法に関する。
【0002】
【従来の技術と問題点】
しめじきのこの栽培は、培養瓶に米糠やおがくずからなる培養基を詰め、その中心に穴をあけ、殺菌釜で殺菌してから、この穴に本しめじの種菌を接種し、菌糸培養を行う。そして菌糸が培養基全体に成長し、培養瓶の瓶口内の菌床にも及んだ時、瓶口内の死滅菌膜を除去する作業が行われる。
しめじきのこは、えのき茸と異なり、菌床面すべてから本しめじの幼芽を発芽させると、成長した段階で太い茎と大きな笠を有する商品価値の高いきのことはならない。
【0003】
このため、従来では、特開昭55−48324公報や特公昭55−25087公報のように、種菌の中央部をプレス皿で押圧し外周部をかき落としたり、プレス皿内に突条を設けて、菌床に凹溝を形成すると共にその周囲を削り取る等の手段が採用されている。
【0004】
また本発明者は、特公平3−37888公報に示すように、瓶口内の種菌の表面の菌膜を除去し、種菌の中央部分を残して、その周囲をかき取ることを提案し、それなりの成果をあげている。
しかし、いずれにしても、培養瓶を反転させ、種菌層と共に菌床の一部を除去するものであり、その際ごみ及び埃が発生し、また工程上も培養瓶を入れたコンテナの反転が不可欠なため迅速な作業を行えないという欠点がある。
【0005】
【問題点を解決するための手段】
本発明は、以上の問題点を解決するためになされたものであり、その要旨とするところは、培養瓶内の培養基に接種した種菌の菌糸培養が完了したとき、瓶口内の種菌層を押圧するに当たり、中央部分の種菌層を押圧する一方、その周辺部分の種菌層をより強い押圧力で回転しながら押圧することを特徴としたしめじきのこの栽培方法である。
【0006】
本栽培方法は、本しめじやぶなしめじなどのしめじきのこについて適用されるものである。
その実施は、培養基に接種した種菌の菌糸培養が完了したときであるが、これは、きのこ栽培において、培養瓶に培養基が詰め込まれ、培養基に開けられた穴に種菌を接種し、この種菌が培養瓶内で成長し、菌糸培養が完了した段階である。このとき、種菌接種から90日程経過しているのが普通であり、瓶口内には、菌床の上に種菌層が覆った状態となっている。
【0007】
種菌層とは、種菌を培養した培養基の層のことで、当初の種菌接種時には、湿潤状態を呈しているが、菌糸成長時には乾燥が進んでいるものの、菌糸が存在するので、圧縮しても崩れることはない。
本発明は、瓶口の上から種菌層全体を菌床ないし培養基に向けて押圧するのであるが、押圧力に差をつけ、中央部分より外周部分を強く押圧するものである。
この押圧手段は、瓶口内に挿脱可能なディスクであって、押圧面は、中央部分が、外周部分より凹んでいるもので、この中央部分は断面凹弧状のものを用いるのが望ましい。
【0008】
外周部分の種菌層をより強い押圧力で回転しながら押圧する手段としては、瓶口内に挿脱可能なディスクであって、押圧面が中央部分が外周部分より凹んでおり、外周部分が回転可能となっているものでよい。
本発明は、中央部分と外周部分とに対し、相違のある押圧力だけで処理するので、種菌層が剥離することはなく、このことは外周部分が回転する場合においても同じである。
【0009】
本発明法では、後述のごとく、きのこの姿態及び収量は共に優れたものであることが確認されたが、その根拠として、瓶口を覆う種菌層の内、中央部分に比して外周部分がより強い押圧を受け、その分発芽が中央部分より遅れるが、養分は先に発芽した芽に集中する傾向があるので、外周部分の養分は、中央部分の先に発芽したきのこの幼芽に取られてしまい、外周部分に遅れて発芽する頃には十分な養分がないという状態となり、中央部分の幼芽のみが順調に成長することになるものと思われる。
【0010】
【実施例】
容量800ミリリットルの培養瓶200本を用意し、これにコ−ンコブと米糠とからなる培養基を入れ、穴明け機で培養基の中央に穴をあけ、殺菌釜で殺菌した後、その穴に種菌を接種した。種菌接種後、13週間で菌糸が成長し培養基全体に蔓延したので、押圧面が奥行方向に凹弧状の断面を有する中央部分と中央部分外縁を水平に延長した外周部分とからなる押圧手段で、種菌層を押圧した。押圧完了後、育成室できのこ育成を行った。発芽は中央部分からのみ行われ、外周部分からの発芽はなかった。育成状況及び収量等は下記のとおりであった。比較のために従来法も同様な条件で実施した。
【0011】
【表1】
育成状況及び収量
【0012】
以上のとおり、従来法に比して、有効茎数及び等級に関して、本発明は、単に中央部分より外周部分ををやや強く押圧しただけで、同等あるいはやや良の結果を見たものである。なお等級のAは「優良」、Bは「良」を示す。
同様な条件で、外周部分が回転する押圧手段で実施したが、結果は上記とほぼ同じであった。
【0013】
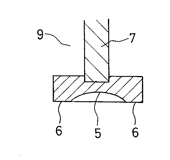
図1において、図Aは菌糸が培養瓶1の培養基2中に蔓延し、種菌層3が瓶口4内を覆った状態を示し、図Bは断面が凹弧状の中央部5と、その外縁のレベルであって回転可能な外周部6と、中央部5に連結した押杆7からなる押圧手段8で、種菌層3を押圧した状態を示す。図Cは、押圧後形成された種菌層の形状を示す。31は中央部分、32は外周部分である。
図2、別の押圧手段9であり、この押圧手段9は外周部6が中央部5と一体となっており、押圧面のレベルが、中央部5において凹弧状となっているものである。
【0014】
【効果】
本発明は、以上のごとく、有効茎数、収量、等級等において従来法と同等またはそれ以上の成績を上げることができただけでなく、簡単に瓶口内のきのこの発芽部分を限定することができ、且つその方法が瓶口内の種菌層を破壊することなくそのままの状態で実施するできる栽培法であるので、ごみや埃等が発生することはなく、またこれを瓶口から除去するため、培養瓶を反転する等の余計な工程を行う必要はない。
【図面の簡単な説明】
【図1】 本発明の実施工程を示す図
【図2】 押圧手段の実施例を示す断面図
【符号の説明】
1−培養瓶、2−培養基、3−種菌層、4−瓶口、5−中央部、6−外周部、7−押杆、8−押圧手段、9−押圧手段
Claims (1)
- 培養瓶内の培養基に接種した種菌の菌糸培養が完了したとき、瓶口内の種菌層の中央部分の種菌層を押圧する一方、その周辺部分の種菌層をより強い押圧力で回転しながら押圧することを特徴としたしめじきのこの栽培方法
Priority Applications (1)
| Application Number | Priority Date | Filing Date | Title |
|---|---|---|---|
| JP23796998A JP4046861B2 (ja) | 1998-08-11 | 1998-08-11 | しめじきのこの栽培方法 |
Applications Claiming Priority (1)
| Application Number | Priority Date | Filing Date | Title |
|---|---|---|---|
| JP23796998A JP4046861B2 (ja) | 1998-08-11 | 1998-08-11 | しめじきのこの栽培方法 |
Publications (2)
| Publication Number | Publication Date |
|---|---|
| JP2000050729A JP2000050729A (ja) | 2000-02-22 |
| JP4046861B2 true JP4046861B2 (ja) | 2008-02-13 |
Family
ID=17023160
Family Applications (1)
| Application Number | Title | Priority Date | Filing Date |
|---|---|---|---|
| JP23796998A Expired - Fee Related JP4046861B2 (ja) | 1998-08-11 | 1998-08-11 | しめじきのこの栽培方法 |
Country Status (1)
| Country | Link |
|---|---|
| JP (1) | JP4046861B2 (ja) |
Families Citing this family (3)
| Publication number | Priority date | Publication date | Assignee | Title |
|---|---|---|---|---|
| CN103026895A (zh) * | 2011-11-30 | 2013-04-10 | 上海丰科生物科技股份有限公司 | 固体菌种瓶栽食用菌的栽培方法 |
| CN103004461A (zh) * | 2011-11-30 | 2013-04-03 | 上海丰科生物科技股份有限公司 | 定点产生原基的瓶栽食用菌的栽培系统 |
| JP6444248B2 (ja) * | 2015-04-15 | 2018-12-26 | きのこの森有限会社 | キノコの栽培方法 |
-
1998
- 1998-08-11 JP JP23796998A patent/JP4046861B2/ja not_active Expired - Fee Related
Also Published As
| Publication number | Publication date |
|---|---|
| JP2000050729A (ja) | 2000-02-22 |
Similar Documents
| Publication | Publication Date | Title |
|---|---|---|
| CN113475311A (zh) | 一种姬松茸栽培种植方法 | |
| JP4046861B2 (ja) | しめじきのこの栽培方法 | |
| JP4341759B2 (ja) | きのこの栽培方法 | |
| TW201026220A (en) | Fungal bed cultivation method of hon-shimeji mushroom | |
| KR100306255B1 (ko) | 버섯 멀칭 재배 방법과 수확도구 | |
| JP3218060U (ja) | きのこ栽培用シート | |
| JP4778756B2 (ja) | きのこの人工栽培方法 | |
| KR20010036047A (ko) | 버섯 재배용 배양병과 이를 이용한 버섯 재배방법 | |
| JP2006223264A (ja) | キノコの栽培方法及びそれに用いるキャップ | |
| JPH09135628A (ja) | きのこの栽培方法 | |
| JP2007236318A (ja) | きのこ生育用キャップ及びきのこの栽培方法 | |
| JP3263730B2 (ja) | マツタケ菌根の迅速人工合成法 | |
| JPH10215678A (ja) | 菌根菌の子実体の人工栽培方法 | |
| JP2006025616A (ja) | 茸の栽培方法 | |
| JP2762894B2 (ja) | ハタケシメジの室内栽培法 | |
| JP4647563B2 (ja) | しいたけ菌床の栽培方法 | |
| JP3793972B2 (ja) | ブナハリタケの人工栽培方法 | |
| JP2002000072A (ja) | しめじきのこの栽培方法と幼芽の除去装置 | |
| JP3853724B2 (ja) | 食用担子菌類用培地及び機能性食品 | |
| JP3198726B2 (ja) | ハタケシメジの室内栽培法 | |
| JP2004154036A (ja) | きのこ栽培方法 | |
| JP2005080595A (ja) | 菌床の作成方法、茸類の栽培方法、菌床 | |
| JPH043170B2 (ja) | ||
| JP2003274754A (ja) | きのこ栽培方法 | |
| KR101473442B1 (ko) | 갈변과정없이 백색을 유지시킨 참송이버섯종균배지로 참송이버섯재배방법 |
Legal Events
| Date | Code | Title | Description |
|---|---|---|---|
| A621 | Written request for application examination |
Free format text: JAPANESE INTERMEDIATE CODE: A621 Effective date: 20050216 |
|
| A977 | Report on retrieval |
Free format text: JAPANESE INTERMEDIATE CODE: A971007 Effective date: 20070720 |
|
| A131 | Notification of reasons for refusal |
Free format text: JAPANESE INTERMEDIATE CODE: A131 Effective date: 20070731 |
|
| A521 | Written amendment |
Free format text: JAPANESE INTERMEDIATE CODE: A523 Effective date: 20070806 |
|
| TRDD | Decision of grant or rejection written | ||
| A01 | Written decision to grant a patent or to grant a registration (utility model) |
Free format text: JAPANESE INTERMEDIATE CODE: A01 Effective date: 20071106 |
|
| A61 | First payment of annual fees (during grant procedure) |
Free format text: JAPANESE INTERMEDIATE CODE: A61 Effective date: 20071121 |
|
| FPAY | Renewal fee payment (event date is renewal date of database) |
Free format text: PAYMENT UNTIL: 20101130 Year of fee payment: 3 |
|
| R150 | Certificate of patent or registration of utility model |
Free format text: JAPANESE INTERMEDIATE CODE: R150 |
|
| FPAY | Renewal fee payment (event date is renewal date of database) |
Free format text: PAYMENT UNTIL: 20101130 Year of fee payment: 3 |
|
| FPAY | Renewal fee payment (event date is renewal date of database) |
Free format text: PAYMENT UNTIL: 20111130 Year of fee payment: 4 |
|
| FPAY | Renewal fee payment (event date is renewal date of database) |
Free format text: PAYMENT UNTIL: 20121130 Year of fee payment: 5 |
|
| FPAY | Renewal fee payment (event date is renewal date of database) |
Free format text: PAYMENT UNTIL: 20131130 Year of fee payment: 6 |
|
| R250 | Receipt of annual fees |
Free format text: JAPANESE INTERMEDIATE CODE: R250 |
|
| R250 | Receipt of annual fees |
Free format text: JAPANESE INTERMEDIATE CODE: R250 |
|
| R250 | Receipt of annual fees |
Free format text: JAPANESE INTERMEDIATE CODE: R250 |
|
| LAPS | Cancellation because of no payment of annual fees |
