JP4046858B2 - 定着装置 - Google Patents

定着装置 Download PDF

Info

Publication number
JP4046858B2
JP4046858B2 JP18879498A JP18879498A JP4046858B2 JP 4046858 B2 JP4046858 B2 JP 4046858B2 JP 18879498 A JP18879498 A JP 18879498A JP 18879498 A JP18879498 A JP 18879498A JP 4046858 B2 JP4046858 B2 JP 4046858B2
Authority
JP
Japan
Prior art keywords
peeling claw
tip
bracket
fixing
heating roller
Prior art date
Legal status (The legal status is an assumption and is not a legal conclusion. Google has not performed a legal analysis and makes no representation as to the accuracy of the status listed.)
Expired - Fee Related
Application number
JP18879498A
Other languages
English (en)
Other versions
JP2000019885A (ja
Inventor
俊哉 猪股
Current Assignee (The listed assignees may be inaccurate. Google has not performed a legal analysis and makes no representation or warranty as to the accuracy of the list.)
Toshiba Corp
Toshiba Tec Corp
Original Assignee
Toshiba Corp
Toshiba Tec Corp
Priority date (The priority date is an assumption and is not a legal conclusion. Google has not performed a legal analysis and makes no representation as to the accuracy of the date listed.)
Filing date
Publication date
Application filed by Toshiba Corp, Toshiba Tec Corp filed Critical Toshiba Corp
Priority to JP18879498A priority Critical patent/JP4046858B2/ja
Publication of JP2000019885A publication Critical patent/JP2000019885A/ja
Application granted granted Critical
Publication of JP4046858B2 publication Critical patent/JP4046858B2/ja
Anticipated expiration legal-status Critical
Expired - Fee Related legal-status Critical Current

Links

Images

Landscapes

  • Delivering By Means Of Belts And Rollers (AREA)
  • Separation, Sorting, Adjustment, Or Bending Of Sheets To Be Conveyed (AREA)
  • Fixing For Electrophotography (AREA)

Description

【0001】
【発明の属する技術分野】
本発明は、電子写真装置やプリンタ等において、定着ローラによりシート紙上のトナー像を加熱加圧定着する定着装置に関する。
【0002】
【従来の技術】
電子写真装置やプリンタ等の画像形成装置において、ヒータを内蔵する加熱ローラ及び加圧ローラからなる定着ローラのニップ部にシート紙を挿通し、トナ−像を加熱加圧定着する定着装置にあっては、定着終了後、シート紙先端にて加熱ローラ及びシート紙間に剥離爪を挿入して加熱ローラからシート紙を剥離している。そしてこの間に紙詰まりを生じると、図6に示す第1の従来例のように、剥離爪1を支持するジャム処理レバー2を矢印r方向に回動する事により剥離爪1を上方に跳ね上げて定着ローラ3から離間したり、あるいは図7に示す第2の従来例のように、ジャム処理レバー4の矢印s方向の開放により、剥離爪6をコイルスプリング等の付勢手段により矢印t方向に回動して定着ローラ7から離間した後、ジャム発生位置に手を差し込んでシート紙の除去を行っていた。
【0003】
【発明が解決しようとする課題】
しかしながら第1の従来例にあっては、上方に跳ね上げた剥離爪1の先端1aがジャム処理操作領域方向に向いているため、装置内に手を差し込んでジャム処理を行っている間に、剥離爪1の先端1aに手を触れて怪我をする可能性が有り、安全性が損なわれるという問題を有していた。一方、第2の従来例にあっては、定着ローラ7から離間した剥離爪6の先端6aが定着ローラ7に近いため、ジャム処理操作領域が狭く、シート紙Pが剥離爪6の先端6aに引っ掛かったりしてシート紙を除去し難く、操作性に劣るという問題を生じていた。
【0004】
そこで本発明は上記課題を除去するもので、ジャム処理時に、定着ローラから離間した剥離爪の先端が手に触れる事無く且つ、シート紙を除去し易くして、ジャム処理時の安全性及び操作性向上を図る定着装置を提供することを目的とする。
【0005】
【課題を解決するための手段】
本発明は上記課題を解決するため、加熱ローラ及び加圧ローラ間にトナー像を有する像支持体を挿通し前記トナー像を加熱加圧定着する一対の定着ローラと、前記トナー像の定着時にあってはブラケットに支持される剥離爪を先端が前記加熱ローラに接する剥離位置に保持し、ジャム処理時にあっては前記先端をジャム処理操作と干渉せず且つ前記加熱ローラとの間に前記ブラケットを介在してなる待避位置に保持し且つ前記先端を前記ブラケットの切欠き部に収納してなる剥離爪機構とを設けるものである。
【0006】
上記手段により本発明は、ジャム処理時、剥離爪を除去操作と干渉しない待避位置に移動し且つ剥離爪の先端を除去操作と干渉しない方向に向ける事により、ジャム処理時の安全性及び操作性向上を図るものである。
【0007】
【発明の実施の形態】
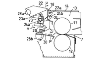
以下本発明を図1乃至図3に示す実施の形態を参照して説明する。図1は電子写真装置(図示せず)等に搭載される定着装置10の要部を示す構成図であり、ヒータ11aを内蔵する加熱ローラ11及びこの加熱ローラ11に押圧して転接する加圧ローラ12からなる一対の定着ローラ13を有している。定着ローラ13は、上ケーシング14及び下ケーシング16に囲われており、上ケーシング14には、剥離爪機構17を回動可能に支持するブラケット18が設けられている。
【0008】
剥離爪機構17は、先端20aが加熱ローラ11に摺接して、定着終了後のシート紙Pを加熱ローラ11から剥離する剥離爪20及びこの剥離爪20を移動支持するクランク機構21から成っている。クランク機構21は、第1の支点22aにてブラケット18に回動可能に軸止される回動アーム22、一端に剥離爪20を支持し他端の第2の支点23aが回動アーム22に回動可能に軸止される支持アーム23、一端の作用点24aが支持アーム23に軸止され他端の第3の支点24bがブラケット18に回動可能に軸止され、支持アーム23及びブラケット18間に掛け渡されるクランク24からなっている。
【0009】
尚26、27はシート紙Pを支持するガイド、28a,28bは定着終了後のシート紙Pを挟持搬送する上下一対の排紙ローラであり、上排紙ローラ28aは回動アーム22に支持され、ジャム処理時、回動アームの回動に伴い下排紙ローラ28bから離間されシート紙Pの搬送路30を開放するように成っている。
【0010】
次に作用について述べる。画像形成手段(図示せず)により形成されたトナー像を有するシート紙Pは、ヒータ11aにより所定温度に加熱される一対の定着ローラ13のニップを通過する間に加熱加圧定着され、この後排紙ローラ28a、28bを経て排紙トレイ(図示せず)に排出される。
【0011】
このように定着工程を行う間、剥離爪20の先端20aは加熱ローラ11に接していて、定着ローラ13のニップ通過後に加熱ローラ11に貼り付いて搬送されるシート紙Pの先端部にてシート紙Pと加熱ローラ11の間に挿通して、シート紙Pを加熱ローラ11から剥離している。
【0012】
このような定着工程を行う間に紙詰まりを生じたら。電子写真装置(図示せず)の駆動を停止した後、剥離爪20を加熱ローラ11から離間してジャム処理操作を行う。即ち電子写真装置の駆動停止後、上排紙ローラ28aを保持する回動アーム22を矢印u方向に回動すると、支持アーム23にクランク24の作用点24aが軸止されていることから、回動アーム22に軸止される支持アーム23は、回動アーム22及びクランク24によりその向きを規制されながら移動され、回動アーム22に対しては第2の支点23aを軸として矢印v方向に回動しながら、先ず図2に示すように矢印w方向に移動する。これにより剥離爪20の先端20aは加熱ローラ11から離間する。
【0013】
この後回動アーム22が更にu方向に回動すると、支持アーム23は、回動アーム22及びクランク24に規制され、回動アーム22に対して矢印v方向に回動しつつ矢印x方向に上昇して、図3に示すようにブラケット18に隣接する待避位置に移動される。この時剥離爪20の先端20aはクランク24の規制により、ブラケット18方向に向く。このような状態でオペレータは、定着ローラ近傍に手を差し入れジャム処理を行う。この間、剥離爪20の先端20aはオペレータの手や、シート紙Pとの干渉を生じる事が無く、安全且つスムースにジャム処理が行われる。
【0014】
ジャム処理終了後回動アーム22を矢印u方向と反対方向に回動し、上排紙ローラ28aが下排紙ローラ28bに当接する位置に戻す事により、剥離爪20は先端20aが加熱ローラ11に接する剥離位置に戻され、定着可能状態とされる。
【0015】
このように構成すれば、ジャム処理操作を行う際、ジャム処理操作領域開放のために第1のレバー22を回動すると、剥離爪20は、クランク24によりその向きを規制されながら待避位置であるブラケット18に隣接するジャム処理操作領域に干渉しない位置に移動される。これによりジャム処理操作領域を広く確保出来、ジャム処理時の操作性を向上出来る。しかも剥離爪20の先端20aはブラケット18方向を向いており、ジャム処理中に剥離爪20の先端20aが手に触れて怪我をするおそれが無く安全性も向上出来る。
【0016】
尚本発明は、上記実施の形態に限られるもので無く、その趣旨を変えない範囲での変更は可能であって、移動手段による剥離爪の移動方向等任意であり、例えば図4に示す第1の変形例のように、ジャム処理操作領域を開放するための回動アーム32の矢印y方向の回動の途中で、支持アーム32に取着される剥離爪33の先端33aをブラケット34の一部34aに摺接するよう、支持アーム32の移動をクランク36にて規制して、剥離爪33の先端33aのトナーや紙カス等の付着物37を除去するようにしても良い。このようにすれば、ジャム処理操作に伴う剥離爪33の移動時に剥離爪33の先端33aの付着物37を自動的に除去出来、別途剥離爪をクリーニングしなくても良好な剥離効果を保持できる。
【0017】
又、図5に示す第2の変形例のように、ブラケット38の一部に切欠き部38aを形成して、剥離爪40を待避位置に移動した時にその先端40aを切欠き部38aに収納するようにしても良い。このようにすれば、ジャム処理中、手やシート紙が剥離爪40の先端40aに触れるのをより確実に防止出来、一層の安全性及び操作性向上を図れる。
【0018】
【発明の効果】
以上説明したように本発明によれば、ジャム処理時に加熱ローラから離間した剥離爪をジャム処理操作領域に干渉しない待避位置に保持し、その先端をジャム処理操作領域に干渉しない方向に向ける事により、ジャム処理操作領域を広く確保し、ジャム処理操作中に剥離爪に触れて怪我をしたり、シート紙が剥離爪に引っ掛かり除去し難くなる惧れがなく、ジャム処理時の安全性及び操作性を向上出来る。
【図面の簡単な説明】
【図1】本発明の実施の形態の定着時における定着装置を示す構成図である。
【図2】本発明の実施の形態の剥離爪の移動途中における定着装置を示す構成図である。
【図3】本発明の実施の形態のジャム処理時における定着装置を示す構成図である。
【図4】本発明の第1の変形例の移動途中における剥離爪を示す説明図である。
【図5】本発明の第2の変形例のジャム処理時における剥離爪を示す構成図である。
【図6】第1の従来例のジャム処理時における定着装置を示す構成図である。
【図7】第2の従来例のジャム処理時における定着装置を示す構成図である。
【符号の説明】
10…定着装置
11…加熱ローラ
12…加圧ローラ
13…定着ローラ
14…上ケーシング
16…下ケーシング
17…剥離爪機構
18…ブラケット
20…剥離爪
21…クランク機構
22…回動アーム
23…支持アーム
24…クランク
30…搬送路

Claims (1)

  1. 加熱ローラ及び加圧ローラ間にトナー像を有する像支持体を挿通し前記トナー像を加熱加圧定着する一対の定着ローラと、
    前記トナー像の定着時にあってはブラケットに支持される剥離爪を先端が前記加熱ローラに接する剥離位置に保持し、ジャム処理時にあっては前記先端をジャム処理操作と干渉せず且つ前記加熱ローラとの間に前記ブラケットを介在してなる待避位置に保持し且つ前記先端を前記ブラケットの切欠き部に収納してなる剥離爪機構とを具備する事を特徴とする定着装置。
JP18879498A 1998-07-03 1998-07-03 定着装置 Expired - Fee Related JP4046858B2 (ja)

Priority Applications (1)

Application Number Priority Date Filing Date Title
JP18879498A JP4046858B2 (ja) 1998-07-03 1998-07-03 定着装置

Applications Claiming Priority (1)

Application Number Priority Date Filing Date Title
JP18879498A JP4046858B2 (ja) 1998-07-03 1998-07-03 定着装置

Publications (2)

Publication Number Publication Date
JP2000019885A JP2000019885A (ja) 2000-01-21
JP4046858B2 true JP4046858B2 (ja) 2008-02-13

Family

ID=16229924

Family Applications (1)

Application Number Title Priority Date Filing Date
JP18879498A Expired - Fee Related JP4046858B2 (ja) 1998-07-03 1998-07-03 定着装置

Country Status (1)

Country Link
JP (1) JP4046858B2 (ja)

Families Citing this family (8)

* Cited by examiner, † Cited by third party
Publication number Priority date Publication date Assignee Title
JP2006208420A (ja) 2005-01-25 2006-08-10 Kyocera Mita Corp 画像形成装置
JP4858123B2 (ja) * 2006-11-28 2012-01-18 富士ゼロックス株式会社 定着装置、及び画像形成装置
JP5130721B2 (ja) * 2007-01-18 2013-01-30 富士ゼロックス株式会社 記録媒体排出部開閉装置及び定着装置
JP5142582B2 (ja) * 2007-04-20 2013-02-13 キヤノン株式会社 画像加熱装置
CN102314140A (zh) * 2010-07-02 2012-01-11 株式会社东芝 具备可动剥离片的定影装置、图像形成装置及定影方法
JP5787055B2 (ja) * 2011-02-28 2015-09-30 セイコーエプソン株式会社 記録装置
WO2012118218A2 (en) 2011-02-28 2012-09-07 Seiko Epson Corporation Recording apparatus
JP6694155B2 (ja) * 2016-02-19 2020-05-13 株式会社リコー 冷却装置及び画像形成装置

Also Published As

Publication number Publication date
JP2000019885A (ja) 2000-01-21

Similar Documents

Publication Publication Date Title
US5045887A (en) Fixing device with a selectively movable cover
JP4046858B2 (ja) 定着装置
JPH02234179A (ja) 画像形成装置
JPS6255151B2 (ja)
JP3602370B2 (ja) 定着装置
JPH08185076A (ja) 画像形成装置
JPH09179427A (ja) 定着装置
JP3806556B2 (ja) 画像形成装置
JP3896235B2 (ja) 画像形成装置
JPH048443Y2 (ja)
JPS58196564A (ja) 定着装置
JP2567284Y2 (ja) ヒートロール定着装置の記録紙分離促進構造
JP3937720B2 (ja) 画像形成装置
JPS6030760Y2 (ja) 定着装置
JPH0229220B2 (ja) Teichakusochi
JP3136892B2 (ja) 定着装置
JPH02173686A (ja) 画像形成装置の定着装置
JPS6243318Y2 (ja)
JP7669831B2 (ja) 層転写装置
JPS6328430Y2 (ja)
JPH1020593A (ja) 画像形成装置
JPS60123877A (ja) 画像記録装置
JPH03270896A (ja) 穿孔機構を備えた装置
JPH09292747A (ja) 画像形成装置のジャム処理機構
JPH0477316B2 (ja)

Legal Events

Date Code Title Description
A621 Written request for application examination

Free format text: JAPANESE INTERMEDIATE CODE: A621

Effective date: 20050318

RD04 Notification of resignation of power of attorney

Free format text: JAPANESE INTERMEDIATE CODE: A7424

Effective date: 20050325

A711 Notification of change in applicant

Free format text: JAPANESE INTERMEDIATE CODE: A711

Effective date: 20050602

A521 Written amendment

Free format text: JAPANESE INTERMEDIATE CODE: A821

Effective date: 20050603

A977 Report on retrieval

Free format text: JAPANESE INTERMEDIATE CODE: A971007

Effective date: 20070525

A131 Notification of reasons for refusal

Free format text: JAPANESE INTERMEDIATE CODE: A131

Effective date: 20070529

A521 Written amendment

Free format text: JAPANESE INTERMEDIATE CODE: A523

Effective date: 20070717

A131 Notification of reasons for refusal

Free format text: JAPANESE INTERMEDIATE CODE: A131

Effective date: 20070828

A521 Written amendment

Free format text: JAPANESE INTERMEDIATE CODE: A523

Effective date: 20071022

TRDD Decision of grant or rejection written
A01 Written decision to grant a patent or to grant a registration (utility model)

Free format text: JAPANESE INTERMEDIATE CODE: A01

Effective date: 20071120

A61 First payment of annual fees (during grant procedure)

Free format text: JAPANESE INTERMEDIATE CODE: A61

Effective date: 20071121

FPAY Renewal fee payment (event date is renewal date of database)

Free format text: PAYMENT UNTIL: 20101130

Year of fee payment: 3

R150 Certificate of patent or registration of utility model

Free format text: JAPANESE INTERMEDIATE CODE: R150

FPAY Renewal fee payment (event date is renewal date of database)

Free format text: PAYMENT UNTIL: 20101130

Year of fee payment: 3

FPAY Renewal fee payment (event date is renewal date of database)

Free format text: PAYMENT UNTIL: 20111130

Year of fee payment: 4

FPAY Renewal fee payment (event date is renewal date of database)

Free format text: PAYMENT UNTIL: 20111130

Year of fee payment: 4

FPAY Renewal fee payment (event date is renewal date of database)

Free format text: PAYMENT UNTIL: 20121130

Year of fee payment: 5

FPAY Renewal fee payment (event date is renewal date of database)

Free format text: PAYMENT UNTIL: 20131130

Year of fee payment: 6

LAPS Cancellation because of no payment of annual fees