JP4040717B2 - 補強された遷移領域を有する雌側電気的接触端子 - Google Patents
補強された遷移領域を有する雌側電気的接触端子 Download PDFInfo
- Publication number
- JP4040717B2 JP4040717B2 JP14559697A JP14559697A JP4040717B2 JP 4040717 B2 JP4040717 B2 JP 4040717B2 JP 14559697 A JP14559697 A JP 14559697A JP 14559697 A JP14559697 A JP 14559697A JP 4040717 B2 JP4040717 B2 JP 4040717B2
- Authority
- JP
- Japan
- Prior art keywords
- terminal
- contact
- wall
- electrical contact
- contact terminal
- Prior art date
- Legal status (The legal status is an assumption and is not a legal conclusion. Google has not performed a legal analysis and makes no representation as to the accuracy of the status listed.)
- Expired - Lifetime
Links
Images
Classifications
-
- H—ELECTRICITY
- H01—ELECTRIC ELEMENTS
- H01R—ELECTRICALLY-CONDUCTIVE CONNECTIONS; STRUCTURAL ASSOCIATIONS OF A PLURALITY OF MUTUALLY-INSULATED ELECTRICAL CONNECTING ELEMENTS; COUPLING DEVICES; CURRENT COLLECTORS
- H01R13/00—Details of coupling devices of the kinds covered by groups H01R12/70 or H01R24/00 - H01R33/00
- H01R13/02—Contact members
- H01R13/10—Sockets for co-operation with pins or blades
- H01R13/11—Resilient sockets
- H01R13/113—Resilient sockets co-operating with pins or blades having a rectangular transverse section
-
- H—ELECTRICITY
- H01—ELECTRIC ELEMENTS
- H01R—ELECTRICALLY-CONDUCTIVE CONNECTIONS; STRUCTURAL ASSOCIATIONS OF A PLURALITY OF MUTUALLY-INSULATED ELECTRICAL CONNECTING ELEMENTS; COUPLING DEVICES; CURRENT COLLECTORS
- H01R43/00—Apparatus or processes specially adapted for manufacturing, assembling, maintaining, or repairing of line connectors or current collectors or for joining electric conductors
- H01R43/16—Apparatus or processes specially adapted for manufacturing, assembling, maintaining, or repairing of line connectors or current collectors or for joining electric conductors for manufacturing contact members, e.g. by punching and by bending
Landscapes
- Engineering & Computer Science (AREA)
- Manufacturing & Machinery (AREA)
- Coupling Device And Connection With Printed Circuit (AREA)
- Connections Effected By Soldering, Adhesion, Or Permanent Deformation (AREA)
- Connector Housings Or Holding Contact Members (AREA)
- Connections By Means Of Piercing Elements, Nuts, Or Screws (AREA)
- Cable Accessories (AREA)
- Manufacturing Of Electrical Connectors (AREA)
- Multi-Conductor Connections (AREA)
Description
【発明の属する技術分野】
この発明は、雄側コンタクトを受け入れることを目的とした、金属薄板を切断して形成されてなる一体形の雌側電気接触端子に関するものである。さらに詳細には、この発明は、端壁と、上部壁と、2つの側壁とを有するかご状に形成された前側本体を具備し、各側壁には、180゜折曲部分により該側壁に連結されかつその前部に接触ブレードを構成する片持ち梁状部分を有する内側タブが設けられている形式の端子に関するものである。
【0002】
【従来の技術および発明が解決しようとする課題】
上記において定義された形式の接触端子は既に知られており、これらは、金属薄板片の切断、折曲、成形あるいは圧延により、旋盤加工端子よりもずっと経済的に製造することができる。また、金属薄板を切断成形してなる現存するコンタクトは、多くの欠点を有している。接触ブレードが、初めから相互に押圧し合っていて、それらを引き離すために、高品質の電気的接続を保証するような高い接触圧力の達成に資する、大きな力を必要としている場合には、挿入力が大きくて挿入しづらいという不都合がある。この第1の欠点は、同一コネクタ内に多数の接触端子が設けられる場合には重大なものである。他方、接触ブレードが初めから離れている場合には、各接触ブレードにより印加される圧力は、一定の場合には、良好な電気的接続を確保するには不十分なものとなる。
【0003】
この技術的問題点の1つの解決策は、仏国特許出願公開第2621180号公報に開示されている。この公報には、十分に満足のいく電気的接続を保証すると同時に、導入される際に雄側コンタクトを案内する雌側接触端子を開示している。したがって、各側壁は、その前方に、曲げにより予圧された接触ブレードを他の接触ブレードと接触しない位置に保持する、内側まで折られたフラップを有している。
【0004】
現在では、折曲成形された金属薄板よりなる多くの接触端子は、さらに、製造時に、または、ハーネス製造業者のところで取り扱われるときに、押しつぶされてしまう危険性がある。これは、特に、かご形の雌側電気接触端子であるが、米国特許第4453799号明細書または欧州特許出願公開第0697752号公報に開示されているような一重の壁を有する場合、または、例えば、仏国特許出願公開第2627020号公報に開示されているように、予圧されずかつかごの剛性に貢献しない接触ブレードを有する他のものの場合である。
【0005】
一重壁または二重壁の電気的端子は、さらに、あらゆる引き抜き作用または製造時の金属板のせん断作用にも耐えなければならない。したがって、これらの金属薄板に実施される切り抜き、成形および曲げ処理のために、切断線の交差部分は、壁またはそれに平行に印加される機械的な横スラストによってせん断または破断することがある。
【0006】
この不都合は、特に、電線と結合される後側部分とかご状に形成された前側部分との間の遷移領域のように薄くされた領域、または、これらの端子を受け入れるコネクタのプラスチック製ハウジング内に端子を固定するために設けられたかご状部分の開口部において顕著である。
【0007】
最後に、かご状部分の内側寸法よりも大きな寸法の雄側コンタクトが強制的に挿入される場合の不都合について言及する必要がある。この場合に、コンタクトは、接触ブレードに、該接触ブレードを形成している金属の弾性変形の限界圧力よりも大きな圧力をかけ、その結果、その後塑性変形限界に達した場合にはブレードを劣化させてしまうことになる。
【0008】
これらの欠点は、経済的要求のために、品質を損なうことなくコストを低減するための解決策を求める製造業者が、単一の導電性金属板を形成する金属片の厚さを減じようとする場合には、特に重要になる。
【0009】
【課題を解決するための手段】
この発明は、単一の導電性金属板よりなり、かしめられることにより電線に接続され得る後側部分と、遷移領域と、端壁と2つの側壁と2つの上部半壁とを具備するかご状の前側部分とを有し、前記側壁に、雄側コンタクトの挿入の際に該雄側コンタクトを案内する案内手段と、このかご状部分を接続ハウジング内に固定する固定手段とが設けられ、前記かご状部分の側壁が前記遷移領域に近接する部分において2つの直角アングル状の枝部により延長されている、雌側電気的接触端子を提供することを目的としている。
【0010】
この発明に係る雌側電気的接触端子は、前記直角アングル状の枝部が前記側壁とともに、第2のロック部材を通過させ得る開口部を画定しているものであると理解することもできる。
好ましい実施形態では、直角アングル状部分は、それらの間にかしめられるべき電線の端部が配置される通路を画定している。
【0011】
【発明の実施の形態】
この発明は、限定のない例により与えられたこの発明の特定の実施形態に随伴する説明を読むことによって、より明確に理解できるであろう。説明は、それに付随する図面を参照している。
図1は、この発明に係る雌側電気的接触端子を示す斜視図である。
図2は、この発明の端子を形成するために折られる金属板を示す正面図である。
図3は、かご状部分を形成する前側部分の縦断面図である。
図4は、絶縁体内に位置決めされた端子の部分的な断面を示している。
図5は、図1の端子を部分的に除去した状態で示す斜視図である。
図6は、図1の端子の他の詳細部分を示す斜視図である。
図7は、従来の端子形成するために折られる金属板を示す正面図である。
【0012】
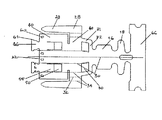
図2に示される種類の金属板から製造され、図1、図3および図6にその最終的な構造が示されている端子は、大まかな構造において一般的なコネクタハウジング内に挿入される。端子10は、単一片よりなり、雄側コンタクト12が受け入れられる前側本体11と、かしめられる後側部分または軸部14とを有するものと考えてよい。これらの2つの部分は、遷移領域15により分けられている。前記軸部14は、2組のタブ16,18を有し、これらのタブ16,18は、電線20の芯線および被覆上にそれぞれかしめられるようになっている。
【0013】
端子10の本体は、端壁22と2つの側壁24とを有するかご状に形成されている。各側壁24は二重になっている。該側壁24は、外壁26と内側タブ28とを有している。各外壁26は、元の金属板を、図2に鎖線で示された線30の内の1つに沿って90゜折ることにより形成される。内側タブ28は、図2に符号32で示された縁に沿う180゜折曲部分により外壁26につながっている。これら外壁26および内側タブ28は、一緒に、図2に符号34で示された線に沿って直角に折り曲げられる。
【0014】
図2に見られるように、各内側タブ28はその後側部分においてのみ、対応する外壁26に連結している。したがって、各内側タブ28の前側部分は、雄側コンタクト12が挿入されるときに、該雄側コンタクト12の表面上に圧接される弾性支持接触ブレード29を形成する。
【0015】
図示しない他の実施形態において、各接触ブレード29は、より均一な支持を可能にするために、その自由端から始まってその長さの全体にわたるスリットにより分割されていてもよい。しかしながら、この分割は必ずしも必要ではない。コンタクトの一方(または両方とも)にスリットがなくてもよい。逆に、各接触ブレードに1つ以上のスリットを設けることも可能である。
【0016】
外壁26と内側タブ28との間の180゜折曲部分に近い壁部は、かご状部分の天井の半分を形成している。図示された実施形態では、相互に当接状態に支持し合いかつ接触ブレード29の片持ち梁状の領域において連続的な天井を形成するタブ40が、元の金属板を切断する際に残される。これにより、端子が一まとめに束にされまたは束が解かれたときに、相互に引っかかる不都合が低減され、接触ブレードが確実に完全に保護されることになる。
【0017】
各接触ブレード29は、図3、図4に示された種類の形状を有している点に利点がある。電気的コンタクトを形成している片持ち梁状の部分は、前記内側タブ28の全長の約半分以上の部分を占めており、内側に曲がるように形成されている。加えて、各接触ブレード29は、その自由端の直近に、他の接触ブレードに対面する厚く形成された湾曲部分27を有している。接触ブレード29を曲げることにより、2つのブレードを相互に近接する方向に移動させようとする弾性力は、後方に向かって折られた対応する外壁26のフラップ46によって吸収される。したがって、雄側コンタクトが挿入されるときに該雄側コンタクトを案内することができるこのフラップ46は、曲げにより予圧された接触ブレード29を、それが連結されている外壁26に近接した位置、すなわち、対向する他の接触ブレード29とは接触しない位置に維持する。図1には、フラップの折曲部分が、かご状部分の側壁の端子の縁の前方に配され、コネクタハウジング(図示略)の絶縁体51内への端子の導入を容易にしかつこの絶縁体を傷つける危険性を低減するように丸い形状を有していることが示されている。導入の際における危険性をさらに低減するために、端壁および天井部分の縁が柔らかくされていてもよい。
【0018】
外壁26には、現在使用されている任意の構造を有する梁状のロック指52により、絶縁体51内において端子を固定することを可能とする開口部50が形成されている。図4に示された実施形態では、この指部は、絶縁体の成形の際に形成された細長い梁よりなっており、絶縁体の空洞の内側に向かい、開口部50に係合することができる突起53を有している。この梁状のロック指52が突起53の前方に延びていることにより、(梁状のロック指52を据え付けることができる隙間を有する環状のリップにより画定された)絶縁体の前方通路54を通してチューブを押し入れることによって端子をアンロックすることができる。このチューブは端子の側部と梁との間にスライドさせられる。2つの開口部50が対称的に配置されているので、端子は、絶縁体の空洞内における2つの対称的な位置関係の一方または他方に配され得る。
【0019】
図2から図4に見られるように、開口部50は、その側縁の一側に、製造時に折曲部分55を形成するように金属片を変形することができる壁部を有している。この折曲部分55は、端子を絶縁体の空洞内に固定することを可能とする突起53の上部支持面57に当接状態に支持される下部支持面56を有する肩部を画定している。
【0020】
この折曲部分55の端部は内側に向いており、前記ブレードが弾性限界を超える危険性を回避するように、接触ブレード29の外面に対して作用するストッパを形成していることを特筆しておく。
【0021】
したがって、フラップ46が曲げにより予圧された接触ブレード29を保持する、上述した構造と組み合わせたこの構造は、雄側コンタクトへのブレードの接触圧力を継続的に、すなわち、端子の寿命までの間の雄側コンタクトの挿入のたびに調節することができる。
【0022】
このような構造の利点は、2つの変形部分、すなわち、フラップ46および折曲部分55によって、フラップ46により保持されかつ雄側コンタクトが挿入されていない場合のいわゆる受容位置と、雄側コンタクトの導入により発生した力によってブレードの外側への最大移動が制限される場合のいわゆる使用位置との間に、接触ブレード29の動作を制限する隙間空間が画定されることである。
【0023】
図3の(a)および(b)に見られるように、2つの外壁26の折曲部分55は、一方では雄側コンタクト12と接触ブレード29との間、他方では接触ブレード29と折曲部分55との間の接触点が、雌側端子の寸法に適合しない雄側端子を導入できなくする間隔を画定するように、同一平面内に集まっている。
【0024】
図4に示されるように、折曲部分55は2つの方向を有している。第1の折曲操作は、予め切断された帯板の部分を端子の中心に向かうように折り曲げ、その後、第2の操作は、その帯板の同一部分を端子の外側に向かうように180゜折り曲げる。それによって、折曲部分55により形成される肩部の機械的健全性が強化される。さらに、折曲部分55の下部支持面56が、突起53の上部支持面57に支持されるための広い面積を有しており、帯板の厚さの削減にもかかわらず金属板のせん断のいかなる危険性をも回避することができることは注目すべきである。この下面56は、これらの面に印加される力ができるだけ均一になりかつ片持ちとならないように、実質的に上部支持面57より面積が大きい。
【0025】
相補的な下部および上部支持面56,57のそれぞれの面は、端子の長手軸に直交する面に対して角度αをなしており、それらのそれぞれの逆勾配が、端子と絶縁体との間の自己係合作用を生成するようになっている。例によれば、上部支持面57の角度αの値は、1゜〜45゜の間にあり、好ましくは、15゜の値を有している。
【0026】
図7を参照すると、従来技術の電気的端子の壁に形成されている開口部50aは、明らかに折曲部分55を含んでいるけれども、これらの壁は一重の壁であることを一言しておく。
【0027】
図5の(a)および(b)は、端子10を補強するための構造を示している。すなわち、金属板の厚さの削減を補償する目的で、フラップ46は、該フラップ46の側縁が端子の端壁および上壁の内側面に支持されることとなるように、折られた状態の端子の壁により画定される内側の幅と概略等しい幅Lを有している。さらに、これらの壁には、フラップ46の側縁の端部に形成されたほぞ61を係合する開口部60が設けられている。
【0028】
したがって、フラップ46がこのようにして完全に固定されることに加えて、端子10を形成するかご状部分のこの補強は、このかご状部分の壁に筋交いを入れることができ、いかなる偶発的な破壊をも回避することができる。
フラップ46は、該フラップ46の側縁の内の一方または他方に設けられた単一のほぞ61によりかご状部分の内側に固定されてもよい。
【0029】
図6の(a)および(b)は、端子の機械的剛性を全体的に向上するのに好適な他の構造を示している。
実際に、端子10の前側本体11とかしめられる軸部14との間には、端子を絶縁体内への装備に害となる変形を受けまたは取付不良となる、いわゆる遷移領域15がある。
【0030】
これらの図において、この遷移領域はより小さい大きさのものとして示されている。これは、前側本体11の壁26が、前記端壁22および壁26とともに開口部70を画定する2つの直角アングル状に形成された枝部71,72により延長されているためであり、それによって、この部分的に切り取られた領域を一緒に補強する4つの側面を構成している。開口部70は、端子をコネクタハウジング内にロックするための任意の第2の横ロック部材の導入を可能としていることを一言しておく。同様に、壁26にそれぞれ配列された2つの直角アングル状部分の間に、要求された寸法を少し超えた、かしめられるべき任意の電線の端部を配置することができる空間73が設けられ、それによって、端子の絶縁体内における正確な位置決めのために要求される基準値を超えて、端子が電線により押されることが防止されることを一言しておく。
【0031】
ここで、この発明に係る端子の製造のための可能なプロセスについて手短に説明する。このプロセスは、電線に自動的にかしめる機械に供給するためのテープの形態で端子を得ることを可能としている。
【0032】
この発明の端子の場合には、自動車産業のためのものであり、厚さ0.29mmの銅合金の帯板の切断および成形(折曲)により製造される。第1の作業工程では、帯板が、図2に示された種類の連続した金属板を生成するように切断され、これらは連結ストリップ66により一体に連結されている。図2に鎖線で示された折り線は、プレス加工において印されてもよい。接触ブレード29は、曲げおよび打撃により形作られ、フラップ46が形成される。図4に示されるように、フラップおよび接触ブレード29の自由端部分の両方に、雄側コンタクトの導入をより容易にする斜面、例えば、約15゜の斜面を設けることが有利である。
【0033】
内側タブおよび外壁との間の180゜折曲部分および側壁に属する内側タブの部分と天井に属する内側タブの部分とを画する内側への90゜折曲部分が形成され、同時に、ほぞ61を開口部60に貫通させ、形成された壁をフラップ46の縁に接触させる。
【0034】
この発明は、例によって示されかつ説明された特定の実施形態に限定されるものではない。この発明に対しては、多くの変形が可能である。例えば、面が必ずしも平行ではないが、傾斜している端子を形成することも可能である。また、特定のシーリング例(sealing embodiment)に必要とされる、角ばった雄側ブレードの通過を許容する、シーリングタブ(sealing tab)を受け入れるための溝が、コンタクトの天井の前部に形成されていてもよい。この特許出願の範囲は、そのような変形例のみならず、さらに一般的に、等価の文脈の範囲内にある任意の他の変形例にまで広がっているものである。
【図面の簡単な説明】
【図1】 この発明に係る雌側電気的接触端子を示す斜視図である。
【図2】 この発明の端子を形成するために折られる金属板を示す正面図である。
【図3】 かご状部分を形成する前側部分の縦断面図である。
【図4】 絶縁体内に位置決めされた端子の部分的な断面図である。
【図5】 図1の端子を部分的に除去した状態で示す斜視図である。
【図6】 図1の端子の他の詳細部分を示す斜視図である。
【図7】 従来の端子形成するために折られる金属板を示す正面図である。
【符号の説明】
10 前側部分
14 後側部分
22 端壁
26 側壁
70 開口部
71,72 枝部
73 空間(通路)
Claims (3)
- 単一の導電性金属薄板から得られる雌側電気的接触端子であって、
かしめられることにより電線に接続され得る後側部分(14)と、
端壁(22)と2つの半壁面と2つの側壁(26)とからなるかご状に形成された前側部分(10)と、
前記前側部分(10)と前記後側部分(14)との間に設けられた遷移領域(15)とを具備し、
前記側壁(26)に、雄側コンタクトの挿入の間に該雄側コンタクトを案内する案内手段と、このかご状部分をコネクタハウジング内に固定する第1の固定手段(50)とが設けられた雌側電気的接触端子において、
前記かご状部分の側壁(26)が、前記遷移領域に近接する部分において、第2の手段として2本の直角アングル状の枝部(71,72)により延長されていることを特徴とする雌側電気的接触端子。 - 前記直角アングル状の枝部(71,72)が、前記側壁(26)とともに、第2のロック部材を通過させ得る開口部(70)を画定していることを特徴とする請求項1記載の雌側電気的接触端子。
- 前記直角アングル状部分が、それらの間に、かしめられるべき電線の端部が配置される通路(73)を画定していることを特徴とする請求項1記載の雌側電気的接触端子。
Applications Claiming Priority (2)
| Application Number | Priority Date | Filing Date | Title |
|---|---|---|---|
| FR9606788 | 1996-06-03 | ||
| FR9606788A FR2749443B1 (fr) | 1996-06-03 | 1996-06-03 | Borne de contact electrique femelle a zone de transition renforcee |
Publications (2)
| Publication Number | Publication Date |
|---|---|
| JPH1055841A JPH1055841A (ja) | 1998-02-24 |
| JP4040717B2 true JP4040717B2 (ja) | 2008-01-30 |
Family
ID=9492639
Family Applications (1)
| Application Number | Title | Priority Date | Filing Date |
|---|---|---|---|
| JP14559697A Expired - Lifetime JP4040717B2 (ja) | 1996-06-03 | 1997-06-03 | 補強された遷移領域を有する雌側電気的接触端子 |
Country Status (10)
| Country | Link |
|---|---|
| US (1) | US5989078A (ja) |
| EP (1) | EP0812034B1 (ja) |
| JP (1) | JP4040717B2 (ja) |
| KR (1) | KR100498793B1 (ja) |
| AT (1) | ATE212753T1 (ja) |
| BR (1) | BR9703431B1 (ja) |
| CA (1) | CA2204293C (ja) |
| DE (1) | DE69710123T2 (ja) |
| ES (1) | ES2170298T3 (ja) |
| FR (1) | FR2749443B1 (ja) |
Families Citing this family (29)
| Publication number | Priority date | Publication date | Assignee | Title |
|---|---|---|---|---|
| DE19826828C2 (de) * | 1998-06-16 | 2000-06-08 | Tyco Electronics Logistics Ag | Einstückige Kontaktfeder |
| DE19828984A1 (de) * | 1998-06-29 | 1999-12-30 | Whitaker Corp | Zweiteiliger elektrischer Buchsenkontakt |
| EP1037320B1 (en) * | 1999-03-16 | 2005-11-02 | Sumitomo Wiring Systems, Ltd. | Connector component |
| EP1122827A3 (en) * | 2000-01-31 | 2002-05-29 | Tyco Electronics AMP GmbH | Contact socket |
| JP3611109B2 (ja) * | 2001-01-05 | 2005-01-19 | 住友電装株式会社 | シールド端子の組付方法 |
| GB0115287D0 (en) * | 2001-06-22 | 2001-08-15 | Delphi Tech Inc | Female electrical terminal |
| FR2826786B1 (fr) * | 2001-06-29 | 2004-03-05 | Framatome Connectors Int | Contact electrique femelle |
| FR2840736B1 (fr) | 2002-06-11 | 2004-08-27 | Framatome Connectors Int | Borne de contact electrique femelle d'une seule piece ayant une partie de transition renforcee |
| DE10248809A1 (de) * | 2002-10-19 | 2004-04-29 | Robert Bosch Gmbh | Elektrischer Steckverbinder in der Ausgestaltung eines Buchsenkontakts mit spezieller Lamellengestaltung |
| US6811450B1 (en) * | 2003-05-27 | 2004-11-02 | Molex Incorporated | Electrical receptacle-type terminal |
| US6790101B1 (en) * | 2003-07-15 | 2004-09-14 | Molex Incorporated | Female terminal with sacrificial arc discharge contacts |
| US7261604B2 (en) * | 2003-12-22 | 2007-08-28 | Delphi Technologies, Inc. | Electrical terminal element |
| JP4381872B2 (ja) * | 2004-04-09 | 2009-12-09 | 矢崎総業株式会社 | 電線圧着方法 |
| EP1788921B1 (en) | 2004-09-14 | 2016-09-14 | LG Electronics Inc. | Dish washer |
| JP2006216313A (ja) * | 2005-02-02 | 2006-08-17 | Sumitomo Wiring Syst Ltd | 端子金具 |
| CN101111916B (zh) * | 2005-05-18 | 2010-12-22 | 法国欧陆汽车公司 | 用于插入电子部件如熔断器或者继电器的公插头连接器的电连接器件 |
| US7402089B1 (en) * | 2007-05-04 | 2008-07-22 | Tyco Electronics Corporation | Contact with enhanced transition region |
| JP5431038B2 (ja) * | 2009-06-17 | 2014-03-05 | モレックス インコーポレイテド | 端子及びそれを有するコネクタ |
| KR200473183Y1 (ko) * | 2009-11-27 | 2014-06-27 | 한국단자공업 주식회사 | 터미널 |
| CN102088136A (zh) * | 2009-12-03 | 2011-06-08 | 泰科电子(上海)有限公司 | 电连接端子 |
| JP6356974B2 (ja) * | 2014-02-03 | 2018-07-11 | モレックス エルエルシー | 金属端子 |
| JP6445270B2 (ja) * | 2014-07-17 | 2018-12-26 | 矢崎総業株式会社 | 端子 |
| JP6405235B2 (ja) * | 2014-12-29 | 2018-10-17 | モレックス エルエルシー | 雌型電気端子、及びコネクタ |
| JP6183665B2 (ja) * | 2015-08-05 | 2017-08-23 | 住友電装株式会社 | 端子 |
| TWD180905S (zh) * | 2016-08-19 | 2017-01-21 | 唐虞企業股份有限公司 | 端子 |
| JP6776098B2 (ja) * | 2016-11-14 | 2020-10-28 | 日本航空電子工業株式会社 | コネクタ端子および電気コネクタ |
| DE102017100021B4 (de) * | 2017-01-02 | 2020-07-30 | Te Connectivity Germany Gmbh | Buchsenkontakt und Kontaktsystem |
| JP6812923B2 (ja) * | 2017-07-27 | 2021-01-13 | 住友電装株式会社 | 端子金具 |
| DE102025003304A1 (de) | 2024-10-02 | 2026-04-02 | Hirschmann Automotive Gmbh | Einteiliger mittels eines Faltvorgangs hergestellter Kontakt für einen Steckverbinder |
Family Cites Families (7)
| Publication number | Priority date | Publication date | Assignee | Title |
|---|---|---|---|---|
| FR2621180B1 (fr) * | 1987-09-28 | 1990-01-12 | Francelco Sa | Borne de contact electrique de type cage |
| FR2627020B1 (fr) * | 1988-02-08 | 1994-05-27 | Amp France | Contact electrique destine a recevoir une patte complementaire de connexion |
| US4900271A (en) * | 1989-02-24 | 1990-02-13 | Molex Incorporated | Electrical connector for fuel injector and terminals therefor |
| JPH0597065U (ja) * | 1992-06-05 | 1993-12-27 | 日本エー・エム・ピー株式会社 | 電気コンタクト及びそれを使用する電気コネクタ |
| GB9411809D0 (en) * | 1994-06-13 | 1994-08-03 | Amp Gmbh | Electrical receptacle terminal |
| JP2734994B2 (ja) * | 1994-07-20 | 1998-04-02 | 住友電装株式会社 | 雄型端子金具 |
| FR2749440B1 (fr) * | 1996-06-03 | 1998-10-30 | Framatome Connectors Int | Borne de contact electrique femelle de type a cage renforcee |
-
1996
- 1996-06-03 FR FR9606788A patent/FR2749443B1/fr not_active Expired - Fee Related
-
1997
- 1997-05-02 CA CA002204293A patent/CA2204293C/en not_active Expired - Fee Related
- 1997-05-27 US US08/863,333 patent/US5989078A/en not_active Expired - Lifetime
- 1997-06-02 DE DE69710123T patent/DE69710123T2/de not_active Expired - Lifetime
- 1997-06-02 KR KR1019970023299A patent/KR100498793B1/ko not_active Expired - Lifetime
- 1997-06-02 AT AT97108769T patent/ATE212753T1/de not_active IP Right Cessation
- 1997-06-02 ES ES97108769T patent/ES2170298T3/es not_active Expired - Lifetime
- 1997-06-02 EP EP97108769A patent/EP0812034B1/fr not_active Expired - Lifetime
- 1997-06-03 JP JP14559697A patent/JP4040717B2/ja not_active Expired - Lifetime
- 1997-06-03 BR BRPI9703431-2A patent/BR9703431B1/pt not_active IP Right Cessation
Also Published As
| Publication number | Publication date |
|---|---|
| FR2749443B1 (fr) | 1998-08-21 |
| ES2170298T3 (es) | 2002-08-01 |
| DE69710123D1 (de) | 2002-03-14 |
| BR9703431B1 (pt) | 2011-11-01 |
| CA2204293A1 (en) | 1997-12-03 |
| KR980006631A (ko) | 1998-03-30 |
| DE69710123T2 (de) | 2002-08-29 |
| BR9703431A (pt) | 1998-07-07 |
| JPH1055841A (ja) | 1998-02-24 |
| KR100498793B1 (ko) | 2005-09-14 |
| CA2204293C (en) | 2005-02-08 |
| US5989078A (en) | 1999-11-23 |
| FR2749443A1 (fr) | 1997-12-05 |
| EP0812034A1 (fr) | 1997-12-10 |
| ATE212753T1 (de) | 2002-02-15 |
| EP0812034B1 (fr) | 2002-01-30 |
Similar Documents
| Publication | Publication Date | Title |
|---|---|---|
| JP4040717B2 (ja) | 補強された遷移領域を有する雌側電気的接触端子 | |
| JP4040716B2 (ja) | 補強構造を有する雌側電気的接触端子 | |
| JP2008124043A (ja) | 接触圧力を調節した雌側電気的接触端子 | |
| JP3724610B2 (ja) | 端子金具のカバー | |
| JP2675698B2 (ja) | 電気接触端子 | |
| US20020123275A1 (en) | Electrical terminal socket assembly including 90 angled and sealed connectors | |
| JP4440160B2 (ja) | コネクタ | |
| JPH10125380A (ja) | 強化かご形雌側電気的接触端子 | |
| JP3282717B2 (ja) | 圧接コネクタ | |
| JP2004531044A (ja) | 雌型電気接触子 | |
| WO2021241294A1 (ja) | 端子、および端子付き電線 | |
| JP3225862B2 (ja) | 端子金具 | |
| JP2001250597A (ja) | 圧接コネクタ | |
| JP3054722B2 (ja) | 圧接コネクタの電線組付方法 | |
| JP3082613B2 (ja) | 雌端子金具 | |
| US11411363B2 (en) | Method for manufacturing an electrical contact | |
| US20020197904A1 (en) | Press-contacting terminal for a flat cable | |
| JP3449157B2 (ja) | 圧接コネクタ | |
| JP2001307788A (ja) | 圧接端子金具 | |
| EP1168503B1 (en) | An insulation-displacement terminal fitting and production method therefor | |
| JP5077697B2 (ja) | 端子金具付き電線及び端子金具 | |
| JPH10162875A (ja) | 端子金具 | |
| JPH08306401A (ja) | 圧接コネクタ | |
| JP2002134179A (ja) | 圧接端子 | |
| JP2000277187A (ja) | 圧接端子 |
Legal Events
| Date | Code | Title | Description |
|---|---|---|---|
| A621 | Written request for application examination |
Free format text: JAPANESE INTERMEDIATE CODE: A621 Effective date: 20040527 |
|
| A131 | Notification of reasons for refusal |
Free format text: JAPANESE INTERMEDIATE CODE: A131 Effective date: 20070227 |
|
| A601 | Written request for extension of time |
Free format text: JAPANESE INTERMEDIATE CODE: A601 Effective date: 20070523 |
|
| A602 | Written permission of extension of time |
Free format text: JAPANESE INTERMEDIATE CODE: A602 Effective date: 20070528 |
|
| A521 | Request for written amendment filed |
Free format text: JAPANESE INTERMEDIATE CODE: A523 Effective date: 20070821 |
|
| TRDD | Decision of grant or rejection written | ||
| A01 | Written decision to grant a patent or to grant a registration (utility model) |
Free format text: JAPANESE INTERMEDIATE CODE: A01 Effective date: 20071009 |
|
| A61 | First payment of annual fees (during grant procedure) |
Free format text: JAPANESE INTERMEDIATE CODE: A61 Effective date: 20071108 |
|
| FPAY | Renewal fee payment (event date is renewal date of database) |
Free format text: PAYMENT UNTIL: 20101116 Year of fee payment: 3 |
|
| R150 | Certificate of patent or registration of utility model |
Free format text: JAPANESE INTERMEDIATE CODE: R150 |
|
| FPAY | Renewal fee payment (event date is renewal date of database) |
Free format text: PAYMENT UNTIL: 20101116 Year of fee payment: 3 |
|
| FPAY | Renewal fee payment (event date is renewal date of database) |
Free format text: PAYMENT UNTIL: 20111116 Year of fee payment: 4 |
|
| FPAY | Renewal fee payment (event date is renewal date of database) |
Free format text: PAYMENT UNTIL: 20111116 Year of fee payment: 4 |
|
| S531 | Written request for registration of change of domicile |
Free format text: JAPANESE INTERMEDIATE CODE: R313531 |
|
| FPAY | Renewal fee payment (event date is renewal date of database) |
Free format text: PAYMENT UNTIL: 20111116 Year of fee payment: 4 |
|
| R350 | Written notification of registration of transfer |
Free format text: JAPANESE INTERMEDIATE CODE: R350 |
|
| FPAY | Renewal fee payment (event date is renewal date of database) |
Free format text: PAYMENT UNTIL: 20111116 Year of fee payment: 4 |
|
| FPAY | Renewal fee payment (event date is renewal date of database) |
Free format text: PAYMENT UNTIL: 20121116 Year of fee payment: 5 |
|
| FPAY | Renewal fee payment (event date is renewal date of database) |
Free format text: PAYMENT UNTIL: 20131116 Year of fee payment: 6 |
|
| S111 | Request for change of ownership or part of ownership |
Free format text: JAPANESE INTERMEDIATE CODE: R313113 |
|
| R350 | Written notification of registration of transfer |
Free format text: JAPANESE INTERMEDIATE CODE: R350 |
|
| R250 | Receipt of annual fees |
Free format text: JAPANESE INTERMEDIATE CODE: R250 |
|
| R250 | Receipt of annual fees |
Free format text: JAPANESE INTERMEDIATE CODE: R250 |
|
| R250 | Receipt of annual fees |
Free format text: JAPANESE INTERMEDIATE CODE: R250 |
|
| S111 | Request for change of ownership or part of ownership |
Free format text: JAPANESE INTERMEDIATE CODE: R313113 |
|
| S531 | Written request for registration of change of domicile |
Free format text: JAPANESE INTERMEDIATE CODE: R313531 |
|
| S533 | Written request for registration of change of name |
Free format text: JAPANESE INTERMEDIATE CODE: R313533 |
|
| R350 | Written notification of registration of transfer |
Free format text: JAPANESE INTERMEDIATE CODE: R350 |
|
| EXPY | Cancellation because of completion of term |