JP4035239B2 - 耐震性を付与された柱状構造物 - Google Patents
耐震性を付与された柱状構造物 Download PDFInfo
- Publication number
- JP4035239B2 JP4035239B2 JP29941998A JP29941998A JP4035239B2 JP 4035239 B2 JP4035239 B2 JP 4035239B2 JP 29941998 A JP29941998 A JP 29941998A JP 29941998 A JP29941998 A JP 29941998A JP 4035239 B2 JP4035239 B2 JP 4035239B2
- Authority
- JP
- Japan
- Prior art keywords
- plate
- columnar
- damping
- flat plate
- columnar structure
- Prior art date
- Legal status (The legal status is an assumption and is not a legal conclusion. Google has not performed a legal analysis and makes no representation as to the accuracy of the status listed.)
- Expired - Lifetime
Links
- 238000013016 damping Methods 0.000 claims description 43
- 239000000463 material Substances 0.000 claims description 25
- 239000003190 viscoelastic substance Substances 0.000 claims description 6
- 239000011345 viscous material Substances 0.000 claims description 3
- 239000007787 solid Substances 0.000 claims description 2
- 229920001971 elastomer Polymers 0.000 description 25
- 239000005060 rubber Substances 0.000 description 25
- 238000006073 displacement reaction Methods 0.000 description 12
- 239000011229 interlayer Substances 0.000 description 10
- 238000009434 installation Methods 0.000 description 6
- 239000010410 layer Substances 0.000 description 6
- 238000002955 isolation Methods 0.000 description 5
- 239000000203 mixture Substances 0.000 description 4
- 244000043261 Hevea brasiliensis Species 0.000 description 3
- 229910000831 Steel Inorganic materials 0.000 description 3
- 238000005452 bending Methods 0.000 description 3
- 229920005549 butyl rubber Polymers 0.000 description 3
- 238000010276 construction Methods 0.000 description 3
- 238000010586 diagram Methods 0.000 description 3
- 230000000694 effects Effects 0.000 description 3
- 229920003052 natural elastomer Polymers 0.000 description 3
- 229920001194 natural rubber Polymers 0.000 description 3
- 239000010959 steel Substances 0.000 description 3
- -1 a. Normally Substances 0.000 description 2
- 229920000459 Nitrile rubber Polymers 0.000 description 2
- 239000005062 Polybutadiene Substances 0.000 description 2
- VYPSYNLAJGMNEJ-UHFFFAOYSA-N Silicium dioxide Chemical compound O=[Si]=O VYPSYNLAJGMNEJ-UHFFFAOYSA-N 0.000 description 2
- PPBRXRYQALVLMV-UHFFFAOYSA-N Styrene Chemical compound C=CC1=CC=CC=C1 PPBRXRYQALVLMV-UHFFFAOYSA-N 0.000 description 2
- 230000001747 exhibiting effect Effects 0.000 description 2
- 229920003049 isoprene rubber Polymers 0.000 description 2
- 239000011347 resin Substances 0.000 description 2
- 229920005989 resin Polymers 0.000 description 2
- 125000006850 spacer group Chemical group 0.000 description 2
- KPAPHODVWOVUJL-UHFFFAOYSA-N 1-benzofuran;1h-indene Chemical compound C1=CC=C2CC=CC2=C1.C1=CC=C2OC=CC2=C1 KPAPHODVWOVUJL-UHFFFAOYSA-N 0.000 description 1
- 239000004925 Acrylic resin Substances 0.000 description 1
- 229920000178 Acrylic resin Polymers 0.000 description 1
- 229920000049 Carbon (fiber) Polymers 0.000 description 1
- 239000000654 additive Substances 0.000 description 1
- 230000000996 additive effect Effects 0.000 description 1
- 239000006229 carbon black Substances 0.000 description 1
- 239000004917 carbon fiber Substances 0.000 description 1
- 238000001125 extrusion Methods 0.000 description 1
- 239000000945 filler Substances 0.000 description 1
- 229920005555 halobutyl Polymers 0.000 description 1
- 239000011346 highly viscous material Substances 0.000 description 1
- 238000003780 insertion Methods 0.000 description 1
- 230000037431 insertion Effects 0.000 description 1
- VNWKTOKETHGBQD-UHFFFAOYSA-N methane Chemical compound C VNWKTOKETHGBQD-UHFFFAOYSA-N 0.000 description 1
- 229920002857 polybutadiene Polymers 0.000 description 1
- 229920000098 polyolefin Polymers 0.000 description 1
- 229920001296 polysiloxane Polymers 0.000 description 1
- 239000011150 reinforced concrete Substances 0.000 description 1
- 230000002787 reinforcement Effects 0.000 description 1
- 238000009418 renovation Methods 0.000 description 1
- 238000010008 shearing Methods 0.000 description 1
- 239000000377 silicon dioxide Substances 0.000 description 1
- 229920003048 styrene butadiene rubber Polymers 0.000 description 1
- 238000004804 winding Methods 0.000 description 1
Images
Classifications
-
- E—FIXED CONSTRUCTIONS
- E01—CONSTRUCTION OF ROADS, RAILWAYS, OR BRIDGES
- E01D—CONSTRUCTION OF BRIDGES, ELEVATED ROADWAYS OR VIADUCTS; ASSEMBLY OF BRIDGES
- E01D19/00—Structural or constructional details of bridges
- E01D19/02—Piers; Abutments ; Protecting same against drifting ice
-
- E—FIXED CONSTRUCTIONS
- E04—BUILDING
- E04G—SCAFFOLDING; FORMS; SHUTTERING; BUILDING IMPLEMENTS OR AIDS, OR THEIR USE; HANDLING BUILDING MATERIALS ON THE SITE; REPAIRING, BREAKING-UP OR OTHER WORK ON EXISTING BUILDINGS
- E04G23/00—Working measures on existing buildings
- E04G23/02—Repairing, e.g. filling cracks; Restoring; Altering; Enlarging
- E04G23/0218—Increasing or restoring the load-bearing capacity of building construction elements
-
- E—FIXED CONSTRUCTIONS
- E04—BUILDING
- E04G—SCAFFOLDING; FORMS; SHUTTERING; BUILDING IMPLEMENTS OR AIDS, OR THEIR USE; HANDLING BUILDING MATERIALS ON THE SITE; REPAIRING, BREAKING-UP OR OTHER WORK ON EXISTING BUILDINGS
- E04G23/00—Working measures on existing buildings
- E04G23/02—Repairing, e.g. filling cracks; Restoring; Altering; Enlarging
- E04G23/0218—Increasing or restoring the load-bearing capacity of building construction elements
- E04G23/0225—Increasing or restoring the load-bearing capacity of building construction elements of circular building elements, e.g. by circular bracing
-
- E—FIXED CONSTRUCTIONS
- E04—BUILDING
- E04H—BUILDINGS OR LIKE STRUCTURES FOR PARTICULAR PURPOSES; SWIMMING OR SPLASH BATHS OR POOLS; MASTS; FENCING; TENTS OR CANOPIES, IN GENERAL
- E04H9/00—Buildings, groups of buildings or shelters adapted to withstand or provide protection against abnormal external influences, e.g. war-like action, earthquake or extreme climate
- E04H9/02—Buildings, groups of buildings or shelters adapted to withstand or provide protection against abnormal external influences, e.g. war-like action, earthquake or extreme climate withstanding earthquake or sinking of ground
- E04H9/021—Bearing, supporting or connecting constructions specially adapted for such buildings
-
- E—FIXED CONSTRUCTIONS
- E04—BUILDING
- E04H—BUILDINGS OR LIKE STRUCTURES FOR PARTICULAR PURPOSES; SWIMMING OR SPLASH BATHS OR POOLS; MASTS; FENCING; TENTS OR CANOPIES, IN GENERAL
- E04H9/00—Buildings, groups of buildings or shelters adapted to withstand or provide protection against abnormal external influences, e.g. war-like action, earthquake or extreme climate
- E04H9/02—Buildings, groups of buildings or shelters adapted to withstand or provide protection against abnormal external influences, e.g. war-like action, earthquake or extreme climate withstanding earthquake or sinking of ground
- E04H9/021—Bearing, supporting or connecting constructions specially adapted for such buildings
- E04H9/0235—Anti-seismic devices with hydraulic or pneumatic damping
Landscapes
- Engineering & Computer Science (AREA)
- Architecture (AREA)
- Civil Engineering (AREA)
- Structural Engineering (AREA)
- Emergency Management (AREA)
- Business, Economics & Management (AREA)
- Environmental & Geological Engineering (AREA)
- Mechanical Engineering (AREA)
- Electrochemistry (AREA)
- Chemical Kinetics & Catalysis (AREA)
- Chemical & Material Sciences (AREA)
- Bridges Or Land Bridges (AREA)
- Working Measures On Existing Buildindgs (AREA)
- Buildings Adapted To Withstand Abnormal External Influences (AREA)
- Vibration Prevention Devices (AREA)
Description
【発明の属する技術分野】
この発明は、建築構造物の柱部材及び橋梁構造物の橋脚・橋台等の柱状構造物に関し、
更に詳しくは、当該柱状構造物に耐震性を付与されてなる耐震性柱状構造物に関する。
【0002】
【従来の技術】
耐震性能の不足する建築物に対して、その耐震性を増大すべく、従来より一般的に、次の耐震補強対策が講じられている。
1)壁厚の不足している耐震壁に対しその壁厚を増大する対策。
2)柱の周囲を鋼板、炭素繊維等で巻くなどして柱の補強を行う対策。
3)柱と柱との間にブレースを新たに設置あるいは増設する対策。
しかしながら、上記1)2)3)のいわゆる耐震増加構法では、十分な耐震性を確保するには大きな設置空間を必要とし、その反面補強に伴う増設部材により重量が大きく増加し、必ずしも有効な耐震性の向上にはなっていない。
【0003】
一方、建築物の層間にいわゆる層間ダンパーを設置し、建築物の揺れに伴う振動エネルギーを吸収する免震構法が構造物の耐震対策として近年採用されつつある。この免震構法に使用される層間ダンパーとして、(A) 粘性せん断力を利用した壁状のダンパー、(B) PC壁又はブレースと柱又は梁との間に設置されるシリンダー状のダンパー(鉛押出しダンパー、オイルダンパー等)、がある。
本免震構法によれば、前記の1)〜3)の対策が単に強度を上げて地震力に対抗するものであるのに対し、地震エネルギーを計画的に吸収することにより、建物の応答を抑え、結果として柱や壁に作用する地震力を低減する動的設計に基づくものであり、合理的かつ有効な耐震対策である。
しかし、この層間ダンパーによる免震構法は、建物の新築時において予め組み込む場合には問題はないが、既設建物内への設置をなす場合、壁体の改修が余儀なくされ、前述の1)〜3)の構法と同様に設置空間の問題が生じ、その導入への隘路となっている。
【0004】
【発明が解決しようとする課題】
本発明は上記実情に鑑みなされたものであり、優れた制振性を発揮する層間ダンパーによる免震構法の既設建物への導入において、壁体の改修をなすことなく、その隘路となっている設置空間の問題の解決をなすことを目的とする。
本発明はこのため、層間ダンパーを建物の柱部材へ装着するという新たな発想を採ることによりこの問題の解決を図ったものである。本発明は更に、建物の柱部材へ装着される層間ダンパーを開発することも他の目的とする。
【0005】
【課題を解決するための手段】
本発明は具体的には以下の構成を採る。
すなわち、その第1番目の発明は、多角形状断面を有し、荷重を支持する柱状構造物において、該柱状構造物の側面に、次の構成よりなる減衰構造体が取り付けられてなる、ことを特徴とする耐震性を付与されてなる柱状構造物であって、当該減衰構造体は、平板体をなし、一端を柱状体上部に固定し、他端を自由端とした面内に剛な第1の板材と;平板体をなし、一端を柱状体下部に固定し、他端を自由端とした面内に剛な第2の板材と;が所定間隔を保って対峙され、前記第1及び第2の板材間に固形を保持する粘弾性材料が配置されるとともに、前記第1及び第2の板材に固着されてなる。
上記構成において、第1の板材と第2の板材とはいずれも一方が内方に配され、他方が外方に配されうるものであって、限定されない。また、柱状体上部は減衰構造体が同等の機能を発揮する範囲内で当該柱状体上部の近傍の天井面を除外するものではなく、柱状体下部に付いても同様に床面を除外するものではない。なお、柱状構造物の断面はその外側の包絡線の形成する断面を指すものであって、H型断面は4角形状に属する。
本第1発明は以下の第1実施形態において具体化される。
第2番目の発明は同じく柱状体に次の構成よりなる減衰構造体が取り付けられてなり、当該減衰構造体は、平板体をなし、上端を柱状体上部に固定し、下端を自由端とした面内に剛な板材(抵抗板)と;四角箱状体をなすとともに、その内部空間に前記板材を許容された移動範囲を存して遊挿状に受け入れ、下端を柱状体下部に固定したケーシングと;からなり、板材の両板面とケーシングの両内壁面とが各微小間隔を保って対峙され、前記ケーシング内に粘性体が充填されてなる。
上記構成において、柱状体上部は減衰構造体が同等の機能を発揮する範囲内で当該柱状体上部の近傍の天井面を除外するものではなく、柱状体下部に付いても同様に床面を除外するものではない。なお、柱状構造物の断面はその外側の包絡線の形成する断面を指すものであって、H型断面は4角形状に属する。
本第2発明は以下の第2実施形態において具体化される。
上記第1・第2発明において、柱状構造物は建築構造物の柱部材及び橋梁構造物の橋脚・橋台を直接的対象とするが、他の柱状体を除外するものではない。
また、柱状部材は4角形状を普通とするが、3角形であっても、あるいは5角形以上の多角形状のものを除外するものではない。更に、1)4角形状柱において、4面の全てに減衰構造体を配すること、2)相対向する2面に配すること、3)相隣れる2面に配すること、は選択的事項である。
【0006】
(作用)
第1発明に付き、地震動等の強制振動力を受けて柱状部材が曲げ変形を受けると、第1の板材と第2の板材とは互いに相対変位を生じ、その間の減衰性粘弾性材料はせん断変形を起こし、該減衰性粘弾性材料はその内部減衰能によりこの変位を吸収する。そして、第1の板材と第2の板材によって階層間に生じる層間変位が最大限利用でき、減衰性粘弾性材料のせん断面積全域で最大かつ均一なせん断変形を得、大きな抵抗力を生じる。
第2発明に付き、地震動等の強制振動力を受けて柱状部材が曲げ変形を受けると、板材とケーシングとは相対変位を生じ、両者の板面に介在する粘性体により粘性せん断抵抗力が生じ、その抗力がそれぞれ板材より柱状部材の上部に、またケーシングより柱状部材の下部に伝達され、地震動を吸収する。
そして、板材とケーシングとによって階層間に生じる層間変位が最大限利用でき、粘性体のせん断面積全域で最大かつ均一なせん断変形を得、大きな抵抗力を生じる。
【0007】
【発明の実施の形態】
本発明の耐震性を付与された柱状構造物の実施の形態を図面に基づいて説明する。
(第1実施形態)
図1〜図5は本発明の耐震性を付与された柱状構造物の一実施形態(第1実施形態)を示し、建築構造物における柱部材への適用例を示す。すなわち、図1及び図2はその全体構成を示し、図3〜図5はその要部の構成を示す。図において、Kは多層建築構造物、Bは基礎、Eは地盤である。
【0008】
図1は本発明の適用される建築構造物Kを示し、該建築構造物Kは多層骨組み構造として、柱部材1と梁もしくは床部材(以下、梁部材と称する)2とが各接点で剛結されてなる構造を採る。各層において、2Aは上部梁部材、2Bは下部梁部材を示す。
【0009】
しかして、本実施形態においては、柱部材1の各面に減衰構造体Dが装着されてなる。
減衰構造体Dは、該柱部材1の柱面1aに当接するとともに上端を柱部材1に固定された平板状の内側平板5と、該内側板材5と所定間隔を存しその板面相互を対峙させ、下端を柱部材1に固定された平板状の外側平板6と、前記2つの平板5,6との間に介装される粘弾性材としての高減衰ゴム体7とを含み、更には、前記外側平板6を柱部材1に対して固定して取り付けるための介装材8も含む。
【0010】
以下、各部の細部構成に付いて説明する。
内側平板5
内側平板5は、一定厚さを保持するとともに剛性を有する矩形平板状をなし、硬質素材をもって形成される。硬質素材として通常には鋼製が選ばれるが、強化剛性樹脂等の他の素材を除外するものではない。そして、該内側平板5の幅は柱部材1の幅よりも若干小さくされる。
この内側平板5は柱部材1の面1aに当接されるとともに、その上端部を柱部材1に対して固定手段(取付けボルト)をもって固定される。従って、上端部以外は柱部材1に対して摺接し、移動自在となる。
【0011】
外側平板6
外側平板6は、その諸元(形状、厚さ)並びに素材は内側平板5に準じる。
しかして、この外側平板6は内側平板5とその板面相互を対峙して所定間隔を保って配されるものであり、その下端部を介装材8を介して固定手段をもって柱部材1に固定される。従って、下端部以外は柱部材1に対して相対変位自在となる。
【0012】
ゴム体7
ゴム体7は、本実施形態では平板状の高減衰ゴムが用いられ、このものを内方板材5と外方板材6との間に全面的に固着される。
ゴム体7は、高減衰性ゴム組成物よりなる。
高減衰性ゴム組成物は、天然ゴム、スチレンブタジエンゴム(SBR)、ニトリルブタジエンゴム(NBR)、ブタジエンゴム素材(BR)、イソプレンゴム(IR)、プチルゴム(IIR)、ハロゲン化ブチルゴム(X−IIR)、クロロブレンゴム(CR)のゴム素材に高減衰性を発揮する添加剤を加えて生成される。
高減衰性ゴム組成物として、
a.通常には、ゴム素材にカーボンブラックを加えたもの、
b.天然ゴムを主成分とするゴム成分100重量部及び充填剤としてシリカを70重量部を含有したもの、
c.天然ゴムとハイスチレンラバーとを4/1の比で含有させたゴム成分100重量部に対して、クマロンインデン樹脂15重量部を配合してなるもの、
d.アクリル樹脂系、
等が挙げられる。
【0013】
本減衰構造体Dは柱部材1の各側面1aすなわち4面に同じ構成をもって取り付けられる。これにより、X,Y方向の水平の全方向に対応する。
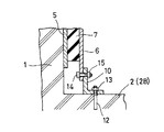
本実施形態では外側平板6は柱部材1へ介装材8を介して取り付けられているが、床面(下部梁部材2B)への取付け態様も採りうる。更には、内側平板5も天井面(上部梁部材2A)への取付け態様を採ることができる。
図5(図3の5部分に相当)は外側平板6の床面への取付け態様を示し、アングル材の取付け材10を介して外側平板6は床面2(2B)と一体となる。すなわち、取付け材10は床面2に埋設されたアンカー部材12がそのアンカー挿通孔に挿通されナット13をもって締付け固定される。また、外側平板6とはボルト14・ナット15をもって固定される。この態様以外に、外側平板6を直接床面に固定する態様を採ってもその効果に変わるところはない。内側平板5の天井面への取付けは上記に準じ、アングル材を介し、もしくは介さずして固定される。
【0014】
(本実施形態の作用・効果)
本実施形態の減衰構造体Dを有する柱状構造物は地震時において、以下の制振作用を奏する。図6、図7を参照してその挙動を説明する。
構造物Kに地震動等の強制振動力が作用すると、骨組体の各層がせん断変形を起こし、上層と下層との梁部材2A,2B間に相対変位が生じ、これに伴い柱部材1も曲げ変形を起こす。この変形は必ずしも大きくはないが、図6、図7はこれを拡大して示す。
今、図6に示すように、梁部材2A,2Bにα方向のせん断変形が生じたとき、内側平板5は図において右方向に、外側平板6は左方向に変位し、その間のゴム体7はせん断変形を起こす。ゴム体7はその内部減衰能によりこの変位を吸収する。ゴム体7の減衰機能は高減衰ゴム特性として既に解明されているように、大きな面積を有する履歴特性(荷重−変位曲線)を示し、大きなエネルギー吸収作用を発揮する。
次に、図7に示すように、梁部材2A,2Bかつβ方向に変位を転じると、内側平板5は図において左方向に、外側平板6は右方向に変位し、その間のゴム体7も前とは逆方向のせん断変形を起こす。ゴム体7はその内部減衰能によりこの変位を吸収する。
このようにして構造物Kの振動は急速に減衰する。
本実施形態によれば、柱部材1の周囲に、内側平板・ゴム体・外側平板の総厚において薄手の減衰構造体Dが装着されるものであり、柱部材1間の空間を占有することなく、柱部材1の回りで済み、設置空間が小さくて済む。また、層間ダンパー機能を発揮し、動的解析が適用され、そのゴム体の面積をもって大きな減衰能を発揮する。更にこの減衰構造体Dはゴム体7自体が復元性を有するので、他に復元装置は不要であり、あるいは構造物自体の復元性に相加されて大きな復元力を発揮する。
【0015】
(第2実施形態)
図8・図9に本発明の耐震性を付与された柱状構造物の他の実施形態(第2実施形態)を示す。図において、先の実施形態と同等の部材に付いては同一の符号が付されている。
この実施形態においては、柱部材1の各側面1aに粘性せん断型の減衰構造体D1が配されてなる。
この減衰構造体D1は、上方に開口する四角箱状をなすケーシング20と、該ケーシング20内に充填される粘性体21と、ケーシング20内に挿入される平板状の抵抗板22とからなり、更には、ケーシング20と抵抗板22とに介装されるスペーサー23を含む。
そして、ケーシング20はその下端を柱部材1の下部に固定され、抵抗板22はその上部を介装材24をもって柱部材1の上部に固定される。
もっと詳しくは、ケーシング20は上方に開口し、横方向に細長の直方形状の容器体をなす。容器体内の内室は幅狭で、内壁面は平滑をなす。そして、ケーシング20の外壁面を柱部材1の壁面1aに当接するとともに、その下端部を取付け具26をもって柱部材1に固定される。
粘性体21は、例えば、ポリオレフィン、ポリシロキサン等の高粘性物質が使用される。
抵抗板22は、一定厚を保持し、その平面が平滑な矩形平板体をなし、板面に付いてケーシング20内にスペーサー23を介して微小間隙γを保って挿入され、上部はケーシング20より突設して配され、上述したように、介装材24を介して取付け具27をもって柱部材1に固定される。該抵抗板22の板面に沿う方向の下部及び両側部はケーシング20に対して十分な移動域を存する。
【0016】
本実施形態の減衰構造体D1を取り付けた柱状体は次のように作用する。
構造物Kに地震動等の強制振動力が作用すると、骨組体がせん断変形を起こし、上層と下層との梁部材2A,2B間に相対変位が生じ、これに伴い柱部材1も曲げ変形を起こす。柱部材1の変位は介装材24を介して減衰構造体D1の抵抗板22を変位させる。ケーシング20は抵抗板22とは逆方向に変位する。抵抗板22はケーシング20の内壁面と粘性体21を介して相対変位をなし、その2面間に生じる粘性せん断力により抵抗板22は抗力を受け、介装材24を介して柱部材1の変位を吸収する。ケーシング20も下端部を介して柱部材1に抗力を伝える。これにより骨組体の振動変位は急速に吸収される。
本実施形態によれば、第1実施形態に準じて薄手に形成され、かつ、柱部材1回りのみで済み、設置空間が小さくて済む。
【0017】
叙上の実施形態では建築構造物Kにおける柱部材への適用を示したが、橋梁構造物における柱状部材すなわち橋脚・橋台への適用も同様である。この場合、橋梁構造物として鉄筋コンクリート製ラーメン形式の高架橋がその好適なものとして挙げられる。
【0018】
本発明は上記実施の形態に限定されるものではなく、本発明の基本的技術思想の範囲内で種々設計変更が可能である。すなわち、以下の態様は本発明の技術的範囲内に包含されるものである。
1)第1実施形態に使用されるゴム体は薄鋼板と高減衰ゴム層との積層体としての積層ゴム形式であってよい。
【0019】
【発明の効果】
本発明の耐震性を付与された柱状構造物によれば、その減衰構造体が層間ダンパーの機能を発揮して大きな減衰性能を有し、有効な耐震対策となるばかりでなく、動的理論のもとに合理的な設計ができる。しかも、既設構造物への適用に付いては、柱部材回りへの減衰構造体の取付けで済むので、壁体の改修が不要であり、設置工費の大幅な低減をなしうる。
【図面の簡単な説明】
【図1】 本発明の耐震性を付与された柱状構造物の適用される構造物の全体を示す模式図。
【図2】 本発明の一実施形態の耐震性を付与された柱状構造物の全体を示す一部断面側面図(図1の2部分拡大図)。
【図3】 図2の3−3線拡大断面図。
【図4】 図3の4−4線断面図。
【図5】 本実施形態の外側平板の他の取付け態様図。
【図6】 本実施形態の動作図。
【図7】 本実施形態の動作図。
【図8】 本発明の他の実施形態の耐震性を付与された柱状構造物の全体を示す一部断面側面図。
【図9】 図8の9−9線断面図。
【符号の説明】
D,D1…減衰構造体、1…柱部材、2…梁部材、5…内側平板、6…外側平板、7…粘弾性体、8…介装材、20…ケーシング、21…粘性体、22…抵抗板
Claims (5)
- 多角形状断面を有し、荷重を支持する柱状構造物において、該柱状構造物の側面に、下記の構成よりなる減衰構造体が取り付けられてなることを特徴とする耐震性を付与されてなる柱状構造物。
記
平板体をなし、一端を柱状体上部に固定し、他端を自由端とした面内に剛な第1の板材と;平板体をなし、一端を柱状体下部に固定し、他端を自由端とした面内に剛な第2の板材と;が所定間隔を保って対峙され、前記第1及び第2の板材間に固形を保持する粘弾性材料が配置されるとともに、前記第1及び第2の板材に全体的に固着されてなる減衰構造体。 - 多角形状断面を有し、荷重を支持する柱状構造物において、該柱状構造物の側面に、下記の構成よりなる減衰構造体が取り付けられてなることを特徴とする耐震性を付与されてなる柱状構造物。
記
平板体をなし、上端を柱状体上部に固定し、下端を自由端とした面内に剛な板材と;四角箱状体をなすとともに、その内部空間に前記板材を許容された移動範囲を存して遊挿状に受け入れ、下端を柱状体下部に固定したケーシングと;からなり、前記板材の両板面と前記ケーシングの両内壁面とが各微小間隔を保って対峙され、前記ケーシング内に粘性体が充填されてなる減衰構造体。 - 柱状体は四角柱体をなし、該柱状体の各側面に減衰構造体を配してなる、請求項1,2のいずれかに記載の耐震性を付与されてなる柱状構造物。
- 減衰構造体は四角柱体の相対向する2面に配されてなる請求項3に記載の耐震性を付与されてなる柱状構造物。
- 減衰構造体は四角柱体の相隣れる2面に配されてなる請求項3に記載の耐震性を付与されてなる柱状構造物。
Priority Applications (2)
| Application Number | Priority Date | Filing Date | Title |
|---|---|---|---|
| JP29941998A JP4035239B2 (ja) | 1998-10-21 | 1998-10-21 | 耐震性を付与された柱状構造物 |
| US09/704,826 US6354047B1 (en) | 1998-10-21 | 2000-11-03 | Columnar structure with earthquake resistance imparted thereto and method of reinforcing the earthquake resistance of a columnar structure |
Applications Claiming Priority (1)
| Application Number | Priority Date | Filing Date | Title |
|---|---|---|---|
| JP29941998A JP4035239B2 (ja) | 1998-10-21 | 1998-10-21 | 耐震性を付与された柱状構造物 |
Publications (2)
| Publication Number | Publication Date |
|---|---|
| JP2000129933A JP2000129933A (ja) | 2000-05-09 |
| JP4035239B2 true JP4035239B2 (ja) | 2008-01-16 |
Family
ID=17872326
Family Applications (1)
| Application Number | Title | Priority Date | Filing Date |
|---|---|---|---|
| JP29941998A Expired - Lifetime JP4035239B2 (ja) | 1998-10-21 | 1998-10-21 | 耐震性を付与された柱状構造物 |
Country Status (2)
| Country | Link |
|---|---|
| US (1) | US6354047B1 (ja) |
| JP (1) | JP4035239B2 (ja) |
Families Citing this family (20)
| Publication number | Priority date | Publication date | Assignee | Title |
|---|---|---|---|---|
| KR100798457B1 (ko) | 2000-10-24 | 2008-01-28 | 오일레스고교 가부시키가이샤 | 제진 구조물 |
| US7221663B2 (en) * | 2001-12-31 | 2007-05-22 | Polycom, Inc. | Method and apparatus for wideband conferencing |
| JP2003049558A (ja) * | 2001-08-07 | 2003-02-21 | Kazuhiko Kasai | 制振間柱 |
| JP4622207B2 (ja) | 2002-02-21 | 2011-02-02 | オイレス工業株式会社 | 吸振器及びそれを用いた制震構造 |
| US7174680B2 (en) * | 2002-05-29 | 2007-02-13 | Sme Steel Contractors, Inc. | Bearing brace apparatus |
| US6931800B2 (en) * | 2003-02-28 | 2005-08-23 | Fayed S. Sedrak | Structural supplemental rubber dampers (SSRD) |
| JP4376088B2 (ja) * | 2003-02-28 | 2009-12-02 | 新日本製鐵株式会社 | 梁継手構造 |
| RU2498033C1 (ru) * | 2012-03-13 | 2013-11-10 | Федеральное государственное бюджетное образовательное учреждение высшего профессионального образования "Самарский государственный архитектурно-строительный университет" (СГАСУ) | Устройство для усиления колонны и сочлененных элементов перекрытия здания |
| RU2498034C1 (ru) * | 2012-03-14 | 2013-11-10 | Федеральное государственное бюджетное образовательное учреждение высшего профессионального образования "Самарский государственный архитектурно-строительный университет" (СГАСУ) | Способ усиления колонны и сочлененных элементов перекрытия здания |
| JP6058332B2 (ja) * | 2012-09-25 | 2017-01-11 | 東日本旅客鉄道株式会社 | コンクリート柱の耐震補強構造及びコンクリート柱の耐震補強方法 |
| MX2016004553A (es) * | 2013-10-11 | 2016-11-10 | Governing Council Univ Toronto | Amortiguador de acoplamiento de pared viscosa para uso en una configuracion de edificacion con estabilizador. |
| JP2015101850A (ja) * | 2013-11-22 | 2015-06-04 | 株式会社グレイプ | 枠組壁構造、建物、及び枠組壁構法 |
| CN106132865B (zh) * | 2014-03-28 | 2017-12-15 | 因温特奥股份公司 | 在地震事件中用于自动扶梯和移动步道的侧向阻尼和中间支撑件 |
| JP6563780B2 (ja) * | 2014-12-08 | 2019-08-21 | 東日本旅客鉄道株式会社 | 橋梁構造 |
| JP6563781B2 (ja) * | 2014-12-08 | 2019-08-21 | 東日本旅客鉄道株式会社 | 脚柱構造体及び脚柱構造体の施工方法 |
| JP6640459B2 (ja) * | 2015-03-27 | 2020-02-05 | 三菱日立パワーシステムズ株式会社 | 免震化構造、鉄骨支持構造体及び既設鉄骨支持構造体の免震化工法 |
| IN2015MU02042A (ja) | 2015-05-26 | 2015-06-05 | Yashraj Mahesh | |
| JP6563791B2 (ja) * | 2015-11-26 | 2019-08-21 | 東日本旅客鉄道株式会社 | 脚柱構造体 |
| CN110067212B (zh) * | 2019-05-07 | 2021-03-02 | 防灾科技学院 | 一种钢筋混凝土桥墩震后快速修复方法 |
| JP7492431B2 (ja) | 2020-10-12 | 2024-05-29 | 株式会社フジタ | アンボンドプレキャストプレストレスコンクリート柱の柱脚構造 |
Family Cites Families (6)
| Publication number | Priority date | Publication date | Assignee | Title |
|---|---|---|---|---|
| US2690074A (en) * | 1952-03-27 | 1954-09-28 | Cable B Jones | Earthquake resistant concrete structure |
| JPS5428226A (en) | 1977-08-06 | 1979-03-02 | Nippon Steel Corp | Measuring device for roll separation of multiicontinous roll apparatus |
| JPH021947A (ja) | 1988-06-09 | 1990-01-08 | Sharp Corp | 薄膜トランジスタの製造方法 |
| JP2610243B2 (ja) * | 1994-03-08 | 1997-05-14 | 有限会社新技研 | 構造物の制振方法 |
| EP0871827A4 (en) * | 1996-01-12 | 2001-10-31 | Robinson Seismic Ltd | ENERGY ABSORBER |
| JPH1046865A (ja) | 1996-07-30 | 1998-02-17 | Dynamic Design:Kk | 制震壁の固定方法 |
-
1998
- 1998-10-21 JP JP29941998A patent/JP4035239B2/ja not_active Expired - Lifetime
-
2000
- 2000-11-03 US US09/704,826 patent/US6354047B1/en not_active Expired - Lifetime
Also Published As
| Publication number | Publication date |
|---|---|
| US6354047B1 (en) | 2002-03-12 |
| JP2000129933A (ja) | 2000-05-09 |
Similar Documents
| Publication | Publication Date | Title |
|---|---|---|
| JP4035239B2 (ja) | 耐震性を付与された柱状構造物 | |
| KR20080075847A (ko) | 포크형 감쇠기 및 이의 사용 방법 | |
| KR101197971B1 (ko) | 라멘 골조의 층간변형을 이용한 제진댐퍼 | |
| JPH11270623A (ja) | 張力構造用振動エネルギ―吸収装置及びその施工法 | |
| JP2007239306A (ja) | 免震ダンパーの取付方法 | |
| KR20130003421A (ko) | 필로티 구조물의 내진보강구조 | |
| JP4419218B2 (ja) | 柱梁接合部のエネルギー吸収構造 | |
| JP4698054B2 (ja) | 制振間柱とその構築方法 | |
| JP2002070943A (ja) | 免震滑り支承装置 | |
| JP3744267B2 (ja) | 建造物の制振装置 | |
| KR101438305B1 (ko) | 기둥형 제진장치 | |
| JP2014020112A (ja) | 制振装置 | |
| JP3020089B2 (ja) | 制震構造梁 | |
| JP4277176B2 (ja) | 制震構造物 | |
| KR100955707B1 (ko) | 탄 소성 판이 병렬로 다수 세팅된 브라켓형 댐퍼 및 이를 이용한 구조물 내진보강방법 | |
| KR20180116899A (ko) | 힌지핀형 마찰댐퍼 및 이를 이용한 내진공법 | |
| JP6967997B2 (ja) | 制震装置および建物 | |
| JP2528213B2 (ja) | Pc版取付部構造 | |
| JP4066019B2 (ja) | 制震高架橋 | |
| JP3252156B2 (ja) | 内部減衰機構を有する構造物及び棒状ダンパー | |
| JP2010203057A (ja) | 陸屋根建物の日射利用装置設置構造 | |
| JPH03228975A (ja) | 振動減衰装置を組込んだ構築物 | |
| JP3831882B2 (ja) | 粘弾性壁の設置構造 | |
| JP2816818B2 (ja) | 耐震用支承装置 | |
| KR20190051325A (ko) | 고감쇠 고무 및 파형 웨브가 구성된 복합댐퍼와 복합댐퍼를 포함한 프레임형 제진장치 및 이를 이용한 구조물 내진보강방법 |
Legal Events
| Date | Code | Title | Description |
|---|---|---|---|
| A621 | Written request for application examination |
Free format text: JAPANESE INTERMEDIATE CODE: A621 Effective date: 20050831 |
|
| A977 | Report on retrieval |
Free format text: JAPANESE INTERMEDIATE CODE: A971007 Effective date: 20070420 |
|
| A131 | Notification of reasons for refusal |
Free format text: JAPANESE INTERMEDIATE CODE: A131 Effective date: 20070508 |
|
| A521 | Request for written amendment filed |
Free format text: JAPANESE INTERMEDIATE CODE: A523 Effective date: 20070705 |
|
| TRDD | Decision of grant or rejection written | ||
| A01 | Written decision to grant a patent or to grant a registration (utility model) |
Free format text: JAPANESE INTERMEDIATE CODE: A01 Effective date: 20070911 |
|
| A61 | First payment of annual fees (during grant procedure) |
Free format text: JAPANESE INTERMEDIATE CODE: A61 Effective date: 20071029 |
|
| FPAY | Renewal fee payment (event date is renewal date of database) |
Free format text: PAYMENT UNTIL: 20101102 Year of fee payment: 3 |
|
| R150 | Certificate of patent or registration of utility model |
Free format text: JAPANESE INTERMEDIATE CODE: R150 |
|
| FPAY | Renewal fee payment (event date is renewal date of database) |
Free format text: PAYMENT UNTIL: 20101102 Year of fee payment: 3 |
|
| FPAY | Renewal fee payment (event date is renewal date of database) |
Free format text: PAYMENT UNTIL: 20111102 Year of fee payment: 4 |
|
| FPAY | Renewal fee payment (event date is renewal date of database) |
Free format text: PAYMENT UNTIL: 20121102 Year of fee payment: 5 |
|
| FPAY | Renewal fee payment (event date is renewal date of database) |
Free format text: PAYMENT UNTIL: 20131102 Year of fee payment: 6 |
|
| R250 | Receipt of annual fees |
Free format text: JAPANESE INTERMEDIATE CODE: R250 |
|
| S531 | Written request for registration of change of domicile |
Free format text: JAPANESE INTERMEDIATE CODE: R313531 |
|
| R360 | Written notification for declining of transfer of rights |
Free format text: JAPANESE INTERMEDIATE CODE: R360 |
|
| R370 | Written measure of declining of transfer procedure |
Free format text: JAPANESE INTERMEDIATE CODE: R370 |
|
| R250 | Receipt of annual fees |
Free format text: JAPANESE INTERMEDIATE CODE: R250 |
|
| S531 | Written request for registration of change of domicile |
Free format text: JAPANESE INTERMEDIATE CODE: R313531 |
|
| R350 | Written notification of registration of transfer |
Free format text: JAPANESE INTERMEDIATE CODE: R350 |
|
| R250 | Receipt of annual fees |
Free format text: JAPANESE INTERMEDIATE CODE: R250 |
|
| R250 | Receipt of annual fees |
Free format text: JAPANESE INTERMEDIATE CODE: R250 |
|
| EXPY | Cancellation because of completion of term |