JP4031648B2 - 化合物半導体ウエハの製造方法 - Google Patents

化合物半導体ウエハの製造方法 Download PDF

Info

Publication number
JP4031648B2
JP4031648B2 JP2002011855A JP2002011855A JP4031648B2 JP 4031648 B2 JP4031648 B2 JP 4031648B2 JP 2002011855 A JP2002011855 A JP 2002011855A JP 2002011855 A JP2002011855 A JP 2002011855A JP 4031648 B2 JP4031648 B2 JP 4031648B2
Authority
JP
Japan
Prior art keywords
compound semiconductor
film
substrate
semiconductor wafer
protective film
Prior art date
Legal status (The legal status is an assumption and is not a legal conclusion. Google has not performed a legal analysis and makes no representation as to the accuracy of the status listed.)
Expired - Fee Related
Application number
JP2002011855A
Other languages
English (en)
Other versions
JP2002316893A (ja
Inventor
聡之 田村
雅弘 小川
昌宏 石田
正昭 油利
Current Assignee (The listed assignees may be inaccurate. Google has not performed a legal analysis and makes no representation or warranty as to the accuracy of the list.)
Panasonic Corp
Panasonic Holdings Corp
Original Assignee
Panasonic Corp
Matsushita Electric Industrial Co Ltd
Priority date (The priority date is an assumption and is not a legal conclusion. Google has not performed a legal analysis and makes no representation as to the accuracy of the date listed.)
Filing date
Publication date
Application filed by Panasonic Corp, Matsushita Electric Industrial Co Ltd filed Critical Panasonic Corp
Priority to JP2002011855A priority Critical patent/JP4031648B2/ja
Publication of JP2002316893A publication Critical patent/JP2002316893A/ja
Application granted granted Critical
Publication of JP4031648B2 publication Critical patent/JP4031648B2/ja
Anticipated expiration legal-status Critical
Expired - Fee Related legal-status Critical Current

Links

Images

Landscapes

  • Crystals, And After-Treatments Of Crystals (AREA)
  • Led Devices (AREA)

Description

【0001】
【発明の属する技術分野】
本発明は、短波長レーザや高温動作トランジスタ等に用いられる窒素を組成に含む化合物半導体からなる化合物半導体ウエハの製造方法に関するものである。
【0002】
【従来の技術】
従来より、Ga,Al,B,As,In,P及びSbのうちの少なくとも1つの元素とNとを組成に含む化合物半導体(以下、「窒化物半導体」という)は、紫外から可視域におよぶ広範なバンドギャップエネルギーを有し、発光・受光デバイス用半導体材料として有望であることが知られている。この窒化物半導体の代表例としては、一般式がBxAlyGazIn1-x-y-zN(0≦x≦1,0≦y≦1,0≦z≦1,0≦x+y+z≦1)で表される化合物半導体がある。そして、この窒化物半導体を用いたデバイスを作製する際の下地基板として、良質で大面積の窒化物半導体ウエハ、とりわけフリースタンディングウエハ(自立ウエハ)の実現が強く求められている。
【0003】
フリースタンディングの窒化物半導体ウエハとは、窒化物半導体以外の材料は含まれない,窒化物半導体のみから構成されるウエハである。一般に、フリースタンディングの窒化物半導体ウエハを得るためには、窒化物半導体とは異なる材料からなる基板上に窒化物半導体膜をエピタキシャル成長させ、その後、基板を除去するという方法が用いられている。基板を除去する方法の一つとして、例えば、USP6,071,795号に開示されているように、基板の裏面からエキシマKrFレーザ、Nd/YAGレーザを照射する手法(レーザリフトオフ)が知られている。
【0004】
図13(a),(b)は、従来のフリースタンディングの窒化物半導体膜を形成する工程を示す断面図である。
【0005】
まず、エキシマKrFレーザやNd/YAGレーザのレーザ光に対して透明であるサファイア基板101(例えば2インチ径のサファイアウエハ)を準備する。そして、サファイア基板101をハイドライド気相成長(以下HVPEという)装置内に導入する。
【0006】
そして、図13(a)に示す工程で、HVPEにより、サファイア基板101の上に、例えば厚みが約300μmのGaNからなる窒化物半導体膜102を形成する。このとき、窒化物半導体膜102は、サファイア基板101の上面上に位置する平面部102aと、サファイア基板101の側面上に位置する側面部102bとを有している。
【0007】
次に、サファイア基板101の裏面から例えば波長355nmの強いレーザ光を照射する。サファイア基板101は光を透過し、また照射するレーザ光のパルス幅は非常に短いので、レーザ光は窒化物半導体膜102のうち平面部102aのサファイア基板101に接する領域つまり裏面部のみに吸収される。その結果、窒化物半導体膜102の平面部102aの裏面部は加熱され、熱解離によりガリウムと窒素とに分解し、窒素ガスが発散する。そして、レーザ光をサファイア基板101の全面に亘って走査することにより、窒化物半導体膜102とサファイア基板101とが分離する。そして、サファイア基板101を取り外すことにより、フリースタンディングの窒化物半導体ウエハとなる窒化物半導体膜102が得られる。その後、窒化物半導体膜102の上に、Ga,Al,B,As,In,P及びSbのうちの少なくとも1つの元素とNとを組成に含む化合物半導体(一般式がBxAlyGazIn1-x-y-zN(0≦x≦1,0≦y≦1,0≦z≦1,0≦x+y+z≦1)で表される化合物半導体)の1又は2以上の結晶層をエピタキシャル成長させることにより、各種の化合物半導体デバイスが得られる。
【0008】
また、フリースタンディングの窒化物半導体ウエハを得るための他の方法として、サファイア基板101を機械的に研磨することにより、フリースタンディングの窒化物半導体ウエハとなる窒化物半導体膜を得る方法も知られている。
【0009】
また、フリースタンディングの窒化物半導体ウエハを得るための別の方法としては、サファイア基板の代わりにGaAs基板やSi基板等のエッチングにより容易に除去できる材料を用い、HVPEによる窒化物半導体膜のエピタキシャル成長後に、研磨ではなくウェットエッチングによってGaAs基板やSi基板を除去する方法も試みられている。
【0010】
【発明が解決しようとする課題】
しかしながら、上記従来の方法では以下のような不具合があった。
【0011】
図13(a),(b)に示す方法では、窒化物半導体膜102のうち平面部102aの裏面部はレーザ光の照射によって分解され、窒化物半導体膜102の平面部102aとサファイア基板101とは比較的容易に分離する。ところが、窒化物半導体膜102の側面部102bにはレーザ光が照射されにくいので、側面部102bのサファイア基板101との界面付近の領域を分解することは一般には困難である。したがって、例えばサファイア基板101と窒化物半導体膜102とを加熱して、窒化物半導体膜102とサファイア基板101とを互いに分離しようとすると、窒化物半導体膜102の側面部102bに窒化物半導体膜102の側面部102bとサファイア基板101との熱膨張係数差による応力が集中し、側面部102bにクラックが発生し、ついには窒化物半導体膜102の平面部102aが割れてしまうというおそれがあった。
【0012】
また、サファイア基板101の側面部は、上面部とは結晶方位が異なり、しかも、基板製造時の加工処理などによって結晶性が乱れているので、窒化物半導体膜102の側面部102bは、結晶性が悪くほとんど多結晶構造に近い部分もある。そのために、窒化物半導体膜102の側面部102bは、一般に割れや欠けが容易に生じやすいことも、不具合を生じる原因の1つになっている。
【0013】
また、サファイア基板101を研磨により除去する方法においては、研磨中にサファイア基板101とともに窒化物半導体膜102の側面部102bも同時に研磨されるので、機械的ストレスによってこの側面部102bを起点として窒化物半導体膜102の平面部102aに達するクラックや割れが生じやすい。そのために、この方法を利用しても、独立した大面積の窒化物半導体膜102を再現性よく得ることが困難であった。
【0014】
また、GaAs基板やSi基板を用い、研磨ではなくエッチングによってGaAs基板やSi基板を除去する方法においては、基板除去後のウエハのハンドリング中に窒化物半導体膜102が割れやすく、そこを起点として窒化物半導体膜102に大きくクラックや割れが生じやすい。そのために、この方法を利用しても、独立した大面積の窒化物半導体膜102を再現性よく得ることが困難であった。
【0015】
さらに、このようにして得られた独立した窒化物半導体ウエハ(窒化物半導体膜102)は、その上に半導体デバイスなどを形成する前に表面研磨処理を行うのが一般的であるが、その表面研磨工程の際にも、機械的ストレスによって側面部102bが割れやすく、そこを起点としてウエハ全体が割れてしまうというおそれがあった。
【0016】
また、ウエハ全体に割れが生じない場合でも、分離あるいは研磨の過程での過剰な機械的ストレスによってウエハ内にクラックが残留しているおそれがあった。そして、クラックが残留している窒化物半導体ウエハの上に、電界効果トランジスタ、LED、レーザダイオードなどの半導体素子を形成した場合、残留しているクラックが電流リークの原因となり信頼性が低下したり、クラックが光の散乱中心となり発光効率が低下するおそれもあった。
【0017】
本発明の目的は、フリースタンディングの大面積の窒化物半導体ウエハを歩留まりよく、かつ、再現性よく得るための化合物半導体ウエハの製造方法を提供することにある。
【0018】
【課題を解決するための手段】
本発明の第1の化合物半導体ウエハの製造方法は、基板の上面及び側面のうちの一部を覆う閉環状の保護膜を形成する工程(a)と、上記工程(a)の後に、上記基板の上面及び側面のうち上記保護膜によって覆われていない領域の上に、窒素を組成に含む化合物半導体膜をエピタキシャル成長させる工程(b)と、上記工程(b)の後に、上記基板を除去する工程(c)とを含み、上記工程(a)で形成される保護膜は、上記工程(b)で形成される化合物半導体膜のエピタキシャル成長を阻害する機能を有するものである。
【0019】
この方法により、化合物半導体膜のうち基板の上面からエピタキシャル成長した部分だけをフリースタンディングウエハとして利用することが可能になる。そして、この部分には、基板の側面から成長した部分がないので、後工程におけるクラックや欠けの発生を抑制することができる。また、基板の側面付近におけるエピタキシャル成長条件の変動の影響が少ない良質のウエハが得られる。
【0020】
上記工程(a)では、少なくとも上記基板の側面全体を覆うように上記保護膜を形成することにより、化合物半導体膜が基板の上面からエピタキシャル成長した部分のみによって構成されるので、上述の作用効果を確実に発揮することができる。
【0021】
上記工程(a)では、上記基板の上面の一部のみを覆うように上記保護膜を形成することにより、基板の上面からエピタキシャル成長した化合物半導体膜と、基板の側面からエピタキシャル成長した化合物半導体膜とが得られるので、前者のみをフリースタンディングのウエハとして用いることができる。
【0022】
上記工程(a)では、上記保護膜の環幅の最小値が上記化合物半導体膜の膜厚よりも大きくなるように上記保護膜を形成することにより、基板の上面からエピタキシャル成長した化合物半導体膜と、基板の側面からエピタキシャル成長した化合物半導体膜とを確実に分離することができる。
【0023】
上記保護膜は、シリコン酸化膜,シリコン窒化膜,シリコン酸窒化膜及びリフラクトリ金属膜のうちから選ばれるいずれか1つの膜によって構成されていることが好ましい。
【0024】
上記工程(c)では、上記基板を研磨によって除去することができる。
【0025】
上記工程(b)では、上記基板の吸収端波長よりも長い吸収端波長を有する化合物半導体により上記化合物半導体膜を形成し、上記工程(c)では、上記基板側から上記基板の吸収端波長と上記化合物半導体膜の吸収端波長との中間の波長を有する光を照射することにより、上記化合物半導体膜の一部を分解して上記基板と上記化合物半導体膜とを分離させることができる。
【0026】
上記工程(c)では、上記基板をエッチングによって除去することもできる。
【0027】
また、上記工程(c)の後に、上記化合物半導体膜の裏面を研磨することが好ましい。
【0028】
本発明の第2の化合物半導体ウエハの製造方法は、基板上に窒素を組成に含む化合物半導体膜をエピタキシャル成長させる工程(a)と、上記化合物半導体膜のうち少なくとも上記基板の側面上に位置する部分を除去する工程(b)と、上記工程(b)の後で、上記基板を除去する工程(c)とを含んでいる。
【0029】
この方法により、化合物半導体膜のうち基板の上面からエピタキシャル成長した部分だけをフリースタンディングウエハとして利用することが可能になる。そして、この部分には、基板の側面から成長した部分がないので、後工程におけるクラックや欠けの発生を抑制することができる。特に、基板の側面付近におけるエピタキシャル成長条件の変動の影響を受けた部分をより確実に除去できるので、良質のウエハが得られる。
【0030】
上記工程(b)では、上記化合物半導体膜のうち少なくとも上記基板の側面上に位置する部分を研磨により除去することができる。
【0031】
上記工程(b)では、上記基板及び化合物半導体膜のうち側面からある距離だけ内側に位置する部位を閉環状に切断していくことができる。
【0032】
上記工程(b)では、上記化合物半導体膜のうち側面からある距離だけ内側に位置する部位までの部分を除去することができる。
【0033】
この第2の化合物半導体ウエハの製造方法においても、上述の第1の化合物半導体ウエハの製造方法と同様の好ましい形態を採用することができる。
【0034】
本発明の第3の化合物半導体ウエハの製造方法は、基板の上面及び側面を覆う膜を堆積する工程(a)と、上記膜を少なくとも上記基板の上面が露出するまで除去することにより、上記基板及び上記膜の上面を平坦化して、上記基板の少なくとも側面を覆う閉環状の保護膜を形成する工程(b)と、上記工程(b)の後に、上記基板の上面のうち上記保護膜によって覆われていない領域の上に、窒素を組成に含む化合物半導体膜をエピタキシャル成長させる工程(c)と、上記工程(c)の後に、上記基板を除去する工程(d)とを含み、上記工程(b)で形成される保護膜は、上記工程(c)で形成される化合物半導体膜のエピタキシャル成長を阻害する機能を有するものである。
【0035】
この方法により、化合物半導体膜のうち基板の上面からエピタキシャル成長した部分だけをフリースタンディングウエハとして利用することが可能になる。そして、この部分には、基板の側面から成長した部分がないので、後工程におけるクラックや欠けの発生を抑制することができる。また、基板の側面付近におけるエピタキシャル成長条件の変動の影響が少ない良質のウエハが得られる。
【0036】
上記工程(a)の前に、上記基板の外周部をある深さまで除去して切り欠き部を形成する工程をさらに含み、上記工程(b)では、上記保護膜が上記基板の側面及び切り欠き部を覆うように上記保護膜を形成することにより、上述の効果に加えて、基板の側面付近におけるエピタキシャル成長条件の変動の影響がさらに少ない良質のウエハが得られる。
【0037】
【発明の実施の形態】
(第1の実施形態)
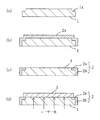
図1(a)〜(e)は、本発明の第1の実施形態における化合物半導体ウエハの製造方法を示す縦断面図及び平面図である。なお、図1(a)〜(e)において、サファイア基板及びGaN膜は円形で図示されているが、一部に、ウエハの結晶方位を示すいわゆるオリフラ(オリエンテーションフラット)が設けられているのが一般的である。その場合にも、本実施形態及び各変形例や、後述する各実施形態における作用効果には変わりがないので、以下の説明においては、「円形」とは、オリフラがある場合をも含むものとする。
【0038】
まず、図1(a)に示す工程で、直径約50.8mm,厚さ約300μmのサファイア基板1(サファイアウエハ)の表面上に、CVDにより、厚さ約100nmのSiO2 膜2xを形成する。このとき、SiO2 膜2xは、サファイア基板1の上面及び側面を覆っている。
【0039】
次に、図1(b)に示す工程で、フォトリソグラフィー及びウエットエッチングによりSiO2 膜2xをパターニングして、SiO2 膜2xのうちサファイア基板1の上面を覆う環幅d1(例えば2mm)の閉環状部2aと、サファイア基板1の側面を覆う側面部2bとからなる保護膜2を形成する。
【0040】
次に、図1(c)に示す工程で、保護膜2が付設されたサファイア基板1を、HVPE装置の反応炉にセットし、サファイア基板1を約1000℃に加熱した状態で、反応炉の上流側から、Ga金属とHClガスとによって生成されたGaClガスと、アンモニアガス(NH3 )とを原料ガスとして供給し、窒素ガス(N2 )をキャリアガスとして供給する。これにより、約7.5時間で、サファイア基板1の上面のうち露出している部分の上に、厚さ約300μmのGaN膜3がエピタキシャル成長する。その際、GaN結晶はSiO2 膜である保護膜2の上にはエピタキシャル成長しないので、GaN膜3の下部の直径は、保護膜2の閉環状部2aの内径(本実施形態では、約46mm)にほぼ等しくなる。しかし、GaN結晶は、上方にエピタキシャル成長して保護膜2の上面に達すると、保護膜2の上面上に沿って側方にもラテラル成長する。したがって、最終的には、GaN膜3の上部の直径は46mmよりもやや大きくなる。例えば本実施形態では、GaN膜3の上部の直径は、約46.6mmであり、図1(c)に示す寸法d2=0.3mmであった。
【0041】
次に、図1(d)に示す工程で、ウエハをHVPE装置の反応炉から取り出し、波長355nmのNd/YAGレーザの3倍高調波を用いたレーザ光のビームをサファイア基板1の裏面からGaN膜3に照射する。GaNの吸収端波長は約360〜370nmであり、レーザ光の波長よりも長いため、GaNはレーザ光を吸収し発熱する。レーザ光のエネルギー密度が十分大きくすれば、この発熱によってGaN膜3のうちサファイア基板1に接する部分,つまり裏面部が界面近傍で分解される。本実施形態においては、レーザ光のエネルギー密度が概ね0.4J/cm2 以上のときにこのような現象を確認することができた。
【0042】
そして、このような条件でレーザ光のビームをウエハ全面に亘って走査することにより、図1(e)に示すように、サファイア基板1と分離したフリースタンディングのGaN膜3(GaNウエハ)が得られる。
【0043】
本実施形態では、サファイア基板1の上面の一部及び側面を覆う閉環状の保護膜2を形成しておいて、保護膜2を残した状態で、サファイア基板1のうち保護膜2によって覆われていない領域の上に窒化物半導体膜であるGaN膜3をエピタキシャル成長させている。したがって、サファイア基板1の側面の上には、GaN結晶は成長しないので、GaN膜3のうちサファイア基板1に接している裏面部全体を確実に分解することができる。よって、GaN膜3とサファイア基板1とを円滑に互いに分離させることができ、フリースタンディングのGaNウエハ(窒化物半導体ウエハ)を再現性よく得ることができる。
【0044】
また、以上のようにして得られたフリースタンディングのGaN膜3(GaNウエハ)の上に、Ga,Al,B,As,In,P及びSbのうちの少なくとも1つの元素とNとを組成に含む化合物半導体(例えば一般式がBxAlyGazIn1-x-y-zN(0≦x≦1,0≦y≦1,0≦z≦1,0≦x+y+z≦1)で表される化合物半導体)からなるLEDを形成した場合、電流リークがほとんどなく信頼性の高い素子を得ることができた。これは、サファイア基板1を分離する過程で、GaN膜3に過剰な機械的ストレスがかからないためにGaN膜3(GaNウエハ)内にクラックが残留しなかったためと考えられる。
【0045】
なお、本実施形態で得られたGaN膜3(GaNウエハ)の裏面には、保護膜2の上面上に沿ってラテラル成長した部分(上部)と、保護膜2の開口部内で上方にエピタキシャル成長した部分(下部)との間に、ある程度の段差が生じるが、GaN膜3をサファイア基板1と分離させた後に、GaN膜3(GaNウエハ)の裏面を研磨することにより、段差を容易に除去することができる。そして、このような裏面研磨工程においても、GaN膜3の周辺部分には、サファイア基板1の側面からエピタキシャル成長した部分が存在しないので、機械的ストレスによるGaN膜3(GaNウエハ)の割れはほとんど生じることがなく、大面積のGaNウエハを再現性よく得ることができる。
【0046】
一方、閉環状のSiO2 からなる保護膜2の閉環状部2aの環幅d1は、GaN膜3のうち保護膜2の上面に沿ってラテラル成長する部分がウエハの外周端に達しない程度の環幅であることが好ましい。GaN膜3のうちラテラル成長した部分がウエハの側面にまでまわり込むと、GaN膜3とサファイア基板1との分離や、GaN膜3の裏面の研磨に手間を要するおそれがあるからである。
【0047】
ただし、図1(b)に示す閉環状の保護膜2の平面部2aの環幅d1がほとんど0であってもよい。その場合、窒化物半導体膜のうちラテラル成長した部分がウエハの側面に沿って成長することになるが、その場合にも、GaN膜3とサファイア基板1との分離や、GaN膜3の裏面の研磨は可能だからである。
【0048】
−変形例1−
上記第1の実施形態では、サファイア基板1に対して同心円状にSiO2 からなる保護膜2を残したが、必ずしも同心円である必要はない。
【0049】
図2は、第1の実施形態の変形例1におけるサファイア基板1及び保護膜2の平面図及びII−II線における縦断面図である。図2は、変形例1の製造工程中の図1(b)に示す工程に相当する工程のみを示している。図2に示すように、この変形例1では、保護膜2の閉環状部2aがサファイア基板1の同心位置からオフセットしている。この場合にも、閉環状部2aの環幅の最小値dmin が、GaN膜3のうち保護膜2の上面に沿ってラテラル成長する部分がウエハの外周端に達しない程度の環幅であることが好ましい。第1の実施形態と同じ理由による。
【0050】
−変形例2−
上記第1の実施形態では、ほぼ円形のサファイア基板1の上にほぼ円形のGaN膜3を形成する場合について説明したが、サファイア基板1ならびにGaN膜3の形状は任意に選ぶことができる。
【0051】
図3は、第1の実施形態の変形例2におけるサファイア基板1及び保護膜2の平面図及びIII−III線における縦断面図である。図3は、変形例2の製造工程中の図1(b)に示す工程に相当する工程のみを示している。図3に示すように、この変形例2では、サファイア基板1がほぼ円形であるのに対し、保護膜2の閉環状部2aの内周部が矩形である。したがって、ほぼ円形のサファイア基板1の上に矩形のGaN膜がエピタキシャル成長することになる。この場合にも、閉環状部2aの環幅の最小値dmin が、GaN膜3のうち保護膜2の上面に沿ってラテラル成長する部分がウエハの外周端に達しない程度の環幅であることが好ましい。第1の実施形態と同じ理由による。
【0052】
−変形例3−
図4は、第1の実施形態の変形例3におけるサファイア基板1及び保護膜2の平面図及びIV−IV線における縦断面図である。図4は、変形例3の製造工程中の図1(b)に示す工程に相当する工程のみを示している。図4に示すように、この変形例3では、サファイア基板1が矩形で、保護膜2の閉環状部2aの内周部も矩形である。したがって、矩形のサファイア基板1の上に矩形のGaN膜がエピタキシャル成長することになる。この場合にも、閉環状部2aの環幅d1が、GaN膜3のうち保護膜2の上面に沿ってラテラル成長する部分がウエハの外周端に達しない程度の環幅であることが好ましい。第1の実施形態と同じ理由による。
【0053】
−変形例4−
図15(a)〜(d)は、本発明の第1の実施形態の変形例4における化合物半導体ウエハの製造方法を示す縦断面図である。
【0054】
まず、図15(a)に示す工程で、直径約50.8mm,厚さ約300μmのサファイア基板1(サファイアウエハ)のコーナー部を例えばダイヤモンド砥石を用いて研削して、例えば幅2mm,深さ1μmの切り欠き部1xを形成する。
【0055】
次に、図15(b)に示す工程で、サファイア基板1の表面上に、CVDにより、厚さ約1.1μmのSiO2 膜2xを形成する。このとき、SiO2 膜2xは、サファイア基板1(切り欠き部1xを含む)の上面及び側面を覆っている。
【0056】
次に、図15(c)に示す工程で、サファイア基板1の上面が露出するまでCMP(化学機械的研磨)を行なって、SiO2 膜2x及びサファイア基板1の上面を平坦化する。これにより、SiO2 膜2xのうちサファイア基板1の切り欠き部1xを覆う環幅2mmの閉環状部2aと、サファイア基板1の側面を覆う側面部2bとからなる保護膜2を形成する。
【0057】
次に、図15(d)に示す工程で、第1の実施形態と同様の手順及び条件で、サファイア基板1の上面のうち露出している部分の上に、厚さ約300μmのGaN膜3をエピタキシャル成長させる。その際、GaN結晶は、保護膜2の上面上に沿って側方にもラテラル成長する。したがって、GaN膜3の直径は、保護膜2の閉環状部2aの内径(本実施形態では、約46mm)よりも大きくなる。
【0058】
次に、ウエハをHVPE装置の反応炉から取り出し、第1の実施形態と同じ手順及び条件で、レーザ光のビームをサファイア基板1の裏面からGaN膜3に照射する。そして、レーザ光のビームをウエハ全面に亘って走査することにより、第1の実施形態と同様に、サファイア基板1と分離したフリースタンディングのGaN膜3(GaNウエハ)が得られる。
【0059】
本変形例では、サファイア基板1の外周部に予め切り欠き部1xを形成しておいて、その後、SiO2 膜の堆積及びCMPによってサファイア基板1の切り欠き部1x及び側面を覆う閉環状の保護膜2を形成しておいて、保護膜2を残した状態で、サファイア基板1のうち保護膜2によって覆われていない領域の上に窒化物半導体膜であるGaN膜3をエピタキシャル成長させている。したがって、サファイア基板1の側面の上には、GaN結晶は成長しないので、GaN膜3のうちサファイア基板1および保護膜2に接している裏面部全体を確実に分解することができる。よって、第1の実施形態と同様に、GaN膜3とサファイア基板1とを円滑に互いに分離させることができ、フリースタンディングのGaNウエハ(窒化物半導体ウエハ)を再現性よく得ることができる。
【0060】
この変形例においては、特に、GaN膜3の裏面を研磨しなくても、裏面がほぼ平坦なフリースタンディングのGaNウエハを得ることができるという利点がある。
【0061】
また、GaN膜3とサファイア基板1とを分離した後、ごく短時間のCMPを行なうだけで、保護膜2付きのサファイア基板1を再利用することができるという利点がある。
【0062】
−変形例5−
図16(a)〜(c)は、本発明の第1の実施形態の変形例5における化合物半導体ウエハの製造方法を示す縦断面図である。
【0063】
まず、図16(a)に示す工程で、直径約50.8mm,厚さ約300μmのサファイア基板1(サファイアウエハ)の表面上に、CVDにより、厚さ約1μmのSiO2 膜2xを形成する。このとき、SiO2 膜2xは、サファイア基板1の上面及び側面を覆っている。
【0064】
次に、図16(b)に示す工程で、サファイア基板1の上面が露出するまでCMP(化学機械的研磨)を行なって、SiO2 膜2x及びサファイア基板1の上面を平坦化する。これにより、サファイア基板1の側面を覆う環幅約1μmの保護膜2を形成する。
【0065】
次に、図16(c)に示す工程で、第1の実施形態と同様の手順及び条件で、サファイア基板1の上面のうち露出している部分の上に、厚さ約300μmのGaN膜3をエピタキシャル成長させる。その際、GaN結晶は、保護膜2の上面上に沿って側方にもラテラル成長する。したがって、GaN膜3の直径は、サファイア基板1の外径(本実施形態では、約50.8mm)よりも大きくなる。
【0066】
次に、ウエハをHVPE装置の反応炉から取り出し、第1の実施形態と同じ手順及び条件で、レーザ光のビームをサファイア基板1の裏面からGaN膜3に照射する。そして、レーザ光のビームをウエハ全面に亘って走査することにより、第1の実施形態と同様に、サファイア基板1と分離したフリースタンディングのGaN膜3(GaNウエハ)が得られる。
【0067】
本変形例では、SiO2 膜の堆積及びCMPによってサファイア基板1の側面のみを覆う閉環状の保護膜2を形成しておいて、保護膜2を残した状態で、サファイア基板1のうち保護膜2によって覆われていない領域の上に窒化物半導体膜であるGaN膜3をエピタキシャル成長させている。したがって、サファイア基板1の側面の上には、GaN結晶は成長しないので、GaN膜3のうちサファイア基板1および保護膜2に接している裏面部全体を確実に分解することができる。よって、第1の実施形態と同様に、GaN膜3とサファイア基板1とを円滑に互いに分離させることができ、フリースタンディングのGaNウエハ(窒化物半導体ウエハ)を再現性よく得ることができる。
【0068】
また、この変形例においては、変形例4と同様に、特に、GaN膜3の裏面を研磨しなくても、裏面がほぼ平坦なフリースタンディングのGaNウエハを得ることができるという利点がある。
【0069】
また、GaN膜3とサファイア基板1とを分離した後、ごく短時間のCMPを行なうだけで、保護膜2付きのサファイア基板1を再利用することができるという利点がある。
【0070】
ただし、変形例4の場合には、保護膜2の厚みを厚くしなくても、保護膜の幅を厚く(上記変形例4では、約2mm)確保することができるので、変形例5に比べて、サファイア基板1の側面付近におけるエピタキシャル成長条件の変動の影響がさらに少ない良質の化合物半導体ウエハを得らることができる。
【0071】
(第2の実施形態)
上記第1の実施形態及び各変形例においては、図1(b)に示す工程で、保護膜2の閉環状部2aの内側はすべて開口されており、サファイア基板1のうち閉環状部2aの内側に位置する部分はすべて露出されている。しかし、本発明の製造方法は、必ずしもかかる第1の実施形態及び各変形例の方法に限定されるものではない。
【0072】
図5(a)〜(c)は、本発明の第2の実施形態における化合物半導体ウエハの製造工程を示す断面図である。本実施形態の説明においては、平面図の図示を省略する。
【0073】
まず、図5(a)に示す工程で、直径約50.8mm,厚さ約300μmのサファイア基板1(サファイアウエハ)の表面上に、CVDにより、厚さ約100nmのSiO2 膜11xを形成する。このとき、SiO2 膜11xは、サファイア基板1の上面及び側面を覆っている。
【0074】
次に、図5(b)に示す工程で、フォトリソグラフィー及びドライエッチングによりSiO2 膜11xをパターニングして、SiO2 膜11xのうちサファイア基板1の上面の一部を覆う上面部11aと、サファイア基板1の側面を覆う側面部11bとからなる保護膜11を形成する。このとき、上面部11aは、第1の実施形態と同じ閉環状部を有するとともに、閉環状部の内側においてもサファイア基板1の上面をほぼ覆っている。そして、保護膜11の上面部11aには、約10μmの間隔で直径約2μmの孔12が2次元的に設けられている。
【0075】
次に、図5(c)に示す工程で、保護膜11が付設されたサファイア基板1を、HVPE装置の反応炉にセットし、サファイア基板1を約1000℃に加熱した状態で、反応炉の上流側から、Ga金属とHClガスとによって生成されたGaClガスと、アンモニアガス(NH3 )とを原料ガスとして供給し、窒素ガス(N2 )をキャリアガスとして供給する。これにより、約7.5時間で、サファイア基板1の上面のうち露出している部分の上に、厚さ約300μmのGaN膜3がエピタキシャル成長する。このとき、GaN結晶は、各孔12内を上方にエピタキシャル成長して保護膜11の上面に達すると、保護膜11の上面上に沿って側方にもラテラル成長する。そして、各孔12の上方においてラテラル成長したGaN結晶同士がやがて合体して、連続的なGaN膜3が形成される。
【0076】
このとき、GaN膜3には、サファイア基板1との格子不整合などによってある程度の転位などの欠陥が生じる。そして、GaN膜3のうち孔12の上方に縦方向にエピタキシャル成長する部分には、転位などの欠陥が伝搬するが、GaN膜3のうち保護膜11の上方に位置する部分はラテラル成長によって形成されているので、転位などの欠陥はほとんど伝搬しておらず、高い結晶性を有している。
【0077】
その後の工程の図示は省略するが、第1の実施形態と同様に、ウエハをHVPE装置の反応炉から取り出し、波長355nmのNd/YAGレーザの3倍高調波を用いたレーザ光のビームをサファイア基板1の裏面からGaN膜3に照射し、レーザ光のビームをウエハ全面に亘って走査することにより、サファイア基板1と分離したフリースタンディングのGaN膜3(GaNウエハ)を得る。このときの条件は、第1の実施形態で説明したとおりである。
【0078】
本実施形態によれば、基本的には第1の実施形態と同じ作用効果を発揮することができる。加えて、保護膜11によってサファイア基板1の上面の大部分を覆った状態で、保護膜11の開口部からGaN結晶をエピタキシャル成長させた後、保護膜11の上面上に沿ってGaN結晶をラテラル成長させることで、GaN膜3を形成しているので、保護膜11上には転位などの欠陥の伝搬のほとんどない良質の結晶層を形成することができる。よって、GaN膜3全体の欠陥密度を低減することができる。
【0079】
(第3の実施形態)
上記第1の実施形態では、SiO2 からなる保護膜2によってサファイア基板1の外周部を覆っているが、保護膜2がサファイア基板1の外周部や側面を覆っている必要はない。
【0080】
図6(a)〜(c)は、本発明の第3の実施形態における化合物半導体ウエハの製造工程を示す断面図である。本実施形態の説明においては、平面図の図示を省略する。
【0081】
まず、図6(a)に示す工程で、直径約50.8mm,厚さ約300μmのサファイア基板1(サファイアウエハ)の表面上に、CVDにより、厚さ約100nmのSiO2 膜15xを形成する。このとき、SiO2 膜15xは、サファイア基板1の上面及び側面を覆っている。
【0082】
次に、図6(b)に示す工程で、フォトリソグラフィー及びドライエッチングによりSiO2 膜15xをパターニングして、SiO2 膜15xのうちサファイア基板1の上面の一部を覆う環幅d3の閉環状の保護膜15を形成する。このとき、SiO2 膜15xのうちサファイア基板1の側面及び側面に隣接する外周部は除去される。
【0083】
次に、図6(c)に示す工程で、保護膜15が付設されたサファイア基板1を、HVPE装置の反応炉にセットし、サファイア基板1を約1000℃に加熱した状態で、反応炉の上流側から、Ga金属とHClガスとによって生成されたGaClガスと、アンモニアガス(NH3 )とを原料ガスとして供給し、窒素ガス(N2 )をキャリアガスとして供給する。これにより、約7.5時間で、サファイア基板1の上面のうち露出している部分の上に、厚さ約300μmのGaN膜3がエピタキシャル成長する。このとき、サファイア基板1の上面のうち保護膜15の内側に位置する部分からは下地基板として利用するGaN膜3が成長し、サファイア基板1の上面のうち保護膜15の外側に位置する部分及び側面からは、利用しない部分であるGaN膜3’が成長する。そして、各GaN膜3,3’の厚みが保護膜15の厚みを越えると、保護膜15の上面に沿ってラテラル成長する。そして、保護膜15の外周部と内周部とから個別にラテラル成長するGaN膜3,3’が互いに接しないうちにエピタキシャル成長を停止する。
【0084】
その後の工程の図示は省略するが、第1の実施形態と同様に、ウエハをHVPE装置の反応炉から取り出し、波長355nmのNd/YAGレーザの3倍高調波を用いたレーザ光のビームをサファイア基板1の裏面からGaN膜3に照射し、レーザ光のビームをウエハ全面に亘って走査することにより、サファイア基板1と分離したフリースタンディングのGaN膜3(GaNウエハ)を得る。このときの条件は、第1の実施形態で説明したとおりである。
【0085】
以上の説明では、レーザ光の照射によりサファイア基板1を分離したが、本発明におけるサファイア基板1を除去する方法は、上記実施形態に限定されるものではなく、研磨による除去方法を用いることができる。また、サファイア基板の代わりにSi基板やGaAs基板を用いた場合には、エッチングによる除去方法を用いることができる。
【0086】
本実施形態においても、保護膜15の環幅d3はGaN膜3の膜厚よりも大きいことが必要である。
【0087】
本実施形態においては、サファイア基板1の径よりも小さい外径を有する保護膜15を形成し、2つのGaN膜3,3’を個別に設けて、保護膜15の内方のGaN膜3のみをフリースタンディングのGaNウエハとして用いるようにしている。したがって、本実施形態においても、保護膜15を用いることにより、第1の実施形態の効果が得られる。
【0088】
それに加えて、本実施形態においては、特に、サファイア基板1を研磨によって除去する手法を採用するときに、以下のような格別の効果が得られる。すなわち、サファイア基板1の研磨の際に、保護膜15の外側に形成されたGaN膜3’の存在により、保護膜15の内方に形成されたGaN膜3に印加される機械的ストレスが相対的に弱くなる。したがって、フリースタンディングのGaNウエハであるGaN膜3における割れの発生が抑制される。
【0089】
上記第1〜第3の実施形態(変形例を含む)においては、GaN膜3のエピタキシャル成長を妨げるための保護膜として、SiO2 膜を用いたが、本発明の保護膜を構成する材料は上記各実施形態に限定されるものではない。SiO2 膜(シリコン酸化膜)以外に、シリコン窒化膜(SiN膜),シリコン酸窒化膜(SiON膜),リフラクトリ金属膜(W膜,Mo膜,Ta膜,Co膜,Ti膜など)などを用いることができる。
【0090】
また、本発明によって製造されるフリースタンディングウエハの大きさについては、上記第1〜第3の実施形態(変形例を含む)おける大きさに限定されるものではないが、ウエハの大きさが大きくなるにつれて従来技術と比較してより顕著な効果が得られる。とりわけ、従来の方法では約5mm角以上の大きさのフリースタンディングウエハを再現性よく得ることが困難であったが、本発明による技術を用いることにより、再現性よくフリースタンディングウエハを得ることができる。
【0091】
(第4の実施形態)
図7(a)〜(e)は、本発明の第4の実施形態における化合物半導体ウエハの製造方法を示す縦断面図及び平面図である。なお、図7(a)〜(e)において、サファイア基板及びGaN膜は円形で図示されているが、一部に、ウエハの結晶方位を示すいわゆるオリフラ(オリエンテーションフラット)が設けられているのが一般的である。その場合にも、本実施形態における作用効果には変わりがないので、以下の説明においては、「円形」とは、オリフラがある場合をも含むものとする。
【0092】
まず、図7(a)に示す工程で、直径約50.8mm,厚さ約300μmのサファイア基板1(サファイアウエハ)を準備する。そして、図7(b)に示す工程で、サファイア基板1を、HVPE装置の反応炉にセットし、サファイア基板1を約1000℃に加熱した状態で、反応炉の上流側から、Ga金属とHClガスとによって生成されたGaClガスと、アンモニアガス(NH3 )とを原料ガスとして供給し、窒素ガス(N2 )をキャリアガスとして供給する。これにより、約7.5時間で、サファイア基板1の表面上に、厚さ約300μmのGaN膜3xがエピタキシャル成長する。このとき、GaN膜3xは、サファイア基板1の上面を覆う部分3aとサファイア基板1の側面を覆う部分3bとを有している。
【0093】
次に、図7(c)に示す工程で、ウエハをHVPE装置の反応炉から取り出し、ウエハの外周部を研磨して、GaN膜3xの外周部を除去するとともに、サファイア基板1の外周部のある深さまで掘り下げる。これにより、サファイア基板1の外周部が段付き形状になり、GaN膜3xは、サファイア基板1の上面の上にもに位置するGaN膜3と、サファイア基板1の側面上のみに位置するGaN膜3’とに分離される。
【0094】
次に、図7(d)に示す工程で、波長355nmのNd/YAGレーザの3倍高調波を用いたレーザ光のビームをサファイア基板1の裏面からGaN膜3に照射する。GaNの吸収端波長は約360〜370nmであり、レーザ光の波長よりも長いため、GaNはレーザ光を吸収し発熱する。レーザ光のエネルギー密度が十分大きくすれば、この発熱によってGaN膜3のうちサファイア基板1に接する部分,つまり裏面部が界面近傍で分解される。本実施形態においては、レーザ光のエネルギー密度が概ね0.4J/cm2 以上のときにこのような現象を確認することができた。
【0095】
そして、このような条件でレーザ光のビームをウエハ全面に亘って走査することにより、図7(e)に示すように、サファイア基板1と分離したフリースタンディングのGaN膜3(GaNウエハ)が得られる。
【0096】
図8は、図7(c)に示す研磨工程を概略的に示す斜視図である。同図に示すように、研磨装置は、ほぼ垂直方向の回転軸を有する回転ステージ51と、回転ステージ51の回転軸とほぼ90度の角度をなす回転軸を有する研磨板52とを備えている。そして、ウエハを回転ステージ51に固定し、高速回転する研磨板52をウエハの外周部に押し当てる。この状態で、回転ステージ51をゆっくりと回転させることにより、GaN膜3xの外周部を除去して、個別のGaN膜3,3’に分離させる。
【0097】
以上の説明では、レーザ光の照射によりサファイア基板1を分離したが、本発明におけるサファイア基板1を除去する方法は、上記実施形態に限定されるものではなく、研磨による除去方法を用いることができる。また、サファイア基板の代わりにSi基板やGaAs基板を用いた場合には、エッチングによる除去方法を用いることができる。
【0098】
本実施形態においても、上記第3の実施形態と同じ効果を発揮することができる。すなわち、第1の実施形態の効果に加えて、サファイア基板1を研磨によって基板を分離する場合には、サファイア基板1の側面上に形成されたGaN膜3’の存在により、サファイア基板1の上面上に形成されたGaN膜3に印加される機械的ストレスが相対的に弱くなる。したがって、フリースタンディングのGaNウエハであるGaN膜3における割れの発生が抑制される。
【0099】
(第5の実施形態)
図9(a)〜(c)は、本発明の第5の実施形態における化合物半導体ウエハの製造方法を示す断面図である。本実施形態においては、ウエハの平面図の図示は省略する。
【0100】
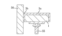
まず、図9(a)に示す工程で、直径約50.8mm,厚さ約300μmのサファイア基板1(サファイアウエハ)を準備する。そして、サファイア基板1を、HVPE装置の反応炉にセットし、サファイア基板1を約1000℃に加熱した状態で、反応炉の上流側から、Ga金属とHClガスとによって生成されたGaClガスと、アンモニアガス(NH3 )とを原料ガスとして供給し、窒素ガス(N2 )をキャリアガスとして供給する。これにより、約7.5時間でサファイア基板1の表面上に、厚さ約300μmのGaN膜3xがエピタキシャル成長する。このとき、GaN膜3xは、サファイア基板1の上面を覆う部分3aとサファイア基板1の側面を覆う部分3bとを有している。
【0101】
次に、図9(b)に示す工程で、ウエハをHVPE装置の反応炉から取り出し、ウエハの外周部を研磨して、GaN膜3xの外周部及び側面部を除去するとともに、サファイア基板1の外周部も除去する。これにより、サファイア基板1の上面上に位置するGaN膜3のみが残存することになる。
【0102】
次に、図9(c)に示す工程で、サファイア基板1の裏面からGaN膜3にNd/YAGレーザの3次高調波(波長355nm)を照射する。Nd/YAGレーザのパルス幅は5ns、光強度300mJ/cm2 、ビーム径は7mmである。また、Nd/YAGレーザのパルス幅は5nsと非常に短いので、レーザ光はGaN膜3のサファイア基板1との界面のごく近傍の領域に局所的に吸収される。レーザ光のエネルギー密度が十分大きくすれば、この発熱によってGaN膜3のうちサファイア基板1に接する部分,つまり裏面部が界面近傍で分解される。本実施形態においては、レーザ光のエネルギー密度が概ね0.4J/cm2 以上のときにこのような現象を確認することができた。
【0103】
そして、このような条件でレーザ光のビームをウエハ全面に亘って走査することにより、サファイア基板1と分離したフリースタンディングのGaN膜3(GaNウエハ)が得られる。
【0104】
図10は、図9(b)に示す研磨工程を概略的に示す斜視図である。同図に示すように、研磨装置は、ほぼ垂直方向の回転軸を有する回転ステージ55と、研磨板56とを備えている。研磨板56としては、例えばダイヤモンド砥石が用いられる。そして、ウエハを回転ステージ55に固定し、研磨板56をウエハの外周部に押し当てる。この状態で、回転ステージ55をゆっくりと回転させることにより、GaN膜3x及びサファイア基板1の外周部を除去する。次工程で行なわれるレーザリフトオフ工程で、GaN膜のクラックや割れを防ぐには、GaN膜3xのうちサファイア基板1の側面上に位置する部分3bのみを除去すれば十分であるが、本実施形態のようにサファイア基板1の側面をもある程度研磨してもよい。ただし、サファイア基板1を除去することなく、GaN膜3x中の部分3bのみを除去することがより好ましい。
【0105】
本実施形態においても、上記第1の実施形態と同じ効果を発揮することができる。さらに、第1の実施形態の効果に加えて、フリースタンディングウエハであるGaN膜3の裏面がほぼ平坦であるので、第1の実施形態のごとく裏面を研磨する必要がないという利点がある。
【0106】
加えて、最終的にGaNウエハであるGaN膜3の平面寸法は、サファイア基板1の平面寸法とほとんど変わらないという効果が得られる。すなわち、サファイア基板1の大きさを選択することで、任意の大きさのGaNウエハを得ることが可能となる。
【0107】
(第6の実施形態)
図11(a)〜(d)は、本発明の第6の実施形態における化合物半導体ウエハの製造方法を示す断面図である。本実施形態においては、ウエハの平面図の図示は省略する。
【0108】
まず、図11(a)に示す工程で、直径約50.8mm,厚さ約300μmのGaAs基板5(GaAsウエハ)を準備する。そして、GaAs基板5を、HVPE装置の反応炉にセットし、GaAs基板5を約1000℃に加熱した状態で、反応炉の上流側から、Ga金属とHClガスとによって生成されたGaClガスと、アンモニアガス(NH3 )とを原料ガスとして供給し、窒素ガス(N2 )をキャリアガスとして供給する。これにより、約5時間でGaAs基板5の表面上に、厚さ約200μmのGaN膜3xを形成する。このとき、GaN膜3xは、GaAs基板5の上面を覆う部分3aとGaAs基板5の側面を覆う部分3bとを有している。そして、GaN膜3xのうちGaAs基板5の側面上に位置する部分3bの膜厚も、GaN膜3xのうちGaAs基板5の上面上に位置する部分3aの膜厚と同程度である。
【0109】
次に、図11(b)に示す工程で、ウエハをHVPE装置の反応炉から取り出し、ウエハの外周部を研磨して、GaN膜3xの外周部及び側面部を除去するとともに、GaAs基板5の外周部も除去する。これにより、GaAs基板5の上面上に位置するGaN膜3のみが残存することになる。このとき、本実施形態のようにGaAs基板5の側面をもある程度研磨してもよいが、GaAs基板5を除去することなく、GaN膜3x中の部分3bのみを除去することがより好ましい。
【0110】
次に、図11(c)に示す工程で、GaAs基板5を研磨によって除去する。これにより、図11(d)に示すように、フリースタンディングのGaNウエハであるGaN膜3が得られる。このとき、研磨剤として、ダイヤモンド、SiC等の微粉末を用いることが好ましい。最終仕上げの研磨剤の粒径を細かくすれば、フリースタンディングウエハであるGaN膜3の裏面を平坦かつ鏡面にすることもできる。
【0111】
なお、GaAs基板5に代えて、サファイア基板,SiC基板,ダイヤモンド基板などを用いることができる。ただし、GaAs基板やSi基板の場合には、研磨ではなく、エッチングを用いて除去することも可能である。
【0112】
本実施形態においても、上記第1の実施形態と同じ効果を発揮することができる。さらに、第1の実施形態の効果に加えて、最終的にGaNウエハであるGaN膜3の平面寸法は、GaAs基板5の平面寸法とほとんど変わらないという効果が得られる。すなわち、GaAs基板5の大きさを選択することで、任意の大きさのGaNウエハを得ることが可能となる。
【0113】
(第7の実施形態)
図12(a)〜(c)は、本発明の第7の実施形態における化合物半導体ウエハの製造方法を示す断面図である。本実施形態においては、ウエハの平面図の図示は省略する。
【0114】
まず、図12(a)に示す工程で、直径約50.8mm,厚さ約300μmのサファイア基板1(サファイアウエハ)を準備する。そして、サファイア基板1を、HVPE装置の反応炉にセットし、サファイア基板1を約1000℃に加熱した状態で、反応炉の上流側から、Ga金属とHClガスとによって生成されたGaClガスと、アンモニアガス(NH3 )とを原料ガスとして供給し、窒素ガス(N2 )をキャリアガスとして供給する。これにより、約5時間でサファイア基板1の表面上に、厚さ約200μmのGaN膜3xがエピタキシャル成長する。このとき、GaN膜3xは、サファイア基板1の上面を覆う部分3aとサファイア基板1の側面を覆う部分3bとを有している。
【0115】
次に、図12(b)に示す工程で、ウエハをHVPE装置の反応炉から取り出し、ウエハの外周部を閉環状に切断して、GaN膜3xの外周部及び側面部を除去するとともに、サファイア基板1の外周部も除去する。これにより、サファイア基板1の上面上に位置するGaN膜3のみが残存することになる。
【0116】
このとき、ウエハを切断する方法としては、へき開やダイヤモンドカッターを用いる方法が好ましい。ダイヤモンドカッターで切断を行なう場合には、多角形に切断する方法や円形に切断する方法がある。切断により除去する量は、大きすぎると、GaNウエハの面積が小さくなってしまうので、結晶性のよくない除去されるべき外周部の幅d4を、原料ガスの流速、圧力等を変化させて検討すると、最大で7.5mm程度であった。この幅d4は、反応管内における原料ガスの拡散過程から決まると考えられる。そこで、本実施形態の条件においては、切断により除去する外周部の幅d4は、7.5mm以下とするのが好ましい。ただし、ウエハの外径やガスの種類,流量などの条件によって、適正な幅d4が変わる可能性がある。
【0117】
次に、図12(c)に示す工程で、サファイア基板1の裏面からGaN膜3にNd/YAGレーザの3次高調波(波長355nm)を照射する。Nd/YAGレーザのパルス幅は5ns、光強度300mJ/cm2 、ビーム径は7mmである。また、Nd/YAGレーザのパルス幅は5nsと非常に短いので、レーザ光はGaN膜3のサファイア基板1との界面のごく近傍の領域に局所的に吸収される。レーザ光のエネルギー密度が十分大きくすれば、この発熱によってGaN膜3のうちサファイア基板1に接する部分,つまり裏面部が界面近傍で分解される。本実施形態においては、レーザ光のエネルギー密度が概ね0.4J/cm2 以上のときにこのような現象を確認することができた。
【0118】
そして、このような条件でレーザ光のビームをウエハ全面に亘って走査することにより、サファイア基板1と分離したフリースタンディングのGaN膜3(GaNウエハ)が得られる。
【0119】
本実施形態においても、第1の実施形態と同様の効果を発揮することができる。本実施形態においては、GaNウエハの面積が加工前のサファイア基板1の面積よりも小さくなるので、面積の減少を見込んでサファイア基板1をあらかじめ大きくしておくことにより、所望の大きさのフリースタンディングのGaNウエハを得ることができる。
【0120】
−実施例−
本実施例においては、上記第7の実施形態において製造されたGaNウエハ(GaN膜3)を用いて作成した発光ダイオードについて説明する。
【0121】
図14(a)〜(c)は、第7の実施形態の実施例における発光ダイオードの製造工程を示す断面図である。
【0122】
まず、図14(a)に示す工程で、有機金属気相成長装置を用いて、GaNウエハ20の上に厚み約4μmのn型GaN結晶膜21をエピタキシャル成長させる。成長温度は1030℃で、Ga原料としてはトリメチルガリウム、N原料としてはNH3 を用いる。また、ドナー不純物であるSiの原料にはSiH4 を、キャリアガスにはH2 を用いる。次に、キャリアガスをN2 に切り替え、成長温度を800℃に降温して、n型GaN結晶膜21の上に厚み約20nmのn型InGaN結晶膜22をエピタキシャル成長させる。Inの原料としてはトリメチルインジウムを用いる。その後、再び1020℃まで昇温し、厚み約800nmのp型GaN結晶膜23をエピタキシャル成長させる。アクセプタ不純物であるMgの原料には、シクロペンタジエニルマグネシウムを用いる。
【0123】
次に、図14(b)に示す工程で、p型GaN結晶膜23のエピタキシャル成長後、GaNウエハを、アニーリング装置で窒素雰囲気中、700℃で20分間アニーリングして、最上層のp型GaN結晶膜23をさらに低抵抗化する。
【0124】
次に、アニール後、オーミック電極として、GaNウエハ20の裏面上には、Ti/Alの多層構造の裏面電極24を、p型GaN結晶膜23の上には、Ni/Au電極25をそれぞれ形成する。
【0125】
その後、図14(c)に示す工程で、ウエハをカットして、ウエハを500μm角のチップ30に分割し、各チップ30を発光ダイオードとする。
【0126】
この発光ダイオードの特性を評価したところ、基板全面に対して、非常に良好な特性が得られた。
【0127】
従来の製造方法によって製造された化合物半導体ウエハ(GaNウエハ)では、基板(サファイア基板やGaAs基板など)の側面からの成長部分を含んでいることから、ウエハの外周部に形成された発光ダイオードにおいて良好な特性が得られなかった。また、従来の製造方法によって製造されたGaN膜(化合物半導体ウエハ)を用いると、プロセス中にGaN膜の外周部や側面部が欠けて、それがGaN膜の表面に付着するため、基板の外周部や側面上に形成されたGaN膜以外でもダイオードの特性が劣化した部分が見られた。
【0128】
これらの結果より、GaN膜のうち外周部を除去することにより、発光ダイオードや半導体レーザの歩留まりを向上させることができることがわかった。
【0129】
(その他の実施形態)
上記各実施形態において、サファイア基板1上に、低温緩衝層(図示せず)を形成した後、GaN膜3を形成してもよい。
【0130】
また、GaN膜を形成する際のキャリアガスとして、H2 や、N2 /H2 の混合ガスなどを用いてもよい。
【0131】
また、以上の各実施形態では、フリースタンディングのGaNウエハ(GaN膜3)を作製する場合について述べたが、本発明の化合物半導体ウエハの製造方法は、GaNウエハに限らず他の窒素を含む化合物半導体ウエハの製造にも適用することができ、それらの場合にも同様の効果を得ることができる。つまり、本発明は、Ga,Al,B,As,In,P及びSbのうちの少なくとも1つの元素とNとを組成に含む化合物半導体のウエハに適用することができる。その代表的なものとしては、一般式がBxAlyGazIn1-x-y-zN(0≦x≦1,0≦y≦1,0≦z≦1,0≦x+y+z≦1)で表される化合物半導体のウエハ、具体的には、AlNウエハ、AlGaNウエハ、InGaNウエハ、AlGaInNウエハ,BNウエハ、BAlNウエハ、BGaNウエハ等がある。
【0132】
また、化合物半導体ウエハを形成する下地となる基板として、上記各実施形態においては、サファイア基板又はGaAs基板を用いたが、サファイア基板,GaAs基板以外の基板であっても、窒素を含む化合物半導体膜のエピタキシャル成長が可能である限り、上記各実施形態と同様の効果を得ることができる。サファイア基板,GaAs基板以外の例としては、スピネル基板,Si基板,SiC基板等が挙げられる。また、これら基板の表面に予めGaN膜、AlGaN膜、AlN膜等の窒素を含む化合物半導体の薄膜を形成したものを用いてもよい。
【0133】
なお、レーザとしては、エネルギーがGaNのバンドギャップよりも大きいものを用い、Nd/YAGレーザの3次高調波の他にはエキシマKrFレーザ(波長248nm)等を用いることが好ましい。また、サファイア基板1以外に、スピネル基板を用いた場合にも、レーザ光を通過させることができるので、レーザ光がGaN膜3のみに吸収されることを利用した基板の分離が可能になる。
【0134】
なお、上記各実施形態及びその変形例においては、保護膜2としてSiO2 膜を用いたが、本発明の保護膜はこれに限定されるものではない。本発明の保護膜としては、SiO2 膜だけでなく、窒素を組成に含む化合物半導体膜のエピタキシャル成長を阻害する機能を有するものであれば、例えばAl23 膜,ZrO2 膜,MgO膜等の各種の酸化膜はじめ他の材料を用いることができる。特に、保護膜としては、レーザ光を透過させる透明性のあるものが好ましい。
【0135】
【発明の効果】
本発明の化合物半導体ウエハの製造方法によると、基板の上面からエピタキシャル成長させた化合物半導体膜のみをフリースタンディングウエハとして利用することができるので、クラック,欠けの少ない良質の化合物半導体ウエハを得ることができる。
【図面の簡単な説明】
【図1】(a)〜(e)は、本発明の第1の実施形態における化合物半導体ウエハの製造方法を示す縦断面図及び平面図である。
【図2】第1の実施形態の変形例1におけるサファイア基板及び保護膜の平面図及びII−II線における縦断面図である。
【図3】第1の実施形態の変形例2におけるサファイア基板及び保護膜の平面図及びIII−III線における縦断面図である。
【図4】第1の実施形態の変形例3におけるサファイア基板及び保護膜の平面図及びIV−IV線における縦断面図である。
【図5】(a)〜(c)は、本発明の第2の実施形態における化合物半導体ウエハの製造工程を示す断面図である。
【図6】(a)〜(c)は、本発明の第3の実施形態における化合物半導体ウエハの製造工程を示す断面図である。
【図7】(a)〜(e)は、本発明の第4の実施形態における化合物半導体ウエハの製造方法を示す縦断面図及び平面図である。
【図8】図7(c)に示す研磨工程を概略的に示す斜視図である。
【図9】(a)〜(c)は、本発明の第5の実施形態における化合物半導体ウエハの製造方法を示す断面図である。
【図10】図9(c)に示す研磨工程を概略的に示す斜視図である。
【図11】(a)〜(d)は、本発明の第6の実施形態における化合物半導体ウエハの製造方法を示す断面図である。
【図12】(a)〜(c)は、本発明の第7の実施形態における化合物半導体ウエハの製造方法を示す断面図である。
【図13】(a),(b)は、従来のフリースタンディングの窒化物半導体膜を形成する工程を示す断面図である。
【図14】(a)〜(c)は、第7の実施形態の実施例における発光ダイオードの製造工程を示す断面図である。
【図15】(a)〜(d)は、本発明の第1の実施形態の変形例4における化合物半導体ウエハの製造方法を示す縦断面図である。
【図16】(a)〜(c)は、本発明の第1の実施形態の変形例5における化合物半導体ウエハの製造方法を示す縦断面図である。
【符号の説明】
1 サファイア基板
2 保護膜
2x SiO2
2a 閉環状部
2b 側面部
3 GaN膜
5 GaAs基板
11 保護膜
11x SiO2
11a 上面部
11b 側面部
12 孔
15 保護膜
15x SiO2
15a 上面部
15b 側面部
51 回転ステ−ジ
52 研磨板
55 回転ステージ
56 研磨板

Claims (20)

  1. 基板の上面の一部を覆う閉環状の保護膜を形成する工程(a)と、
    上記工程(a)の後に、上記基板の上面及び側面のうち上記保護膜によって覆われていない領域の上に、窒素を組成に含む化合物半導体膜をエピタキシャル成長させる工程(b)と、
    上記工程(b)の後に、上記保護膜の内側に形成された上記化合物半導体膜を上記基板から分離する工程(c)とを含み、
    上記工程(a)で形成される保護膜は、上記工程(b)で形成される化合物半導体膜のエピタキシャル成長を阻害する機能を有するものであることを特徴とする化合物半導体ウエハの製造方法。
  2. 基板の上面及び側面のうちの一部を覆う閉環状の保護膜を形成する工程(a)と、
    上記工程(a)の後に、上記基板の上面及び側面のうち上記保護膜によって覆われていない領域の上に、窒素を組成に含む化合物半導体膜をエピタキシャル成長させる工程(b)と、
    上記工程(b)の後に、上記基板を除去する工程(c)とを含み、
    上記工程(a)で形成される保護膜は、上記工程(b)で形成される化合物半導体膜のエピタキシャル成長を阻害する機能を有するものであり、
    上記工程(a)では、少なくとも上記基板の側面全体を覆うように上記保護膜を形成することを特徴とする化合物半導体ウエハの製造方法。
  3. 請求項記載の化合物半導体ウエハの製造方法において、
    上記工程(a)では、上記保護膜の環幅の最小値が上記化合物半導体膜の膜厚よりも大きくなるように上記保護膜を形成することを特徴とする化合物半導体ウエハの製造方法。
  4. 請求項1〜のうちいずれか1つに記載の化合物半導体ウエハの製造方法において、
    上記保護膜は、シリコン酸化膜,シリコン窒化膜,シリコン酸窒化膜及びリフラクトリ金属膜のうちから選ばれるいずれか1つの膜によって構成されていることを特徴とする化合物半導体ウエハの製造方法。
  5. 請求項1〜のうちいずれか1つに記載の化合物半導体ウエハの製造方法において、
    上記工程(c)では、上記基板を研磨によって除去することを特徴とする化合物半導体ウエハの製造方法。
  6. 請求項1〜のうちいずれか1つに記載の化合物半導体ウエハの製造方法において、
    上記工程(b)では、上記基板の吸収端波長よりも長い吸収端波長を有する化合物半導体により上記化合物半導体膜を形成し、
    上記工程(c)では、上記基板側から上記基板の吸収端波長と上記化合物半導体膜の吸収端波長との中間の波長を有する光を照射することにより、上記化合物半導体膜の一部を分解して上記基板と上記化合物半導体膜とを分離させることを特徴とする化合物半導体ウエハの製造方法。
  7. 請求項1〜のうちいずれか1つに記載の化合物半導体ウエハの製造方法において、
    上記工程(c)では、上記基板をエッチングによって除去することを特徴とする化合物半導体ウエハの製造方法。
  8. 請求項1〜のうちいずれか1つに記載の化合物半導体ウエハの製造方法において、
    上記工程(c)の後に、上記化合物半導体膜の裏面を研磨することを特徴とする化合物半導体ウエハの製造方法。
  9. 請求項1〜のうちいずれか1つに記載の化合物半導体ウエハの製造方法において、
    上記工程(b)では、上記化合物半導体膜として、Ga,Al,B,As,In,P及びSbのうちの少なくとも1つの元素とNとを組成に含む化合物半導体膜を形成することを特徴とする化合物半導体ウエハの製造方法。
  10. 基板上に窒素を組成に含む化合物半導体膜をエピタキシャル成長させる工程(a)と、
    上記化合物半導体膜のうち少なくとも上記基板の側面上に位置する部分を除去する工程(b)と、
    上記工程(b)の後で、上記基板を除去する工程(c)と
    を含む化合物半導体ウエハの製造方法。
  11. 請求項10記載の化合物半導体ウエハの製造方法において、
    上記工程(b)では、上記化合物半導体膜のうち少なくとも上記基板の側面上に位置する部分を研磨により除去することを特徴とする化合物半導体ウエハの製造方法。
  12. 請求項10記載の化合物半導体ウエハの製造方法において、
    上記工程(b)では、上記基板及び化合物半導体膜のうち側面からある距離だけ内側に位置する部位を閉環状に切断していくことを特徴とする化合物半導体ウエハの製造方法。
  13. 請求項10記載の化合物半導体ウエハの製造方法において、
    上記工程(b)では、上記化合物半導体膜のうち側面からある距離だけ内側に位置する部位までの部分を除去することを特徴とする化合物半導体ウエハの製造方法。
  14. 請求項1013のうちいずれか1つに記載の化合物半導体ウエハの製造方法において、
    上記工程(c)では、上記基板を研磨によって除去することを特徴とする化合物半導体ウエハの製造方法。
  15. 請求項1013のうちいずれか1つに記載の化合物半導体ウエハの製造方法において、
    上記工程(b)では、上記基板の吸収端波長よりも大きい吸収端波長を有する化合物半導体により上記化合物半導体膜を形成し、
    上記工程(c)では、上記基板側から上記基板の吸収端波長と上記化合物半導体膜の吸収端波長との中間の波長を有する光を照射することにより、上記化合物半導体膜の一部を分解して上記基板と上記化合物半導体膜とを分離させることを特徴とする化合物半導体ウエハの製造方法。
  16. 請求項1013のうちいずれか1つに記載の化合物半導体ウエハの製造方法において、
    上記工程(c)では、上記基板をエッチングによって除去することを特徴とする化合物半導体ウエハの製造方法。
  17. 請求項1016のうちいずれか1つに記載の化合物半導体ウエハの製造方法において、
    上記工程(c)の後に、上記化合物半導体膜の裏面を研磨することを特徴とする化合物半導体ウエハの製造方法。
  18. 請求項1017のうちいずれか1つに記載の化合物半導体ウエハの製造方法において、
    上記工程(a)では、上記化合物半導体膜として、Ga,Al,B,As,In,P及びSbのうちの少なくとも1つの元素とNとを組成に含む化合物半導体膜を形成することを特徴とする化合物半導体ウエハの製造方法。
  19. 基板の上面及び側面を覆う膜を堆積する工程(a)と、
    上記膜を少なくとも上記基板の上面が露出するまで除去することにより、上記基板及び上記膜の上面を平坦化して、上記基板の少なくとも側面を覆う閉環状の保護膜を形成する工程(b)と、
    上記工程(b)の後に、上記基板の上面のうち上記保護膜によって覆われていない領域の上に、窒素を組成に含む化合物半導体膜をエピタキシャル成長させる工程(c)と、
    上記工程(c)の後に、上記基板を除去する工程(d)とを含み、
    上記工程(b)で形成される保護膜は、上記工程(c)で形成される化合物半導体膜のエピタキシャル成長を阻害する機能を有するものであることを特徴とする化合物半導体ウエハの製造方法。
  20. 請求項19記載の化合物半導体ウエハの製造方法において、
    上記工程(a)の前に、上記基板の外周部をある深さまで除去して切り欠き部を形成する工程をさらに含み、
    上記工程(b)では、上記保護膜が上記基板の側面及び切り欠き部を覆うように上記保護膜を形成することを特徴とする化合物半導体ウエハの製造方法。
JP2002011855A 2001-01-29 2002-01-21 化合物半導体ウエハの製造方法 Expired - Fee Related JP4031648B2 (ja)

Priority Applications (1)

Application Number Priority Date Filing Date Title
JP2002011855A JP4031648B2 (ja) 2001-01-29 2002-01-21 化合物半導体ウエハの製造方法

Applications Claiming Priority (5)

Application Number Priority Date Filing Date Title
JP2001-19547 2001-01-29
JP2001-19551 2001-01-29
JP2001019547 2001-01-29
JP2001019551 2001-01-29
JP2002011855A JP4031648B2 (ja) 2001-01-29 2002-01-21 化合物半導体ウエハの製造方法

Publications (2)

Publication Number Publication Date
JP2002316893A JP2002316893A (ja) 2002-10-31
JP4031648B2 true JP4031648B2 (ja) 2008-01-09

Family

ID=27345834

Family Applications (1)

Application Number Title Priority Date Filing Date
JP2002011855A Expired - Fee Related JP4031648B2 (ja) 2001-01-29 2002-01-21 化合物半導体ウエハの製造方法

Country Status (1)

Country Link
JP (1) JP4031648B2 (ja)

Families Citing this family (21)

* Cited by examiner, † Cited by third party
Publication number Priority date Publication date Assignee Title
JP2003007616A (ja) * 2001-03-23 2003-01-10 Matsushita Electric Ind Co Ltd 半導体膜の製造方法
JP4587605B2 (ja) * 2001-06-19 2010-11-24 星和電機株式会社 窒化ガリウム系化合物半導体発光素子の製造方法及び発光ダイオードの製造方法
JP4075398B2 (ja) * 2002-02-15 2008-04-16 日亜化学工業株式会社 支持基板の剥離方法
JP5194334B2 (ja) 2004-05-18 2013-05-08 住友電気工業株式会社 Iii族窒化物半導体デバイスの製造方法
JP2006096588A (ja) * 2004-09-28 2006-04-13 Sumitomo Electric Ind Ltd 窒化ガリウム独立基板を製造する方法
JP4513480B2 (ja) * 2004-09-28 2010-07-28 住友電気工業株式会社 窒化ガリウム結晶体を製造する方法および窒化ガリウム基板を製造する方法
JP4801345B2 (ja) * 2004-12-10 2011-10-26 古河機械金属株式会社 レーザ剥離装置、レーザ剥離方法、iii族窒化物半導体自立基板の製造方法
JP5242587B2 (ja) * 2006-12-08 2013-07-24 サン−ゴバン クリストー エ デテクトゥール 結晶が基材端部上に成長しないように基板上にエピタキシャル成長させて窒化物単結晶を製造する方法
US7749325B2 (en) 2007-01-22 2010-07-06 Sumitomo Electric Industries, Ltd. Method of producing gallium nitride (GaN) independent substrate, method of producing GaN crystal body, and method of producing GaN substrate
JP4915282B2 (ja) * 2007-05-28 2012-04-11 三菱化学株式会社 Iii族窒化物半導体成長用の下地基板およびiii族窒化物半導体の成長方法
JP5601033B2 (ja) * 2010-05-28 2014-10-08 三菱化学株式会社 窒化物単結晶の製造方法及び窒化物単結晶
KR101178504B1 (ko) 2011-01-10 2012-09-07 주식회사루미지엔테크 기판 제조 방법
KR101207412B1 (ko) * 2011-06-20 2012-12-04 삼성코닝정밀소재 주식회사 질화갈륨 기판 및 그 제조방법
JP2012006830A (ja) * 2011-08-12 2012-01-12 Mitsubishi Chemicals Corp Iii族窒化物半導体成長用の下地基板およびiii族窒化物半導体の成長方法
JP5810907B2 (ja) * 2011-12-28 2015-11-11 日亜化学工業株式会社 基板の再生方法及び該再生方法を用いた窒化物半導体素子の製造方法
JP2013173652A (ja) * 2012-02-27 2013-09-05 Tokuyama Corp 自立基板の製造方法
JP2013227202A (ja) * 2012-03-30 2013-11-07 Mitsubishi Chemicals Corp 周期表第13族金属窒化物半導体結晶の製造方法、および、当該製造方法によって得られた周期表第13族金属窒化物半導体結晶を用いた半導体発光デバイス
KR101878754B1 (ko) * 2012-09-13 2018-07-17 삼성전자주식회사 대면적 갈륨 나이트라이드 기판 제조방법
DE102015118042A1 (de) * 2015-10-22 2017-04-27 Nexwafe Gmbh Verfahren und Vorrichtung zum Herstellen einer Halbleiterschicht
JP6661191B2 (ja) * 2015-12-18 2020-03-11 株式会社テンシックス 半導体基板の製造方法
JP2021145052A (ja) * 2020-03-12 2021-09-24 京セラ株式会社 半導体素子の製造方法

Also Published As

Publication number Publication date
JP2002316893A (ja) 2002-10-31

Similar Documents

Publication Publication Date Title
JP4031648B2 (ja) 化合物半導体ウエハの製造方法
US6649494B2 (en) Manufacturing method of compound semiconductor wafer
US6562701B2 (en) Method of manufacturing nitride semiconductor substrate
CN100573822C (zh) 衬底及其制备方法以及半导体器件及其制备方法
TW591699B (en) GaN single-crystal substrate and the manufacturing method thereof
JP3518455B2 (ja) 窒化物半導体基板の作製方法
US6589857B2 (en) Manufacturing method of semiconductor film
US6723165B2 (en) Method for fabricating Group III nitride semiconductor substrate
US20020043208A1 (en) Crystal growth method
JPH111399A (ja) 窒化ガリウム半導体単結晶基板の製造方法並びにその基板を用いた窒化ガリウムダイオード
JPH10321911A (ja) 単結晶シリコン上に化合物半導体のエピタキシヤル層を製造する方法及びそれにより製造された発光ダイオード
JP5979547B2 (ja) エピタキシャルウェハ及びその製造方法
CN113166971B (zh) 氮化物半导体基板的制造方法和氮化物半导体基板
CN101568671A (zh) GaN外延衬底、半导体器件以及制造GaN外延衬底和半导体器件的方法
CN108155278A (zh) 氮化物半导体模板的制造方法、氮化物半导体模板及氮化物半导体器件
JP2003007616A (ja) 半導体膜の製造方法
US20230343890A1 (en) Epitaxial wafer for ultraviolet light emitting device, method for producing metal bonded substrate for ultraviolet light emitting device, method for producing ultraviolet light emitting device, and method for producing ultraviolet light emitting device array
JP4595207B2 (ja) 窒化物半導体基板の製造方法
JP3803606B2 (ja) Iii族窒化物半導体基板の製造方法
CN107227490A (zh) Iii族氮化物半导体及其制造方法
KR100586940B1 (ko) 질화갈륨계 단결정 기판의 제조방법
JP3805673B2 (ja) 窒化物半導体基板の製造方法
TW200822190A (en) Method of manufacturing semiconductor device
JP4015849B2 (ja) 窒化物半導体基板の製造方法
EP1227176A2 (en) Manufacturing method of compound semiconductor wafer

Legal Events

Date Code Title Description
A621 Written request for application examination

Free format text: JAPANESE INTERMEDIATE CODE: A621

Effective date: 20041101

A977 Report on retrieval

Free format text: JAPANESE INTERMEDIATE CODE: A971007

Effective date: 20070222

A131 Notification of reasons for refusal

Free format text: JAPANESE INTERMEDIATE CODE: A131

Effective date: 20070306

A521 Written amendment

Free format text: JAPANESE INTERMEDIATE CODE: A523

Effective date: 20070427

TRDD Decision of grant or rejection written
A01 Written decision to grant a patent or to grant a registration (utility model)

Free format text: JAPANESE INTERMEDIATE CODE: A01

Effective date: 20070925

A61 First payment of annual fees (during grant procedure)

Free format text: JAPANESE INTERMEDIATE CODE: A61

Effective date: 20071019

R150 Certificate of patent or registration of utility model

Free format text: JAPANESE INTERMEDIATE CODE: R150

FPAY Renewal fee payment (event date is renewal date of database)

Free format text: PAYMENT UNTIL: 20101026

Year of fee payment: 3

FPAY Renewal fee payment (event date is renewal date of database)

Free format text: PAYMENT UNTIL: 20111026

Year of fee payment: 4

LAPS Cancellation because of no payment of annual fees