JP3919085B2 - 磁気ディスクカートリッジ - Google Patents

磁気ディスクカートリッジ Download PDF

Info

Publication number
JP3919085B2
JP3919085B2 JP2002080060A JP2002080060A JP3919085B2 JP 3919085 B2 JP3919085 B2 JP 3919085B2 JP 2002080060 A JP2002080060 A JP 2002080060A JP 2002080060 A JP2002080060 A JP 2002080060A JP 3919085 B2 JP3919085 B2 JP 3919085B2
Authority
JP
Japan
Prior art keywords
magnetic disk
shutter
housing
disk cartridge
lower shell
Prior art date
Legal status (The legal status is an assumption and is not a legal conclusion. Google has not performed a legal analysis and makes no representation as to the accuracy of the status listed.)
Expired - Fee Related
Application number
JP2002080060A
Other languages
English (en)
Other versions
JP2003257150A5 (ja
JP2003257150A (ja
Inventor
健吾 大石
Current Assignee (The listed assignees may be inaccurate. Google has not performed a legal analysis and makes no representation or warranty as to the accuracy of the list.)
Fujifilm Corp
Original Assignee
Fujifilm Corp
Priority date (The priority date is an assumption and is not a legal conclusion. Google has not performed a legal analysis and makes no representation as to the accuracy of the date listed.)
Filing date
Publication date
Application filed by Fujifilm Corp filed Critical Fujifilm Corp
Priority to JP2002080060A priority Critical patent/JP3919085B2/ja
Priority to US10/298,928 priority patent/US6922312B2/en
Publication of JP2003257150A publication Critical patent/JP2003257150A/ja
Publication of JP2003257150A5 publication Critical patent/JP2003257150A5/ja
Application granted granted Critical
Publication of JP3919085B2 publication Critical patent/JP3919085B2/ja
Anticipated expiration legal-status Critical
Expired - Fee Related legal-status Critical Current

Links

Images

Classifications

    • GPHYSICS
    • G11INFORMATION STORAGE
    • G11BINFORMATION STORAGE BASED ON RELATIVE MOVEMENT BETWEEN RECORD CARRIER AND TRANSDUCER
    • G11B23/00Record carriers not specific to the method of recording or reproducing; Accessories, e.g. containers, specially adapted for co-operation with the recording or reproducing apparatus ; Intermediate mediums; Apparatus or processes specially adapted for their manufacture
    • G11B23/02Containers; Storing means both adapted to cooperate with the recording or reproducing means
    • G11B23/03Containers for flat record carriers
    • G11B23/0326Assembling of containers
    • GPHYSICS
    • G11INFORMATION STORAGE
    • G11BINFORMATION STORAGE BASED ON RELATIVE MOVEMENT BETWEEN RECORD CARRIER AND TRANSDUCER
    • G11B23/00Record carriers not specific to the method of recording or reproducing; Accessories, e.g. containers, specially adapted for co-operation with the recording or reproducing apparatus ; Intermediate mediums; Apparatus or processes specially adapted for their manufacture
    • G11B23/02Containers; Storing means both adapted to cooperate with the recording or reproducing means
    • G11B23/03Containers for flat record carriers
    • G11B23/0301Details
    • G11B23/0308Shutters
    • GPHYSICS
    • G11INFORMATION STORAGE
    • G11BINFORMATION STORAGE BASED ON RELATIVE MOVEMENT BETWEEN RECORD CARRIER AND TRANSDUCER
    • G11B23/00Record carriers not specific to the method of recording or reproducing; Accessories, e.g. containers, specially adapted for co-operation with the recording or reproducing apparatus ; Intermediate mediums; Apparatus or processes specially adapted for their manufacture
    • G11B23/02Containers; Storing means both adapted to cooperate with the recording or reproducing means
    • G11B23/03Containers for flat record carriers
    • G11B23/0301Details
    • G11B23/0313Container cases
    • G11B23/0316Constructional details, e.g. shape

Landscapes

  • Magnetic Record Carriers (AREA)
  • Feeding And Guiding Record Carriers (AREA)

Description

【0001】
【発明の属する技術分野】
本発明は、デジタルスチルカメラ、デジタルビデオカメラ、ノートパソコン等に設けられたディスクドライブ等に対し交換自在に装填可能な小型の磁気ディスクカートリッジに関するものである。
【0002】
【従来の技術】
従来、デジタルスチルカメラ、デジタルビデオカメラ、ノートパソコン等の電子機器のカードスロットには、種々の記録メディアが挿抜可能に装填され、記録再生をするようになっている。このような記録媒体としては、半導体メモリタイプのもの、ハードディスク型のもの、光ディスク型のもの、フロッピー(登録商標)ディスクのような磁気ディスクの小型のもの等、各種のものが実用に供されている。
【0003】
【発明が解決しようとする課題】
この中では、半導体のメモリが取り扱いやすく、記録容量も適当に大きいので、最もポピュラーであるが、比較的価格が高い。したがって、これらのメモリを用いるデジタルカメラなどでは、撮影した画像データをパソコンなどに転送して保存し、その後データは削除し、記録媒体は繰返し使うのが一般的である。
【0004】
ハードディスク型のものとしては、340MBや1GBの容量を持つものが知られているが、これも価格が高く、データは他に転送して保存し、記録媒体は繰返し使うことになる。
【0005】
光ディスク型のものは大きさの割に記録容量が大きく、例えば35mm×41mm×11mmのサイズの中に256MBのデータを記録することができ、512MBの記録容量を持ったものも実現しようとしている。しかし、光ディスクは書込みに時間がかかるので記録速度が遅いという難点がある。
【0006】
一方、フロッピー(登録商標)ディスクのような磁気ディスクを50mm×55mm×2mm程度の小型のものとし、これをパソコン等のカードスロットに挿入できるサイズのディスクドライブに交換自在に装填可能としたものも知られているが、これは容量が40MBと小さく、カメラの画像を記録するという観点では容量不足であるし、大きさもデジタルカメラには向かない。
【0007】
近年、デジタルカメラが、その記録の簡便さ、撮像素子の開発による画質の向上、データの削除や転送の可能性や記録容量の大きさなど、パソコンが普及した社会の背景と相俟って、急速に広く普及しているが、記録媒体(以下、メディアという)が上述のように価格や容量の面で制限されているため、その使用の態様に制限がある。例えば、メディアが高価であるため、1台のカメラにメディアを何枚も持つということはしないで、データが一杯になったらパソコンに移して削除するなどして、1枚のメディアを繰返し使用するのが普通であることは上述の通りである。そのため、旅先で記録媒体が足りなくなることがあり、またデータを入れたメディアをそのまま保存したり、人にあげたりするというようなことができない。
【0008】
そこで、デジタルカメラで撮影したデータをそのまま保存したり、気軽に人にあげたりすることができるように、大容量で安価な小型のメディアの実現が望まれる。また、パソコンにおいても、データを入れて人に渡したりすることができる大容量で安価な小型のメディアの実現が望まれる。
【0009】
そのような要望に応え、デジタルカメラで撮影したデータやパソコンのデータをそのまま保存したり、気軽に人にあげたりすることができるような大容量で安価な小型のメディアとして、パソコンやデジタルカメラなどの電子機器に装填可能なカード型ディスクドライブと、そのディスクドライブに装填可能な磁気ディスクカートリッジとからなるメディアが考えられる。すなわち、そのような磁気ディスクカートリッジとして、開閉シャッターを備えたハウジングに高密度磁気記録が可能なフレキシブルな磁気ディスクを回転自在に収容し、例えば200MB以上の記録容量を備えた磁気ディスクカートリッジとすることが考られる。そのための高記録密度磁気記録媒体としては、金属蒸着法により金属薄膜を施したもの、スパッタリング法により金属薄膜を施したもの、あるいはバリウムフェライト粉末やメタル粉末(例えば強磁性金属粉末)を用いたものが採用できる。バリウムフェライト粉末を用いたものの例として、本出願人が出願した特願2001−312864号がある。
【0010】
「バリウムフェライト粉末を用いた高記録密度磁気記録媒体」とは、磁性層にバリウムフェライト粉末を含有した磁気ディスクであって、高記録密度の実現が可能な材料を用いたものであり、例えば、特願2001−205290号に開示された、非磁性支持体の少なくとも一方の面に、非磁性粉末及び結合剤を含む非磁性層と、六方晶系フェライト粉末である強磁性粉末及び結合剤を含む磁性層とをこの順に有する磁気記録媒体であって、非磁性層が平均粒径10〜30nmのカーボンブラックを前記非磁性粉末100質量部に対して10〜50質量部含有し、磁性層の厚さが0.2μm以下であり、電子線マイクロアナリシスによる強磁性粉末に起因する元素の平均強度aに対する強度の標準偏差bが0.03≦b/a≦0.4であり、かつ、磁性層の中心面平均粗さRaが5nm以下、10点平均粗さRzが40nm以下である磁気記録媒体である。この材料を用いた磁気ディスクに対しては、例えば高記録密度の可能なMRヘッド等の磁気ヘッドを用いて情報の記録再生を行う。
【0011】
上記メディアによれば、記録容量200MB以上、好ましくは500MB以上の高記録密度のメディアを実現することができ、これにより、例えば静止画であれば一枚約1MBとして、500枚記録させることができ、また動画であれば30分程度の映像コンテンツを記録できるようになる。したがってデジタルカメラで撮影した動画や、携帯電話で配信される動画等を記録することができ、コンテンツを使用する際のユーザーの利便性を向上させることができる。また、もちろんパソコンにおいても安価な大容量のデータ保存メディアとして便利に利用することができ、その利便性は大きい。
【0012】
なお、本明細書におけるディスクドライブの好ましい例として、一般にパソコンの場合は、図14(a)に示すように、パソコンに設けられたPCカード用のスロットに挿入されるカード2の受容部のソケット4に電気的に接続されて装填されるディスクドライブ6の外、例えば「click!(登録商標)」のような、PCカードに内蔵されるディスクドライブをも意味する。また、デジタルカメラ3などの場合には、図14(b)に示すように、カメラ3側の受容部5のソケットに電気的に接続されて装填されるディスクドライブ6である。したがって、このディスクドライブ6は極めて小型であり、例えば38mm〜55mmの長さと35mm〜51mmの幅と3mm〜5mmの厚さを有し、磁気ディスクカートリッジ8は、例えば25mm〜36mmの長さおよび幅と1mm〜3mmの厚さを有するものが挙げられる。
【0013】
そして、このような超小型の磁気ディスクカートリッジのハウジングを円盤状に形成し、コイン感覚で磁気記録メディアを取り扱うことが提案されている。すなわち、自動販売機に硬貨を投入するような気軽な感覚で、磁気記録メディアを取り扱うことで、利便性を向上させることが提案されている。
【0014】
ところで、このような超小型の磁気ディスクカートリッジは、超小型なるが故に組立性の点で難点がある。
【0015】
また、このような超小型の磁気ディスクカートリッジにおいて、上記カード型ディスクドライブの磁気ヘッドを磁気ディスクの表面にアクセスさせるための開口を開閉するシャッターが必要になるが、このような超小型の磁気ディスクカートリッジは、超小型なるが故に組付けが容易なシャッターの設計に困難を伴うものである。
【0016】
さらに、このような磁気ディスクカートリッジは大量に市場に供給される一方、これらの大量に供給された磁気ディスクカートリッジは、使用後に回収して、磁気ディスクを入れ替えて再生する等のことをも含むリサイクル処理が施されることが望まれており、磁気ディスクカートリッジに使用する素材の種類を少なくし、かつ、容易に部品を取り出せるようにしたいという要請がある。
【0017】
上述の事情に鑑み、本発明の第1の目的は、組立性に優れた磁気ディスクカートリッジを提供することにある。
【0018】
本発明の第2の目的は、組付けが容易なシャッターを備えた磁気ディスクカートリッジを提供することにある。
【0019】
本発明の第3の目的は、使用する素材の種類が少なく、かつ分解容易なハウジングを備えた磁気ディスクカートリッジを提供することにある。
【0020】
【課題を解決するための手段】
本願第1の発明は、ディスクドライブに装填可能に構成された磁気ディスクカートリッジであって、この磁気ディスクカートリッジは、そのハウジング内に磁気ディスクを回転自在に収容してなるものであり、このハウジングが、上記ディスクドライブの磁気ヘッドを磁気ディスクの表面にアクセスさせるための開口と、この開口を開閉するシャッターとを備えているとともに、上記ハウジングが、下シェルと、この下シェルの内側に上方から嵌合される上シェルとによって構成され、かつすべての構成要素が下シェル内に積上げ方式で組み付けられるように構成されていることを特徴とするものである。
【0021】
その場合、下シェル側のシャッターが下シェルの内側に配置されに内蔵され、上シェル側のシャッターが上シェルの外側に配置され、かつ上下のシャッターがハウジングの開口の前面側において互いに結合されて一体に開閉作動されるように構成されていることが好ましい。
【0022】
また、上記ハウジングは、上記磁気ディスクの輪郭に沿った円弧と、上記磁気ディスクの輪郭に沿った円に外接し、かつ互いに直交する2本の直線とからなる外縁形状を有することが好ましい。
【0023】
その場合、ハウジングの上記互いに直交する2本の直線に沿って直延びる二つの側壁のうちの一方の側壁は、この磁気ディスクカートリッジのディスクドライブへの挿入方向と直交し、他方の側壁は挿入方向と平行であり、かつ上記直線状に延びる二つの側壁によって構成されるコーナー部が、ディスクドライブへの挿入方向に関してトレーリング側の片隅に形成されていることが好ましい。さらに、上記直線状に延びる二つの側壁の外面は、これに隣接する、磁気ディスクの輪郭に沿った円弧を描く周壁の外周面の外接線よりも若干外方に張り出し、および/または、上記二つの側壁の上縁がハウジングの面板部の上面から突出していることが好ましい。
【0024】
なお、本発明(以下の発明においても同じ)においては、上記磁気ディスクが、バリウムフェライト粉末を用いた高記録密度磁気記録媒体であることが好ましい。
【0025】
本願第2の発明は、ディスクドライブに装填可能な磁気ディスクカートリッジであって、この磁気ディスクカートリッジは、ハウジング内に磁気ディスクを回転自在に収容してなるものであり、上記ハウジングが、下シェルと、この下シェルの内側に上方から嵌合される上シェルとによって構成され、かつカード型ディスクドライブの磁気ヘッドを上記磁気ディスクの表面にアクセスさせるための開口と、この開口を開閉するシャッターとを備え、
このシャッターが、下シェルの内面に配設される下側シャッターと、上シェルの外面に配設される上側シャッターとによって構成されているとともに、下側シャッターと上側シャッターとが、カートリッジ組立て時に圧入によって一体化され得る係着手段を備えていることを特徴とするものである。
【0026】
上下シャッターには、一体化後の上下方向の相対移動を阻止する外れ防止手段が設けられていることが好ましい。
【0027】
さらに、上下のシャッターが、ハウジングの開口を上下から閉塞する水平な扇状の主板部と、この主板部の円弧状の外縁に沿って略垂直に折り曲げられた垂直板部とをそれぞれ備え、上記係着手段および外れ防止手段が、双方の垂直板部に設けられていることが好ましい。
【0028】
本願第3の発明は、ディスクドライブに装填可能な磁気ディスクカートリッジであって、この磁気ディスクカートリッジは、ハウジング内に磁気ディスクを回転自在に収容してなるものであり、このハウジングが、上記ディスクドライブの磁気ヘッドを磁気ディスクの表面にアクセスさせるための開口と、この開口を開閉するシャッターとを備えているとともに、ハウジングの上面および側面を形成する金属素材からなる上シェルと、このハウジングの下面および側面を形成する金属素材からなる下シェルとを備え、上シェルの側面と下シェルの側面とが直接嵌合結合されて組み立てられることを特徴とするものである。
【0029】
上記「直接嵌合結合させる」とは、上シェルと下シェルとを弾性変形させたまま組み合わせて、上シェルの側面が下シェルを引き込むように、および下シェルの側面が上シェルを引き込むように上記弾性変形の反力を発生させることによって両者を結合させることを意味するものであり、この弾性変形は塑性変形を伴ったものであってもよい。なお、上記直接嵌合結合させた例としては、圧入やカシメ等が挙げられる。
【0030】
【発明の効果】
本願第1の発明によれば、上記ハウジングが、下シェルと、この下シェルの内側に上方から嵌合される上シェルとによって構成され、かつこの磁気ディスクカートリッジを構成するすべての構成要素が、下シェル内に積上げ方式で組み付けられるようになっていることにより、超小型でありながら組立性に優れたディスクカートリッジを得ることができる。
【0031】
また、このディスクカートリッジのハウジングが、磁気ディスクの輪郭に沿った円弧と、上記磁気ディスクの輪郭に沿った円に外接し、かつ互いに直交する2本の直線とからなる外縁形状を有する場合には、ディスクドライブに挿入する際、ディスクドライブに対して確実に所定の向きで位置決めすることができる。
【0032】
特に、上記ハウジングの互いに直交する2本の直線に沿って延びる二つの側壁の外面が、これに隣接する、磁気ディスクの輪郭に沿った円弧を描く周壁の外周面の外接線よりも若干外方に張り出し、および/または、上記二つの側壁の上縁がハウジングの面板部の上面から突出している場合、ディスクカートリッジを手で摘んだだけで、ディスクカートリッジの表裏およびディスクドライブに対する正しい挿入方向を識別することができるとともに、ディスクドライブ側のカートリッジ挿入用スロットの形状を上記二つの側壁の突出形状に一致させることにより、ディスクカートリッジの誤挿入も防止することができる。
【0033】
また、上記二つの側壁によって画成されるハウジングコーナー部が、磁気ディスクの外周から離れた位置にあるため、このコーナー部に、ハウジングを上下に貫通する位置決め基準孔を設けたり、あるいは、例えば光の反射、透過または特定波長の透過によって情報を読み取ることができる識別片を後から埋め込むこむこともでき、その場合、この識別片によって記録容量等を識別することができるから、ハウジングを共通にすることができるという利点もある。
【0034】
また、本願第2の発明にによれば、上記ハウジングが、下シェルと、この下シェルの内側に上方から嵌合される上シェルとによって構成され、かつ上記シャッターが、下シェルの内側に配設される下側シャッターと、上シェルの外側に配設される上側シャッターとによって構成されているとともに、下側シャッターと上側シャッターとが、カートリッジ組立て時に圧入によって一体化され得る係着手段を備えていることにより、上シェルを下シェルに嵌合させた後に、下シェル内の下側シャッターに上側シャッターを結合させることができるから、ハウジングに対するシャッターの組付けが極めて容易となる利点がある。
【0035】
本願第3の発明によれば、ハウジングの上面および側面を形成する金属素材からなる上シェルと、このハウジングの下面および側面を形成する金属素材からなる下シェルとを備え、上シェルの側面と下シェルの側面とが直接嵌合結合されて組み立てられているので、上記ハウジングを、使用する素材の種類が少なく、かつ分解容易なものとすることができる。これにより、磁気ディスクを入れ替えて磁気ディスクカートリッジを再生する等のことをも含むリサイクル処理をより容易に実施することができ資源を有効利用することができる。
【0036】
本発明による磁気ディスクカートリッジは、特にデジタルカメラに使用するのに適し、取扱いに便利なだけでなく、磁気ディスクであるため安価に製造することができ、記録済みのディスクカートリッジをそのまま保存したり、人にあげたりする使い方ができるようになる。
【0037】
【発明の実施の形態】
以下、本発明による磁気ディスクカートリッジの実施の形態を図面に基づいて説明する。
【0038】
図1は、図14(a)に示したものと同様のパソコンに設けられたPCカード用のスロットに挿入されるPCカード2の受容部のソケット4に電気的に接続されて装填されるディスクドライブ6と、このディスクドライブ6に挿入される本発明による磁気ディスクカートリッジを示している。このディスクカートリッジ10は、偏平なハウジング12内に、バリウムフェライト粉末を用いた高記録密度磁気記録媒体であることが好ましいフレキシブルな円盤状の磁気ディスク14を回転自在に収容してなり、ハウジング12は、ディスクドライブ6の磁気ヘッドを磁気ディスク14の表面にアクセスさせるための開口を開閉する回動式のシャッター35を備えるとともに、ハウジング12の上面および側面を形成する金属素材からなる上シェル30と、このハウジング12の下面および側面を形成する金属素材からなる下シェル20とを備え、上シェル30の側面である周壁30bと下シェル20の側面である側壁部21、22および周壁20bからなる側壁とが直接嵌合結合されて組み立てられたものである。なお、この磁気ディスクカートリッジ10は、磁気ディスク14の輪郭に沿った円と、互いに直角に交わる2本の上記円の外接線とからなる形状の外縁を有する。
【0039】
図1に概略的に示された磁気ディスクカートリッジ10の詳細構成が図2〜図5に示してあり、図2はこの磁気ディスクカートリッジ10を上方から見た斜視図、図3は下方から見た斜視図、図4はシャッターが開かれた状態を図2に対応させて示す斜視図、図5は分解斜視図である。
【0040】
この磁気ディスクカートリッジ10は、そのハウジング12が、金属製の下シェル20と、この下シェル20の内側に上方から圧入されて直接嵌合結合される金属製の上シェル30とによって構成され、図5に示すように、下シェル20側の金属製シャッター25は下シェル20に内蔵され、上シェル30側の金属製シャッター35は上シェル30の外側に配置され、かつすべての構成要素が下シェル20内に積上げ方式で組み付けられるようになっている。
【0041】
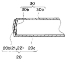
図5から明らかなように、下シェル20は、ハウジング12の平面形の輪郭を画成するハウジング12の下面を形成する底板20aと、後述する開口24の部位を除いて底板20aの周縁から上方へ立ち上がるハウジング12の側面を形成する側壁とを備え、この側壁のうち、底板20aの上記2本の外接線に沿う直線状のコーナー外縁から立ち上がる側壁21、22は、その上縁が上シェル30の上面よりもこの面に垂直な方向に突出し、かつ両端部が、これに隣接した円周面を形成する周壁20bの外接線よりも上記面方向に若干外方に張り出して誤挿入防止壁を形成している。そして、一方の側壁21は、このディスクカートリッジ10のディスクドライブ6への挿入方向に関しトレーリング側の隅部において挿入方向と直交するように形成され、他方の側壁22は挿入方向と平行に形成されている。この側壁22の、ディスクドライブ6への挿入方向に関しリーディング側の端部は、ディスクドライブ6に対する挿入位置決め段部22aを形成している。また、側壁21、22によって画成されたハウジング12のコーナー部には、上下シェル30、20を磁気ディスク14の回転軸線と略平行方向に貫通する孔16が形成され、下シェル20側の孔16が位置決め基準孔となっている。
【0042】
磁気ディスク14の中心部には、センターコア15が固定され、下シェル20の底板20aの中央部には、センターコア15の底面を外部に臨ませる中心孔23が形成されている。この中心孔23の周囲の上面には、後述する下側シャッター25の環状部25aを回動可能に軸支する環状壁20cが上記中心孔23と同軸的に形成され、さらに環状壁20cは平坦な上面を備え、この上面上に、後述する下部滑りシート28の中心部を支持するための、より小径の環状壁20dが環状壁20cと同軸的に形成されている。これら大小の環状壁20c、20dは、底板20aに対する搾り加工によって形成することができる。また、下シェル20の底板20aのコーナー部に形成された位置決め基準孔16の周囲にも環状壁(図示は省略)が搾り加工によって形成されている。
【0043】
さらに下シェル20には、中心孔23に関して位置決め基準孔16側とは反対側に、ディスクドライブ6の後述する磁気ヘッドを磁気ディスク14の表面にアクセスさせるための扇形に開いた開口24が、中心孔23の周りに所定の角度範囲に亘って形成され、この開口24を開閉する回転式の下側シャッター25が下シェル20の内側に配置されている。
【0044】
金属板によって形成された下側シャッター25は、その上面図である図6(a)、図6(a)のA−A線に沿った断面図である図6(b)、および図6(a)の右方から見た側面図である図6(c)から明らかなように、下シェル20の上記環状壁20cによって回動可能に軸支される中心の環状部25aと、上記開口24よりも大きい角度範囲に亘って環状部25aから放射方向に水平に延びる扇形の主板部25bと、この主板部25bの円弧状の外縁に沿って上方へ略直角に折り曲げられた垂直板部25cとから構成されている。垂直板部25cの両端縁には、図7に示す上側シャッター35の垂直板部35cの両端に突設された係合舌片35f,35fが係入する切欠き25d,25dが形成されている。
【0045】
一方、金属板によって形成された上シェル30は、下シェル20の底板20aと略相似形でかつ若干小さい頂板30aと、後述する開口34の部位を除いて頂板30aの周縁から下方へ垂下して、下シェル20の側面周壁が「くの字」型の断面形状にそれぞれ折り曲げられて形成された周壁20bおよび側壁21,22からなる側壁の内側に直接嵌合結合される「くの字」型の断面形状に折り曲げられた周壁30bとを備え、下シェル20の開口24に一致する位置に、ディスクドライブ6の磁気ヘッドを磁気ディスク14の表面にアクセスさせるための開口34が形成され、この開口34を開閉する上側シャッター35が上シェル30の外側に設けられている。
【0046】
さらに、上シェル30の互いに直交する2本の直線によって外縁が画成されているコーナー部には、下シェル20側の位置決め基準孔16に一致する孔16に隣接して、例えば光の反射、透過または特定波長の透過によって情報の読取りが可能な識別片18を後から埋め込むことができる穴17が形成されている。孔16の周囲の下面には環状壁(図示は省略)が絞り加工によって形成されている。
【0047】
下側シャッター25と略相似形をなす金属板で形成された上側シャッター35は、その底面図である図7(a)、図7(a)のB−B線に沿った断面図である図7(b)、および図7(a)の右方から見た側面図である図7(c)から明らかなように、中心の環状部35aと、この環状部35aから放射方向に水平に延びる扇状の主板部35bと、この主板部35bの円弧状の外縁に沿って下方へ略直角に折り曲げられた垂直板部35cとを備えている。この垂直板部35cは、下側シャッター25の垂直板部25cに係着可能な構成を有し、弾性を有する奇数枚(本実施の形態では5枚)の係着片に分割されている。そして、中央および両端に位置する3枚の係着片35c1は、下側シャッター25の垂直板部25cの外面に弾性的に係着し、中間の2枚の係着片35c2は下側シャッター25の垂直板部25cの内面に弾性的に係着し得るように、回動中心からの距離を異にして形成されている。
【0048】
この上側シャッター35は、シャッター25,35を開作動させるために、主板部35bのシャッター開方向リーディング側の外端から上方へ切り起こされた作動用突片35dを備えている。なお、このシャッター作動用突片35dの上縁は、組立て後、ハウジング12のコーナー側壁21,22の上縁と略同一高さになるように規定されている。
【0049】
さらに、上側シャッター35の主板部35bの根元には、後述するシャッター付勢用の渦巻きバネ40の外端40aを係止する切欠き35eが形成され、また、垂直板部35cの両端縁には、図6に示す下側シャッター25の垂直板部25cの両端縁に形成された切欠き25d,25dに係入し得る係合舌片35f,35fが回動中心側に向かって突設されている。
【0050】
このような構成を有する下側シャッター25および上側シャッター35は、連結後の状態を示す上面図である図8(a)、図8(a)のC−C線に沿った断面図である図8(b)、および図8(a)の右方から見た側面図である図8(c)から明らかなように、下側シャッター25の垂直板部25cが、上側シャッター35の垂直板部35cを構成する係着片35c1,35c2の間に圧入されて内外から挟着され、かつ上側シャッター35の垂直板部35cが備えている係合舌片35f,35fが、下側シャッター25の切欠き25d,25dに係入する態様で一体化される。
【0051】
上述のように組立て時に互いに連結される垂直板部25c,35cを回動自在に収容するために、下シェル20の開口24の両側には、シャッター25,35の回動範囲範囲に亘って半径方向外方へ張り出した周壁26,27が形成され、これら周壁26,27の内側に凹部26a,27aを形成している。図2には、これら凹部26a,27aが円弧状溝として表れている。
【0052】
また、上シェル30の頂板30aの上面には、シャッター35の環状部35aおよび主板部35bを収容し、かつシャッター35の回動を許容するための凹部36(図5参照)が形成され、この凹部36の中心部には、シャッター35の環状部35aを回動可能に軸支するための円形凸部37が形成されている。そして、シャッター35の環状部35aが円形凸部37に軸支された場合、シャッター35の主板部35bが凹部36の底面に接し、垂直板部35cが上シェル30の開口34の両側の円弧状周壁30bの外側に被さるようになっている。
【0053】
そして、下側シャッター25の垂直板部25cと、上側シャッター35の垂直板部35cとは、上シェル30が下シェル20に嵌着された後に、上側シャッター35を上シェル30上に載置し、位置合わせ後、上方から力を加えることにより、上側シャッター35の垂直板部35cの係着片35c1,35c2の間に下側シャッター25の垂直板部25cが圧入され、その際に、上側シャッター35の垂直板部35cの両端の係着片35c1、35c1が弾性的に撓むことにより、係合舌片35f,35fが、下側シャッター25の切欠き25d,25dに係入して、図8の状態に一体化されるように構成されている。
【0054】
この磁気ディスクカートリッジ10は、すべての構成部品を下シェル20上に積み上げ式に組み立てることができる特徴を有しており、次に、上記した構成部品以外の構成部品の説明とともに、この磁気ディスクカートリッジ10の組立て方法について図5および図9を参照して説明する。
【0055】
先ず下シェル20の底板20aの環状壁20cに下側シャッター25の環状部25aを嵌める。この場合、シャッター25は、その垂直板部25cが開口24の両側の凹部26a,27aの内壁面に接する態様で主板部35bが下シェル20の開口24を閉鎖した閉位置とする。次に下部滑りシート28を配置する。この滑りシート28は下シェル20の底板20aと略相似形をなし、中心孔から外方に延びる扇形の開口28aと、互いに直交する2本の直線によって画成されたコーナー部とを備え、その中心孔を下シェル20の底板20aの環状壁20dに嵌め、下側の環状壁20cの平坦な上面で支持する。滑りシート28はそのコーナー部に、下シェル20の底板20aの形成された位置決め基準孔16に一致する孔28bを備えており、この孔28bに下シェル20の位置決め基準孔16の周囲に形成された環状壁を嵌めて滑りシート28のコーナー部を支持させる。
【0056】
次に、センターコア15を備えた磁気ディスク14を配置し、さらに、開口38aとコーナー部の孔38bとを備えて下部滑りシート28と同形に形成された上部滑りシート38を配置してから、図9に示すように上シェル30の側面である「くの字型」に折り曲げられた断面形状を有する周壁30bを、下シェル20の側面である同じく「くの字型」に折り曲げられた周壁20b、側壁21および側壁22からなる側壁の内側に直接嵌合結合させる。これにより、上記凹部26a,27aにあるシャッター25の垂直板部25cが、上記凹部26a,27aと上シェル30の周壁30bとによって形成される溝内で溝に沿って移動可能になる。また、上シェル30の頂板30aのコーナー部に形成されている孔16の環状壁が上部滑りシート38のコーナー部の孔38bに嵌められて、滑りシート38のコーナー部が支持されるとともに、上下の滑りシート28,38のコーナー部は、上シェル30のコーナー部の側壁の内壁面によっても支持される。
【0057】
次に、上側のシャッター35を、その環状部35aが上シェル30上面の円形凸部37に軸支される態様で上方から組み付け、図8に示すように、その垂直板部35cの係着片35c1,35c2の間に下側シャッター25の垂直板部25cを圧入してシャッター25,35を一体化するとともに、上側シャッター35の垂直板部35cの両端の係合舌片35f,35fを、下側シャッター25の切欠き25d,25dに係入させる。次に、シャッター付勢用の平面形状の渦巻きバネ40を円形凸部37に嵌め、この渦巻きバネ40の内端40bを円形凸部37のスリット37bに係入させ、外端40aをシャッター35の主板部35bの切欠き35eに係止することによって、シャッター25,35は閉方向に付勢され、かつ閉位置に保持される。
【0058】
次に、上シェル30の開口34に倣う開口41aを備え、かつ上シェル30の凹部36よりも大径の金属製のカバープレート41を、図5に破線41bで示されている中心部を上シェル30の円形凸部37上に接着し、周縁部を上シェル30の頂板30a上に接着することによって、渦巻きバネ40が外れないようにするとともに、カバープレート41の下面側にシャッター35の回動空間を画成し、以上をもってディスクカートリッジ10の組立てが完了する。
【0059】
上記カバープレート41の上面は凹凸面とすることによって、ディスクカートリッジ10の表裏を触感で識別することができる。あるいは、カバープレート41の上面に蛍光塗料を塗布して、暗闇の中でもディスクカートリッジ10の表裏を識別できるようにしてもよい。さらにはカバープレート41の上面にマット加工を施して、鉛筆で数字等を書き込めるようにしてもよい。あるいは図示のように、カバープレート41の上面に例えば紙製の円形ラベル42を貼付して、これに情報を書き込むことができるようにしてもよい。その場合、カバープレート41の開口41aの輪郭に沿ったミシン目42aをラベル42に設け、使用時にこのミシン目42aで囲まれた領域42bを切り取るようにすることによって、未使用のカートリッジ10のバージン保証に供することができ、また露出した上側シャッター35の保護を図ることもできる。
【0060】
なお、上下シェル30,20の周壁30b,20b同士を弾性的に嵌合させるために、周壁30b,20bのいずれか一方、例えば周壁30bに、図示のような複数のスリット39を設けることによって、周壁30bに弾性を与えることが好ましい。また、下側シャッター25の主板部25bの上面および上側シャッター35の主板部35bの下面には、上シェル30の開口34および滑りシート28,38の開口28a,38aを通して回転中の磁気ディスク14の表面に接触するクリーニング部材44がそれぞれ放射状に取り付けられている。クリーニング部材44は、シャッター25,35の主板部25b,35bの閉方向の端縁に沿って放射状に取り付けられており、これらクリーニング部材44は、磁気ディスク14が静止している際に磁気ディスク14がシャッター25,35の主板部25b,35bに接触するのを防止する機能も有する。
【0061】
また、シャッター25、35が開いて磁気ディスク14が回転しているときにクリーニング部材44が磁気ディスク14の表面の一か所のみに接触していると磁気ディスク14の回転時のバランスが悪いので、磁気ディスク14の保護用に設けられている滑りシート28,38の磁気ディスク14に面する表面に、クリーニング部材44と同一高さを有する突条45を、シャッター開時のクリーニング部材44に対して180度偏位した位置に放射状に設けることが好ましい。さらに各2本の突条45を、シャッター開時のクリーニング部材44に対して120度偏位した位置に放射状に設けてもよい。
【0062】
次に、上記圧入方式とは異なり、上シェルと下シェルとを嵌合方式によって直接嵌合結合させる場合について説明する。図10は上シェルと下シェルとを嵌合方式によって組み立てる様子を示した分解斜視図、図11は上記嵌合方式によって組み立てられた磁気ディスクカートリッジの斜視図である。
【0063】
図10に示すように、下シェル60に、下シェル60の周壁60bの一部にカシメ用突起部60cを形成すると共に、上シェル65に、下シェル60と上シェル65とが組み合わされたときにカシメ用突起部60cに対応した位置となる上シェル65の周壁65bの一部にカシメ受部65cを形成する。カシメ用突起部60cが形成されている下シェル60とカシメ受部65cが形成されている上シェル65とを組み合わせた後、図11に示すようにカシメ用突起部60cをカシメ受部65c側に折り曲げて、下シェル60と上シェル65とを直接嵌合結合させる。このようにして、上述した磁気ディスクカートリッジを結合するようにしてもよい。
【0064】
図12は、ディスクドライブ6に磁気ディスクカートリッジ10を挿入する場合の状態を示す概略的平面図、図13は、磁気ディスクカートリッジ10がディスクドライブ6に装着された状態を示す概略的平面図である。なお、図12および図13は、磁気ディスクカートリッジ10とディスクドライブ6との相対位置関係の説明に供するもので、細部については省略してある。
【0065】
ディスクドライブ6は、カートリッジ挿入スロット6aと、内部のカートリッジ収容スペース7とを備え、さらに、通常はカートリッジ10の挿入通路(通路の端縁を破線Lで示してある)外に退避している上下一対の回動式アーム51を備えたヘッドアセンブリ50と、ディスクドライブ6へのカートリッジ10の挿入に伴って、シャッター35の作動用突片35dに係合して、シャッター25,35を開作動させるシャッター作動部材52とを備えている。アーム51の先端には磁気ヘッド53が互いに対向するようにそれぞれ固定されて、磁気ディスク14の両面にアクセスするように構成されている。
【0066】
また、上記カートリッジ挿入スロット6aは、ディスクドライブ6のヘッドアセンブリ50側とは反対側の側壁面6bに接して形成され、この側壁面6bに、磁気ディスクカートリッジ10の側壁22の挿入位置決め段部22aに係合する位置決め突起6cが形成されている。また、図示は省略するが、カートリッジ挿入用スロット6aの上縁には、磁気ディスクカートリッジ10の側壁22の上縁部と、閉位置にあるシャッター35の作動用作動用突片35dとに対応する位置に、これらの通過を許容する切欠きが形成されて、磁気ディスクカートリッジ10の誤挿入を防止している。
【0067】
磁気ディスクカートリッジ10は、図12に矢示する方向からディスクドライブ6に挿入され、その際に、シャッター35が備えている作動用突片35dに、ディスクドライブ6のシャッター作動部材52が係合して、磁気ディスクカートリッジ10の挿入に伴ってシャッター25,35が開作動される。その場合、上側シャッター35の作動用突片35dが磁気ディスクカートリッジ10の挿入方向に対して右側方に設けられているため、磁気ディスクカートリッジ10の挿入に伴って、シャッター作動部材52から磁気ディスクカートリッジ10に対しこれを図の時計方向に回動させようとする力Fが加えられるが、ハウジング12のコーナー部の直線状に延びる側壁22がディスクドライブ6の内壁面6bに当接して回動が阻止されるようになっている。そして、図13に示すように、磁気ディスクカートリッジ10が完全にディスクドライブ6内に挿入されると、ディスクドライブ6が備えている図示しない位置決め突起が位置決め基準孔16に係入し、さらに必要に応じてハウジング12の側壁22に形成されている位置決め凹部22bに、ディスクドライブ6側の図示しない位置決め突起が係入して、磁気ディスクカートリッジ10がディスクドライブ6内の所定位置に係止される。そして、ヘッドアセンブリ50のアーム51が図の反時計方向に回動して、磁気ヘッド53が磁気ディスク14の両面にアクセスする。
【0068】
以上の説明で明らかなように、本発明による磁気ディスクカートリッジ10は、そのハウジング12が、下シェル20と、この下シェル20の内側に上方から嵌着される上シェル30とによって構成され、かつこの磁気ディスクカートリッジ10を構成するすべての構成要素が、上シェル30の円形凹部37上に接着されるカバープレート41を除いては、全て下シェル内に積上げ方式で嵌合により組み付けられるようになっているため、超小型でありながら組立て性および分解性に優れているという利点を有するものである。
【0069】
また、ハウジング12が、磁気ディスク14の輪郭に沿った円と、互いに直角に交わる2本の上記円の外接線とからなる形状の外縁からなる平面形を有することにより、ディスクドライブ6に挿入する際、ディスクドライブ6に対して確実に所定の向きで位置決めすることができる。
【0070】
特に、ハウジング12の互いに直角に交わる2本の外接線に沿って直線状に延びる二つの側壁21,22の外面が、これに隣接する、磁気ディスク14の輪郭に沿った円を描く周壁20bの外周面の外接線よりも若干外方に張り出し、かつ上記二つの側壁21,22の上縁がハウジング12の面板部の上面から突出しているため、ディスクカートリッジ10を手で摘んだだけで、ディスクカートリッジ10の表裏およびディスクドライブ6に対する正しい挿入方向を識別することができるとともに、ディスクドライブ6側のカートリッジ挿入スロット6aの形状が側壁21,22の突出形状に一致させてあることにより、ディスクカートリッジ10の誤挿入も防止することができる。
【0071】
また、二つの側壁21,22によって画成されるハウジングコーナー部が、磁気ディスク14の外周から離れた位置にあるため、このコーナー部に、ハウジングを上下に貫通する位置決め基準孔16を設けたり、あるいは、例えば光の反射、透過または特定波長の透過によって情報を読み取ることができる識別片18を共通のハウジング12に後から埋め込むこむこともでき、その場合、この識別片によって記録容量等を識別することができるから、ハウジングを共通にすることができる利点もある。
【0072】
さらに、下側シャッター25と上側シャッター30とが、カートリッジ組立て時に、上側シャッター35の垂直板部35cを構成する係着片35c1,35c2の間に下側シャッター25の垂直板部25cを圧入することによって、上下のシャッター35,25が一体化されるように構成されていることにより、上シェル30を下シェル20に嵌合させた後に、下シェル20内の下側シャッター25に上側シャッター35を結合させることができるから、ハウジング12に対するシャッターの組付けが極めて容易となる利点がある。
【0073】
また、上側シャッター35の垂直板部35cの両端に係合舌片35f,35fが、上記圧入に伴って、下側シャッター25の切欠き25d,25dに係入するように構成されているから、上下のシャッター35,25の結合状態が外れる虞れもなくなる。
【0074】
さらに、下シェル20、上シェル30、カバープレート41およびシャッター25、35が全て金属で形成されているので、磁気ディスクカートリッジ全体のリサイクル処理をより容易に実施することができる。
【図面の簡単な説明】
【図1】本発明による磁気ディスクカートリッジを、このディスクカートリッジが挿入されるディスクドライブと、このディスクドライブが装填されるカードスロットを備えた電子機器とともに示す概略的説明図
【図2】本発明による磁気ディスクカートリッジを上方から見た斜視図
【図3】図2の磁気ディスクカートリッジを下方から見た斜視図
【図4】図2の磁気ディスクカートリッジのシャッターが開かれた状態を示す図2に対応する斜視図
【図5】図2の磁気ディスクカートリッジの分解斜視図
【図6】下側シャッターを示す図で、図6(a)はその上面図、図6(b)は図6(a)のA−A線に沿った断面図、図6(c)は図6(a)の右方から見た側面図
【図7】上側シャッターを示す図で、図7(a)はその底面図、図7(b)は図7(a)のB−B線に沿った断面図、図7(c)は図7(a)の右方から見た側面図
【図8】上下のシャッタの連結後の状態を示す図で、図8(a)はその上面図、図8(b)は図8(a)のC−C線に沿った断面図、図8(c)は図8(a)の右方から見た側面図
【図9】下シェルと上シェルとが直接嵌合結合されて組み立てられた状態を示す断面図
【図10】上シェルと下シェルとを嵌合方式によって組み立てる様子を示す分解斜視図
【図11】嵌合方式によって組み立てられた磁気ディスクカートリッジの斜視図
【図12】本発明の磁気ディスクカートリッジがディスクドライブに挿入される様子を示す概略的平面図
【図13】本発明の磁気ディスクカートリッジがディスクドライブに装着された状態を示す概略的平面図
【図14】本発明の前提となるディスクドライブを、このディスクドライブが装填されるカードスロットを備えた電子機器とともに示す概略的説明図
【符号の説明】
6 ディスクドライブ
10 磁気ディスクカートリッジ
12 ハウジング
14 磁気ディスク
15 センターコア
18 識別片
20 下シェル
21,22 側壁
24,34 磁気ヘッドアクセス用開口
25,35 シャッター
28、38 滑りシート
30 上シェル
40 渦巻きスプリング
41 カバープレート
42 ラベル
44 クリーニング部材
45 突条
50 ヘッドアセンブリ
51 アーム
52 シャッター作動部材
53 磁気ヘッド

Claims (7)

  1. ディスクドライブに装填可能な磁気ディスクカートリッジであって、
    該磁気ディスクカートリッジが、ハウジング内に磁気ディスクを回転自在に収容してなるものであり、
    前記ハウジングが、前記磁気ディスクの輪郭に沿った円弧と、前記輪郭に沿った円に外接し、かつ互いに直交する2本の直線とからなる外縁形状を有し、
    前記ハウジングが、前記ディスクドライブの磁気ヘッドを前記磁気ディスクの表面にアクセスさせるための開口と、該開口を開閉するシャッターとを備えているとともに、
    前記ハウジングが、金属製の下シェルと、該下シェルの内側に上方から嵌合される金属製の上シェルとによって構成され、
    前記下シェルは、底板と、前記開口の部位を除いて前記底板の周縁から上方へ立ち上がる側壁とを備え、
    前記上シェルは、頂板と、前記開口の部位を除いて前記頂板の周縁から下方へ垂下して、前記下シェルの側壁の内側に直接嵌合結合される側壁とを有し、
    すべての構成要素が、前記下シェル内に積上げ方式で組み付けられるように構成されていることを特徴とする磁気ディスクカートリッジ。
  2. 下シェル側のシャッターが前記下シェルの内側に配置され、上シェル側のシャッターが前記上シェルの外側に配置され、かつ上下のシャッターが前記ハウジングの開口の前面側において互いに結合されて一体に回動し得るように構成されていることを特徴とする請求項1記載の磁気ディスクカートリッジ。
  3. 前記磁気ディスクが、バリウムフェライト粉末を用いた高記録密度磁気記録媒体であることを特徴とする請求項1または2記載の磁気ディスクカートリッジ。
  4. ディスクドライブに装填可能な磁気ディスクカートリッジであって、
    該磁気ディスクカートリッジが、ハウジング内に磁気ディスクを回転自在に収容してなるものであり、
    前記ハウジングが、前記磁気ディスクの輪郭に沿った円弧と、前記輪郭に沿った円に外接し、かつ互いに直交する2本の直線とからなる外縁形状を有し、
    前記ハウジングが、金属製の下シェルと、該下シェルの内側に上方から嵌合される金属製の上シェルとによって構成され、かつ前記ディスクドライブの磁気ヘッドを前記磁気ディスクの表面にアクセスさせるための開口と、該開口を開閉するシャッターとを備え、
    前記下シェルは、底板と、前記開口の部位を除いて前記底板の周縁から上方へ立ち上がる側壁とを備え、
    前記上シェルは、頂板と、前記開口の部位を除いて前記頂板の周縁から下方へ垂下して、前記下シェルの側壁の内側に直接嵌合結合される側壁とを有し、
    前記シャッターが、前記下シェルの内側に配設される下側シャッターと、前記上シェルの外側に配設される上側シャッターとによって構成されているとともに、前記下側シャッターと前記上側シャッターとが、カートリッジ組立て時に圧入によって一体化され得る係着手段を備えていることを特徴とする磁気ディスクカートリッジ。
  5. 前記下側シャッターと前記上側シャッターとに、一体化後の上下方向の相対移動を阻止する外れ防止手段が設けられていることを特徴とする請求項記載の磁気ディスクカートリッジ。
  6. 前記下側シャッターおよび前記上側シャッターが、ハウジングの開口を上下から閉塞する水平な扇状の主板部と、該主板部の円弧状の外縁に沿って略垂直に折り曲げられた垂直板部とをそれぞれ備え、前記係着手段および前記外れ防止手段が、双方の垂直板部に設けられていることを特徴とする請求項記載の磁気ディスクカートリッジ。
  7. 前記磁気ディスクが、バリウムフェライト粉末を用いた高記録密度磁気記録媒体であることを特徴とする請求項4から6のいずれか1項記載の磁気ディスクカートリッジ。
JP2002080060A 2001-11-21 2002-03-22 磁気ディスクカートリッジ Expired - Fee Related JP3919085B2 (ja)

Priority Applications (2)

Application Number Priority Date Filing Date Title
JP2002080060A JP3919085B2 (ja) 2001-11-21 2002-03-22 磁気ディスクカートリッジ
US10/298,928 US6922312B2 (en) 2001-11-21 2002-11-19 Disk cartridge having upper shell fitted inside lower shell to enclose lower shutter with upper shutter outside upper shell

Applications Claiming Priority (7)

Application Number Priority Date Filing Date Title
JP2001-355662 2001-11-21
JP2001355662 2001-11-21
JP2001-387073 2001-12-20
JP2001387073 2001-12-20
JP2001-391966 2001-12-25
JP2001391966 2001-12-25
JP2002080060A JP3919085B2 (ja) 2001-11-21 2002-03-22 磁気ディスクカートリッジ

Publications (3)

Publication Number Publication Date
JP2003257150A JP2003257150A (ja) 2003-09-12
JP2003257150A5 JP2003257150A5 (ja) 2005-02-17
JP3919085B2 true JP3919085B2 (ja) 2007-05-23

Family

ID=27482692

Family Applications (1)

Application Number Title Priority Date Filing Date
JP2002080060A Expired - Fee Related JP3919085B2 (ja) 2001-11-21 2002-03-22 磁気ディスクカートリッジ

Country Status (2)

Country Link
US (1) US6922312B2 (ja)
JP (1) JP3919085B2 (ja)

Families Citing this family (8)

* Cited by examiner, † Cited by third party
Publication number Priority date Publication date Assignee Title
US8397998B1 (en) * 1999-10-23 2013-03-19 Ultracard, Inc. Data storage device, apparatus and method for using same
US20050194453A1 (en) * 2001-07-27 2005-09-08 Storcard, Inc. Enhanced smart card with rotating storage
TWI244072B (en) * 2002-03-20 2005-11-21 Samsung Electronics Co Ltd Disc cartridge
JP3900272B2 (ja) * 2002-08-15 2007-04-04 ソニー株式会社 ディスクカートリッジおよび記録媒体ドライブ装置
JP3948660B2 (ja) * 2002-08-27 2007-07-25 富士フイルム株式会社 記録媒体カートリッジ
US7286322B2 (en) * 2004-07-28 2007-10-23 Imation Corp. Information field integrally formed by diskette housing to be receptive to handwritten indicia
JP2006268896A (ja) * 2005-03-22 2006-10-05 Fuji Photo Film Co Ltd 記録ディスクカートリッジ
CN102543113A (zh) 2008-03-07 2012-07-04 任天堂株式会社 透镜清洁器

Family Cites Families (6)

* Cited by examiner, † Cited by third party
Publication number Priority date Publication date Assignee Title
JPS593756A (ja) * 1982-06-29 1984-01-10 Shin Etsu Polymer Co Ltd 磁気デイスクカ−トリツジ
US4471397A (en) * 1983-07-28 1984-09-11 Eastman Kodak Company Magnetic disk cartridge
US4586102A (en) * 1983-08-04 1986-04-29 Eastman Kodak Company Track number indicator
US4652961A (en) * 1984-09-27 1987-03-24 Dysan Corporation Micro-floppy diskette with inner containment system
US6256168B1 (en) * 1997-11-12 2001-07-03 Iomega Corporation Shutter liner for a disk cartridge
US6081410A (en) * 1998-06-29 2000-06-27 University Of Central Florida Coin disks

Also Published As

Publication number Publication date
US6922312B2 (en) 2005-07-26
US20030095359A1 (en) 2003-05-22
JP2003257150A (ja) 2003-09-12

Similar Documents

Publication Publication Date Title
JP2001507153A (ja) 種々の機能を実行するデバイスのための、交換可能なカートリッジ式データ記憶システム
JP3919085B2 (ja) 磁気ディスクカートリッジ
US6526018B1 (en) Disk cartridge
JPH11339424A (ja) ディスクカートリッジ
JP2003196947A (ja) 小型磁気ディスクカートリッジ
JP2003323777A (ja) 磁気ディスクカートリッジ
JP2003196944A (ja) 小型磁気ディスクカートリッジ
JP2003196941A (ja) 小型磁気ディスクカートリッジ
JP2003196943A (ja) 小型磁気ディスクカートリッジ
JP2003196942A (ja) 小型磁気ディスクカートリッジ
JP4359213B2 (ja) 記録ディスクカートリッジ
JP3064414U (ja) カ―ド形コンパクト・ディスク
US6876520B2 (en) Magnetic disk cartridge
JP2003162880A (ja) 磁気記録媒体
JP2003162879A (ja) ディスク状磁気記録媒体
JP2003178545A (ja) 小型磁気ディスクカートリッジ
JP3712374B2 (ja) 小型磁気ディスクカートリッジ
CN100595838C (zh) 光记录介质盒
JP3759446B2 (ja) 磁気記録媒体
JP2004071043A (ja) ディスクカートリッジおよびそのドライブ装置
JP2003228942A (ja) 小型磁気ディスクカートリッジ
TW409243B (en) Disc cartridge
JPH11110702A (ja) 記録媒体カートリッジ収容ケース
JP2003187546A (ja) 小型磁気ディスクカートリッジ
JP2003317425A (ja) 記録メディアカートリッジ

Legal Events

Date Code Title Description
A521 Request for written amendment filed

Free format text: JAPANESE INTERMEDIATE CODE: A523

Effective date: 20040308

A621 Written request for application examination

Free format text: JAPANESE INTERMEDIATE CODE: A621

Effective date: 20040308

A977 Report on retrieval

Free format text: JAPANESE INTERMEDIATE CODE: A971007

Effective date: 20051118

A131 Notification of reasons for refusal

Free format text: JAPANESE INTERMEDIATE CODE: A131

Effective date: 20051220

A521 Request for written amendment filed

Free format text: JAPANESE INTERMEDIATE CODE: A523

Effective date: 20060217

A711 Notification of change in applicant

Free format text: JAPANESE INTERMEDIATE CODE: A712

Effective date: 20061205

TRDD Decision of grant or rejection written
A01 Written decision to grant a patent or to grant a registration (utility model)

Free format text: JAPANESE INTERMEDIATE CODE: A01

Effective date: 20070206

A61 First payment of annual fees (during grant procedure)

Free format text: JAPANESE INTERMEDIATE CODE: A61

Effective date: 20070208

R150 Certificate of patent or registration of utility model

Free format text: JAPANESE INTERMEDIATE CODE: R150

LAPS Cancellation because of no payment of annual fees