JP3896830B2 - 液滴吐出ヘッドおよびその駆動方法並びに液滴吐出装置 - Google Patents
液滴吐出ヘッドおよびその駆動方法並びに液滴吐出装置 Download PDFInfo
- Publication number
- JP3896830B2 JP3896830B2 JP2001369133A JP2001369133A JP3896830B2 JP 3896830 B2 JP3896830 B2 JP 3896830B2 JP 2001369133 A JP2001369133 A JP 2001369133A JP 2001369133 A JP2001369133 A JP 2001369133A JP 3896830 B2 JP3896830 B2 JP 3896830B2
- Authority
- JP
- Japan
- Prior art keywords
- voltage change
- droplet discharge
- voltage
- nozzle
- discharge head
- Prior art date
- Legal status (The legal status is an assumption and is not a legal conclusion. Google has not performed a legal analysis and makes no representation as to the accuracy of the status listed.)
- Expired - Fee Related
Links
- 238000000034 method Methods 0.000 title claims description 203
- 230000008859 change Effects 0.000 claims description 202
- 230000008569 process Effects 0.000 claims description 146
- 230000005499 meniscus Effects 0.000 claims description 144
- 239000007788 liquid Substances 0.000 claims description 71
- 238000007599 discharging Methods 0.000 claims description 20
- 238000000926 separation method Methods 0.000 claims description 7
- 239000002245 particle Substances 0.000 description 69
- 238000010586 diagram Methods 0.000 description 31
- 230000000694 effects Effects 0.000 description 30
- 239000000758 substrate Substances 0.000 description 9
- 238000002474 experimental method Methods 0.000 description 7
- 230000001133 acceleration Effects 0.000 description 6
- 230000015572 biosynthetic process Effects 0.000 description 6
- 230000007246 mechanism Effects 0.000 description 6
- 238000004458 analytical method Methods 0.000 description 5
- 239000012530 fluid Substances 0.000 description 4
- 238000005259 measurement Methods 0.000 description 4
- 230000003321 amplification Effects 0.000 description 3
- 230000007423 decrease Effects 0.000 description 3
- 238000003199 nucleic acid amplification method Methods 0.000 description 3
- PXHVJJICTQNCMI-UHFFFAOYSA-N Nickel Chemical compound [Ni] PXHVJJICTQNCMI-UHFFFAOYSA-N 0.000 description 2
- 230000009471 action Effects 0.000 description 2
- 238000011156 evaluation Methods 0.000 description 2
- 230000010354 integration Effects 0.000 description 2
- 238000010030 laminating Methods 0.000 description 2
- 238000004519 manufacturing process Methods 0.000 description 2
- 238000005457 optimization Methods 0.000 description 2
- 238000003825 pressing Methods 0.000 description 2
- 238000004080 punching Methods 0.000 description 2
- 230000009467 reduction Effects 0.000 description 2
- 229910000679 solder Inorganic materials 0.000 description 2
- 229910001220 stainless steel Inorganic materials 0.000 description 2
- 239000010935 stainless steel Substances 0.000 description 2
- 230000001629 suppression Effects 0.000 description 2
- 239000010409 thin film Substances 0.000 description 2
- 239000000853 adhesive Substances 0.000 description 1
- 230000001070 adhesive effect Effects 0.000 description 1
- 238000004364 calculation method Methods 0.000 description 1
- 239000000919 ceramic Substances 0.000 description 1
- 238000006243 chemical reaction Methods 0.000 description 1
- 239000003086 colorant Substances 0.000 description 1
- 239000012141 concentrate Substances 0.000 description 1
- 229920001940 conductive polymer Polymers 0.000 description 1
- 230000008602 contraction Effects 0.000 description 1
- 238000007796 conventional method Methods 0.000 description 1
- 238000012937 correction Methods 0.000 description 1
- 230000003247 decreasing effect Effects 0.000 description 1
- 238000009826 distribution Methods 0.000 description 1
- 238000005323 electroforming Methods 0.000 description 1
- 238000005530 etching Methods 0.000 description 1
- 238000011835 investigation Methods 0.000 description 1
- 239000000463 material Substances 0.000 description 1
- 238000012986 modification Methods 0.000 description 1
- 230000004048 modification Effects 0.000 description 1
- 229910052759 nickel Inorganic materials 0.000 description 1
- 239000011368 organic material Substances 0.000 description 1
- 238000000059 patterning Methods 0.000 description 1
- 230000010287 polarization Effects 0.000 description 1
- 229920001721 polyimide Polymers 0.000 description 1
- 230000007261 regionalization Effects 0.000 description 1
- 239000011347 resin Substances 0.000 description 1
- 229920005989 resin Polymers 0.000 description 1
- 230000000630 rising effect Effects 0.000 description 1
- 238000012360 testing method Methods 0.000 description 1
- 238000012546 transfer Methods 0.000 description 1
Images
Classifications
-
- B—PERFORMING OPERATIONS; TRANSPORTING
- B41—PRINTING; LINING MACHINES; TYPEWRITERS; STAMPS
- B41J—TYPEWRITERS; SELECTIVE PRINTING MECHANISMS, i.e. MECHANISMS PRINTING OTHERWISE THAN FROM A FORME; CORRECTION OF TYPOGRAPHICAL ERRORS
- B41J2/00—Typewriters or selective printing mechanisms characterised by the printing or marking process for which they are designed
- B41J2/005—Typewriters or selective printing mechanisms characterised by the printing or marking process for which they are designed characterised by bringing liquid or particles selectively into contact with a printing material
- B41J2/01—Ink jet
- B41J2/015—Ink jet characterised by the jet generation process
- B41J2/04—Ink jet characterised by the jet generation process generating single droplets or particles on demand
- B41J2/045—Ink jet characterised by the jet generation process generating single droplets or particles on demand by pressure, e.g. electromechanical transducers
- B41J2/04501—Control methods or devices therefor, e.g. driver circuits, control circuits
- B41J2/04581—Control methods or devices therefor, e.g. driver circuits, control circuits controlling heads based on piezoelectric elements
-
- B—PERFORMING OPERATIONS; TRANSPORTING
- B41—PRINTING; LINING MACHINES; TYPEWRITERS; STAMPS
- B41J—TYPEWRITERS; SELECTIVE PRINTING MECHANISMS, i.e. MECHANISMS PRINTING OTHERWISE THAN FROM A FORME; CORRECTION OF TYPOGRAPHICAL ERRORS
- B41J2/00—Typewriters or selective printing mechanisms characterised by the printing or marking process for which they are designed
- B41J2/005—Typewriters or selective printing mechanisms characterised by the printing or marking process for which they are designed characterised by bringing liquid or particles selectively into contact with a printing material
- B41J2/01—Ink jet
- B41J2/015—Ink jet characterised by the jet generation process
- B41J2/04—Ink jet characterised by the jet generation process generating single droplets or particles on demand
- B41J2/045—Ink jet characterised by the jet generation process generating single droplets or particles on demand by pressure, e.g. electromechanical transducers
- B41J2/04501—Control methods or devices therefor, e.g. driver circuits, control circuits
- B41J2/04588—Control methods or devices therefor, e.g. driver circuits, control circuits using a specific waveform
Landscapes
- Particle Formation And Scattering Control In Inkjet Printers (AREA)
Description
【発明の属する技術分野】
本発明は液滴吐出ヘッドおよびその駆動方法並びに液滴吐出装置に関し、特にノズルから微小な液滴を吐出して記録媒体上に文字や画像などを記録したり、基板上に微細パターンや薄膜の形成等を行うための液滴吐出ヘッドおよびその駆動方法並びに液滴吐出装置に関する。
【0002】
【従来の技術】
圧電アクチュエータ等の電気機械変換器を用いて、液体が充填された圧力発生室内に圧力波(音響波)を発生させ、その圧力波によって圧力発生室に連結されたノズルから液滴を吐出する液滴吐出方法は一般によく知られている。特に、インクの滴を吐出して記録用紙上に文字や画像などの記録を行うインクジェット記録装置は広く普及している(例えば特公昭53−12138号公報や特開平10−193587号公報など)。
【0003】
図6は、上記公報などで公知のインクジェット記録装置における液滴吐出機構(イジェクタ)の一例を示す図である。圧力発生室1には、インクを吐出するためのノズル2と、共通流路4を介してインクタンク(図示せず)からインクを導くためのインク供給路5が連結されている。また、圧力発生室1の底面には振動板6が設けられている。液滴吐出時には、圧力発生室1の外部に設けられた圧電アクチュエータ7によってこの振動板6を変位させ、圧力発生室1に体積変化を生じさせることにより、圧力発生室内に圧力波を発生させる。この圧力波によって、圧力発生室1内に充填されていたインクの一部がノズル22を通って外部に噴射され、液滴8となって飛翔する。飛翔した液滴8は記録紙等の記録媒体上に着弾し、記録ドットを形成する。こうした記録ドットの形成を、画像データに基づいて繰り返し行うことによって、記録媒体上に文字や画像が記録される。
【0004】
また、近年では、上記のような液滴吐出装置を工業的に活用することが試みられている。主な活用例としては、(a)導電性ポリマー溶液を基板上に吐出させて配線パターンやトランジスタを形成、(b)有機EL溶液を基板上に吐出させてELディスプレイパネルを形成、(c)溶融状態のハンダを基板上に吐出して電気実装用のバンプを形成、(d)UV硬化樹脂等の液滴を基板上で積層および硬化させることにより3次元物体を造形、(e)有機材料の溶液(レジスト溶液など)を基板上に吐出させて有機薄膜を形成、などが挙げられる。このように、液滴吐出装置は画像記録用としてだけではなく、広い領域で活用されつつあり、今後更にその活用範囲が広がっていくと予想される。
【0005】
こうした液滴吐出装置において、現在、大きな技術課題となっているのが「液滴体積の減少」である。すなわち、液滴吐出装置を写真画像等の印刷に用いる場合、粒状感の少ない高い画像品質を得るためには、記録紙上に形成する記録ドット(画素)をできるだけ小さくすることが重要であり、そのためには非常に微小な液滴を吐出させる必要がある。また、液滴吐出装置を工業的用途に用いる場合にも、高密度な配線パターンや高解像度ELディスプレイパネルを実現するためには、極めて微小な液滴を基板上に吐出させる必要がある。必要となる微小滴体積は、液滴吐出装置の利用方法によって大きく異なる。例えば、画像記録(印刷)を行う場合には、1〜2pl(ピコリットル)の微小滴を吐出できればほぼ十分であるが、高密度な配線パターンやトランジスタを形成するには、0.1pl以下の微小滴を吐出させる必要がある。このように、液滴吐出装置の活用範囲が拡大されるに伴って、「滴体積の減少」がこれまで以上に重要な技術課題となってきている。
【0006】
液滴吐出ヘッドで微小滴の吐出を実行するための駆動方法としては、吐出直前に圧力発生室を一旦膨張させ、ノズル開口部のメニスカスを圧力発生室側に引き込んだ状態から液滴の吐出を行う駆動方法が知られている(例えば特開昭55−17589号公報)。この種の駆動方法で用いられる駆動波形の一例を図7(a)に示す。なお、駆動電圧と圧電アクチュエータ動作との関係は、アクチュエータの構造や分極方向によって異なるが、本明細書においては、駆動電圧を増加させると圧力発生室の体積が減少し、逆に駆動電圧を減少させると圧力発生室の体積が増加するものとする。
【0007】
図7(a)の駆動波形は、圧力発生室を膨張させるための第1電圧変化プロセス51と、次いで圧力発生室を圧縮し、液滴の吐出を行うための第2電圧変化プロセス52によって構成されている。
【0008】
図8は、図7(a)の駆動波形を印加した際におけるノズル開口部のメニスカスの動きを模式的に表わした図である。初期状態においてメニスカス9は平坦な形状をしているが(図8(a))、吐出直前に圧力発生室を膨張させることにより、メニスカス9は図8(b)に示すような形状となる。すなわち、メニスカス9の中央部が圧力発生室側に大きく引き込まれ、凹型のメニスカス9が形成される。こうして凹型のメニスカス9を形成した状態から、第2電圧変化プロセス52によって圧力発生室の圧縮を行うと、図8(c)に示すように、メニスカス9の中央部に細い液柱22が形成され、次いで、液柱22の先端部が分離して液滴8が形成される(図8(d))。このときの液滴径は、形成された液柱22の太さとほぼ等しく、ノズル2の開口径よりも小さい。すなわち、こうした駆動方法を用いることにより、ノズル開口径よりも小さな液滴8を吐出することが可能となる。なお、上記のように、吐出直前のメニスカス形状を制御して微小滴吐出を行う駆動方法のことを、本明細書では以下、「メニスカス制御方式」と呼ぶ。
【0009】
また、本発明者は、より小さな液滴を安定吐出できる駆動方法として、図7(b)に示すような駆動波形を特願平10−318443号において開示した。この駆動波形は、吐出直前にメニスカスを引き込むための第1電圧変化プロセス51、圧力発生室を圧縮して液柱を形成するための第2電圧変化プロセス52、液柱先端部から滴を早期に分離させるための第3電圧変化プロセス53、および液滴吐出後に残存する圧力波の残響を抑制するための電圧変化プロセス54によって構成されている。すなわち、図7(b)の駆動波形は、液滴の早期分離および残響抑制を目的とした電圧変化を含んでいる。これにより、図7(a)の駆動波形を用いた場合よりも滴体積の小さな液滴(4pl程度)を安定に吐出させることが可能となった。
【0010】
また、本発明者らは、さらに小さな微小液滴を吐出できる方法として、圧電アクチュエータの固有振動を利用する駆動方法を特願平11−20613号において開示した。本駆動波形では、第2電圧変化プロセス52の電圧変化時間t3および第3電圧変化プロセス53の電圧変化時間t5を、圧電アクチュエータ自体の固有周期Taと同等もしくはそれ以下に設定している点に特徴がある。これにより、圧電アクチュエータ自体の固有振動が励起され、メニスカスに周波数の高い振動を発生させることができるため、これを上記メニスカス制御方式と組み合わせることにより、通常のメニスカス制御方式よりも小さな滴を吐出することが可能となる。
【0011】
また、本発明者らは、メニスカス制御方式による吐出メカニズムの検討結果をもとに、微小滴吐出に有利となる駆動波形を特願平11−237791号および特願2000−146992号にて開示した。これらの駆動波形では、第1電圧変化プロセス51の電圧変化時間t1および第1電圧変化プロセス51の終了時刻と第2電圧変化プロセス52の開始時刻との時間差t2を特定の条件を満足するように設定している。これにより、駆動波形の節A、節B、および節C(図7(b)参照)で発生する粒子速度の位相をほぼ一致させ、第2電圧プロセス52印加時における粒子速度を急激に増加させることができる。後述するように、第2電圧プロセス52印加時に大きな粒子速度変化が生じると、ノズル中央部でメニスカスの激しい干渉が発生し、細い液柱が形成され、その結果、非常に微小な液滴を高速で吐出することが可能となる。
【0012】
【発明が解決しようとする課題】
しかしながら、上記のような従来の駆動波形で実際に吐出できる微小滴の滴体積は1〜2pl程度が下限であり、特に液滴吐出装置の工業用途で要求されるような1pl以下の微小液滴を吐出することは不可能である。
【0013】
また、従来の液滴吐出装置における別の問題点として、微小滴吐出の吐出安定性が低いという問題がある。すなわち、図7(b)に示したような駆動波形を用いることにより、1〜2pl程度の微小滴吐出は可能であるが、これを複数のイジェクタから均一に実行することは極めて困難である。微小滴の吐出状態がイジェクタ間でばらつく原因として、従来の微小滴吐出現象がノズル形状や圧力波に対して非常に敏感であることが挙げられる。すなわち、ヘッド内に複数のイジェクタが配されている場合、各イジェクタ間では、ノズルの開口径や断面形状、発生する圧力波の固有周期などに僅かながらもばらつきが存在する。従来の微小滴吐出方法では、そうしたばらつきに非常に敏感であるため、各イジェクタ間で微小滴の吐出状態が変化し、均一な微小滴吐出を実行することが困難である。
【0014】
本発明は、上記の問題点を解決すべくなされたものであり、その目的は、滴体積1pl以下の超微小液滴の吐出を実現できる液滴吐出ヘッドおよびその駆動方法並びに液滴吐出装置を提供することである。
【0015】
また、本発明の第二の目的は、微小液滴吐出の吐出安定性および均一性に優れた液滴吐出ヘッドおよびその駆動方法並びに液滴吐出装置を提供することである。
【0016】
【課題を解決するための手段】
上記課題を解決するために、本発明に係わる液滴吐出ヘッドの駆動方法は、所定のテーパー角を有する略ストレート形状のストレート部を有するノズルと、該ノズルと連通する圧力発生室と、電気機械変換器とを少なくとも有し、前記電気機械変換器に駆動電圧を印加し、前記電気機械変換器を変形させて、液体が充填された前記圧力発生室内に圧力変化を生じさせて、前記ノズルのメニスカスの中央部に形成された液柱から液滴を分離させることにより、前記ノズルから前記液滴を吐出させる液滴吐出ヘッドの駆動方法であって、前記駆動電圧の電圧波形が、前記圧力発生室の体積を膨張させて前記ノズルのメニスカスを前記圧力発生室側に引き込むための第1電圧変化プロセスと、次いで前記圧力発生室の体積を収縮させて液滴を吐出させるための第2電圧変化プロセスとを少なくとも含み構成されており、前記ストレート部の長さをlnとしたとき、前記第2電圧変化プロセスを印加する時点におけるノズル開口から前記メニスカスの先端位置までの長さを示す引き込み量Dが、0.8 ln≦D≦1.5 lnの条件を満足するように前記第1電圧変化プロセスの電圧変化量および電圧変化時間を設定することを特徴とする。
【0017】
これにより、液柱形成過程において、凹形状のメニスカスをノズル中央部で激しく干渉させることができ、滴体積の極めて小さな微小液滴を吐出することが可能となる。
【0018】
ここで、本発明の作用を図9および図10を参照しながら説明する。
【0019】
前述したように、メニスカス制御方式によって微小滴吐出を行う場合には、第1電圧変化プロセスによってメニスカスを圧力発生室側に引き込み、凹形状のメニスカスを形成する(この動作を以下「引き」と呼ぶ)。次いで、第2電圧変化プロセスによってメニスカスをノズル外側に向かって押し出すことにより(この動作を以下「押し」と呼ぶ)、ノズル中央部に細い液柱を形成させる。メニスカス制御方式で吐出される液滴の滴径は、形成される液柱の太さとほぼ一致する。また、液滴の飛翔速度(滴速)は液柱の成長速度とほぼ一致する。従って、微小な液滴を高速で飛翔させるためには、細い液柱を高速に成長させることが重要となる。
【0020】
この液柱の形成メカニズムについては、以前に本発明者らが吐出観察実験および流体解析によって調査を行い、ノズル中央部で液面を激しく干渉させることが、細い液柱を形成するための必要条件であることを見出した。特願平11−237791号および特願2000−146992号にて開示した駆動波形は、その知見に基づいたもので、駆動波形の節A、節B、および節C(図7(b)参照)で発生する粒子速度の位相をほぼ一致させることにより、第2電圧プロセス印加時における粒子速度を急激に増加させ、ノズル中央部でメニスカスの激しい干渉を発生させている。
【0021】
しかしながら、本発明者がさらに詳しく検討を行った結果、上記駆動波形は微小滴吐出に確かに有効であるが、ノズル形状やメニスカスの引き込み量によっては、必ずしも十分な微小滴吐出を実現できないことが判明した。これは、第2電圧変化プロセス印加時におけるメニスカスの動きに対する理解が不十分であったためであると言える。すなわち、特願平11−237791号および特願2000−146992号では、凹形状のメニスカスに対して「押し」を加えると、図9に示すように、メニスカスの各部は液面の法線方向に移動し、その結果、ノズル中央部に多量のインクが集中し、この局所的な体積増加によってノズル中央部に液柱が形成されると考えている。しかし、本発明者が流体解析および実測評価によって詳しく調査した結果、凹形状のメニスカスに対して「押し」を加えた場合、メニスカスの各部は必ずしも液面の法線方向に移動するわけではなく、メニスカスの動きはノズル形状に大きく依存することが明らかになった。
【0022】
図10は、ノズル形状によるメニスカス動作の変化を模式的に示した図である。ここでは、メニスカスの移動速度を、ノズル中心軸に対して平行な方向の成分(Y成分)と、ノズル中央(中心軸)に向かう方向の成分(R成分)の二つの成分に分けて考える。微小滴吐出を実現するためには、R成分の大きな速度ベクトルをメニスカスに生じさせ、ノズル中央部で激しい液面干渉を発生させることが必要となる。
【0023】
流体解析および実測評価の結果、図10(a)に示すように、引き込まれたメニスカスがノズルのストレート部内に留まっている場合(D≪ln)には、「押し」を加えられたメニスカスは、Y成分が大きな速度ベクトルをもつことが明らかになった。つまり、D≪lnの条件では、R成分の大きな速度ベクトルが得られないため、ノズル中央部での液面干渉を効率的に発生させることができず、微小滴吐出に不利となることが明らかになった。
【0024】
一方、図10(b)に示すように、メニスカスの引き込み量Dとノズルストレート部の長さlnをほぼ同等に設定した場合には、「押し」を加えた際に、R成分が支配的な速度ベクトルがメニスカスに発生することが明らかになった。これは、ノズルストレート部の下端近傍では、R成分の大きな流速分布が発生するためであると考えられる。つまり、D≒lnと設定することにより、メニスカス先端部においてR成分の大きな速度ベクトルを発生させることができる。これにより、ノズル中央部において激しい液面干渉を発生でき、極めて細い液柱を形成することが可能となる。
【0025】
以上のように、微小滴吐出に不可欠となる激しい液面干渉(極細液柱)を発生させるためには、特願平11−237791号および特願2000−146992号で述べられているように、液面速度を増加させるだけでなく、メニスカス先端部近傍における速度ベクトルのR成分が増加するように、メニスカス引き込み量Dとノズルストレート部長さlnの関係を設定することが重要である。本発明の液滴吐出ヘッドの駆動方法では、ノズル中央部において激しい液面干渉を発生させられるように、メニスカスの引き込み量Dを0.8 ln≦D≦1.5 lnの条件を満足するようになるように設定している点に大きな特徴がある。
【0026】
また、本発明の好ましい液滴吐出ヘッドの駆動方法は、前記圧力発生室内に発生する圧力波の固有周期をTcとしたとき、前記第2電圧変化プロセスの電圧変化時間を前記固有周期Tcの1/3以下に設定する。これにより、第2電圧変化プロセス印加時に大きな粒子速度が得られると共に、液柱からの液滴分離を早期に実行することができるため、滴体積の小さな微小滴を吐出できるという効果が得られる。
【0027】
また、本発明の好ましい液滴吐出ヘッドの駆動方法は、前記駆動電圧の電圧波形が、前記第2電圧変化プロセスの直後に、前記圧力発生室の体積を膨張させるための第3電圧変化プロセスを含み構成される。これにより、液柱からの液滴分離をさらに早期に実行することができるため、滴体積のさらに小さな微小滴を吐出できるという効果が得られる。なお、上記効果を有効に得るためには、前記第3電圧変化プロセスの電圧変化時間は、前記固有周期Tcの1/3以下に設定することが好ましい。また、前記第2電圧変化プロセスの終了時刻と、前記第3電圧変化プロセスの開始時刻との時間間隔は、前記固有周期Tcの1/5以下に設定することが好ましい。
【0028】
また、本発明の好ましい液滴吐出ヘッドの駆動方法は、前記駆動電圧の電圧波形が、前記第3電圧変化プロセスの直後に、前記圧力発生室の体積を収縮させるための第4電圧変化プロセスを含み構成される。これにより、微小滴吐出後の圧力波残響を抑制することができ、微小滴を連続吐出した際の安定性を向上できるという効果が得られる。なお、上記効果を有効に得るためには、前記第4電圧変化プロセスの電圧変化時間を、前記固有周期Tcの1/2以下に設定することが好ましい。
【0029】
また、本発明の好ましい液滴吐出ヘッドの駆動方法は、前記第1電圧変化プロセスの電圧変化時間を、前記電気機械変換器の固有振動の固有周期Taよりも大きく、前記固有周期Tcよりも小さく設定する。これにより、メニスカスの引き込み時に良好なメニスカス形状を得ることができ、微小滴吐出を安定化できるという効果が得られる。
【0030】
また、本発明の好ましい液滴吐出ヘッドの駆動方法は、前記第1電圧変化プロセスの電圧変化時間を、前記圧力発生室内における圧力波固有周期Tcの略1/2とし、かつ、前記第2電圧変化プロセスの開始時刻を前記第1電圧変化プロセスの終了直後に設定する。これにより、第2電圧変化プロセス印加時に、メニスカスに大きな粒子速度を発生させることができるため、ノズル中央部での液面干渉を強化でき、滴体積のさらに小さな微小滴を吐出することが可能になるという効果が得られる。なお、上記効果を有効に得るためには、前記第1電圧変化プロセスの終了時刻と、前記第2電圧変化プロセスの開始時刻との時間間隔を、前記固有周期Tcの1/5以下に設定することが好ましい。
【0031】
また、本発明の好ましい液滴吐出ヘッドの駆動方法は、前記第1電圧変化プロセスの電圧変化時間t1と、前記第1電圧変化プロセスの終了時刻と前記第2電圧変化プロセスの開始時刻の時間間隔t2を、
の関係式を満足するように設定する。これにより、第2電圧変化プロセス印加時に、メニスカスに大きな粒子速度を発生させることができるため、ノズル中央部での液面干渉を強化でき、滴体積のさらに小さな微小滴を吐出することが可能になるという効果が得られる。
【0032】
また、本発明の好ましい液滴吐出ヘッドの駆動方法は、前記第2電圧変化プロセスの電圧変化時間を、前記電気機械変換器の固有振動の固有周期Taと同等もしくはそれ以下に設定する。これにより、第2電圧変化プロセス印加時に極めて大きな粒子加速度が得られると共に、液柱から液滴を極めて早期に分離することができ、滴体積の非常に小さな微小滴を吐出できるという効果が得られる。なお、上記効果を有効に得るためには、前記第3電圧変化プロセスの電圧変化時間を、前記電気機械変換器の固有振動の固有周期Taと同等もしくはそれ以下に設定し、かつ、前記第2電圧変化プロセスの開始時刻と前記第3電圧変化プロセスの開始時刻との差t0を、Ta/2≦t0≦Taの条件が満足されるように設定することが好ましい。
また、ノズルの所定のテーパー角を、10°以下とすることが好ましい。これにより、微小滴吐出に有利な曲率半径の小さなメニスカスを得ることができる。
【0033】
また、上述の課題を解決するために、本発明に係わる液滴吐出ヘッドは、所定のテーパー角を有する略ストレート形状のストレート部を有するノズル、該ノズルと連通する圧力発生室、および電気機械変換器とを少なくとも有し、前記電気機械変換器に、前記圧力発生室の体積を膨張させて前記ノズルのメニスカスを前記圧力発生室側に引き込むための第1電圧変化プロセスと、次いで前記圧力発生室の体積を収縮させて液滴を吐出させるための第2電圧変化プロセスとを少なくとも含み構成される駆動電圧を印加し、前記圧力発生室内に圧力変化を生じさせて、前記ノズルのメニスカスの中央部に形成された液柱から液滴を分離させることにより、前記ノズルから前記液滴を吐出させる液滴吐出ヘッドであって、前記第2電圧変化プロセスを印加する時点における時におけるノズル開口から前記メニスカスの先端位置までの長さを示す引き込み量をDとしたとき、前記ストレート部の長さlnをD/1.5≦ln≦D/0.8の条件を満足するように設定することを特徴とする。これにより、液柱形成過程において、凹形状のメニスカスをノズル中央部で激しく干渉させることができ、滴体積の極めて小さな微小液滴を吐出することが可能となる。
【0034】
また、本発明の好ましい液滴吐出ヘッドは、前記ノズルが、前記ストレート部と接続されたテーパ部を有する。これにより、メニスカス引き込み時におけるノズル内部への気泡巻き込みを防止することができ、信頼性に優れた液滴吐出ヘッドを実現できるという効果が得られる。
【0035】
また、本発明の好ましい液滴吐出ヘッドは、前記ノズルの開口径をdnとしたとき、前記ストレート部の長さlnが、
0.8 dn≦ln≦2.0 dn
の条件式を満足するように設定される。これにより、最低限のメニスカス引き込みによって、微小滴吐出に有利となる曲率半径の小さなメニスカスを得ることができるという効果が得られる。
【0036】
また、本発明の好ましい液滴吐出ヘッドは、前記圧力波の固有周期Tcを15μs以下に設定する。これにより、第2電圧変化プロセス印加時に大きなメニスカス速度変化が得られ、滴体積の小さな微小滴を吐出できるという効果が得られる。
【0037】
また、本発明の好ましい液滴吐出ヘッドは、前記電気機械変換器の固有振動の固有周期Taを5μs以下に設定する。これにより、電気機械変換器の固有振動を利用した駆動方法を用いる場合において、第2電圧変化プロセス印加時に非常に大きな速度変化を生じることができ、滴体積のさらに小さな微小滴を吐出できるという効果が得られる。
【0038】
また、本発明の好ましい液滴吐出ヘッドは、前記ノズルの開口径を20μm以下に設定する。これにより、微小滴吐出に有利となる曲率半径の小さなメニスカスを得ることができるという効果が得られる。
【0039】
また、本発明の好ましい液滴吐出ヘッドは、前記電気機械変換器が、圧電振動子を含み構成される。これにより、微小滴吐出に必要な圧力波を圧力発生室内に有効に発生させることができるという効果が得られる。なお、滴体積の小さな液滴吐出を実現するためには、前記圧電振動子は縦振動モードの圧電振動子であることが好ましい。
また、本発明の好ましい液滴吐出ヘッドは、ノズルの所定のテーパー角を、10°以下とする。これにより、微小滴吐出に有利な曲率半径の小さなメニスカスを得ることができる。
【0040】
また、本発明に係る液滴吐出装置は、前記液滴吐出ヘッドを搭載してなることを特徴とする。これにより、極めて微小な液滴を媒体上に吐出させることができ、高画質の画像記録、高密度の配線パターン形成、高密度ディスプレイパネルの製造等を可能とすることができる。
また、本発明の好ましい液滴吐出装置は、ノズルの所定のテーパー角を、10°以下とする。これにより、微小滴吐出に有利な曲率半径の小さなメニスカスを得ることができる。
【0041】
【発明の実施の形態】
次に、本発明の実施の形態について図面を参照して詳細に説明する。
【0042】
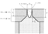
[第1の実施の形態]
図1は本発明の液滴吐出ヘッドの第1の実施の形態におけるノズル部の拡大図、図2はこの第1の実施の形態の液滴吐出ヘッドの駆動波形(電気機械変換器に印加する駆動電圧の電圧波形)を示す図である。液滴吐出ヘッド全体の基本構成は、図6に示す従来の液滴吐出ヘッドと同一とした。
【0043】
この第1の実施の形態の液滴吐出ヘッドは、エッチング等によって穿孔加工された複数のステンレス板(厚さ50〜150μm)を、接着剤によって積層接合することにより作製した。ヘッドには32個の圧力発生室1(図6の紙面垂直方向に配列)が設けられており、それらは供給路5を介して共通流路4によって連結されている。共通流路4は液体タンク(図示せず)と連結されており、各圧力発生室1に液体を導く働きをしている。各圧力発生室1には、液滴8を吐出するためのノズル2が連結されている。また、圧力発生室1の底面には振動板6が形成されており、振動板6には電気機械変換器としての圧電アクチュエータ(圧電振動子)7が取り付けられている。この圧電アクチュエータ7に駆動波形(駆動電圧)を印加すると、圧電アクチュエータ7が変形し、液体が充填された圧力発生室1を膨張または圧縮させる。圧力発生室1に体積変化が生じると、圧力発生室1内に圧力波が発生する。この圧力波の作用によってノズル部の液体が運動し、ノズル2から外部へ排出されることにより液滴8が形成される。
【0044】
この第1の実施の形態において、ノズル2はポリイミドフィルムをエキシマレーザーで穿孔することにより形成した。ノズル開口径は20μm、ノズル長さは25μmであり、ノズル2の断面形状はテーパー角10°以下の略ストレート形状とした(図1参照)。すなわち、この第1の実施の形態では、ノズル2はストレート部のみから構成される。
【0045】
供給路5はステンレス板をプレスによって穿孔することにより形成し、開口径約30μm、長さ75μmのテーパー形状とした。振動板6には電鋳(エレクトロフォーミング)で成形したニッケルの薄板を用いた。圧電アクチュエータ7には積層型圧電セラミクスを用いた。
【0046】
図27は、圧電アクチュエータを駆動するための駆動回路の基本構成を示す図である。駆動回路は、波形発生回路41、増幅回路42、およびスイッチング回路(トランスファ・ゲート回路)43を含み構成される。波形発生回路41は、デジタル・アナログ変換回路と積分回路とから構成され、駆動波形データをアナログ変換した後、積分処理して駆動波形信号を発生する。増幅回路42は、波形発生回路41から供給された駆動波形信号を電圧増幅および/または電流増幅して増幅駆動波形信号として出力する。スイッチング回路43a、43b、43cは、液滴吐出のオン・オフ制御を行うもので、画像パターンデータ等をもとに生成された信号に基づいて、駆動波形信号を圧電アクチュエータ7に印加する。
【0047】
なお、吐出させる液滴の径を多段階に切り替える場合、すなわち滴径変調を実行する場合には、図28に示すような駆動回路を使用する。この例の駆動回路では、滴径を3段階(大滴、中滴、小滴)に変調するために、それぞれの滴径に応じた3種類の波形発生回路41a、41b、41cを具備しており、各波形は増幅回路42a、42b、42cによって増幅される。記録時には、画像パターンデータ等をもとに、圧電アクチュエータ7に印加される駆動波形がスイッチング回路43a、43b、43cによって切り替えられ、所望滴径の液滴が吐出される。なお、圧電アクチュエータを駆動するための駆動回路は、この実施の形態に示した構成のものに限らず、他の構成のものを用いることも可能である。
【0048】
この第1の実施の形態で使用した駆動波形は、図2に示すように、吐出直前に圧力発生室1を膨張させるための第1電圧変化プロセス51、圧力発生室1を急激な速度で圧縮するための第2電圧変化プロセス52、圧力発生室1を急激な速度で膨張させるための第3電圧変化プロセス53、および圧力発生室1を再び急激な速度で圧縮するための第4電圧変化プロセス54、および印加電圧を基準電圧に戻すための第5電圧変化プロセス55によって構成されている。それぞれの電圧変化における電圧変化時間および電圧変化量は、区間t1=2μs、区間t2=2μs、区間t3=2μs、区間t4=0.5μs、区間t5=2μs、区間t6=0.3μs、区間t7=2.2μs、区間t8=6μs、電圧変化量V1=15V、電圧変化量V2=8V、電圧変化量V3=14V、バイアス電圧Vb=20Vに夫々設定した。
【0049】
この駆動波形が圧電アクチュエータに印加されると、第1電圧変化プロセス51によってノズル開口部のメニスカスが一旦圧力発生室側に引き込まれ、凹形状のメニスカスを形成する(図1、図8(b)参照)。その後、第2電圧変化プロセス52が加えられると、ノズル中央部に細い液柱が形成され、更に第3電圧変化プロセス53によって液柱が早期に分断されることにより、ノズル径よりも小さな液滴が吐出される。また、液滴吐出後に残存する圧力波の残響は、第4電圧変化プロセス54によって抑制される。
【0050】
ここで、メニスカスの粒子速度および位置を理論計算によって求めるための等価電気回路モデルについて説明する。図11(a)は、図6に示した液滴吐出ヘッドを等価電気回路に置き換えたものである。ここで、mはイナータンス[kg/m4]、rは音響抵抗[Ns/m5]、cは音響容量[m5/N]、uは体積速度[m3/s]、φは圧力[Pa]を表わし、添字の0は駆動部(圧電アクチュエータ)、添字の1は圧力発生室、添字の2は供給路、添字の3はノズルをそれぞれ意味している。
【0051】
図11(a)の回路において、圧電アクチュエータに高剛性の積層型圧電アクチュエータを使用し、かつ、駆動波形の各電圧変化プロセスが、圧電アクチュエータの固有振動の固有周期Ta(後述)よりも大きく設定されている場合には、振動系のイナータンスm0、音響抵抗r0、および音響容量c0は無視することができる。また、圧力波の解析時には、ノズルの音響容量c3も無視することができるため、図11(a)の回路は図11(c)のように簡略化できる。
【0052】
ノズルと供給路のイナータンスおよび音響抵抗に、m2=k・m3、r2=k・r3の関係が成り立つと仮定し、図12(a)のように立ち上がり角度θをもつ駆動波形を入力した場合について回路解析を行うと、0≦t≦t1の時間内におけるノズル部での粒子速度v3’は、
のように表わされる(A3はノズル開口面積)。
【0053】
図12(b)のような複雑な形状の駆動波形を用いた場合の粒子速度は、駆動波形の各節(A、B、C、D)で発生する粒子速度を重ね合わせていくことによって求めることができる。すなわち、図12(b)の駆動波形で発生する粒子速度v3は、
のように表わされる。
【0054】
図3の実線は、図2の駆動波形を入力した際のメニスカスの粒子速度を式(2)によって求めた結果である。なお、式(2)により求めた粒子速度は、レーザードップラー計を用いて実測した結果(図3の点線)と良く一致しており、式(2)によってメニスカスの粒子速度を正確に求められることが確認された。なお、本実施の形態の液滴吐出ヘッドにおいて、圧力発生室1内に発生する圧力波の固有周期Tcは10μsであった。
【0055】
液滴吐出直前のメニスカス引き込み量(体積)は、図3の斜線部の面積とノズル開口径の積として求めることができる。メニスカスの断面形状を放物線状と近似すると、本実施の形態でのメニスカス引き込み量(先端位置)Dは約30μmと算出される。すなわち、本実施の形態では、図1に示すように、引き込まれたメニスカスの先端がノズルの下端よりも僅かに飛び出した状態となる。
【0056】
上記のように、メニスカスの引き込み量Dをノズル長さlnとほぼ同等に設定することにより、第2電圧変化プロセス52によってメニスカスに「押し」を加えた際に、メニスカス先端部近傍においてR成分の大きな速度ベクトルを発生させることができる(図10参照)。これにより、ノズル中央部において激しい液面干渉を発生でき、極めて細い液柱を形成することが可能となる。実際に本実施の形態の液滴吐出ヘッドを用いて吐出実験を行った結果、滴体積1pl、滴速8m/sの微小滴吐出を実行することができた。
【0057】
図4は、メニスカスの引き込み量Dおよびノズル長さlnを変化させて、得られる最小滴径を調べた結果である。メニスカスの引き込み量Dは、図2の駆動波形における電圧変化量V1を増減することによって変化させた。この結果から、メニスカスの引き込み量Dを0.8 ln≦D≦1.5 lnの範囲内に設定すると非常に小さな滴が得られるのに対し、D≦0.8 lnでは十分な微小滴吐出が実行困難であることがわかる。これは、D≦0.8 lnの条件では、メニスカスにR成分の大きな速度ベクトルを発生させることができないためである。また、D≧1.5 lnの範囲でも滴体積の増加が確認された。これは、メニスカスの引き込み量Dがノズル長さlnを大きく超えると、メニスカス形状が図13に示すようになり、メニスカスの曲率半径が増加するためと考えられる。従って、滴体積の小さな微小滴を安定に吐出させるためには、メニスカスの引き込み量Dを
0.8 ln≦D≦1.5 ln (3)
の範囲内に設定することが最適である。
【0058】
また、本実施の形態では、微小滴吐出の安定性および均一性が非常に高いことが確認された。具体的には、ヘッド内に設けた32個のイジェクタから微小滴を同時吐出した場合、各ノズルから吐出される微小滴の滴体積および滴速にそれぞれ約±2%以内の均一性を得ることができた。また、駆動周波数を1〜15kHzの範囲で変化させても、滴体積および滴速の変化を±3%以内に抑えられることが確認された。従来の液滴吐出ヘッドおよび駆動方法では、イジェクタ間に約±5%以上、駆動周波数によって約±8%以上の滴体積および滴速の変化が発生していたのと比較すると、本発明の液滴吐出ヘッドは、微小滴吐出の安定性および均一性に非常に優れていると言える。
【0059】
本発明の液滴吐出ヘッドおよび駆動方法で、微小滴吐出の安定性および均一性を向上できる理由は、微小滴吐出に必要となる極細液柱の形成方法に依っている。すなわち、従来の微小滴吐出方法では、駆動波形の最適化のみによって極細液柱の形成を行っていたため、イジェクタ間の固有周期Tcのばらつき等によって液柱の形成状態が変化し、結果的に滴体積や滴速に大きなばらつきを発生させていた。一方、本発明の液滴吐出ヘッドおよび駆動方法は、メニスカス引き込み量とノズル形状の最適設定によって極細液柱を形成している。メニスカス引き込み量やノズル形状は、固有周期Tcなどと比較すると、均一性を確保することが容易である。従って、本発明の液滴吐出ヘッドおよび駆動方法では、高い安定性および均一性を有する微小滴吐出が可能となる。
【0060】
なお、本実施の形態では、ノズル開口径を20μm、ノズル長さを25μmに設定したが、これは微小滴吐出に有利となる曲率半径の小さなメニスカスを形成するためである。すなわち、引き込まれたメニスカスの断面形状を放物線状と見なすと、メニスカス先端の曲率半径Rは、
R=dn 2/(8・D) (4)
によって表わされる。
【0061】
つまり、メニスカス先端の曲率半径Rを小さくするためには、ノズル径dnの減少およびメニスカス引き込み量Dの増加が有効となる。そこで、本実施の形態では、ノズル開口径を20μmと小さく設定し、さらにノズル長さln(≒メニスカス引き込み量D)を25μmと大きく設定することにより、微小滴吐出に有利となる曲率半径の小さなメニスカスを形成した。
【0062】
また、流体解析の結果、メニスカスの引き込み量Dがノズル径dnに対して一定以上大きくなると、メニスカス形状が放物線でなくなり、曲率半径もあまり減少しなくなることが明らかになった。また、吐出実験の結果、メニスカスの引き込み量を非常に大きく設定すると、特に連続吐出時における微小滴吐出の安定性が低下することも明らかになった。従って、メニスカスの引き込み量Dは必要最低限に設定することが望ましい。
【0063】
図5は、メニスカス引き込み量Dと曲率半径Rとの関係を調べた結果である。D≦2.0 dnの範囲では、DとRの間に式(4)の関係が成り立つが、D>2.0 dnの範囲では、RはDに依存しなくなることが明らかになった。また、D≦0.8 dnの範囲では、小さな曲率半径Rを得ることが困難である。従って、曲率半径の小さなメニスカスを最低限のメニスカス引き込み量で得るためには、ノズル開口径dnとノズル長さln(≒メニスカス引き込み量D)の関係を、
0.8 dn≦ln≦2.0 dn
の条件式を満足するように設定することが望ましい。
【0064】
また、微小滴吐出に有利な曲率半径の小さなメニスカスを得るためには、ノズル(またはノズルのストレート部)のテーパー角θnは小さいことが望ましく、具体的には10°以下であることが好ましい。ただし、この範囲外のテーパー角を用いても不十分ながら本発明の効果を得ることは可能である。
【0065】
なお、滴体積の小さな液滴を吐出するためには、本実施の形態のように、第2電圧変化プロセス52の電圧変化時間t3および第3電圧変化プロセス53の電圧変化時間t5を固有周期Tcの1/3以下に設定することが好ましい。また、第2電圧変化プロセス52の終了時刻と第3電圧変化プロセス53の開始時刻との時間間隔(t4)を固有周期Tcの1/5以下に設定することが好ましい。なぜならば、こうした駆動波形を用いることにより、滴吐出時に大きな粒子速度が得られると共に、液柱からの液滴分離を早期に実行することができ、滴体積の小さな微小滴を吐出することが可能となるからである。すなわち、微小滴吐出を実行するためには、図3の斜線部面積が小さくなるほど有利となるが、上記のような駆動波形を用いることにより、斜線部面積の小さな粒子速度変化を得ることが可能となる。
【0066】
また、安定した微小滴吐出を実現するためには、本実施の形態のように、第4電圧変化プロセス54によって液滴吐出後の圧力波残響を抑制することが有効となる。図3の粒子速度変化において、t>12μsでは粒子速度の振幅が非常に小さくなっているが、これは、液滴吐出後における圧力波残響が第4電圧変化プロセス54によって良好に抑制されているためである。このように圧力波残響が抑制されると、微小滴を連続吐出した場合に、直前の吐出の影響を受け難くなるため、微小滴を安定に連続吐出することが可能となる。なお、残響抑制を効果的に実行するためには、第4電圧変化プロセス54の電圧変化時間t7を、前記固有周期Tcの1/2以下に設定することが好ましい。
【0067】
[第2の実施の形態]
図14は本発明の液滴吐出ヘッドの第2の実施の形態におけるノズル形状を示した図である。ノズル以外の部分の構造は、第1の実施の形態と同一とした。すなわち、本実施の形態の液滴吐出ヘッドは、ノズルをストレート部23とテーパー部24の組み合わせにより構成している点に特徴がある。
【0068】
ノズルをこうした構造とすることにより、ノズル内部への気泡巻き込みの発生を有効に防止することが可能となり、吐出安定性および信頼性の高い液滴吐出ヘッドを実現することが可能となる。すなわち、本発明では、ノズルストレート部23の長さとほぼ同程度までメニスカスの引き込みを行うため、ノズル内部に気泡を巻き込みやすいという問題がある。特に、第1の実施の形態のようにノズルをストレート部のみで構成した場合には、ストレート部の下端に大きな段差が形成されるため、気泡が段差部に留まりやすく、気泡巻き込みが発生しやすい。液滴吐出ヘッドは、圧力発生室内に発生させた圧力波によって液滴を吐出させるため、流路内に気泡が存在すると正常な圧力波を発生できなくなり、吐出状態が大きく変化してしまう。特に、メニスカス制御による微小滴吐出は圧力波の特性(振幅、固有周期)に敏感であるため、気泡巻き込みが発生すると吐出が不可能になってしまう可能性が高い。
【0069】
そこで本実施の形態では、ノズル2をストレート部23とテーパー部24により構成し、ストレート部23の下端に段差が発生することを防いでいる。テーパー部24の形状は、気泡巻き込み防止するという作用と、メニスカス9にR成分の大きな速度ベクトルを発生するという作用を両立できるように設定している。本実施の形態においてノズル2は、ステンレス板をプレスによって穿孔することにより形成した。ノズル開口径dnは20μm、ストレート部23の長さlnは25μm、テーパー部24の長さは30μm、テーパー部のテーパー角θtは約45°とした。
【0070】
本実施の形態の液滴吐出ヘッドを用いて吐出実験を実施した結果(図2の駆動波形を使用)、1plの微小滴を10kHzの駆動周波数で1時間連続吐出しても、気泡巻き込みが全く発生しないことが確認された。一方、第1の実施の形態のインクジェット記録ヘッドについても同様の吐出試験を実施したところ、約1%のノズルで気泡巻き込みによる不吐出が発生した。このことから、ノズルをストレート部とテーパー部により構成した本実施の形態は、液滴吐出ヘッドの信頼性を向上させるのに有効であると言える。
【0071】
なお、ストレート部の下端に接続する部分の形状はテーパー形状であることが最適であるが、メニスカスにR成分の大きな速度ベクトルを発生でき、かつ、気泡巻き込みの抑制作用を得ることができれば、テーパー形状以外の形状を適用してもかまわない。
【0072】
また、テーパー部24のテーパー角θtは、気泡巻き込み防止するという作用と、メニスカス先端にR成分の大きな速度ベクトルを発生するという作用を両立するという観点から、30〜60°の範囲が好ましいが、この範囲外のテーパー角を用いても不十分ながら本発明の効果を得ることは可能である。
【0073】
なお、ストレート部とテーパー部の組み合わせによるノズル構成は、従来から知られているが(例えば特開平10−226070号公報)、これらの従来技術は、本発明とは全く異なるものである。すなわち、従来のノズルでは、ストレート部はノズル開口径精度の確保や液滴の吐出方向精度を向上させることを目的として設けられており、その長さは通常10〜20μm程度と小さい。また、テーパー部のテーパー角も通常20°以下と小さい。そのため、従来のノズルを用いてメニスカス制御方式による微小滴吐出を行った場合、本発明が目的としている超微小滴の吐出(ノズル中央部での激しいメニスカス干渉)を実現することは極めて困難である。なぜならば、従来ノズルを用いてメニスカス制御方式による微小滴吐出を行う場合、図15に示すように、メニスカスはテーパー部の内部まで引き込まれる必要がある(ストレート部の長さが短いため)。そのため、メニスカス先端の曲率半径は増大してしまう。また、テーパー部のテーパー角が小さいため、「押し」を加えた際にメニスカスの速度ベクトルには大きなR成分を得ることが困難である。実際、図15に示した従来ノズルを用いて微小滴吐出を行った結果、吐出できる微小滴は2plが限界であった。
【0074】
つまり、ノズルをストレート部とテーパー部により構成するだけでは本発明の効果を得ることはできず、あくまでもストレート部の長さlnとメニスカス引き込み量Dの関係を最適設定することにより始めて本発明の効果を得ることが可能となる。
【0075】
[第3の実施の形態]
図16は、本発明の液滴吐出ヘッドの第3の実施の形態における駆動波形である。本駆動波形は、吐出直前に圧力発生室を膨張させるための第1電圧変化プロセス51、圧力発生室を急激な速度で圧縮するための第2電圧変化プロセス52、圧力発生室を急激な速度で膨張させるための第3電圧変化プロセス53、および圧力発生室を再び急激な速度で圧縮するための第4電圧変化プロセス54、および印加電圧を基準電圧に戻すための第5電圧変化プロセス55によって構成されている。すなわち、本駆動波形の基本要素は第1の実施の形態と同様であるが、第1電圧変化プロセス51の電圧変化時間t1を固有周期Tc(=2π/Ec)の略1/2に設定し、かつ、第1電圧変化プロセス51の終了時刻と第2電圧変化プロセス52の開始時刻との間隔(t2)を非常に小さく設定している点に特徴がある。これは、以下に述べるように、第2電圧変化プロセス52の印加時にメニスカスに大きな粒子加速度を発生させ、滴体積のさらに小さな微小滴を吐出可能とするためである。
【0076】
図17は、図16の駆動波形に対し、式(2)を用いて粒子速度v3を求めた結果である(式(1)の振動成分のみを考慮)。図17において、細線はA、B、C、Dの各節で発生するそれぞれの粒子速度を示しており、太線はそれらを重ね合わせた粒子速度、すなわち実際にメニスカスに生じる粒子速度変化を表わしている。
【0077】
駆動波形において、t1を固有周期Tcの1/2に設定し、t2を極めて小さく設定した場合、図17に示すように、節A、節B、および節Cで発生する粒子速度変化の位相はほぼ一致する。そのため、(t1+t2)≦t≦(t1+t2+t3)の時間範囲(図17のbの時間範囲)において、粒子速度の振幅が急激に増加し、非常に急峻な速度変化が生じる。
【0078】
前述したように、液柱形成過程におけるメニスカスの速度が大きいほど、ノズル中央部で激しいメニスカス干渉が発生し、微小滴の吐出に有利な極細液柱の形成が可能となる。従って、図12(a)に示すように、節A、節B、および節Cで発生する粒子速度変化の位相はほぼ一致させ、(t1+t2)≦t≦(t1+t2+t3)の時間範囲で大きな粒子加速度を発生させることは、微小滴吐出に極めて有利となる。
【0079】
本実施の形態で用いた液滴吐出ヘッドの固有周期Tcは10μsであるため、第1電圧変化プロセス51の電圧変化時間t1は5μsに設定し、t2は0.5μsに設定した。なお、上述した粒子速度の位相一致の効果を得るためには、t2は固有周期Tcの1/5以下に設定することが望ましい。
【0080】
また、メニスカスの引き込み量Dが0.8 ln≦D≦1.5 lnの条件を満足するように、電圧変化量V1は25Vに設定した。また、区間t3=2μs、区間t4=0.5μs、区間t5=2μs、区間t6=0.3μs、区間t7=2.2μs、区間t8=17μs、電圧変化量V2=8V、電圧変化量V3=13V、バイアス電圧Vb=20Vに夫々設定した。
【0081】
本実施の形態の液滴吐出ヘッドを用いて吐出実験を行った結果、滴体積0.5pl、滴速8.2m/sの微小滴吐出を実行することができた。このように、メニスカス引き込み量Dをノズル長さlnに対して最適設定すると同時に、駆動波形の節A、節B、および節Cで発生する粒子速度変化の位相を一致させ、「押し」の際のメニスカスの粒子加速度を増加することにより、第1の実施の形態よりもさらに小さな微小滴吐出が可能になることが確認された。すなわち、本実施の形態は、メニスカス引き込み量Dの最適化と、「押し」の際の粒子速度増加という、微小滴吐出に有効な二つの手段を組み合わせたものである。
【0082】
[第4の実施の形態]
図18は、本発明の液滴吐出ヘッドの第4の実施の形態における駆動波形である。本駆動波形は、吐出直前に圧力発生室を膨張させるための第1電圧変化プロセス51、圧力発生室を急激な速度で圧縮するための第2電圧変化プロセス52、圧力発生室を急激な速度で膨張させるための第3電圧変化プロセス53、圧力発生室を再び急激な速度で圧縮するための第4電圧変化プロセス54、および印加電圧を基準電圧に戻すための第5電圧変化プロセス55によって構成されている。すなわち、本駆動波形の基本要素も第1の実施の形態および第2の実施の形態と同様であるが、第1電圧変化プロセス51の電圧変化時間t1と、第1電圧変化プロセス51の終了時刻と第2電圧変化プロセス52の開始時刻との時間間隔(t2)を一定の条件を満足するように設定している点に特徴がある。これは、以下に述べるように、第2電圧変化プロセス52の印加時にメニスカスに大きな粒子加速度を発生させ、滴体積のさらに小さな微小滴を吐出可能とするためである。
【0083】
図19は、図18の駆動波形に対し、式(2)を用いて粒子速度v3を求めた結果である(式(1)の振動成分のみを考慮)。図19において、細線はA、B、C、Dの各節で発生するそれぞれの粒子速度を示しており、太線はそれらを重ね合わせた粒子速度、すなわち実際にメニスカスに生じる粒子速度変化を表わしている。
【0084】
式(1)から、節A、B、Cで発生する粒子速度vA、vB、vCの振動成分は、それぞれ
のように表わすことができる。なお、粒子速度の減衰は影響が小さいため、ここでは式(1)の減衰項は無視することにする。ここで、aA、aB、aCはそれぞれの粒子速度の振幅であり、aA=aBである(駆動波形における角度変化量が同一)。また、φA、φB、φCはそれぞれの粒子速度変化の位相である。
【0085】
正弦波の重ね合わせにより、t1<t<(t1+t2)での粒子速度は
で表わされる。t>(t1+t2)では、上式で表わされる粒子速度に、さらに節Cで発生する粒子速度が重畳される。このとき、節Cで発生する粒子速度の位相φCが上式の位相φA+Bと一致したときに、t>(t1+t2)での振幅は最大となる。すなわち、
となるようにt2を設定すれば、t<(t1+t2)における粒子速度振幅は最大となる。
【0086】
図20は、式(5)をもとに、粒子速度振幅を最大とするt2の値をプロットした結果である(Tc=10μsとして計算)。t1の設定値に応じて、最適なt2が存在することがわかる。
【0087】
上記のように、式(5)に従ってt1、t2を設定した場合、図19に示すように、(t1+t2)≦t≦(t1+t2+t3)の時間範囲(図19のbの時間範囲)では、粒子速度の振幅が急激に増加し、非常に急峻な速度変化が生じる。これにより、ノズル中央部で激しいメニスカス干渉を生じさせることができ、微小滴の吐出に有利となる。
【0088】
本実施の形態では、式(5)の条件を満足するように、t1=2μs、t2=1.5μsに設定した。また、メニスカスの引き込み量Dが0.8 ln≦D≦1.5 lnの条件を満足するように、V1=15Vに設定した。区間t3=2μs、区間t4=0.5μs、区間t5=2μs、区間t6=0.3μs、区間t7=2.3μs、区間t8=8μs、電圧変化量V2=10V、電圧変化量V3=13V、バイアス電圧Vb=20Vに夫々設定した。
【0089】
本実施の形態の液滴吐出ヘッドを用いて吐出実験を行った結果、滴体積0.6pl、滴速8.0m/sの微小滴吐出を実行することができた。
【0090】
[第5の実施の形態]
図21は、本発明の液滴吐出ヘッドの第5の実施の形態における駆動波形である。本駆動波形は、吐出直前に圧力発生室を膨張させるための第1電圧変化プロセス51、圧力発生室を急激な速度で圧縮するための第2電圧変化プロセス52、圧力発生室を急激な速度で膨張させるための第3電圧変化プロセス53、圧力発生室を再び急激な速度で圧縮するための第4電圧変化プロセス54、および印加電圧を基準電圧に戻すための第5電圧変化プロセス55によって構成されている。すなわち、本駆動波形の基本要素も第1〜第3の実施の形態と同様であるが、第2電圧変化プロセス52の電圧変化時間t3と、第3電圧変化プロセス53の電圧変化時間t5を圧電アクチュエータ自体の固有周期Taよりも小さく設定している点に特徴がある。これは、以下に述べるように、第2電圧変化プロセス52の印加時にメニスカスに大きな粒子加速度を発生させ、滴体積のさらに小さな微小滴を吐出可能とするためである。
【0091】
ここで、本実施の形態の駆動波形が滴体積の小さな微小滴を吐出するのに有利である理由を、等価電気回路モデルを用いて説明する。液滴吐出ヘッドの等価電気回路は、前述したように、図11(a)によって表わされる。圧電アクチュエータに、高剛性の圧電アクチュエータ(縦振動モードの積層圧電アクチュエータなど)を使用した場合には、図11(a)の回路には、前述した図11(c)の振動系と共に、図11(b)に示される振動系が含まれる。図11(b)は、圧電アクチュエータ自体の固有振動を示しており、固有周期Taは
で表わされる。なお、固有周期Taは、固定端−自由端の棒が縦振動する際の固有周期として、
から近似的に求めることができる(Lは圧電アクチュエータの長さ、ρpおよびEpは圧電アクチュエータ材料の密度および弾性係数)。
【0092】
本実施の形態の液滴吐出ヘッドでは、圧電アクチュエータの長さLは1.1mm、密度ρpは8.0×103kg/m3、弾性係数Epは68GPaであるため、圧電アクチュエータ自体の固有周期Taは1.6μsである。
【0093】
この圧電アクチュエータ自体の固有振動は、特定の駆動波形を印加することにより励起することができる。図23は、図11(a)の回路で、圧力φ(駆動電圧に比例)を図22(a)に示すように変化させた場合におけるノズル部粒子速度v3の変化を求めた結果である。圧力φの立ち上げ時間t1を固有周期Taよりも大きく設定した場合には、図23(a)に示すように、粒子速度v3は固有周期Tcで振動する。すなわち、この場合、粒子速度v3は図11(c)の回路のみによって支配される。これが、従来の液滴吐出ヘッドにおける圧力発生形態である。一方、圧力φの立ち上げ時間t1を固有周期Taと同等もしくはそれ以下に設定した場合、粒子速度v3の変化は図23(b)に示すようになる。この場合、図11(b)の振動系が励起され、その結果、粒子速度v3の変化は固有周期Tcの振動と固有周期Taの振動が重畳したものとなる。つまり、圧力φの立ち上げ時間を固有周期Taと同等もしくはそれ以下に設定することにより、圧電アクチュエータ自体の固有周期でメニスカスを振動させることが可能となる。
【0094】
次に、圧力φの変化を、図22(b)に示すような台形波形状とした場合について考える。ここで、立ち上げ時間t1および立ち下げ時間t3は、どちらも固有周期Taと同等もしくはそれ以下に設定されており、また、立ち上げの開始時刻と立ち下げの開始時刻との時間差(t0)を、Ta/2≦t0≦Taに設定すると、メニスカスの粒子速度v3は図24に示すように変化する。すなわち、立ち上げ部57によって急激に伸長された圧電アクチュエータが、圧電アクチュエータの固有振動で縮もうとするタイミングに合わせて圧電アクチュエータを収縮させる電圧変化58が印加されるため、圧電アクチュエータは急激に収縮し、その結果、粒子速度v3は非常に早いタイミングでv3=0に戻ることになる。
【0095】
上記の作用を利用し、第2電圧変化プロセス52の電圧変化時間t3を固有周期Taと同等もしくはそれ以下に設定することにより、「押し」の過程におけるメニスカス速度に大きな変化を生じさせることができる。また、第3電圧変化プロセス53の電圧変化時間t5を固有周期Taと同等もしくはそれ以下に設定し、かつ、第2電圧変化プロセス52の開始時刻と第3電圧変化プロセス53の開始時刻との差t0をTa/2≦t0≦Taの範囲内に設定することにより、極めて早いタイミングで液柱から液滴を分離させることができ、滴体積の極めて小さな液滴を吐出することが可能となる。図21の駆動波形は、そうした作用が得られるように、t3を0.5μs、t4を1μs、t5を0.5μsに設定している。すなわち、第1〜第4の実施の形態では、図11(c)の回路のみを利用して液滴吐出を行っていたのに対し、本実施の形態では、駆動部(圧電アクチュエータ)自体の固有振動も利用して液滴吐出を行う点が大きな特徴である。
【0096】
また、第1電圧変化プロセス51の立ち下げ時間t1は、駆動波形の節A、節B、および節Cで発生する粒子速度変化の位相を一致させるために、固有周期Tcの1/2(5μs)に設定し、第1電圧変化プロセス51と第2電圧変化プロセス52との時間間隔(t2)は0.2μsと小さく設定した。また、メニスカスの引き込み量Dが0.8 ln≦D≦1.5 lnの条件を満足するように、電圧変化量V1は20Vに設定した。この駆動波形を印加した際のメニスカスの動きをレーザードップラー計によって観察した結果を図25に示す。
【0097】
実際に、図21の駆動波形を用いて吐出実験を行った結果、滴体積0.2plの液滴が、滴速5.1m/sで吐出されることが観察された。第1〜第4の実施の形態よりも更に小さな液滴を吐出できたのは、上述の圧電アクチュエータの固有振動を利用し、液柱形成および液滴分離の過程におけるメニスカスの速度変化を大きくしたためである。すなわち、本実施の形態は、メニスカス引き込み量Dの最適化と、圧電アクチュエータ自体の固有振動を利用したメニスカス粒子速度増加という、微小滴吐出に有効な二つの手段を組み合わせたものである。
【0098】
なお、安定した微小滴吐出を実現するためには、駆動波形の第1電圧変化プロセス51の立ち下げ時間t1は、Ta<t1≦Tcの範囲内に設定することが望ましい。なぜならば、t1≦Taと設定すると、t≦t1+t2の時間範囲においても固有周期Taの振動が生じてしまうため、メニスカス形状の正確な制御が困難になったり、不要な吐出が発生したりするといった問題が生じやすいためである。また、t1>Tcに設定した場合にも、t≦t1+t2の時間範囲の粒子速度v3の変化が複雑化してしまい、やはりメニスカス形状の正確な制御が困難となる。従って、t1はTa<t1≦Tcの範囲内に設定することが望ましく、この場合、図25に示されるように、t≦t1+t2の時間範囲においては固有周期Taの振動が発生しないため、安定なメニスカス形状の制御が可能となる。
【0099】
[第6の実施の形態]
図26は、本発明の第6の実施の形態である液滴吐出装置を示す図である。本実施の形態の液滴吐出装置は、液滴吐出ヘッドを搭載するキャリッジ31と、キャリッジ31を主走査方向36に走査するための主走査機構33と、記録媒体としての記録用紙34を副走査方向37に搬送するための副走査機構35とを含み構成されている。
【0100】
液滴吐出ヘッドはノズル面が記録用紙34と対向するようにキャリッジ31上に搭載され、主走査方向36に搬送されながら記録用紙34に対して液滴を吐出することにより、一定のバンド領域38に対して記録を行う。次いで、記録用紙34を副走査方向37に搬送し、再びキャリッジ31を主走査方向36に搬送しながら次のバンド領域を記録する。こうした動作を複数回繰り返すことにより、記録用紙34の全面にわたって画像記録を行うことができる。
【0101】
実際に、本実施の形態の液滴吐出装置を用いて画像記録を行い、画像品質の評価を行った。液滴吐出ヘッドには、上記第5の実施の形態で述べたヘッド構造のものを使用した。イエロー、マゼンタ、シアン、ブラックの4色のインクに対応させて、1色あたり260個のイジェクタを有するマトリクス状配列ヘッドをキャリッジ31上に並べて配置し、記録用紙34上で4色のドットを重ねあわせることにより、フルカラーの画像記録を行った。その結果、0.5plの微小滴を用いたために、低濃度領域であるハイライト部での粒状感がまったくない、極めて高い画像品質を得ることができた。
【0102】
なお、本実施の形態ではヘッドをキャリッジによって搬送しながら記録を行う形態としたが、ノズルを記録媒体の全幅にわたって配置したライン型ヘッドを用い、ヘッドを固定して、記録媒体のみを搬送しながら記録を行うなど、別の装置形態に本発明を適用することも可能である。
【0103】
また、本実施の形態では記録用紙に対する画像記録装置(プリンタ)を挙げたが、本発明はこうした画像記録装置だけでなく、有機EL溶液を基板上に吐出させてELディスプレイパネルを形成したり、溶融状態のハンダを基板上に吐出して電気実装用のバンプを形成するなど、様々な工業的用途を対象とした液滴吐出装置に適用することが可能である。
【0104】
以上、本発明の実施の形態について説明したが、上記の実施の形態は本発明に好適な実施の形態を示したものであり、本発明はこれらに限定されるものではない。すなわち、本発明の主旨を逸脱することなく、種々の変形、改良、修正、簡略化などを上記実施の形態に加えた他の形態をもって、本発明を実施することができる。
【0105】
例えば、上記実施の形態では圧電アクチュエータに圧電定数d33を利用した縦振動モードの圧電アクチュエータを用いたが、圧電定数d31を利用した縦振動モードのアクチュエータなど、他の形態のアクチュエータを使用してもかまわない。また、上記実施の形態では積層型の圧電アクチュエータを用いたが、単板型の圧電アクチュエータを用いた場合において同様の効果を得ることができる。さらに、圧電アクチュエータ以外の電気機械変換器、たとえば静電力や磁力を利用したアクチュエータを利用したインクジェット記録ヘッドに対しても、本発明を適用することが可能である。
【0106】
また、上記実施の形態では、圧電アクチュエータへの印加電圧が常に正極性となるようにバイアス電圧(基準電圧)Vbを設定したが、圧電アクチュエータに負極性の電圧を印加しても問題ない場合には、バイアス電圧Vbを0Vなど、他の電圧に設定してもかまわない。
【0107】
また、上記実施の形態では、図6に示すようなカイザー型インクジェット記録ヘッドを用いたが、圧電アクチュエータに設けた溝を圧力発生室とする記録ヘッドなど、その他の構造のインクジェット記録ヘッドに対しても本発明は同様に適用することが可能である。
【0108】
また、上記実施の形態では、ノズルのストレート部をテーパー角の小さなテーパー形状としたが、本発明におけるノズルのストレート部とは、必ずしも完全なストレート形状またはテーパー形状のものに限定されるわけではない。すなわち、見かけ上のテーパー角(近似的なテーパー角)が小さければ、ストレート部の断面形状が曲線や複数の直線によって形成されていても、本発明の効果を得ることは可能である。
【0109】
また、上記実施の形態では、ノズルの配置を1次元的な配列としたが、ノズルを2次元的配列とするなど、他のノズル配置を用いてもかまわない。
【0110】
【発明の効果】
以上説明したように、本発明によれば、従来の液滴吐出装置では困難であった1pl以下の微小滴吐出が可能になり、高画質の画像記録、高密度配線パターンの形成、高解像度のディスプレイパネルの製造など、様々な応用分野における超高精細パターニングを実現することが可能となる。
【0111】
また、本発明によれば、微小滴吐出の安定性を向上することができるため、信頼性の高い液滴吐出装置を実現することが可能となる。
【図面の簡単な説明】
【図1】本発明の第1の実施の形態におけるノズル形状を示す図である。
【図2】本発明の第1の実施の形態における駆動波形を示す図である。
【図3】本発明の第1の実施の形態におけるノズル部粒子速度を示す図である。
【図4】メニスカス引き込み量と液滴体積との関係を示す図である。
【図5】メニスカス引き込み量とメニスカス先端部の曲率半径との関係を示す図である。
【図6】液滴吐出ヘッドの基本構造を示す断面図である。
【図7】従来の微小滴吐出用駆動波形を示す図である。
【図8】微小滴吐出の原理を説明するための模式図である。
【図9】液柱形成メカニズムを説明するための模式図である。
【図10】本発明の作用を説明するための模式図である。
【図11】液滴吐出ヘッドの等価電気回路を示す図である。
【図12】駆動波形とノズル部粒子速度の関係を説明するための図である。
【図13】メニスカス引き込み量が過大な場合のメニスカス形状を示す図である。
【図14】本発明の第2の実施の形態におけるノズル形状を示す図である。
【図15】従来液滴吐出ヘッドにおけるノズル形状を示す図である。
【図16】本発明の第3の実施の形態における駆動波形を示す図である。
【図17】本発明の第3の実施の形態におけるノズル部粒子速度を示す図である。
【図18】本発明の第4の実施の形態における駆動波形を示す図である。
【図19】本発明の第4の実施の形態におけるノズル部粒子速度を示す図である。
【図20】t1の値に対応した最適なt2の値を示す図である。
【図21】本発明の第5の実施の形態における駆動波形を示す図である。
【図22】駆動波形とノズル部粒子速度の関係を説明するための第1の図である。
【図23】駆動波形とノズル部粒子速度の関係を説明するための第2の図である。
【図24】駆動波形とノズル部粒子速度の関係を説明するための第3の図である。
【図25】本発明の第5の実施の形態におけるノズル部粒子速度の測定結果を示す図である。
【図26】本発明の液滴吐出装置の一実施の形態を示す図である。
【図27】液滴吐出ヘッドの駆動回路構成を示すブロック図である。
【図28】液滴吐出ヘッドの別の駆動回路構成を示すブロック図である。
【符号の説明】
1 圧力発生室
2 ノズル
4 共通流路
5 供給路
6 振動板
7 圧電アクチュエータ
8 液滴
9 メニスカス
22 液柱
23 ストレート部
24 テーパー部
51 第1電圧変化プロセス
52 第2電圧変化プロセス
53 第3電圧変化プロセス
54 第4電圧変化プロセス
55 第5電圧変化プロセス
Claims (25)
- 所定のテーパー角を有する略ストレート形状のストレート部を有するノズルと、該ノズルと連通する圧力発生室と、電気機械変換器とを少なくとも有し、
前記電気機械変換器に駆動電圧を印加し、前記電気機械変換器を変形させて、液体が充填された前記圧力発生室内に圧力変化を生じさせて、前記ノズルのメニスカスの中央部に形成された液柱から液滴を分離させることにより、前記ノズルから前記液滴を吐出させる液滴吐出ヘッドの駆動方法であって、
前記駆動電圧の電圧波形が、前記圧力発生室の体積を膨張させて前記ノズルのメニスカスを前記圧力発生室側に引き込むための第1電圧変化プロセスと、次いで前記圧力発生室の体積を収縮させて液滴を吐出させるための第2電圧変化プロセスとを少なくとも含み構成されており、
前記ストレート部の長さをlnとしたとき、前記第2電圧変化プロセスを印加する時点におけるノズル開口から前記メニスカスの先端位置までの長さを示す引き込み量Dが、
0.8 ln≦D≦1.5 ln
の条件を満足するように前記第1電圧変化プロセスの電圧変化量および電圧変化時間を設定することを特徴とする液滴吐出ヘッドの駆動方法。 - 前記圧力発生室内に発生する圧力波の固有周期をTcとしたとき、前記第2電圧変化プロセスの電圧変化時間を前記固有周期Tcの1/3以下に設定することを特徴とする請求項1に記載の液滴吐出ヘッドの駆動方法。
- 前記駆動電圧の電圧波形が、前記第2電圧変化プロセスの直後に、前記圧力発生室の体積を膨張させるための第3電圧変化プロセスを含み構成されることを特徴とする請求項1または2の何れか一項に記載の液滴吐出ヘッドの駆動方法。
- 前記第3電圧変化プロセスの電圧変化時間を、前記固有周期Tcの1/3以下に設定することを特徴とする請求項3に記載の液滴吐出ヘッドの駆動方法。
- 前記第2電圧変化プロセスの終了時刻と、前記第3電圧変化プロセスの開始時刻との時間間隔を、前記固有周期Tcの1/5以下に設定することを特徴とする請求項3または4の何れか一項に記載の液滴吐出ヘッドの駆動方法。
- 前記駆動電圧の電圧波形が、前記第3電圧変化プロセスの直後に、前記圧力発生室の体積を収縮させるための第4電圧変化プロセスを含み構成されることを特徴とする請求項3乃至5の内の何れか一項に記載の液滴吐出ヘッドの駆動方法。
- 前記第4電圧変化プロセスの電圧変化時間を、前記固有周期Tcの1/2以下に設定することを特徴とする請求項6に記載の液滴吐出ヘッドの駆動方法。
- 前記第1電圧変化プロセスの電圧変化時間を、前記電気機械変換器の固有振動の固有周期Taよりも大きく、前記固有周期Tcよりも小さく設定することを特徴とする請求項1乃至7の内の何れか一項に記載の液滴吐出ヘッドの駆動方法。
- 前記第1電圧変化プロセスの電圧変化時間を、前記固有周期Tcの略1/2とし、かつ、前記第2電圧変化プロセスの開始時刻を前記第1電圧変化プロセスの終了直後に設定することを特徴とする請求項1乃至8の内の何れか一項に記載の液滴吐出ヘッドの駆動方法。
- 前記第1電圧変化プロセスの終了時刻と、前記第2電圧変化プロセスの開始時刻との時間間隔を、前記固有周期Tcの1/5以下に設定することを特徴とする請求項9に記載の液滴吐出ヘッドの駆動方法。
- 前記第2電圧変化プロセスの電圧変化時間を、前記電気機械変換器の固有振動の固有周期Taと同等もしくはそれ以下に設定することを特徴とする請求項1乃至11の内の何れか一項に記載の液滴吐出ヘッドの駆動方法。
- 前記駆動電圧の電圧波形が、前記第2電圧変化プロセスの直後に、前記圧力発生室の体積を膨張させるための第3電圧変化プロセスを含み構成され、
前記第3電圧変化プロセスの電圧変化時間を、前記電気機械変換器の固有振動の固有周期Taと同等もしくはそれ以下に設定し、かつ、前記第2電圧変化プロセスの開始時刻と、前記第3電圧変化プロセスの開始時刻との差t0を、
Ta/2≦t0≦Ta
の条件が満足されるように設定することを特徴とする請求項12に記載の液滴吐出ヘッドの駆動方法。 - 所定のテーパー角を有する略ストレート形状のストレート部を有するノズルと、該ノズルと連通する圧力発生室と、電気機械変換器とを少なくとも有し、
前記電気機械変換器に、前記圧力発生室の体積を膨張させて前記ノズルのメニスカスを前記圧力発生室側に引き込むための第1電圧変化プロセスと、次いで前記圧力発生室の体積を収縮させて液滴を吐出させるための第2電圧変化プロセスとを少なくとも含み構成される駆動電圧を印加し、前記圧力発生室内に圧力変化を生じさせて、前記ノズルのメニスカスの中央部に形成された液柱から液滴を分離させることにより、前記ノズルから前記液滴を吐出させる液滴吐出ヘッドであって、
前記第2電圧変化プロセスを印加する時点における時におけるノズル開口から前記メニスカスの先端位置までの長さを示す引き込み量をDとしたとき、前記ストレート部の長さlnを
D/1.5≦ln≦D/0.8
の条件を満足するように設定することを特徴とする液滴吐出ヘッド。 - 前記ノズルが、前記ストレート部と接続されたテーパ部を有していることを特徴とする請求項14に記載の液滴吐出ヘッド。
- 前記ノズルの開口径をdnとしたとき、前記ストレート部の長さlnが、
0.8 dn≦ln≦2.0 dn
の条件式を満足するように設定されていることを特徴とする請求項14または15の何れか一項に記載の液滴吐出ヘッド。 - 前記圧力発生室内に発生する圧力波の固有周期Tcが15μs以下であることを特徴とする請求項14乃至16の内の何れか一項に記載の液滴吐出ヘッド。
- 前記電気機械変換器の固有振動の固有周期Taを5μs以下に設定することを特徴とする請求項14乃至17の内の何れか一項に記載の液滴吐出ヘッド。
- 前記ノズルの開口径が20μm以下に設定されていることを特徴とする請求項14乃至18の内の何れか一項に記載の液滴吐出ヘッド。
- 前記電気機械変換器が、圧電振動子を含み構成されることを特徴とする請求項14乃至19の内の何れか一項に記載の液滴吐出ヘッド。
- 前記圧電振動子が、縦振動モードの圧電振動子であることを特徴とする請求項20に記載の液滴吐出ヘッド。
- 請求項14乃至21のいずれか一に記載の液滴吐出ヘッドを搭載してなることを特徴とする液滴吐出装置。
- 前記所定のテーパー角は、10°以下である請求項1乃至13の内の何れか一項に記載の液滴吐出ヘッドの駆動方法。
- 前記所定のテーパー角は、10°以下である請求項14乃至21の内の何れか一項に記載の液滴吐出ヘッド。
- 前記所定のテーパー角は、10°以下である請求項22に記載の液滴吐出装置。
Priority Applications (2)
| Application Number | Priority Date | Filing Date | Title |
|---|---|---|---|
| JP2001369133A JP3896830B2 (ja) | 2001-12-03 | 2001-12-03 | 液滴吐出ヘッドおよびその駆動方法並びに液滴吐出装置 |
| US10/308,129 US6851778B2 (en) | 2001-12-03 | 2002-12-03 | Droplet ejecting head, method for driving the same, and droplet ejecting apparatus |
Applications Claiming Priority (1)
| Application Number | Priority Date | Filing Date | Title |
|---|---|---|---|
| JP2001369133A JP3896830B2 (ja) | 2001-12-03 | 2001-12-03 | 液滴吐出ヘッドおよびその駆動方法並びに液滴吐出装置 |
Publications (2)
| Publication Number | Publication Date |
|---|---|
| JP2003165220A JP2003165220A (ja) | 2003-06-10 |
| JP3896830B2 true JP3896830B2 (ja) | 2007-03-22 |
Family
ID=19178591
Family Applications (1)
| Application Number | Title | Priority Date | Filing Date |
|---|---|---|---|
| JP2001369133A Expired - Fee Related JP3896830B2 (ja) | 2001-12-03 | 2001-12-03 | 液滴吐出ヘッドおよびその駆動方法並びに液滴吐出装置 |
Country Status (2)
| Country | Link |
|---|---|
| US (1) | US6851778B2 (ja) |
| JP (1) | JP3896830B2 (ja) |
Families Citing this family (34)
| Publication number | Priority date | Publication date | Assignee | Title |
|---|---|---|---|---|
| EP1518679B1 (en) * | 2003-09-25 | 2008-09-10 | FUJIFILM Corporation | Droplet discharging method and apparatus |
| JP2005169963A (ja) * | 2003-12-15 | 2005-06-30 | Canon Inc | 液体吐出方法およびその装置 |
| JP4636804B2 (ja) * | 2004-01-27 | 2011-02-23 | キヤノン株式会社 | 3次元構造体の製造方法 |
| US8491076B2 (en) | 2004-03-15 | 2013-07-23 | Fujifilm Dimatix, Inc. | Fluid droplet ejection devices and methods |
| CA2460943A1 (en) | 2004-03-16 | 2005-09-16 | Unknown | Pocket size computers |
| US6935795B1 (en) | 2004-03-17 | 2005-08-30 | Lexmark International, Inc. | Method for reducing the effects of printhead carrier disturbance during printing with an imaging apparatus |
| JP4730655B2 (ja) * | 2004-09-30 | 2011-07-20 | 富士フイルム株式会社 | 液体吐出装置 |
| JP2006116767A (ja) * | 2004-10-20 | 2006-05-11 | Seiko Epson Corp | 液滴吐出ヘッド、液滴吐出装置 |
| US8708441B2 (en) * | 2004-12-30 | 2014-04-29 | Fujifilm Dimatix, Inc. | Ink jet printing |
| EP1707362A3 (en) * | 2005-03-29 | 2007-05-02 | Toshiba TEC Kabushiki Kaisha | Ink jet recording apparatus |
| JP2007069374A (ja) * | 2005-09-05 | 2007-03-22 | Fuji Xerox Co Ltd | 液滴吐出ヘッドの駆動方法、液滴吐出ヘッドおよび液滴吐出装置 |
| JP4321563B2 (ja) | 2006-08-09 | 2009-08-26 | セイコーエプソン株式会社 | 液体噴射装置、及び液体噴射装置の制御方法 |
| US7988247B2 (en) | 2007-01-11 | 2011-08-02 | Fujifilm Dimatix, Inc. | Ejection of drops having variable drop size from an ink jet printer |
| ES2645096T3 (es) | 2007-04-18 | 2017-12-04 | Becton, Dickinson And Company | Método y aparato para determinar el volumen de dispensación |
| EP2296899B1 (en) * | 2008-06-30 | 2018-07-18 | Fujifilm Dimatix, Inc. | Ink jetting |
| KR101567506B1 (ko) | 2009-02-04 | 2015-11-10 | 삼성전자주식회사 | 잉크젯 프린팅 장치 및 그 구동 방법 |
| JP5428970B2 (ja) * | 2009-07-13 | 2014-02-26 | セイコーエプソン株式会社 | 液体吐出装置、及び、液体吐出方法 |
| JP2011104824A (ja) * | 2009-11-16 | 2011-06-02 | Seiko Epson Corp | 液体噴射装置、及び、その制御方法 |
| JP6029308B2 (ja) * | 2011-04-19 | 2016-11-24 | キヤノン株式会社 | 液体吐出ヘッドの駆動方法および液体吐出装置 |
| JP5560253B2 (ja) * | 2011-09-30 | 2014-07-23 | 富士フイルム株式会社 | インクジェット記録装置及び方法並びに異常ノズル検知方法 |
| JP2014028450A (ja) * | 2012-07-31 | 2014-02-13 | Seiko Epson Corp | 液体吐出装置及びその制御方法 |
| JP2014028447A (ja) * | 2012-07-31 | 2014-02-13 | Seiko Epson Corp | 液体吐出装置及びその制御方法 |
| JP6264736B2 (ja) * | 2013-03-23 | 2018-01-24 | 株式会社リコー | 画像形成装置、ヘッド駆動制御方法 |
| CN105358324B (zh) | 2013-07-09 | 2017-11-03 | 佳能株式会社 | 液体喷头和制造该液体喷头的方法 |
| CN105269965B (zh) | 2014-07-08 | 2018-10-16 | 精工爱普生株式会社 | 液体喷射装置以及液体喷射装置的维护方法 |
| JP6536393B2 (ja) * | 2015-12-18 | 2019-07-03 | コニカミノルタ株式会社 | 画像形成方法 |
| JP7013979B2 (ja) * | 2018-03-19 | 2022-02-01 | 株式会社リコー | 液体を吐出する装置および液体を吐出する装置の駆動制御方法 |
| CN110077127B (zh) * | 2018-04-13 | 2021-03-09 | 广东聚华印刷显示技术有限公司 | 基于喷墨打印设备的告警方法、装置和喷墨打印系统 |
| JP7243053B2 (ja) * | 2018-06-26 | 2023-03-22 | セイコーエプソン株式会社 | 液体吐出装置および液体吐出方法 |
| JP7243054B2 (ja) * | 2018-06-26 | 2023-03-22 | セイコーエプソン株式会社 | 液体吐出装置および液体吐出方法 |
| CN109001117A (zh) * | 2018-08-09 | 2018-12-14 | 金华职业技术学院 | 一种研究大分子离子光电子谱的方法 |
| CN108801922A (zh) * | 2018-08-09 | 2018-11-13 | 金华职业技术学院 | 一种研究大分子离子光电子谱的装置 |
| JP7379817B2 (ja) * | 2018-12-21 | 2023-11-15 | セイコーエプソン株式会社 | 液滴吐出ヘッド |
| KR20230142528A (ko) * | 2021-02-12 | 2023-10-11 | 엑스티피엘 에스.에이. | 잉크젯 프린트 헤드로부터 금속 나노입자 조성물을 분배하여 피처를 형성하는 방법 및 잉크젯 프린팅용 금속 나노입자 조성물 |
Family Cites Families (8)
| Publication number | Priority date | Publication date | Assignee | Title |
|---|---|---|---|---|
| JPS5912828B2 (ja) | 1976-07-19 | 1984-03-26 | 株式会社大林組 | 鉄筋コンクリ−ト構造骨組の柱・梁接合部 |
| JPS5517589A (en) | 1978-07-27 | 1980-02-07 | Seiko Epson Corp | Ink jet driving method for ink jet recording device |
| EP0720534B1 (en) * | 1994-07-20 | 1999-03-10 | Spectra, Inc. | High frequency drop-on-demand ink jet system |
| JP3346454B2 (ja) | 1997-01-08 | 2002-11-18 | セイコーエプソン株式会社 | インクジェット式印刷装置及び印刷方法 |
| JP3159188B2 (ja) | 1998-10-20 | 2001-04-23 | 日本電気株式会社 | インクジェット記録ヘッドの駆動方法 |
| JP3427923B2 (ja) | 1999-01-28 | 2003-07-22 | 富士ゼロックス株式会社 | インクジェット記録ヘッドの駆動方法及びインクジェット記録装置 |
| JP3755569B2 (ja) | 1999-08-25 | 2006-03-15 | 富士ゼロックス株式会社 | インクジェット記録ヘッドの駆動方法及びその回路 |
| JP2001328259A (ja) | 2000-05-18 | 2001-11-27 | Nec Corp | インクジェット記録ヘッドの駆動方法及びインクジェット記録装置 |
-
2001
- 2001-12-03 JP JP2001369133A patent/JP3896830B2/ja not_active Expired - Fee Related
-
2002
- 2002-12-03 US US10/308,129 patent/US6851778B2/en not_active Expired - Lifetime
Also Published As
| Publication number | Publication date |
|---|---|
| US20030122889A1 (en) | 2003-07-03 |
| JP2003165220A (ja) | 2003-06-10 |
| US6851778B2 (en) | 2005-02-08 |
Similar Documents
| Publication | Publication Date | Title |
|---|---|---|
| JP3896830B2 (ja) | 液滴吐出ヘッドおよびその駆動方法並びに液滴吐出装置 | |
| JP3427923B2 (ja) | インクジェット記録ヘッドの駆動方法及びインクジェット記録装置 | |
| JP3159188B2 (ja) | インクジェット記録ヘッドの駆動方法 | |
| US6629741B1 (en) | Ink jet recording head drive method and ink jet recording apparatus | |
| JP3491187B2 (ja) | インクジェット式記録装置による記録方法 | |
| US6962398B2 (en) | Method for driving ink jet recording head and ink jet recorder | |
| JP5459695B2 (ja) | インクジェット記録装置及びインクジェット記録方法 | |
| JP4272400B2 (ja) | インクジェット式記録装置 | |
| US6702414B2 (en) | Method for driving ink jet recording head and ink jet recorder | |
| JP2002316412A (ja) | インクジェット記録ヘッドおよびインクジェット記録装置 | |
| JP5347537B2 (ja) | 液体吐出装置、及び、液体吐出装置の制御方法 | |
| JP5125004B2 (ja) | 微小インク滴の吐出方法 | |
| JP5402656B2 (ja) | 液体吐出装置、及び、液体吐出装置の制御方法 | |
| US20100141698A1 (en) | Liquid discharging apparatus and liquid discharging method | |
| JP3755569B2 (ja) | インクジェット記録ヘッドの駆動方法及びその回路 | |
| JP5359632B2 (ja) | ヘッドユニット、液体吐出装置、及び、ヘッドユニットの駆動方法 | |
| JP2010179585A (ja) | 液体吐出装置、及び、液体吐出装置の制御方法 | |
| JP2002331658A (ja) | インクジェット記録ヘッドおよびインクジェット記録装置 | |
| JP4678158B2 (ja) | 液滴吐出ヘッドの駆動方法、液滴吐出ヘッド、及び液滴吐出装置 | |
| JP2000127390A (ja) | インクジェット記録ヘッドの駆動方法 | |
| JP3522267B2 (ja) | インクジェット式記録装置による記録方法、及び前記記録方法に適した記録ヘッド | |
| JP3362732B2 (ja) | インクジェットヘッド駆動方法 | |
| JP2005280199A (ja) | 液体噴射装置 | |
| JP2008105265A (ja) | 液体噴射ヘッドの駆動方法、及び、液体噴射装置 | |
| JP2001010049A (ja) | インクジェット記録ヘッドの駆動方法及び駆動装置 |
Legal Events
| Date | Code | Title | Description |
|---|---|---|---|
| A621 | Written request for application examination |
Free format text: JAPANESE INTERMEDIATE CODE: A621 Effective date: 20040915 |
|
| A977 | Report on retrieval |
Free format text: JAPANESE INTERMEDIATE CODE: A971007 Effective date: 20060824 |
|
| A131 | Notification of reasons for refusal |
Free format text: JAPANESE INTERMEDIATE CODE: A131 Effective date: 20060829 |
|
| A521 | Request for written amendment filed |
Free format text: JAPANESE INTERMEDIATE CODE: A523 Effective date: 20061027 |
|
| TRDD | Decision of grant or rejection written | ||
| A01 | Written decision to grant a patent or to grant a registration (utility model) |
Free format text: JAPANESE INTERMEDIATE CODE: A01 Effective date: 20061128 |
|
| A61 | First payment of annual fees (during grant procedure) |
Free format text: JAPANESE INTERMEDIATE CODE: A61 Effective date: 20061211 |
|
| R150 | Certificate of patent or registration of utility model |
Free format text: JAPANESE INTERMEDIATE CODE: R150 |
|
| FPAY | Renewal fee payment (event date is renewal date of database) |
Free format text: PAYMENT UNTIL: 20110105 Year of fee payment: 4 |
|
| FPAY | Renewal fee payment (event date is renewal date of database) |
Free format text: PAYMENT UNTIL: 20120105 Year of fee payment: 5 |
|
| FPAY | Renewal fee payment (event date is renewal date of database) |
Free format text: PAYMENT UNTIL: 20120105 Year of fee payment: 5 |
|
| FPAY | Renewal fee payment (event date is renewal date of database) |
Free format text: PAYMENT UNTIL: 20130105 Year of fee payment: 6 |
|
| FPAY | Renewal fee payment (event date is renewal date of database) |
Free format text: PAYMENT UNTIL: 20130105 Year of fee payment: 6 |
|
| FPAY | Renewal fee payment (event date is renewal date of database) |
Free format text: PAYMENT UNTIL: 20140105 Year of fee payment: 7 |
|
| LAPS | Cancellation because of no payment of annual fees |
