JP3678747B2 - 電流回路の電気的分離のための絶縁層系 - Google Patents
電流回路の電気的分離のための絶縁層系 Download PDFInfo
- Publication number
- JP3678747B2 JP3678747B2 JP51587395A JP51587395A JP3678747B2 JP 3678747 B2 JP3678747 B2 JP 3678747B2 JP 51587395 A JP51587395 A JP 51587395A JP 51587395 A JP51587395 A JP 51587395A JP 3678747 B2 JP3678747 B2 JP 3678747B2
- Authority
- JP
- Japan
- Prior art keywords
- layer
- insulating layer
- solid electrolyte
- insulating
- layer system
- Prior art date
- Legal status (The legal status is an assumption and is not a legal conclusion. Google has not performed a legal analysis and makes no representation as to the accuracy of the status listed.)
- Expired - Fee Related
Links
Images
Classifications
-
- B—PERFORMING OPERATIONS; TRANSPORTING
- B32—LAYERED PRODUCTS
- B32B—LAYERED PRODUCTS, i.e. PRODUCTS BUILT-UP OF STRATA OF FLAT OR NON-FLAT, e.g. CELLULAR OR HONEYCOMB, FORM
- B32B18/00—Layered products essentially comprising ceramics, e.g. refractory products
-
- G—PHYSICS
- G01—MEASURING; TESTING
- G01N—INVESTIGATING OR ANALYSING MATERIALS BY DETERMINING THEIR CHEMICAL OR PHYSICAL PROPERTIES
- G01N27/00—Investigating or analysing materials by the use of electric, electrochemical, or magnetic means
- G01N27/26—Investigating or analysing materials by the use of electric, electrochemical, or magnetic means by investigating electrochemical variables; by using electrolysis or electrophoresis
- G01N27/403—Cells and electrode assemblies
- G01N27/406—Cells and probes with solid electrolytes
- G01N27/4067—Means for heating or controlling the temperature of the solid electrolyte
-
- G—PHYSICS
- G01—MEASURING; TESTING
- G01N—INVESTIGATING OR ANALYSING MATERIALS BY DETERMINING THEIR CHEMICAL OR PHYSICAL PROPERTIES
- G01N27/00—Investigating or analysing materials by the use of electric, electrochemical, or magnetic means
- G01N27/26—Investigating or analysing materials by the use of electric, electrochemical, or magnetic means by investigating electrochemical variables; by using electrolysis or electrophoresis
- G01N27/403—Cells and electrode assemblies
- G01N27/406—Cells and probes with solid electrolytes
- G01N27/407—Cells and probes with solid electrolytes for investigating or analysing gases
-
- G—PHYSICS
- G01—MEASURING; TESTING
- G01N—INVESTIGATING OR ANALYSING MATERIALS BY DETERMINING THEIR CHEMICAL OR PHYSICAL PROPERTIES
- G01N27/00—Investigating or analysing materials by the use of electric, electrochemical, or magnetic means
- G01N27/26—Investigating or analysing materials by the use of electric, electrochemical, or magnetic means by investigating electrochemical variables; by using electrolysis or electrophoresis
- G01N27/403—Cells and electrode assemblies
- G01N27/406—Cells and probes with solid electrolytes
- G01N27/407—Cells and probes with solid electrolytes for investigating or analysing gases
- G01N27/4071—Cells and probes with solid electrolytes for investigating or analysing gases using sensor elements of laminated structure
-
- G—PHYSICS
- G01—MEASURING; TESTING
- G01N—INVESTIGATING OR ANALYSING MATERIALS BY DETERMINING THEIR CHEMICAL OR PHYSICAL PROPERTIES
- G01N27/00—Investigating or analysing materials by the use of electric, electrochemical, or magnetic means
- G01N27/26—Investigating or analysing materials by the use of electric, electrochemical, or magnetic means by investigating electrochemical variables; by using electrolysis or electrophoresis
- G01N27/403—Cells and electrode assemblies
- G01N27/406—Cells and probes with solid electrolytes
- G01N27/407—Cells and probes with solid electrolytes for investigating or analysing gases
- G01N27/4075—Composition or fabrication of the electrodes and coatings thereon, e.g. catalysts
-
- H—ELECTRICITY
- H01—ELECTRIC ELEMENTS
- H01B—CABLES; CONDUCTORS; INSULATORS; SELECTION OF MATERIALS FOR THEIR CONDUCTIVE, INSULATING OR DIELECTRIC PROPERTIES
- H01B3/00—Insulators or insulating bodies characterised by the insulating materials; Selection of materials for their insulating or dielectric properties
- H01B3/02—Insulators or insulating bodies characterised by the insulating materials; Selection of materials for their insulating or dielectric properties mainly consisting of inorganic substances
- H01B3/12—Insulators or insulating bodies characterised by the insulating materials; Selection of materials for their insulating or dielectric properties mainly consisting of inorganic substances ceramics
-
- C—CHEMISTRY; METALLURGY
- C04—CEMENTS; CONCRETE; ARTIFICIAL STONE; CERAMICS; REFRACTORIES
- C04B—LIME, MAGNESIA; SLAG; CEMENTS; COMPOSITIONS THEREOF, e.g. MORTARS, CONCRETE OR LIKE BUILDING MATERIALS; ARTIFICIAL STONE; CERAMICS; REFRACTORIES; TREATMENT OF NATURAL STONE
- C04B2235/00—Aspects relating to ceramic starting mixtures or sintered ceramic products
- C04B2235/65—Aspects relating to heat treatments of ceramic bodies such as green ceramics or pre-sintered ceramics, e.g. burning, sintering or melting processes
- C04B2235/656—Aspects relating to heat treatments of ceramic bodies such as green ceramics or pre-sintered ceramics, e.g. burning, sintering or melting processes characterised by specific heating conditions during heat treatment
-
- C—CHEMISTRY; METALLURGY
- C04—CEMENTS; CONCRETE; ARTIFICIAL STONE; CERAMICS; REFRACTORIES
- C04B—LIME, MAGNESIA; SLAG; CEMENTS; COMPOSITIONS THEREOF, e.g. MORTARS, CONCRETE OR LIKE BUILDING MATERIALS; ARTIFICIAL STONE; CERAMICS; REFRACTORIES; TREATMENT OF NATURAL STONE
- C04B2235/00—Aspects relating to ceramic starting mixtures or sintered ceramic products
- C04B2235/70—Aspects relating to sintered or melt-casted ceramic products
- C04B2235/96—Properties of ceramic products, e.g. mechanical properties such as strength, toughness, wear resistance
- C04B2235/9607—Thermal properties, e.g. thermal expansion coefficient
-
- C—CHEMISTRY; METALLURGY
- C04—CEMENTS; CONCRETE; ARTIFICIAL STONE; CERAMICS; REFRACTORIES
- C04B—LIME, MAGNESIA; SLAG; CEMENTS; COMPOSITIONS THEREOF, e.g. MORTARS, CONCRETE OR LIKE BUILDING MATERIALS; ARTIFICIAL STONE; CERAMICS; REFRACTORIES; TREATMENT OF NATURAL STONE
- C04B2237/00—Aspects relating to ceramic laminates or to joining of ceramic articles with other articles by heating
- C04B2237/30—Composition of layers of ceramic laminates or of ceramic or metallic articles to be joined by heating, e.g. Si substrates
- C04B2237/32—Ceramic
- C04B2237/34—Oxidic
-
- C—CHEMISTRY; METALLURGY
- C04—CEMENTS; CONCRETE; ARTIFICIAL STONE; CERAMICS; REFRACTORIES
- C04B—LIME, MAGNESIA; SLAG; CEMENTS; COMPOSITIONS THEREOF, e.g. MORTARS, CONCRETE OR LIKE BUILDING MATERIALS; ARTIFICIAL STONE; CERAMICS; REFRACTORIES; TREATMENT OF NATURAL STONE
- C04B2237/00—Aspects relating to ceramic laminates or to joining of ceramic articles with other articles by heating
- C04B2237/30—Composition of layers of ceramic laminates or of ceramic or metallic articles to be joined by heating, e.g. Si substrates
- C04B2237/32—Ceramic
- C04B2237/34—Oxidic
- C04B2237/343—Alumina or aluminates
-
- C—CHEMISTRY; METALLURGY
- C04—CEMENTS; CONCRETE; ARTIFICIAL STONE; CERAMICS; REFRACTORIES
- C04B—LIME, MAGNESIA; SLAG; CEMENTS; COMPOSITIONS THEREOF, e.g. MORTARS, CONCRETE OR LIKE BUILDING MATERIALS; ARTIFICIAL STONE; CERAMICS; REFRACTORIES; TREATMENT OF NATURAL STONE
- C04B2237/00—Aspects relating to ceramic laminates or to joining of ceramic articles with other articles by heating
- C04B2237/30—Composition of layers of ceramic laminates or of ceramic or metallic articles to be joined by heating, e.g. Si substrates
- C04B2237/32—Ceramic
- C04B2237/34—Oxidic
- C04B2237/345—Refractory metal oxides
- C04B2237/348—Zirconia, hafnia, zirconates or hafnates
-
- C—CHEMISTRY; METALLURGY
- C04—CEMENTS; CONCRETE; ARTIFICIAL STONE; CERAMICS; REFRACTORIES
- C04B—LIME, MAGNESIA; SLAG; CEMENTS; COMPOSITIONS THEREOF, e.g. MORTARS, CONCRETE OR LIKE BUILDING MATERIALS; ARTIFICIAL STONE; CERAMICS; REFRACTORIES; TREATMENT OF NATURAL STONE
- C04B2237/00—Aspects relating to ceramic laminates or to joining of ceramic articles with other articles by heating
- C04B2237/50—Processing aspects relating to ceramic laminates or to the joining of ceramic articles with other articles by heating
- C04B2237/60—Forming at the joining interface or in the joining layer specific reaction phases or zones, e.g. diffusion of reactive species from the interlayer to the substrate or from a substrate to the joining interface, carbide forming at the joining interface
-
- C—CHEMISTRY; METALLURGY
- C04—CEMENTS; CONCRETE; ARTIFICIAL STONE; CERAMICS; REFRACTORIES
- C04B—LIME, MAGNESIA; SLAG; CEMENTS; COMPOSITIONS THEREOF, e.g. MORTARS, CONCRETE OR LIKE BUILDING MATERIALS; ARTIFICIAL STONE; CERAMICS; REFRACTORIES; TREATMENT OF NATURAL STONE
- C04B2237/00—Aspects relating to ceramic laminates or to joining of ceramic articles with other articles by heating
- C04B2237/50—Processing aspects relating to ceramic laminates or to the joining of ceramic articles with other articles by heating
- C04B2237/68—Forming laminates or joining articles wherein at least one substrate contains at least two different parts of macro-size, e.g. one ceramic substrate layer containing an embedded conductor or electrode
-
- C—CHEMISTRY; METALLURGY
- C04—CEMENTS; CONCRETE; ARTIFICIAL STONE; CERAMICS; REFRACTORIES
- C04B—LIME, MAGNESIA; SLAG; CEMENTS; COMPOSITIONS THEREOF, e.g. MORTARS, CONCRETE OR LIKE BUILDING MATERIALS; ARTIFICIAL STONE; CERAMICS; REFRACTORIES; TREATMENT OF NATURAL STONE
- C04B2237/00—Aspects relating to ceramic laminates or to joining of ceramic articles with other articles by heating
- C04B2237/50—Processing aspects relating to ceramic laminates or to the joining of ceramic articles with other articles by heating
- C04B2237/70—Forming laminates or joined articles comprising layers of a specific, unusual thickness
- C04B2237/704—Forming laminates or joined articles comprising layers of a specific, unusual thickness of one or more of the ceramic layers or articles
Landscapes
- Chemical & Material Sciences (AREA)
- Health & Medical Sciences (AREA)
- Life Sciences & Earth Sciences (AREA)
- Electrochemistry (AREA)
- Analytical Chemistry (AREA)
- Pathology (AREA)
- Molecular Biology (AREA)
- Chemical Kinetics & Catalysis (AREA)
- Immunology (AREA)
- Physics & Mathematics (AREA)
- General Physics & Mathematics (AREA)
- Biochemistry (AREA)
- General Health & Medical Sciences (AREA)
- Engineering & Computer Science (AREA)
- Ceramic Engineering (AREA)
- Inorganic Chemistry (AREA)
- Measuring Oxygen Concentration In Cells (AREA)
- Inorganic Insulating Materials (AREA)
- Compositions Of Oxide Ceramics (AREA)
Description
本発明は、請求項1記載の上位概念による絶縁層系に関する。この種の層系は、加熱装置が結合されている、固体電解質を基礎とするガスセンサに使用される。欧州特許出願公開第189038号明細書(A3)からガスセンサのための絶縁層系は、公知である。ZrO2からなるセラミック固体電解質支持体を導電性発熱体から電気絶縁するために、例えば適合層が配置されている。この種の層系の適合層は、ZrO2とAl2O3の混合物からなる。この電気絶縁作用は、不満足なままである。
本発明の課題は、改善された絶縁性及び固体電解質への良好な熱伝導を有する絶縁層系を提供することである。
本発明の利点
メイン・クレームに記載された絶縁層系は、固体電解質層と導電層の間の電気的分離が、絶縁層の膜厚が高められることなく改善される利点を有する。絶縁作用が同時に改善されることが、添加物質の5価の陽イオンが焼結工程の際に固体電解質層のホスト格子の中に拡散することによって達成される。
サブ・クレームに記載された措置によって、メイン・クレームに記載された層系の有利な実施態様が可能である。一方で固体電解質中での絶縁作用が達成され、しかしもう一方で固体電解質のイオン導電率が過度に損なわれない添加物質の容量比の選択は、特に有利である。ZrO2−固体電解質と結合したNb2O5が特に適当な添加物質であることが明らかである。固体電解質層及び絶縁層の熱膨張係数が相互に適合している場合は、良好な耐熱衝撃性にとって特に有利である。このことは、一方で、固体電解質層及び絶縁層の材料成分を含有する適合層が固体電解質層と絶縁層の間に挿入されることによって行なうことができる。他の可能性は、絶縁層の材料を、該絶縁層の熱膨張係数が固体電解質層の熱膨張係数に近似であるように選択することにある。この種の材料は、例えばフォルステライト又はフォルステライト/ペリクレースである。しかし絶縁層のために、固体電解質層の材料より高い熱膨張係数を有する材料を選択することもまったく可能である。このことによって、固体電解質が引張応力より良好に圧応力に抵抗する事実が考慮される。
著しく良好な熱伝導を有する実施態様は、発熱体が、感度領域の方へ向けられた絶縁層が感度領域の方とは反対に向けられた別の絶縁層より高い熱伝導率を有している2つの絶縁層の間に埋め込まれている場合に達成される。このことから、ガスセンサの感度領域の方向へ増大された熱伝導が生じる。
絶縁層と固体電解質層との焼結収縮率及び熱膨張係数の適合によって、耐熱衝撃性の増大及び絶縁層及び/又は固体電解質層の亀裂形成の回避が達成される。
もう1つの別の実施態様は、複数の適合層によって得られる。各適合層の材料成分の混合物が適当に選択される場合には、焼結の場合に適合層の個々の材料成分の濃度分布の改善された迅速な形成が行なわれる。
図
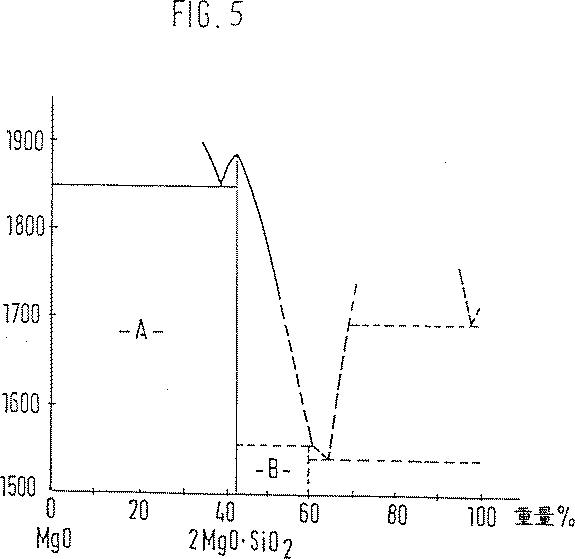
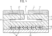
本発明の実施例は、図に示されており、かつ次の記載にて詳説されている。図1は、第1の実施態様の層系を示しており、図2は、2つの適合層を有する第2の実施態様の層系を示しており、図3は、支持体層中の発熱体を有する第3の実施態様の層系を示しており、図4は、ガスセンサの概略的な断面図を示しており、かつ図5は、MgO−SiO2相図を示している。
実施例の記載
図1に示された絶縁層系は、固体電解質層10、導電層20及びこれら層の間にある絶縁層13からなる。この平面型層系は、例えば平面型ガスセンサの基本構造を形成し、この層系の場合には、固体電解質層10は、Y2O3により安定化されたZrO2固体電解質である。絶縁層13は、例えばAl2O3からなり、この層に焼結前に5容量%までのNb2O5もしくはTa2O5を添加する。導電層20は、例えば、金属、金属合金もしくは導電性セラミックからなる帯状抵抗体である。ガスセンサのさらなる機能要素は、図1には示されていない。
図1に示された層を相互に貼り合わせ、かつ引き続き、1200〜1500℃で焼結する。この際、絶縁層13中に含有されているNb2O5もしくはTa2O5のNb5+もしくはTa5+−陽イオンは、境界を接する固体電解質層10中に拡散し、かつ固体電解質層10の界面に、固体電解質物質の電気抵抗をその領域内で増大させる作用を有するドーピング帯域が形成される。
このことによって、絶縁層13の絶縁作用を、該絶縁層の膜厚を高めることなく増大させることが可能である。絶縁層13の比較的大きな膜厚は、即ち、絶縁層13と固体電解質層10の間の付着性及び導電層20と固体電解質層10の間の熱伝導性を悪化させることになる。
安定化されたZrO2−セラミックもしくはHfO2−セラミックからなる固体電解質層10に対して、導電層20は、異なる熱膨張係数を有している。固体電解質層10と導電層20の間の熱膨張係数の平均化のために、図2の場合には絶縁層13は、他の絶縁層18と適合層14から形成されている。
絶縁層13の層の化学組成は、次の表1から明らかであり、この場合、製造のための容量比は、焼結前に調整される。表1中の(Y2O3)の場合の括弧は、Y2O3が5容量%までの小さな含量で置換物質として、基礎成分ZrO2を安定化させながら置換することを意味する。(Nb2O5)の場合の括弧は、Nb2O5が5容量%まで絶縁層13(試料1)もしくは適合層14、15のZrO2/Al2O3−混合物及び他の絶縁層18(試料2及び3)を置換することを意味する。全ての数字の記載は、製造すべき混合物の容量に関する。
図3から、絶縁層系の別の実施例が明らかであり、この絶縁層系の場合には、導電層20として発熱体19が備えられている。さらにこの場合には該層系は、ZrO2及びAl2O3の濃度分布の調整のための2つの適合層14及び15ならびに他の絶縁層18を有している。絶縁層13は、層14、15及び18からなる。発熱体19を絶縁材料、例えばAl2O3からなる機械的保護層21によって覆う。
熱膨張係数の適合のために適合層14は、固体電解質層10の材料、即ち主成分と他の絶縁層18の材料、即ち副成分の混合物からなり、即ち、有利に、添加物質Nb2O5もしくはTa2O5を含有するZrO2とAl2O3の混合物からなる。
適合層14及び15を、平面型層系のために、固体電解質層10と導電性発熱体19の間に、少なくとも適合層14及び15ならびに他の絶縁層18からなる10μmの層の間隔が生じる程度に設計した。図3による試料3の実施例の場合には、Nb2O5添加物質を適合層15のみに添加することは全く同様に可能であるが、しかしながら、適合層15中のNb2O5は、焼結後に、支持体10の抵抗性への影響をもたない。同様のことは、試料3及び試料2の他の絶縁層18に当てはまる。
層系を任意の形状で、例えば、フィンガー型プローブ(Fingersonde)の場合に見られる曲げられた層を用いて、実施することは可能である。さらに、適合層をZrO2層と電極保護層の間に配置することは可能である。
本発明による層系の製造を第3の実施例(図3、試料3)で説明する。第1の段階の場合には、固体電解質層10、例えばZrO2支持体(グリーンシートもしくは成形された)の上に、厚さ5μmの、二酸化ジルコニウム70容量部及び酸化アルミニウム30容量部からなる第1の適合層14(該層は全体で第1の適合層14の材料95容量%及びNb2O55容量%である)を印刷する。第2の段階の場合には2層からなる層系(10、14)の上に、厚さ5μmの第2の適合層15、例えば、二酸化ジルコニウム30容量部及び酸化アルミニウム70容量部からなる層(該層は全体で適合層15の材料95容量%及びNb2O55容量%である)を印刷する。第3の段階の場合には、3層からなる層系(10、14、15)の上に、例えば純粋な酸化アルミニウムからなる他の絶縁層18を施与する。さらに最後に、サーメットもしくは導電性セラミックからなる導電性発熱体19及び絶縁性Al2O3被覆層21を付加する。選択的に該発熱体を上方へと1つの層系中に埋め込んでもよい。最終的な第5の段階の場合には、層系(10、14、15、18、19、21)を常用の炉の1つで1000℃で仕上げ焼結する。
表1には、課題の解決に最適である種々の絶縁層系の例が記載されている。図2及び3の4層の層系もしくは5層の層系(被覆層21を除く)の層の熱応力の最適な平均化及び良好な付着のために絶縁層13は、本質的に10μmより厚くなってはならず、この結果、発熱体19から固体電解質層10までの十分な熱流が保証される。融剤として珪砂及びアルカリ土類金属酸化物を使用した。
図4に示された固体電解質センサは、ガス中の、殊に内燃機関の排ガス中の酸素含量を測定するために使用されるガスセンサである。このガスセンサは、限界電流原理によって機能し、この原理は、既にドイツ国特許出願公開第3811713号明細書に記載されている。
このガスセンサは、外部ポンプ電極(Pumpelektrode)12及び内部ポンプ電極17が備えられた酸素イオンを伝導する固体電解質11を有している。上記実施例の場合にはイットリウムにより安定化された二酸化ジルコニウムからなる固体電解質体11は、例えば、多くの薄片もしくはシートから構成されている。固体電解質11中には空洞が形成されており、この空洞は、平たい円筒形の拡散間隙25を形成し、この場合、測定ガスは、拡散通路35を経由して拡散間隙25に導かれる。ポンプ電極12及び17は、有利に拡散通路35を囲む環状に形成されており、かつ、測定ガスを触媒する多孔質材料、例えば白金もしくは白金サーメットからなる。外部ポンプ電極12は、有利に多孔質保護層22で覆われている。発熱体30は、ポンプ電極12、17の方へ向けられた絶縁層13とポンプ電極12、17の方とは反対に向けられた更なる絶縁層21との間に配置されている。絶縁層13にセラミック支持体23が境界を接しており、このセラミック支持体は、例えば同様に固体電解質シートである。
ガスセンサの製造については、ドイツ国特許出願公開第3811713号明細書が参照される。このドイツ国特許出願公開明細書には、使用される固体電解質シートならびに、各層及び電極の製造のために実施されるスクリーン印刷段階が記載されている。
同様に、上記の実施例を、ネルンスト原理によって作動する電気化学測定セルに適用することは可能である。ポンプセル(Pumpzelle)との相違点は、拡散間隙25が参照用通路を経由して参照ガス、例えば空気に導かれれている点にのみある。この種の測定セルの場合には、一方の電極は測定ガスに暴露されており、かつ他方の電極は参照ガスに暴露されている。同様に該測定セルは、発熱体を用いて製造されており、その結果、この場合にも前記の問題が絶縁層と固体電解質の間に存在する。同様のことは、ネルンスト式セル及びポンプセルを有する、いわゆる広帯域センサ(Breitbandsensoren)に当てはまる。
図5は、フォルステライト相2MgO SiO2を有する、Bowen及びAndersen,Am.J.Sci.[4],37,488(1914)によるMgO−SiO2の相図を示す。この図の場合には固体のフォルステライトは、相領域A及びB内に存在する。イットリウムにより安定化されたZrO2固体電解質11に関連する絶縁層13及び21に適当である熱膨張係数を、フォルステライトならびに相領域A内に存在するペリクレース−/フォルステライト共晶は有している。フォルステライト70重量%及びペリクレース30重量%の組成は、特に適当である。相図の左方向でSiO2に向かってMgO・SiO2相の熱膨張係数は、減少する。フォルステライトとSiO2の間の領域は、本発明に関する限りあまり重要ではない。従って相図では該領域は破線で示されている。
別の実施態様として、感度領域の方とは反対に向けられた更なる絶縁層21を、感度領域の方へ向けられた絶縁層13の材料より小さな熱伝導率を有する材料から製造することは可能である。従って、感度領域の方向への意図された熱流が、ポンプ電極12、17を用いて達成される。フォルステライト70重量%及びペリクレース30重量%を含有するフォルステライト−/ペリクレース−共晶からなる絶縁層13と組み合わされるこのような更なる絶縁層21は、例えば純粋なフォルステライト層であるか又は僅かにペリクレース(例えば<5重量%)を含有するフォルステライト層である。
絶縁層13の材料には、例えば電子伝導物質ならびにイオン伝導物質のごく僅かな含量という通常のことが純度に要求される。その上、絶縁層13、21の焼結活性は、相応する融剤添加物質によって適合させることができる。絶縁層の焼結活性は、原料の選択によって、例えばMgO、SiO2及び珪酸Mgを適当な混合比及び粒度で混合することによって制御することができる。絶縁層13と固体電解質11との間の望ましくない強い焼結反応を回避するために、固体電解質11は、共沈もしくは少なくとも前か焼された、イットリウムにより安定化されたセラミックを使用することによって製造することもできるし、及び/又は、Zr4+イオン半径からずれた陽イオン半径を有する絶縁層13のための材料を選択することによって製造することもできる。
次の表2は、イットリウムにより安定化された二酸化ジルコニウムとの比較による、絶縁層のための種々の材料の熱膨張係数、熱伝導率及び陽イオン半径の一覧を示している。
既述のとおり、有利な実施例としてフォルステライト−/ペリクレース−共晶を選択した。その熱膨張係数は、イットリウムにより安定化されたZrO2の熱膨張係数に相応する。表2から、イットリウムにより安定化された二酸化ジルコニウムと絶縁層との相応する組合せを選択することができ、この場合、この選択の際には、絶縁層13の熱膨張係数が、安定化された二酸化ジルコニウムの熱膨張係数と少なくともほぼ同じ程度の大きさであるか又は安定化された二酸化ジルコニウムの熱膨張係数より大きいことが重要である。さらに、選択の際に、相応に良好な熱伝導率に注意を払うことは有利である。蒸気の材料の熱伝導率は、確かに例外なくAl2O3の熱伝導率より小さいが、しかし、上記の材料の熱伝導率は、安定化された二酸化ジルコニウムの熱伝導率より依然として大きい。
絶縁層のための物質の選択の際のもつ1つ別のパラメータは、使用される物質の陽イオン半径である。相応する程度にZr4+イオン半径からずれた陽イオン半径の選択によって、望ましくない著しい焼結反応が絶縁層13と固体電解質体10の間に生じないことが保証される。
Claims (12)
- 1つの導電性固体電解質層(10)、1つの導電層(20)および該固体電解質層(10)と該導電層(20)の間に少なくとも1つの絶縁層(13)を有する、電流回路の電気的断路のための絶縁層系において、絶縁層(13)は、酸化アルミニウムからなり、かつ焼結前に添加物質としてニオブもしくはタンタルの5価の金属酸化物を含有し、その際、該添加物質は絶縁層(13)の容量に対して10容量%までの容量比で存在していることを特徴とする、電流回路の電気的断路のための絶縁層系。
- 1つの導電性固体電解質層(10)、1つの導電層(20)および該固体電解質層(10)と該導電層(20)の間に少なくとも1つの絶縁層(13)を有する、電流回路の電気的断路のための絶縁層系において、該絶縁層(13)が少なくとも1つの他の絶縁層(18)及び少なくとも1つの適合層(14)からなり、この場合、適合層(14)は固体電解質層(10)と境界を接して配置されており、かつ適合層(14)中に焼結前に添加物質としてニオブまたはタンタルの5価の金属酸化物が含有されていることを特徴とする電気回路の電気的断路のための絶縁層系。
- 付加的に絶縁層(13)にさらにもう1つの適合層(15)が備えられており、かつ他の絶縁層(18)と更なる絶縁層(21)との間に発熱体(19)が配置されている、請求項2記載の層系。
- 他の絶縁層(18)が更なる絶縁層(21)より高い熱導電率を有する、請求項3記載の層系。
- 絶縁層(13)の熱膨張係数が固体電解質層(10)の熱膨張係数と同じであるか又は固体電解質層(10)の熱膨張係数より大きい、請求項1から4までのいずれか1項記載の層系。
- 適合層が固体電解質層及び絶縁層の材料成分を含有している、請求項2から5までのいずれか1項記載の層系。
- 適合層中に固体電解質層及び絶縁層の材料成分が同じ容量比で含有されている、請求項6記載の層系。
- 固体電解質層の材料成分の濃度が固体電解質層に向かって増大している、請求項6記載の層系。
- 添加物質の濃度が固体電解質層に向かって増大している、請求項8記載の層系。
- 絶縁層の材料に焼結助剤及び/又は気孔形成剤が添加されている、請求項1から9までのいずれか1項に記載の層系。
- 固体電解質層が安定化された二酸化ジルコニウム及び/又は安定化された二酸化ハフニウムからなり、この場合、安定化のためにY2O 3 が存在している、請求項1記載の層系。
- 請求項1から11までのいずれか1項記載の層系を有する内燃機関の排ガス中の酸素含量を測定するために使用されるガスセンサ。
Applications Claiming Priority (5)
| Application Number | Priority Date | Filing Date | Title |
|---|---|---|---|
| DE4342033 | 1993-12-09 | ||
| DE4439883A DE4439883A1 (de) | 1993-12-09 | 1994-11-08 | Isolationsschichtsystem zur galvanischen Trennung von Stromkreisen |
| DE4439883.2 | 1994-11-08 | ||
| DE4342033.8 | 1994-11-08 | ||
| PCT/DE1994/001397 WO1995016199A1 (de) | 1993-12-09 | 1994-11-26 | Isolationsschichtsystem zur galvanischen trennung von stromkreisen |
Publications (2)
| Publication Number | Publication Date |
|---|---|
| JPH08506906A JPH08506906A (ja) | 1996-07-23 |
| JP3678747B2 true JP3678747B2 (ja) | 2005-08-03 |
Family
ID=25931913
Family Applications (1)
| Application Number | Title | Priority Date | Filing Date |
|---|---|---|---|
| JP51587395A Expired - Fee Related JP3678747B2 (ja) | 1993-12-09 | 1994-11-26 | 電流回路の電気的分離のための絶縁層系 |
Country Status (5)
| Country | Link |
|---|---|
| EP (1) | EP0683895B1 (ja) |
| JP (1) | JP3678747B2 (ja) |
| CN (1) | CN1042460C (ja) |
| BR (1) | BR9406078A (ja) |
| WO (1) | WO1995016199A1 (ja) |
Families Citing this family (6)
| Publication number | Priority date | Publication date | Assignee | Title |
|---|---|---|---|---|
| DE19834276A1 (de) * | 1998-07-30 | 2000-02-10 | Bosch Gmbh Robert | Abgassonde |
| EP2265101B1 (en) * | 1999-09-02 | 2012-08-29 | Ibiden Co., Ltd. | Printed circuit board and method of manufacturing printed circuit board |
| DE10041554C2 (de) * | 2000-08-24 | 2003-02-27 | Heraeus Gmbh W C | Schichtverbund mit einer Isolationsschicht |
| FR2920152B1 (fr) * | 2007-08-24 | 2009-12-04 | Saint Gobain Ct Recherches | Refractaire a fortre teneur en zircone et teneur en silice elevee. |
| FR2920153B1 (fr) * | 2007-08-24 | 2010-11-26 | Saint Gobain Ct Recherches | Produit refractaire a forte teneur en zircone dope. |
| DE102011082175A1 (de) * | 2011-09-06 | 2013-03-07 | Robert Bosch Gmbh | Sensorelement zur Erfassung mindestens einer Eigenschaft eines Gases in einem Messgasraum |
Family Cites Families (8)
| Publication number | Priority date | Publication date | Assignee | Title |
|---|---|---|---|---|
| JPS5348594A (en) * | 1976-10-14 | 1978-05-02 | Nissan Motor | Oxygen sensor |
| JPS6036948A (ja) * | 1983-08-09 | 1985-02-26 | Ngk Insulators Ltd | 電気化学的装置 |
| JPH0646189B2 (ja) * | 1985-01-25 | 1994-06-15 | 株式会社日立製作所 | 酸素濃度センサ |
| DE3673563D1 (de) * | 1985-04-19 | 1990-09-27 | Hitachi Ltd | Sauerstoffuehlerelement und verfahren zum herstellen desselben. |
| JPH02186254A (ja) * | 1989-01-12 | 1990-07-20 | Fujikura Ltd | 酸素センサ素子 |
| JPH0390851A (ja) * | 1989-09-01 | 1991-04-16 | Kyocera Corp | ヒータ付酸素センサ及びその製法 |
| JPH03142353A (ja) * | 1989-10-30 | 1991-06-18 | Kyocera Corp | 酸素センサ |
| DE4303633A1 (de) * | 1993-02-09 | 1994-08-11 | Bosch Gmbh Robert | Festelektrolytsensor mit integriertem Heizer |
-
1994
- 1994-11-26 JP JP51587395A patent/JP3678747B2/ja not_active Expired - Fee Related
- 1994-11-26 EP EP95901329A patent/EP0683895B1/de not_active Expired - Lifetime
- 1994-11-26 WO PCT/DE1994/001397 patent/WO1995016199A1/de not_active Ceased
- 1994-11-26 BR BR9406078A patent/BR9406078A/pt not_active IP Right Cessation
- 1994-11-26 CN CN 94191132 patent/CN1042460C/zh not_active Expired - Fee Related
Also Published As
| Publication number | Publication date |
|---|---|
| CN1117761A (zh) | 1996-02-28 |
| EP0683895A1 (de) | 1995-11-29 |
| WO1995016199A1 (de) | 1995-06-15 |
| CN1042460C (zh) | 1999-03-10 |
| BR9406078A (pt) | 1996-01-16 |
| EP0683895B1 (de) | 2000-02-02 |
| JPH08506906A (ja) | 1996-07-23 |
Similar Documents
| Publication | Publication Date | Title |
|---|---|---|
| JP4050593B2 (ja) | ガスセンサ素子及びこれを用いたガスセンサ | |
| CN103998922B (zh) | 气体传感器用电极及气体传感器 | |
| US6562747B2 (en) | Gas sensor electrolyte | |
| JP5638984B2 (ja) | ガスセンサ | |
| JP6999455B2 (ja) | センサ素子及びガスセンサ | |
| US6936148B2 (en) | Gas sensor element having at least two cells | |
| JP6577408B2 (ja) | ガスセンサ素子およびガスセンサ | |
| KR100322981B1 (ko) | 회로전기절연용절연층시스템 | |
| JP3678747B2 (ja) | 電流回路の電気的分離のための絶縁層系 | |
| JP4035555B2 (ja) | ガスセンサ素子及びこれを用いたガスセンサ | |
| JP3572241B2 (ja) | 空燃比センサ素子 | |
| JP4099391B2 (ja) | 加熱装置 | |
| JP2003279528A (ja) | 酸素センサ素子 | |
| JP3860768B2 (ja) | 酸素センサ素子 | |
| JP4583187B2 (ja) | セラミックヒータ素子及びそれを用いた検出素子 | |
| JP4138741B2 (ja) | 加熱装置 | |
| JP4794090B2 (ja) | ジルコニア質焼結体及び酸素センサ | |
| JP3748408B2 (ja) | 酸素センサおよびその製造方法 | |
| JP4084505B2 (ja) | ヒータ一体型酸素センサ素子 | |
| CN100484901C (zh) | 陶瓷绝缘材料以及含有这材料的传感器元件 | |
| JP2003075397A (ja) | 酸素センサ | |
| JP2004507380A (ja) | 絶縁層を有する積層複合材料 | |
| JP4698041B2 (ja) | 空燃比センサ素子 | |
| JP2003156467A (ja) | 電気化学的測定センサーのためのセンサー素子 | |
| JP2002228622A (ja) | 酸素センサおよびその製造方法 |
Legal Events
| Date | Code | Title | Description |
|---|---|---|---|
| A601 | Written request for extension of time |
Free format text: JAPANESE INTERMEDIATE CODE: A601 Effective date: 20040426 |
|
| A602 | Written permission of extension of time |
Free format text: JAPANESE INTERMEDIATE CODE: A602 Effective date: 20040614 |
|
| A521 | Request for written amendment filed |
Free format text: JAPANESE INTERMEDIATE CODE: A523 Effective date: 20040630 |
|
| A131 | Notification of reasons for refusal |
Free format text: JAPANESE INTERMEDIATE CODE: A131 Effective date: 20041109 |
|
| A521 | Request for written amendment filed |
Free format text: JAPANESE INTERMEDIATE CODE: A523 Effective date: 20050209 |
|
| TRDD | Decision of grant or rejection written | ||
| A01 | Written decision to grant a patent or to grant a registration (utility model) |
Free format text: JAPANESE INTERMEDIATE CODE: A01 Effective date: 20050412 |
|
| A61 | First payment of annual fees (during grant procedure) |
Free format text: JAPANESE INTERMEDIATE CODE: A61 Effective date: 20050511 |
|
| R150 | Certificate of patent or registration of utility model |
Free format text: JAPANESE INTERMEDIATE CODE: R150 |
|
| FPAY | Renewal fee payment (event date is renewal date of database) |
Free format text: PAYMENT UNTIL: 20080520 Year of fee payment: 3 |
|
| FPAY | Renewal fee payment (event date is renewal date of database) |
Free format text: PAYMENT UNTIL: 20090520 Year of fee payment: 4 |
|
| FPAY | Renewal fee payment (event date is renewal date of database) |
Free format text: PAYMENT UNTIL: 20100520 Year of fee payment: 5 |
|
| FPAY | Renewal fee payment (event date is renewal date of database) |
Free format text: PAYMENT UNTIL: 20110520 Year of fee payment: 6 |
|
| LAPS | Cancellation because of no payment of annual fees |
