JP3673468B2 - 建造物隅部の防水シート固定用複合板 - Google Patents
建造物隅部の防水シート固定用複合板 Download PDFInfo
- Publication number
- JP3673468B2 JP3673468B2 JP2000375961A JP2000375961A JP3673468B2 JP 3673468 B2 JP3673468 B2 JP 3673468B2 JP 2000375961 A JP2000375961 A JP 2000375961A JP 2000375961 A JP2000375961 A JP 2000375961A JP 3673468 B2 JP3673468 B2 JP 3673468B2
- Authority
- JP
- Japan
- Prior art keywords
- piece
- sheet
- wall surface
- plate
- corner
- Prior art date
- Legal status (The legal status is an assumption and is not a legal conclusion. Google has not performed a legal analysis and makes no representation as to the accuracy of the status listed.)
- Expired - Lifetime
Links
- 239000002131 composite material Substances 0.000 title claims description 88
- 230000000630 rising effect Effects 0.000 claims description 44
- 239000000463 material Substances 0.000 description 10
- XLYOFNOQVPJJNP-UHFFFAOYSA-N water Substances O XLYOFNOQVPJJNP-UHFFFAOYSA-N 0.000 description 10
- 238000000034 method Methods 0.000 description 7
- 238000003466 welding Methods 0.000 description 7
- 230000000694 effects Effects 0.000 description 6
- 229920005989 resin Polymers 0.000 description 6
- 239000011347 resin Substances 0.000 description 6
- 229910000831 Steel Inorganic materials 0.000 description 5
- 239000010959 steel Substances 0.000 description 5
- 230000002411 adverse Effects 0.000 description 4
- 238000005452 bending Methods 0.000 description 3
- 239000002904 solvent Substances 0.000 description 3
- 238000004078 waterproofing Methods 0.000 description 3
- 238000010276 construction Methods 0.000 description 2
- 238000009413 insulation Methods 0.000 description 2
- 239000002184 metal Substances 0.000 description 2
- 238000007789 sealing Methods 0.000 description 2
- 239000000853 adhesive Substances 0.000 description 1
- 230000001070 adhesive effect Effects 0.000 description 1
- 238000005338 heat storage Methods 0.000 description 1
- 230000010354 integration Effects 0.000 description 1
- 230000004048 modification Effects 0.000 description 1
- 238000012986 modification Methods 0.000 description 1
- 229920005672 polyolefin resin Polymers 0.000 description 1
- 229920000915 polyvinyl chloride Polymers 0.000 description 1
- 239000004800 polyvinyl chloride Substances 0.000 description 1
- 229920003002 synthetic resin Polymers 0.000 description 1
- 239000000057 synthetic resin Substances 0.000 description 1
Images
Landscapes
- Building Environments (AREA)
- Finishing Walls (AREA)
Description
【発明の属する技術分野】
この発明は、ビルの屋上等に防水シートを敷設するにあたって、3つの躯体面が交わる入隅部や出隅部に固定され、防水シートの所要部を接合固定するための建造物隅部の防水シート固定用複合板に関する。
【0002】
【従来の技術】
ビルの屋上、プール、貯水槽、蓄熱槽等の防水施工面に、絶縁工法により防水シートを敷設施工するような場合、防水シートの所要部分のみをシート接合板を用いて躯体壁面に固定するようにしている。
【0003】
このような絶縁工法において、例えば図13及び図14に示すように、水平壁面(1)及び2つの垂直壁面(2a)(2b)が交わる入隅周辺を防水施工するような場合、防水シート固定用として、入隅部専用の複合板(10)を用いることがある。図13ないし図15に示すように、このシート固定用複合板(10)は、樹脂被覆鋼板等からなる固定板(11)と、その固定板(11)の表面に積層一体化され、防水シート(5)と同じ材質からなる接合シート片(12)とを具備している。更にこの複合板(10)における固定板(11)は、水平壁面(1)に沿って配置されるベース板(11a)(11b)と、垂直壁面(2a)(2b)に沿って配置される立ち上がり片(12a)(12b)とを具備し、ベース板(11a)(11b)が開脚釘やコンクリート釘等の固着具(13)によって水平壁面(1)に固定される。そして、躯体壁面(1)(2a)(2b)上に敷設された防水シート(5)の所要部分が、複合板(10)の接合シート片(12)に、溶剤溶着や熱融着等により接合一体化されるものである。
【0004】
従来、上記の防水シート固定用複合板(10)は、例えば複合基材を屈曲成形することにより得られる。すなわち図16に示すように、固定板(11)としてのL型の樹脂被覆鋼板の表面に、接合シート片(12)を積層一体化して複合基材を作製し、その複合基材におけるベース板(11a)(11b)としての一側フランジ中央を、接合シート片(12)と共にV字状に切り欠く。そして、そのV字状切欠部(14)を中心にして、立ち上がり片(12a)(12b)としての他側フランジを内側に閉じるように折曲して、上記の複合板(10)を作製するものである。
【0005】
【発明が解決しようとする課題】
しかしながら、上記従来の入隅用の防水シート固定用複合板(10)は、複合基材をL型に屈曲成形して得られるものであるため、互いに直交する2つの垂直壁面(2a)(2b)にそれぞれ沿わせる2つの立ち上がり片(12a)(12b)が屈曲部において連設されている。このため図17に示すように、水平壁面(1)に水勾配(θ)が設けられるような場合において、一方の立ち上がり片(12a)を、対応する一方の垂直壁面(2a)に沿わせるよう配置すると、他方の立ち上がり片(12b)を他方の垂直壁面(2b)に沿わせることができず、例えば他方の立ち上がり片(12b)が他方の垂直壁面(2b)から浮き上がった状態に配置され、複合板(10)を入隅部に、収まり具合良く固定できず、防水シート(5)が浮き上がって、美観が低下する等の問題が発生する。
【0006】
一方、上記の説明は、入隅用の防水シート固定用複合板についての問題点であるが、出隅用防水シート固定用複合板においても、上記と同様な問題が発生する。
【0007】
すなわち、従来の出隅用防水シート固定用複合板(20)は、図20に示すように、固定板(21)としてのL型の樹脂被覆鋼板の表面に、接合シート片(22)を積層一体化して複合基材を作製し、その複合基材におけるベース板(21a)(21b)としての一側フランジ中央部に、接合シート片(22)と共にスリット状に切り込みを入れる。そして、その切込部(24)を境にして、立ち上がり片(22a)(22b)としての他側フランジを外側に押し開くように折曲して、図19に示す出隅用複合板(20)を得るものである。
【0008】
この複合板(20)は、図18に示すように、ベース板(21a)(21b)を水平壁面(1)に沿わせて、各立ち上がり片(22a)(22b)を、対応する各垂直壁面(2a)(2b)に沿わせて配置した状態に固定し、躯体壁面(1)(2a)(2b)に敷設された防水シートを接合シート片(22)に接合一体化するものである。
【0009】
この出隅用複合板(20)においても、上記と同様、2つの立ち上がり片(22a)(22b)が連設されているため、図21に示すように、水平壁面(1)に水勾配(θ)が設けられる場合、一方の立ち上がり片(22a)を一方の垂直壁面(2a)に沿わせると、他方の立ち上がり片(22b)を他方の垂直壁面(2b)に沿わせることができず、上記と同様な問題が発生する。
【0010】
この発明は、上記従来技術の問題を解消し、3つの躯体壁面が交わる隅部に、収まり具合良く正確に沿わせることができ、防水シートを確実に敷設施工することができる建造物隅部の防水シート固定用複合板を提供することを目的とする。
【0011】
【課題を解決するための手段】
上記目的を達成するため、この発明は、建造物躯体における水平壁面と、第1及び第2垂直壁面との3つの躯体壁面が交わる隅部に固定される固定板と、その固定板に積層一体化された接合シート片とを具備し、躯体壁面上に敷設された防水シートの所要部が、前記接合シート片に接合固定されるようにした建造物隅部の防水シート固定用複合板であって、前記固定板が、前記水平壁面上の前記第1垂直壁面に対応する位置に配置される第1ベース板と、その第1ベース板に連設され、前記第1垂直壁面に沿って立ち上がり状に設けられた第1立ち上がり片と、前記水平壁面上の前記第2垂直壁面に対応する位置に配置される第2ベース板と、その第2ベース板に連設され、前記第2垂直壁面に沿って立ち上がり状に設けられ、前記第1立ち上がり片に対し切離された第2立ち上がり片とを有し、前記接合シート片が、前記第1ベース板及び前記第1立ち上がり片の表面に積層される第1接合シート片と、前記第2ベース板及び前記第2立ち上がり片の表面に積層される第2接合シート片とを有し、前記第1接合シート片の上側部における前記第2接合シート側の縁部が、第2接合シート片側に延設されて重ね代片が設けられ、その重ね代片が前記第2接合シート片に接合されてなるものを要旨としている。
【0012】
この発明の防水シート固定用複合板においては、第1及び第2垂直壁面に沿わせる第1及び第2立ち上がり片が切離されるものであるため、水平壁面に水勾配が形成されていようとも、各立ち上がり片を、対応する垂直壁面にそれぞれ確実に沿わせることができ、収まり具合良く入隅に固定することができる。
【0013】
一方、本発明においては、前記第1ベース板及び前記第2ベース板が、互いに連設された平面視L字型の一体成形板からなる構成を採用するのが好ましい。
【0014】
すなわち、第1及び第2ベース板間が離間されていると、両ベース板における対向する端縁に、防水シートの張力による応力が集中する恐れがある。これに対し、上記のように、第1及び第2ベース板を連設する場合には、防水シートの応力等が、第1及び第2ベース板間に集中するのを防止できて、固定板全域に分散させることができる。更に第1及び第2ベース板間、つまり固定板の中心位置を固着具により躯体壁面に固定することができるため、複合板をバランス良く安定状態に隅部に固定することができる。
【0015】
【発明の実施の形態】
<第1実施形態>
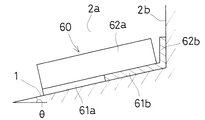
図1はこの発明の第1実施形態である入隅用の防水シート固定用複合板(50)が適用されたビル屋上の入隅周辺を防水シートを取り除いた状態で示す斜視図、図2はその複合板を分解して示す斜視図、図3は入隅周辺の側面断面図である。
【0016】
これらの図に示すように、本実施形態の複合板(50)は、平面視L型の固定板(60)と、その固定板(60)の表面に接合一体化された接合シート片(70)とを備えている。
【0017】
固定板(60)は、例えば鋼板等の金属板の少なくとも片面(表面)に、ポリ塩化ビニル樹脂、ポリオレフィン系樹脂等の合成樹脂層が積層された樹脂被覆鋼板等の樹脂被覆金属板によって構成されている。
【0018】
この固定板(60)は、第1及び第2ベース板(61a)(61b)と、第1及び第2立ち上がり片(62a)(62b)とを備えている。
【0019】
第1ベース板(61a)は、平場等の水平壁面(1)上におけるパラペット等の第1垂直壁面(2a)側の領域に適合配置し得るよう構成されるとともに、第1立ち上がり片(62a)は、第1ベース板(61a)の端縁に連設され、第1垂直壁面(2a)に沿って配置し得るよう構成されている。
【0020】
第2ベース板(61b)は、水平壁面(1)上におけるパラペット等の第2垂直壁面(2b)側の領域に適合配置し得るよう構成されるとともに、第2立ち上がり片(62b)は、第2ベース板(61b)の端縁に連設され、第2垂直壁面(2b)に沿って配置し得るよう構成されている。
【0021】
固定板(60)は、図4に示すように平面略L型形状の板状基材を、その立ち上がり片(62a)(62b)に相当する外側辺部を、同図破線に沿って曲げ起こすように加工して得られるものであって、第1及び第2ベース板(61a)(61b)が互いに連設されるとともに、第1及び第2立ち上がり片(62a)(62b)が切離されている。
【0022】
図1ないし図3に示すように接合シート片(70)は、第1ベース板(61a)及び第1立ち上がり片(62a)の表面に、溶剤溶着処理、熱融着処理及び接着剤処理等(以下単に「溶着処理等」と称す)により接合一体化される第1接合シート片(70a)と、第2ベース板(61a)及び第2立ち上がり片(62b)の表面に、溶着処理等により接合一体化される第2接合シート片(70b)とを有している。
【0023】
第1及び第2接合シート片(70a)(70b)は、ベース板(61a)(61b)間において重ね合わされた状態で溶着処理等により接合一体化されている。更に第1接合シート片(70a)の上側部における第2接合シート片(70b)側の端縁は、第2接合シート片(70b)側に延設されて、重ね代片(71)が形成されている。
【0024】
このような構成の複合板(50)は、以下のようにして、建造物入隅に固定される。すなわち、複合板(50)における第1及び第2立ち上がり片(62a)(62b)をそれぞれ第1及び第2垂直壁面(2a)(2b)の下縁部に沿わせるとともに、第1及び第2ベース板(61a)(61b)を水平壁面(1)における第1及び第2垂直壁面(2a)(2b)側の縁部に沿わせるように配置する。
【0025】
更にベース板(61a)(61b)及び立ち上がり片(62a)(62b)の所要部分を、開脚釘やコンクリート釘等の固着具(63)により水平壁面(1)及び垂直壁面(2a)(2b)に固定する。
【0026】
また、複合板(50)の重ね代片(71)を、第2接合片(70b)に重ね合わせて溶剤処理等により接合一体化する。
【0027】
そして、水平壁面(1)及び垂直壁面(2a)(2b)上に敷設した防水シート(5)の所要部分を、上記複合板(50)の接合シート片(70)に溶着処理等により接合一体化する。
【0028】
これによりビル屋上等の建造物入隅におけるシート防水構造が形成される。
【0029】
以上のように、本実施形態の防水シート固定用複合板(50)においては、第1及び第2垂直壁面(2a)(2b)に沿わせる第1及び第2立ち上がり片(62a)(62b)を切離させているため、図5に示すように、水平壁面(1)に水勾配(θ)が形成されていようとも、各立ち上がり片(62a)(62b)を、対応する垂直壁面(2a)(2b)にそれぞれ確実に沿わせることができ、収まり具合良く入隅に配置することができる。従って、防水シート(5)を入隅の形状に合わせて無理なく敷設施工でき、良好な美観を得ることができるとともに、効率良く施工することができる。
【0030】
更に本実施形態の複合板(50)は、第1及び第2ベース板(61a)(61b)が連設されているため、防水シート(5)の応力による悪影響を回避することができる。すなわち図13ないし図15に示す従来の複合板(10)においては、ベース板(11a)(11b)間の対向し合う端縁に、防水シート(5)の張力により発生する応力が集中し、その位置で防水シート(5)等に亀裂等が発生する恐れがある。これに対し、本実施形態の複合板(50)は、第1及び第2ベース板(61a)(61b)が連設されているため、防水シート(5)の応力が、両ベース板(61a)(61b)間に集中することがなく、固定板(60)全域に分散され、応力集中による悪影響を有効に防止することができる。
【0031】
また、本実施形態の複合板(50)は、第1及び第2ベース板(61a)(61b)が連設されているため、両ベース板(61a)(61b)の間、換言すれば入隅に近接した複合板(50)の中間位置を固着具(63)等により水平壁面(1)に固定することができる。このため、複合板(50)をバランス良く安定状態に固定でき、より一層収まり具合良く入隅に固定することができ、より一層効率良く防水シート(5)を施工することができる。
【0032】
なお、上記実施形態においては、接合シート片(70)として、2枚のシート片(70a)(70b)からなるものを採用しているが、本発明はそれだけに限られず、例えば接合シート片として、下側領域が互いに連設された1枚のシート部材からなるものを採用しても良く、更に3枚以上のシート部材からなるものを採用しても良い(以下の実施形態においても同じ)。
【0033】
<第2実施形態>
図6(a)はこの発明の第2実施形態である出隅用の防水シート固定用複合板(150)が適用されたビル屋上の出隅周辺を防水シートを取り除いた状態で示す斜視図、図7はその複合板を分解して示す斜視図である。
【0034】
これらの図に示すように、本実施形態の複合板(150)は、上記と同様、固定板(160)と、その固定板表面に接合一体化された接合シート片(170)とを備え、固定板(110)は、互いに連設された第1及び第2ベース板(161a)(161b)と、互いに切離された第1及び第2立ち上がり片(162a)(162b)とを有している。接合シート片(170)は、第1ベース板(161a)及び第1立ち上がり片(162a)の表面に接合一体化された第1接合シート片(170a)と、第2ベース板(161b)及び第2立ち上がり片(162b)の表面に接合一体化された第2接合シート片(170b)とを有している。
【0035】
固定板(160)は、図8に示すように、平面略L型形状の板状基材を、その立ち上がり片(162a)(162b)に相当する内側辺部を、同図破線の部分で曲げ起こすように加工して得られるものである。
【0036】
また図6及び図7に示すように、第1接合シート片(170a)の上側部における第2接合シート片(170b)側の端縁は、第2接合シート片(170b)側に延設されて、重ね代片(171)が形成されている。
【0037】
その他の構成は、上記第1実施形態と同様であるため、同一又は相当部分に、同一又は相当符号を付して重複説明は省略する。
【0038】
この複合板(150)を用いて出隅に防水シート(5)を施工するには、複合板(150)における第1及び第2立ち上がり片(162a)(162b)をそれぞれ第1及び第2垂直壁面(2a)(2b)の下縁部に沿わせるとともに、第1及び第2ベース板(161a)(161b)を水平壁面(1)における第1及び第2垂直壁面(2a)(2b)側の縁部に沿わせるように配置する。
【0039】
更にベース板(161a)(161b)及び立ち上がり片(162a)(162b)の所要部分を、開脚釘やコンクリート釘等の固着具により水平壁面(1)及び垂直壁面(2a)(2b)に固定する。
【0040】
また、複合板(150)の重ね代片(171)を、第2接合片(170b)上に重ね合わせて接合一体化する。
【0041】
そして、水平壁面(1)及び垂直壁面(2a)(2b)上に敷設した防水シートの所要部分を、上記複合板(150)の接合シート片(170)に溶着処理等により接合一体化する。
【0042】
この複合板(150)においても、上記と同様、第1及び第2立ち上がり片(162a)(162b)を切離させているため、図9に示すように、水平壁面(1)に水勾配(θ)が形成されていようとも、各立ち上がり片(162a)(162b)を、対応する垂直壁面(2a)(2b)に確実に沿わせることができる。
【0043】
また、上記と同様に、複合板(150)は、第1及び第2ベース板(161a)(161b)が連設されているため、両ベース板(161a)(161b)間にシート応力が集中することがなく、応力集中による悪影響を回避できる。更に両ベース板(161a)(161b)間を水平壁面(1)に固定できるため、複合板(150)をバランス良く安定状態に固定することができる。
【0044】
なお、本実施形態においては、図6(b)に示すように、両ベース板(161a)(161b)間の連設部(165)に、接合シート片(170)を設けずに、連設部(165)を露出させて、複合板(160)を形成するようにしても良い。もっとも、この構成の複合板(160)を用いて施工した場合であっても、連設部(165)は、防水シート、隅部に貼り付けられるパッチシート等により確実に被覆防水されるものである。
【0045】
<第3実施形態>
図10ないし図12はこの発明の第3の実施形態である入隅用の防水シート固定用複合板(250)を示す図である。これらの図に示すように、この複合板(250)は、分離された一対の複合板(250a)(250b)からなるものであり、つまり固定板(260)が、第1及び第2固定板(260a)(260b)に分離されている点において、上記第1実施形態と相違するものである。
【0046】
その他の構成は、上記第1実施形態と同様であるため、同一又は相当部分に同一又は相当符号を付して重複説明は省略する。
【0047】
この複合板(250)においては、一方の複合板(250a)を水平壁面(1)及び第1垂直壁面(2a)間に沿って配置するとともに、他方の複合板(250b)を水平壁面(1)及び第2垂直壁面(2b)間に沿って配置して、上記と同様に施工するものである。
【0048】
この実施形態の複合板(250)においても、上記と同様、水平壁面(1)に水勾配(θ)が形成されていようとも、入隅に収まり具合良く固定することができる。
【0049】
また本実施形態の複合板(250)は、そのままの構成で、建造物出隅にも適用することができ、その場合でも、上記と同様の効果を得ることができる。
【0050】
【発明の効果】
以上のように、本発明の防水シート固定用複合板によれば、固定板とその固定板表面に積層一体化された接合シート片とを具備し、固定板が、水平壁面に沿わせる第1及び第2ベース板と、第1及び第2垂直壁面に沿わせる第1及び第2立ち上がり片とを有するとともに、第1及び第2立ち上がり片が切離されるものであるため、水平壁面に水勾配が形成されていようとも、各立ち上がり片を、対応する垂直壁面にそれぞれ確実に沿わせることができ、収まり具合良く入隅に配置することができる。従って、接合シート片に接合される防水シートを、入隅の形状に合わせて無理なく敷設施工でき、良好な美観を得ることができるとともに、効率良く施工することができるという効果が得られる。
【0051】
本発明において、第1及び第2ベース板が入隅部において互いに連設される場合には、防水シートの応力等が、第1及び第2ベース板間に集中するのを防止できて、分散させることができるので、応力集中による悪影響を有効に防止することができるとともに、第1及び第2ベース板間、つまり固定板の中心位置を固着具により躯体壁面に固定できるため、バランス良く安定状態に固定でき、より一層収まり具合良く隅部に固定することができて、作業効率を一段と向上させることができるという利点がある。
【図面の簡単な説明】
【図1】この発明の第1実施形態である複合板が適用された入隅周辺を防水シートを取り外した状態で示す斜視図である。
【図2】第1実施形態の複合板を分解して示す斜視図である。
【図3】第1実施形態の複合板が適用された入隅周辺を示す側面断面図である。
【図4】第1実施形態の複合板における固定板を加工前の状態で示す平面図である。
【図5】第1実施形態の複合板における固定板を水勾配付きの入隅に適用した状態の側面断面図である。
【図6】同図(a)はこの発明の第2実施形態である複合板が適用された出隅周辺を防水シートを取り除いた状態で示す斜視図、同図(b)は第2実施形態の変形例としての複合板が適用された出隅周辺を防水シートを取り除いた状態で示す斜視図である。
【図7】第2実施形態の複合板を分解して示す斜視図である。
【図8】第2実施形態の複合板における固定板を加工前の状態で示す平面図である。
【図9】第2実施形態の複合板における固定板を水勾配付きの出隅に適用した状態の側面図である。
【図10】この発明の第3実施形態である複合板が適用された入隅周辺を防水シートを取り除いた状態で示す斜視図である。
【図11】第3実施形態の複合板を示す斜視図である。
【図12】第3実施形態の複合板を分解して示す斜視図である。
【図13】従来の複合板が適用された入隅周辺を防水シートを取り除いた状態で示す斜視図である。
【図14】従来の入隅周辺を示す側面断面図である。
【図15】従来の入隅用複合板を示す斜視図である。
【図16】従来の入隅用複合板を形成するための複合基材を示す斜視図である。
【図17】従来の複合板における固定板を水勾配付きの入隅に適用した状態の側面断面図である。
【図18】従来の複合板が適用された出隅周辺を防水シートを取り除いた状態で示す斜視図である。
【図19】従来の出隅用複合板を示す斜視図である。
【図20】従来の出隅用複合板を形成するための複合基材を示す斜視図である。
【図21】従来の複合板における固定板を水勾配付きの出隅に適用した状態の側面図である。
【符号の説明】
1…水平壁
2a…第1垂直壁
2b…第2垂直壁
5…防水シート
50、150、250…防水シート固定用複合板
60、160、260…固定板
260a…第1固定板
260b…第2固定板
61a、161a、261a…第1ベース板
61b、161b、261b…第2ベース板
62a、162a、262a…第1立ち上がり片
62b、162b、262b…第2立ち上がり片
70…接合シート片
70a、170a、270a…第1接合シート片
70b、170b、270b…第2接合シート片
71、171、271…重ね代
Claims (2)
- 建造物躯体における水平壁面と、第1及び第2垂直壁面との3つの躯体壁面が交わる隅部に固定される固定板と、その固定板に積層一体化された接合シート片とを具備し、躯体壁面上に敷設された防水シートの所要部が、前記接合シート片に接合固定されるようにした建造物隅部の防水シート固定用複合板であって、
前記固定板が、前記水平壁面上の前記第1垂直壁面に対応する位置に配置される第1ベース板と、その第1ベース板に連設され、前記第1垂直壁面に沿って立ち上がり状に設けられた第1立ち上がり片と、前記水平壁面上の前記第2垂直壁面に対応する位置に配置される第2ベース板と、その第2ベース板に連設され、前記第2垂直壁面に沿って立ち上がり状に設けられ、前記第1立ち上がり片に対し切離された第2立ち上がり片とを有し、
前記接合シート片が、前記第1ベース板及び前記第1立ち上がり片の表面に積層される第1接合シート片と、前記第2ベース板及び前記第2立ち上がり片の表面に積層される第2接合シート片とを有し、
前記第1接合シート片の上側部における前記第2接合シート側の縁部が、第2接合シート片側に延設されて重ね代片が設けられ、その重ね代片が前記第2接合シート片に接合されてなることを特徴とする建造物隅部の防水シート固定用複合板。 - 前記第1ベース板及び前記第2ベース板が、互いに連設された平面視L字型の一体成形板からなる請求項1記載の建造物隅部の防水シート固定用複合板。
Priority Applications (1)
| Application Number | Priority Date | Filing Date | Title |
|---|---|---|---|
| JP2000375961A JP3673468B2 (ja) | 2000-12-11 | 2000-12-11 | 建造物隅部の防水シート固定用複合板 |
Applications Claiming Priority (1)
| Application Number | Priority Date | Filing Date | Title |
|---|---|---|---|
| JP2000375961A JP3673468B2 (ja) | 2000-12-11 | 2000-12-11 | 建造物隅部の防水シート固定用複合板 |
Publications (2)
| Publication Number | Publication Date |
|---|---|
| JP2002180606A JP2002180606A (ja) | 2002-06-26 |
| JP3673468B2 true JP3673468B2 (ja) | 2005-07-20 |
Family
ID=18844893
Family Applications (1)
| Application Number | Title | Priority Date | Filing Date |
|---|---|---|---|
| JP2000375961A Expired - Lifetime JP3673468B2 (ja) | 2000-12-11 | 2000-12-11 | 建造物隅部の防水シート固定用複合板 |
Country Status (1)
| Country | Link |
|---|---|
| JP (1) | JP3673468B2 (ja) |
Families Citing this family (2)
| Publication number | Priority date | Publication date | Assignee | Title |
|---|---|---|---|---|
| JP4679100B2 (ja) * | 2004-09-10 | 2011-04-27 | アーキヤマデ株式会社 | 防水シート固定構造 |
| JP6003002B2 (ja) * | 2013-04-26 | 2016-10-05 | 住ベシート防水株式会社 | 接合体および部材 |
-
2000
- 2000-12-11 JP JP2000375961A patent/JP3673468B2/ja not_active Expired - Lifetime
Also Published As
| Publication number | Publication date |
|---|---|
| JP2002180606A (ja) | 2002-06-26 |
Similar Documents
| Publication | Publication Date | Title |
|---|---|---|
| JP6147054B2 (ja) | パラペットの防水構造 | |
| JP3673468B2 (ja) | 建造物隅部の防水シート固定用複合板 | |
| JP7409740B2 (ja) | 笠木 | |
| JP2014194130A (ja) | パラペットの防水構造 | |
| JP2001073506A (ja) | 改装用屋根材およびその取付構造 | |
| JPH112003A (ja) | 防水施工方法 | |
| JP7401712B1 (ja) | ソーラー屋根装置 | |
| JPH10140647A (ja) | インナーバルコニーの防水処理方法および構築方法 | |
| JPH06240840A (ja) | 壁の外面のパネルのライニング | |
| JP3261071B2 (ja) | 外壁パネル及び外壁構造 | |
| JPS586975Y2 (ja) | 外装パネル | |
| JPS6243793Y2 (ja) | ||
| JPH0686758B2 (ja) | 天窓用水切り | |
| JPS586976Y2 (ja) | 外装パネル | |
| JPH0145289Y2 (ja) | ||
| JP2023158900A (ja) | カーテンウォールの固定構造およびカーテンウォールの固定方法 | |
| JP2004019130A (ja) | オーバーハング部材及びオーバーハング部施工構造 | |
| JPH0374300B2 (ja) | ||
| JPH11141041A (ja) | 屋根パネル、建物の屋根および屋根組立方法 | |
| JP2003301568A (ja) | 防水部材及びこれを用いた防水構造 | |
| JPS586977Y2 (ja) | 外装パネル | |
| JP2003155811A (ja) | 破風化粧板の取り付け構造 | |
| JP3712022B2 (ja) | サイディング艤装パネルの施工方法 | |
| JP2020111932A (ja) | ベント梁及び屋根の小屋組構造 | |
| JPH0941586A (ja) | 防水シート接合固定構造 |
Legal Events
| Date | Code | Title | Description |
|---|---|---|---|
| A977 | Report on retrieval |
Free format text: JAPANESE INTERMEDIATE CODE: A971007 Effective date: 20040817 |
|
| TRDD | Decision of grant or rejection written | ||
| A01 | Written decision to grant a patent or to grant a registration (utility model) |
Free format text: JAPANESE INTERMEDIATE CODE: A01 Effective date: 20050412 |
|
| A61 | First payment of annual fees (during grant procedure) |
Free format text: JAPANESE INTERMEDIATE CODE: A61 Effective date: 20050422 |
|
| R150 | Certificate of patent or registration of utility model |
Free format text: JAPANESE INTERMEDIATE CODE: R150 Ref document number: 3673468 Country of ref document: JP Free format text: JAPANESE INTERMEDIATE CODE: R150 |
|
| RD02 | Notification of acceptance of power of attorney |
Free format text: JAPANESE INTERMEDIATE CODE: R3D02 |
|
| FPAY | Renewal fee payment (event date is renewal date of database) |
Free format text: PAYMENT UNTIL: 20080428 Year of fee payment: 3 |
|
| FPAY | Renewal fee payment (event date is renewal date of database) |
Free format text: PAYMENT UNTIL: 20090428 Year of fee payment: 4 |
|
| FPAY | Renewal fee payment (event date is renewal date of database) |
Free format text: PAYMENT UNTIL: 20100428 Year of fee payment: 5 |
|
| FPAY | Renewal fee payment (event date is renewal date of database) |
Free format text: PAYMENT UNTIL: 20110428 Year of fee payment: 6 |
|
| FPAY | Renewal fee payment (event date is renewal date of database) |
Free format text: PAYMENT UNTIL: 20110428 Year of fee payment: 6 |
|
| S531 | Written request for registration of change of domicile |
Free format text: JAPANESE INTERMEDIATE CODE: R313531 |
|
| S533 | Written request for registration of change of name |
Free format text: JAPANESE INTERMEDIATE CODE: R313533 |
|
| FPAY | Renewal fee payment (event date is renewal date of database) |
Free format text: PAYMENT UNTIL: 20110428 Year of fee payment: 6 |
|
| R350 | Written notification of registration of transfer |
Free format text: JAPANESE INTERMEDIATE CODE: R350 |
|
| FPAY | Renewal fee payment (event date is renewal date of database) |
Free format text: PAYMENT UNTIL: 20110428 Year of fee payment: 6 |
|
| FPAY | Renewal fee payment (event date is renewal date of database) |
Free format text: PAYMENT UNTIL: 20120428 Year of fee payment: 7 |
|
| FPAY | Renewal fee payment (event date is renewal date of database) |
Free format text: PAYMENT UNTIL: 20120428 Year of fee payment: 7 |
|
| FPAY | Renewal fee payment (event date is renewal date of database) |
Free format text: PAYMENT UNTIL: 20130428 Year of fee payment: 8 |
|
| FPAY | Renewal fee payment (event date is renewal date of database) |
Free format text: PAYMENT UNTIL: 20140428 Year of fee payment: 9 |
|
| EXPY | Cancellation because of completion of term |